| ||||||||||||||||||||||||||||||||||
Скачать ГОСТ 25.502-79 Расчеты и испытания на прочность в машиностроении. Методы механических испытаний металлов. Методы испытаний на усталостьДата актуализации: 10.08.2017
|
| Обозначение: | ГОСТ 25.502-79 |
| Обозначение англ: | GOST 25.502-79 |
| Статус: | взамен |
| Название рус.: | Расчеты и испытания на прочность в машиностроении. Методы механических испытаний металлов. Методы испытаний на усталость |
| Название англ.: | Strength analysis and testing in machine building. Methods of metals mechanical testing. Methods of fatigue testing |
| Дата добавления в базу: | 01.09.2013 |
| Дата актуализации: | 05.05.2017 |
| Дата введения: | 01.01.1981 |
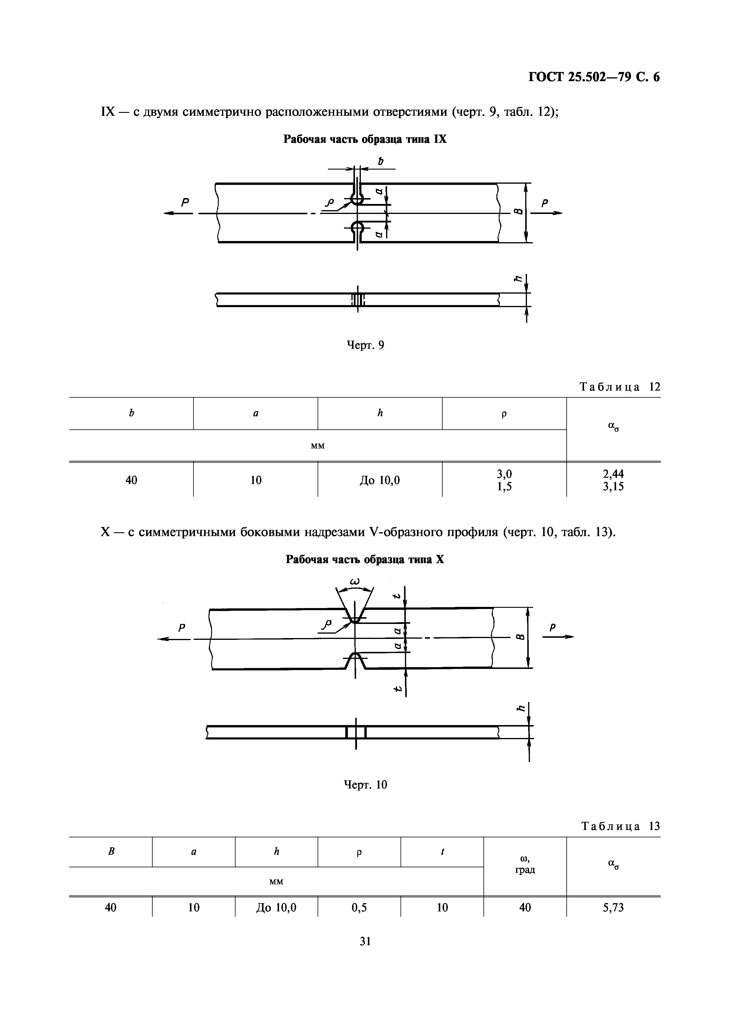
| Область применения: | Стандарт устанавливает методы испытаний образцов металлов и сплавов на усталость: при растяжении - сжатии, изгибе и кручении; при симметричных и асимметричных циклах напряжений или деформаций, измеряющихся по простому периодическому закону с постоянными параметрами; при наличии и отсутствии концентрации напряжений; при нормальной, повышенной и пониженной температурах; при наличии или отсутствии агрессивной среды; в много- и малоцикловой упругой и упругопластической области. Стандарт не устанавливает специальные методы испытаний образцов, используемые при отработке прочности высоконапряженных конструкций. |
| Оглавление: | 1 Методы отбора образцов 2 Аппаратура 3 Проведение испытаний 4 Обработка результатов Приложения |
| Утверждён: | 30.10.1979 Государственный комитет СССР по стандартам (USSR National Committee on Standards 4146) |
| Издан: | Издательство стандартов (1986 г. ) Стандартинформ (2005 г. ) |
| Расположен в: | |
| Заменяет собой: |
|
| Нормативные ссылки: |
|
























