Скачать ОСТ 26-02-2042-79 Штуцера из двухслойных сталей с плоскими фланцами с впадиной на Ру 1,6 и 2,5 МПа. Конструкция и размерыДата актуализации: 10.08.2017 ОСТ 26-02-2042-79
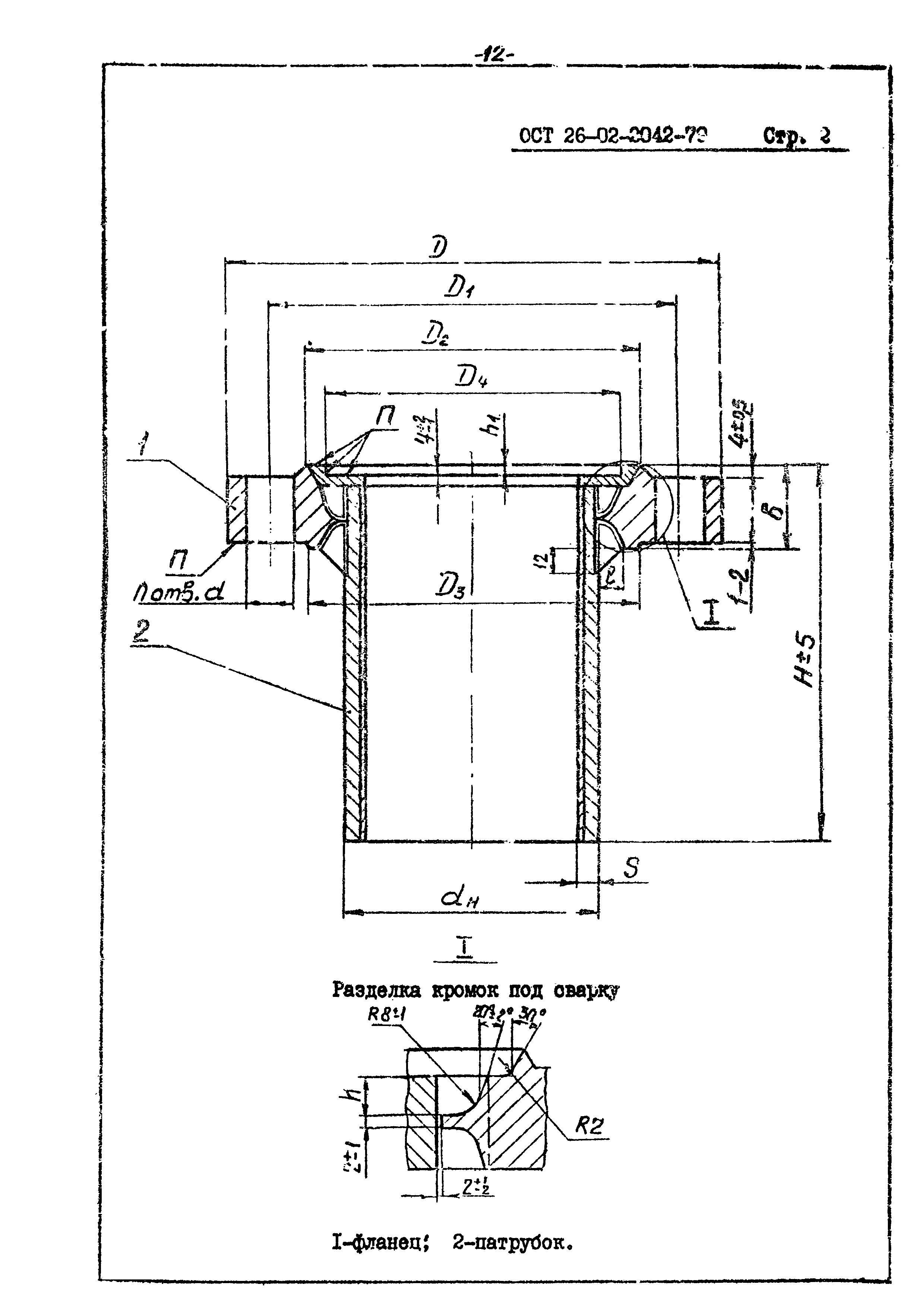
Штуцера из двухслойных сталей с плоскими фланцами с впадиной на Ру 1,6 и 2,5 МПа. Конструкция и размеры| Обозначение: | ОСТ 26-02-2042-79 | | Обозначение англ: | OST 26-02-2042-79 | | Статус: | не определен законодательством | | Название рус.: | Штуцера из двухслойных сталей с плоскими фланцами с впадиной на Ру 1,6 и 2,5 МПа. Конструкция и размеры | | Название англ.: | Couplings of Two-Layer Steel With Flat Recessed Flanges for Use at Nominal Pressure from 1.6 to 2.5 MPa - Design and Dimensions | | Дата добавления в базу: | 01.09.2013 | | Дата актуализации: | 05.05.2017 | | Дата введения: | 01.01.1986 | | Область применения: | Стандарт распространяется на штуцера из двухслойных сталей с плоскими приварными фланцами с наплавленной уплотнительной поверхностью с впадиной на условный проход Ду от 150 до 600 мм, условное давление Ру 1,6 и 2,5 МПа (16 и 25 кгс/см2) и температуру от минус 60 до 475 град. Цельсия. | | Утверждён: | 01.01.1979 Минхиммаш СССР (USSR Minkhimmash )
| | Расположен в: |
| | Список изменений: | |
     
Текстовое изменение № 2 от 01.01.1991
 
Текстовое изменение № 3 от 01.09.1993

|