Информационная система
«Ёшкин Кот»

Скачать базу одним архивом
Скачать обновления
История создания базы
Карта сайта

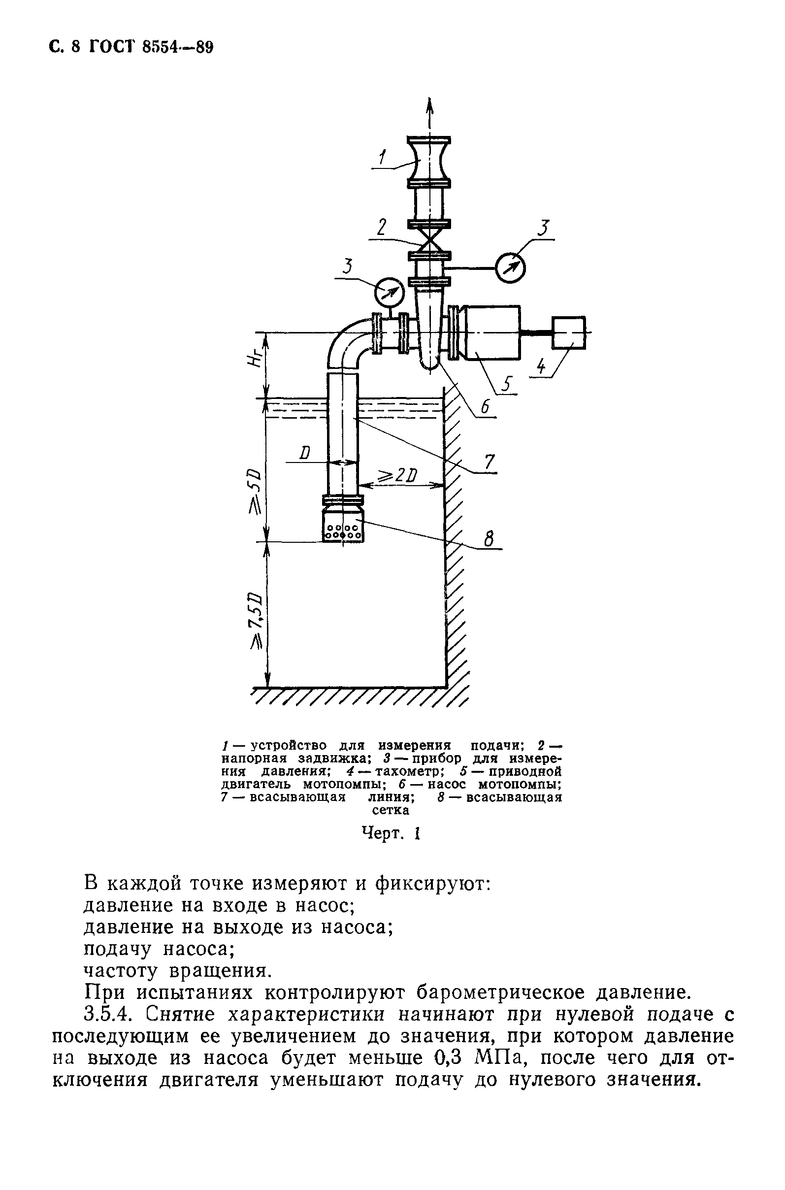
Скачать ГОСТ 8554-89 Техника пожарная. Мотопомпы. Приемка и методы испытаний

Дата актуализации: 10.08.2017

ГОСТ 8554-89

Техника пожарная. Мотопомпы. Приемка и методы испытаний

Обозначение: ГОСТ 8554-89
Обозначение англ: GOST 8554-89
Статус:не действует
Название рус.:Техника пожарная. Мотопомпы. Приемка и методы испытаний
Название англ.:Fire equipment. Motor-pumps. Acceptance and test methods
Дата добавления в базу:01.09.2013
Дата актуализации:05.05.2017
Дата введения:01.01.1992
Дата окончания срока действия:01.05.2009
Область применения:Стандарт распространяется на переносные и прицепные пожарные мотопомпы, предназначенные для подачи воды и растворов пенообразователя при тушении пожаров, и устанавливает методы испытаний и требования к приемке.
Оглавление:1 Виды испытаний
2 Средства измерений и контроля
3 Проведение испытаний
4 Обработка результатов испытаний
5 Оформление результатов испытаний
Приложение (справочное) Термины, применяемые в настоящем стандарте и их пояснения
Разработан: Министерство внутренних дел СССР
Утверждён:30.11.1989 Госстандарт СССР (USSR Gosstandart 3533)
Издан: Издательство стандартов (1990 г. )
Расположен в:Техническая документация Электроэнергия ОХРАНА ОКРУЖАЮЩЕЙ СРЕДЫ, ЗАЩИТА ЧЕЛОВЕКА ОТ ВОЗДЕЙСТВИЯ ОКРУЖАЮЩЕЙ СРЕДЫ. БЕЗОПАСНОСТЬ Защита от пожаров Пожаротушение Экология ОХРАНА ОКРУЖАЮЩЕЙ СРЕДЫ, ЗАЩИТА ЧЕЛОВЕКА ОТ ВОЗДЕЙСТВИЯ ОКРУЖАЮЩЕЙ СРЕДЫ. БЕЗОПАСНОСТЬ Защита от пожаров Пожаротушение Строительство Стандарты Другие государственные стандарты, применяемые в строительстве Охрана окружающей среды, защита человека от воздействия окружающей среды. Безопасность
Заменяет собой:
Нормативные ссылки:
ГОСТ 8554-89ГОСТ 8554-89ГОСТ 8554-89ГОСТ 8554-89ГОСТ 8554-89ГОСТ 8554-89ГОСТ 8554-89ГОСТ 8554-89ГОСТ 8554-89ГОСТ 8554-89ГОСТ 8554-89ГОСТ 8554-89ГОСТ 8554-89ГОСТ 8554-89ГОСТ 8554-89ГОСТ 8554-89ГОСТ 8554-89ГОСТ 8554-89ГОСТ 8554-89ГОСТ 8554-89ГОСТ 8554-89ГОСТ 8554-89ГОСТ 8554-89

© 2013 Ёшкин Кот :-) Карта сайта