| ||||||||||||||||||||||||||||||||
Скачать РМ 78.36.001-99 Справочник инженерно-технических работников и электромонтеров технических средств охранно-пожарной сигнализацииДата актуализации: 10.08.2017
|
| Обозначение: | РМ 78.36.001-99 |
| Обозначение англ: | RM 78.36.001-99 |
| Статус: | действует |
| Название рус.: | Справочник инженерно-технических работников и электромонтеров технических средств охранно-пожарной сигнализации |
| Название англ.: | Engineers' and Electricians' Guide to Security Alarm and Fire Alarm Systems |
| Дата добавления в базу: | 01.09.2013 |
| Дата актуализации: | 05.05.2017 |
| Область применения: | В Справочнике приведены краткие сведения о технических средствах охранно-пожарной сигнализации, видеоконтроля доступа, их классификация, технико-технические характеристики, типовые варианты применения, особенности монтажа и эксплуатации, даны сведения о проводах и кабелях, применяемых при монтаже и эксплуатации этих систем, приведены требования нормативных и руководящих документов по этим вопросам, освещены вопросы техники безопасности. Справочник предназначен для инженерно-технических работников и электромонтеров вневедомственной охраны, занимающихся вопросами оборудования объектов техническими средствами охранно-пожарной сигнализации, видеоконтроля доступа и их эксплуатацией. |
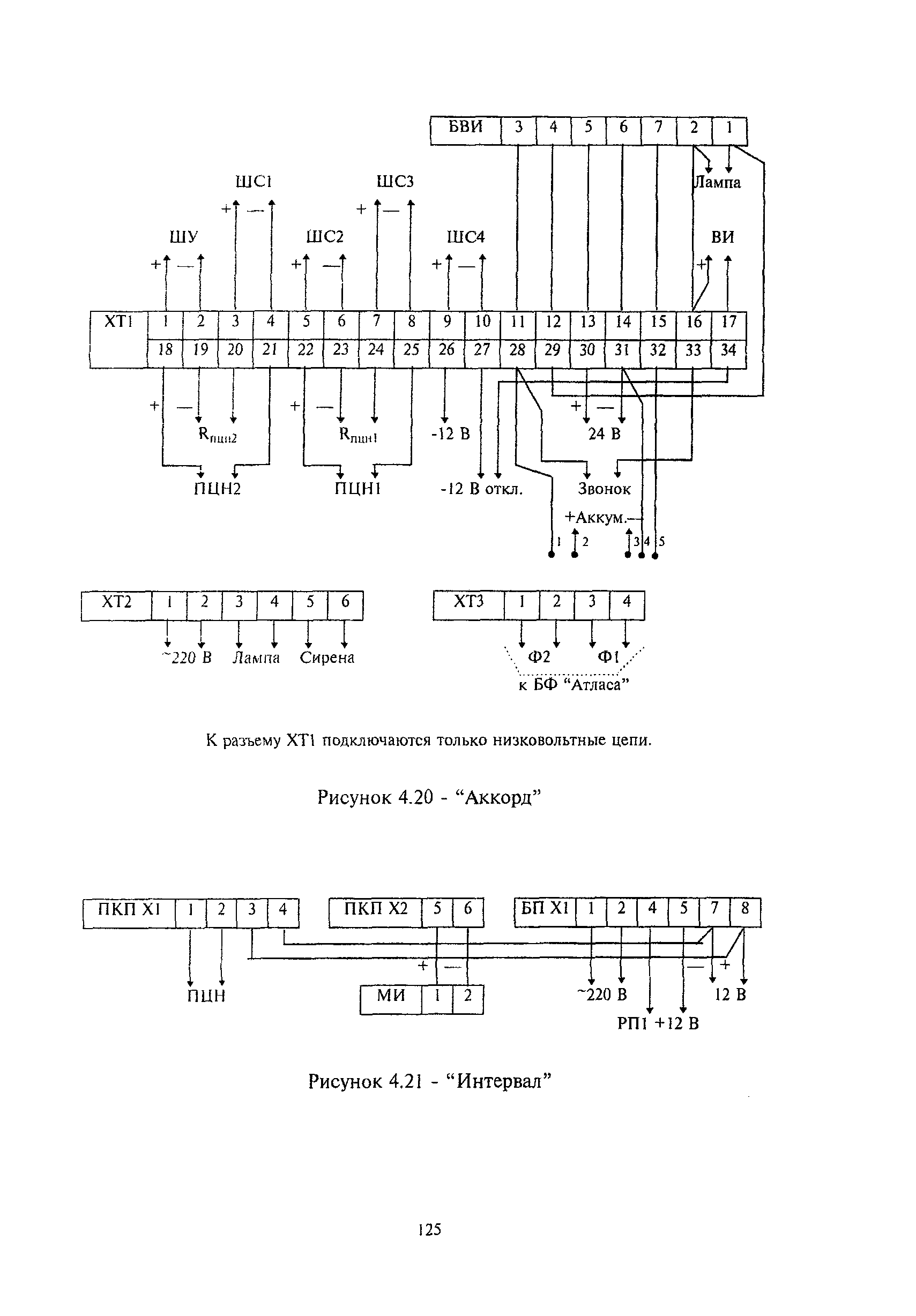
| Оглавление: | 1. Введение 2. Общие указания 2.1. Термины и определения 2.2. Сокращения 2.3. Классификация технических средств сигнализации 2.3.1. Классификация охранных и охранно-пожарных извещателей 2.3.2. Классификация приборов приемно-контрольных 2.3.3. Классификация оповещателей 2.4. Обозначение условные графические элементов ОС, ПС и ОПС 2.5. Нормативно-техническая документация 3. Охранные извещатели 3.1. Виды помех и их возможные источники 3.2. Типовые охранные извещатели, условия применения 3.2.1. Извещатели омические 3.2.2. Извещатели магнитоконтактные (контактные) 3.2.3. Извещатели ударноконтактные 3.2.4. Извещатели пьезоэлектрические 3.2.5. Извещатели емкостные 3.2.6. Извещатели звуковые 3.2.7. Извещатели ультразвуковые 3.2.8. Извещатели активные оптико-электронные 3.2.9. Извещатели пассивные оптико-электронные 3.2.10. Извещатели радиоволновые 3.2.11. Извещатели комбинированные 3.2.12. Извещатели тревожной сигнализации 3.3. Разметка крепления извещателей 3.4. Схемы внешних соединений извещателей 3.5. Диаграммы зон обнаружения 4. Приборы приемно-контрольные 4.1. Назначение приборов приемно-контрольных 4.2. Монтаж ППК 4.3. Типовые ППК условия применения 4.3.1. ППК малой информационной емкости 4.3.2. ППК средней информационной емкости 4.3.3. ППК большой информационной емкости 4.4. Разметка крепления ППК 4.5. Схемы внешних соединений ППК 5. Оповещатели и устройства коммутации 5.1. Оповещатели световые 5.2. Оповещатели звуковые 5.3. Разметка крепления звуковых оповещателей 5.4. Устройства коммутации 6. Типовые варианты блокировки 6.1. Блокировка окон и остекленных конструкций 6.2. Блокировка дверей (ворот) 6.3. Блокировка решетчатых конструкций 6.4. Блокировка стен полов и потолков 6.5. Блокировка сейфов и отдельных предметов 6.6. Блокировка коридоров 6.7. Блокировка объема помещений 6.8. Блокировка внешнего периметра и открытых площадок 7. Технические средства пожарной сигнализации 7.1. Размещение пожарных извещателей 7.2. Пожарные извещатели 7.2.1. Типовые пожарные извещатели, технические характеристики и условия применения 7.3. Приборы пульты приемно-контрольные и сигнально-пусковые устройства 7.3.1. Типовые ППК и сигнально-пусковые устройства 7.4. Разметка крепления технических средств пожарной сигнализации 7.5. Схемы подключения технических средств пожарной сигнализации 8. Электроснабжение ТС ОПС 8.1. Требования к электроснабжению ТС ОПС 8.2. Источники питания ТС ОПС 9. Правила монтажа электропроводок 9.1. Монтаж линейной части 9.2. Прокладка электропроводок в трубах 9.3. Прокладка электропроводок в коробах 9.4. Прокладка электропроводок напряжением 220 В 9.5. Монтаж электропроводок ТС ОПС по периметру объекта 10. Требования к монтажу ТС ОПС в пожароопасных зонах 11. Заземление ТС ОПС 12. Требования безопасности труда 13. Общие сведения об интегрированных системах охраны 13.1. Принципы организации интегрированных систем охраны 13.1.1. Определение интегрированной системы охраны 13.1.2. Структура и функции интегрированной системы охраны 13.1.3. Выбор характеристик ИСО для конкретного объекта 13.2. Системы контроля доступа Назначение, классификация 13.2.1. Устройства заграждающие 13.2.2. Устройства идентификации доступа 13.2.3. Устройства контроля и управления доступом 13.3. Телевизионные системы видеоконтроля Назначение, классификация 13.3.1. Телевизионные камеры 13.3.2. Устройства обработки и коммутации видеосигнал 13.3.3. Устройства регистрации 13.3.4. Устройства передачи телевизионного сигнала 13.3.5. Особенности применения ТСВ на объектах Алфавитный указатель технических средств сигнализации |
| Разработан: | НИЦ Охрана ВНИИПО МВД России |
| Утверждён: | 01.01.1997 НИЦ Охрана ГУВО МВД России (Okhrana NITs, Security Guard Service Administration at the Russian Federation Ministry of Internal Affairs ) |
| Издан: | НИЦ Охрана ГУВО МВД России (1997 г. ) |
| Расположен в: | |
| Нормативные ссылки: |
|






































































































































































































































































