Информационная система
«Ёшкин Кот»

Скачать базу одним архивом
Скачать обновления
История создания базы
Карта сайта

Скачать Р 78.36.009-99 Рекомендации по подключению и эксплуатации комбинированных систем централизованной охраны

Дата актуализации: 10.08.2017

Р 78.36.009-99

Рекомендации по подключению и эксплуатации комбинированных систем централизованной охраны

Обозначение: Р 78.36.009-99
Обозначение англ: R 78.36.009-99
Статус:действует
Название рус.:Рекомендации по подключению и эксплуатации комбинированных систем централизованной охраны
Название англ.:Recommended Practice for the Connection and Operation of Central Station Security Systems
Дата добавления в базу:01.09.2013
Дата актуализации:05.05.2017
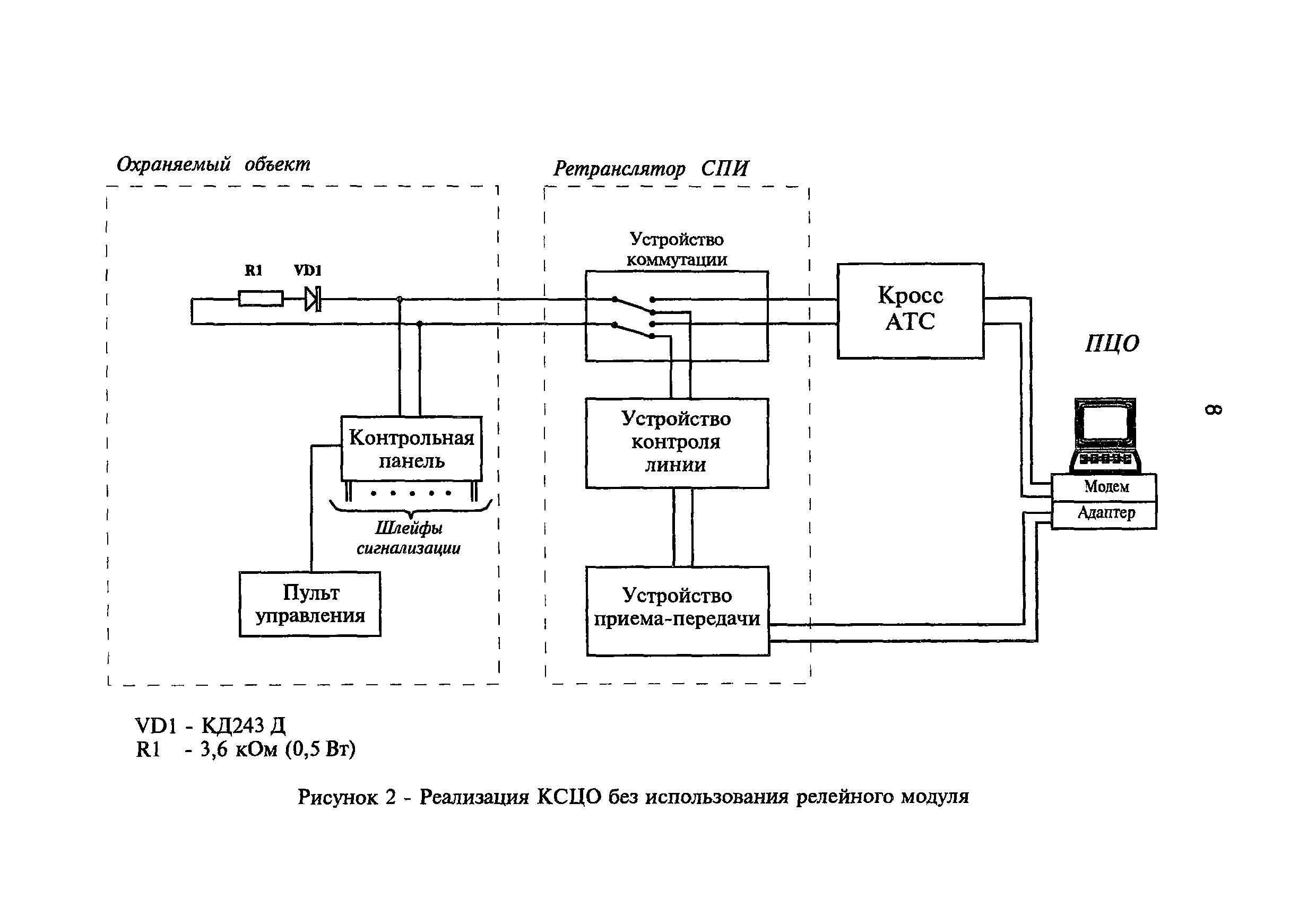
Область применения:В документе изложены способы построения систем охранно-пожарной сигнализации, использующих телефонные линии связи для передачи служебных и тревожных сообщений с объектовых оконечных устройств (ООУ)
Оглавление:Введение
1 Общие положения
2 Типовые варианты построения КСЦО на основе использования контрольных панелей "Виста"
   - вариант 1
   - вариант 2
   - вариант 3
3 О перепрограммировании контрольной панели "Виста" для КСЦО
4 Условия поставки
Разработан: НИЦ Охрана ГУВО МВД России
Утверждён:27.06.1998 ГУВО МВД России (Security Guard Service Administration at the Russian Federation Ministry of Internal Affairs )
Издан: НИЦ Охрана ГУВО МВД России (1999 г. )
Расположен в:Техническая документация Экология ОХРАНА ОКРУЖАЮЩЕЙ СРЕДЫ, ЗАЩИТА ЧЕЛОВЕКА ОТ ВОЗДЕЙСТВИЯ ОКРУЖАЮЩЕЙ СРЕДЫ. БЕЗОПАСНОСТЬ Защита от преступлений Защита от пожаров Противопожарные средства Строительство Нормативные документы Нормативные документы органов надзора Нормативные документы Государственной противопожарной службы и вневедомственной охраны МВД
Р 78.36.009-99Р 78.36.009-99Р 78.36.009-99Р 78.36.009-99Р 78.36.009-99Р 78.36.009-99Р 78.36.009-99Р 78.36.009-99Р 78.36.009-99Р 78.36.009-99Р 78.36.009-99Р 78.36.009-99Р 78.36.009-99Р 78.36.009-99Р 78.36.009-99Р 78.36.009-99Р 78.36.009-99Р 78.36.009-99

© 2013 Ёшкин Кот :-) Карта сайта