| ||||||||||||||||||||||||||||||||||
Скачать ГОСТ 30402-96 Материалы строительные. Метод испытания на воспламеняемостьДата актуализации: 10.08.2017
|
| Обозначение: | ГОСТ 30402-96 |
| Обозначение англ: | GOST 30402-96 |
| Статус: | введен впервые |
| Название рус.: | Материалы строительные. Метод испытания на воспламеняемость |
| Название англ.: | Building materials. Ignitability Test Method. |
| Дата добавления в базу: | 01.09.2013 |
| Дата актуализации: | 05.05.2017 |
| Дата введения: | 01.07.1996 |
| Область применения: | Стандарт устанавливает метод испытания строительных материалов на воспламеняемость и классификацию их по группам воспламеняемости. Настоящий стандарт применяется для всех однородных и слоистых горючих строительных материалов |
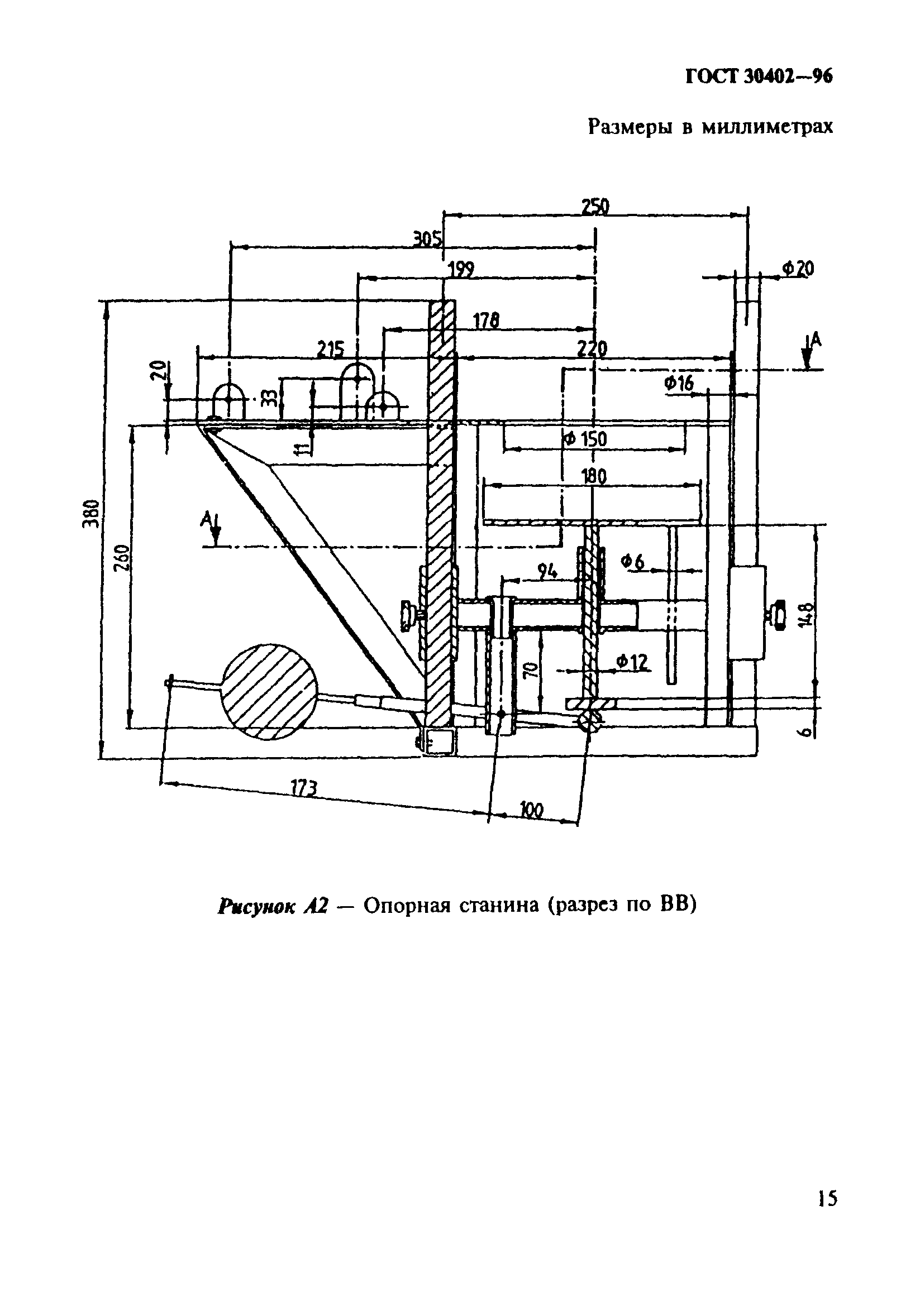
| Оглавление: | Введение 1 Область применения 2 Нормативные ссылки 3 Определения 4 Основные положения 5 Классификация строительных материалов по группам воспламеняемости 6 Образцы для испытания 7 Оборудование для испытания 8 Калибровка установки 9 Проведение испытания 10 Протокол испытания 11 Требования безопасности Приложение А (справочное) |
| Разработан: | ВНИИПО МВД России ЦНИИСК им. В.А. Кучеренко ГНЦ Строительство |
| Утверждён: | 24.06.1996 Минстрой России (Russian Federation Minstroy 18-40) |
| Издан: | ГУП ЦПП (CPP GUP 1996 г. ) |
| Расположен в: | |
| Нормативные ссылки: |
|
































