Информационная система
«Ёшкин Кот»

Скачать базу одним архивом
Скачать обновления
История создания базы
Карта сайта

Скачать ГОСТ 28905-91 Машины землеройные. Ножи боковые бульдозерных отвалов. Отверстия

Дата актуализации: 10.08.2017

ГОСТ 28905-91

Машины землеройные. Ножи боковые бульдозерных отвалов. Отверстия

Обозначение: ГОСТ 28905-91
Обозначение англ: GOST 28905-91
Статус:действует
Название рус.:Машины землеройные. Ножи боковые бульдозерных отвалов. Отверстия
Название англ.:Earth-moving machinery. Dozer end bits. Hole specification
Дата добавления в базу:01.09.2013
Дата актуализации:05.05.2017
Дата введения:01.01.1992
Область применения:Стандарт распространяется на неповоротные, поворотные, сферические и полусферические бульдозерные отвалы и устанавливает основные требования к расположению, формам и размерам отверстий под болты крепления боковых ножей бульдозерных отвалов. Стандарт не распространяется на вновь разрабатываемые и модернизируемые бульдозеры.
Оглавление:1 Назначение и область применения
2 Определения
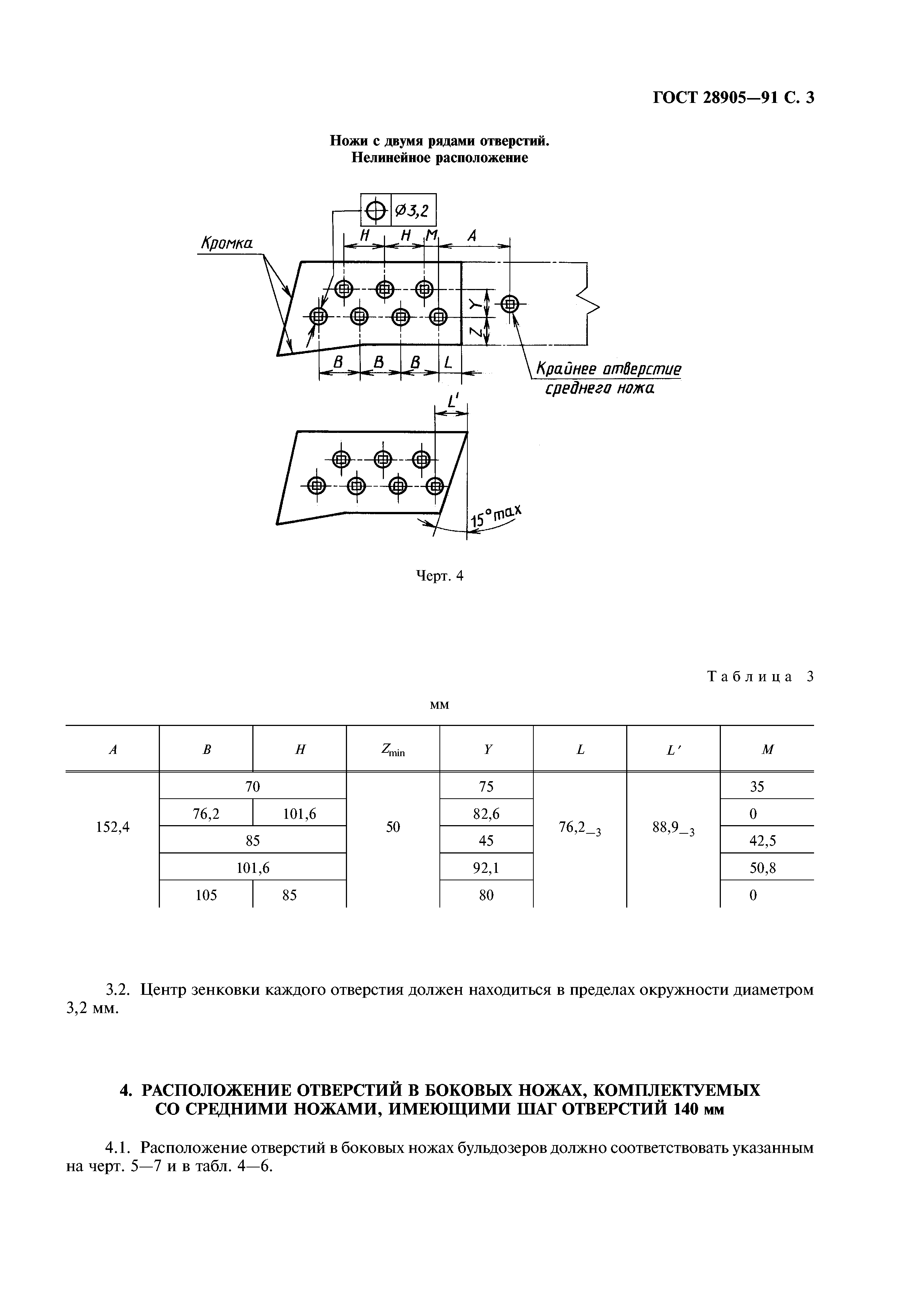
3 Расположение отверстий в боковых ножах, комплектуемых со средними ножами, имеющими шаг отверстий 152,4 мм
4 Расположение отверстий в боковых ножах, комплектуемых со средними ножами, имеющими шаг отверстий 140 мм
5 Отверстие под болт крепления
Разработан: Минтяжмаш СССР
Утверждён:30.01.1991 Госстандарт России (Russian Federation Gosstandart 73)
Издан: Издательство стандартов (1991 г. )
ИПК Издательство стандартов (2004 г. )
Расположен в:Техническая документация Электроэнергия ПОДЪЕМНО-ТРАНСПОРТНОЕ ОБОРУДОВАНИЕ Землеройные машины Экология ПОДЪЕМНО-ТРАНСПОРТНОЕ ОБОРУДОВАНИЕ Землеройные машины Строительство Стандарты Другие государственные стандарты, применяемые в строительстве Подъемно-транспортное оборудование
Нормативные ссылки:
ГОСТ 28905-91ГОСТ 28905-91ГОСТ 28905-91ГОСТ 28905-91ГОСТ 28905-91ГОСТ 28905-91ГОСТ 28905-91

© 2013 Ёшкин Кот :-) Карта сайта