| ||||||||||||||||||||||||||||||||||
Скачать ГОСТ 7353-90 Деревообрабатывающее оборудование. Станки сверлильно-пазовальные. Основные параметры. Нормы точностиДата актуализации: 10.08.2017
|
| Обозначение: | ГОСТ 7353-90 |
| Обозначение англ: | GOST 7353-90 |
| Статус: | действует |
| Название рус.: | Деревообрабатывающее оборудование. Станки сверлильно-пазовальные. Основные параметры. Нормы точности |
| Название англ.: | Woodworking equipment. Drilling-grooving machines. Basic parameters. Norms of accuracy |
| Дата добавления в базу: | 01.09.2013 |
| Дата актуализации: | 05.05.2017 |
| Дата введения: | 01.01.1992 |
| Область применения: | Стандарт распространяется на деревообрабатывающие горизонтальные и вертикальные сверлильно-пазовальные станки общего назначения, предназначенные для сверления отверстий и фрезерования пазов. |
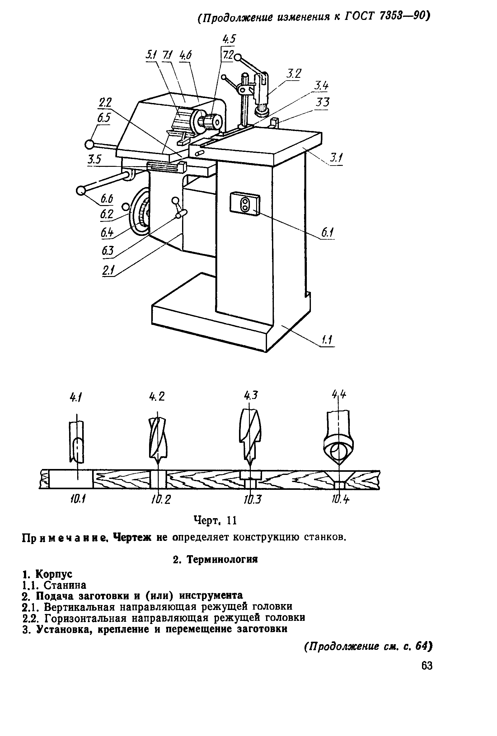
| Оглавление: | 1 Основные параметры 2 Проверка геометрической точности станка 3 Проверка точности станка в работе Приложение 1 Условия испытания и допустимые отклонения (ИСО 7945-85) Приложение 2 Условия испытаний и допускаемые отклонения (ИСО 7946-85) Приложение 3 ИСО 7946-85 "Деревообрабатывающие станки. Сверлильно-пазовальные станки. Номенклатура и условия приемки" Приложение 4 ИСО 7945-85 "Деревообрабатывающие станки. Одношпиндельные сверлильные станки. Номенклатура и условия приемки" |
| Разработан: | Министерство станкостроительной и инструментальной промышленности СССР |
| Утверждён: | 27.11.1990 Госстандарт СССР (USSR Gosstandart 2938) |
| Издан: | Издательство стандартов (1991 г. ) |
| Расположен в: | |
| Заменяет собой: |
|























