| ||||||||||||||||||||||||||||||||||||||
Скачать ГОСТ 5089-97 Замки и защелки для дверей. Технические условияДата актуализации: 10.08.2017
|
| Обозначение: | ГОСТ 5089-97 |
| Обозначение англ: | GOST 5089-97 |
| Статус: | заменен |
| Название рус.: | Замки и защелки для дверей. Технические условия |
| Название англ.: | Locks and latches for doors. Specifications |
| Дата добавления в базу: | 01.10.2014 |
| Дата актуализации: | 05.05.2017 |
| Дата введения: | 01.03.2004 |
| Область применения: | Стандарт распространяется на замки и защелки для дверей, применяемых в жилых и общественных зданиях. |
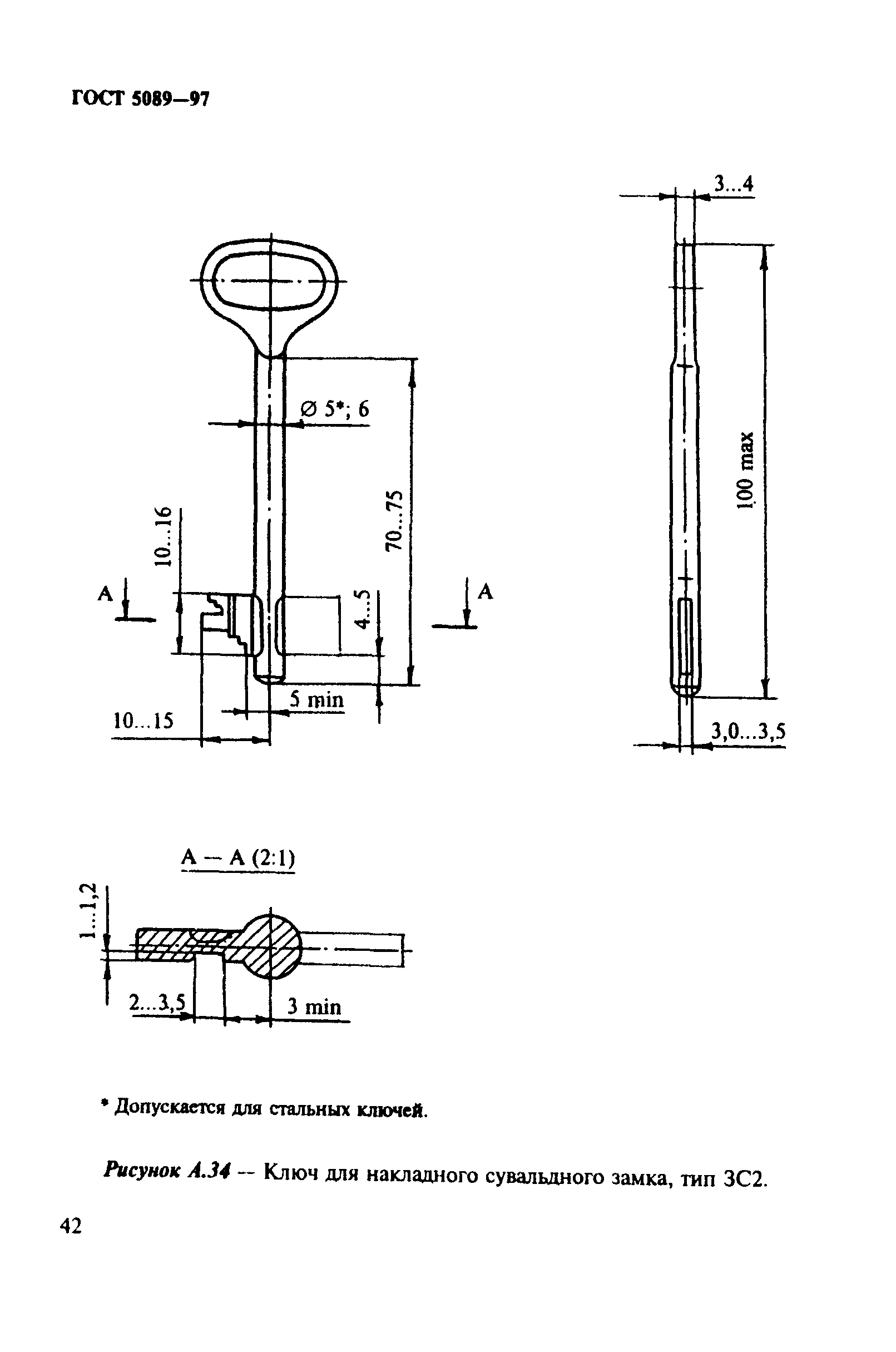
| Оглавление: | 1 Область применения 2 Нормативные ссылки 3 Классы, основные параметры и размеры 4 Технические требования 5 Правила приемки 6 Методы контроля 7 Транспортирование и хранение 8 Гарантии изготовителя Приложение А Замки Приложение Б Марки замков и защелок Приложение В Запорные планки для замков типов 3В4, 3В5, 3В7, 3В9, 3В10 |
| Разработан: | ЦПКТБ Минстроя России |
| Утверждён: | 25.08.1997 Госстрой России (Russian Federation Gosstroy 18-46) 23.04.1997 Межгосударственная научно-техническая комиссия по стандартизации, техническому нормированию и сертификации в строительстве (18-46) |
| Издан: | ГУП ЦПП (CPP GUP 1997 г. ) |
| Расположен в: | |
| Заменяет собой: | |
| Чем заменён: | |
| Нормативные ссылки: |
|




















































