Информационная система
«Ёшкин Кот»

Скачать базу одним архивом
Скачать обновления
История создания базы
Карта сайта

Скачать ГОСТ 25628-90 Колонны железобетонные для одноэтажных зданий предприятий. Технические условия

Дата актуализации: 10.08.2017

ГОСТ 25628-90

Колонны железобетонные для одноэтажных зданий предприятий. Технические условия

Обозначение: ГОСТ 25628-90
Обозначение англ: GOST 25628-90
Статус:заменен
Название рус.:Колонны железобетонные для одноэтажных зданий предприятий. Технические условия
Название англ.:Reinforced concrete columns for single-story industrial buildings. Specifications
Дата добавления в базу:01.09.2013
Дата актуализации:05.05.2017
Дата введения:01.01.2017
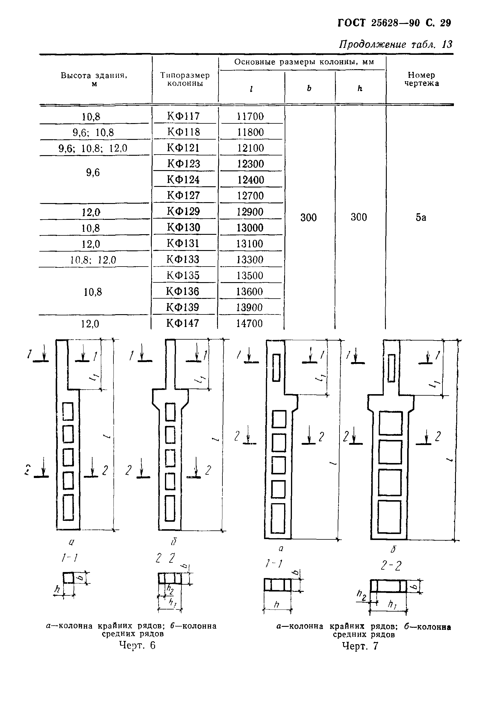
Область применения:Стандарт распространяется на железобетонные колонны сплошного прямоугольного поперечного сечения и двухветвевые, изготовляемые из тяжелого бетона и предназначенные для каркасов одноэтажных зданий предприятий всех отраслей промышленности и народного хозяйства, за исключением зданий гражданского строительства.
Оглавление:1 Технические требования
2 Приемка
3 Методы контроля
4 Транспортирование и хранение
Приложение Форма и основные размеры колонн
Разработан: ЦНИИпромзданий
Утверждён:29.01.1990 Государственный комитет Совета Министров СССР по делам строительства (6)
Издан: ЦИТП Госстроя СССР (CITP, Gosstroy (USSR) 1990 г. )
Расположен в:Техническая документация Электроэнергия СТРОИТЕЛЬНЫЕ МАТЕРИАЛЫ И СТРОИТЕЛЬСТВО Конструкции зданий Бетонные конструкции Экология СТРОИТЕЛЬНЫЕ МАТЕРИАЛЫ И СТРОИТЕЛЬСТВО Конструкции зданий Бетонные конструкции Строительство Нормативные документы Документы Системы нормативных документов в строительстве Нормативные документы на строительные конструкции и изделия к.52 Железобетонные и бетонные конструкции
Заменяет собой:
  • ГОСТ 25628-83 «Колонны железобетонные для одноэтажных производственных зданий. Общие технические условия»
Чем заменён:
Нормативные ссылки:
ГОСТ 25628-90ГОСТ 25628-90ГОСТ 25628-90ГОСТ 25628-90ГОСТ 25628-90ГОСТ 25628-90ГОСТ 25628-90ГОСТ 25628-90ГОСТ 25628-90ГОСТ 25628-90ГОСТ 25628-90ГОСТ 25628-90ГОСТ 25628-90ГОСТ 25628-90ГОСТ 25628-90ГОСТ 25628-90ГОСТ 25628-90ГОСТ 25628-90ГОСТ 25628-90ГОСТ 25628-90ГОСТ 25628-90ГОСТ 25628-90ГОСТ 25628-90ГОСТ 25628-90ГОСТ 25628-90ГОСТ 25628-90ГОСТ 25628-90ГОСТ 25628-90ГОСТ 25628-90ГОСТ 25628-90ГОСТ 25628-90ГОСТ 25628-90ГОСТ 25628-90ГОСТ 25628-90ГОСТ 25628-90

© 2013 Ёшкин Кот :-) Карта сайта