| ||||||||||||||||||||||||||||||||||
Скачать ГОСТ 25459-82 Опоры железобетонные дорожных знаков. Технические условияДата актуализации: 10.08.2017
|
| Обозначение: | ГОСТ 25459-82 |
| Обозначение англ: | GOST 25459-82 |
| Статус: | действует |
| Название рус.: | Опоры железобетонные дорожных знаков. Технические условия |
| Название англ.: | Concrete posts for road signs. Specifications |
| Дата добавления в базу: | 01.09.2013 |
| Дата актуализации: | 05.05.2017 |
| Дата введения: | 01.01.1984 |
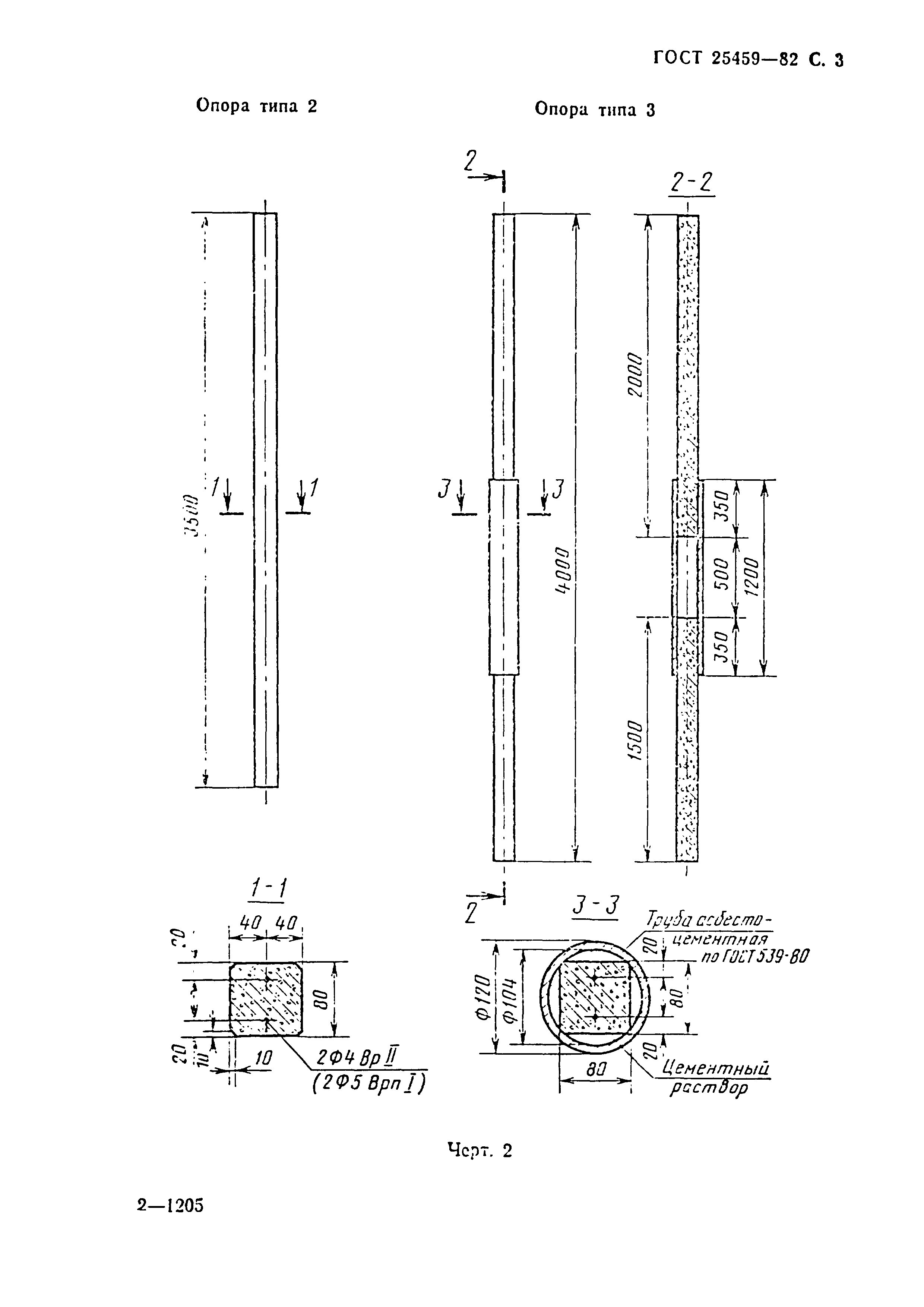
| Область применения: | Стандарт распространяется на железобетонные предварительно напряженные опоры, изготавливаемые из тяжелого бетона и легкого бетона па пористых заполнителях и предназначаемые для установки дорожных знаков по ГОСТ 10807—78. |
| Оглавление: | 1. Типы, основные параметры и размеры 2. Технические требования 3. Правила приемки 4. Методы контроля и испытаний 5. Маркировка, хранение и транспортирование Приложение (рекомендуемое). Указания по выбору параметров опоры дорожных знаков |
| Разработан: | Союздорнии Минтрансстроя ВНИИ БД МВД СССР Гипродорнии Минавтодора РСФСР НИИЖБ Госстроя СССР |
| Утверждён: | 14.09.1982 Госстрой СССР (Государственный комитет Совета Министров СССР по делам строительства) (USSR Gosstroy 215) |
| Издан: | Издательство стандартов (1983 г. ) Издательство стандартов (1987 г. ) |
| Расположен в: | |
| Нормативные ссылки: |
|



















