Информационная система
«Ёшкин Кот»

Скачать базу одним архивом
Скачать обновления
История создания базы
Карта сайта

Скачать ГОСТ 22689.2-89 Трубы полиэтиленовые канализационные и фасонные части к ним. Конструкция

Дата актуализации: 10.08.2017

ГОСТ 22689.2-89

Трубы полиэтиленовые канализационные и фасонные части к ним. Конструкция

Обозначение: ГОСТ 22689.2-89
Обозначение англ: GOST 22689.2-89
Статус:заменен
Название рус.:Трубы полиэтиленовые канализационные и фасонные части к ним. Конструкция
Название англ.:Polyethylene waste-pipes and fittings. Construction
Дата добавления в базу:01.09.2013
Дата актуализации:05.05.2017
Дата введения:01.07.2015
Область применения:Cтандарт распространяется на трубы и фасонные части к ним из полиэтилена низкого давления (ПНД) и полиэтилена высокого давления (ПВД), предназначенные для внутренней канализации зданий, и комплектующие детали к ним.
Оглавление:1 Трубы
2 Раструбы и гладкие концы фасонных частей
3 Патрубки
4 Патрубки компенсационные
5 Патрубки переходные
6 Патрубки приборные
7 Отводы приборные
8 Отводы
9 Тройники
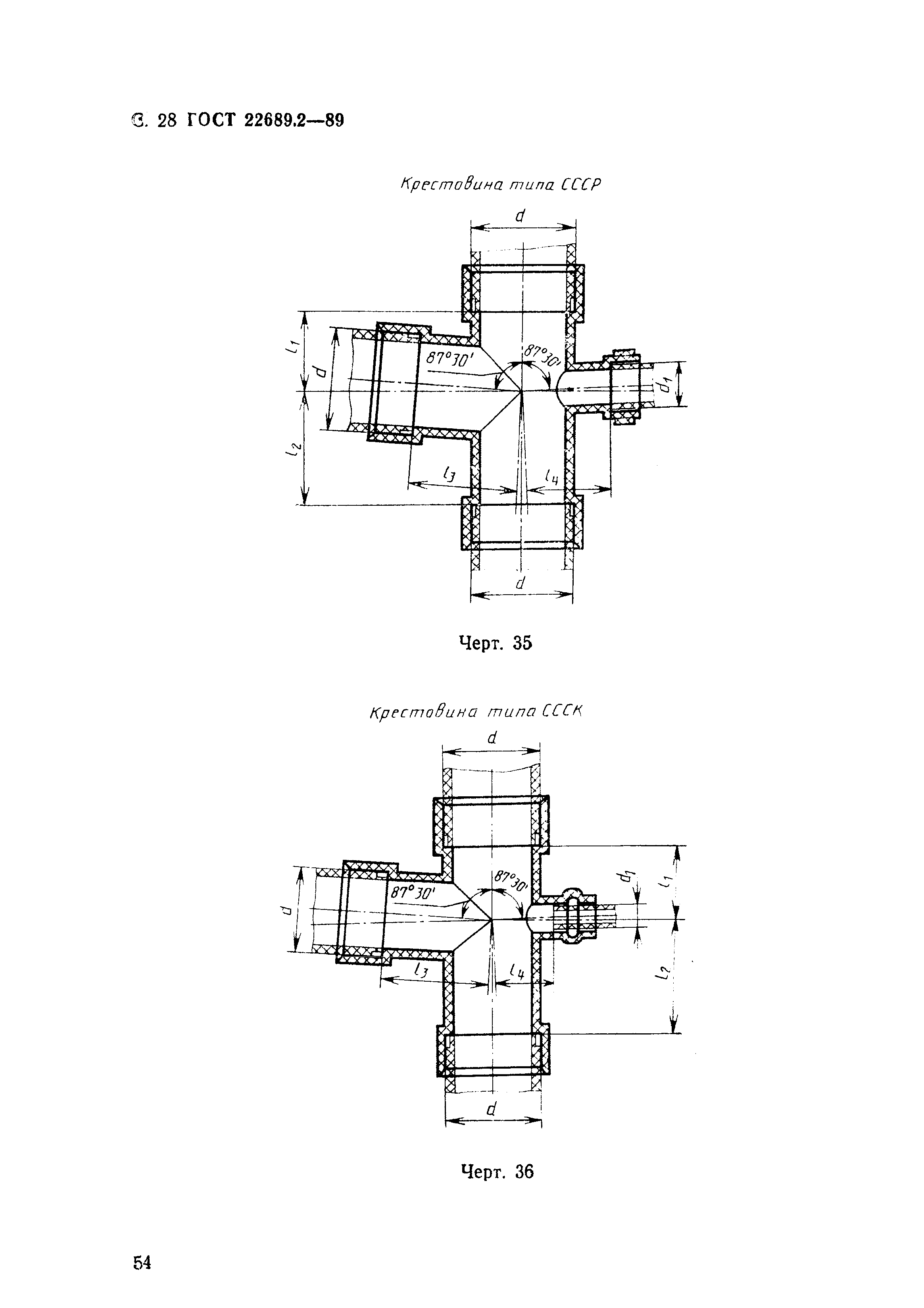
10 Крестовины
11 Крестовины со смещенными осями отводов
12 Тройники универсальные
13 Муфты
14 Ревизии
15 Заглушки и крышки
16 Гайки накидные
17 Лента прокладочная
18 Кольца уплотнительные
19 Прокладки уплотнительные
Приложение (справочное) Теоретическая масса 1 м полиэтиленовых канализационных труб
Разработан: Министерство промышленности строительных материалов СССР
Утверждён:16.06.1989 Государственный строительный комитет СССР (USSR National Construction Committee 93)
Издан: ЦИТП Госстроя СССР (CITP, Gosstroy (USSR) 1990 г. )
ИПК Издательство стандартов (2000 г. )
Расположен в:Техническая документация Электроэнергия СТРОИТЕЛЬНЫЕ МАТЕРИАЛЫ И СТРОИТЕЛЬСТВО Установки в зданиях Дренажные системы Экология СТРОИТЕЛЬНЫЕ МАТЕРИАЛЫ И СТРОИТЕЛЬСТВО Установки в зданиях Дренажные системы Строительство Нормативные документы Документы Системы нормативных документов в строительстве Нормативные документы на инженерное оборудование зданий и сооружений и внешние сети к.40 Водоснабжение и канализация
Список изменений:
Заменяет собой:
Чем заменён:
Нормативные ссылки:
ГОСТ 22689.2-89ГОСТ 22689.2-89ГОСТ 22689.2-89ГОСТ 22689.2-89ГОСТ 22689.2-89ГОСТ 22689.2-89ГОСТ 22689.2-89ГОСТ 22689.2-89ГОСТ 22689.2-89ГОСТ 22689.2-89ГОСТ 22689.2-89ГОСТ 22689.2-89ГОСТ 22689.2-89ГОСТ 22689.2-89ГОСТ 22689.2-89ГОСТ 22689.2-89ГОСТ 22689.2-89ГОСТ 22689.2-89ГОСТ 22689.2-89ГОСТ 22689.2-89ГОСТ 22689.2-89ГОСТ 22689.2-89ГОСТ 22689.2-89ГОСТ 22689.2-89ГОСТ 22689.2-89ГОСТ 22689.2-89ГОСТ 22689.2-89ГОСТ 22689.2-89ГОСТ 22689.2-89ГОСТ 22689.2-89ГОСТ 22689.2-89ГОСТ 22689.2-89ГОСТ 22689.2-89ГОСТ 22689.2-89ГОСТ 22689.2-89ГОСТ 22689.2-89ГОСТ 22689.2-89ГОСТ 22689.2-89ГОСТ 22689.2-89ГОСТ 22689.2-89ГОСТ 22689.2-89ГОСТ 22689.2-89ГОСТ 22689.2-89ГОСТ 22689.2-89ГОСТ 22689.2-89ГОСТ 22689.2-89ГОСТ 22689.2-89ГОСТ 22689.2-89ГОСТ 22689.2-89ГОСТ 22689.2-89ГОСТ 22689.2-89ГОСТ 22689.2-89ГОСТ 22689.2-89ГОСТ 22689.2-89

© 2013 Ёшкин Кот :-) Карта сайта