Информационная система
«Ёшкин Кот»

Скачать базу одним архивом
Скачать обновления
История создания базы
Карта сайта

Скачать Сборник 8-1.2 Насосные станции со шнековыми подъемниками. Здания и сооружения водоснабжения и канализации. Сборники укрупненных сметных норм (УСН). Правила разработки и применения укрупненных сметных норм и расценок

Дата актуализации: 10.08.2017

Сборник 8-1.2

Насосные станции со шнековыми подъемниками. Здания и сооружения водоснабжения и канализации. Сборники укрупненных сметных норм (УСН). Правила разработки и применения укрупненных сметных норм и расценок

Обозначение: Сборник 8-1.2
Обозначение англ: Сборник 8-1.2
Статус:действует
Название рус.:Насосные станции со шнековыми подъемниками. Здания и сооружения водоснабжения и канализации. Сборники укрупненных сметных норм (УСН). Правила разработки и применения укрупненных сметных норм и расценок
Название англ.:Pumping Stations with Screw Elevators
Дата добавления в базу:01.09.2013
Дата актуализации:05.05.2017
Дата введения:01.07.1986
Оглавление:Общая часть
§1. Насосная станция со шнековыми подъемниками производительностью от 50 до 100 тыс. м?/сут. Типовой проект 902-1-68.83
§1-1. Строительные работы
§1-2. Монтажные работы
§1-3. Состав и стоимость основного технологического оборудования, руб.
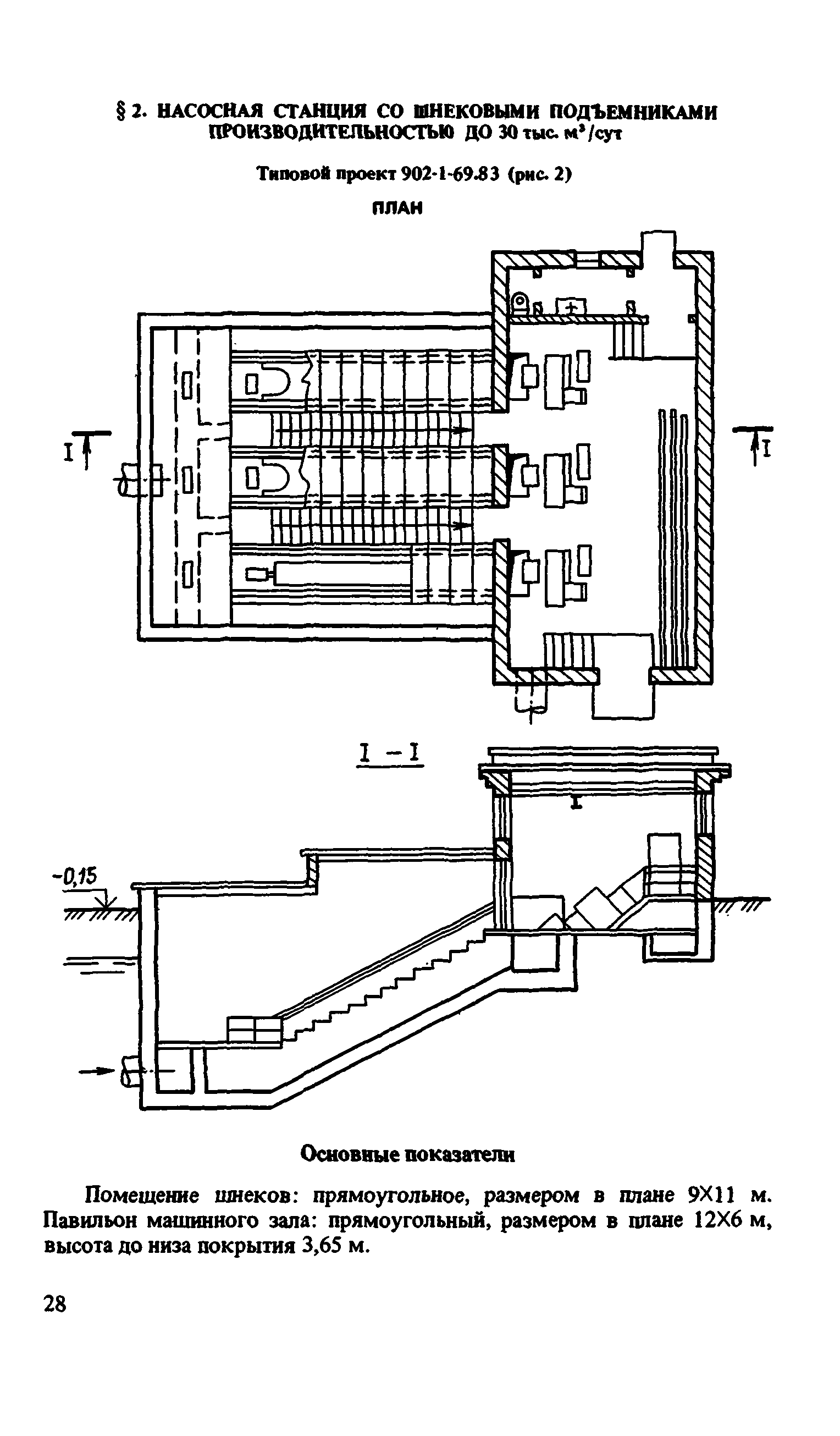
§2. Насосная станция со шнековыми подъемниками производительностью до 30 тыс. м?/сут. Типовой проект 902-1-69.83
§2-1. Строительные работы
§2-2. Монтажные работы
§2-3. Состав и стоимость основного технологического оборудования, руб.
§3. Насосная станция со шнековыми подъемниками производительностью от 100 до 200 тыс. м?/сут. Типовой проект 902-1-97.84
§3-1. Строительные работы
§3-2. Монтажные работы
§3-3. Состав и стоимость основного технологического оборудования, руб.
§4. Насосная станция с закрытыми шнековыми подъемниками производительностью от 100 до 200 тыс. м?/сут. Типовой проект 902-1-98.84
§4-1. Строительные работы
§4-2. Монтажные работы
§4-3. Состав и стоимость основного технологического оборудования, руб.
Приложение 1. Масса грунта, т, от выемки и для обратной засыпки
Приложение 2. Пример определения сметной стоимости строительства насосной станции со шнековыми подъемниками производительностью до 30 тыс. м?/сут по настоящему Сборнику
Разработан: Гипрокоммунводоканал Минжилкомхоза РСФСР
НИИЭС Госстроя СССР
Утверждён:07.02.1986 Госстрой СССР (Государственный комитет Совета Министров СССР по делам строительства) (USSR Gosstroy 14)
Издан: Прейскурантиздат (1988 г. )
Расположен в:Техническая документация Строительство Нормативные документы Документы Системы нормативных документов в строительстве Нормативные документы по экономике к.81 Ценообразование и сметы Классификатор ISO Нормативные документы по экономике Ценообразование и сметы
Сборник 8-1.2Сборник 8-1.2Сборник 8-1.2Сборник 8-1.2Сборник 8-1.2Сборник 8-1.2Сборник 8-1.2Сборник 8-1.2Сборник 8-1.2Сборник 8-1.2Сборник 8-1.2Сборник 8-1.2Сборник 8-1.2Сборник 8-1.2Сборник 8-1.2Сборник 8-1.2Сборник 8-1.2Сборник 8-1.2Сборник 8-1.2Сборник 8-1.2Сборник 8-1.2Сборник 8-1.2Сборник 8-1.2Сборник 8-1.2Сборник 8-1.2Сборник 8-1.2Сборник 8-1.2Сборник 8-1.2Сборник 8-1.2Сборник 8-1.2Сборник 8-1.2Сборник 8-1.2Сборник 8-1.2Сборник 8-1.2Сборник 8-1.2Сборник 8-1.2Сборник 8-1.2Сборник 8-1.2Сборник 8-1.2Сборник 8-1.2Сборник 8-1.2Сборник 8-1.2Сборник 8-1.2Сборник 8-1.2Сборник 8-1.2Сборник 8-1.2Сборник 8-1.2Сборник 8-1.2Сборник 8-1.2Сборник 8-1.2Сборник 8-1.2Сборник 8-1.2Сборник 8-1.2Сборник 8-1.2Сборник 8-1.2Сборник 8-1.2Сборник 8-1.2Сборник 8-1.2Сборник 8-1.2Сборник 8-1.2Сборник 8-1.2Сборник 8-1.2Сборник 8-1.2Сборник 8-1.2Сборник 8-1.2Сборник 8-1.2Сборник 8-1.2Сборник 8-1.2Сборник 8-1.2Сборник 8-1.2Сборник 8-1.2Сборник 8-1.2Сборник 8-1.2Сборник 8-1.2Сборник 8-1.2Сборник 8-1.2Сборник 8-1.2Сборник 8-1.2Сборник 8-1.2Сборник 8-1.2Сборник 8-1.2Сборник 8-1.2Сборник 8-1.2Сборник 8-1.2Сборник 8-1.2Сборник 8-1.2Сборник 8-1.2Сборник 8-1.2Сборник 8-1.2Сборник 8-1.2Сборник 8-1.2Сборник 8-1.2Сборник 8-1.2Сборник 8-1.2Сборник 8-1.2Сборник 8-1.2Сборник 8-1.2Сборник 8-1.2Сборник 8-1.2Сборник 8-1.2Сборник 8-1.2Сборник 8-1.2Сборник 8-1.2Сборник 8-1.2Сборник 8-1.2Сборник 8-1.2

© 2013 Ёшкин Кот :-) Карта сайта