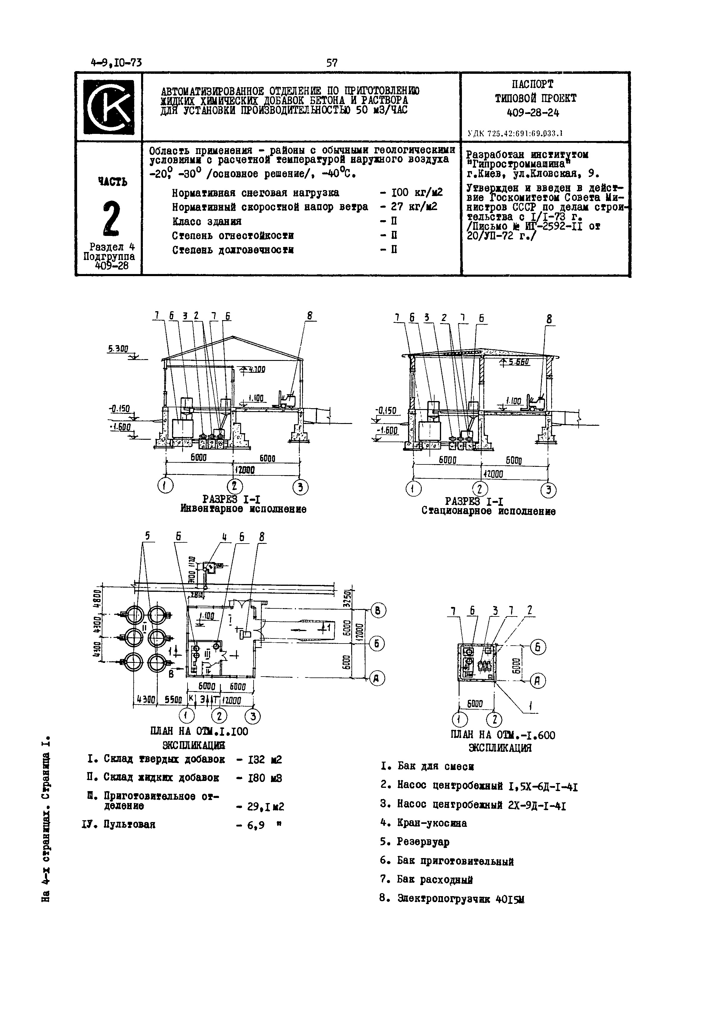
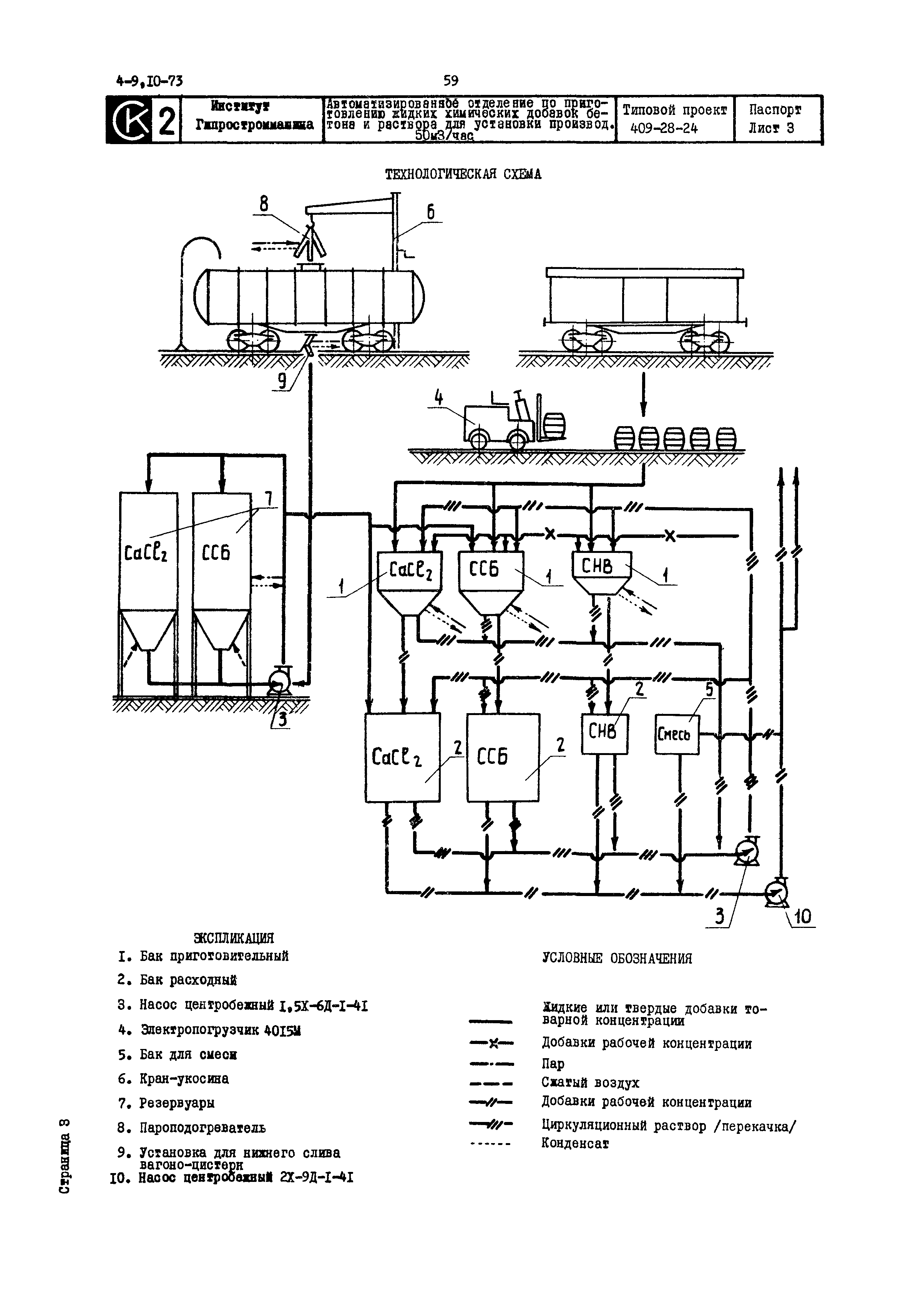
Скачать Типовой проект 409-28-24 Автоматизированное отделение по приготовлению жидких химических добавок бетона и раствора для установки производительностью 50 куб. м/часДата актуализации: 10.08.2017 Типовой проект 409-28-24
Автоматизированное отделение по приготовлению жидких химических добавок бетона и раствора для установки производительностью 50 куб. м/часОбозначение: | Типовой проект 409-28-24 | Обозначение англ: | 409-28-24 | Статус: | действует | Название рус.: | Автоматизированное отделение по приготовлению жидких химических добавок бетона и раствора для установки производительностью 50 куб. м/час | Дата добавления в базу: | 01.10.2014 | Дата актуализации: | 05.05.2017 | Расположен в: |
| Список изменений: | |
   
Текстовое изменение № 1 от 01.07.1988
  
|