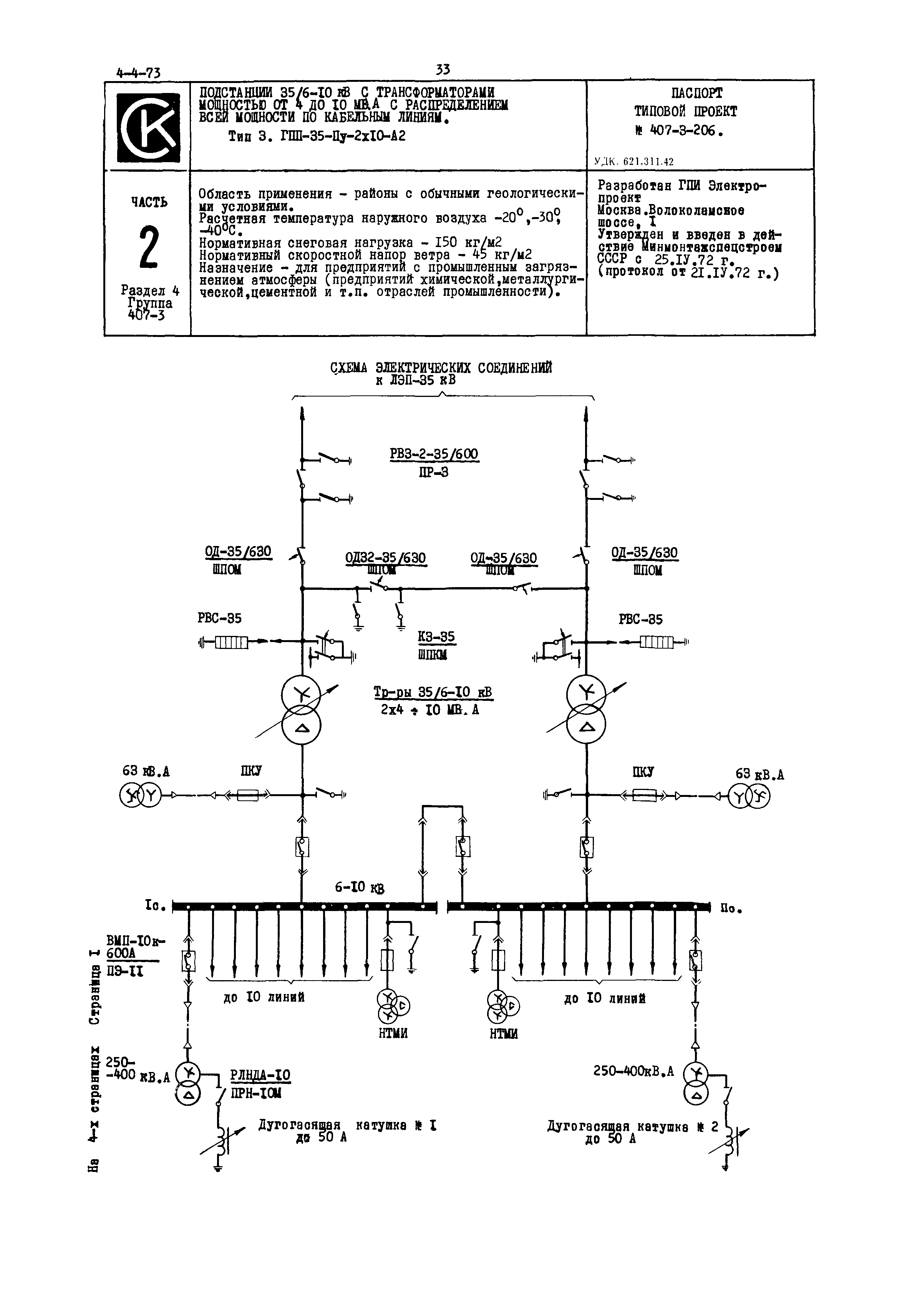
Скачать Типовой проект 407-3-206 Подстанции 35/6 - 10 кВ с трансформаторами мощностью от 4 до 10 МВА с распределением все мощности по кабельным линиям. Тип I. ГПП-35-1-1х10-АIДата актуализации: 10.08.2017 Типовой проект 407-3-206
Подстанции 35/6 - 10 кВ с трансформаторами мощностью от 4 до 10 МВА с распределением все мощности по кабельным линиям. Тип I. ГПП-35-1-1х10-АIОбозначение: | Типовой проект 407-3-206 | Обозначение англ: | 407-3-206 | Статус: | действует | Название рус.: | Подстанции 35/6 - 10 кВ с трансформаторами мощностью от 4 до 10 МВА с распределением все мощности по кабельным линиям. Тип I. ГПП-35-1-1х10-АI | Дата добавления в базу: | 01.10.2014 | Дата актуализации: | 05.05.2017 | Расположен в: |
|
          
|