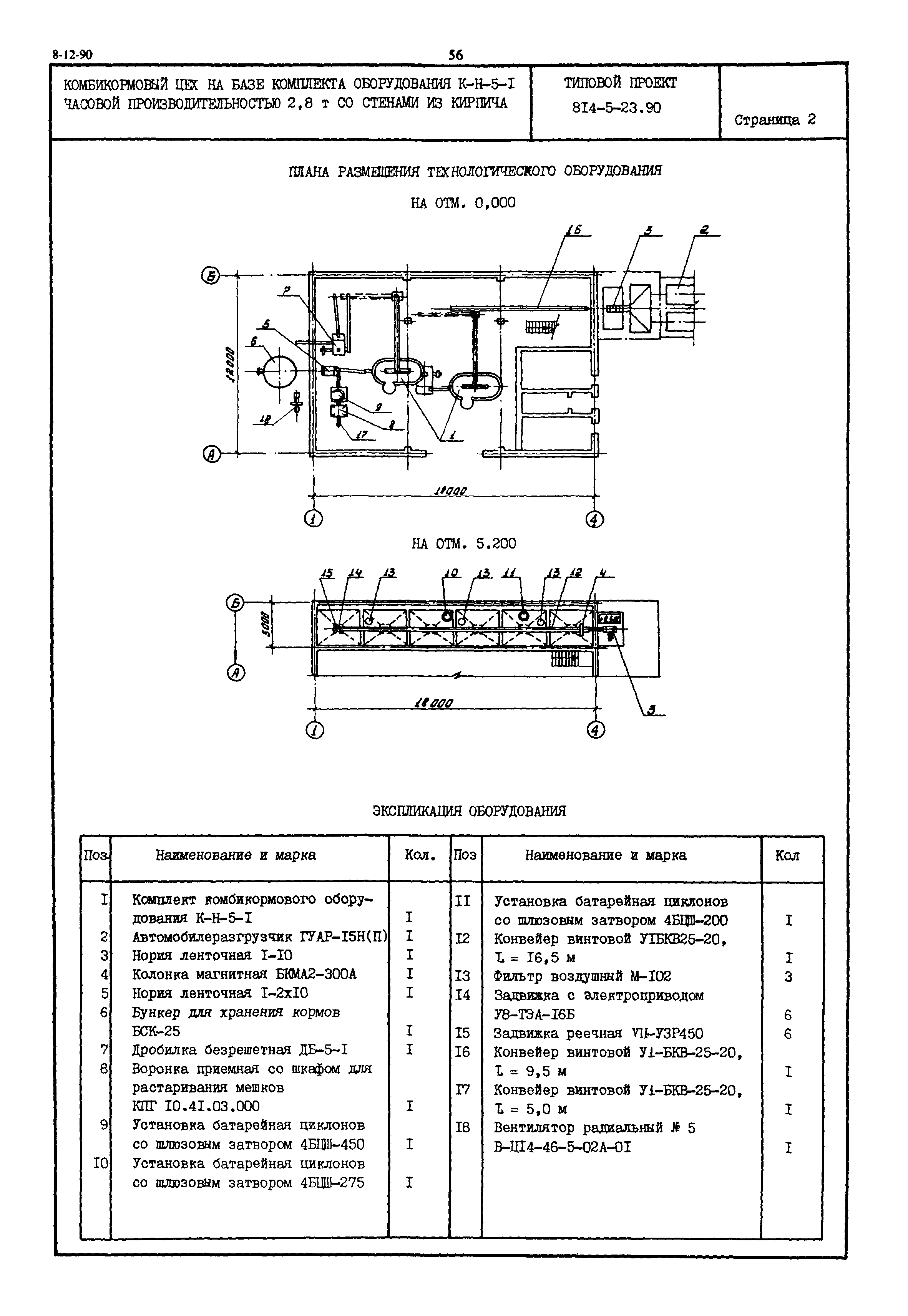
Скачать Типовой проект 814-5-23.90 Комбикормовый цех на базе комплекта оборудования К-Н-5-1 часовой производительностью 2,8 т со стенами из кирпичаДата актуализации: 10.08.2017 Типовой проект 814-5-23.90
Комбикормовый цех на базе комплекта оборудования К-Н-5-1 часовой производительностью 2,8 т со стенами из кирпичаОбозначение: | Типовой проект 814-5-23.90 | Обозначение англ: | 814-5-23.90 | Статус: | действует | Название рус.: | Комбикормовый цех на базе комплекта оборудования К-Н-5-1 часовой производительностью 2,8 т со стенами из кирпича | Дата добавления в базу: | 01.10.2014 | Дата актуализации: | 05.05.2017 | Расположен в: |
|
     
|