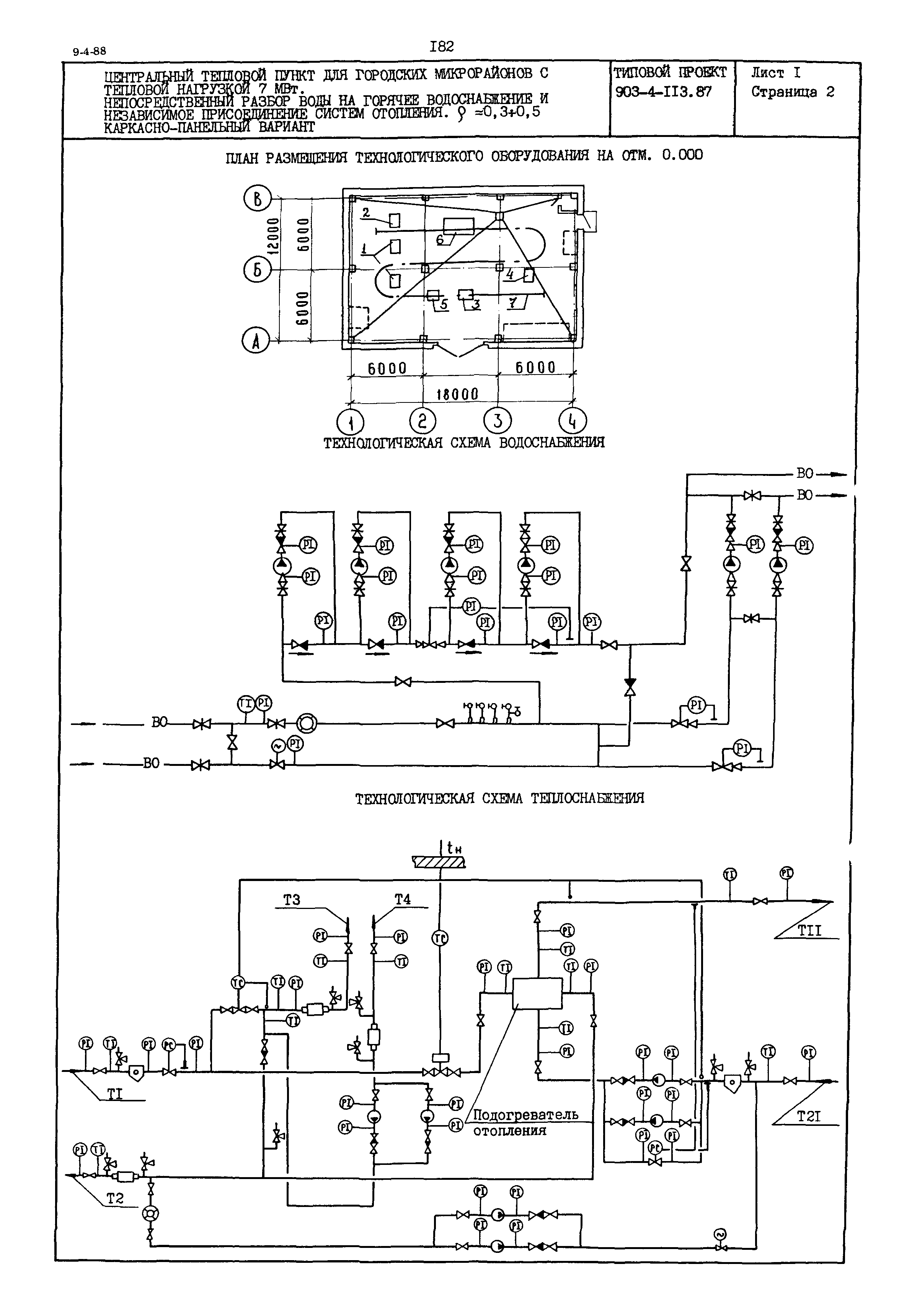
Скачать Типовой проект 903-4-113.87 Центральный тепловой пункт для городских микрорайонов с тепловой нагрузкой 7 МВт. Непосредственный разбор воды на горячее водоснабжение и независимое присоединение систем отопления р = 0,3 - 0,5 (каркасно-панельный вариант)Дата актуализации: 10.08.2017 Типовой проект 903-4-113.87
Центральный тепловой пункт для городских микрорайонов с тепловой нагрузкой 7 МВт. Непосредственный разбор воды на горячее водоснабжение и независимое присоединение систем отопления р = 0,3 - 0,5 (каркасно-панельный вариант)Обозначение: | Типовой проект 903-4-113.87 | Обозначение англ: | 903-4-113.87 | Статус: | действует | Название рус.: | Центральный тепловой пункт для городских микрорайонов с тепловой нагрузкой 7 МВт. Непосредственный разбор воды на горячее водоснабжение и независимое присоединение систем отопления р = 0,3 - 0,5 (каркасно-панельный вариант) | Дата добавления в базу: | 01.09.2013 | Дата актуализации: | 05.05.2017 | Расположен в: |
|
   
|