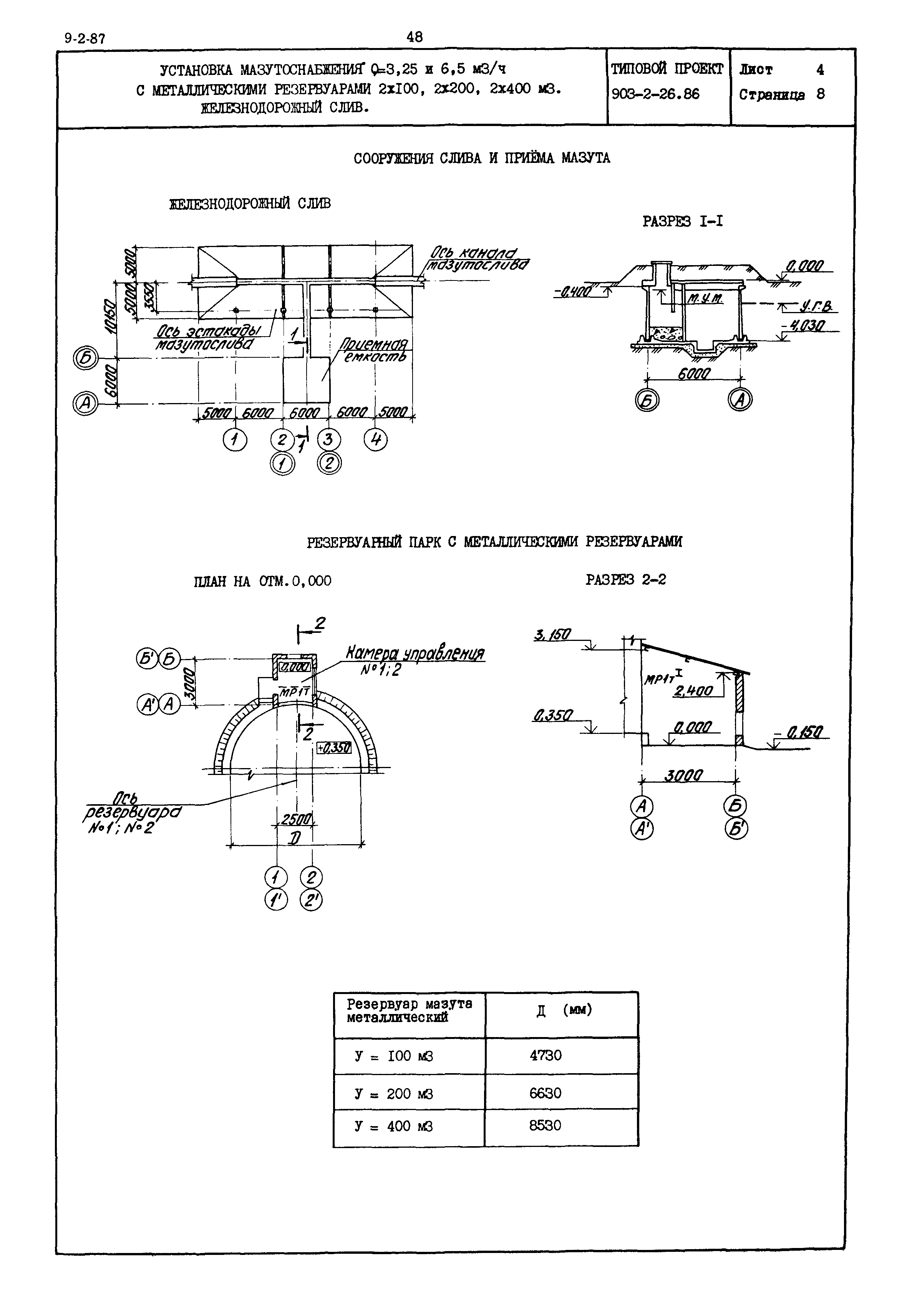
Скачать Типовой проект 903-2-26.86 Установка мазутоснабжения Q = 3,25 и 6,5 куб. м/ч с металлическими резервуарами 2х100; 2х200; 2х400 куб. м. Железнодорожный сливДата актуализации: 10.08.2017 Типовой проект 903-2-26.86
Установка мазутоснабжения Q = 3,25 и 6,5 куб. м/ч с металлическими резервуарами 2х100; 2х200; 2х400 куб. м. Железнодорожный сливОбозначение: | Типовой проект 903-2-26.86 | Обозначение англ: | 903-2-26.86 | Статус: | действует | Название рус.: | Установка мазутоснабжения Q = 3,25 и 6,5 куб. м/ч с металлическими резервуарами 2х100; 2х200; 2х400 куб. м. Железнодорожный слив | Дата добавления в базу: | 01.09.2013 | Дата актуализации: | 05.05.2017 | Расположен в: |
|
                
|