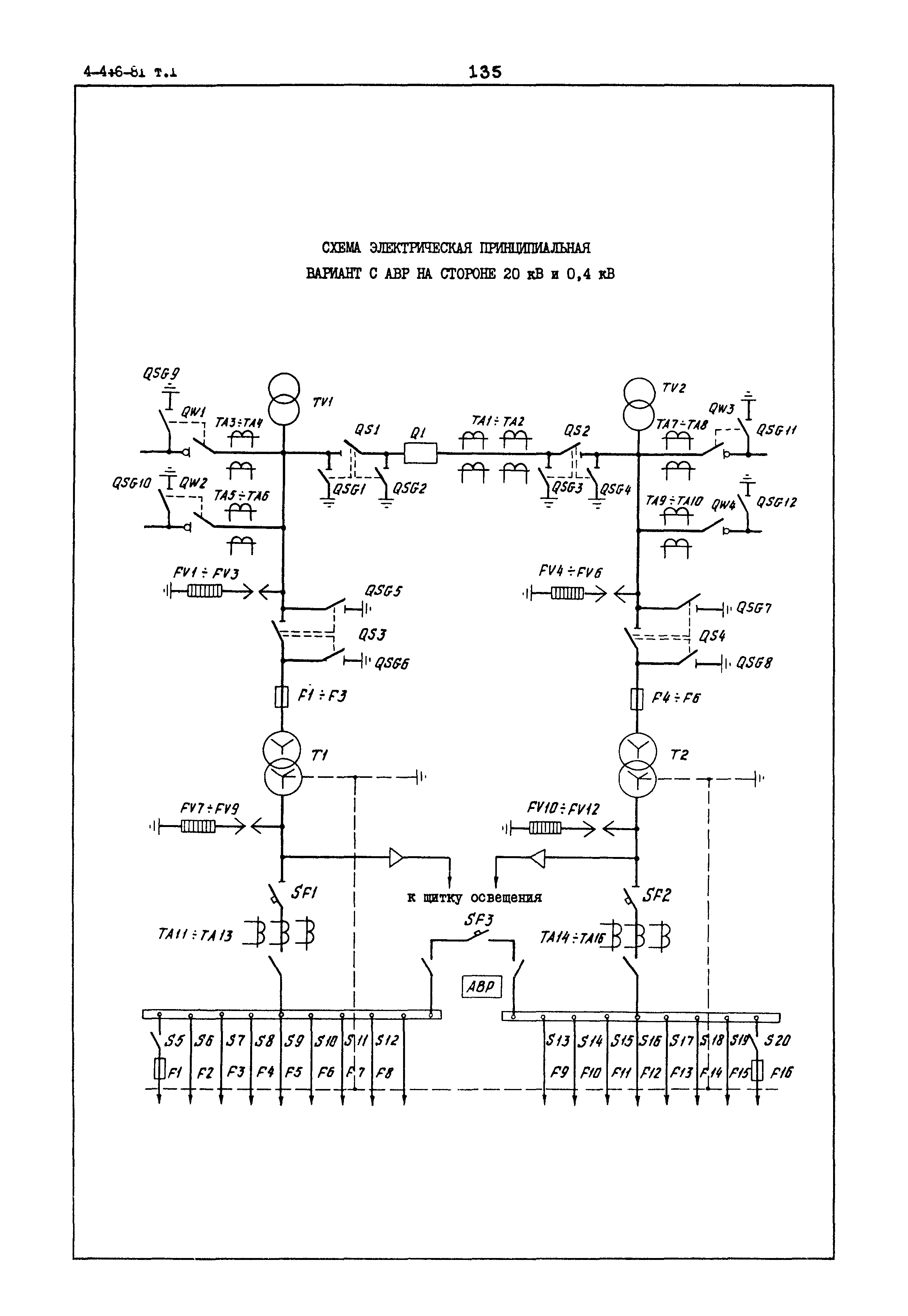
Скачать Типовой проект 407-3-267 Трансформаторная подстанция закрытого типа напряжением 20/0,4 кВ с двумя трансформаторами мощностью до 400 кВА с воздушными вводамиДата актуализации: 10.08.2017 Типовой проект 407-3-267
Трансформаторная подстанция закрытого типа напряжением 20/0,4 кВ с двумя трансформаторами мощностью до 400 кВА с воздушными вводамиОбозначение: | Типовой проект 407-3-267 | Обозначение англ: | 407-3-267 | Статус: | не действует | Название рус.: | Трансформаторная подстанция закрытого типа напряжением 20/0,4 кВ с двумя трансформаторами мощностью до 400 кВА с воздушными вводами | Дата добавления в базу: | 01.09.2013 | Дата актуализации: | 05.05.2017 | Дата введения: | 01.02.1987 | Расположен в: |
|
 
|