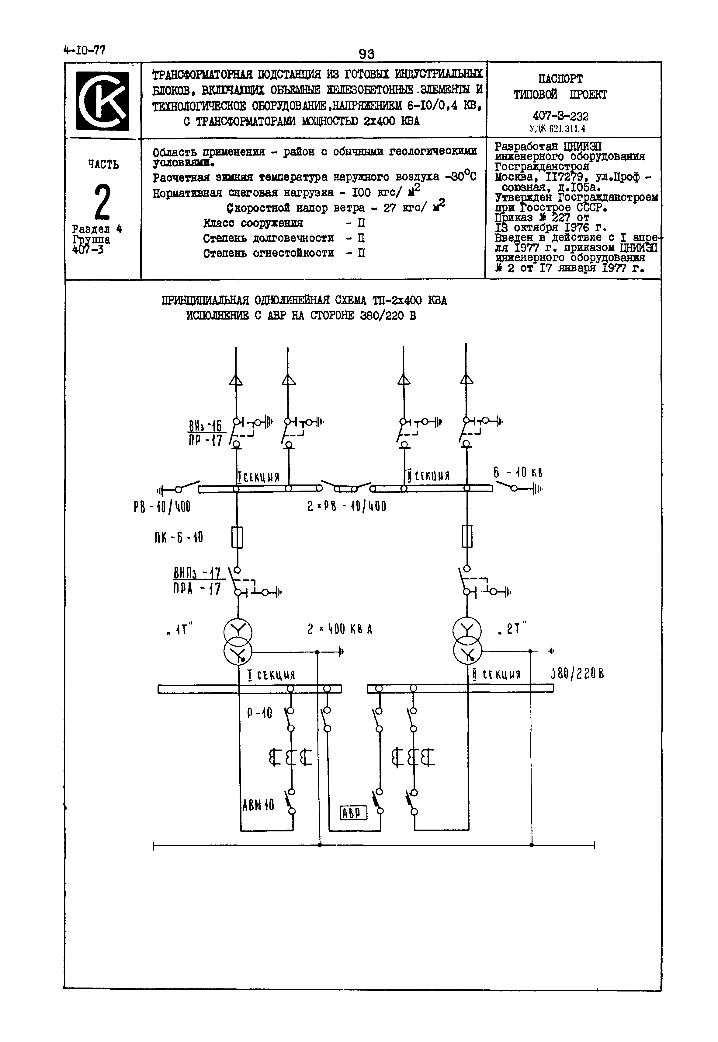
Скачать Типовой проект 407-3-232 Трансформаторная подстанция из готовых индустриальных блоков, включающих объемные железобетонные элементы и технологическое оборудование, напряжением 6 - 10/0,4 кВ, с трансформаторами мощностью 2х400 кВА для строительства на территориях сейсмичностью 6 баллов, с расчетной зимней температурой наружного воздуха минус 30 градусов ЦельсияДата актуализации: 10.08.2017 Типовой проект 407-3-232
Трансформаторная подстанция из готовых индустриальных блоков, включающих объемные железобетонные элементы и технологическое оборудование, напряжением 6 - 10/0,4 кВ, с трансформаторами мощностью 2х400 кВА для строительства на территориях сейсмичностью 6 баллов, с расчетной зимней температурой наружного воздуха минус 30 градусов ЦельсияОбозначение: | Типовой проект 407-3-232 | Обозначение англ: | 407-3-232 | Статус: | не определен законодательством | Название рус.: | Трансформаторная подстанция из готовых индустриальных блоков, включающих объемные железобетонные элементы и технологическое оборудование, напряжением 6 - 10/0,4 кВ, с трансформаторами мощностью 2х400 кВА для строительства на территориях сейсмичностью 6 баллов, с расчетной зимней температурой наружного воздуха минус 30 градусов Цельсия | Дата добавления в базу: | 01.09.2013 | Дата актуализации: | 05.05.2017 | Дата введения: | 17.01.1977 | Расположен в: |
|
  
|