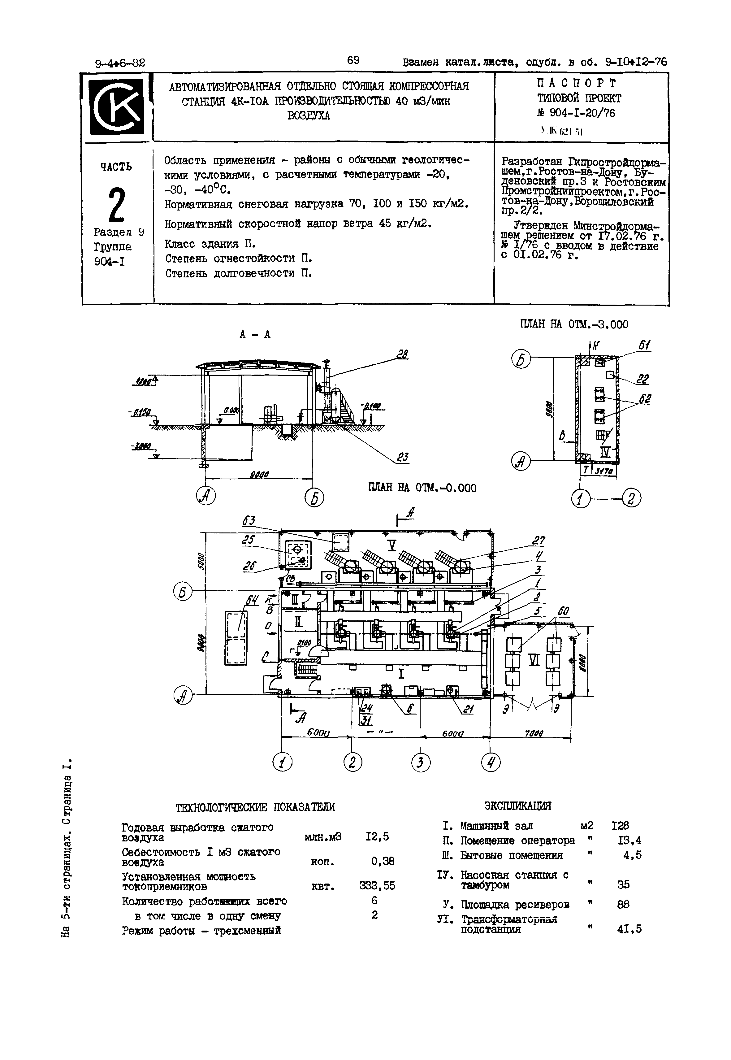
Скачать Типовой проект 904-1-20/76 Автоматизированная отдельностоящая компрессорная станция 4К-10А производительностью 40 куб. м/мин воздухаДата актуализации: 10.08.2017 Типовой проект 904-1-20/76
Автоматизированная отдельностоящая компрессорная станция 4К-10А производительностью 40 куб. м/мин воздухаОбозначение: | Типовой проект 904-1-20/76 | Обозначение англ: | 904-1-20/76 | Статус: | не действует | Название рус.: | Автоматизированная отдельностоящая компрессорная станция 4К-10А производительностью 40 куб. м/мин воздуха | Дата добавления в базу: | 01.09.2013 | Дата актуализации: | 05.05.2017 | Дата окончания срока действия: | 01.04.1985 | Расположен в: |
|
    
|