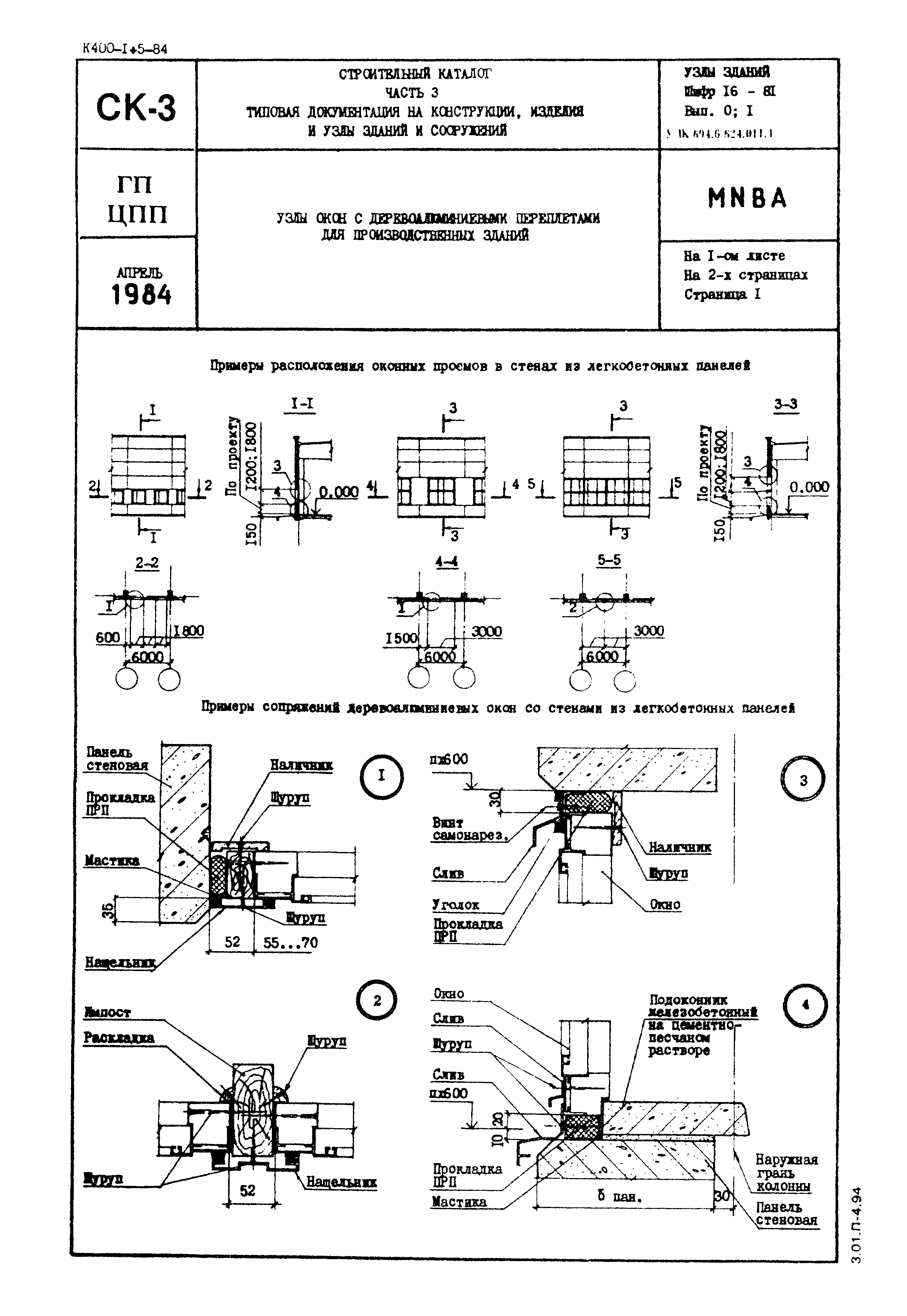
Скачать Шифр 16-81 Узлы окон с деревоалюминиевыми переплетами для производственных зданийДата актуализации: 10.08.2017 Шифр 16-81
Узлы окон с деревоалюминиевыми переплетами для производственных зданийОбозначение: | Шифр 16-81 | Обозначение англ: | 16-81 | Статус: | не определен законодательством | Название рус.: | Узлы окон с деревоалюминиевыми переплетами для производственных зданий | Дата добавления в базу: | 01.09.2013 | Дата актуализации: | 05.05.2017 | Дата введения: | 01.09.1983 | Расположен в: |
|

|