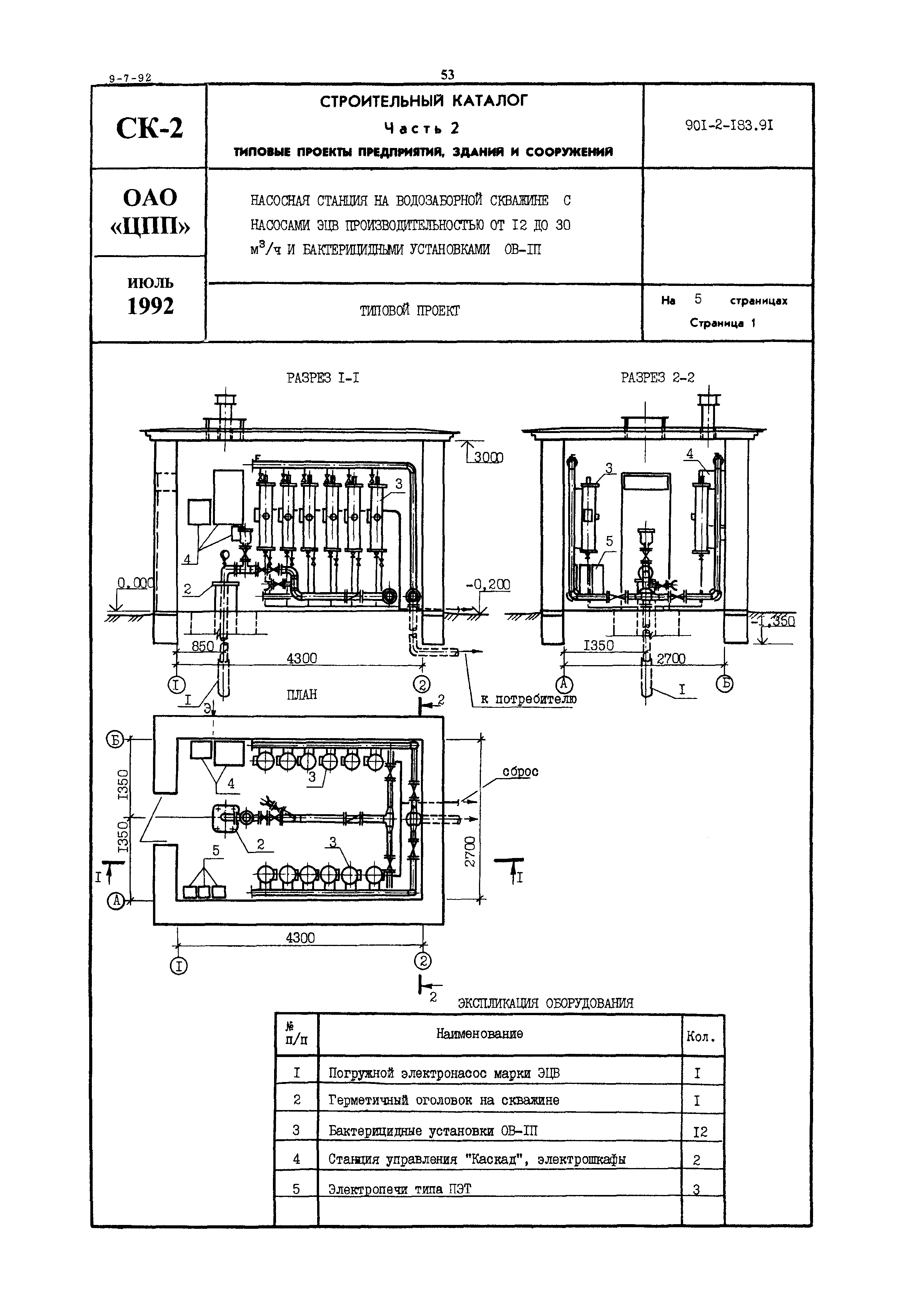
Скачать Типовой проект 901-2-183.91 Насосная станция на водозаборной скважине с насосами ЭЦВ производительностью от 12 до 30 куб. м/ч и бактерицидными установками ОВ-1ПДата актуализации: 10.08.2017 Типовой проект 901-2-183.91
Насосная станция на водозаборной скважине с насосами ЭЦВ производительностью от 12 до 30 куб. м/ч и бактерицидными установками ОВ-1ПОбозначение: | Типовой проект 901-2-183.91 | Обозначение англ: | 901-2-183.91 | Статус: | не определен законодательством | Название рус.: | Насосная станция на водозаборной скважине с насосами ЭЦВ производительностью от 12 до 30 куб. м/ч и бактерицидными установками ОВ-1П | Дата добавления в базу: | 01.09.2013 | Дата актуализации: | 05.05.2017 | Дата введения: | 28.05.1991 | Расположен в: |
|
   
|