ВЕДОМСТВЕННЫЕ СТРОИТЕЛЬНЫЕ НОРМЫ

МИНИСТЕРСТВО МОНТАЖНЫХ И СПЕЦИАЛЬНЫХ СТРОИТЕЛЬНЫХ РАБОТ СССР

ГЛАВЭЛЕКТРОМОНТАЖ

ИНСТРУКЦИЯ
ПО МОНТАЖУ ЭЛЕКТРООБОРУДОВАНИЯ, СИЛОВЫХ И ОСВЕТИТЕЛЬНЫХ СЕТЕЙ ВЗРЫВООПАСНЫХ ЗОН

ВСН 332-74

ммсс ссср

МИНИСТЕРСТВО МОНТАЖНЫХ И СПЕЦИАЛЬНЫХ СТРОИТЕЛЬНЫХ РАБОТ СССР

МОСКВА 1976

УТВЕРЖДЕНА                                              СОГЛАСОВАНА

монтажспецстроем                                    с Госэнергонадзором

СССР                                                      Минэнерго СССР

24 июня 1974 г.                                              20 июня 1974 г.

Инструкция содержит указания по монтажу электрооборудования, силовых и осветительных сетей во взрывоопасных зонах.

В инструкцию включены материалы ранее выпущенных технических условий ; ; инструкций ; ; ; ; ; ; ; инструктивных указаний .

В инструкции учтены требования технических циркуляров Главэлектромонтажа и Госэнергонадзора за 1965 - 1972 гг., касающиеся монтажа электрооборудования во взрывоопасных зонах.

Инструкция не подлежит согласованию с Госгортехнадзором СССР (письмо № 12-21Л/42 от 12 января 1972 г.).

По сообщению ГУПО МВД СССР мероприятия, изложенные в инструкции, в компетенцию органов Госпожарнадзора не входят (письмо № 7/6/2737 от 11 июля 1973 г.).

Инструкция предназначена для инженерно-технических работников проектных, монтажных и эксплуатирующих организаций.

Составители: Л. М. Гнесин, Е. В. Пирогов

Редакторы: О. В. Придворная, Г. Г. Ратникова

Технический редактор О. Д. Кузнецова

Корректор И. Л. Володяева

Минмонтажспецстрой СССР
Ведомственные строительные нормы

ВСН 332-74
ММСС СССР

Взамен:

Инструкция по монтажу электрооборудования, силовых и осветительных сетей взрывоопасных зон

; ; ; ; ; ; ; ; ;

Содержание

1. ОБЩИЕ ПОЛОЖЕНИЯ

2. ТРЕБОВАНИЯ К ПРОЕКТНОЙ ДОКУМЕНТАЦИИ

3. ОСОБЕННОСТИ СОДЕРЖАНИЯ ПРОЕКТА ПРОИЗВОДСТВА ЭЛЕКТРОМОНТАЖНЫХ РАБОТ (ППР)

4. ПРОВОДНИКИ, ИХ СОЕДИНЕНИЕ, ОКОНЦЕВАНИЕ И ПРИСОЕДИНЕНИЕ

5. ОТКРЫТАЯ ПРОКЛАДКА КАБЕЛЕЙ СИЛОВЫХ СЕТЕЙ

6. ОТКРЫТАЯ ПРОКЛАДКА КАБЕЛЕЙ ОСВЕТИТЕЛЬНЫХ СЕТЕЙ

7. МОНТАЖ ТРУБОПРОВОДОВ ДЛЯ ЭЛЕКТРИЧЕСКИХ СЕТЕЙ

8. КОНЦЕВЫЕ ЗАДЕЛКИ КАБЕЛЕЙ

9. МОНТАЖ ВЗРЫВОЗАЩИЩЕННЫХ ЭЛЕКТРОДВИГАТЕЛЕЙ СЕРИЙ ВАО И МА36

10. МОНТАЖ ВЗРЫВОЗАЩИЩЕННЫХ АППАРАТОВ

11. МОНТАЖ ВЗРЫВОЗАЩИЩЕННЫХ СВЕТИЛЬНИКОВ

12. МОНТАЖ ВЗРЫВОБЕЗОПАСНЫХ КРАНОВ

13. ЗАЗЕМЛЕНИЕ

14. СДАЧА ЭЛЕКТРОМОНТАЖНЫХ РАБОТ

Приложение 1 КАБЕЛИ МАРОК ВБВ И АВБВ

Приложение 2 Область применения наиболее распространенных марок кабелей для открытой прокладки в силовых сетях по классам взрывоопасных зон

Приложение 3 Трубы стальные водогазопроводные по ГОСТ 3262-62

Приложение 4 Коробки для электрических сетей

Приложение 5 НИППЕЛИ ДВОЙНЫЕ И ФУТОРКИ

Приложение 6 ПРОТОКОЛ №_____ испытания давлением локальных разделительных уплотнений или стальных труб для электропроводок во взрывоопасных зонах

Приложение 7 САЛЬНИКИ ДЛЯ ЭЛЕКТРИЧЕСКИХ КАБЕЛЕЙ

Приложение 8 ВЗРЫВОЗАЩИЩЕННЫЕ ЭЛЕКТРОДВИГАТЕЛИ

Приложение 9 МАГНИТНЫЕ ПУСКАТЕЛИ И ПОСТЫ УПРАВЛЕНИЯ

Приложение 10 Взрывозащищенные светильники

Приложение 11 КЛАССИФИКАЦИЯ И ХАРАКТЕРИСТИКА ВЗРЫВООПАСНЫХ ЗОН

Приложение 12 Распределение взрывоопасных веществ, образующих взрывоопасную смесь с воздухом, по категориям и группам по состоянию на 1 января 1973 г.

Приложение 13 Примеры маркировки взрывозащищенного электрооборудования

1. ОБЩИЕ ПОЛОЖЕНИЯ

1-1. Настоящая инструкция разработана в развитие основных положений действующих Правил устройства электроустановок (ПУЭ), строительных норм и правил (СНиП) и других общесоюзных нормативных документов.

1-2. Требования инструкции распространяются на монтаж электроустановок взрывоопасных зон всех классов, в которых по условиям технологического процесса или в результате аварии могут появиться смеси с воздухом или другими окислителями горючих газов, взрывоопасных паров, легковоспламеняющихся жидкостей (ЛВЖ), пыли или волокон при переходе их по взвешенное состояние.

1-3. Требования инструкции не распространяются на подземные установки в шахтах и рудниках горной промышленности, на предприятия, взрывоопасность установок которых является следствием применения, производства или хранения взрывчатых веществ, а также на электрооборудование, расположенное внутри технологических аппаратов.

1-4. При наличии во взрывоопасных зонах химически активных сред или атмосферных осадков должны быть предусмотрены меры защиты электрооборудования и элементов электрических цепей от коррозионного воздействия.

Внесены ВНИИпроектэлектромонтажем

Утверждены Минмонтажспецстроем СССР
24 июня 1974 г.

Срок введения
1 июля 1975 г.

Выбор лакокрасочного покрытия и зависимости от окружающей среды должен соответствовать рекомендациям общемашиностроительного типового руководящего материала (ОМТРМ) 7312-010-70 станкостроительной и станкоинструментальной промышленности.

1-5. Требования настоящей инструкции обязательны для всех проектных, монтажных и эксплуатирующих организаций.

1-6. Электрические сети и электропроводки во взрывоопасных зонах, кроме требований настоящей инструкции, должны удовлетворять:

а) требованиям гл. VII-3 ПУЭ,

б) остальным разделам ПУЭ;

в) общим требованиям СНиП «Электротехнические устройства. Правила организации и производства работ. Приемка в эксплуатацию».

2. ТРЕБОВАНИЯ К ПРОЕКТНОЙ ДОКУМЕНТАЦИИ

В проектной документации электрической части взрывоопасных зон на производство электромонтажных работ на планах кроме указаний, имеющихся в проектах на производство этих работ в общепромышленных электроустановках, должны быть указаны:

а) классы взрывоопасных зон (приложение 11);

б) категории и группы взрывоопасных смесей, могущих образоваться в зонах классов В-I, В-Iа, В.Iб, В.Iг (приложение 12), а также по возможности наименования взрывоопасных газов или паров, а для зон классов В-II и В-IIа - наименование пыли;

в) вертикальные отметки и горизонтальные привязки прокладки кабелей и электротехнических трубопроводов к осям или элементам зданий, а также выводов к фундаментам электрических машин, пусковых аппаратов и т.п. при прокладке трубопроводов в полу с обязательным согласованием с организациями, занимающимися прокладкой смежных коммуникаций (технологических трубопроводов, КИП, вентиляции и т.п.);

г) места установки разделительных уплотнений и их типы;

д) наименование антикоррозионных покрытий при наличии химически активной среды;

е) границы наружных взрывоопасных зон, окрасочных отделений и т.п.;

ж) места установки водосборников.

Кроме того, в проектной документации должны быть приведены рекомендации по выполнению вводов кабелей и изолированных проводов во вводные устройства электродвигателей и аппаратов и решения по устройству проходов кабелей или трубопроводов сквозь стены, перекрытия и переходов через температурные и осадочные швы.

3. ОСОБЕННОСТИ СОДЕРЖАНИЯ ПРОЕКТА ПРОИЗВОДСТВА ЭЛЕКТРОМОНТАЖНЫХ РАБОТ (ППР)

3-1. При составлении ППР следует руководствоваться Нормалью по разработке проектов производства электромонтажных работ, утвержденной Главэлектромонтажем.

3-2. В состав ППР для промышленных объектов и других сооружений, имеющих взрывоопасные зоны, должны быть дополнительно включены:

в общую часть

а) краткая технологическая характеристика взрывоопасных установок;

б) на планах - классификация взрывоопасных зон; категория и группа взрывоопасной смеси для зон классов В-I, В-Iа, В-Iб и В-Iг и наименование взрывоопасной пыли для зон классов В-II и В-Па;

в) специальные технологические требования к покрытиям электроконструкций, кабелей и электротехнических труб во взрывоопасных зонах с химически активной средой;

в рекомендации по технологии и производству электромонтажных работ

а) последовательность производства работ по зонам;

б) ведомости закладных деталей для закрепления электроконструкции и других элементов электрических сетей. Обратить особое внимание на выполнение строителями проемов для прохода кабелей и труб;

в) перечень специального инструмента для производства электромонтажных работ (ключи торцовые для коробок, взрывозащищенных светильников, аппаратов и т.п.);

г) узлы трубных разводок, испытываемых сжатым воздухом, и схема испытаний;

д) приспособление для испытаний разделительных уплотнений и источник сжатого воздуха;

в ведомости изделий и работ, выполняемых в мастерских

ведомость элементов электрических сетей и узлов с учетом двухстадийного монтажа;

в указания по технике безопасности

специальный инструктаж, связь с газоспасательной станцией и контроль загазованности при работе в условиях действующих взрывоопасных установок;

в перечень сдаточно-технической документации

а) заводские инструкции и другая техническая документация по монтажу отдельных типов электрооборудования;

б) протоколы заводских испытаний изделий, имеющих степень защиты оболочек по ГОСТ 14254-69;

в) протоколы испытаний разделительных уплотнений трубных разводок.

4. ПРОВОДНИКИ, ИХ СОЕДИНЕНИЕ, ОКОНЦЕВАНИЕ И ПРИСОЕДИНЕНИЕ

4-1. Во взрывоопасных зонах всех классов разрешается применение:

проводов с поливинилхлоридной и резиновой изоляцией; кабелей с поливинилхлоридной, резиновой и бумажной изоляцией в поливинилхлоридной, резиновой и свинцовой оболочках.

Применение проводов и кабелей с полиэтиленовой изоляцией жил и кабелей в полиэтиленовой оболочке во взрывоопасных зонах всех классов запрещается. При выборе изоляции жил проводов и оболочек кабелей следует учитывать их стойкость к окружающей среде.

4-2. Во взрывоопасных зонах классов В-I, В-Iа должны применяться кабели и провода только с медными жилами. Кабели, как с алюминиевыми жилами, так и с алюминиевой оболочкой в зонах этих классов применять запрещается.

4-3. Во взрывоопасных зонах классов В-Iб, В-Iг, В-II, В-IIа допускается применять кабели с алюминиевыми жилами и алюминиевой оболочкой.

Кабели с алюминиевой оболочкой, имеющей сварной шов, во взрывоопасных зонах всех перечисленных выше классов применять не допускается (место шва ненадежно уплотняется резиновым кольцом).

4-4. Наименьшие допускаемые сечения проводов и кабелей с медными и алюминиевыми жилами для прокладки во взрывоопасных зонах всех классов приведены в табл. 1.

Таблица 1

Наименьшие допускаемые сечения проводов и кабелей с медными и алюминиевыми жилами

Электрические установки

Сечение жил. мм2, для классов взрывоопасных зон

алюминиевых В-Iб, В-Iг,В-II, В-IIа

Медных В-I, В-Iа

Осветительные сети …………………………………………

2,5

1,5

Силовые сети …………………………………………………

2,5

1,5

Вторичные цепи трансформаторов тока ……………………

4,0

2,5

Цепи управления, сигнализации, измерения, блокировки  ..

2,5

1,5

4-5. Оконцевание медных жил проводов и кабелей при опрессовке следует выполнять медными наконечниками серии Т (ГОСТ 7386-70), а алюминиевых - медно-алюминиевыми серии ТАМ и алюминиевыми наконечниками серии ТА (ГОСТ 9581-68).

Опрессовку наконечников на жилах проводов и кабелей следует выполнять в соответствии с действующей «Инструкцией по оконцеванию и соединению алюминиевых и медных жил изолированных проводов и кабелей», .

4-6. Присоединение жил кабелей и проводов к зажимам электрооборудования выполняется в соответствии с конструкцией зажима. Если конструкция зажима предназначена для подключения наконечником, конец однопроволочной жилы сечением до 16 мм2 следует присоединять изгибанием жилы в кольцо (рис. 1). При этом жилы из алюминия должны быть зачищены и покрыты кварцево-вазелиновой пастой.

Рис. 1. Присоединение однопроволочных алюминиевых жил сечением до 16 мм2

1 - винт; 2 - пружинная шайба; 4 - шайба-звездочка; 5 -кольцо жилы провода.

Однопроволочные жилы сечением более 16 мм2 и многопрополочные жилы следует присоединять с применением наконечников для опрессовки (рис. 2). Многопроволочные медные жилы сечением до 6 мм2 допускается присоединять без наконечников с предварительной пропайкой жилы.

Рис. 2. Присоединение алюминиевых жил сечением более 16 мм2 с применением медно-алюминиевых наконечников.

1 - медно-алюминиевый наконечник; 2 - гайка из меди или ее сплавов (латунь); 3 - гайка стальная нормальная.

4-7. При выполнении винтовых (болтовых) присоединений должны предусматриваться меры, предупреждающие самоотвинчивание (установка стопорных или пружинных шайб и т.п.), если они непредусмотрены конструкцией контакта.

4-8. Соединение и ответвление жил проводов и кабелей в осветительных сетях взрывоопасных зон следует выполнять только в коробках, соответствующих по исполнению взрывоопасной зоне.

В силовых сетях и цепях управления, сигнализации, измерений и блокировки во взрывоопасных зонах всех классов соединение и ответвление проводов и кабелей следует выполнять в коробках с наборными зажимами, соответствующих по исполнению взрывоопасной зоне, и только при сечении жил до 6 мм2 - на номинальный ток электрооборудования до 15А.

4-9. Изолирование мест соединения и оконцевания проводников следует производить липкой поливинилхлоридной лентой толщиной не более 0,2 мм в четыре слоя, с 50 %-ным перекрытием предыдущего витка. Допускается применять лакоткань с последующим наложением на нее прорезиненной ленты и покрытием изоляционным лаком или эмалью. Применение изолирующих колпачков из полиэтилена не допускается.

4-10. Не допускается применять для соединений жил проводов и кабелей:

а) винтовые и болтовые сжимы (зажимы) с нажатием на жилу проводника торцом винта (болта) без прокладки или башмака;

б) сжимы с винтами менее М4;

в) резьбовые конусные соединители;

г) голые соединительные сжимы, изолируемые после соединения.

4-11. Во взрывоопасных зонах всех классов не допускается применять легкоплавкие припои (сплавы из висмута, олова, свинца и кадмия).

5. ОТКРЫТАЯ ПРОКЛАДКА КАБЕЛЕЙ СИЛОВЫХ СЕТЕЙ

Общие указания

5-1. Открытая прокладка кабелей во взрывоопасных зонах должна производиться по лоткам, кабельным конструкциям, стенам, колоннам и другим строительным основаниям. Во взрывоопасных зонах всех классов допускается прокладка одиночных кабелей на тросах. Выбор тросов (проволоки) следует производить по табл. 5.

5-2. В силовых сетях взрывоопасных зон и в помещениях с химически активной средой при номинальном рабочем напряжении до 660 В переменного тока и до 1000 В постоянного тока предпочтительно применять кабели марок ВБВ в зонах классов В-I и В-Iа и АВБВ в зонах классов В-Iб, В-Iг, В-II, и В-IIа.

Технические данные кабелей марок ВБВ и АВБВ приведены в приложении 1.

5-3. Кроме кабелей марок ВБВ и АВБВ во взрывоопасных зонах всех классов допускается применять кабели, приведенные в приложении 2.

5-4. Через взрывоопасные зоны всех классов запрещается прокладывать не относящиеся к ним транзитные кабели всех напряжений.

5-5. Броня и металлическая оболочка небронированных кабелей, кабельные конструкции и элементы крепления должны быть окрашены лаками, красками или иметь гальванические покрытия, стойкие к воздействию окружающей среды.

Кабели с резиновыми и поливинилхлоридными покровами красить не следует.

5-6. Во взрывоопасных зонах всех классов внутри и вне помещении устанавливать соединительные и ответвительные кабельные муфты запрещается.

5-7. При открытой прокладке кабелей должна предусматриваться защита их от непосредственного воздействия солнечных лучей, а также от теплоизлучений различного рода источников тепла.

5-8. При прокладке кабелей через температурные и осадочные швы следует предусмотреть их свободный провес.

Особенности прокладки кабелей марок ВБВ и АВБВ

5-9. Кабели марок ВБВ и АВБВ следует прокладывать только открыто; рекомендуется в основном прокладка этих кабелей на лотках.

5-10. Перфорированные лотки используют для прокладки небольшого количества (трех-пяти) кабелей (рис. 3), а также для подвода кабелей к электрооборудованию. Лотки могут быть установлены в горизонтальной и вертикальной плоскостях (рис. 4).

Рис. 3. Прокладка кабелей марок ВБВ и АВБВ по перфорированному лотку, проложенному по стене.

Рис. 4. Пример установки кабельных лотков в горизонтальной и вертикальной плоскости с проложенными кабелями марок ВБВ и АВБВ.

5-11. Кабели ВБВ и АВБВ прокладывают вплотную друг к другу без зазора, при этом разрешается прокладывать эти кабели как в один, так и в несколько слоев (рядов). По экономическим соображениям выполнять прокладку кабелей более чем в три слоя не рекомендуется из-за значительного снижения токовых нагрузок.

5-12. В связи с тем, что кабель предназначен только для открытой прокладки, прокладка его в трубах, каналах и траншеях не допускается.

5-13. Длительно допустимые токи на кабели ВБВ и АВБВ при однослойной и многослойной прокладках, а также значения снижающих коэффициентов при различных вариантах многослойной прокладки должны приниматься в соответствии с данными приложения 1.

5-14. При спусках и подводах кабелей к электрооборудованию независимо от высоты прокладки дополнительных устройств для защиты их от механических воздействий не требуется, за исключением случаев, когда возникает возможность повреждения кабеля движущимися непосредственно по нему транспортными средствами.

Подготовка трасс

5-15. Основные цеховые трассы кабелей должны быть расположены на высоте не менее 2 м от уровня пола или площадки обслуживания. По возможности рекомендуется трассы располагать на высоте 2,5 - 4 м.

В электротехнических помещениях высота прокладки кабелей не нормируется.

5-16. Трассы прокладки кабелей должны быть выбраны такими, чтобы избегать возможности попадания химически активных продуктов из технологических трубопроводов на лотки и проложенные по ним кабели.

5-17. Трассы открыто прокладываемых кабелей в зонах классов В-I и В-Iа при совместной прокладке с технологическими трубопроводами, несущими легковоспламеняющиеся продукты, рекомендуется располагать:

а) ниже технологических трубопроводов, несущих горючие пары или газы с соотношением их плотности к плотности воздуха менее 0,8;

б) выше технологических трубопроводов, несущих горючие пары или газы с отношением их плотности к плотности воздуха более 0,8.

5-18. Открыто прокладываемые кабели должны быть удалены от задвижек, вентилей, обратных клапанов и другой технологической арматуры не менее чем на 150 мм и их привязки должны указываться в проекте.

5-19. При пересечении кабельных трасс с технологическими трубопроводами и трубопроводами с горючими жидкостями, а также при их параллельной прокладке расстояние от ближайшего кабеля до трубопроводов во всех направлениях должно быть не менее 500 мм.

5-20. Открыто прокладываемые кабели взрывоопасных установок класса В-Iг на эстакадах при совместной прокладке с технологическими трубопроводами следует располагать со стороны эстакад свободных от трубопроводов с легковоспламеняющимися продуктами.

5-21. При применении лотков для прокладки кабелей секции лотков устанавливают на опорных конструкциях. При установке лотков на кабельных полках по стенам, под перекрытиями или на специальных стойках (рис. 5) секции собирают по несколько штук, после чего их поднимают на опорные конструкции и закрепляют.

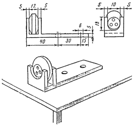
Рис. 5. Примеры стоек для установки лотков.

а, б - не регулируемые по высоте стойки; в - регулируемая стойка из водогазопроводных труб; 1 -лотки К420, К422; 2 - уголок 50´50; 3 - труба с условным проходом 40 мм; 4 - труба с условным проходом 50 мм; 5 - подкос; 6 - основание (стальная плита).

5-22. Лотки при их установке горизонтально или вертикально по стене крепят непосредственно к строительным конструкциям на расстоянии между точками крепления не более 2 м.

5-23. Обход выступов и других препятствий при горизонтальной установке лотков выполняют за счет разрыва лотков на ширину препятствия и установки дополнительного лотка (вставки) с креплением к боковинам лотков (рис. 6).

Рис. 6. Обходы выступов и препятствий при горизонтальной установке лотков на стене.

а - при размере выступа h до 400 мм; б - при h = 400 ¸ 630 мм; 1 - лоток; 2 - профиль; 3, 4 - вставки левая и правая.

5-24. Обход внутренних углов при горизонтальной установке лотков, а также переход с одной отметки на другую при установке лотков плашмя на стене выполняют за счет применения угловых вставок (рис. 7).

Рис 7. Обход внутреннего угла при горизонтальной установке лотков (а) и переход лотков с одной отметки на другую с применением угловых вставок (б).

1 - опорная конструкция.

5-25. Ответвления от горизонтально проложенных лотков выполняют тройниковой или крестовой вставкой (рис. 8).

Рис. 8. Ответвления от горизонтально проложенных лотков вставками.

а - тройниковой; б - крестовой; 1 - опорные конструкции.

5-26. Обход внутренних углов и повороты при горизонтальной и вертикальной прокладке перфорированных лотков осуществляют выполнением надрезов ребер жесткости лотка в месте поворота или ответвления.

5-27. Лотки, установленные на опорных конструкциях, должны быть надежно закреплены, чтобы исключить возможность сползания и опрокидывания их (рис. 9).

Рис. 9. Горизонтальная одноярусная установка лотков.

1 - лоток; 2 - прижим; 3 - стойка кабельная; 4 - полка кабельная.

5-28. Во взрывоопасных зонах с тяжелыми газами или тяжелыми парами легковоспламеняющихся жидкостей (ЛВЖ) следует, как правило, избегать устройства каналов. При вынужденной необходимости устройства каналов следует засыпать их песком.

5-29. В зонах классов В-II и В-IIа допускается устройство кабельных каналов; каналы должны быть пылеуплотненными (например, заасфальтированы) или засыпаны песком.

5-30. Кабельные каналы при входе во взрывоопасные зоны и при выходе из них после прокладки кабелей должны быть засыпаны песком на расстоянии 1,5 м (по верху) от наружной поверхности стен зданий и сооружений.

5-31. При устройстве каналов для прокладки кабелей концы труб, выходящие из взрывоопасных зон и распределительных устройств, должны быть выведены в канал не менее чем на 50 мм.

5-32. Перекрытия каналов должны выполняться прочными несгораемыми плитами и быть рассчитаны на передвижение по ним соответствующего технологического оборудования.

Прокладка бронированных и небронированных кабелей

5-33. В силовых сетях взрывоопасных зон классов В-I, В-Iа, В-Iг и В-II для открытой прокладки должны применяться только бронированные кабели. Во взрывоопасных зонах классов В-Iб и В-IIа допускается применять небронированные кабели (согласно приложению 2).

5-34. Кабели (в том числе бронированные), расположенные в местах, где возможны механические повреждения (в результате передвижения автотранспорта, механизмов и грузов, доступности для необученного персонала), должны быть защищены на высоте 2 м от уровня пола или земли.

В электропомещениях защита кабелей не требуется.

5-35. Переходы кабелей через трубопроводы всех назначений в любом направлении, а также места возможных механических повреждений открыто проложенных кабелей необходимо защищать коробами, угловой сталью, трубами и т. п. на всем участке сближения плюс по 0,5 м с каждой стороны трубопроводов. Устройства защиты кабелей должны жестко прикрепляться к строительным конструкциям (стене, колонне и т.д.).

5-36. В зонах классов В-II и В-IIа прокладка кабелей должна выполняться по кабельным конструкциям, имеющим узкие горизонтальные поверхности, ограничивающие скопление на них пыли; по ломким, установленным на ребро, - на расстоянии от стены не менее 20 мм (рис. 10). Одиночные кабели диаметром до 20 мм допускается прокладывать без зазора - непосредственно по строительным основаниям или металлическим полосам.

Рис. 10. Прокладка кабелей во взрывоопасных зонах классов В-II и В-IIа.

а - по кабельным конструкциям с узкими горизонтальными поверхностями; б - по лоткам, установленным на ребро.

Проходы кабелей сквозь стены и перекрытия

5-37. Проходы одиночных кабелей сквозь внутренние стены и междуэтажные перекрытия в зонах классов В-I, В-Iа и В-II следует выполнять в отрезках водогазопроводных труб, заделанных цементным раствором. Кабель должен быть уплотнен путем заполнения трубы составом УС-65 на расстоянии 100 - 120 мм от конца трубы с набивкой кабельного джута или асбестового шнура (рис. 11, а). Толщина набивки джута или шнура с обеих сторон состава УС-65 должна быть не менее 10 мм. Во взрывоопасных зонах класса В-I уплотнение кабеля следует выполнять с обеих сторон стены, а в зонах классов В-Iа и В-II - со стороны взрывоопасной зоны. При этом отношение диаметра кабеля к внутреннему диаметру трубы должно быть равно или меньше 0,5.

Для надежного уплотнения бронированного кабеля без наружного поливинилхлоридного покрова на участке прохода его сквозь стену следует снять броню, заземляющие проводники припаять к броне с двух сторон прохода и присоединить их к болтам на трубах для создания непрерывности цепи заземления брони.

5-38. Уплотнение кабеля в зонах классов В-I, В-Iа и В-II вместо набивки в трубу уплотнительного состава УС-65 допускается выполнять сальниками (рис. 11, б и приложение 7). При этом в зонах класса В-I сальники должны устанавливаться с обеих сторон прохода.

Рис. 11. Проходы кабелей сквозь внутренние стены помещений.

а - с уплотнительным составом УС-65 (рекомендуемый); б - с сальниковым уплотнением (допустимый); L - длина сальника; 1 - отрезок трубы; 2 - кабель; 3 - сальник; 4 - резиновое уплотнительное кольцо; 5 - шайба; 6 - болт заземления; 7 - уплотнительный состав УС-65; 8 - уплотнения из кабельного джута или асбестового шнура; 9 - цементный раствор.

5-39. Проходы группы кабелей (не более 5 шт.) сквозь внутренние стены взрывоопасных зон классов В-I, В-Iа и В-II рекомендуется выполнять аналогично проходам одиночных кабелей в отрезках водогазопроводных труб, предварительно приваренных к металлическим рамам (рис. 12). Типы рам следует выбирать по действующим типовым проектам.

Рис. 12. Установка патрубков для прохода кабелей сквозь внутренние стены помещений (патрубки с болтами для заземления брони кабеля см. на рис. 11).

I - нормальное помещение или помещение с взрывоопасной смесью более низкой категории или группы; II - помещение с взрывоопасной смесью более высокой категории или группы.

Условный проход патрубка, мм

Размеры, мм

Количество патрубков

А

В

20 - 25

80

270

До 3

20 - 25

80

400

До 5

40 - 80

150

400

До 2

40 - 80

150

600

До 4

40 - 80

150

530

До 5

5-40. Проход группы кабелей (более 5 шт.) сквозь внутренние стены взрывоопасных зон рекомендуется выполнять в специальных стальных коробах, засыпаемых песком, по действующему типовому проекту. Примеры установки коробов приведены на рис. 13 - 15.

Рис. 13. Короб для прохода кабелей при горизонтальной прокладке сквозь внутренние стены взрывоопасных помещений.

1 - короб; 2 - крышка; 3 - штукатурка; 4 - фасадный щиток; 5 - шпилька; 6 - профиль монтажный; 7 - крепление кабелей; 8 - уголки для опоры лотков; 9 - опорные полосы; 10 - опорные уголки.

Рис 14. Короб для прохода кабелей при вертикальной прокладке сквозь внутренние стены взрывоопасных помещений.

1 - короб; 2 - крышка; 3 - штукатурка; 4 - фасадный щиток; 5 - шпилька; 6 - профиль монтажный; 7 - опорные полосы; 8 - опорные уголки.

Рис 15. Короб для прохода кабелей при переходе с горизонтальной на вертикальную трассу сквозь внутренние стены взрывоопасных помещений.

Обозначения см. в подписи к рис.13.

5-41. Уплотнения между стеной и корпусами коробов выполняются с помощью резиновых прокладок, предусмотренных в конструкции коробов. Марку резины выбирают по ГОСТ 7338-65 в зависимости от среды помещении, в которой установлены короба.

5-42. Расстояние в свету между прокладываемыми кабелями в коробе должно быть не менее 10 мм. Пересечение кабелей в коробах не допускается. Короба после прокладки в них кабелей должны засыпаться сухим песком с фракцией не более 0,7 мм.

5-43. Проходы кабелей в отрезках водогазопроводных труб сквозь стены и перекрытия во взрывоопасных зонах классов В-Iб и В IIа могут быть выполнены с уплотнением кабелей набивкой в трубу на глубину 120 - 150 мм легкопробиваемых негорючих составов:

а) цемента марок 300 - 500 (ГОСТ 10178-62) с песком (ГОСТ 8736-67) и соотношении 1:10;

б) глины с цементом марок 300 - 500 и песком в соотношении 1,5:1:10;

в) глины с песком в соотношении по объему 1:3.

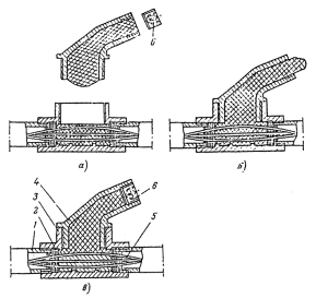
5-44. Проходы кабелей сквозь наружные стены взрывоопасных зон всех классов (при условии, если кабели не попадают под арки и другие полузакрытые пространства) следует выполнять с применением съемных (разборных) плит, устанавливаемых с обеих сторон проема. Пространство между плитами заполняется теплоизоляционным материалом. Проходы кабелей могут быть выполнены как под углом 45° (рис. 16), так и перпендикулярно стене (рис. 17), включая и переход кабелей с эстакад. Конструктивные чертежи проходов кабелей приведены в действующем типовом проекте.

Рис. 16. Проход силовых и контрольных кабелей из взрывоопасных помещений сквозь наружные стены под углом 45°.

1 - плита проходная; 2 - силовые кабели; 3 - контрольные кабели; 4 - наружная сторона стены помещения; 5 - гравий керамзитовый или перлит вспученный (ГОСТ 9759-71, 10832-74); 6 - шнур асбестовый (ГОСТ 1779-72); 7 - вата минеральная (ГОСТ 4640-66).

Рис. 17. Ввод во взрывоопасное помещение кабелей, прокладываемых по эстакадам.

1 - эстакада кабельная; 2 - плита проходная; 3 - конструкция; 4 - лоток сварной.

6. ОТКРЫТАЯ ПРОКЛАДКА КАБЕЛЕЙ ОСВЕТИТЕЛЬНЫХ СЕТЕЙ

6-1. Во взрывоопасных зонах классов В-I и В-II разрешается для осветительных сетей открытая прокладка только бронированных кабелей (например, марки ВБВ для зон класса В-I и марки АВБВ для зон класса В-II). Групповые осветительные сети в зоне класса В-I: должны прокладываться по наружным сторонам стен и вводиться в помещение только для присоединения к светильникам.

При монтаже групповых осветительных сетей в зоне класса В-I следует использовать, минимальное количество коробок.

6-2. В осветительных сетях взрывоопасных зон классов. В-Iа, В-Iб, В-Iг и В-IIа при отсутствии возможности механических и химических воздействий следует применять небронированные кабели только в поливинилхлоридной, полихлоропреновой (наиритовой) или свинцовой оболочках с резиновой и поливинилхлоридной изоляцией жил на номинальное напряжение 660 В, выпускаемые промышленностью следующих марок: ВВГ, ВРГ, НРГ, СРГ - с медными жилами для зон класса В-Iа; АВВГ, АВРГ, АНРГ, АСРГ - с алюминиевыми жилами для зон классов В-Iб, В-Iг, В-IIа.

6-3. Кабели с оболочкой из поливинилхлоридного пластиката (ВВГ, ВРГ, АВВГ, АВРГ) или резины на основе полихлоропренового каучука (НРГ, АНРГ) следует прокладывать в помещениях с химически активной средой, нейтральной по отношению к материалу оболочки кабелей, без дополнительного лакокрасочного покрытия.

6-4. Трех и четырехжильные кабели должны иметь круглое сечение. Двухжильные кабели допускается применять плоские. Применять плоские трех и четырехжильные кабели запрещается. Применение кабелей с изоляцией жил или оболочки из полиэтилена не допускается.

В случае разработки и выпуска промышленностью новых марок небронированных кабелей допускается их применение для осветительных сетей во взрывоопасных зонах классов В-Iа, В-Iб, В-Iг и В-IIа при условии, если материалы изоляции жил и оболочки кабеля, а также их конструкция соответствуют вышеизложенным требованиям.

6-5. Металлические конструкции и изделия, применяемые при монтаже, должны быть, защищены от воздействия окружающей среды металлическим, гальваническим или лакокрасочным покрытием.

Прокладка и крепление кабелей

6-6. Работы, но монтажу осветительных сетей, как правило, должны выполняться в две стадии. В первой стадии выполняются все подготовительные и заготовительные работы: разметка трассы прокладки кабелей и установка закладных деталей, выполнение проходов сквозь стены и междуэтажные перекрытия, обходов технологических трубопроводов и других препятствий закрепление полос и скоб для прокладки кабелей, установка скоб для крепления ответвительных коробок, зарядка светильников, работы по обеспечению непрерывности цепи заземления металлических полос и лотков.

Во второй стадии выполняют: прокладку кабелей с креплением по заготовленным конструкциям и закладным деталям, установку осветительной арматуры с трубными кронштейнами или подвесами, установку осветительных коробок соединения и ответвления в коробках жил кабелей и проводов, установку конструкций защиты кабелей от механических повреждений и их заземление.

6-7. Для прокладки кабелей могут быть использованы полосы монтажные перфорированные шириной 20 - 40 и толщиной 3 - 4 мм (К106, К202), полосы стальные шириной 15 - 30 и толщиной 1,5 - 3 мм, а также лента горячекатаная или холоднокатаная стандартная шириной 20 - 30 и толщиной 1,5 - 3 мм. Для пристрелки строительно-монтажным пистолетом следует использовать полосы толщиной 1,5 - 2 и шириной не менее 18 мм.

6-8. Металлические полосы (лены) следует крепить вплотную к основанию по всей длине кабельной трассы.

Расстояние между точками крепления полос к основанию должно быть не более 1000 мм и от концов и углов поворота - 70 мм (рис. 18).

Рис. 18. Крепление кабелей на металлических полосах и лентах.

1 - полоса; 2 - дюбель-гвоздь; 3 - кабель; 4 - полоса с пряжкой.

6-9. Крепление полос к бетонному основанию следует производить, как правило, дюбелями-гвоздями с помощью строительно-монтажного пистолета.

К кирпичным основаниям рекомендуется закреплять полосы дюбелями-гвоздями путем забивки вручную с использованием оправки ОД-6. В этом случае полосы должны иметь отверстия по диаметру дюбеля. Электросваркой следует крепить полосы к металлическим основаниям и к закладным деталям.

6-10. Пристрелка перфорированных полос типа К106, К202 строительно-монтажным пистолетом не допускается.

6-11. Для крепления кабелей на полосах могут быть применены:

а) полоски К404, К405 с пряжками К407;

б) полоски-пряжки К395 - К398;

в) зубчатые полоски-пряжки У651;

г) поливинилхлоридная перфорированная лента К226 с кнопками К227;

д) полоски шириной до 10 и толщиной 0,3 - 1 мм, из белой жести, оцинкованных или окрашенных стальных листов. Полоски закрепляются либо в замок, либо пряжками К407.

6-12. При прокладке одного - четырех небронированных кабелей непосредственно по строительным основаниям они должны крепиться скобками с одной или двумя лапками К720 - К730, полосками К404 - К405 с пряжками К407, полосками шириной до 105 и толщиной 0,3 - 1 мм.

Скобки К720 - К730 и полоски К404, К405 следует крепить капроновыми дюбелями У656, У658 и У678 с шурупами. Дюбеля и шурупы к ним следует выбирать по табл. 2.

Таблица 2

Дюбеля капроновые

Тип дюбеля

Размеры шурупа, мм

Наибольшая толщина закрепляемой детали, мм

Допустимое усилие выдергивания, кН

Размеры дюбеля, мм

в бетоне

в кирпиче

длина

диаметр

У656

3,5´30

7

1,2

0,99

25

6

 

5´40

 

 

 

 

 

У658

5´40

10

3,3

2,6

35

8

У678

5´60

10

3,05

2,6

45

8

6-13. Полоски К404, К405 и полоски из стали толщиной 0,3 - 1 мм на бетонных и кирпичных основаниях рекомендуется крепить дюбелями-гвоздями ручной забивки.

6-14. При горизонтальной прокладке одиночных кабелей по стенам с креплением их скобками с одной лапкой лапки скобок должны располагаться ниже кабеля.

6-15. При вертикальной прокладке одиночных кабелей допускается крепление их скобками с одной лапкой с любой стороны кабеля.

6-16. Два - четыре кабеля могут также крепиться на пластмассовых закрепах У630 зубчатыми полосками-пряжками (рис. 19) или монтажной перфорированной лентой К266 с кнопками К227 (рис. 20). Затягивание зубчатых полосок-пряжек и обрезку концов следует выполнять специальными клещами (рис. 18).

Рис. 19. Крепление кабелей полосками-пряжками У651 на закрепах У630.

Рис. 20. Крепление кабелей лентой К226 с кнопками К227 на закрепах У630.

6-17. Закрепы У630 на бетонных и кирпичных основаниях следует крепить дюбелями-гвоздями ручной забивки, капроновыми дюбелями У656, У658, У678 с шурупами.

6-18. Закрепы У630 и скобы К720 - К730 допускается крепить по металлическим основаниям винтами.

6-19. Расстояние между точками крепления кабелей на прямых горизонтальных и вертикальных участках не должно быть более 500 мм (рис. 18).

В местах поворота трассы кабели должны крепиться дополнительно. Расстояние от начала изгиба кабеля до ближайшей точки крепления должно быть равно 10 - 15 мм. При вводе в ответвительную коробку кабель закрепляют на расстоянии не более 100 мм от ее края.

6-20. Внутренний радиус изгиба небронированных кабелей должен быть не менее шести наружных диаметров кабелей.

6-21. Свинцовая оболочка кабелей под металлическими скобами или полосками должна быть защищена эластичными изолирующими прокладками (например, поливинилхлоридным пластикатом, электрокартоном и т.п.). Прокладки должны выступать из-под скобок или полосок на 1,5 - 2 мм с обеих сторон. Крепление кабелей с оболочкой из поливинилхлоридного пластиката или из резины на основе полихлоропренового каучука выполняется без прокладок под скобками.

6-22. Прокладка небронированных кабелей осветительных сетей может выполняться на перфорированных лотках К60У и К61У. Лотки должны иметь покрытие, стойкое к воздействию окружающей среды.

6-23. Перфорированные лотки выпускаются секциями длиной 2 м и имеют соединительные угольники, посредством которых они соединяются между собой и крепятся к основанию винтами с гайками М8.

6-24. Монтаж осветительных сетей небронированными кабелями на лотках выполняют в две стадии:

а) в мастерских электромонтажных заготовок (МЭЗ) на основании ИПР и по произведенным натурным замерам лотки собирают в комплектные узлы и комплектные линии, которые затем разбирают на транспортабельные участки.

Выбор комплектных линий в зависимости от условия прокладки кабелей следует производить по действующему типовому проекту.

Предварительно заготовленные кабели и ответвительные коробки закрепляют на лотках, при этом длина кабеля должна быть достаточной для прокладки между двумя ответвительными коробками с учетом ввода в коробку и запаса на два - три пересоединения. Рекомендуется при заготовке комплектных линий по возможности вводить концы кабелей в ответвительные коробки;

б) в монтажной зоне выполняют монтаж собранных узлов, подвесов со светильниками и коробками; соединение и ответвление жил кабелей и проводов в коробках согласно схеме, а также окончательное закрепление кабелей к лоткам. Наружные размеры кабелей на напряжение 660 В, удовлетворяющие их вводу в отверстия рожков коробок, приведены в табл. 3.

Таблица 3

Наружные размеры кабелей на напряжение 660 В для ввода в коробку У409

Эскизы сечения кабеля, мм

Сечение жил кабеля, мм

Кабели

ВРГ АВРГ1

СРГ АСРГ1

ВВГ АВВГ1

НРГ АНРГ1

а

d

а

d

а

d

d

2´1,5

10,8

7,4

8,7

5,3

10,4

7,0

-

2´2,5

11,6

7,8

9,5

5,7

11,2

7,4

-

2´4

12,4

8,2

10,3

6,1

12,0

8,8

-

2´6

13,4

8,7

11,3

6,6

13

8,3

-

2´1,5

-

-

-

-

-

-

10,8

2´2,5

-

-

-

-

-

-

11,6

2´4

-

-

-

-

-

-

12,4

2´6

-

-

-

-

-

-

13,4

3´1,5

-

11,3

-

9,8

-

11,7

11,3

3´2,5

-

12,2

-

10,7

-

12,6

12,3

3´4

-

13,1

-

11,6

-

13,4

13,1

3´6

-

14,1

-

12,6

-

14,5

14,1

4´1,5

-

12,1

-

10,5

-

12,6

12,1

3´2,5+1´1,5

-

13,2

-

11,7

-

13,6

13,2

3´4+1´2,5

-

14,1

-

12,6

-

14,5

14,1

3´6+1´4

-

15,3

-

13,8

-

15,7

15,3

_______________

1 Минимальное сечение кабелей с алюминиевыми жилами 2,5 мм2.

6-25. Лотки К60У, К61У следует крепить к кирпичным и бетонным основаниям дюбелями с распорной гайкой К436 или капроновыми дюбелями У658 с шурупами через отверстия в соединительных угольниках.

6-26. Лотки К60У, К61У, прокладываемые, по металлическим основаниям, должны закрепляться по краям секций.

Допускается крепление лотков на металлических основаниях винтами.

6-27. Лотки, прокладываемые под перекрытиями, имеющими выступающие балки, должны быть жестко закреплены на балках, а также к перекрытиям в местах соединения секций, если расстояния пролетов между балками превышают 2 м.

6-28. Кабели на лотках можно крепить лентой К226 с кнопками К227 или металлическими полосками шириной 8 - 9 мм.

6-29. Допускается совместная прокладка кабелей сети освещения с силовыми сетями на лотках К420, К422.

6-30. Проходы кабелей сквозь стены следует выполнять в соответствии с указаниями разд. 5.

Тросовые проводки

6-31. Во взрывоопасных зонах классов В-Iа, В-Iб, В-Iг и В-IIа для осветительных сетей допускается применять тросовые проводки.

6-32. В качестве несущих тросов для монтажа осветительных сетей открыто прокладываемых кабелей должны примениться: проволока стальная низкоуглеродистая общего назначения по ГОСТ 3282-74, катанка по ГОСТ 14085-68 диаметром не менее 6 мм, проволока стальная для ВЛ диаметром не менее 6,8 мм по ГОСТ 5800-51 или трос, оцинкованный ЛК-0 диаметром не менее 5,2 мм по ГОСТ 3062-69 (табл. 4).

Таблица 4

Выбор несущих тросов или проволоки

Материал

Диа­метр, мм

Площадь сечения, мм2

Предел прочности, кН/мм2

Допустимая нагрузка, кН

Допустимая нагрузка с коэффициентом запаса З, кН

Максимально допустимое усилие натяжения, кН

Проволока стальная низкоуглеродистая общего назначения по ГОСТ 3282-74

6,0

28,27

Не менее 0,40

11,3

3,8

2,6

7,0

34,48

15,4

5,1

3,6

8,0

50,27

20,1

6,7

4,7

Катанка по ГОСТ 14085-68 (сортамент 2590-71)

6,0

28,27

Не менее 0,40

11,3

3,8

2,6

6,3

31,17

12,5

4,2

2,9

7,0

34,48

15,4

5,1

3,6

8,0

50,27

20,1

6,7

4,7

Проволока стальная для ВЛ по ГОСТ 5800-51

6,8

24,60

Не менее 0,65

15,0

5,3

3,7

7,5

34,40

22,4

7,5

5,2

Трос ЛК-0 по ГОСТ 3062-69

5,2

16,16

Не менее 1,40

20,8

6,9

4,8

5,5

18,10

23,3

7,8

5,4

6,1

22,31

28,7

9,6

6,7

6,7

26,96

34,7

1,2

8,1

7,3

32,05

41,3

1,4

9,6

Проволока стальная низкоуглеродистая, катанка и проволока стальная для ВЛ, предварительно очищенные до блеска, должны иметь стойкое к окружающей среде лакокрасочное покрытие или горячее покрытие из поливинилхлорида.

Если оцинкованный трос нестоек к окружающей среде, то он также должен иметь лакокрасочное покрытие, стойкое к окружающей среде.

6-33. Концевые крепления тросов к строительным конструкциям должны осуществляться с помощью тросовых анкеров и натяжных муфт.

Закрепление троса к анкеру или натяжному устройству должно выполняться с помощью тросового зажима и стальной обоймы-коуша (рис. 21).

Рис. 21. Пример анкерного крепления троса (проволоки) и соединение его на промежуточной опоре.

1, 5 - анкер тросовый К300; 2 - муфта натяжная К679; 3 - коуш; 4, 6 - зажим тросовый К229; 7 - конец троса (присоединить к магистрали заземления); 8 - канат (трос) по ГОСТ 3062-69; 9 - место соединения тросов

6-34. Трос предназначен только для крепления на нем самих кабелей, и никакой нагрузки от светильников или осветительных коробок он нести не должен, так как последние должны жестко закрепляться на строительных элементах здания.

6-35. Натягивание несущих тросов (проволоки) между промежуточными креплениями до 6 м должно производиться до получения стрелы провеса не более 100 мм. Для пролетов длиной более 6 м стрела провеса может быть увеличена пропорционально длине пролета, но не более 300 мм.

6-36. Несущий трос, катанку или стальную проволоку для протяженных помещений (более 50 м) следует выполнять составными отдельными участками. При этом каждый участок троса (проволоки) должен иметь самостоятельные анкерные и натяжные устройства, которые крепят на промежуточных балках, фермах или колоннах стяжными болтами или хомутами. При этом свободный конек первого троса (проволоки) должен быть соединен с началом второго сваркой (рис. 21). Место сварки должно быть окрашено. Для оцинкованного троса допускается механическое соединение. Сращивание тросов в пролетах между промежуточными и концевыми креплениями не допускается.

6-37. Несущий трос или стальная проволока должны иметь промежуточные поддерживающие опоры у каждого светильника и жестко закрепляться к конструкции, на которой крепится ответвительная коробка (рис. 22). В пролетах, где отсутствуют светильники, дополнительные поддерживающие крепления не обязательны, если при этом величина стрелы провеса не превышает указанную в п. 6-35.

Рис. 22. Пример подвода питания к светильникам при тросовой прокладке кабелей ниже нижнего пояса ферм.

6-38. Кабели к несущим тросам должны закрепляться полосками из поливинилхлоридного и другого пластиката или металлическими.

Кабели в свинцовой оболочке в месте их крепления к тросу должны иметь изолирующую эластичную прокладку (лакоткань, поливинилхлоридную ленту и др.).

6-39. Расстояние между точками крепления кабеля к тросу не должно превышать 500 мм.

6-40. Кабели, закрепляемые на тросах, в местах перехода их на стены и другие конструкции зданий не должны иметь механических напряжений.

6-41. Использование несущих тросов или металлических оболочек кабелей в качестве заземляющих проводников не допускается.

6-42. По окончании монтажа тросовой электропроводки кроме проверок и испытаний, предусмотренных действующими ПУЭ и СНиП для обычных проводок осветительных сетей, необходимо проверить стрелу провеса несущего троса, величина которой должна соответствовать данным проекта.

Монтаж ответвительных коробок

6-43. Соединения и ответвления жил кабелей диаметром до 16 мм и двухжильных плоских кабелей сечением до 2х6 мм2 следует выполнять в пластмассовых коробках У409 со степенью защиты 1Р65 по ГОСТ 14254-69, выпускаемых по техническим условиям ТУ 36.1859-75. Завод-изготовитель на каждые 20 коробок независимо от величины поставляемой партии прилагает протокол их испытания по степени защиты.

6-44. Коробка У409 (приложение 4) состоит из корпуса и крышки с резиновой прокладкой, которые соединяются на резьбе. В корпусе коробки имеются четыре сальниковых рожка с внутренней резьбой, в которые ввернуты гайки. Каждая коробка снабжается тремя резиновыми уплотнительными кольцами с одним отверстием для уплотнения кабеля и одним кольцом с тремя отверстиями для уплотнения проводов зарядки светильников.

Для крепления коробки к основаниям на ее корпусе имеются два прилива с овальными отверстиями. Расстояние между центрами крепления коробки 119 мм.

6-45. Крепление коробок на строительных основаниях должно производиться на скобах, изготавливаемых из монтажных полос К202 по действующему типовому проекту, на монтажных профилях К101 с использованием закладных гаек К605, К608 или непосредственно к основанию капроновыми дюбелями У658. На металлических основаниях рекомендуется крепить коробки винтами.

6-46. При прокладке кабелей на лотках для установки ответвительной коробки У409 используется перфорированный лоток шириной 100 и длиной 280 мм (рис. 23), который затем крепится к лотку в месте установки коробки двумя винтами с гайками М6 и шайбами.

Рис. 23. Узел установки и крепления ответвительной коробки У409 при прокладке кабеля на лотках.

6-47. Для ввода небронированных кабелей в коробку У409 (рис. 24) и выполнения соединений и ответвлений в ней необходимо:

а) вывернуть из сальникового рожка коробки гайку 4, вынуть стальные шайбы и резиновое уплотнительное кольцо 3;

б) выбить или высверлить перепонку, закрывающую вводное отверстие в коробку;

в) отмерить 180 - 185 мм кабеля от края сальникового рожка коробки У409 и отрезать излишек;

г) снять с конца кабеля оболочку на таком расстоянии, чтобы оболочка входила в коробку на 3 - 5 мм;

д) надеть на оболочку кабеля гайку, стальную шайбу, резиновое уплотнительное кольцо и вторую стальную шайбу. Ввести кабель в коробку и, ввертывая гайку в сальниковый рожок коробки до отказа, уплотнить кабель. Закрепить кабель у ввода в коробку;

е) снять изоляцию с концов жил кабелей. Длина участка, на котором следует снимать изоляцию, принимается в зависимости от способа соединения или ответвления.

В случае если перепонка в неиспользованных рожках коробки У409 повреждена, следует закрыть отверстия в рожках стальной заглушкой толщиной 1 - 2 мм, подкладываемой под резиновое уплотнительное кольцо, и уплотнить ее, ввертывая сальниковую гайку до отказа.

Рис. 24. Ввод небронированных кабелей в коробку У409.

1 - сальниковый рожок; 2 - металлическая шайба; З - резиновое уплотнительное кольцо; 4 - гайка; 5 - кабель.

6-48. Соединения и ответвления жил кабелей следует выполнять опрессовкой, сваркой или пайкой по действующей инструкции  с учетом требований разд. 4 настоящей Инструкции.

6-49. Изолировать места соединений жил кабелей и проводов тремя - четырьмя слоями липкой поливинилхлоридной ленты толщиной 0.2 мм с 50 %-ным перекрытием предыдущего витка и с заходом на изоляцию жил.

7. МОНТАЖ ТРУБОПРОВОДОВ ДЛЯ ЭЛЕКТРИЧЕСКИХ СЕТЕЙ

Трубы и соединительные части к ним

7-1. Во взрывоопасных зонах для монтажа трубопроводов электрических сетей следует применять только обыкновенные или легкие (с условным проходом от 20 до 50 мм) стальные водогазопроводные трубы по ГОСТ 3262-62 со снятым внутренним гратом и по ГОСТ 5.1124-71 и соединительные части к ним (коробки, муфты, футорки, ниппели и т.п.). Сортамент водогазопроводных туб по ГОСТ 3262-62, рекомендуемых для применения во взрывоопасных зонах, приведен в приложении 3.

7-2. Тонкостенные, а также некондиционные водогазопроводные трубы во взрывоопасных зонах применять не допускается.

7-3. Черные трубы должны быть очищены от ржавчины и окрашены.

7-4. Трубы для открытой прокладки должны быть окрашены внутри и снаружи.

При скрытой прокладке трубы следует окрашивать только внутри.

7-5. Окраска открыто прокладываемых электротехнических трубопроводов должна отличаться от окраски технологических трубопроводов.

7-6. Трубы для открытой прокладки в помещениях с химически активной средой должны иметь снаружи и внутри антикоррозионное покрытие, предусмотренное проектом.

7-7. В трубопроводах электрических сетей для протягивания проводов и кабелей, их соединений и ответвлений должны применяться чугунные коробки (фитинги)1 с уровнем взрывозащиты В4Т5 или серии Ф.

___________________

1 В дальнейшем коробки.

7-8. Коробки в зависимости от их назначения разделяются на:

а) протяжные - для создания нормальных условий протягивания проводов (в трубопроводах большой длины или сложной конфигурации) и соединения проводов;

б) ответвительные - для соединения и ответвления проводников от магистральных и распределительных линий;

в) разделительные - для устройства разделительных уплотнений трубопроводов.

Соединение прополов в разделительных коробках не допускается.

7-9. Должны применяться коробки следующих типов: КПП - для протягивания и соединения проводов; КТО - для выполнения одного ответвления; ККО - для выполнения двух ответвлении; КПД - для протягивания и соединения проводов с изменением направления трубы под прямым углом; КТД - для протягивания и соединения проводов с ответвлением трубы под прямым углом при проходе сквозь стену; КПЛ - проходная разделительная для локальных испытаний; КПР - проходная разделительная для выполнения разделительных уплотнений трубопроводов.

7-10. При условном проходе труб более 50 мм взамен коробок допускается применять стандартные соединительные части (тройники и кресты).

7-11. Допустимые виды исполнения коробок для соединения и протягивания проводов и кабелей по классам взрывоопасных зон, а также типы и размеры чугунных коробок с уровнем взрывозащиты В4Т5 приведены в приложении 4.

Соединение труб между собой и присоединение их к электрооборудованию

7-12. Соединение труб между собой, с патрубками коробок и светильниками, а также с аппаратурой и вводными устройствами электродвигателей должно выполняться только на трубной цилиндрической резьбе, профиль и размеры которой должны соответствовать требованиям ГОСТ 6357-73.

Во всех соединениях на каждой трубе должно быть не менее пяти полных неповрежденных ниток резьбы.

Применять для соединения сварку не допускается.

7-13. Нарезка резьбы на трубах должна быть не ниже класса точности «В» и проверяться калибрами - кольцами проходными «ПР» и непроходными «НЕ» выборочно через каждые 40 - 50 нарезок.

7-14. Внутренняя резьба в патрубках, муфтах и т. п. должна проверяться калибрами-пробками ПР и НЕ по ГОСТ 2533-54*.

7-15. Калибр-кольцо со знаком ПР (не имеет знака класса точности) должен свободно навертываться на всю длину резьбы, калибр-кольцо со знаком НЕ класса точности «В» должен навертываться на резьбу на одну - две нитки.

При нарезке внутренней резьбы для соединения с трубами резьба проверяется аналогично вышеуказанному, но ввертыванием калибров-пробок ПР и НЕ во внутреннюю резьбу.

7-16. Для соединения труб между собой, как правило, должны применяться соединительные стальные прямые муфты по ГОСТ 8966-59. Допускается как исключение применять чугунные муфты по ГОСТ 8954-59. Контргайки должны применяться по ГОСТ 8968-59.

7-17. Соединения труб (рис. 25) должны выполняться при неразъемных соединениях навертыванием муфты на конец одной трубы с короткой резьбой до упора и ввертыванием в муфту второй трубы до упора, имеющей конец также с короткой резьбой; при разъемных соединениях на конце одной трубы должна быть короткая резьба, а на конце второй - длинная; сначала контргайка, а затем муфта навертываются на конец с длинной резьбой; после стыковки труб муфта навертывается на конец с короткой резьбой до конца резьбы, а контргайка - вплотную к муфте.

Применять установочные заземляющие гайки (изделия заводов Главэлектромонтажа, индекс К481 - К486) в качестве контргаек не допускается.

Рис. 25. Выполнение соединений труб.

а - неразъемное соединение; б - разъемное соединение; 1, 2 - короткая резьба; 3 - муфта; 4 - длинная резьба; 5 - контргайка по ГОСТ 8968-59.

7-18. Длина нарезки резьбы на трубах для соединения длинной и короткой резьбой приведена в табл. 5.

Таблица 5

Длина резьбы на концах труб

Условный проход

Длина резьбы, мм

мм

дюйм1

длинная по ГОСТ 8969-59

короткая (длинная) по ГОСТ 3262-62

20

3/4

54

16

25

1

62

18

40

1 1/2

75

22

50

2

86

24

70

2 1/2

98

27

80

3

106

30

_________________________

1 В ГОСТ 3262-62 отсутствует

7-19. Соединение труб различных диаметров между собой или соединение труб с вводными устройствами аппаратов электродвигателей, имеющих диаметр вводного отверстия, отличный от диаметра вводимой трубы, необходимо выполнять футорками по ГОСТ 8960-59 (приложение 5).

7-20. Присоединения трубопроводов к аппаратам и электрическим машинам должны быть разъемными, что позволяло бы произносить замену аппаратов и машин без демонтажа труб.

7-21. Разъемы присоединенных трубопроводов могут быть выполнены:

а) с применением стандартного сгона (патрубка определенной длины, имеющего с одного конца длинную резьбу, а с другого - короткую), ввернутого на короткой резьбе во вводное устройство электрооборудования и соединенного с трубопроводом муфтой и контргайкой (рис. 26, а). Длина стандартных сгонов патрубков) по ГОСТ 8969-59 приведена ниже:

Условный проход

труб, мм                 20        25        40        50        70        80

Длина сгона, мм   110      120      140      150      170      180

б) отсоединением нажимной муфты от корпуса вводного устройства электрооборудования, если это предусмотрено конструкцией вводного устройства (рис. 26, б);

в) свертыванием уплотнительных резьбовых сальниковых гаек, вводного устройства, уплотняющих место ввода проводов или кабеля, на длинную резьбу трубопровода (рис. 26, в).

Рис. 26. Варианты разъемных присоединений трубопроводов к электрооборудованию.

а - с применением стандартного сгона; б - отсоединением нажимной муфты; в - свертыванием резьбовых сальниковых втулок; 1 - вводное устройство; 2 - стандартный сгон; 3 - контргайка; 4 - муфта; 5 - трубопровод; 6 - нажимная муфта; 7 - уплотнительная резьбовая сальниковая гайка.

7-22. Все резьбовые соединения труб и их присоединения к электрооборудованию должны выполняться с подмоткой на резьбу пенькового волокна, пропитанного в разведенном на олифе сурике (железном или свинцовом), или ленты ФУМ (фторлонового уплотнительного материала) из фторлона марки 4Д шириной 10 - 15 и толщиной 0,08 - 0,12 мм по ТУ 6.05.1388-70, которую поставляют в буксах массой 500 - 600 г. При этом на очищенную обтирочными концами или ветошью от загрязнения короткую резьбу, начиная от конца трубы, наматывают по ходу резьбы на всю длину два-три слоя ленты ФУМ для труб с условным проходом 20 мм и три-четыре слоя - для труб с условным проходом 25 мм и более. Ленту следует плотно прижимать (не растягивая) к поверхности резьбы. Расход ленты на одно соединение не более 1 - 2 г.

Выполнение резьбового соединения с применением ленты ФУМ следует осуществлять равномерно, без возвратных движений.

При выполнении разъемных соединений между муфтой и контргайкой наматывают жгут, изготовленный из трех слоев ленты ФУМ. Применение поливинилхлоридной ленты и других изоляционных лент запрещается.

Прокладка и крепление трубопроводов

7-23. Прокладка трубопроводов должна осуществляться в соответствии с указаниями проекта. В случае вынужденных отступлений от проекта длину открыто прокладываемых трубопроводов во взрывоопасных зонах следует по возможности сократить за счет рационального выбора трасс трубопровода.

Изменение трасс должно быть согласовано с проектной организацией или заказчиком.

7-24. Прокладка транзитных трубопроводов через взрывоопасные зоны запрещается.

7-25. Трубопроводы грунтовых осветительных сетей в зоне класса В-I должны прокладываться по наружным сторонам стен и входить в помещения для присоединения к светильникам.

Пример разводки трубопроводов сети освещения в зоне класса В I приведен на рис. 27, а в зонах классов В-Iа и В-II - на рис. 28.

Рис. 27. Вариант выполнения разводки трубопроводов осветительной сети в помещении класса В-I.

Рис. 28. Вариант выполнения разводки трубопроводов осветительной сети в помещениях классов В-Iа и В-II.

7-26. Открыто прокладываемые электротехнические трубопроводы в зонах классов В-I и В-Iа при совместной прокладке с технологическими трубопроводами, несущими легковоспламеняющиеся продукты, рекомендуется располагать:

а) ниже технологических трубопроводов, несущих горючие пары и газы с отношением их плотности к плотности воздуха менее 0,8;

б) выше технологических трубопроводов несущих горючие пары и газы с отношением их плотности к плотности воздуха более 0,8.

7-27. Открыто прокладываемые электротехнические трубопроводы в зонах классов В-II и В-IIа следует выполнять так, чтобы скопление взрывоопасной пыли на трубах и конструкциях было наименьшим и ее удаление с них не было затруднено. Для этого следует:

а) трубы прокладывать, как правило, в одни ряд с зазорами между ними и от стен не менее 20 мм;

б) крепление труб осуществлять на конструкциях с узкими горизонтальными поверхностями.

7-28. Трубопроводы, прокладываемые открыто в сырых, особо сырых помещениях, а также в помещениях с резким изменением температуры, где в трубах может образовываться конденсат, должны иметь монтажный уклон не менее 3 мм на 1 м, (0,003) к специально устанавливаемым для сбора конденсата водосборным трубкам-водосборникам. При этом крышки ответвительных и протяжных коробок должны быть расположены вертикально или обращены вниз.

7-29. Водосборники допускается выполнять в виде отрезка водо-газопроводной трубы длиной 200 - 300 мм, направленной вниз, и они должны соединяться с трубопроводом либо через свободный патрубок коробки, либо через специально установленный водопроводный прямой тройник по ГОСТ 8948-59.

Внизу водосборной трубки на короткой резьбе должна устанавливаться муфта с пробкой по ГОСТ 8963-59 или колпак по ГОСТ 8962-59.

7-30. Установка кранов, вентилей и другой арматуры для спуска конденсата на коробках, а также водосборных трубках не допускается.

7-31. Сток конденсата в трубах к установленным разделительным уплотнениям не допускается.

7-32. Количество соединительных и ответвительных коробок, устанавливаемых внутри взрывоопасных зон, должно быть по возможности минимальным, и их тип должен соответствовать назначению и классу взрывоопасной зоны (приложение 4).

7-33. Скрытая прокладка трубопроводов заподлицо с поверхностью пола в зонах всех классов не допускается. Трубы должны быть заглублены и защищены слоем цементного раствора толщиной не менее 20 мм.

Установка в полу ответвительных и протяжных коробок не допускается.

7-34. Электротехнические трубопроводы взрывоопасных зон класса В-Iг при совместной прокладке с технологическими трубопроводами на эстакадах следует располагать со стороны, свободной от трубопроводов с легковоспламеняющимися продуктами. При этом должна быть исключена возможность попадания технологических продуктов на электротехнические трубопроводы.

7-35. Трубопроводы, прокладываемые на высоте, меньшей, чем 2,5 м над машинами, механизмами, транспортерами и другим вращающимся или движущимся оборудованием, следует жестко закреплять по всей длине; расстояние между местами крепления для всех диаметров труб должно быть не более 2,5 м. В остальных случаях расстояние между местами крепления открыто проложенных труб, как на горизонтальных, так и вертикальных участках не должно превышать величин, указанных ниже:

Условный проход

трубы, мм …..                               20        25        40-80   100

Наибольшие допустимые

расстояния между местами

крепления, м ….                           2,5       3          4          6

7-36. Трубопроводы, прокладываемые открыто в зонах всех классов, должны быть закреплены не далее:

а) 0,8 м от электрических машин и аппаратов;

б) 0,3 м от коробок (допускается крепление с одной стороны);

в) 1 м от светильников, установленных на кронштейнах.

7-37. Крепление трубопроводов во всех взрывоопасных зонах должно осуществляться скобами, хомутами и т.п., например скобами серий СД, СО и СДП (изделия заводов Главэлектромонтажа).

7-38. Крепление трубопроводов без скоб путем непосредственной их приварки к металлическим основаниям (фермам и другим конструкциям), а также крепление к технологическим трубопроводам не допускается.

7-39. В зонах классов В-I, В-Iа, В-II трубопроводы должны крепиться так, чтобы не было смещения их вдоль или поперек несущих конструкций или частей зданий.

7-40. Отдельные трубы, выходящие из взрывоопасных зон, должны заделываться в местах прохода сквозь стены, полы и междуэтажные перекрытия цементным раствором или другими несгораемыми материалами по всей толщине стены или перекрытия так, чтобы газы, пары и пыль через щели и зазоры не проникали в соседние помещения.

7-41. В случае прохода сквозь стену нескольких труб должны применяться стальные патрубки, приваренные к металлическим рамам (рис. 12) с навернутым на один конец каждого патрубка коробки разделительным уплотнением (со стороны взрывоопасного помещения).

После установки рамы проем в стене должен быть плотно заделан кирпичом на цементном растворе.

7-42. Трубы, собранные в пакеты пли блоки в местах прохода сквозь стены, полы и междуэтажные перекрытия, следует располагать в один-два ряда с расстоянием между трубами, обеспечивающим свободный доступ к ним при заделке проходов и выполнении разделительных уплотнений.

7-43. Пересечение трубами температурных и осадочных швов должно выполняться в соответствии с указаниями проекта.

Разделительные уплотнения

7.44. Разделительные уплотнения предназначены для:

а) предотвращения перехода по трубопроводу взрывоопасной смеси из одного помещения в другое;

б) отделения и ограничения объемов взрывозащищенного электрооборудования.

7-45. Разделительные трубопроводы следует устанавливать во взрывоопасных зонах классов В-I, В-Iа и В-II. В остальных классах взрывоопасных зон установка разделительных уплотнений не требуется.

7-46. Установка разделительных уплотнений на трубопроводах не требуется, если:

а) кабели в трубах выходят из взрывоопасных зон в траншею или канал, засыпаемый песком, или наружу, и далее кабели прокладывают без труб. При выходе трубы наружу конец ее должен быть уплотнен во избежание образования конденсата в трубе;

б) труба служит защитой кабеля в местах возможных механических воздействий, и оба конца ее находятся в пределах одного помещения.

7-47. Разделительные уплотнения проводов и кабелей, проложенных в трубах, должны выполняться в коробках КПЛ с внутренним (локальным) объемом, предусматривающим возможность испытания надежности выполнения разделительного уплотнения, или в коробках ФПЗ.

7-48. Использование соединительных и ответвительных коробок для выполнения разделительных уплотнений не допускается.

7-49. Коробки для разделительных уплотнений запрещается использовать для соединений проводов.

7-50. Трубы с условным проходом больше 50 мм с кабелями допускается уплотнять набивкой в трубу кабельного джута или асбестового шнура на глубину 100 - 120 мм с последующим заполнением уплотнительным составом УС-С5 (рис. 29) и набивкой сверху кабельного джута или асбестового шнура. Набивку джута или шнура с обеих сторон состава УС-65 следует выполнять толщиной не менее 10 мм. При этом отношение диаметра кабеля к внутреннему диаметру трубы должно быть менее или равно 0,7.

Рис. 29. Разделительное уплотнение кабеля в трубе с условным проходом более 50 мм.

1 - труба; 2 - разъемное соединение (муфта и контрогайка); 3,5 - кабельный джут или асбестовый шнур; 4 - уплотнительный состав УС-65; 6 - кабель.

Выполнение такого разделительного уплотнения в трубе, выходящей из пола, допускается при подводе питания к пускателям, электродвигателям, а также при переходе кабеля на открытую прокладку (рис. 29, 30) с обязательным устройством разъемного соединения не далее 30 - 50 мм от верха заполнения составом.

Рис. 30. Варианты применения разделительных уплотнений кабеля составом УС-65 в трубе с условным проходом более 50 мм.

а - выход из пола трубы с кабелем, проложенным открыто; б - выход из пола трубы с кабелем к пускателю; в - выход из пола трубы с кабелем к двигателю; МЗ - место заполнения составом УС-65 в трубе с кабелем для разделительного уплотнения.

7-51. Материалы для выполнения заполненных разделительных уплотнений и область их применения приведены в табл. 6.

Таблица 6

Материалы для выполнения разделительных уплотнений

Наименование

Область применения

ГОСТ или ТУ

Уплотнительный состав УС-65 (поставляется в готовом виде)

Выполнение разделительных уплотнений в коробках с внутренним локальным объемом, предусматривающим возможность испытания надежности выполнения разделительных уплотнений, и в коробках типа ФПЗ и трубах

ТУ 36-945-68 ММСС СССР

Битумные составы МБМ-1 и МБМ-2*

То же

ГОСТ 6997-54

Шнуры крученые и пряжа (пропитанные):

Устройство набивок в патрубках коробок для разделительных уплотнений в трубах при применении состава УС-65

ГОСТ 1765-70 ГОСТ 5107-70

шнуры и катанки льняные

ГОСТ 17306-71, 18403-73

шнуры крученые льнопеньковые

 

шнуры крученые льняные и хлопчатобумажные

 

отходы кабельной пряжи

 

шнуры асбестовые

ГОСТ 1779-72

________________________

* В организациях системы Главэлектромонтажа в связи с поставкой состава УС-65 применять не допускается.

7-52. Сальниковые разделительные уплотнения ввода проводов и кабелей (резиновые кольца) поставляются совместно с электрооборудованием в гнездах вводных устройств (рис. 31).

Рис. 31. Ввод трубы в электродвигатель (резиновое кольцо является разделительным уплотнением).

1 - муфта кабельная; 2 - кольцо резиновое; 3 - муфта нажимная; 4 - труба водогазопроводная; 5 - провода; 6 – про9водник заземления брони и оболочки кабеля; 7 - кабель.

7-53. Коробки для разделительных уплотнений перед установкой должны быть внутри очищены от грязи и протерты для лучшего прилипания уплотнительного состава.

7-54. Разделительные уплотнения должны быть выполнены в непосредственной близости от места ввода труб во взрывоопасную зону, но не далее 200 мм:

а) в местах перехода трубопроводов из взрывоопасных зон высших классов во взрывоопасные зоны низших классов - со стороны взрывоопасных зон высшего класса. Например, при переходе трубопроводов взрывоопасной зоны класса В-Iа в зону класса В-Iб разделительные уплотнения выполняются в зоне высшего класса В-Iа;

б) в местах перехода трубопроводов из одних взрывоопасных зон в другие одинаковых классов, но содержащих взрывоопасные смеси других категорий или групп, - со стороны зон, имеющих взрывоопасную смесь более высокой категории и группы (рис. 32);

Рис. 32. Размещение разделительных уплотнений для осветительной сети.

1 - щиток распределительный; 2 - светильник взрывозащищенный; 3 - разделительное уплотнение, выполненное резиновой уплотнительной прокладкой; 4 - разделительное уплотнение, выполненное в коробках КПЛ и КПР.

в) в местах перехода трубопроводов из взрывоопасных зон классов В-I, В-Iа и В-II в невзрывоопасное помещение или наружу - со стороны взрывоопасной зоны (рис. 32 и 33). При этом на трубах, проложенных к электродвигателям и аппаратам в бетонной подготовке пола или в земле под полом из невзрывоопасного помещения во взрывоопасную зону, разделительные уплотнения следует устанавливать при выходе труб из пола у электродвигателя или аппарата (рис. 33, а). Выводить трубы из пола на стену специально только для установки разделительных уплотнений при последующем заглублении труб в пол не требуется;

г) допускается установка разделительных уплотнений со стороны невзрывоопасных помещений (рис. 33, б) или снаружи, если во взрывоопасной зоне установке разделительных уплотнений мешают строительные конструкции.

Рис. 33. Пример установки разделительных уплотнений при проходе труб из взрывоопасного помещения в нормальное.

а - следует; б - допускается.

7-55. Установка каких-либо соединительных частей (муфт, водосборников и т.п.) на участке трубопровода между разделительным уплотнением и местом выхода трубы из пола, стены и т.п. во взрывоопасную зону не допускается.

7-56. Разделительные уплотнения должны быть размещены так, чтобы они не препятствовали естественному стоку конденсирующейся в трубах влаги к соединительным и ответвительным коробкам, водосборным трубкам и т.п.

7-57. При вводе трубопроводов с проводами или кабелями в оболочки аппаратов, присоединительные зажимы и подвижные контакты которых залиты маслом, например КУ-700, установки на трубопроводах разделительных уплотнений непосредственно у ввода в аппарат не требуется.

7-58. Разделительные уплотнения в коробках для локальных испытаний типа КПЛ (рис. 34), установленные на трубопроводах во взрывоопасных зонах классов В-I, В-Iа, В-II, должны испытываться избыточным давлением 250 кПа (2,5 кгс/см2), при этом в течение 3 мин допускается падение давления в разделительном уплотнении не более чем до 200 кПа (2 кгс/см2).

Рис. 34. Коробка КПЛ.

1 - корпус; 2 - крышка; 3 - резьбовая пробка.

7-59. При отсутствии коробок КПЛ допускается использовать две коробки КПР и сантехнический тройник по ГОСТ 8948-59 или 8949-59. При этом в тройник ввертываются на резьбе два отрезка труб или двойные ниппели по ГОСТ 8958-59, на свободные концы которых навертываются коробки КПР (рис. 35).

Рис. 35. Устройство разделительных уплотнений с локальным испытанием в коробках КПР.

1 - коробка; 2 - джут или асбестовый шнур; 3 - уплотнительный состав УС65; 4 - тройник по ГОСТ 8949-59.

При локальных испытаниях разделительных уплотнений трубопроводы давлением не испытываются.

7-60. При установке на трубопроводе для разделительного уплотнения одной коробки КПР должен испытываться весь трубопровод, расположенный во взрывоопасной зоне после разделительного уплотнения.

При этом трубопроводы после монтажа проводов и кабелей должны быть испытаны на плотность, включая и разделительное уплотнение, сжатым воздухом избыточным давлением:

а) в зонах класса В-I - 250 кПа (2,5 кгс/см2);

б) в зонах классов В-Iа и В-II - 50 кПа (0,5 кгс/см2).

При этом в течение 3 мин давление не должно уменьшаться более чем на 50 %.

Технология выполнения разделительных уплотнений трубопроводов составом УС-65

7-61. Перед применением состава УС-65 при отрицательных температурах следует поместить на 2 - 3 ч состав и снятые крышки коробок в отапливаемое помещение. Для удобства заполнения рекомендуется состав нарезать кубиками размером примерно 20´20´20 мм.

7-62. Разделительные уплотнения в коробках КПЛ (рис. 36) необходимо выполнить в следующей последовательности:

а) вывернуть крышки из корпуса коробки 1 и из крышек 2 вывернуть пробки 3;

б) при применении многожильных проводов марки ПРТО необходимо снять его оплетку на участке провода, расположенного в крайних полостях под снятыми крышками (на длине 25 - 30 мм). Указанную операцию следует выполнять осторожно, не допуская порчи изоляции. У одножильных проводов оплетку снимать не требуется;

в) выполнить уплотнение патрубков коробки и отверстий между крайними и средней полостью набивкой в них кабельного джута или асбестового шнура, не допуская прикосновения проводов к корпусу коробки;

г) развести провода внутри каждой крайней полости коробки и нанести слой уплотнительного состава УС-65 только в крайних полостях под провода, а затем заполнить их составом, оставив свободными одну-две нитки резьбы (рис. 36, а);

д) ввернуть крышки в корпус коробки, снять выдавленный из отверстий крышек состав и ввернуть пробки на все резьбу (рис. 36, б);

е) вывернуть пробку из отверстия  средней полости коробки;

ж) ввернуть в отверстие тройник с манометром и ниппелем и подсоединить к нему  шланг от источника сжатого воздуха (например, велосипедного насоса с обратным клапаном) для испытания разделительного уплотнения давлением (рис. 36, в);

з) создать при помощи насоса  в средней полости коробки избыточное давление 250 кПа (2,5 кгс/см2).

Рис. 36. Выполнение и испытание разделительного уплотнения в коробке КПЛ.

1 - корпус; 2 - крышка; 3, 4 - пробки; 5 - набивка из джута или асбестового шнура; 6 - уплотнительный состав УС65; 7 - тройник с манометром и ниппелем; 8 - насос; 9 - трубопровод; 10 - кабель или провода.

7-63. В случае если разделительное уплотнение не удовлетворяет требованиям п. 7-58, следует вывернуть пробки и крышки из коробки, дополнить крайние полости составом УС65 и повторить операции, указанные в п. 7-62, д.

7-64. Разделительные уплотнения в коробках КПР (рис. 37, 38) необходимо выполнять в такой последовательности:

а) отвернуть крышку коробки и вывернуть из нее пробку (рис. 37, а);

б) при применении многожильных проводов марки ПРТО (рис. 37, б) необходимо снять его оплетку внутри коробки на длине 25 - 30 мм. Указанную операцию следует выполнять осторожно, не допускается порчи изоляции проводов. У одножильных проводов оплетку снимать не требуется;

в) выполнять уплотнение патрубков коробки набивкой в них кабельного джута или асбестового шнура (рис. 37, а, б), не допуская прикосновения проводов к корпусу коробки;

г) развести провода внутри коробки и нанести слой уплотнительного состава под провода, а затем заполнить коробку составом до начала резьбы. Заполнить составом крышку коробки (рис. 38, а);

д) завернуть крышку в корпус коробки на всю резьбу (рис. 38, б).

е) снять выдавленный состав через отверстие для пробки и ввернуть пробку на всю резьбу (рис. 38, в)

Рис. 37. Подготовка коробки КПР для выполнения разделительного уплотнения.

а - крышка с пробкой и корпус с проложенными одножильными проводами и выполненной набивкой из джута; б - корпус с проложенным многожильным проводом ПРТО со снятой хлопчатобумажной оплеткой и выполненной набивкой из джута; 1 - трубопровод; 2 - набивка из джута или асбестового шнура; 3 - корпус; 4 - крышка; 5 - провод; 6 - пробка.

Рис. 38. Выполнение разделительного уплотнения в коробке КПР уплотнительным составом УС65.

а - заполненные составом крышка и корпус; б - уплотнение состава при завернутой крышке; в - выполненное разделительное уплотнение после полной сборки; 1 - трубопровод; 2 - набивка из джута или асбестового шнура; 3 - корпус; 4 - крышка; 5 - провод; 6 - пробка.

7-65. Локальные испытания разделительных уплотнений с применением двух коробок КПР (рис. 35) выполняются аналогично испытаниям коробок КПЛ с присоединением манометра и насоса к свободному отверстию тройника (рис. 35), установленного между двумя коробками КПР.

7-66. После испытания разделительного уплотнения вывернуть тройник с манометром и ввернуть на его место пробку на всю резьбу (рис. 36, г). При этом следует применять пробки, соответствующие ГОСТ 8963-59.

7-67. На разделительные уплотнения или трубопроводы, выдержавшие испытания, составляется протокол (приложение 6).

8. КОНЦЕВЫЕ ЗАДЕЛКИ КАБЕЛЕЙ

Общие указания

8-1. Заделки кабелей должны выполняться вне вводного устройства электрооборудования с учетом уплотнения кабелей по оболочке при вводе их в электрооборудование. Технологические указания по выполнению ввода и уплотнения кабелей приведены в разд. 9 и 10 настоящей инструкции.

8-2. Заземление брони и металлических оболочек кабелей должно выполняться при помощи медного заземляющего проводника, сечение которого в зависимости от сечения жил кабелей (при отсутствии особых указаний в проекте) должно выбираться следующим образом:

Сечение жил кабеля, мм2                   До 10       16 - 35     50 - 120            150

Сечение медного заземляющего

проводника, мм2..............                 6            10              16                    25

Технология выполнения заделок кабелей марок ВБВ и АВБВ

8-3. Отмерить кабель длиной, достаточной для подключения к контактным зажимам вводного устройства, и отметить место установки на кабеле уплотнительного кольца.

8-4. Выполнить кольцевой надрез наружной оболочки кабеля на расстоянии 10 - 15 мм в сторону конца кабеля от места установки уплотнительного кольца и снять оболочку.

8-5. Размотать ленты брони кабеля до выхода их из-под наружной оболочки, а затем отвести эти ленты в сторону по ходу их новива. Отмерить ленты брони (от края наружной оболочки) на длину, равную двум наружным диаметрам кабеля, а остальную часть этих лент отрезать.

8-6. Выбрать по п. 8-2 сечение гибкого медного заземляющего проводника для выполнения заземления брони кабеля. Длина заземляющего проводника должна быть достаточной для присоединения к внутреннему болту заземления.

8-7. Расплести один конец заземляющего проводника на расстояние 40 - 50 мм.

8-8. Облудить паяльником или в пламени газовоздушной горелки зачищенные концы проволочек расплетенного заземляющего проводника припоем ПОС-40 (ГОСТ 1499-70), используя в качестве флюса паяльный жир. Наложить плотно на ленты брони расплетенный конец заземляющего проводника, направив его в сторону конца кабеля и припаять его (рис. 39).

Рис. 39. Припайка заземляющего проводника к броне кабеля марки ВБВ и АВБВ при вводе кабеля в вводные устройства.

1 - резиновое уплотнительное кольцо; 2 - ленты брони; 3 - заземляющий проводник; 4 - газовоздушная горелка.

8-9. Уложить ленты брони с напаянным заземляющим проводником на внутреннюю оболочку кабеля и закрепить их бандажом из ленты брони шириной 8 - 10 мм. Бандаж следует установить на место нанки заземляющего проводника (рис. 40).

Рис. 40. Общий вид концевой заделки кабеля марки ВБП и АВБП.

1 - шайба нажимная; 2 - резиновое уплотнительное кольцо; 3 - шайба упорная; 4 - наружная оболочка; 5 - броня; 6 - металлический бандаж; 7 - заземляющий проводник (медь); 8 - трубка из поливинилхлоридного пластиката; 9 - профилированный сердечник; 10 - манжета из поливинилхлоридного пластиката; 11 - лента ПВХ.

Допускается припайка заземляющего проводника к броне кабеля паяльником без размотки брони. При этом расплетенный конец проводника прикрепляется к броне бандажом. Продолжительность непрерывной пайки не должна превышать 3 мин. При выполнении пайки необходимо соблюдать осторожность во избежание перегрева внутренней (под броней) и наружной оболочек кабеля.

8-10. На расстоянии 10 мм от бандажа выполнить кольцевой и продольный надрезы поясной изоляции кабеля и затем снять ее. Во избежание повреждений изоляции жил кабеля надрез производить на глубину не более 2/3 толщины изоляции.

8-11. Развести жилы кабеля и удалить профилированный сердечник, который должен выступать из корешка на 8 - 10 мм.

8-12. Отмерить по месту и отрезать жилы кабеля. Снять изоляцию с концов многопроволочных жил на длине, равной цилиндрической части наконечника для опрессовки, а однопроволочных жил сечением до 10 мм2 - достаточной для изгибания их в кольцо.

Надеть на многопроволочные жилы кабеля манжеты, а на заземляющий проводник трубку из поливинилхлоридного пластиката с диаметром, равным или несколько большим трубчатой части наконечника.

8-13. Оконцевать многопроволочные жилы и заземляющий проводник наконечниками, опрессовать их и надвинуть манжеты на трубчатую часть наконечников. Концы однопроволочных жил изогнуть в кольцо по диаметру контактного зажима.

8-14. Выполнить подмотку липкой поливинилхлоридной лентой на жилах со стороны манжет во избежание сползания манжеты на жилу кабеля. Общий вид концевой заделки кабеля марок ВБВ и АВБВ приведен на рис. 40.

Указания по выполнению заделок кабелей с бумажной изоляцией

8-15. Концы предварительно проложенного кабеля должны быть герметизированы, а длина кабеля должна быть достаточной для присоединения к электрооборудованию.

8-16. При проведении работ должны соблюдаться действующие руководящие указания по противопожарной и технической безопасности.

8-17. Концевые заделки кабелей с бумажной изоляцией на напряжение до 1000 В при вводе их в электрооборудование, применяемое на взрывоопасных зонах всех классов, должны выполняться только липкой поливинилхлоридной лентой по ГОСТ 16214-70 или 5.2107-73 и с применением перхлорвиниловых составов № 1 и 2 по ТУ 6-УБХ-13-72.

8-18. Бандажи из шпагата на корешке заделки в жилах кабеля (на наконечниках) должны покрываться только изоляционными пропиточными лаками (шеллаком, бакелитовым лаком и т.п.) холодной сушки.

Применение составов № 1и 2 для покрытия бандажей запрещается.

Технология выполнения заделок кабелей с бумажной изоляцией до 1000 В

8-19. При подводе кабеля, проложенного открыто, для определения места обреза брони кабель изогнуть с учетом допустимого радиуса изгиба для данной марки кабеля и примерить его по месту.

8-20. При подводе кабеля, проложенного в трубе, изогнуть и примерить кабель по участку водогазопроводной трубы так, чтобы радиус изгиба кабеля соответствовал радиусу изгиба трубы (рис. 41).

Рис. 41. Примерка кабеля и наложение бандажа.

1 - кабельная муфта; 2 - бандаж на броне; 3 - кабель.

8-21. Наложить на броню кабеля против торца кабельной муфты вводного устройства бандаж из трех-четырех витков проволоки или полоски брони кабеля шириной 15 - 20 мм, закрепляемой кровельным швом.

8-22. Надрезать осторожно ленты брони кабеля на расстоянии 2 мм от бандажа (со стороны конца кабеля) и снять их.

8-23. Удалить битуминированную подушку с оболочки разделываемого конца кабеля, предварительно прогрев ее пламенем газовоздушной горелки или паяльной лампы.

8-24. Протереть поверхность оболочки кабеля тряпкой, смоченной в бензине или керосине, до полного удаления битуминированной подушки, а затем протереть сухой тряпкой.

8-25. Зачистить до блеска участок свинцовой оболочки 40 - 50 мм (от среза брони) и участок двух лент брони кабеля у бандажа в местах припайки заземляющего медного проводника.

8-26. Облудить паяльником или пламенем газовоздушной горелки зачищенное место брони кабеля припоем ПОС-40, используя в качестве флюса паяльный жир.

8-27. При применении кабеля с алюминиевой оболочкой в зонах классов В-Iб, В-Iг, В-II и В-IIа облудить оболочку на расстоянии 40 - 45 мм от среза брони, натирая ее припоем А в пламени газовоздушной горелки или паяльной лампы, а затем облудить припоем ПОС-40.

8-28. Подготовить медный (многопроволочный) заземляющий проводник и расплести один конец проводника на длину 80 - 100 мм. Выбор сечения проводника производить по п. 8-2.

Длина заземляющего проводника должна быть достаточной для присоединения к зажиму заземления внутри вводного устройства.

8-29. Наложить заземляющий проводник расплетенным концом на броню и оболочку вдоль оси кабеля, при этом другой конец проводника направить в сторону конца кабеля (рис. 42).

Рис. 42. Закрепление заземляющего проводника на кабеле.

1 - заземляющий проводник; 2 - временные проволочные бандажи на оболочке кабеля; 3 - бандаж из медной проволоки на броне.

Расплетенные проволоки заземляющего проводника должны быть плотно уложены по оболочке в один ряд, чтобы после припайки проводника сохранилось сечение кабеля (по оболочке), близкое к кругу (разрез А - А).

8-30. Закрепить конец заземляющего проводника на облуженном месте двух лент брони бандажом из трех-четырех витков мягкой медной проволоки на расстоянии 20 мм от бандажа, крепящего броню кабеля.

8-31. Закрепить заземляющий проводник на оболочке кабеля двумя временными бандажами, состоящими из двух витков мягкой медной проволоки: первый у брони и второй на расстоянии 50 мм от первого. В месте перехода с брони заземляющий проводник прижать к оболочке.

8-32. Припаять заземляющий проводник к броне (по бандажу из медной проволоки) и оболочке кабеля между двумя временными бандажами на участке 40 - 45 мм от торца брони (рис. 43). Пайку выполнять припоем ПОС-40 с применением в качестве флюса паяльного жира. Продолжительность пайки не должна превышать 3 мин. Поверхность пайки должна быть гладкой, без острых наплывов.

Рис. 43. Место припайки заземляющего проводника и выполнение первого кольцевого надреза на оболочке кабеля.

1 - кабель; 2 - нажимная муфта; 3 - труба.

8-33. Снять с оболочки кабеля временно установленные бандажи. Остатки флюса в месте пайки снять тряпкой, смоченной в бензине.

8-34. Перед началом работ по снятию оболочки на кабель следует надеть участок водогазопроводной трубы, соединяющий вводное устройство с основным трубопроводом (при подводе кабеля в трубе), а также нажимную муфту, резиновое уплотнительное кольцо и стальные шайбы (нажимную и упорную), входящие в комплект вводного устройства (рис. 44).

Рис. 44. Подготовка кабеля к разделке.

1 - упорная шайба; 2 - резиновое кольцо; 3 - нажимная шайба.

8-35. Сделать первый кольцевой надрез на оболочке кабеля глубиной не более 2/3 толщины оболочки на расстоянии А от среза брони (рис. 43). Размер А для разных сечений кабелей следует выбирать:

Сечение жил

кабеля, мм2                            2,5-16         25-35         50-70         95-150

Размер А, мм                     60               70                     80        85

8-36. Отступив 10 мм в сторону конца кабеля от первого кольцевого надреза на оболочке, сделать второй кольцевой надрез. На свинцовой оболочке кабеля, начиная от второго кольцевого надреза, сделать два продольных надреза до конца кабеля на расстоянии 10 мм друг от друга (рис. 44).

8-37. Снять, начиная с конца кабеля, полоску оболочки между двумя продольными надрезами, а затем и всю оболочку до второго надреза. При использовании специального ножа для снятия алюминиевой оболочки сохранить расстояния, указанные для кольцевых надрезов.

8-38. Снять поясную бумажную изоляцию до второго кольцевого надреза.

8-39. Развести жилы и удалить заполнители.

8-40. Обрезать жилы кабеля для присоединения их к контактным зажимам.

Длина жил (рис. 45) определяется в зависимости от габарита электродвигателя (пускателя), сечения жил кабелей.

Рис. 45. Подготовка жил кабеля к заделке.

8-41. Снять 10-миллиметровый поясок оболочки кабеля до первого кольцевого надреза.

8-42. Протереть изоляцию жил кабеля чистой тряпкой, слегка смоченной в бензине. Особое внимание обратить на тщательность удаления пропитывающего состава в месте выхода жил из поясной изоляции.

8-43. Наложить на край поясной изоляции бандаж из ниток в три-четыре витка.

8-44. Наложить на изоляцию каждой жилы бандаж из двух-трех витков ниток или липкой поливинилхлоридной ленты на расстоянии а от конца жилы по данным табл. 7.

Таблица 7

Расстояние а жилы для снятия изоляции

Сечение жил кабеля, мм2

Расстояние а от конца жилы, мм

медной

алюминиевой

2,5 - 10

50

50

16 - 25

40

45

35

40

50

50

45

55

70

45

60

95 - 150

50

65

8-45. Снять с концов жил фазную изоляцию до бандажей (п. 8-44). С оголенных участков жил удалить пропитывающий состав тряпкой, смоченной в бензине.

8-46. При применении кабелей с секторными жилами надеть на жилы и опрессовать наконечники в соответствии с инструкцией по опрессовке жил проводов и кабелей.

8-47. Надеть на заземляющий проводник трубку из поливинилхлоридного пластиката. На конец проводника надеть и опрессовать трубчатый медный наконечник или изогнуть его в кольцо по диаметру контактного зажима и облудить.

8-48. Герметизировать оголенные участки жил у наконечников. Для этого обмотать оголенные участки липкой поливинилхлоридной лентой толщиной 0,2 и шириной 7,5 мм, получаемой путем разрезания пополам ролика ленты шириной 15 мм Обмотку выполнять до выравнивания ее с бумажной изоляцией жилы и наконечником с заходом двух последних слоев ленты на наконечник и бумажную изоляцию жилы.

8-49. При выполнении опрессовки местным вдавливанием заполнить углубления (лунки), образовавшиеся на цилиндрической части наконечников при опрессовке моточками липкой поливинилхлоридной ленты. Лунки предварительно смазать составом № 2.

8-50. Обмотать каждую жилу по ходу новива фазной изоляции (начиная от места выхода из поясной изоляции) и всю цилиндрическую часть наконечников четырьмя слоями липкой поливинилхлоридной ленты шириной 15 - 20 мм, не обрывая ее в процессе обмотки жилы. Наматывать все четыре слоя с натяжением и 50 %-ным перекрытием предыдущего витка. Последний слой намотки ленты покрыть составом № 1.

8-51. Наложить на всю длину цилиндрической части наконечников с заходом на изоляцию жил бандаж из крученого шпагата диаметром 0,8 - 1 мм.

8-52. При применении кабеля с круглыми однопроволочными жилами сечением до 16 мм2 допускается вместо обмотки жил липкой поливинилхлоридной лентой применять трубки из поливинилхлоридного пластиката (ХВТ), выполнив следующие операции:

а) выбрать трубки с внутренним диаметром в соответствии с сечением жил кабеля:

Сечение жил кабеля, мм2             2,5-4                6-10                 16

Внутренний диаметр

трубки, мм …..                              5                      6                      8

б) нарезать трубки длиной, равной длине изолированного участка жилы и поясной изоляции;

в) на одном конце трубок сделать косой срез длиной 12 мм (рис. 46), а на другом - клинообразные вырезы длиной 10 - 12 и шириной у конца трубок 3 - 5 мм (рис. 47);

Рис. 46. Подготовка конца трубки из поливинилхлоридного пластиката (со стороны корешка) для надевания на жилы.

Рис. 47. Подготовка конца жилы к герметизации.

г) смазать составом № 1 фазную изоляцию жил для лучшего скольжения трубок при надевании их на жилы кабеля;

д) надеть на жилы кабеля (косым срезом вперед) трубки так, чтобы срез заходил на поясную изоляцию и упирался в оболочку (рис. 48);

Рис. 48. Трубки ХВТ, надетые на жилы кабеля.

1 - трубки ХВТ; 2 - поясная изоляция кабеля; 3 - оболочка кабеля.

е) герметизировать концы жил кабеля; для этого на концы трубок наложить с натяжением и 50 %-ным перекрытием витков бандаж из липкой поливинилхлоридной ленты на длине 25 мм с перекрытием клинообразного выреза и переходом на оголенную жилу (рис. 49); наложить с натяжением поверх липкой поливинилхлоридной ленты по всей ее длине бандаж из суровых ниток (рис. 50);

Рис. 49. Наложение бандажа из ленты ПВХ.

Рис. 50. Герметизация конца жилы.

ж) изогнуть в колечко по направлению завинчивания гаек концы жил для присоединения к контактным зажимам.

8-53. Скатать валик диаметром 4 - 5 мм из липкой поливинилхлоридной ленты шириной 15 - 20 мм и ввести его между жилами в корешок до поясной изоляции. Заполнить составом № 2 пространство в корешке между жилами от поясной изоляции на длине, равной двум диаметрам оболочки кабеля.

8-54. Сжать жилы в общий пучок и закрепить его временным бандажом из шпагата или киперной ленты на расстоянии 10 - 20 мм от участка жил, заполненного составом № 2.

8-55. Покрыть толстым слоем состава № 2 внешнюю поверхность пучка сжатых жил. При этом использовать состав, выдавленный при сжатии жил в пучок. Наличие не заполненных составом желобков не допускается, так как это может привести к образованию пустот.

8-56. Обмотать с небольшим натяжением сжатые в пучок жилы липкой поливинилхлоридной лентой (ПВХ). Обмотку начинать на расстоянии Б от конца оболочки кабеля и вести в сторону изоляции с заходом на оболочку на длину Д, равную диаметру оболочки кабеля (рис. 51)

Рис. 51. Подготовка кабеля к заделке.

1 - временный бандаж из шпагата или киперной ленты; 2 - жилы, изолированные лентой ПВХ; 3 - состав № 2; 4 - поясная изоляция; 5 . оболочка кабеля; 6 - заземляющий проводник.

Намотать шесть-восемь слоев ленты с натяжением и 50 °/о-ным перекрытием предыдущего витка выравнивая намотку. Последний слой намотки покрыть составом № 1.

Размер намотки ленты на жилы кабеля приведен ниже.

Сечение жил

кабеля, мм2 …..     2,5 - 10            16 - 35             50 – 70                        95 - 150

Размер Б, мм ….   50                    70                    75                                80

8-57. Наложить с натяжением поверх намотанной по корешку ленты бандаж из шпагата по всей длине заделки корешка. Бандаж накладывать, начиная со стороны жил, с последующим переходом на оболочку кабеля.

8-58. Пропитать бандажи из ниток и шпагата на концах жил и в корешке заделки изоляционным пропиточным лаком (шеллаком, бакелитовым и т.п.).

8-59. Снять временный бандаж, стягивающий жилы в корешке, после высыхания состава № 2.

Общий вид заделки кабеля с применением трубок ХВТ приведен на рис. 52.

Рис. 52. Общий вид сухой заделки кабеля перед вводом в вводное устройство электродвигателя до третьего габарита.

Особенности заделок кабеля с бумажной изоляцией на напряжение выше 1000 В

8-60. Концевые заделки кабелей с бумажной изоляцией на напряжение выше 1000 В во взрывоопасных зонах класса В-I должны выполняться только заливкой кабельной массой МВМ-1 или МБМ-2 (ГОСТ 6997-54), а в зонах остальных классов - с применением липкой поливинилхлоридной ленты.

8-61. Монтаж концевых заделок кабелей на напряжение выше 1000 В должен производиться обученными монтерами-кабельщиками 5 - 6-го разряда под контролем инженерно-технического персонала.

Помощник монтера выполняет по указаниям и под наблюдением монтера все вспомогательные работы, например подготовку материалов и инструмента, удаление наружного покрова кабеля.

Монтеры периодически, через 30 - 40 мин. должны протирать руки бензином и насухо вытирать их чистой тряпкой без ворса. Также периодически должен протираться и инструмент.

Для протирки и обезжиривания изоляции, оболочки и жил кабеля должен применяться чистый бензин (авиационный или Б-70).

Монтаж концевой заделки не должен прерываться, пока не будет полностью закончен.

Перед монтажом заделки необходимо проверить изоляцию кабеля на отсутствие влаги. Обязательно проверяются бумажные ленты, прилегающие к оболочке и жилам конца кабеля.

Наличие влаги в изоляции может быть обнаружено по легкому потрескиванию и выделению пены при погружении бумажных лент в нагретый до 150 °С парафин.

При проверке на влажность бумажные ленты следует брать сухим пинцетом.

При обнаружении недоброкачественных материалов или дефектов кабеля монтер обязан приостановить работу и сообщить об этом немедленно производителю работ.

Каждая концевая заделка кабеля после окончания должна быть сдана ответственному лицу, осуществляющему надзор на монтаже.

Результаты приемки концевой заделки оформляются актом. Окончательная сдача-приемка концевых заделок производится после испытания кабельной линии повышенным напряжением, согласно действующим нормам. Результаты испытаний концевых заделок оформляются протоколом испытаний.

8-62. Расстояние между кольцевыми надрезами на оболочке кабеля должно быть равно 15 мм.

8-63. Перед намоткой на жилы четырех слоев липкой поливинилхлоридной ленты их следует обмотать, начиная по мере выхода жил из поясной изоляции, одним слоем лакоткани шириной 25 - 30 мм с натяжением и 50 %-ным перекрытием предыдущего витка

8-64. Во взрывоопасных зонах класса В-1 заделка кабеля должна выполняться заливкой в кабельную муфту вводного устройства кабельной массы МБМ-1 или МБМ-2, разогретой до 140 °С, с последующим охлаждением перед заливкой до 110 – 120 °С.

8-65. Операции по подготовке кабеля для заливки кабельной массой выполняются аналогично заделкам с применением липкой поливинилхлоридной ленты. При этом обмотка жил одним слоем лакоткани и четырьмя слоями липкой поливинилхлоридной ленты должна начинаться на 50 мм ниже торца кабельной муфты (рис. 53).

Рис. 53. Подготовка кабеля для заливки кабельной массой в кабельной муфте вводного устройства.

1 - резиновое кольцо; 2 - кабельная муфта; 3 - жилы кабеля; 4 - обмотка жил лакотканью и лентой ПВХ; 5 - проводник заземления.

8-66. Для герметизации концов круглых и однопроволочных жил сечением 10 - 16 мм2, присоединяемых без наконечников, необходимо:

а) на расстоянии 85 мм от конца жилы на фазной изоляции установить бандаж из ниток;

б) снять с конца жилы до бандажа пять верхних слоев изоляции. Остальные слои на участке 30 мм от бандажа снимать ступенями с отступлением на 5 мм (рис. 54);

Рис. 54. Снятие изоляции с конца однопроволочной жилы.

1 - бандаж из ниток на изоляции жилы; 2 - токоведущая жила.

в) протереть оголенную жилу тряпкой, слегка смоченной в бензине;

г) обмотать жилу лакотканью и четырьмя слоями ленты ПВХ. Обмотку производить с перекрытием оголенной жилы на участке, равном 10 мм (рис. 55);

Рис. 55. Герметизация однопроволочной жилы.

1 - бандаж из ниток; 2 - слой лакоткани; 3 - четыре слоя ленты ПВХ.

д) наложить на изоляцию с натяжением бандаж из шпагата диаметром 0,8 - 1,0 мм на участке 45 мм, считая от конца изоляции. Наложение бандажа следует начинать от конца изоляции;

е) после герметизации оголенный конец жилы изогнуть в кольцо для присоединения к контактному зажиму.

Технология заделок бронированных кабелей с резиновой и поливинилхлоридной изоляции

8-67. Отмерить место обреза брони и установить бандаж аналогично кабелям с бумажной изоляцией.

8-68. Зачистить до блеска участок двух лент брони у бандажа в месте припайки заземляющего медного проводника и облудить его, соблюдая осторожность во избежание порчи оболочки под броней.

8-69. Наложить один конец заземляющего проводника на облуженное место брони, при этом другой конец проводника направить в сторону, противоположную концу кабеля. Сечение заземляющего проводника выбирать по п. 8-2.

8-70. Закрепить конец заземляющего проводника на броне бандажом из трех-четырех витков медной проволоки у бандажа, крепящего броню кабеля, и припаять проводник (рис. 56). Продолжительность пайки не должна превышать 3 мин.

Рис. 56. Закрепление и припайка заземляющего проводника к броне кабеля с поливинилхлоридной или резиновой оболочкой.

8-71. Надрезать ленты брони кабеля у бандажа (со стороны конца кабеля) и снять их. Удалить подушку под броней (для кабелей, имеющих защитное покрытие под броней).

8-72. На расстоянии 30 - 50 мм от среза брони (в зависимости от диаметра кабеля) выполнить кольцевой надрез оболочки и от него в сторону конца кабеля - продольный надрез. На надрезанном участке снять оболочку с жил кабеля.

8-73. Надеть на кабель нажимную муфту, нажимную и упорную шайбы и резиновое уплотнительное кольцо, входящее в комплект вводного устройства электрооборудования.

8-74. Выполнить оконцевание жил кабелей.

8-75. Выполнить подмотку липкой поливинилхлоридной лентой на жилах со стороны манжет во избежание сползания манжет на жилы кабеля.

8-76. На жилы кабеля с резиновой изоляцией, начиная от оболочки, намотать один слой липкой поливинилхлоридной ленты с 50 %-ным перекрытием предыдущего витка с переходом на цилиндрическую часть наконечников (рис. 57) или надеть трубки из поливинилхлоридного пластиката.

Рис. 57. Заделка жил кабеля с резиновой изоляцией и поливинилхлоридной или резиновой оболочкой.

1 - наконечник; 2 - жилы, обмотанные лентой ПВХ; 3 - бандаж из ленты ПВХ; 4 - резиновое уплотнительное кольцо; 5 - нажимная шайба; 6 - нажимная муфта.

8-77. Жилы в месте их выхода из оболочки обмотать тремя-четырьмя слоями липкой поливинилхлоридной ленты с переходом ленты на оболочку (рис. 57).

9. МОНТАЖ ВЗРЫВОЗАЩИЩЕННЫХ ЭЛЕКТРОДВИГАТЕЛЕЙ СЕРИЙ ВАО И МА36

Общие указания

9-1. Взрывозащищенные электродвигатели поступают с заводов-изготовителей в собранном виде, как правило, совместно с технологическим оборудованием. Каждый электродвигатель должен поставляться с паспортом и инструкцией по монтажу и эксплуатации.

9-2. Производить разборку двигателей при монтаже не требуется, если не обнаружен обрыв обмоток и сопротивление их изоляции по отношению к корпусу (в мегомах), замеренное в холодном состоянии мегомметром на 1000 В (по ГОСТ 183-74), не ниже

R = ,

где U - номинальное напряжение, B; P - мощность электродвигателя, кВт.

Для электродвигателей на напряжение 6000 В сопротивление изоляции обмоток замеряется мегомметром на 2500 В, при этом сопротивление изоляции должно быть не ниже 6 МОм.

9-3. Если со дня отгрузки электродвигателей с завода-изготовителя прошло не более одного года, то перед монтажом необходимо очистить их поверхность от пыли, проверить затяжку всех винтов и болтов, убедиться в целости оболочки и вводных устройств, проверить свободное вращение ротора от руки.

9-4. Если со дня отгрузки электродвигателя с завода-изготовителя прошло свыше одного года, то необходимо дополнительно осмотреть подшипники со снятием их крышек и проверить наличие  смазки, которая должна заполнять 2/3 объема подшипникового гнезда. Для смазки подшипников следует применять смазку, указанную в заводских инструкциях.

9-5. Если сопротивление изоляции обмоток, замеренное мегомметром, ниже нормы, то независимо от срока отгрузки электродвигателя с завода-изготовителя необходимо произвести сушку его обмоток со снятием вводного устройства для циркуляции воздуха.

9-6. После сушки должна быть проверена плотность прилегания сопрягаемых деталей взрывонепроницаемых оболочек. Зазор должен быть не более указанного в заводской инструкции по монтажу и эксплуатации электродвигателя. Если электродвигатель не удовлетворяет этим требованиям, то он не может быть использован как взрывозащищенный и подлежит замене. Типы, электрические характеристики и основные размеры взрывозащищенных электродвигателей серии ВАО и МА36 приведены в приложении 8.

9-7. Электродвигатели указанных серий могут применяться во взрывоопасных зонах всех классов.

9-8. На корпусах электродвигателей имеется табличка с маркировкой одного или следующих исполнений взрывозащиты: В1Г, В2Г, В3Г (В1Т4, В2Т4, В3Т4). Условные обозначения: В - взрывонепроницаемое исполнение; 1, 2, 3 - категория взрывоопасных смесей; Г (Т4) - группа взрывоопасной смеси. Примеры маркировки взрывозащищенного электрооборудования по ПИВРЭ приведены в приложении 13.

При выборе электродвигателя нужно следить, чтобы среда взрывоопасной зоны по категории и группе соответствовала или была менее опасной, чем категория и группа, указанные в маркировке.

9-9. Единая серия электродвигателей ВАО с маркировкой до В3Г (В3Т4) на напряжение 380/660 В и мощностью до 315 кВт имеет шесть типов вводных устройств К1 - К6.

9-10. Вводные устройства этих электродвигателей по своим размерам допускают непосредственный ввод бронированных кабелей с бумажной изоляцией, кабелей и проводов в трубах с изоляцией жил из резины и поливинилхлоридного пластиката.

9-11. Вводные устройства состоят из корпуса, крышки, кабельной и нажимной муфт. У электродвигателей до 3-го габарита кабельная муфта отсутствует.

9-12. Для уплотнения ввода проводов или кабелей вводные устройства укомплектованы резиновыми уплотнительными кольцами (рис. 58), расположенными в гнездах кабельной муфты вводного устройства, и прижимаются нажимными муфтами. При этом кольца могут быть:

с одним отверстием и кольцевыми надрезами - для уплотнения кабелей различных диаметров (рис. 58, а); на одной стороне кольца имеются выпуклые цифры, указывающие диаметры надрезов;

с четырьмя отверстиями - для уплотнения проводов (рис. 58, б);

с метками центров сверления четырех отверстий для проводов с одной стороны и одного отверстия для кабеля - с другой стороны (рис. 58, в). На рис. 58, г приведен вид сверху кольца для уплотнения проводов.

Рис. 58. Резиновые уплотнительные кольца.

9-13. Нажимные муфты (рис. 59 - 61) имеют трубные резьбы для присоединения водогазопроводных труб или другой соединительной арматуры (ниппели, футорки, сгоны). Размеры трубных резьб для каждого типа вводного устройства приведены в табл. 8 и на рис. 59 - 61.

Таблица 8

Размер трубной резьбы ввода по габаритам электродвигателей серии ВАО

Габариты электродвигателя

Тип вводного устройства

Размер трубной резьбы ввода, дюйм

0 - 1

К1

3/4

2 - 3

К1

1

4 - 6

К2

11/2

7 - 8

К3

2

9

К4

21/2

315

К5

2 ´ 2

355 - 450

К6

2 ´ 21/2

Рис. 59. Нажимная муфта вводного устройства К-1.

Рис. 60. Нажимная муфта вводных устройств К-2, К-3, К-5.

Рис. 61. Нажимная муфта вводных устройств К-4, К-6.

9-14. У электродвигателей серии ВАО 0 - 3-го габаритов и с 9-го по 315 - 450-й габарит вводное устройство расположено на правой стороне (рис. 62, 63, 65), если смотреть со стороны рабочего конца вала. Вводные устройства К5 и К6 электродвигателей ВАО 315 - 450 имеют два отверстия для ввода двух кабелей и отличаются лишь диаметрами вводных отверстий (табл. 8). Вводные устройства крепятся к фланцам электродвигателей четырьмя болтами и могут быть повернуты на 90°, т.е. могут быть установлены вводными отверстиями влево, вправо, вверх и вниз.

Рис. 62. Расположение вводного устройства электродвигателей серии ВАО 0 ¾ 3-го габаритов.

Рис. 63. Расположение вводного устройства электродвигателей серии ВАО 9-го габарита.

Рис. 64. Расположение вводного устройства электродвигателей серии ВАО 4 - 8-го габаритов.

9-15. У электродвигателей 4 - 8-го габаритов вводное устройство установлено сверху (рис. 64) и может быть также повернуто на фланце электродвигателя на 90°, что позволяет выполнять ввод питания с любой стороны, кроме рабочего конца вала электродвигателя. Для поворота вводного устройства необходимо отвернуть торцовым ключом четыре болта, крепящих корпус к фланцу электродвигателя.

Рис. 65. Расположение вводного устройства электродвигателей серии ВАО 315 - 450-го габаритов.

а – вид сбоку; б – со стороны вентилятора

При подводе питания сбоку электродвигателя ось вводного устройства должна быть расположено под углом 90° по отношению к оси электродвигателя, а кабельная муфта, имеющая косой разъем с корпусом вводного устройства (рис. 64, а), обращена вводным отверстием вниз под углом 45°, что достигается поворотом кабельной муфты на 180°. При подводе питания со стороны вентиляторов электродвигателя вводное устройство должно быть установлено вдоль оси электродвигателя, при этом кабельная муфта должна быть установлено в горизонтальное положение (рис. 61, б).

9-16. Для поворота вводных устройств электродвигателей всех габаритов необходимо отвернуть торцевым ключом четыре болта, крепящих вводное устройство к фланцу электродвигателя.

9-17. У электродвигателей 0 - 9-го габаритов внутри корпусов вводных устройств установлено по три силовых проходных контактных зажима и один заземляющий зажим (рис. 66, 67).

Рис. 66. Общий вид смонтированного вводного устройства (без крышки) электродвигателей ВАО до 3-го габарита.

1 - заземляющий зажим; 2 - силовой зажим; 3 - контактная колодка; 4 - корпус; 5 - уплотнительное кольцо; 6 - нажимная муфта.

Рис. 67. Общий вид смонтированного вводного устройства (без крышки) электродвигателей ВАО 4 - 9-го габаритов.

1 - заземляющий зажим; 2 - силовой зажим; 3 - корпус; 4 - кабельная муфта; 5 - уплотнительное кольцо; 6 - нажимная муфта.

9-18. У электродвигателей 315 - 450-го габаритов установлено шесть и два заземляющих зажима (рис. 68). Силовые зажимы соединены попарно контактными пластинами с отверстиями диаметром 10 мм, что позволяет присоединять к одной фазе по одной жиле каждого из двух вводимых кабелей. При этом контактные плоскости наконечников фазных жил одного кабеля должны быть повернуты на 180° по отношению к контактным плоскостям наконечников другого кабеля для присоединения наконечников одной фазы с двух сторон контактной пластины. Электродвигатели выпускаются на рабочее напряжение, указанное в заказе, и контактные пластины не предназначены для пересоединения обмоток со звезды на треугольник как перемычки.

Рис. 68. Общий вид смонтированного вводного устройства электродвигателей ВАО 315 - 450-го габаритов.

1 - заземляющий зажим; 2 - силовой зажим; 3 - контактная пластина; 4 - кабельная муфта; 5 - уплотнительное кольцо; 6 - нажимная муфта; 7 - упорная шайба; 8 - нажимная шайба.

9-19. Вводные устройства электродвигателей серии МА36 4 - 7-го габаритов расположены также с правой стороны электродвигателей и аналогичны соответственно вводным устройствам электродвигателей серии ВАО 9 и 315 - 450-го габаритов.

9-20. При вводе в электродвигатели серии ВАО 315 - 450-го габаритов и МА36 6-го габарита одного кабеля, достаточного по номинальному току электродвигателя, категорически запрещается вынимать из второго вводного отверстия заводскую заглушку, установленную в резиновое уплотнительное кольцо, во избежание нарушения взрывозащитных свойств вводного устройства.

9-21. Вводные устройства электродвигателей серии ВАО с маркировкой В4Г и В4Д с 0-го по 9-й габарит - стальные сварные, расположены сверху электродвигателей и могут быть повернуты на 90°. Для электродвигателей 0 - 5-го габаритов использован один тип вводного устройства (по типу К1). Для электродвигателей 6 - 9-го габаритов вводное устройство соответствует вводному устройству К3.

Размеры трубных резьб в нажимных муфтах вводных устройств для различных габаритов электродвигателей с маркировкой В4Г и В4Д приведены ниже:

Габариты

электродвигателя ….                    0 - 1     2 - 5     6 - 7     8 - 9

Размеры трубной

резьбы ввода, дюйм ….               3/4         1          2          21/2

9-22. Основные технические характеристики электродвигателей серии ВАО всех частот вращения для взрывоопасных средств четвертой категории и групп А, Б и Г (маркировка В4Г) и электродвигателей с частотой вращения 3000 об/мин для группы Д (маркировка В4Д) совпадают с техническими характеристиками электродвигателей серии ВАО основного исполнения (маркировка В3Г).

9-23. Мощности некоторых электродвигателей серии ВАО с маркировкой В4Д на 1000 и 750 об/мин снижены по сравнению с мощностями электродвигателей основного исполнения и соответствуют предыдущему меньшему габариту с маркировкой В4Г.

9-24. На проходных силовых зажимах электродвигателей серии ВАО 450 - 630-го габаритов на напряжение 6000 В установлены контактные переходные пластины с отверстиями диаметром 9 мм, которые используются для присоединения жил кабелей сечениями 25 и 35 мм2, оконцованных наконечниками с контактными отверстиями 8,5 мм.

Для присоединения однопроволочных жил сечением 16 мм2 и наконечников с отверстиями 12,5 мм (сечение жил кабелей 50 мм2 и более) контактные пластины должны быть сняты. Вводное устройство расположено вертикально и позволяет вводить кабели с бумажной изоляцией с выполнением заделки липкой поливинилхлоридной лентой или заливки битумной массой конца кабеля. Заливку кабельной массой следует выполнять только во взрывоопасных зонах класса В-1.

9-25. До ввода проводов и кабелей в электродвигатели необходимо выполнить следующие операции:

а) снять с корпуса вводного устройства нажимную муфту;

б) вынуть из гнезда кабельной муфты нажимную шайбу, резиновое уплотнительное кольцо и упорную шайбу (рис. 67, 68) (в вводных устройствах электродвигателей серии ВАО до 3-го габарита нажимная и упорная шайбы заводом могут не поставляться); вынуть из отверстия резинового кольца транспортную заглушку;

в) удалить надрезанные слои резинового кольца или просверлить в кольце отверстие по диаметру оболочки кабеля. Диаметр отверстия не должен превышать диаметр оболочки кабеля более чем на 1 - 1,5 мм (кольцо надевается на наружную оболочку кабелей марок ВБВ и АВБВ): при вводе проводов в резиновом кольце просверлить по меткам четыре отверстия диаметром, равным диаметру вводимого провода;

г) снять крышку, отвернув торцовым ключом болты, крепящие ее к корпусу вводного устройства.

9-26. После выполнения ввода и присоединения кабелей или проводов во вводных устройствах прилегающие взрывозащитные поверхности в соединениях корпус - крышка, корпус - фланец электродвигателя, корпус - кабельная муфта (у электродвигателей 4-го габарита ин выше) должны быть протерты и покрыты тонким слоем консистентной смазки, а после затягивания болтов до отказа проверены щупом зазоры по всему периметру прилегания. Смазка и величина зазоров должны выбираться в соответствии с заводской инструкцией по монтажу и эксплуатации.

9-27. При сборке вводного устройства следует обратить особое внимание на недопустимость нанесения повреждений (царапин, забоин и т.п.) на взрывозащитных поверхностях сопрягаемых деталей, на тщательность уплотнения ввода кабеля и состояние резиновых уплотнительных прокладок крышки и кабельной муфты, так как это связано с обеспечением взрывонепроницаемости вводного устройства.

Подвод и присоединение к электродвигателям кабелей, проложенных открыто

9-28. При подводе к электродвигателям кабелей марок ВБВ и АВБВ от основной трассы их следует прокладывать открыто на перфорированных лотках или монтажных профилях без дополнительной защиты от возможных механических воздействий (рис. 69) независимо от высоты прокладки. Если расстояние от нажимной муфты вводного устройства электродвигателя до места крепления кабеля на лотке не более 0,7 м, то дополнительных креплений кабеля не требуется, а при больших расстояниях необходима установка перфорированного лотка с прокладкой по нему кабеля.

Рис. 69. Подвод питания к двум рядом стоящим электродвигателям кабелей марки ВБВ (АВБВ).

1 - лоток перфорированный.

Варианты подвода кабелей марок ВБВ и АВБВ к электродвигателям приведены на рис. 70.

Рис. 70. Варианты подводов к электродвигателям кабелей марок ВБВ и АВБВ.

а - подвод сверху; б - подвод сверху по стене; в - подвод снизу сверх перекрытия; г - подвод к пускателю снизу и к электродвигателю; д - подвод кабеля в электродвигатель; 1 - конструкция кабельная; 2 - лоток перфорированный; 3 - электродвигатель; 4 - сальник ввертный; 5 - сальник трубный; 6 - кабель ВБВ (АВБВ); 7 - проходной отрезок трубы.

9-29. При подводе к электродвигателям открыто прокладываемых бронированных и небронированных кабелей других марок (с учетом класса взрывоопасной зоны) с поливинилхлоридной, резиновой и бумажной изоляцией (например, ВВБГ, ВРБГ, СБГ и т.п.) они должны быть защищены от возможных механических воздействий на высоте не ниже 2 м от пола или площадки обслуживания. Защита кабелей может осуществляться монтажными профилями, швеллерами, стальными коробами или водогазопроводными трубами. При защите трубами кабелей с бумажной изоляцией и небронированных кабелей с поливинилхлоридной и резиновой оболочкой рекомендуется трубы соединить на резьбе с нажимными муфтами вводных устройств электродвигателей.

9-30. При защите трубами бронированных кабелей допускается не вводить трубу во вводное устройство. Между вводным устройством и концом трубы или другими защитными ограждениями должен быть разрыв до 100 мм. Проводник заземления, припаянный к броне кабеля с резиновой или поливинилхлоридной оболочкой, должен быть заключен в поливинилхлоридную трубку и присоединен к наружному заземляющему зажиму на вводном устройстве электродвигателя.

9-31. Для ввода кабелей марок ВБВ и АВБВ необходимо выполнить следующие операции:

а) надеть на кабель нажимную муфту, нажимную шайбу, резиновое уплотнительное кольцо и упорную шайбу;

б) выполнить заделку кабеля (в соответствии с указаниями, приведенными в разд. 8 настоящей инструкции;

в) установить на ранее отмеченное место на оболочке кабеля резиновое уплотнительное кольцо;

г) ввести конец кабеля во вводное устройство до упора резинового кольца;

д) закрепить болтами нажимную муфту к корпусу вводного устройства и затягиванием болтов уплотнить место ввода кабеля резиновым кольцом;

е) присоединить нулевую жилу и проводник заземления к заземляющему зажиму внутри коробки, а жилы кабеля - к контактным зажимам;

ж) закрыть крышкой корпус вводного устройства и затянуть крепящие болты.

Ввод и присоединение кабеля марки ВБВ (АВБВ) во вводном устройстве электродвигателя приведены на рис. 71.

Рис. 71. Ввод и присоединение кабеля марки ВБВ (АВБВ) во вводном устройстве электродвигателя серии ВАО 4 - 8-го габаритов.

9-32. Для ввода открыто проложенных бронированных кабелей с бумажной изоляцией выполнить следующие операции:

а) припаять заземляющий проводник к броне и оболочке кабеля и снять броню с конца кабеля (см. разд. 8 настоящей Инструкции);

б) надеть на кабель нажимную муфту, нажимную шайбу, резиновое уплотнительное кольцо и упорную шайбу. При этом резиновое кольцо должно упираться в срез брони;

в) выполнить концевую заделку кабеля липкой поливинилхлоридной лентой в соответствии с указаниями разд. 8 настоящей Инструкции;

г) для круглых однопроволочных жил кабелей сечением до 16 мм2 (для присоединения без наконечников) должна соответствовать размерам, указанным в табл. 9 и на рис. 45, считая от первого кольцевого надреза на оболочке, а секторных однопроволочных и многопроволочных жил кабелей сечением от 25 до 150 мм2 (при оконцевании их наконечниками для опрессовки) должна соответствовать размерам, указанным в табл. 10;

Таблица 9

Длина круглых однопроволочных жил для присоединения к электродвигателям серии ВАО 0 - 9-го габаритов

Габарит электродвигателя

Сечение жил, мм2

Длина жил, присоединяемых к зажимам, мм

среднему

крайнему

нулевому

0 - 3

2,5

210

240

210

4 - 5

2,5 - 6

395

425

355

6

2,5 - 6

385

415

345

6

10

255

235

345

7 - 8

4 - 6

440

420

450

7 - 8

10 - 16

350

330

375

9

10 - 16

370

340

460

Таблица 10

Длина секторных жил для присоединения к электродвигателям серии ВАО 7 - 9-го габаритов

Сечение и тип жил

Жила сечением, мм

Жила крайняя, мм

Жила нулевая, мм

Наконечник

медный

медно-алюминиевый

алюми­ниевый

медный

медно-алюминиевый

алюми­ниевый

медный

медно-алюминиевый

алюми­ниевый

ВАО - 8-го габаритов

16

-

-

-

-

-

-

425

425

425

25 С, СО

235

225

230

200

190

195

380

370

375

35 С, СО

230

220

230

195

185

195

375

365

375

50 С, СО

215

210

215

280

175

180

-

-

-

70 С

215

205

210

218

170

175

-

-

-

70 СО

-

210

215

-

175

180

-

-

-

ВАО 9-го габарита

16

-

-

-

-

-

-

460

460

460

25 С, СО

305

295

300

270

260

265

395

385

390

35 С, СО

300

290

300

265

265

265

390

280

390

50 С, СО

285

280

285

260

254

250

375

370

375

70 С

285

275

280

250

240

254

375

365

370

70 СО

285

280

275

250

245

240

-

370

375

95 С, СО

280

265

275

245

230

240

-

-

-

120 С, СО

280

265

270

245

230

235

-

-

-

150

-

260

270

-

225

235

-

-

-

______________

1 Здесь и в табл. 11 цифры и буквы обозначают: цифра - сечение жилы, мм2; С - секторная многопроволочная жила; СО - секторная однопроволочная жила.

д) для электродвигателей серии ВАО 315 - 450-го габаритов и МА36 6-го и 7-го габаритов длина токоведущих (фазных) жил L выбирается в зависимости от сечения жил кабеля по табл. 11 и рис. 72, а нулевая (четвертая) жила для кабелей всех сечений принимается равной 480 мм;

Таблица 11

Длина секторных жил для присоединения к электродвигателям серии ВАО 315 - 450-го габаритов и МА36 6 - 7-го габаритов

Тип и сечение жил кабеля

Жила крайняя, L1, мм

Жила средняя, L2, мм

Жила крайняя, L3, мм

Наконечник

мед­ный

медно-алюми­ниевый

алюминие­вый

мед­ный

медно-алюми­ниевый

алюминие­вый

мед­ный

медно-алюми­ниевый

алюминие­вый

25 С, СО

280

270

275

270

260

265

260

250

255

35 С, СО

275

270

275

265

260

265

255

250

255

50 С, СО

265

255

270

255

245

260

245

235

250

70 С

260

250

255

250

240

245

240

230

235

70 СО

-

255

260

-

245

250

-

235

240

95 С, СО

255

245

250

245

235

240

235

225

230

120 С, СО

255

240

245

245

230

235

235

220

225

150 С

-

240

245

-

230

235

-

220

225

Рис. 72. Длина жил при подготовке кабелей к заделке для электродвигателей серии ВАО 316 - 460-го габаритов и серии МА36 6 - 7-го габаритов.

а - левый (нижний) ввод; б - правый (верхний) ввод.

е) ввести жилы кабеля и защемляющий проводник во вводное устройство, вставить в гнездо ввода до упора резиновое уплотнительное кольцо с упорной и нажимной шайбами и затягиванием болтов нажимной муфты уплотнить резиновым кольцом место ввода кабеля;

ж) присоединить нулевую жилу и проводник заземления брони и оболочки кабеля к заземляющему зажиму, а жилы кабеля к контактным зажимам и закрыть крышку вводного устройства.

Подвод и присоединение кабелей и проводов, проложенных в трубах

9-33. При подводе проводов и кабелей в трубах, выходящих из пола, трубы должны иметь привязку, указанную в проекте. После установки электродвигателей на место трубы должны быть доведены до вводного устройства и ввернуты до отказа на короткой резьбе в нажимную муфту. Защиту бронированных кабелей на участке между трубой, выходящей из пола, и вводным устройством электродвигателя допускается выполнять монтажным профилем или стальным коробом.

9-34. При замере трубы нажимная муфта должна быть притянута болтами до отказа к кабельной муфте (или корпусу вводного устройства электродвигателей до 3-го габарита). Затягивание болтов необходимо производить равномерно во избежание перекоса нажимной муфты и повреждения резьбы болтов.

9-35. Если диаметр вводной трубы меньше диаметра отверстия в нажимной муфте вводного устройства, в нажимную муфту необходимо ввернуть соответствующую переходную футорку.

9-36. При выходе труб из пола трубы должны иметь разъемные соединения (рис. 73 - 75) и, если нужно, в соответствии с разд. 7 настоящей Инструкции разделительное уплотнение. Если кабель затянут в трубу до установки электродвигателя, разъемное соединение не собирается.

Рис. 73. Подвод труб к электродвигателям серии ВАО.

а - подвод к электродвигателям 0 - 3-го габаритов; б - подвод к электродвигателям 9-го габарита; 1 - разъемное соединение трубы.

Рис. 74. Подвод трубы к электродвигателям 4 - 8-го габаритов.

а - подвод сбоку электродвигателя; б - подвод со стороны вентилятора электродвигателя; 1 - разъемное соединение трубы.

Рис. 75. Подвод труб к электродвигателям серии ВАО 315 - 450-го габаритов.

а - подвод сбоку; б - подвод со стороны вентилятора; 1 - разъемное соединение трубы.

9-37. При подводе труб к электродвигателям серии ВАО 315 - 450-го габаритов особое внимание следует обратить на привязку труб к осям фундамента электродвигателя. Привязка труб к оси фундамента электродвигателей серии ВАО 315 - 450-го габаритов при горизонтальном и вертикальном расположении вводного устройства приведена на рис. 76 и 77, а привязка трубы при подводе к высоковольтным двигателям серии ВАО 450 - 630-го габаритов приведена на рис. 78.

Рис. 76. Привязка труб от оси фундамента при горизонтальном расположении вводного устройства электродвигателей серии ВАО 315 - 450-го габаритов.

Габарит электродвигателя

Размер, мм

a

b

c

315

680

755

130

355

730

810

137

450

795

875

137

Рис. 77. Привязка труб к фундаменту при вертикальном расположении вводного устройства электродвигателей серии ВАО 315 - 450-го габаритов.

Габарит электродвигателя

Размеры, мм

a

b

c

h

315

92

130

880

175

355

150

137

935

238

450

150

137

1000

360

Рис. 78. Размеры привязок вводных устройств и присоединение трубопровода к вводным устройствам высоковольтных электродвигателей ВАО 450 - 630-го габаритов.

Габарит электродвигателя

Размеры, мм

A

b

h

450

310

865

140

500

310

945

210

560

310

995

290

630

310

1070

375

9-38. При вводе кабелей с бумажной изоляцией в трубе, выходящей из пола, после снятия брони и припайки заземляющего проводника (перед выполнением заделки) на кабель должен быть надет участок трубы (между вводным устройством и трубой, выходящей из пола).

9-39. Если подвод питания к электродвигателям осуществляется проводами, необходимо выполнить следующие операции:

а) разобрать разъемное соединение трубопровода ввода в электродвигатель и затянуть провода в трубопровод до разъемного соединения, марка и сечение которых должны соответствовать указаниям в проекте;

б) снять с вводного устройства нажимную муфту с ввернутым в нее участком водогазопроводной трубы и вынуть нажимную и упорную шайбы и резиновое уплотнительное кольцо;

в) просверлить в кольце по меткам для проводов четыре отверстия диаметром, равным диаметру проводов;

г) затянуть провода в участок водогазопроводной трубы с навернутой на него нажимной муфтой и, придерживая концы проводов, довести участок трубы до основного трубопровода;

д) надеть на провода нажимную шайбу с четырьмя отверстиями, резиновое кольцо и упорную шайбу. Каждый провод должен проходить через отдельные отверстия в шайбах и резиновом кольце;

е) ввести провода во вводное устройство через вводное отверстие и вставить в гнездо кабельной муфты упорную шайбу, резиновое кольцо и нажимную шайбу. Втягиванием проводов во вводное устройство подвести к кабельной муфте участок водогазопроводной трубы с навернутой на него нажимной муфтой.

При установке в гнездо кабельной муфты, нажимной и упорной шайб и резинового уплотнительного кольца необходимо следить, чтобы отверстия в шайбах совпадали с отверстиями в резиновом кольце. Перед продеванием проводов в отверстия шайб и резинового кольца шайбы рекомендуется предварительно приклеить к резиновому кольцу клеем № 88.

9-40. К электродвигателям, установленным на основаниях, подверженных вибрации, подвод следует выполнять:

а) во взрывоопасных зонах всех классов - гибкими переносными кабелями с резиновой изоляцией (от пусковых аппаратов, установленных как у электродвигателя, так и в электропомещениях) без дополнительной защиты от механических повреждений. Марки кабелей по классам взрывоопасных зон приведены в приложении 2;

б) во взрывоопасных зонах классов В-I, В-Iа и В-II - гибкими проводами в водогазопроводных трубах с переходом на герметичные металлорукава типа РI-Ц-А и РII-Ц-А (табл. 12);

Таблица 12

Рукава гибкие металлические герметичные с подвижным швом1 по ГОСТ 3575-47

Диаметр, мм

R*, мм, не менее

Масса 1 м рукава, кг

условного прохода

внутренний, не менее

наружный, не более

20

19,0

28

350

1,2

25

23,5

33

425

1,5

38

36,0

46

650

2,4

50

48,0

62

800

4,0

75

72,0

87

1200

5,5

1 По условиям заказа герметичные металлорукава могут поставляться мерными отрезками определенной длины. Нормальные длины 1; 1,5; 4; 6; 8; 10; 12 и 15 м. Рукава выпускаются с соединительной арматурой на концах (наконечником и штуцером с накидной гайкой) или без арматуры., если таковая не оговорена в заказе.

*R - радиус внутренней окружности при изгибе рукава в кольцо или по дуге.

в) во взрывоопасных зонах остальных классов - гибкими проводами в водогазопроводных трубах с переходом на резиновые напорные рукава (табл. 13) при условии их соответствия окружающей среде (пары бензина, бензола и т.п.).

Таблица 13

Рукава резиновые напорные с текстильным каркасом по ГОСТ 18698-73

Диаметр, мм

Диаметр, мм

условного прохода трубы

наружный

внутренний резинотканевых рукавов

условного прохода трубы

наружный

внутренний резинотканевых рукавов

20

50

25

70

40

 

80

Примечания: 1. В числителе указан диаметр для трубы, в знаменателе - для муфты.

2. Типы резиновых рукавов должны выбираться по условиям среды, например рукава типа В предназначаются для среды с парами или брызгами воды и растворов неорганических кислот и щелочей с концентрацией до 20 %; рукава типа Б - для среды с парами или брызгами бензина, керосина, нефти и масла; рукава типа Ш - для среды с парами или брызгами слабощелочных или слабокислотных растворов. Пример условного обозначения бензостойких рукавов с внутренним диаметром 25 мм: Рукав Б - 25 Æ ГОСТ 18698-73.

Соединение герметичных металлорукавов с электродвигателями и аппаратами осуществляется ввертыванием в отверстие вводного устройства штуцера, а на трубу - накидной гайки металлорукава.

Соединение резиновых напорных рукавов производится с помощью патрубка из водогазопроводной трубы соответствующего диаметра (рис. 79).

Рис. 79. Соединение резинового напорного рукава с водогазопроводной трубой или с муфтой на трубе.

1 - труба водогазопроводная; 2 - резиновый напорный рукав; 3 - прокладка стальная; 4 - муфта по ГОСТ 8966-59; 5 - хомут стальной толщиной 2 мм; 6 - болт М8´35.

9-41. Применение негерметичных металлорукавов (например, Р3-Ц-Х) во взрывоопасных зонах всех классов не допускается.

Особенности монтажа электродвигателей, продуваемых под избыточным давлением

9-42. При установке взрывозащищенных электродвигателей, продуваемых под избыточным давлением, отдельные секции воздуховодов должны соединяться сварным швом или же иным способом, гарантирующим плотность и прочность их соединения.

9-43. Присоединения кабеля к контактным зажимам электродвигателей должно выполняться во вводных устройствах, обеспечивающих уплотнение ввода кабеля по оболочке.

9-44. У электродвигателей большой мощности (например, типа СТМII-9000-2), имеющих для подвода кабелей фундаментную яму, подсоединение жил кабелей, оконцованных наконечниками, должно выполняться непосредственно к шинам выводов статорных обмоток. При этом болтовые соединения должны иметь приспособления, исключающие самоотвинчивание.

9-45. Место ввода кабелей в фундаментные ямы должно быть уплотнено одним из способов, соответствующих классу взрывоопасной зоны, где установлен электродвигатель.

9-46. Схема защиты должна выполняться так, чтобы при падении избыточного давления электродвигателя ниже 0,1 кПа (10 мм вод. ст.) электродвигатель отключался от сети или включался сигнал (в зависимости от уровня взрывозащиты).

9-47. В схемах управления электродвигателями должны быть предусмотрены блокировки:

а) исключающая пуск электродвигателя без предварительной продувки его чистым воздухом в объеме, равном пятикратному объему корпуса электродвигателя и воздуховодов, для чего должны быть предусмотрены продувочные клапаны;

б) отключающая электродвигатель или включающая сигнализацию (в зависимости от класса взрывоопасных зон) в случае падения избыточного давления ниже 0,1 кПа (10 мм. вод. ст.).

9-48. Избыточное давление должно непрерывно контролироваться сигнализаторами падения давления (например, СПДМ в нормальном исполнении с пределами измерения 0,2 - 1 кПа (20 - 100 мм вод. ст.). Сигнализаторы должны устанавливаться вне взрывоопасного помещения.

10. МОНТАЖ ВЗРЫВОЗАЩИЩЕННЫХ АППАРАТОВ

Общие указания

10-1. Взрывозащищенные аппараты должны устанавливаться во взрывоопасных зонах на стойках К310М или монтажных профилях К108 или К239.

Аппараты к монтажным профилям К108 рекомендуется крепить болтами с закладными гайками.

При установке аппаратов во взрывоопасных зонах класса В-1г они должны быть защищены от воздействия атмосферных осадков.

10-2. Стойки устанавливают на полу и закрепляют анкерными болтами, а монтажные профили закрепляют на стенах капроновыми дюбелями или дюбелями с распорной гайкой; к металлическим основаниям стойки и монтажные профили приваривают.

10-3. На место монтажа аппараты должны поставляться из мастерской электромонтажных заготовок закрепленными на конструкциях (стойках, монтажных профилях).

10-4. Взрывозащищенные аппараты допускают ввод, как кабелей, так и проводов в водогазопроводных трубах.

10-5. При выборе кабеля марки ВБВ (АВБВ) для ввода во взрывозащищенные аппараты следует учитывать максимально допустимый диаметр кабеля, который можно ввести в резиновое уплотнительное кольцо вводного устройства. Наружные диаметры кабелей марок ВБВ и АВБВ по сечениям и жильности, а также диаметры вводных отверстий взрывозащищенных аппаратов приведены в табл. 14.

Таблица 14

Максимально допустимые диаметры кабелей марок ВБВ и АВБВ для ввода во взрывозащищенные аппараты

Электроаппаратура

Диаметр отверстия в сальнике или нажимной муфте, мм

Максимально допустимый наружный диаметр подводимого кабеля, мм

Сечение кабелей, мм2

ПМ-712-25

25

22,0

4´6

ПМ-722-25

ПМ-712-100

40

38,8

3´35+1´16

ПМ-722-100

ПМ-711А-250

70

56,4

3´120+1´70

ПМ-721А-250

КУ-91-В3Г

25

22,0

4´6

КУ-92-В3Г

КУ-93-В3Г

КУВ-1

28

27,6

4´10

КУВ-2

КУВ-3

КУВ-11

КУВ-12

КУВ-13

КУ-700/2

15

-

-

КУ-700/3

КВ-700

10-6. При подводе к аппаратам открыто проложенных кабелей марок ВБВ (АВБВ) защита их от механических воздействий не требуется независимо от высоты прокладки.

10-7. Кабели других марок, допускаемых к применению во взрывоопасных зонах, как бронированные, так и небронированные, должны быть защищены от возможных механических воздействий на высоте не ниже 2 м от пола или площадки обслуживания аппаратов. Защита может быть осуществлена монтажными профилями, металлическими коробами, швеллерами, трубами и т.п. Допускается разрыв между вводом в аппарат и защитными ограждениями кабеля не более 100 мм.

10-8. При вводе в аппараты кабелей марок ВБВ (АВБВ) кабели должны быть уплотнены по наружной оболочке. Исключение составляют вводные устройства постов управления КУ-700 и конечных выключателей ВК-700, у которых диаметр вводного отверстия меньше диаметра наружной оболочки кабеля.

Во вводные устройства: КУ-700 и ВК-700 следует ввернуть двойной ниппель или стандартный сгон и сальник У57, а резиновое уплотнительное кольцо сальника надеть на внутреннюю оболочку кабеля; заземляющий проводник брони кабеля подключается к болту заземления снаружи поста управления или конечного выключателя. На заземляющий проводник предварительно следует надеть трубку из поливинилхлоридного пластиката. Броня кабелей других марок с поливинилхлоридной или резиновой оболочкой заземляется аналогичным способом.

Монтаж магнитных пускателей ПМ-702-25, ПМ-702-100 и ПМ-701А-250 в исполнении НМБ и НМГ

10-9. Магнитные пускатели серий ПМ-702 и ПМ-701А (приложение 9) устанавливают во взрывоопасных зонах всех классов, кроме зон класса В-I, В-II, на стойках или стенах, не подверженных вибрации или сотрясениям, в строго вертикальном положении.

10-10. На передней стенке бачка пускателя нанесена маркировка взрывозащиты НМБ или НМГ. В пускателях с маркировкой НМБ установлена тепловая защита, а в пускателях НМГ защита отсутствует.

10-11. Вводные устройства пускателей на номинальные токи 100 и 250 А имеют кабельные муфты, предназначенные для размещения в них заделок кабелей с бумажной изоляцией. В эти пускатели кабели с бумажной изоляцией следует вводить только снизу, а кабели с резиновой или поливинилхлоридной изоляцией, а также провода - как сверху, так и снизу.

10-12. Пускатели имеют сверху и снизу по два вводных отверстия, укомплектованных резиновыми кольцами: одно - для уплотнения кабеля, другое - для уплотнения четырех проводов. Верхние отверстия с уложенными в гнезда резиновыми кольцами закрыты штампованными стальными заглушками, а нижние вводы комплектуются нажимными муфтами с трубной резьбой (аналогично вводам в электродвигатели). Размеры трубных вводов пускателей приведены в приложении 9 (табл. П9-1).

10-13. При вводе кабеля в пускатель сверху нажимную муфту нижнего ввода следует поменять местом с заглушкой верхнего ввода. Технология заделок концов кабелей приведена в разд. 8 настоящей Инструкции.

10-14. Пускатели серии ПМ-702 и ПМ-701А допускают ввод проводов цепей управления в трубах или кабелей через два боковых отверстия, снабженные ввертными сальниками с проходными отверстиями 20 мм.

10-15. Перед монтажом пускателя производят его внешний осмотр и ревизию со вскрытием, для чего необходимо:

а) проверить соответствие типа пускателя проекту;

б) распаковать пускатель, очистить его от пыли и консервирующей смазки;

в) вскрыть и промыть бензином все части и бак для масла, протереть чистыми тряпками, не оставляющими волокон, и просушить;

г) проверить свободное перемещение подвижной системы, а также ключей местного управления, установленных на корпусе магнитных пускателей, удалить грязь с поверхностей соприкосновения якоря, включающего электромагнит, и проверить исправность короткозамкнутого витка на нем;

д) проверить состояние поверхности главных и блокировочных контактов. В случае неровностей необходимо зачистить контакты личным напильником (зачистка наждачной или стеклянной бумагой не допускается). При зачистке контактов необходимо предохранять бак от попадания в него металлических опилок;

е) проверить контакты во включенном положении. Главные контакты должны иметь линейное касание без просвета по всей ширине; добиваться плоскостного касания контактов не следует. Нажатие главных контактов определяется по показанию динамометра, когда при оттягивании им подвижного контакта в образовавшийся зазор может свободно проходить тонкая бумажная полоса (рис. 80, а).

Рис. 80. Проверка главных контактов и зазоров магнитной системы пускателей серии ПМ-702.

а - проверка нажатия главных контактов с помощью динамометра и бумажной полоски; б - проверка контролируемых зазоров; 1 - неподвижный контакт; 2 - подвижный контакт в отключенном положении; 3 - провал подвижного контакта после включения; 4 - магнитная система.

Контрольные значения величин нажатий, провалов при включенном положении и зазоров при отключенном положении главных контактов, а также зазоров магнитной системы пускателей серии ПМ-702 должны соответствовать данным табл. 15 (рис. 80,б);

Таблица 15

Величина нажатий, провалов и зазоров контактов пускателей серии ПМ-702 и ПМ-701А

Номинальный ток, А

Контролируемые величины

Нажатие главных контактов, Н

Зазор А магнитной системы при отключенном положении, мм

Зазор Б главных контактов при отключенном положении, мм

Провал В подвижного контакта после включения, мм

25

5 - 7

10,5 - 11,5

6 - 7

3,5 - 4,5

100

15 - 19

16 - 17

10 - 12

3 - 5

250

22,5 - 27,5

17 - 18

14 - 15

3,5 - 4,5

ж) проверить плотность затяжки всех винтовых (в том числе и контактных) соединений и подтянуть их, проверив также целость пружинных и стопорных шайб, препятствующих самоотвинчиванию;

з) проверить и отрегулировать работу механизма свободного расцепления (воздействие максимально-тепловых расцепителей).

Отключение должно происходить безотказно, без каких-либо заклиниваний, затираний и задержек;

и) проверить наличие и исправность уплотняющей прокладки на крышке коробки контактных зажимов и в масляном баке.

10-16. При подводе кабелей марок ВБВ (АВБВ) к пускателям, установленным на стойках К310М (рис. 81) или конструкциях на стене, питающий кабель прокладывают на перфорированном лотке, а ввод в пускатель рекомендуется осуществлять сверху, при этом расстояние между последней скобой крепления и нажимной муфтой ввода в пускатель должно быть не более 350 мм.

Рис. 81. Подвод кабелей марки ВБВ (АВБВ) пускателю серии ПМ-702, установленному на стойках.

Отрезок кабеля от пускателя к двигателю крепится скобой к перфорированной рейке с закладными гайками, установленной между стойками, при этом расстояние от нажимной муфты пускателя до скобы закрепления должно быть не более 350 мм.

10-17. После ввода кабелей в пускатель фазные жилы кабелей следует подсоединить к контактным зажимам. Нулевые жилы, а также проводники заземления брони кабелей подсоединить к заземляющим зажимам, расположенным внутри пускателя.

10-18. Закрыть крышку пускателя и затянуть крепящие болты.

10-19. Бак пускателя залить чистым сухим трансформаторным маслом до отметки на передней стенке, поднять его и закрепить к корпусу пускателя.

Монтаж постов управления серии КУ-700, конечных выключателей серии ВК-700 в маслонаполненном исполнении

10-20. Посты управления серии КУ-700 и конечные выключатели серии ВК-700 с маркировкой взрывозащиты МОД устанавливают во взрывоопасных зонах всех классов с взрывоопасными средами всех категорий и групп в вертикальном положении.

10-21. Пред монтажом постов управления и конечных выключателей необходимо произвести их внешний осмотр и ревизию со вскрытием и устранить обнаруженные неисправности.

Все части, погружаемые в масло, необходимо промыть чистым бензином и просушить.

10-22. Вводные устройства постов управления конечных выключателей допускают как ввод кабелей, так и проводов.

10-23. Посты управления серии КУ-700 и конечные выключатели серии ВК-700 имеют вводы как сверху, так и снизу с трубной резьбой 3/4². Верхний ввод закрыт резьбовой пластмассовой заглушкой, а нижний ввод укомплектован резиновым уплотнительным кольцом и пластмассовой сальниковой гайкой.

10-24. При вводе открыто проложенного кабеля пробку верхнего ввода следует поменять местами с уплотнительным кольцом и сальниковой гайкой нижнего ввода.

10-25. Провода вводят в посты управления и конечные выключатели в трубах. Соединение постов управления и конечных выключателей с трубой должно выполняться посредством стандартного сгона, ввернутого на короткой резьбе во вводное отверстие. Сгон с трубопроводом соединяют муфтой с контргайкой (рис. 82).

Рис. 82. Ввод трубопровода в пост управления КУ-700.

1 - стандартный сгон; 2 - муфта с контргайкой.

10-26. Затягивание проводов допускается выполнять без снятия аппарата. При вводе трубы снизу для затягивания проводов необходимо отвернуть резьбовую пробку верхнего ввода и снять бачок для масла.

10-27. Резиновая изоляция проводов или жил кабеля на участке погружении в масло и выше уровня масла на 40 - 50 мм должна быть удалена. На оголенные участки жил однопроволочных проводов с заходом на изоляцию следует надеть изоляционные трубки с маслостойкой изоляцией, например из поливинилхлоридного пластиката или лакоткани.

10-28. Бачки постов управления и конечных выключателей заливают трансформаторным маслом до уровня, указанного на аппаратах.

10-29. Габаритные размеры и электрические характеристики постов управления и конечных выключателей даны в приложении 10.

Монтаж постов управления серии КУ-90 и КУВ

10-30. Посты управления могут устанавливаться во взрывоопасных зонах всех классов. Посты управления серии КУ-90 с маркировкой взрывозащиты В3Г предназначены для работы во взрывоопасных средах до третьей категории и группы Г включительно, а посты управления серии КУВ с маркировкой взрывозащиты В1А (РВ) - для первой категории и группы А (применять не рекомендуется).

10-31. Вводные отверстия постов управления серии КУ-90 и КУВ расположены снизу и укомплектованы резиновыми кольцами для уплотнения оболочки кабеля, стальной шайбой и нажимной гайкой. У постов управления серии КУВ нажимная гайка имеет раструб и скобу для закрепления кабеля. Посты управления серии КУ-90 могут комплектоваться вместо нажимной гайки стальным ниппелем с наружной трубной резьбой 1" для соединения с трубой при вводе в посты проводов. Это должно быть указано при заказе заводу-изготовителю.

10-32. Для ввода кабеля в посты управления снимают крышку и отвертывают нажимную гайку. Из гнезда ввода вынимают стальную шайбу и резиновое уплотнительное кольцо. Надевают на кабель нажимную гайку и стальную шайбу, а на оболочку кабеля - резиновое кольцо.

10-33. Заделанный конец кабеля вводят во вводное отверстие и уплотняют по оболочке ввертыванием сальниковой гайки до отказа.

10-34. При вводе кабелей марок ВБВ (АВБВ) и кабелей с поливинилхлоридной оболочкой в посты управления серии КУ-90 на вводном конце кабеля заземляющий проводник к броне не припаивается. У кабелей марок ВБВ (АВБВ) ленты брони отрезают и снимают заподлицо с наружной шланговой поливинилхлоридной оболочкой. Заземление брони кабелей производится в этом случае только со стороны пусковой аппаратуры в электротехническом помещении.

10-35. При вводе кабелей в посты управления серии КУВ нулевую (заземляющую) жилу и проводник заземления кабелей марки ВБВ (АВБВ) присоединяют к внутреннему винту заземления, а заземляющий проводник брони кабелей других марок с поливинилхлоридной или резиновой оболочкой - к винту заземления, расположенному на корпусе поста снаружи. При этом до подсоединения заземляющего проводника на него следует надеть трубку из поливинилхлоридного пластиката.

10-36. Для ввода проводов в трубе в посты управления серии КУВ на трубу навертывают коробку разделительного уплотнения, которую соединяют с постом посредством стандартного сгона с нажимной гайкой поста на длинной резьбе (рис. 83). В случае управления электродвигателем с двух мест подводится две трубы.

Рис. 83. Ввод проводов в водогазопроводных трубах в пост управления серии КУВ.

1 - вводное устройство; 2 - переходная муфта; 3 - контргайка; 4 - стандартный сгон; 5 - коробка разделительного уплотнения; А - изготовление переходной футорки из нажимной гайки.

10-37. Установленную на корпус поста крышку закрепляют болтами. У постов управления следует проверить щупом зазор между крышкой и корпусом поста по всему периметру. Зазор должен быть не более указанного в заводской инструкции по монтажу и эксплуатации поста управления.

10-38. Габаритные размеры и электрические характеристики постов управления серии КУ-90 и КУВ приведены в приложении 9.

11. МОНТАЖ ВЗРЫВОЗАЩИЩЕННЫХ СВЕТИЛЬНИКОВ

Общие указания

11-1. Параметры и назначение выпускаемых в настоящее время взрывозащищенных светильников приведены в приложении 10.

11-2. Светильники рекомендуется устанавливать одновременно с прокладкой питающей сети.

11-3. Монтажу не подлежат светильники, у которых имеются трещины на стеклянных защитных колпаках, в литых корпусах или сальниковых гайках вводных устройств, неисправны патроны, имеются раковины или углубления на сопрягаемых поверхностях (в результате коррозии).

11-4. На каждую полную (25 шт.) и неполную партию светильников прилагаются два ключа (комплект).

Монтаж светильников при открытой прокладке кабелей

11-5. Светильники вместе с подвесами, кронштейнами, трубами или другими крепежными конструкциями закрепляют неподвижно на поддерживающих опорах, устанавливаемых на строительных элементах здания (фермы, балки и т.п.). Применение кронштейнов У114, К276, К277 для установки взрывозащищенных светильников не допускается.

11-6. К светильникам Н4БН-150, В3Г-200АМ, В3Г/В4А-200М, В3Г-100, В4А-60, ПОДЛ 1´40, НОГЛ 1´80 и другим, у которых вводное устройство отделено от патрона светильника, присоединение к зажимам вводной коробки производится непосредственно кабелем, которым выполняется групповая сеть.

11-7. У светильников Н4БН-150 (рис. 84), В3Г-200АМ (рис. 85), В3Г/В4А-200М (рис. 86) вводное устройство расположено в верхней части корпуса. Монтажное пространство имеет крышку с резьбой и отделено от нижней части светильника.

Рис. 84. Светильник Н4БН-150 с вертикальным вводом кабеля.

Рис. 85. Светильник В3Г-200АМ.

1 - нажимная муфта; 2 - резиновое уплотнительное кольцо; 3 - крышка вводного устройства; 4 - заземляющий зажим; 5 - контактная колодка; 6 - провод марки ПРКС.

Рис. 86. Светильник В3Г/В4А-200М.

1 - 6 - см. на рис. 85.

Ввод в светильники осуществляется как небронированным трехжильным кабелем (рис. 87), прокладываемым открыто, так и тремя проводами в водогазопроводных трубах тех же мирок, которые применяют в групповых сетях. Применение термостойких проводов марки ПРКС по ТУ 16.505.317-72 для этих светильников не требуется. При открытой прокладке кабеля светильники закрепляют на подвесе или кронштейне двумя болтами М6, расположенными сбоку корпуса светильника на расстоянии 34 мм друг от друга.

Рис. 87. Ввод кабеля в светильник Н4БН-150.

1 - болт крепления светильника; 2 - жилы кабеля; 3 - резиновое кольцо; 4 - монтажный профиль.

Для уплотнения кабеля, прокладываемого открыто, или проводов в трубах светильник комплектуют двумя резиновыми уплотнительными кольцами диаметром 40 мм:

а) с одним отверстием для кабеля с минимальным наружным диаметром 10 мм и кольцевыми надрезами 3 для кабелей диаметром 12 - 16 мм (рис. 87);

б) с тремя отверстиями 2 для проводов с наружным диаметром 3,5 - 5,5 мм (рис. 84).

Внутри вводного устройства расположена контактная изоляционная колодка с двумя винтами для подключения питающих алюминиевых или медных проводников (жил кабеля или проводов). К колодке от контактов патрона светильника подключены термостойкие провода 6 марки ПРКС.

11-8. Монтаж светильников при открытой прокладке кабеля рекомендуется выполнять в МЭЗ в следующей последовательности:

а) отрезать кусок кабеля, соответствующий длине участка от светильника до осветительной коробки, плюс 400 мм на разделку концов кабеля;

б) отвернуть ключом два болта, крепящих нажимную муфту 1 (рис. 84 - 86), снять ее и вынуть из гнезда ввода резиновое кольцо 2;

в) снять оболочку с одного конца кабеля на длину 130 мм. Одну жилу отмерить длиной 100 мм, считая от оболочки и остаток отрезать. Снять изоляцию с концов двух длинных жил на длину 15 мм и с укороченной жилы на 20 мм. Изогнуть концы жил в кольцо у длинных жил под винт М5, а у короткой - под винт М6;

г) вывернуть ключом крышку 3 из монтажного отверстия вводного устройства светильников, у светильника Н4БН-150 отвернуть два винта 12 (рис. 84) крепления контактной колодки и вынуть ее;

д) надеть на оболочку конца кабеля нажимную муфту (вперед фланцем) и резиновое кольцо, продвинув его по кабелю на расстояние 140 мм от конца. Для надежного уплотнения кабеля диаметр отверстия в резиновом кольце не должен превышать диаметр вводимого кабеля более чем на 1 мм;

е) ввести во вводное отверстие светильника разделанный конец кабеля и вывести концы жил через монтажное отверстие;

ж) вставить резиновое кольцо и нажимную муфту в гнездо ввода в светильник и равномерным затягиванием двух болтов до отказа уплотнить место ввода кабеля;

з) подсоединить короткую жилу (длиной 100 мм) к заземляющему зажиму 4 и уложить запас жилы внутри вводного устройства, подсоединить длинные жилы (длиной 130 мм): фазную к левому, а нулевую - к правому зажимам контактной колодки 5. У светильника Н4БН-150 ввести контактную колодку через монтажное отверстие, уложить запас жил и закрепить колодку двумя винтами;

и) снять оболочку с другого конца кабеля, прозвонить и промаркировать жилы;

к) завернуть ключом крышку монтажного отверстия до упора. При установке светильника в сыром помещении или снаружи место выхода кабеля из нажимной муфты заполнить уплотнительным составом УС-65;

л) для ввертывания и проверки лампы светильника Н4БН-150 повернуть отражатель 11 против часовой стрелки и снять его; отвернуть четыре невыпадающих болта 7, повернуть против часовой стрелки до упора кольцо 8, опустить его вместе со стеклянным колпаком 9 и защитной сеткой 10 вниз, насколько позволит цепочка 13; ввертывание лампы в светильники В3Г-200АМ и В3Г/В4А-200М выполняется аналогично ввертыванию ламп в светильники В3Г-200А и ВЗГ/В4А-200.

Сборку светильников осуществляют в обратной последовательности.

Монтаж светильников и ввертывание ламп следует производить при отсутствии напряжения в сети;

м) на месте монтажа заряженный светильник закрепить на ранее установленный подвес или кронштейн двумя болтами 1 (рис. 87), проложить и закрепить кабель по монтажному профилю 4 до ответвительной коробки;

н) выполнить ввод кабеля в ответвительную коробку У409, соединить и изолировать жилы четырьмя слоями липкой поливинилхлоридной ленты толщиной 0,2 мм.

11-9. При подключении проложенного кабеля к светильникам В3Г-100 (рис. 88) и В4А-60 необходимо выполнить следующие операции:

Рис. 88. Взрывозащищенный светильник В3Г-100.

1 - корпус; 2 - крышка вводного устройства; 3 - контактные зажимы; 4 - контакт заземления; 5 - кольцо; 6 - прокладка; 7 - стеклянный колпак; 8 - сетка; 9 - лапы крепления светильника; 10 - патрон.

а) закрепить светильник на подготовленном основании. Эти светильники следует устанавливать на специальной скобе, приведенной в действующем типовом проекте, или непосредственно на основании с закреплением дюбелями;

б) открыть крышку вводного устройства, вывернуть патрубок, вынуть нажимную шайбу и резиновое уплотнительное кольцо;

в) отмерить длину конца кабеля для присоединения жил к контактным зажимам и создания запаса на два-три пересоединения и отрезать излишек;

г) снять с конца кабеля оболочку на таком расстоянии, чтобы она входила внутрь вводной коробки светильника на 10 - 15 мм; снять изоляцию с концов медных жил на длину 12 - 15 мм, а с алюминиевых жил - на длину 25 - 30 мм, достаточную для изгибания кольца. Надеть на оболочку кабеля патрубок, нажимную шайбу и резиновое уплотнительное кольцо;

д) резиновую изоляцию жил кабеля обмотать одним слоем липкой поливинилхлоридной ленты с перекрытием предыдущего витка и с заходом на оболочку кабеля;

е) ввести кабель в светильник, установить резиновое кольцо и нажимную шайбу в гнездо и, ввертывая патрубок, уплотнить кабель;

ж) промаркировать жилы кабеля и подключить их к контактным зажимам. В случае ввода в светильник одного кабеля второй ввод должен быть надежно уплотнен заводской заглушкой и резиновым кольцом;

з) установить крышку вводного устройства на место и закрепить пить ее; проверить щупом зазор между крышкой и коробкой. Зазор не должен превышать величины, указанной в заводской инструкции;

и) вывернуть стопорный винт и специальным ключом (рис. 89) вывернуть крепящие болты, затем специальным ключом (рис. 90) вывернуть кольцо с колпаком, ввернуть исправную лампу и собрать светильник.

Рис. 89. Ключ для стяжных болтов и светильников ВЗГ-100 и В4А-60

Рис. 90. Ключ для снятия кольца с колпаком и сеткой у светильников ВЗГ-100 и В4А-60.

Подключение кабелей в вводных устройствах светильников типов ВЗГ-100 и В4А-60, проходящих шлейфом в следующий светильник, как показано на рис. 91.

Рис. 91. Подключение кабелей в вводных устройствах светильников ВЗГ-100 и В4А-60. (Приведен вариант подсоединения кабеля, проходящего шлейфом в следующий светильник.)

11-10. Ввод кабеля в светильник НОДЛ 1´40, НОГЛ 1´80 и НОГЛ 2´80 (рис. 92) выполняется в следующей последовательности:

Рис. 92. Светильник повышенной надежности против взрыва НОГЛ-80.

1 - крышка вводной коробки светильника; 2 - резиновая уплотнительная прокладка; 3 - нажимная муфта; 4 - шайба стальная.

а) открыть крышку вводного устройства светильников 1, снять нажимный фланец 3, вынуть стальную шайбу 4 и резиновое уплотнительное кольцо 2 из гнезда;

б) отмерить длину кабеля, необходимую для присоединения к контактным зажимам внутри вводного устройства и создания запаса на два-три пересоединения, и отрезать излишек;

в) снять с конца кабеля оболочку на таком расстоянии, чтобы оболочка входила внутрь вводного устройства на 10 - 12 мм, снять изоляцию с концов жил на длину 25 - 30 мм, достаточную для изгибания кольца;

г) надеть на оболочку кабеля нажимную муфту, стальную нажимную шайбу и резиновое уплотнительное кольцо;

д) ввести кабель в светильник, установить резиновое уплотнительное кольцо и стальную шайбу во вводное отверстие. Закрепить двумя болтами нажимную муфту и затягиванием болтов уплотнить резиновым кольцом место ввода кабеля.

11-11. При вводе проводов в светильники В3Г-200А (рис. 93), В3Г/В4А-200 (рис. 94), Н4Б-300 (рис. 95), не имеющие специальных вводных устройств с открывающейся крышкой, зарядку светильников, как правило, следует производить в МЭЗ проводами с медными жилами сечением 1,5 мм2 марки ПРКС с термостойкой изоляцией на основе кремнийорганического каучука. Провода и кабели с резиновой и поливинилхлоридной изоляцией жил из-за недостаточной теплостойкости применять для зарядки этих светильников не допускается.

Рис. 93. Светильник взрывонепроницаемого исполнения В3Г-200А.

1 - корпус 4; 2 - винт для заземления; 3 - стопорный винт; 4 - уплотнительное резиновое кольцо сальника; 5 - стальная шайба; 6 - гайка сальника; 7 - крышка; 8 - винт для крепления патрона; 9 - патрон; 10 - стопорный винт; 11 - кольцо; 12 - защитный стеклянный колпак; 13 - защитная сетка; 14 - отражатель; 15 - тепловой экран; 16 - фарфоровое кольцо; 17 - скоба для крепления отражателя.

Рис. 94. Светильник взрывонепроницаемый В3Г/В4А-200.

1 - корпус; 2 - винт для заземления; 3 - стопорный винт; 4 - уплотнительное резиновое кольцо сальника; 5 - стальная шайба; 6 - гайка сальника; 7 - крышка; 8 - винт для крепления контактной панели; 9 - контактная панель; 10 - зажимное кольцо; 11 - панель патрона; 12 - стопорный винт; 13 - стягивающий болт; 14 - прокладка трехслойная; 15 - кольцо; 16 - защитный стеклянный колпак; 17 - защитная сетка; 18 - отражатель.

Рис. 95. Светильник повышенной надежности против взрыва типа Н4Б-300.

1 - гайка в крышке; 2 - крышка светильника; 3 - гайка сальника; 4 - резиновое уплотнительное кольцо; 5 - стопорный винт; 6 - патрон.

11-12. Зарядка светильников должна выполняться тремя проводами длиной до ближайшей ответвительной коробки (два для питания лампы и один для заземления светильника) с использованием трубных кронштейнов или подвесов. Исполнение трубного кронштейна или подвеса и способы их крепления на основании следует выбирать в зависимости от условий установки светильников по действующему типовому проекту.

11-13. Длина концов проводов, заготавливаемых для зарядки светильников, должна быть такой, чтобы из свободного конца трубного кронштейна или подвеса они выступали не менее чем на 200 мм, а внутри светильника были оставлены концы длиной 150 мм (для светильников В3Г/В4А-200) или 80 мм (для светильников В3Г-200А и Н4Б-300).

11-14. При зарядке взрывозащищенных светильников типов В3Г/В4А-200, В3Г-200А и Н4Б-300 необходимо выполнить следующие операции:

а) ослабить специальным ключом (рис. 96) стопорный винт с трехгранной головкой и вывернуть корпус. У светильника Н4Б-300 отвернуть торцевым ключом (рис. 97) шесть гаек стяжных винтов, снять кольцо с защитным стеклянным колпаком, уплотняющей прокладкой и защитной сеткой;

Рис. 96. Ключ для монтажа светильников В3Г-200А и В3Г/В4А-200.

1 - для стопорного винта с трехгранной головкой; 2 - для сальниковых гаек.

Рис. 97. Ключ для светильника Н4Б-300.

1 - для сальниковых гаек; 2 - для гаек стяжных винтов.

б) отвинтить винты, крепящие патрон с блокировочным устройством к крышке светильника, и снять его. У светильника В3Г-200А предварительно отвернуть фарфоровое кольцо на патроне и снять тепловой экран. У светильника В3Г/В4А-200 снять контактную панель. Протереть контактные зажимы в случае их загрязнения тряпкой смоченной бензином;

в) отвернуть специальным ключом (рис. 96) гайку сальника, вынуть шайбу и резиновое уплотнительное кольцо;

г) навернуть крышку светильника с подмоткой пенькового волокна, пропитанного суриком, разведенным на олифе, или ленты ФУМ на короткую резьбу трубного подвеса или кронштейна до конца резьбы, закрепить крышку на трубе стопорным винтом и затянуть три провода;

д) ввести концы проводов в отверстия резинового уплотнительного кольца с помощью специального приспособления треста ЦЭМ (рис. 98) и держателя кольца, закрепляемого на верстаке (рис. 99), причем каждый провод должен плотно заходить в отверстие без применения какой-либо подмотки. На проводах в месте установки резинового уплотнительного кольца (на расстоянии 150 мм от концов проводов у светильника В3Г/В4А-200 и 80 мм у светильников В3Г-200А и Н4Б-300) снять подвижную оплетку на участке, равном толщине прокладки, а края оплетки закрепить бандажом из ниток;

Рис. 98. Приспособление для ввода проводов в отверстия резинового кольца взрывозащищенных светильников и ответвительных коробок У409.

Рис. 99. Держатель резинового кольца.

е) ввести резиновое уплотнительное кольцо с проводами и стальную шайбу в гнездо вводного отверстия крышки светильника. Завертывая до отказа специальным ключом сальниковую гайку, уплотнить провода резиновым кольцом;

ж) снять изоляцию с концов проводов, подключаемых к светильнику, на длину 20 мм, оголенные жилы загнуть в кольцо под винт М4 и облудить припоем ПОС-40. Присоединить провода к контактным зажимам патрона или контактной панели и к заземляющему винту. Концы всех проводов промаркировать;

з) установить патрон или контактную панель на место и закрепить; в светильнике В3Г-200А установить тепловой экран и фарфоровое кольцо на патрон и ввернуть исправную лампу. У светильника В3Г/В4А-200 лампа ввертывается в панель патрона. Панель следует вывернуть специальным ключом из корпуса вместе с зажимным кольцом; после установки лампы панель патрона ввернуть в корпус светильника;

и) навернуть до отказа корпус светильника на крышку и застопорить винтом с трехгранной головкой. У светильника Н4Б-300 соединить нижнюю часть светильника с верхней, закрепив кольцо, стеклянный колпак, уплотняющую прокладку и защитную сетку на корпусе шестью гайками стяжных винтов.

11-15. Подготовленные в МЭЗ светильники следует устанавливать на строительных основаниях (стенах, колоннах, потолках) с жестким креплением подвесов или кронштейнов.

11-16. Расстояние от ответвительной коробки У409 до трубного кронштейна или подвеса должно быть не более 60 мм, а все три провода на этом участке должны быть заключены в одну общую трубку из поливинилхлоридного пластиката с внутренним диаметром 8 - 10 мм. Одни конец трубки 5 надрезают (рис. 100), закрепляют между шайбой и резиновым уплотнительным кольцом сальника ответвительной коробки У409, а другой входит на 30 - 40 мм в трубный кронштейн или подвес. Во взрывоопасных зонах класса В-IIа на конце трубного кронштейна или подвеса устанавливают трубный сальник (У57/I - У57/III).

Рис. 100. Ввод проводов ПРКС в коробку У409.

1 - сальниковый рожок; 2 - металлическая шайба; 3 - резиновое уплотнительное кольцо; 4 - гайка; 5 - трубка из поливинилхлоридного пластиката; 6 - провода ПРКС.

11-17. Уплотнение ввода проводов в светильнике рекомендуется в МЭЗ выборочно испытать (через свободный конец кронштейна или подвеса) сжатым воздухом с избыточным давлением 50 кПа (0,5 кгс/см2).

Испытание проводится в течение 3 мин, при этом давление не должно уменьшаться более чем на 50 %.

11-18. Ввод проводов марки ПРКС в коробку У409 показан на рис. 100 - 102.

Рис. 101. Узел ввода провода ПРКС в коробку У409 от светильника с трубным кронштейном.

1 - трубный кронштейн; 2 - сальник трубный (для зон класса В-IIа); 3 - трубка из поливинилхлоридного пластиката; 4 - ответвительная коробка У409; 5 - кабель; 6 - провод ПРКС.

Рис. 102. Узел ввода провода ПРКС в коробку У409 от светильника с трубным подвесом.

1 - кабель; 2 - коробка У409; 3 - трубка из поливинилхлоридного пластиката; 4 - провод ПРКС; 5 - трубный подвес; 6 - скоба безметизного крепления коробки или лоток К61; 7 - сальник трубный (для зон класса В-IIа); 8 - отверстие под дюбель ручной забивки (2 шт.).

Монтаж светильников при прокладке проводов в трубах

11-19. Как правило, светильники должны поступать на монтаж со спусками и предварительно заряженными в МЭЗ.

Длина проводов определяется расстоянием от светильника до ближайшей ответвительной коробки плюс 100 мм, необходимых для соединения в коробке.

11-20. Светильник, устанавливаемый последним в линии, должен быть укомплектован стандартным сгоном. Длина заряженных проводов должна соответствовать длине участка трубы от последнего светильника до ответвительной коробки предпоследнего светильника.

Длина трубы для спуска (рис. 103) определяются по формуле:

l = h h1 — С,

где С = А + а - 2l1; 1 - длина трубы; h - отметка оси трубопровода (дается на чертеже); h1 - отметка подвеса светильника (дается на чертеже); А - высота светильника; а - расстояние от оси коробки до конца патрубка (67 мм), мм; l1 - длина короткой резьбы (для труб 3/4" - 16 мм).

Значения С приведены ниже:

Тип светильника              В3Г-200А        В3Г-200АМ                В3Г/В4А-200

Значения С, мм                  425                              550                             480

Тип светильника               3Г/В4А-200М             Н4Б-300          Н4БII-150

Значения С, мм                  615                              385                              435

Рис. 103. Прямой спуск к светильнику.

11-21. Длина трубы для последнего в линии светильника, имеющего горизонтальную и вертикальную составляющие, определяется по формуле (рис. 104): L = h ¾ h1 + l2 - (0,43R + С), где L - длина трубы (с учетом длины сгона); l2 - горизонтальная составляющая от центра коробки до оси спуска к светильнику; 0,43R - усадка трубы при изгибе угла радиусом; h - вертикальная отметка оси трубопровода; h1 - вертикальная отметка подвеса светильника.

Рис. 104. Спуск к конечному светильнику с горизонтальной и вертикальной составляющими.

1 - разъемное соединение.

11-22. После зарядки светильников необходимо выполнить монтаж в следующем порядке:

а) ввести концы проводов, выходящих из отрезка трубы (спуска), ввернутой в светильник, в коробку смонтированной групповой осветительной сети; ввернуть спуск со светильником в патрубок коробки до упора;

б) провода заряженного последним в линии светильника должны быть затянуты в трубу до ответвительной коробки предпоследнего светильника. После затягивания проводов в трубу стандартный сгон следует соединить с трубой в разъемном соединении, без вращения светильника;

в) соединить опрессовкой, сваркой или пайкой выведенные провода от светильника в коробке в соответствии с маркировкой проводов сети. Места соединения изолировать четырьмя слоями липкой поливинилхлоридной ленты толщиной не более 0,2 мм. Допускается применять лакоткань с последующим наложением на нее прорезиненной ленты и покрытием изоляционным лаком или эмалью.

12. МОНТАЖ ВЗРЫВОБЕЗОПАСНЫХ КРАНОВ

Общие указания

12-1. Промышленность выпускает взрывобезопасные краны:

а) подвесные однобалочные, одно- и двухпролетные с подвешенной взрывозащищенной талью. Управление краном кнопочное с пола;

б) мостовые двухбалочные однопролетные. Управление краном кнопочное как с пола, так и из кабины (рис. 105).

Рис. 105. Мостовой взрывобезопасный кран (управление из кабины).

1 - кабина управления; 2 - мост; 3 - кабина обслуживания токоподвода; 4 - токоподвод тележки; 5 - станция управления; 6 - электродвигатели передвижения моста.

В зависимости от назначения мостовой кран может иметь открытую или закрытую кабину.

12-2. На вертикальной стенке пролетной балки крана и на боковой панели рамы грузовой тележки (на тали - для подвесных кранов) прикреплены фирменные таблички завода-изготовителя с маркировкой взрывозащиты крана, а также табличка, заполненная согласно правилам Госгортехнадзора.

12-3. С краном поставляются:

а) паспорт крана, неотъемлемой частью которого являются паспорта электродвигателей и аппаратов;

б) инструкция по монтажу и эксплуатации крана, включая электрическую часть;

в) чертеж общего вида крана;

г) комплект кареток цехового токопровода (в количестве, оговоренном в заказе).

12-4. Техническая документация электрической части крана включает в себя:

а) электрические схемы - принципиальную и монтажную;

б) ведомость комплектования электрооборудования;

в) чертежи электромонтажных узлов;

г) чертежи размещения электрооборудования на кране и разводки кабелей и проводов.

12-5. Питание электродвигателей тележки крана (тали - для подвесных кранов) осуществляется гибким кабелем, подвешенным петлями к подвижным кареткам, перемещающимся по натянутой вдоль пролетной балки струне. Перемещение кареток осуществляется бугелем, закрепленным на тележке (тали).

12-6. Цепи управления механизмами кранов, как правило, выполнены искробезопасными, что позволяет применять кнопочные посты и конечные выключатели общего назначения.

Искробезопасность цепей управления достигается применением специального электронного устройства (искробезопасного блока), выполненного на транзисторах и диодах.

12-7. Кнопочные посты, конечные выключатели и коробки с наборными зажимами цепей управления имеют прикрепленные к ним таблички с надписью «Искробезопасные цепи».

12-8. Монтаж электрической части кранов осуществляется в два этапа:

а) на заводе-изготовителе;

б) на месте установки крана.

Работы, выполняемые на заводе-изготовителе

Мостовые краны

12-9. На рабочей площадке пролетной балки приваривают элементы крепления электрооборудования и кабелей, включая кабель цехового токоподвода; устанавливают станции управления, электродвигатели механизмов передвижения моста, конечные выключатели (при установке в пролете двух и более кранов), соединительные коробки силовых цепей и цепей управления.

12-10. На опорных концевых балках устанавливают стойки для натягивания струны токоподвода к тележке, соединительные переходные коробки для перехода кабеля, прокладываемого по мосту, на гибкий кабель токоподвода к тележке.

12-11. На тележке крана устанавливают электродвигатели подъема и перемещения тележки, конечный выключатель подъема, соединительные переходные коробки.

12-12. На рабочей площадке пролетной балки, концевых балках и тележке прокладывают и закрепляют кабели силовых цепей и цепей управления.

12-13. Для силовых цепей, прокладываемых по мосту крана, как правило, следует применять четырехжильные кабели марки ВБВ, при этом защиты кабелей от механических воздействий не требуется.

12-14. Для цепей управления применяются кабели марок ВБВ, КРПТ или провода марки ПВ, проложенные в металлорукавах типа Р3-Ц-Х. К кнопочным постам управления подводят кабель марки РПШ и подобные ему.

12-15. Проложенные кабели вводят во вводные устройства станций управления, электродвигателей и соединительные коробки. Концы введенных кабелей и проводов цепей управления маркируют и подсоединяют согласно схеме завода.

12-16. На стойках, установленных на опорных концевых балках, натягивают струну, подвешивают и закрепляют на каретках гибкие кабели токоподвода тележки и конечного выключателя подъема. Кабели подсоединяют к конечному выключателю и в соединительных коробках на мосту и тележке.

Подвесные краны

12-17. На пролетной балке устанавливают станцию управления и конечный выключатель; выполняют прокладку, крепление и подсоединение кабелей к электрооборудованию.

12-18. На кронштейнах пролетной балки натягивают струну, подвешивают на каретках гибкие кабели токоподвода тали.

12-19. На полностью смонтированных мостовых и подвесных кранах проверяют правильность собранной схемы путем опробования всех механизмов крана вхолостую.

12-20. Мост крана с механизмом передвижения, тележка и кабина управления поставляются в неупакованном виде.

12-21. Электрооборудование установленное и проверенное на заводе-изготовителе на отдельных узлах крана (тележке, рабочей площадке пролетной балки), упаковывают в ящики на узлах крана.

12-22. Концы кабелей силовых цепей и цепей управления в местах разъемов транспортабельных узлов крана отсоединяют с одной стороны в соединительных коробках, расположенных вблизи мест разъема. Отсоединенные концы кабелей скручивают в бухты, закрепляют и защищают от возможных механических воздействий при транспортировке.

12-23. Струну токоподвода тележки в сборе с каретками и гибким кабелем, кнопочные станции управления упаковывают в отдельные ящики.

12-24. Мостовые краны разбирают на транспортабельные участии. На подвесных кранах снимают и отдельно упаковывают ходовые тележки с установленными на них электродвигателями передвижения моста и тали с подключенной кнопочной станцией.

Работы, выполняемые на месте монтажа

12-25. После сборки транспортабельных узлов крана (механомонтаж) прокладывают и закрепляют на мосту концы кабелей на участках соединений отдельных узлов крана и подсоединяют в соединительных коробках.

12-26. После закрепления кабины на кране прокладывают кабели цепей управления между кабиной и мостом крана и присоединяют их к коробке с наборными зажимами, установленной на крыше кабины, по маркировке завода-изготовителя.

На кранах, управляемых с пола, производят подсоединение подвесных кнопочных станций со стороны моста крана.

12-27. При монтаже токоподвода тележки (тали) необходимо выполнить следующие работы:

а) концы струны токоподвода с каретками и кабелем закрепить на левой и правой стойках (кронштейнов у подвесных кранов), прикрепленных к концевым балкам крана;

б) натянуть струну с таким расчетом, чтобы ее провес был в пределах 1 - 1,5 % пролета крана;

в) укрепить бугель на тележке (тали). Бугель должен поддерживать своим роликом струну;

г) после монтажа токопровода присоединить концы кабелей по маркировке завода-изготовителя.

12-28. Токоподвод к мосту крана выполняют гибким шланговым кабелем. Марки кабелей для различных классов взрывоопасных зон должны выбираться по данным приложения 2.

12-29. Кабель подвешивают и укрепляют на каретках 5 (рис. 106), движущихся по двутавровой балке вместе с мостом крана. Двутавровую балку 4 закрепляют к подкрановой балке на кронштейнах 1. Для крепления кабелей в подвижных каретках применяют разъемные клицы (клицы выбирают в зависимости от количества кабелей). Деревянные клицы следует пропитать горячим льняным маслом. Клицы в накладке зажимают болтами.

Рис. 106. Крепление двутавровой балки к подкрановому пути.

1 - кронштейн; 2 - скоба; 3 - болт; 4 - двутавр для кареток; 5 - каретка; 6 - упор; 7 - трос.

12-30. Для предотвращения обрыва кабеля совместно с ним в каретках следует закрепить специальный трос 7 диаметром не менее 4,8 мм. Длина троса должна быть несколько меньше длины кабеля, чтобы трос, а не кабель воспринимал растягивающее усилие.

12-31. При большом числе кабелей (три - пять) в гибком токоподводе клицы скрепляют между собой так, чтобы образовался плоский пакет кабелей.

В середине пролета на пакет (между двумя каретками) рекомендуется надеть клицу, соединив ее тросом с каретками в единую цепочку.

12-32. Длина кабелей между каждой парой кареток не должна превышать 6 м.

12-33. При максимальном сближении кареток нижний конец свисающего кабеля должен находиться на расстоянии не менее 2,5 м от пола и 2 м от пола в малодоступных местах. Между кабелем и кабиной обслуживания должно быть расстояние не менее 100 мм.

12-34. Питающий кабель прикрепляют к бугелю 7 (рис. 107), прокладывают по мосту крана и подсоединяют к вводной соединительной коробке или во вводном блоке станции управления.

Рис. 107. Гибкий трубопровод к крану.

1 - труба; 2 - гибкий кабель; 3 - крепление кабеля на стене; 4 - двутавр для кареток; 5 - каретка; 6 - кронштейн; 7 - бугель на кране.

12-35. После монтажа следует проверить правильность собранной схемы крана путем опробования механизмов без нагрузки.

Пуск механизмов крана производят нажатием на соответствующую кнопку станции управления; остановка автоматическая при освобождении кнопки.

13. ЗАЗЕМЛЕНИЕ

Заземление, или зануление. электроустановок во взрывоопасных зонах всех классов необходимо выполнять в соответствии с требованиями для электроустановок с нормальной средой с учетом нижеприведенных требований.

13-1. Электроустановки надлежит заземлять, или занулять, при всех напряжениях переменного и постоянного тока.

13-2. В качестве заземляющих проводников должны быть использованы проводники, специально предназначенные для этой цели. Использование в качестве заземляющих и нулевых защитных проводников металлических конструкций зданий, стальных труб электрических сетей, металлических оболочек и брони кабелей, тросов и т.п. запрещается.

13-3. В электроустановках напряжением до 1000 В с глухо-заземленной нейтралью заземление должно осуществляться:

а) в двух- и трехфазных цепях, а также во всех однофазных цепях с применением специальной третьей или четвертой жилы кабеля или провода;

б) в однофазных осветительных цепях, кроме зоны класса В-I, с использованием нулевого провода;

в) нулевые защитные проводники должны быть проложены совместно с фазными в общей оболочке или трубе;

г) заземление взрывозащищенного электрооборудования (электродвигателей, пускателей, постов управления и т.п.) следует выполнять только присоединением специальной нулевой защитной жилы кабеля или провода к заземляющему контакту во вводном устройстве электрооборудования; при этом выполнение заземления присоединением к магистрали заземления не требуется;

д) заземление корпусов светильников в однофазных осветительных сетях в зонах всех классов, кроме класса В-I, осуществляется путем присоединения третьего провода к нулевому рабочему проводу своей группы в ближайшей ответвительной коробке и к винту заземления внутри светильника;

е) заземление корпусов светильников в зоне класса В-I осуществляется присоединением третьего провода в ближайшей ответвительной коробке к специальному нулевому или защитному проводу или жиле кабеля, проложенным от нулевой шины группового щитка.

13-4. Заземление корпусов взрывозащищенного электрооборудования в электроустановках до 1000 В с изолированной нейтралью следует выполнять путем присоединения заземляющих проводников к магистрали заземления. При этом заземляющие проводники допускается прокладывать как в общей оболочке с фазными, так и отдельно от них.

13-5. Проходы специально проложенных заземляющих проводников сквозь стены взрывоопасных зон должны производиться в отрезках труб или проемах. Отверстия труб и проемов должны быть уплотнены цементным раствором или другими несгораемыми материалами с обеих сторон прохода. Соединение заземляющих проводников в местах проходов не допускается.

13-6. Проход магистрали заземления сквозь фундаменты должен выполняться в трубах или иных жестких обрамлениях.

13-7. Сечение заземляющих проводников должно соответствовать указаниям в проекте.

13-8. Соединенные секции лотков, коробов и металлические полосы, по которым прокладываются кабели, должны образовывать электрическую непрерывную цепь по всей длине. Лотки, короба и полосы должны быть соединены сваркой с сетью заземления, или зануления не менее чем в двух удаленных одно от другого местах.

13-9. Заземление оцинкованных тросов, катанки или стальной проволоки, используемой в качестве несущего троса, выполняется с двух противоположных концов - присоединением к магистрали заземления или зануления сваркой. Для оцинкованных тросов допускается механическое соединение с защитой места соединения от коррозии.

13-10. Заземление водогазопроводных труб электрических сетей в распределительных устройствах и щитовых помещениях должно осуществляться приваркой к ним стальных проводников. При наличии на трубах разделительных уплотнений, установленных в этих помещениях, заземляющие проводники необходимо присоединять к трубам только со стороны концов труб до разделительных уплотнений.

13-11. Заземление труб, соединенных на резьбе с вводными устройствами электрооборудования, осуществляется от нулевого проводника электрооборудования через нажимную муфту вводного устройства.

13-12. Непрерывность цепи заземления стальных водогазопроводных труб при соединении их между собой необходимо обеспечивать плотным навертыванием муфт на конец трубы с короткой резьбой до конца резьбы и установкой контргаек со стороны длинной резьбы. Соединение труб с патрубками коробок, аппаратов и т.д. должно обеспечиваться плотным ввертыванием труб с короткой резьбой в патрубки до конца резьбы труб. Все резьбовые соединения труб и их присоединения к электрооборудованию должны выполняться с подмоткой на резьбу пенькового волокна, пропитанного в разведенном на олифе сурике (железном или свинцовом), или ленты ФУМ.

13-13. Приварка муфт к трубам, а также установка заземляющих перемычек на соединениях труб у муфт и коробок запрещается.

13-14. Броня и металлическая оболочка кабелей всех напряжений в силовых и осветительных сетях должны заземляться с двух концов - в щитовом помещении и внутри вводных устройств электрооборудования, кроме исключений, оговоренных в настоящей Инструкции.

13-15. Для аппаратов в пластмассовом корпусе (например, пост управления серии КУ-90) на вводимом конце кабеля броню и металлическую оболочку как исключение допускается не заземлять.

13-16. В осветительных сетях, выполненных кабелями в свинцовой оболочке, непрерывность цепи заземления оболочек кабелей у ответвительных коробок должна осуществляться припайкой гибкого медного проводника (с защитой от, коррозии) к оболочкам и соединением вторых концов между собой (рис. 108).

Рис. 108. Выполнение непрерывной цепи заземления четырех кабелей СРГ (АСРГ), вводимых в коробку У409.

13-17. Заземление искробезопасных цепей, как правило, не допускается. Необходимость заземления должна быть особо оговорена проекте в соответствии с указаниями заводов-изготовителей.

13-18. Металлические конструкции, предназначенные для защиты кабелей от механических повреждений, следует заземлять (кроме ВБВ и АВБВ).

13-19. Металлоконструкции, на которых устанавливается электрооборудование, заземленное специальной дополнительной (третьей или четвертой) жилой, преднамеренно заземлять не требуется.

14. СДАЧА ЭЛЕКТРОМОНТАЖНЫХ РАБОТ

14-1. Перечень сдаточной технической документации составляется применительно к данному комплексу на основании действующих «Форм сдаточной документации по электромонтажным работам» .

14-2. После монтажа силовых сетей, выполненных кабелями марок ВБВ и АВБВ, необходимо:

а) измерить мегомметром напряжением 1000 В сопротивление изоляции каждой жилы кабеля по отношению к другим, соединенным с землей; при этом сопротивление, пересчитанное на 1 км кабеля, должно быть не менее 4,5 МОм;

б) испытать кабель мегомметром напряжением 2500 В; продолжительность испытания 1 мин.

Приложение 1

КАБЕЛИ МАРОК ВБВ И АВБВ

Область применения и технические данные

Силовые кабели марок ВБВ и АВБВ (ТУ 16.06-357-69 и ГОСТ 5.1596-72) соответственно с медными и алюминиевыми жилами, с поливинилхлоридной изоляцией в поливинилхлоридной оболочке предназначены для открытой прокладки в электрических сетях при номинальном рабочем напряжении до 660 В переменного тока или до 1000 В постоянного тока.

Химически активные среды, в которых могут быть проложены кабели ВБВ и АВБВ, следующие: кислоты 5 - 50 % (азотная, соляная, серная, уксусная, фосфорная, фтористоводородная- плавиковая, карболовая-фенол), щелочи М (ОН)n, соли (сульфаты, нитраты, хромовокислые растворы солей тяжелых и благородных металлов), коллоиды и их соединения (хлор, бром, хлориды, иодиды, фториды, бромиды), окислы (окись углерода, сернистый ангидрид), перекиси (перекись водорода), нефть неочищенная, углеводороды (ацетилен, метан, бензин, керосин), газы (аммиак, сероводород).

Кабели предназначены для эксплуатации при температуре окружающей среды от минус 40 до плюс 50 °С. Прокладка кабеля без предварительного нагрева допускается при температуре не ниже минус 15 °С. Радиус изгиба при прокладке должен быть не менее 10 диаметров кабеля.

Длительно допустимая рабочая температура жил не должна превышать 65 °С. Максимально допустимый нагрев жил при токах короткого замыкания не должен превышать 150 °С.

Кабели изготовляются круглой формы в соответствии с табл. П1-1 - П1-3.

Таблица П1-1

Сечение и количество жил кабелей марок ВБВ и АВБВ

Параметры

ВБВ

АВБВ

Число жил

2

3,4

2

3,4

Сечение, мм2

1,5-50

1,5-95

2,5-50

2,5-120

Таблица П1-2

Сечения и наружные диаметры кабелей марок ВБВ (с медными жилами) и АВБВ (с алюминиевыми жилами)

Сечение жил кабеля, мм2

Наружный диаметр, мм

Сечение жил кабеля, мм2

Наружный диаметр, мм

2´1,5

18,7*

3´35

34,6

2´2,5

19,6

3´50

38,6

2´4

20,5

3´70

44,0

2´6

21,7

3´95

46,4

2´10

23,3

3´120

52,4

2´16

25,7

4´1,5

19,6 (18,6)

2´25

26,2

4´2,5

20,4 (19,4)

2´35

27,6

4´4

21,2 (20,4)

2´50

29,6

4´6

22,0 (21,4)

3´1,5

17,9*

4´10

27,6 (27,9)

3´2,5

18,7

4´16

30,6 (29,8)

3´4

19,4

3´25 + 1´16

34,4 (33,4)

3´6

20,4

3´35 + 1´16

38,8

3´10

24,7

3´50 + 1´25

42,5

3´16

26,6

3´70 + 1´35

48,4

3´25

31,2

3´95 + 1´50

50,4

3´120 + 1´70

56,4**

________________

* Минимальное сечение алюминиевых жил 2,5 мм2.

** Кабели сечением жил 120 мм2 выпускаются только с алюминиевыми жилами.

Примечание. В скобках приведены данные по ГОСТ 5.1596-72.

Таблица П1-3

Сечение фазных и нулевой жил кабелей

Сечение фазных жил, мм2

Сечение нулевой (четвертой) жилы, мм2

Сечение фазных жил, мм2

Сечение нулевой (четвертой) жилы, мм2

1,5

1,5

25

16

2,5

2,5

35

16

4

4

50

25

6

6

70

35

10

10

95

50

16

16

120

70

Фазные жилы различаются между собой цветом изоляции. Изоляция нулевой жилы выполняется из пластиката черного цвета.

Кабели поставляют на барабанах, при этом минимальная строительная длина по ГОСТ 5.1596-72 составляет не менее 200 м, а по ТУ 16.06-357-69 - не менее 125 м.

Возможна поставка отрезков кабеля длиной 50 м в количестве 10 % поставляемой партии.

Выбор длительно допустимых токов

1. Допустимые токи при однослойной и многослойной прокладках кабелей марок ВБВ и АВБВ определяют исходя из температуры на жилах 65 и температуры окружающей среды 25 °С.

2. Допустимые длительные токи при однослойной и многослойной прокладках кабелей марок ВБВ и АВБВ определяют по формуле

L = L1К1К2Кt                                                                                                     (1)

где L1 - допустимый ток на одиночно проложенные кабели, А; К1 - коэффициент снижения нагрузки при однослойной или многослойной прокладке кабелей при полной нагрузке всех кабелей; К2 - коэффициент повышения нагрузки, учитывающий незагруженность отдельных кабелей в группе; Кt - температурный поправочный коэффициент, учитывающий эксплуатацию кабелей при температуре окружающей среды, отличной от 25 °С.

3. Допустимые длительные токи на одиночно проложенные кабели марок ВБВ и АВБВ следует принимать в соответствии с табл. П1-4.

Таблица П1-4

Допустимые токи на кабели марок ВБВ и АВБВ при одиночной прокладке в воздухе, А

Сечение токопроводящей жилы, мм2

Кабель ВБВ

Кабель АВБВ

двухжильный

трехжильный и четырехжильный

двухжильный

трехжильный и четырехжильный

1,5

20

20

-

-

2,5

29

27

22

20

4

37

34

28

26

6

51

43

39

33

10

76

60

60

46

16

93

78

70

60

25

127

105

96

80

35

154

132

118

101

50

195

161

152

124

70

-

201

-

155

95

-

238

-

183

120

-

-

-

213

Примечание. Максимальное сечение двухжильных кабелей марок ВБВ и АВБВ 50 мм2; минимальное сечение алюминиевых жил 2,5 мм2.

4. Выбор сечения для кабелей марок ВБВ и АВБВ при любых способах прокладки во взрывоопасных установках всех классов следует производить без учета коэффициента 1,25 к номинальному току электродвигателей, как того требует ПУЭ гл. VII. При прокладке любого количества кабелей без зазора в один, два и три слоя к токам, выбранным по табл. П1-4, следует применять обобщенные снижающие коэффициенты, приведенные в табл. П1-5.

Таблица П1-5

Обобщенные снижающие коэффициенты к допустимым токам при однослойной и многослойной прокладках кабелей марок ВБВ и АВБВ

Количество кабелей в группе

Значения поправочных коэффициентов при количестве

один

два

три

2 - 6

0,81

0,73

-

3 - 6

0,81

0,73

0,68

7 - 20

0,71

0,62

0,54

21 - 40

0,67

0,55

0,50

41 и более

0,61

0,55

0,50

5. При необходимости более конкретных расчетов снижающих коэффициентов к допустимым токам при любом варианте прокладки кабелей в один, два и три слоя при полной нагрузке всех кабелей используются формулы:

для однослойной прокладки

;                                                                                                (2)

для двухслойной прокладки

                                                                                             (3)

для трехслойной прокладки

                                                                                            (4)

где n - общее число кабелей в группе.

6. Значения поправочных коэффициентов К1 для числа кабелей до 40 при полной нагрузке всех кабелей, рассчитанные по формулам (2) - (4), приведены в табл. П1-6.

Таблица П1-6

Поправочные коэффициенты к допустимым токам при однослойной, двухслойной и трехслойной прокладках кабелей марок ВБВ и АВБВ

Количество кабелей в ряду

Значения поправочных коэффициентов при прокладке

однослойной

двухслойной

трехслойной

2

0,947

0,882

-

3

0,889

0,813

0,774

4

0,853

0,773

0,727

5

0,829

0,746

0,699

6

0,810

0,726

0,678

7

0,790

0,709

0,610

8

0,783

0,697

0,600

9

0,773

0,682

0,592

10

0,764

0,677

0,586

11

0,756

0,669

0,580

12

0,749

0,661

0,574

13

0,743

0,655

0,570

14

0,737

0,650

0,563

15

0,732

0,644

0,561

16

0,728

0,640

0,558

17

0,723

0,635

0,555

18

0,719

0,631

0,552

19

0,715

0,627

0,549

20

0,7121

0,624

0,546

21

0,709,

0,620

0,543

22

0,705

0,617

0,541

23

0,703

0,614

0,539

24

0,700

0,612

0,537

25

0,697

0,609

0,535

26

0,695

0,607

0,533

27

0,693

0,604

0,531

28

0,691

0,602

0,529

29

0,688

0,600

0,528

30

0,686

0,598

0,526

31

0,684

0,596

0,525

32

0,683

0,594

0,523

33

0,681

0,592

0,522

34

0,678

0,590

0,521

35

0,677

0,589

0,519

36

0,675

0,587

0,518

37

0,674

0,586

0,517

38

0,673

0,584

0,516

39

0,671

0,583

0,515

40

0,670

0,581

0,513

7. Поправочные коэффициенты К1 к токам, выбранным по табл. П1-4, при любом количестве кабелей в группе и любом количестве слоев, большем трех, при полной нагрузке всех кабелей определяются по формуле

                                                                                (5)

где n - общее число кабелей в группе; m - общее число слоев.

8. Выбор поправочных коэффициентов для любого количества кабелей в группе и любого количества слоев более двух в тех случаях, когда число слоев равно половине или более половины числа всех кабелей в группе, производится по формуле

                                                                                 (6)

где n - общее число кабелей в группе; m - число слоев.

9. При наличии ненагруженных кабелей в группе для определения допустимого тока вводится коэффициент повышения нагрузки К2 [см. формулу (1)], определяемый по формуле

                                                                               (7)

где n - общее число кабелей в группе; n1 - число полностью нагруженных кабелей в группе.

10. При монтаже однослойной или многослойной прокладки кабелей, выполняемом при температуре окружающей среды, отличной от 25 °С, для определения допустимого тока вводится поправочный температурный коэффициент Кt [см. формулу (1)].

11. Выбор токов при однослойной и многослойной прокладках кабелей ВБВ сечением 1,5 мм2 или АВБВ сечением 2,5 мм2, предназначенных для питания электродвигателей мощностью до 3 кВт, напряжением 380 В, производится по табл. П1-4 без введения поправочных коэффициентов, независимо от общего количества кабелей в группе и количества слоев.

12. Для электродвигателей мощностью 3 - 5 кВт введения поправочных коэффициентов к токам, выбранным по табл. П1-4, не требуется при однослойной прокладке кабелей с общим числом в ряду не более 100, при двухслойной прокладке кабелей - с общим числом в группе не более 30.

13. При совместной многослойной прокладке силовых и контрольных кабелей общее число силовых кабелей в группе для расчета поправочного коэффициента К1 выбирается:

а) с учетом 30 % контрольных кабелей при сечении силовых кабелей до 4 мм2;

б) с учетом 20 % контрольных кабелей при сечении силовых кабелей до 25 мм2;

в) с учетом 10 % контрольных кабелей при сечении силовых кабелей свыше 25 мм2.

Расчет поправочного коэффициента К1 в этом случае производится по формуле (3), как для двухслойной прокладки кабелей.

14. При однослойной или многослойной прокладке кабелей без зазора общее число уложенных кабелей при любом числе слоев лимитируется механической прочностью лотка.

15. Максимальная равномерно распределенная нагрузка на один лоток не должна превышать 700 Па (70 кгс/м).

16. Исходя из экономических соображений, рекомендуется выполнять многослойную прокладку кабелей с числом слоев не более трех.

17. При совместной многослойной прокладке силовых и контрольных кабелей рекомендуется менее нагруженные силовые кабели и контрольные кабели укладывать в нижние слои.

18. При однослойной или многослойной прокладке кабелей рекомендуется чередовать в горизонтальных рядах более нагруженные кабели с менее нагруженными.

19. Разрешается укладка на лотках групп кабелей, разделенных горизонтальным воздушным зазором, причем при зазоре 35 мм число кабелей в группе не должно превышать 30, а при зазоре 50 мм и более число кабелей не лимитируется. Длительно допустимые токи в этих случаях определяют в соответствии с количеством кабелей и слоев в каждой группе.

20. При многоярусной прокладке кабелей ВБВ и АВБВ и укладке кабелей в ярусах в один ряд без зазора расстояние между ярусами в свету должно быть не менее 250 мм, а число ярусов целесообразно ограничить до четырех.

21. При многоярусной прокладке кабелей ВБВ и АВБВ рекомендуется в целях уменьшения перегрева кабелей, уложенных в ярусах, кабели больших сечений укладывать в верхних ярусах.

22. Во взрывоопасных зонах применение многоярусной прокладки кабелей ВБВ и АВБВ при укладке кабелей в ярусах в два, три и более слоев и числе ярусов более четырех не рекомендуется.

23. В помещениях с температурой окружающего воздуха более 45 °С применение многослойной прокладки кабелей марок ВБВ и АВБВ не рекомендуется из-за низких значений снижающих коэффициентов допустимого тока.

24. При выполнении многослойной прокладки кабелей в целях уменьшения перегрева рекомендуется иметь поперечное сечение группы кабелей, отличное от квадрата.

25. При всех вариантах многослойной прокладки следует наиболее загруженные кабели размещать по периметру группы.

Приложение 2

Область применения наиболее распространенных марок кабелей для открытой прокладки в силовых сетях по классам взрывоопасных зон

Кабель

Классы взрывоопасных зон

В-1

В-1а

В-1б

В-1г

В-II

В-IIа

ВБВ

С

С

Д

Д

Д

Д

АВБВ

З

З

С

С

С

С

ВВБГ, ВБбШв, ВВБбГ, ВРБГ, ПРБГ, СРБГ, СБШв, СБГ, СБн

Р

Р

Д

Д

Д

Д

АВБбШв, АВВБГ, АВВБбГ, АВРБГ, АНРБГ, АСРБГ, АСБГ, АСБн

З

З

Д

Р

Р

Д

ААБГ, ААБлГ

З

З

Д

Д

Д

Д

АВВГ, АЗРГ, АНРГ, АСРГ, АСШв, АСГ

З

З

Р

З

З

Р

ААГ

З

З

Д

З

З

Д

КРПС*, КРПСП*

С

С

Д

С

С

Д

КРПГ*

Р

Р

Д

Р

Р

С

КРПТ*, КРПТН*

З

Д

С

Д

Д

Р

______________

* Кабели предназначены для присоединения различных передвижных механизмов или установленных на виброоснованиях.

Примечания: 1. Кабели, предназначенные для применения во взрывоопасных зонах высших классов, допускается применять в зонах низших классов. При этом следует в каждом отдельном случае учесть экономическую и техническую целесообразность.

2. Условные обозначения: С - следует применять; Р - рекомендуется; Д - допускается; З - запрещается.

3. Кабели расположены в порядке их предпочтительного применения.

4. Трех- и четырехжильные кабели должны иметь в сечении круглую форму.

Приложение 3

Трубы стальные водогазопроводные по ГОСТ 3262-62

Диаметр, мм

Толщина стенок, мм

условного прохода

наружный

обыкновенных

легких

20

26,8

2,8

2,5

25

33,5

3,3

2,8

40

48,0

3,5

3,0

50

60,0

3,5

3,0

70

75,5

4,0

-

80

88,5

4,0

-

100

114,5

4,5

-

Приложение 4

Таблица П4-1

Коробки для электрических сетей

Класс взрыво­опасной зоны

Исполнение по ПУЭ

Рекомендуемый тип  коробки

сети освещения

цепи управления

В-I

Взрывонепроницаемое, соответствующее категории и группе взрывоопасной смеси

Коробки чугунные или пластмассовые с уровнем взрывозащиты В4Т5 или коробки серии Ф в исполнении Вк3Г (для смесей не выше категории 3 и группы Г)

Применять не рекомендуется

В-Iа

Любое взрывозащищенное или общего назначения со степенью защиты  IР65

Коробки У409, коробки чугунные с уровнем взрывозащиты В4Т5 или коробки серии Ф в исполнении Вк3Г (для взрывоопасных смесей всех категорий и групп)

Коробки У614 и У615

В-Iб

Общего назначения со степенью защиты IР54

Коробки У409

Коробки У614 и У615

В-Iг

Любое взрывозащищенное для соответствующей категории и группы взрывоопасных смесей или общего назначения со степенью защиты IР65

Коробки У409, чугунные коробки с уровнем взрывозащиты В4Т5 или серии Ф в исполнении Вк3Г (для взрывоопасных смесей всех категории и групп)

 

В-II

Взрывонепроницаемое

Коробки серии Ф или коробки с уровнем взрывозащиты В4Т5)

Применять не рекомендуется

В-IIа

Любое взрывозащищенное или общего назначения со степенью защиты IР54

Коробки типа У409, коробки серии Ф или коробки с уровнем взрывозащиты В4Т5

Коробки У614 и У615

Таблица П4-2

Тип и размеры чугунных коробок В4Т5 по ТУ36

Тип коробки

Условный проход трубы, мм

Размеры, мм

Масса, кг

а

б

в

 

КПД

 

 

112

87

1,47

КТД

 

 

 

 

1,57

КПП

20

90

134

65

1,5

КТО

 

 

 

 

1,58

ККО

 

 

 

 

1,69

КПД

 

 

132,4

99

2,2

КТД

 

 

 

 

2,29

КПП

25

105

160

72

2,3

КТО

 

 

 

 

2,31

ККО

 

 

 

 

2,47

КПД

 

 

157

122

3,27

КТД

 

 

 

 

3,5

КПП

40

130

184

95

3,4

КТО

 

 

 

 

3,5

ККО

 

 

 

 

3,7

КПД

 

 

193

143

6,0

КТД

 

 

 

 

6,3

КПП

50

160

226

110

7,2

КТО

 

 

 

 

6,5

ККО

 

 

 

 

6,9

КПР

20

66

110

108

1,105

КПР

25

80

132

124

1,61

КПР

40

90

150

137

2,2

КПР

50

106

170

164

3,6

КПЛ

20, 25

52

178

49

1,8

КПЛ

40, 50

72

244

76

-

Рис. П4-1. Габаритные и установочные размеры коробки У409 по ТУ 36.1859-75. Масса коробки 530 г.

Рис. П4-2. Коробка КТО с уровнем взрывозащиты В4Т5 (для трубных проводок).

Рис. П4-3. Коробки чугунные взрывозащищенные.

1 - коробка проходная прямая (КПП); 2 - коробка проходная через дно (КПД); 3 - коробка тройниковая ответвительная (КТО); 4 - коробка тройниковая с ответвлением в дно (КТД); 5 - коробка крестовая ответвительная (ККО); 6 - коробка проходная разделительная (КПР); 7 - коробка проходная разделительная для локальных испытаний (КПЛ).

Рис. П4-4. Коробки У614 и У615 с наборными зажимами.

а - коробка У614; б - коробка У615.

Индекс

Количество зажимов

Сальники

Масса, кг

сверху коробки

снизу коробки

индекс

количество

индекс

количество

У614

10

У58/1

1

У60/1

1

2,6

У57/1

2

У615

20

У58/1

2

У60/1

2

3,9

У57/1

2

У58/1

1

Приложение 5

НИППЕЛИ ДВОЙНЫЕ И ФУТОРКИ

Рис. П5-1. Ниппель двойной.

Таблица П5-1

Ниппели двойные по ГОСТ 8958-59

Условный проход, мм

Резьба d1, дюйм

S, мм

L, мм

h, мм

Масса без покрытия, кг

20

3/4

30

47

8

0,107

25

1

36

53

8

0,168

40

11/2

50

59

9

0,278

50

2

65

68

10

0,495

70

3

80

75

11

0,697

80

4

95

83

12

1,031

Рис. П5-2. Футорки.

Таблица П5-2

Футорки по ГОСТ 8960-59

Тип

Резьба, дюйм

d1

d2

I

1

3/4

II

11/2

3/4

II

11/2

1/

II

2

3/4

II

21/2

11/2

II

21/2

2

III

3

11/2

II

3

2

II

3

21/2

Приложение 6

Форма 483

Главэлектромонтаж                                   Город (поселок)__________________

Трест__________________                         Предприятие (заказчик)___________

Му_____________________                         Объект _________________________

Участок________________                         Место установки ________________

Дата «____»___________19__г.

ПРОТОКОЛ №_____
испытания давлением локальных разделительных уплотнений или стальных труб для

электропроводок во взрывоопасных зонах

Комиссия в составе:

от монтажной организации _____________________________________________________

_____________________________________________________________________________

(должность, фамилия, и. о.)

от заказчика___________________________________________________________________

_____________________________________________________________________________

(должность, фамилия, и. о.)

произвела испытания давлением на плотность разделительных уплотнений или участков

трубных коммуникаций.

Участок (помещение, от - до)

Испытательное давление, кПа (кгс/см2)

Продолжительность испытания, мин

Падение давления при испытании, %

Примечание

 

 

 

 

 

Представители                                                                  Представители

монтажной организации                                                             заказчика

 

Приложение 7

САЛЬНИКИ ДЛЯ ЭЛЕКТРИЧЕСКИХ КАБЕЛЕЙ

Таблица П7-1

Сальники трубные по ТУ 36.108-72

Индекс

Условный проход трубы, мм

Размеры, мм

Диаметр проходного отверстия в шайбе, мм

Масса 100 штук, кг

l

D

d

У57/I

20

30

32

16

10

11,2

У57/II

12

10,9

У57/III

16

10,6

У58/I

25

35

38

22

16

15,2

У58/II

18

14,9

У58/III

22

14,3

У60/I

40

43

55

32

20

40,3

У60/II

24

39,1

У60/III

28

38,7

У60/IV

32

37,1

Рис. П7-1. Сальники трубные по ТУ 36.108-72.

Таблица П7-2

Сальники ввертные по ТУ 36.108-72

Индекс

Размеры

Диаметр проходного отверстия в шайбе, мм

Масса 100 шт., кг

D (резьба трубная), дюйм

l, мм

d, мм

У50/I

3/4

35

12

10

8,9

У50/II

У51/I

1

38

16

10

15,5

У51/II

12

15,2

У51/III

16

14,9

У52/I

11/2

39

22

16

35,9

У52/II

18

35,6

У52/III

22

35

Рис. П7-2. Сальники ввертные по ТУ 36.108-72.

Приложение 8

ВЗРЫВОЗАЩИЩЕННЫЕ ЭЛЕКТРОДВИГАТЕЛИ

Технические данные

Таблица П8-1

Электродвигатели единой серии ВАО 0-9-го габаритов на номинальное напряжение 380/660 В в исполнении до В3Г включительно по ГОСТ 6661-74

Электродвигатель

Номинальная мощность, кВт

Ток статора, А

КПД, %

сos j

380 В

660 В

Частота вращения 3000 об/мин (синхр.)

ВАО-11-2

0,8

1,9

1,1

78,0

0,83

6,0

ВАО-12-2

1,1

2,5

1,5

79,0

0,85

6,0

ВАО-21-2

1,5

3,4

2,0

79,0

0,88

6,0

ВАО-22-2

2,2

4,8

2,8

80,5

0,88

6,0

ВАО-31-2

3,0

6,5

3,7

82,0

0,88

7,0

ВАО-32-2

4,0

8,5

4,9

84,0

0,88

7,0

ВАО-41-2

5,5

11,5

6,5

85,0

0,88

7,0

ВАО-42-2

7,5

15,0

8,5

85,5

0,88

7,0

ВАО-51-2

10

20,0

11,5

87,0

0,88

7,0

ВАО-52-2

13

26,0

15,0

87,5

0,88

7,0

ВАО-62-2

17

33,0

19,0

87,0

0,90

7,0

ВАО-71-2

22

42,0

24,0

87,5

0,90

7,0

ВАО-72-2

30

57,0

33,0

88,5

0,90

7,0

ВАО-81-2

40

77,5

45,0

89,0

0,90

7,0

ВАО-82-2

55

107,5

62,0

90,0

0,90

7,0

ВАО-91-2

75

145,0

83,5

90,0

0,88

6,5

ВАО-92-2

100

190,0

110,0

90,5

0,88

7,0

Частота вращения 1500 об/мин (синхр.)

ВАО-11-4

0,6

1,9

1,1

72,0

0,70

5,0

ВАО-12-4

0,8

2,5

1,4

74,0

0,75

5,0

ВАО-21-4

1,1

2,9

1,7

76,0

0,78

6,0

ВАО-22-4

1,5

3,7

2,1

78,0

0,80

6,0

ВАО-31-4

2,2

5,0

2,9

80,0

0,83

6,0

ВАО-32-4

3,0

7,0

3,9

81,0

0,84

6,0

ВАО-41-4

4,0

8,5

4,9

84,5

0,84

6,0

ВАО-42-4

5,5

11,5

6,5

86,0

0,85

6,0

ВАО-51-4

7,5

15,0

8,5

88,0

0,86

6,5

ВАО-52-4

10

20,0

11,5

88,5

0,86

7,0

ВАО-61-4

13

26,0

15,0

88,0

0,86

7,0

ВАО-62-4

17

33,5

19,5

89,0

0,88

7,0

ВАО-71-4

22

43,0

25,0

89,5

0,88

7,0

ВАО-72-4

30

33,5

90,5

90,0

0,88

7,0

ВАО-81-4

40

77,0

44,5

90,5

0,88

6,5

ВАО-82-4

55

105,0

61,0

91,0

0,88

6,5

ВАО-91-4

75

146,0

84,0

91,5

0,87

6,5

ВАО-92-4

100

195,0

113,0

91,0

0,88

6,5

Частота вращения 1000 об/мин (синхр.)

ВАО-11-6

0,4

1,5

0,8

63,0

0,64

4,5

ВАО-12-6

0,6

2,2

1,3

66,0

0,66

4,5

ВАО-21-6

0,8

2,5

1,5

70,0

0,71

4,5

ВА0-22-6

1,1

3,4

2,0

73,0

0,72

4,5

ВАО-31-6

1,5

4,2

2,5

77,0

0,72

5

ВАО-32-6

2,2

6,0

3,5

77,5

0,74

5

ВАО-41-6

3,0

7,5

4,3

79,0

0,76

6

ВАО-42-6

4,0

9,5

5,5

81,5

0,77

6

ВАО-51-6

5,5

13,0

7,5

84,0

0,79

6

ВАО-52-6

7,5

16,0

9,5

85,5

0,80

6,5

ВАО-61-6

10

21,0

12,0

86,0

0,85

6,5

ВАО-62-6

13

27,0

15,5

86,5

0,86

6,5

ВАО-71-6

17

36,0

20,0

88,5

0,86

7

ВАО-72-6

22

44,0

25,0

89,5

0,88

7

ВАО-81-6

30

49,5

35,0

90,0

0,88

7

ВАО-82-6

40

78,5

45,5

90,5

0,88

7

ВАО-91-6

55

109,0

63,0

90,5

0,83

6,5

ВАО-92-6

75

148,0

85,5

91,0

0,84

6,5

Частота вращения 750 об/мин (синхр.)

ВАО-41-8

2,2

6,0

3,5

76,5

0,70

4,5

ВАО-42-8

3,0

8,5

4,9

78,0

0,70

4,5

ВАО-51-8

4,0

11,0

6,0

82,0

0,70

5,5

ВАО-52-8

5,5

14,0

8,0

83,0

0,70

6,0

ВАО-61-8

7,5

17,5

10,0

83,0

0,76

6,0

ВАО-62-8

10

23,5

13,5

84,5

0,77

6,0

ВАО-71-8

13

30,0

17,0

87,0

0,79

6,0

ВАО-72-8

17

38,0

22,0

88,0

0,80

6,0

ВАО-81-8

22

48,0

28,0

88,5

0,83

6,0

ВАО-82-8

30

65,0

38,0

89,5

0,81

6,0

ВАО-91-8

40

88,0

51,0

89,5

0,76

6,0

ВАО-92-8

55

116,0

67,0

90,0

0,78

6,0

Частота вращения 600 об/мин (синхр.)

ВАО-81-10

17

42,0

24,0

86,0

0,72

5,5

ВАО-82-10

22

52,0

30,0

87,0

0,73

5,5

ВАО-91-10

30

70,0

40,0

87,5

0,73

5,5

ВАО-92-10

40

93,5

54,0

88,0

0,73

5,5

Примечание. Наименование серии расшифровывается следующим образом; В - взрывозащищенный, А - асинхронный, О - обдуваемый. Первая цифра в названии условно обозначает порядковый номер диаметра пакета статора (габарит), вторая цифра - длину пакета статора, третья цифра - число полюсов. Например, ВАО-62-4 - расшифровывается следующим образом: взрывозащищенный асинхронный обдуваемый 6-го габарита, второй величины, четырехполюсный (синхронная частота вращения 1500 об/мин).

Таблица П8-2

Электродвигатели единой серии ВАО мощностью от 132 до 315 кВт на номинальное напряжение 280/660 В в исполнении до В3Т4 включительно по ГОСТ 16311-70

Электродвигатель

Номинальная мощность, кВт

Ток статора, А

КПД, %

cos j

 

380 В

660 В

Частота вращения 3000 об/мин (синхр.)

ВАО-315S-2

132

245,0

140

92,5

0,90

6,5

ВАО-315М-2

160

285,0

160

93,0

0,91

7

ВАО-355М-2

200

365,0

210

93,5

0,90

7

ВАО-355L-2

250

-

260

94,0

0,90

7

ВАО-450S-2

315

-

325

94,0

0,92

7

Частота вращения 1500 об/мин (синхр.)

ВАО-315S-4

132

245

140

93,5

0,88

6,5

ВАО-315М-4

160

300

170

94,0

0,88

6,5

ВАО-355М-4

200

365

210

94,0

0,88

6,5

ВАО-355L-4

250

-

260

94,5

0,89

6,5

ВАО-450S-4

315

-

325

94,5

0,89

6,5

Частота вращения 1000 об/мин (синхр.)

ВАО-315S-6

110

205

120

93,5

0,87

6

ВАО-315М-6

132

250

145

93,5

0,87

6

ВАО-355М-6

160

295

170

94,0

0,87

6

ВАО-355L-6

200

365

210

94,5

0,88

6

ВАО-450S-6

250

-

265

95,0

0,88

6

ВАО-450М-6

315

-

335

95,3

0,88

6

Частота вращения 750 об/мин (синхр.)

ВАО-315S-8

75

150

85

92,5

0,83

5,5

ВАО-315S-8

90

180

105

92,5

0,83

5,5

ВАО-315М-8

110

215

125

93,0

0,83

5,5

ВАО-355М-8

132

250

145

93,5

0,85

5,5

ВАО-355L-8

160

305

175

94,0

0,85

5,5

ВАО-450S-8

200

380

220

94,0

0,85

6,0

ВАО-450М-8

250

-

270

94,5

0,85

6,0

Частота вращения 600 об/мин (синхр.)

ВАО-315S-10

55

130

75

91,5

0,71

5

ВАО-315М-10

75

165

95

92,5

0,73

5

ВАО-355М-10

90

190

110

93,0

0,76

5

ВАО-355М-10

110

235

135

93,5

0,77

5

ВАО-355L-10

132

275

160

93,5

0,78

5

ВАО-450S-10

160

335

195

94,0

0,77

5,5

ВАО-450М-10

200

415

240

94,5

0,78

5,5

Примечание. Наименование серии расшифровывается следующим образом: В - взрывозащищенный, А - асинхронный, О - обдуваемый; цифры после букв обозначают высоту оси вращения, мм; латинские буквы - длину станины (S - первая длинна М - вторая; L - третья), цифры после дефиса - число полюсов. Например, ВАО-315М-2 расшифровывается следующим образом: взрывозащищенный асинхронный обдуваемый с высотой оси вращения 315 мм, второй длины, с частотой вращения 3000 об/мни.

Таблица П8-3

Электродвигатели серии ВАО 450-630 габаритов на номинальное напряжение 6000 В в исполнении до ВЗТ4 включительно по ГОСТ 16311-70

Электродвигатель

Номинальная мощность, кВт

Ток  статора, А

КПД, %

cos j

Частота вращения 3000 об/мин (синхр.)

ВАО-450М-2

200

23,1

93,7

0,86

6,5

ВАО-450L-2

250

28,7

94,2

0,88

6,5

ВАО-500М-2

315

37,5

94,0

0,89

6,5

ВАО-500L-2

400

45,0

94,2

0,89

6,5

Частота вращения 1500 об/мин (синхр.)

ВАО-450М-4

200

23,4

93,0

0,87

6,0

ВАО-450L-4

250

29,3

93,2

0,87

6,0

ВАО-500М-4

315

36,6

94,0

0,87

6,0

ВАО-500L-4

400

45,4

94,5

0,88

6,0

ВАО-560М-4

500

56,3

94,0

0,90

6,5

ВАО-560L-4

630

70,0

94,5

0,90

6,5

ВАО-630М-4

800

89,0

95,0

0,90

6,5

ВАО-630L-4

1000

111,0

95,4

0,90

6,5

Частота вращения 1000 об/мин (синхр.)

ВАО-450L-6

200

24,0

93,5

0,84

5,5

ВАО-500М-6

250

29,5

94,0

0,87

5,5

ВАО-500L-6

315

37,4

94,5

0,87

5,5

ВАО-560М-6

400

45,8

94,2

0,88

6,0

ВАО-560L-6

500

57,0

94,5

0,89

6,0

ВАО-630М-6

630

71,0

94,9

0,89

6,0

ВАО-630L-6

800

91,0

95,3

0,89

6,0

Частота вращения 750 об/мин (синхр.)

ВАО-500М-8

200

25,2

93,2

0,79

5,5

ВАО-500L-8

250

31,5

93,7

0,79

5,5

ВАО-560М-8

315

39,6

93,9

0,81

5,5

ВАО-560L-8

400

50,0

94,3

0,81

5,5

ВАО-630М-8

500

61,0

94,7

0,82

5,5

ВАО-630L-8

630

74,7

95,0

0,84

5,5

Таблица П8-4

Электродвигатели серии МА36 4 - 7-го габаритов на номинальное напряжение 380/660 В в исполнении до ВЗГ включительно по ТУ 16.513.246-70 (4-й и 5-й габариты) и по СТУ 79-1224-64 (6-й и 7-й габариты)

Электродвигатель

Номинальная мощность, кВт

КПД, %

cos j

 

Частота вращения 3000 об/мин (синхр.)

МА36-40/2

75

91,5

0,90

6,5

МА36-41/2

100

92,0

0,90

6,5

МА36-50/2

125

92,0

0,90

6,5

МА36-51/2

160

92,5

0,90

6,5

МА36-52/2

100

92,0

0,84

6,0

МА36-60/2

200

92,5

0,90

6,5

МА36-61/2

250

92,5

0,94

6,5

Частота вращения 1500 об/мин (синхр.)

МА36-41/4

75

91,5

0,84

6,5

МА36-42/4

100

92,0

0,85

6,5

МА36-51/4

125

92,0

0,86

6,5

МА36-52/4

160

92,5

0,84

6,5

МА36-61/4

200

92,0

0,88

6,5

МА36-62/4

250

93,0

0,89

6,5

МА36-71/4

315

93,0

0,89

6,5

МА36-72/4

400

93,0

0,89

6,5

Частота вращения 1000 об/мин (синхр.)

МА36-41/6

55

91,0

0,83

6,5

МА36-42/6

75

91,5

0,84

6,5

МА36-51/6

100

91,5

0,85

6,5

МА36-52/6

125

92,0

0,86

6,5

МА36-61/6

160

93,0

0,86

6,5

МА36-62/6

200

93,0

0,86

6,5

МА36-71/6

250

93,5

0,86

6,5

МА36-72/6

315

93,5

0,86

6,5

Частота вращения 750 об/мин (синхр.)

МА36-41/8

40

90,5

0,79

6,0

МА36-48/8

55

91,5

0,82

6,0

МА36-51/8

75

91,5

0,83

6,0

МА36-61/8

125

92,5

0,84

6,0

МА36-62/8

160

93,5

0,84

6,0

МА36-71/8

200

93,5

0,85

6,0

МА36-72/8

250

93,5

0,85

6,0

Таблица П8-5

Электродвигатели серии «Украина» на номинальное напряжение 6000 В в исполнении до В3Г включительно по ТУ 16.510.098-69

Электродвигатель

Номинальная мощность, кВт

КПД, %

cos j

Частота вращения 3000 об/мин (синхр.)

«Украина-11-1/2»

200

92,5

0,88

6,0

«Украина-11-2/2

250

93,0

0,88

6,5

«Украина-11-3/2

315

93,5

0,88

6,5

«Украина-11-4/2

400

94,0

0,88

6,5

«Украина-12-2/2

500

94,0

0,88

6,5

«Украина-12-3/2

630

94,0

0,89

6,5

«Украина-12-4/2

800

94,6

0,90

6,5

Частота вращения 500 об/мин (синхр.)

«Украина-11-1/4»

200

93,0

0,84

6,0

«Украина-11-2/4»

250

93,5

0,84

6,0

«Украина-11-3/4»

315

94,4

0,84

6,0

«Украина-11-4/4»

400

94,5

0,85

6,0

«Украина-12-2/4»

500

94,6

0,86

6,0

«Украина-12-3/4»

630

94,7

0,87

6,0

«Украина-12-4/4»

800

95,0

0,87

6,5

«Украина-12-5/4»

1000

95,2

0,87

6,7

«Украина-13-1/4»

1250

95,3

0,87

6,0

«Украина-13-2/4»

1600

95,5

0,88

6,0

Приложение 9

МАГНИТНЫЕ ПУСКАТЕЛИ И ПОСТЫ УПРАВЛЕНИЯ

Таблица П9-1

Пускатели серий ПМ-702А и ПМ-701А

Пускатель

Номина­льный ток пускателя, А

Мощность двигателя при напряжении 380 В, кВт

Наличие тепловой защиты от перегрузок

Количество блок-контактов н. о.

Количество блок-контактов н. з.

Предель­ный ток отклю­чения, А

Масса без масла, кг

Масса масла, кг

Условные обозначения взрывозащищен­ности

Размер трубной резьбы ввода, дюйм

ПМ-712А-25

25

13

Есть

1

2

550

17

2

НМБ

2´1

ПМ-722А-25

25

13

Нет

1

2

550

16

2

НМГ

2´1

ПМ-712А-100

100

55

Есть

1

2

1300

27

3

НМБ

2´11/2

ПМ-722А-100

100

55

Нет

1

2

1300

26

3

НМГ

2´11/2

ПМ-711А-250

250

100

Есть

1

2

2300

56

12

НМБ

2´21/2

ПМ-721А-250

250

100

Нет

1

2

2300

55

12

НМГ

2´21/2

Рис. П9-1. Магнитные пускатели повышенной надежности против взрыва с маслонаполненными элементами.

а - пускатели ПМ 702А-25; б - пускатели ПМ 702А-100 и ПМ 701А-250.

Пускатель

A

B

C

D

E

L

M

ПМ 702А-25

278

215

58

207

282

356

10

ПМ 702А-100

303

250

60

340

318

430

10

ПМ 701А-250

356

290

60

480

330

452

10

Таблица П9-2

Посты управления в исполнении М'ОД на номинальное напряжение до 500 В и номинальный ток 5 А (КУ-700 по ТУ 16.526.039-68; ВК-700 по ТУ 16.526.198-70)

Пост управления

Количество кнопочных элементов

Способ управления

Объем масла, л

Масса, кг

Позиция на рис. П9-2

КУ-700/2

2

Рукоятка

0,5,

3

а

КУ1-700/2

2

Трос

0,5

3,3

-

КУ-700/3

3

Рукоятка

0,75

4,2

б

ВК-700

2

Рычаг

0,5

3,3

в

КУ-700/2Т

2

Рукоятка

0,5

6,5

а

КУ1-700/2Т

2

Трос

0,5

6,8

-

КУ-700/3Т

3

Рукоятка

0,75

8,7

б

ВК-700Т

2

Рычаг

0,5

6,8

в

__________________

Кроме приведенных в таблице посты управления выпускаются в следующих исполнениях: КУ-703 - с фиксацией кнопки «Стоп»; КУ-701 - с фиксацией кнопок «Ход» и «Стоп»; КУ-701 - утопленные без фиксации; КУ-702 - утопленные с фиксацией кнопок «Стоп» или «Ход» и «Стоп».

Посты управления утопленного исполнения предназначены для встройки в комплектные пульты управления и располагаются внутри пульта с выводом на его лицевую сторону конца валика.

Рис. П9-2. Маслонаполненные посты управления серии КУ-700 и конечные выключатели ВК-700.

а - пост КУ-700/2; б - пост КУ-700/3; в - выключатель ВК-700.

Технические данные

постов управления серии КУ-90 в исполнении В3Г по ТУ 16.526.201-70

Номинальный переменный ток при номинальном напряжении 380 В, А .........................  10

Номинальный постоянный ток при номинальном напряжении 110/220 В, А ................  10/5

Количество элементов:

КУ-91 .........................................................................................  1

КУ-92 .........................................................................................  2

КУ-93 .........................................................................................  3

Количество вводов:

КУ-91 .........................................................................................  1

КУ-92, КУ-93 ............................................................................  2

Диаметр отверстий в сальниках, мм:

наибольший ............................................................................. 24

наименьший ............................................................................. 12

Масса, кг:

КУ-91 ....................................................................................... 0,7

КУ-92 ....................................................................................... 0,9

КУ-93 ....................................................................................... 1,5

Рис. П9-3. Посты управления взрывонепроницаемые КУ-90-В3Г.

Технические данные

постов управления серии КУВ в исполнении РВ-В1А на номинальное напряжение до 660 В включительно (КУВ-1 - КУВ-3 по ТУ 16.526.204-70; КУВ-11 - КУВ-13 по ТУ 16.526.164-70)

Номинальный ток, А:

КУВ-1, КУВ-2, КУВ-3 ......................................................  2,5

КУВ-11, КУВ-12, КУВ-13 ................................................  3,5

Количество элементов:

КУВ-1, КУВ-11 ..................................................................  1

КУВ-2, КУВ-12 ...................................................................  2

КУВ-3, КУВ-13 ...................................................................  3

Количество вводов:

КУВ-1, КУВ-11 ...................................................................  1

КУВ-2, КУВ-3, КУВ-12, КУВ-13 ......................................  2

Диаметр отверстий в сальниках, мм:

наибольший .......................................................................  28

наименьший .......................................................................  16

Масса, кг:

КУВ-1 ................................................................................. 8,5

КУВ-2, КУВ-13 .................................................................. 11

КУВ-3................................................................................... 13

КУВ-11 .................................................................................  6

КУВ-12 .................................................................................  9

Рис. П9-4. Кнопочные посты управления серии КУВ (основные размеры).

Рис. П9-5. Колонка управления К-3Г (ОТУ 24-7-245-69).

Рис П9-6. Электрическая схема колонки управления К-3Г.

ЛК - лампа красная ЛС-53; ЛЗ - лампа зеленая ЛС-53; С - сопротивление в комплекте с лампой; А - амперметр Э-421 для работы с трансформатором тока; УП - универсальный переключатель УП-5314; КС - кнопка «Стоп» КУ-2; КП - кнопка «Пуск» КУ-2; ВК -  ввод кабельный.

Приложение 10

Взрывозащищенные светильники

Светильник

Номи­наль­ное нап­ряже­ние, В

Область применения

Размеры, мм

Масса, кг

 

высота

диаметр (или длина)

ши­ри­на

 

В3Г-200АМ с отражателем и сеткой (ТУ 16.535.778-73), В3Г-200А (ТУ 16.535.181-68)

127, 220

Во взрывоопасных зонах классов В-I, В-Iа со средой до 3Г включительно, а также в зоне класса В-II, опасной по пыли, в зоне класса В-Iг под навесом

360

398

-

6,6

 

В3Г/В4А-200М с отражателем и сеткой (ТУ 16.545.778-73), В3Г/В4А-200 (ТУ 16.535.303-69)

127, 220

Во взрывоопасных зонах классов В-I, В-Iа со средой до 3Г или 4А включительно, а также в зоне класса В-II, опасной по пыли в зоне класса В-Iг под навесом

425

378

-

8,4

 

Н4БН-150 (ТУ 16.535.878-74), Н4Т2Н-300 с отражателем и сеткой (ТУ 16.545.013-75)

127,

Во взрывоопасных зонах классов В-Iа, В-Iб, В-Iг со средой до 4б включительно, а также в зонах классов В-II и В-IIа, опасных по пыли

400

400

-

7,0

220

450

525

-

12,5

 

 

 

 

 

 

 

 

 

 

 

 

 

 

 

НОДЛ-1´40,

220

Во взрывоопасных зонах класса В-Iа со средой для всех категорий и групп Г или Д включительно, а также в зоне класса В-II, опасной по пыли

390

1355

-

12,5

НОГЛ-1´80,

390

1655

-

15,0

НОГЛ-2´80,

390

1655

-

25,0

(ТУ16.535.877-70)

В3Г-100 (ТУ 16535.477-70)

127, 220

Во взрывоопасных зонах классов В-I, В-Iа со средой до 3Г включительно, а также в зоне класса В-II, опасной по пыли

305

300

180

9

 

В4А-60 (ТУ 16.535.478-70)

127, 220

Во взрывоопасных зонах В-I, В-Iа, со средой до 4А включительно, а также в зоне В-II, опасной по пыли

220

285

200

6

 

Приложение 11

КЛАССИФИКАЦИЯ И ХАРАКТЕРИСТИКА ВЗРЫВООПАСНЫХ ЗОН

Взрывоопасная зона - пространство, в котором имеются или могут появиться взрывоопасные смеси и в пределах которого на исполнение электрооборудования накладываются ограничения с целью уменьшения вероятности возникновения взрыва, вызванного электрооборудованием.

Зоны класса В-I. К ним относятся зоны, расположенные в помещениях, в которых выделяются пары ЛВЖ или горючие газы в таком количестве и обладающие такими свойствами, что они могут образовать с воздухом взрывоопасные смеси при нормальных недлительных режимах работы, например при загрузке или разгрузке технологических аппаратов, хранении или переливании ЛВЖ, находящихся в открытых сосудах и т.п.

Зоны класса В-Iа. К ним относятся зоны, расположенные в помещениях, в которых при нормальной эксплуатации взрывоопасные смеси паров ЛВЖ или горючих газов с воздухом не имеют места, а возможны только в результате аварий или неисправностей.

Зоны класса В-Iб. К ним относятся зоны, расположенные в помещениях, в которых при нормальной эксплуатации взрывоопасные смеси паров ЛВЖ или горючих газов с воздухом не имеют места, а возможны только в результате аварии и неисправностей и которые отличаются одной из следующих особенностей:

а) горючие газы в этих зонах обладают нижним пределом взрываемости (15 % и более) и резким запахом при предельно допустимых по санитарным нормам концентрациях (например, машинные залы аммиачных, компрессорных и холодильных абсорбционных установок);

б) образование в аварийных случаях взрывоопасной концентрации в объеме более 5 % объема помещения по условиям технологического процесса исключается, а возможна лишь местная взрывоопасная концентрация (например, помещения электролиза воды и поваренной соли);

в) ЛВЖ и горючие газы имеются в зоне в небольших количествах, недостаточных для создания в ней общей взрывоопасной концентрации (до 5 % объема помещения), и работа с ними производится без применения открытого пламени. Эти зоны относятся к невзрывоопасным, если работы в них производятся в вытяжных шкафах или под вытяжными зонтами.

Зоны классов В-Iг. К ним относятся:

а) наружные технологические взрывоопасные установки (в том числе расположенные под навесами), содержащие горючие газы или ЛВЖ (исключение составляют наружные аммиачные компрессорные установки);

б) газгольдеры, резервуары и резервуарные парки с горючими газами или ЛВЖ;

в) эстакады для слива и налива ЛВЖ;

г) открытые нефтеловушки, пруды-отстойники с плавающей нефтяной пленкой и т.п.

Для наружных установок и сооружений взрывоопасной считается зона в пределах:

а) до 0,5 м - по горизонтали и вертикали от проемов окон и дверей по наружной стороне стен помещения;

б) до 3 м - по горизонтали и вертикали от закрытого технологического оборудования, содержащего ЛВЖ или горючие газы;

в) до 5 м - по горизонтали и вертикали от дыхательных и предохранительных клапанов технологического оборудования, содержащего ЛВЖ или горючие газы;

г) до 20 м - по горизонтали и вертикали от места открытого слива и налива для эстакад с открытым сливом и наливом ЛВЖ;

д) в пределах всей площади обвалования - для отдельных газгольдеров и резервуаров и резервуарных парков с горючими газами и ЛВЖ.

Наружные открытые эстакады с трубопроводами для горючих газов и ЛВЖ относятся к невзрывоопасным. Электрооборудование арматуры, установленной на трубопроводах, должно быть взрывозащищенным для соответствующей категории и группы взрывоопасной смеси.

Кровли зданий, содержащих взрывоопасные зоны, относятся к зонам класса В-Iг, если на них или вблизи от них расположены выходы вытяжной вентиляции и им подобные устройства, либо они входят в пределы наружных взрывоопасных зон соседних установок.

Зоны класса В-II. К ним относятся зоны, расположенные в помещениях, в которых выделяются переходящие во взвешенное состояние горючие пыли или волокна, способные образовать с воздухом взрывоопасные смеси при нормальных недлительных режимах работы, например при загрузке и разгрузке технологических аппаратов.

Зоны класса В-Па. К ним относятся зоны, расположенные в помещениях, в которых опасные состояния, приведенные для зон класса В-II, не имеют места при нормальной эксплуатации, а возможны только в результате аварии или неисправностей.


Приложение 12

Распределение взрывоопасных веществ, образующих взрывоопасную смесь с воздухом, по категориям и группам по состоянию на 1 января 1973 г.

Категория взрывоопасной смеси

Группы взрывоопасной смеси

Т1

Т2

ТЗ

Т4

Т5

1

Аллин хлористый, аммиак, ацетонитрил, винилиден хлористый, дихлорэтан, изобутилен, кислота уксусная, метан, метилацетат, метилстирол, метил хлористый, метилхлорфирмиат, метилфенилдихлорсилан, бензотрифторид, 1,2-дихлорпропан, метилизоцианат

Алкилбензол, амилацетат, ангидрид уксусный, винилацетат, винилиден фтористый, диизопропиламин, изопрен, изопропиламин, кислота пропионовая, метилметакрилат, метилтрихлорсилан, ме-тилхлор, метилдихлоренлан, пропиламин, ацетон, ацетил хлористый, диатол, моноизобутиламин, метилмеохаптан, 2-метилтиофен

Полиэфир ТГМ-3, растворитель № 651, скипидар, спирт амиловый, уайт-спирит, циклогексан, этилдихлортиофосфат, днизобутиламин

-

-

1

Растворители:

Р-5, РС-1, Р4, РЭ-1, сольвент каменноугольный, трифторхлорпропан, трифторэтан, трифторхлорэтилен, фенилтрихлорсилан, трифторпропан, циклогексанон

Растворители:

646, 647, 648, 649, РКБ-1, РКБ-2, РС2, РДВ Спирты: бутиловый (третичный), изоамиловый, изобутиловый, изопропиловый Трифторпропилметилдихлорсилан, трифторэтилен, трихлорэтилен, хлорметилтрихлорсилан, g-хлорпропилтрихлорсилан, этиллидендиацетат, хлористый изобутил

-

-

-

2

Ацетон, бензин Б-100, бензол, винил хлористый, газ доменный, изобутан, изопропилбензол, ксилол, нафталин, окись углерода, пиридин, пропан, стирол, толуол, триэтиламин, хлорбензол, циклопентадиен, этан, этил хлористый, этилбензол, эфир диизопропиловый, диэтиламин, метилэтилкетон

Бензин Б-95/130, бутан, бутилацетат, дивинил, диметиламин, диметилдихлорсилан, диоксан, диэтилдихлорсилан, изопентан, кислота акриловая, метилкрилат, метиламин, метилвинилдихлорсилан, метилфуран, нитрил акриловой кислоты, нитроциклогексан, пентан, пропилен, бутилпропионат, диэтилхлорсилан, камфарное масло, лак метилизобетилкетон, окись мезитила, лак НЦ-224, пентадиент 1,3 Спирты: n-бутиловый, метиловый, этиловый

Амонопропилтриэтоксисилан, бензин А-66, бензин А-72, бензин А-76, бензин «ка­лоша», бензин с октановым числом 50 - 54, бензин экстракционный-63, бутилметакрилат, гексан, «гептил», дипромиламин, изоктилен, керосин гидрированный с трибутилфосфатом, керосин тракторный, нефть сырая ромашкинская, «самин», тетрагидрофуран, тетраэтоксисилан, топливо дизельное (зимнее), топливо Т-1

Ацетальдегид, дибутиловый эфир, этиленгликоль, диэтиловый эфир, 1-1, 3-триэтоксибутан

-

2

 

Триметилхлорсилен, фуран, фурфурол, этилацетат, эпихлоргидрин Растворители: АМР-3, БЭФ, АКР

топливо ТС-1, триметиламин, триэтоксисилан, этилмеркаптан, этилцеллозольв, формальгликоль, g-хлорпропинлтриэтоксисилан, акролеин, бензин, гелтан, бензин Б-70

-

-

3

Коксовый газ (метана 40 %, водорода 60 %), светильный газ, этилен

Окись этилена, окись пропилена, этилтрихлорсилан

Винилтрихлорсилан, этилдихлорсилан

Диэтиловый (серный) эфир

-

Водород, водяной газ

 

Сероводород

-

Сероуглерод

-

Ацетилен, метилдихлорсилан

Трихлорсилан

-

-


Приложение 13

Примеры маркировки взрывозащищенного электрооборудования

Взрывозащита

Категория и группа взрывоопасных смесей, для которых предназначено электрооборудование

Маркировка

Уровень

Вид

Взрывобезопасность

Взрывонепроницаемая оболочка

1-я и 2-я категории, группы Т1 и Т2

То же

То же

Все среды

То же

Погружение в масло

То же

То же

Погружение в масло с взрывонепроницаемыми элементами

1, 2 и 3-я категории, группа Т1

То же

Продувка под избыточным давлением

Все среды

То же

Искробезопасность

То же

То же

Искробезопасность со взрывонепроницаемыми элементами

1, 2 и 3-я категории, группы Т1 - Т4

Взрывобезопасность при любых количествах повреждений

Искробезопасность

Все среды

Повышенная надежность против взрыва

Повышенная надежность (меры и средства, затрудняющие возникновение опасных искр, дуг и нагрева)

Все категории, группы Т1 -  Т4