ГОСУДАРСТВЕННЫЙ СТАНДАРТ СОЮЗА ССР

Ворота деревянные распашные
для производственных зданий
и сооружений

Технические условия

ГОСТ 18853-73

государственный комитет ссср по стандартам

Москва

ГОСУДАРСТВЕННЫЙ СТАНДАРТ СОЮЗА ССР

Ворота деревянные распашные для производственных зданий и сооружений

Технические условия

Swing wooden gates for industrial buildings and structures.

Specifications

ГОСТ
18853-73*

Постановлением Государственного комитета Совета Министров СССР по делам строительства от 29 мая 1973 г. № 79 срок введения установлен

с 01.07.74

Настоящий стандарт распространяется на деревянные распашные ворота для зданий и сооружений сельскохозяйственных и промышленных предприятий с размерами по ширине и высоте не более 3 м.

Стандарт не распространяется на ворота специального назначения.

(Измененная редакция, Изм. № 1).

1. Типы и размеры

1.1. Ворота деревянные распашные подразделяют на глухие и с калиткой.

Ворота состоят из левого и правого полотен.

Калитка в воротах должна быть в правом полотне.

Открывание ворот и калиток должно быть наружу, только правое, с притвором в четверть.

1.2. Размеры ворот должны соответствовать указанным на черт. 1 и в табл. 1.

Схемы ворот

Черт. 1

Таблица 1

Размеры, мм

Типоразмер ворот

В

Н

В1

b

h

ВРГ30-30

2950

2900

1480

-

-

ВРГ30-27

2950

2600

1480

-

-

ВРГ24-24

2350

2300

1180

-

-

ВРК30-30

2950

2900

1480

800

1800

ВРК30-27

2950

2600

1480

800

1800

1.3. Общий вид ворот, форма и размеры сечений деталей ворот, а также размер зазора в притворе калитки должны соответствовать указанным на черт. 2 - 4.

1.2, 1.3. (Измененная редакция, Изм. № 1).

Общий вид ворот

Глухих

С калиткой

Сечения элементов приведены на черт. 3 и 4.

Черт. 2

Форма и размеры сечений деталей ворот с глухими полотнами

1 - листовая техническая резина толщиной 3 мм по ГОСТ 7338-77; 2,3 - наружная и внутренняя обшивка; 4 - оберточная бумага по ГОСТ 8273-75; 5 - упаковочная битумная бумага по ГОСТ 515-77; 6 - ДВП по ГОСТ 4598-74; 7 - тонколистовая оцинкованная сталь по ГОСТ 14918-80; 8 - стальная лента 20 ´ 2 мм по ГОСТ 6009-74; 9 - нащельник

Черт. 3

Примечание. Уплотнения притворов должны выполняться с обеих сторон полотна.

Форма и размеры сечений деталей ворот с калиткой

Черт. 4

Примечание. Уплотнения притворов калитки должны выполняться в соответствии с узлом 1 на черт. 3.

1.4. (Исключен, Изм. № 1).

1.5. Предельные отклонения от размеров полотен ворот, калиток и деталей каркаса указаны в табл. 2.

Таблица 2

Наименование элементов ворот

Пред. откл., мм

по высоте

по ширине

по толщине

Полотна ворот

±3

±3

±2

Калитки

±2

±2

±1

Детали каркаса

-

±2

±1

1.6. (Исключен, Изм. № 1).

1.7. Все размеры на чертежах приведены для неокрашенных деталей и изделий.

1.8. Условное обозначение ворот должно состоять из букв ВР (ворота распашные), Г (глухие) или К (с калиткой), двух чисел (через тире), означающих ширину и высоту проема в дециметрах, буквы Н для неутепленных ворот и обозначения настоящего стандарта.

Пример условного обозначения ворот распашных глухих шириной 30 и высотой 27 дм:

ВРГ30-27 ГОСТ 18853-73

То же, ворот с калиткой:

ВРК30-27 ГОСТ 18853-73

То же, ворот неутепленных:

ВРК30-27 Н ГОСТ 18853-73

(Измененная редакция, Изм. № 1).

2. Технические требования

2.1. Полотна ворот и калиток состоят из деревянных каркасов, обшитых с двух сторон по вертикали строгаными досками толщиной 16 мм и шириной от 50 до 120 мм, соединенными между собой по кромке в четверть или паз и гребень по ГОСТ 9330-76.

Ширина досок обшивки в комплекте ворот, состоящем из левого и правого полотен, должна быть одинаковой.

2.2. Допускается обшивка каркасов полотен ворот и калиток березовой фанерой марки ФСФ толщиной 6 мм не ниже сорта В/ВВ по ГОСТ 3916.1 или ГОСТ 3916.2.

Фанеру к каркасу полотен ворот крепят на клеях повышенной водостойкости и прижимают гвоздями длиной не менее 50 мм, располагаемыми на расстоянии 150 - 200 мм друг от друга.

На каждой стороне полотна должно быть более одного соединения листов фанеры. Соединения следует располагать на бруске каркаса.

2.3. Каркасы полотен ворот и калиток обшивают досками со стороны помещения по слою упаковочной битумной бумаги, а с наружной стороны - по слою оберточной бумаги (масса 1 м2 бумаги не должна быть менее 70 г).

Доски обшивки крепят к каркасам полотен ворот и калиток гвоздями длиной не менее 50 мм.

2.4. Между обшивками, внутри каркаса полотен ворот и калиток укладывают утеплитель, как указано на черт. 3 и 4.

В качестве утеплителя применяют изоляционные ДВП толщиной 12 мм по ГОСТ 4598-74.

Допускается применение и других теплоизоляционных материалов при условии отсутствия их усадки при ударах и сотрясениях ворот.

По требованию потребителей допускается изготовление неутепленных ворот с односторонней обшивкой.

Допускается заполнение утеплителем всей воздушной полости между обшивками.

(Измененная редакция, Изм. № 1).

2.5. Детали полотен ворот и калиток должны изготовляться из пиломатериалов хвойных пород не ниже 3-го сорта по ГОСТ 8486-66.

На лицевых поверхностях изделий обзол не допускается.

На нелицевых поверхностях изделий обзол должен быть очищен от коры и луба.

2.6. Сучки частично сросшиеся, несросшиеся, загнившие, гнилые табачные, а также смоляные кармашки в деталях обшивки должны быть плотно (на клее повышенной водостойкости) заделаны пробками или планками, а червоточины, отщепы и выколы - синтетическими замазками.

Размеры пробок не должны превышать размеров сучков, допускаемых для пиломатериалов 3-го сорта по ГОСТ 8486-66.

2.7. Влажность древесины деталей полотен ворот не должна быть более 18 абс. %.

Влажность древесины заделок должна быть на 2 - 3 абс. % ниже влажности древесины деталей.

2.8. Детали ворот могут изготовляться клееными по сечению и длине на клеях повышенной водостойкости. Соединения по длине должны быть выполнены на зубчатый шип по ГОСТ 9330-76.

Прочность клеевых соединений должна быть не менее, кгс/см2:

на скалывание вдоль волокон..................................................... 60

на изгиб деталей, склеенных на зубчатый шип......................... 150

Предприятие-изготовитель обязано проверить прочность клеевых соединений не реже одного раза в месяц и при получении каждой новой партии клея.

2.9. Угловые соединения брусков каркасов полотен ворот и калиток должны быть выполнены на двойные открытые сквозные шипы; соединения горизонтальных и вертикальных брусков, образующих притвор калитки, - на серединный сквозной одинарный шип.

Каркасы полотен ворот и калиток собирают на клеях повышенной водостойкости с креплением нагелями.

Провесы в местах соединений брусков каркасов не должны превышать ± 0,5 мм.

Бруски под обшивку следует крепить гвоздями к брускам каркаса.

2.10. Нащельники следует устанавливать на клеях повышенной водостойкости и прикреплять шурупами, имеющими антикоррозионное покрытие, с шагом 250 мм.

2.11. Изделия и их элементы должны иметь правильную геометрическую форму.

Отклонение от прямолинейности деталей не должно быть более 2 мм по всей длине. Отклонение от плоскостности полотен и калиток не должно быть более 3 мм по всей их поверхности.

2.12. Шероховатость лицевых поверхностей обшивки не должна быть более Rm 320 мкм, брусков каркаса - Rm 500 мкм по ГОСТ 7016-82.

2.13. Поверхности ворот должны иметь защитно-декоративное покрытие атмосферостойкими лакокрасочными материалами и соответствовать требованиям V класса по ГОСТ 24404-80. Допускается по согласованию изготовителя с потребителем поставка ворот с огрунтованными полотнами.

2.11 - 2.13. (Измененная редакция, Изм. № 1).

2.14. Форма и размеры металлических накладок и навесов должны соответствовать указанным на черт. 5 - 7.

Форма и размеры стальных накладок и навесов

а) общий вид стальных накладок с навесами

1 - деталь 1; 2 - деталь 2

Примечания:

1. Стальные накладки приведены на черт. 6.

2. Детали 1 и 2 приведены на черт. 7.

Черт. 5

б) стальные накладки

Примечания:

1. Накладки выполняют из стали толщиной 8 мм.

2. На черт. 5 и 6 стальные накладки и навесы показаны для левого полотна ворот; для правого полотна изображение - обратно чертежу (зеркальное).

Черт. 6

в) детали навесов

Деталь 1                                                        Деталь 2

Примечание. Деталь 1 приваривают к закладной детали колонны или стены, деталь 2 - к металлическим накладкам полотен ворот

Черт. 7

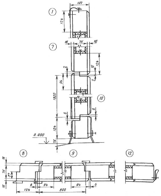
2.15. Крепление металлических накладок и навесов к полотнам ворот должно производиться, как указано на черт. 8 и 9.

Крепление металлических накладок и навесов

а) в глухих полотнах

Болты М12´120 - по ГОСТ 7798-70

Черт. 8

б) в полотнах с калиткой

Болты М12´120 по ГОСТ 7798-70.

Черт. 9

2.16. Накладки и навесы для установки их на полотна ворот должны иметь антикоррозионное покрытие. Допускается окраска их масляной краской за два раза.

2.17. Калитка должна быть навешена на две петли типа ПН1-130 по ГОСТ 5088-78. Петли устанавливают на расстоянии 200 мм от верха и низа полотна калитки.

2.18. Нижняя часть ворот должна быть защищена с обеих сторон полосами из оцинкованной стали толщиной 0,5 - 1,0 мм на высоту 250 - 300 мм.

2.19. Ворота должны поставляться предприятием-изготовителем в комплекте, состоящем из левого и правого полотен с прикрепленными к ним металлическими навесами и накладками, с навешенными на петли калитками и резиновыми уплотнителями притворов.

Детали навесов, привариваемые к закладным деталям при заполнении проемов, должны быть упакованы в тару и поставлены заказчику в комплекте с изделиями.

(Измененная редакция, Изм. № 1).

2.20. (Исключен, Изм. № 1).

2.21. Примеры установки ворот в железобетонных и кирпичных стенах приведены в приложениях 1 и 2.

(Измененная редакция, Изм. № 1).

2.22. Ворота должны быть поштучно приняты отделом технического контроля предприятия-изготовителя.

2.23. Навесы, гвозди, шурупы, болты и другие крепежные изделия должны иметь антикоррозионное покрытие.

(Введен дополнительно, Изм. № 1).

3. Правила приемки и методы испытаний

3.1. Ворота принимают партиями. Объем партии устанавливают по согласованию изготовителя с потребителем.

(Измененная редакция, Изм. № 1).

3.2. Для контрольной проверки потребителем качества ворот от каждой партии отбирают 3 % ворот, но не менее 2 шт.

Если в результате проверки ворота не будут соответствовать хотя бы одному из требований настоящего стандарта, производят поштучно приемку ворот.

3.3. Размеры, отклонения от формы проверяют с погрешностью до 1 мм металлическим измерительным инструментом; качество покрытия проверяют визуально; требования к материалам - по НТД, определяющей их качество.

(Измененная редакция, Изм. № 1).

3.4. Влажность древесины ворот определяют по ГОСТ 16588-79 или влагомером.

3.5. Прочность клеевых соединений ворот проверяют по ГОСТ 15613.1-77 и ГОСТ 15613.4-78, водостойкость - по ГОСТ 17005-82.

3.6. Шероховатость лицевых поверхностей ворот определяют по ГОСТ 15612-78.

3.7. (Исключен, Изм. № 1).

4. Маркировка, хранение и транспортирование

4.1. На боковой кромке каждого изделия должны быть несмываемой краской нанесены: товарный знак предприятия-изготовителя, адрес предприятия-изготовителя, условное обозначение ворот, масса и дата выпуска изделия.

(Измененная редакция, Изм. № 1).

4.2. Ворота должны быть рассортированы по маркам и храниться в закрытом складе установленными на ребро, в вертикальном положении.

4.3. При хранении и транспортировании ворот должны быть приняты меры к предохранению их от механических повреждений, увлажнения и загрязнения.

Приложение 1
Справочное

Пример установки ворот в проемах с железобетонным каркасом

1 - железобетонный каркас; 2 - полотно ворот; 3 уголок 150´100´10; 4 уголок обрамления 45´45´5

Приложение 2
Справочное

Пример крепления обрамления проемов ворот к кирпичной стене

1 - железобетонная перемычка по проекту; 2 - закладная деталь перемычки; 3 - деталь 1; 4 - уголок обрамления 45´45´5; 5 - закладная деталь

Деталь 1 приведена на черт. 7

ИНФОРМАЦИОННЫЕ ДАННЫЕ

1. РАЗРАБОТАН

Всесоюзным проектным и научно-исследовательским институтом типового и экспериментального проектирования сельскохозяйственных производственных комплексов и предприятий биологической промышленности (Гипронисельхоз) Министерства сельского хозяйства СССР

Центральным научно-исследовательским и проектным институтом по планировке и застройке сельских населенных мест и жилищно-гражданскому строительству на селе (ЦНИИЭПграждансельстрой) Государственного комитета по гражданскому строительству и архитектуре при Госстрое СССР

РАЗРАБОТЧИКИ

И.М. Беркович, И.А. Колодный, Л.Н. Крейндлин (руководители темы), Н.П. Птицын, Г.В. Левушкин

ВНЕСЕН Министерством сельского хозяйства СССР

2. ВВЕДЕН ВПЕРВЫЕ

3. УТВЕРЖДЕН И ВВЕДЕН В ДЕЙСТВИЕ Постановлением Государственного комитета Совета Министров СССР по делам строительства от 29.05.73 № 79

4. ССЫЛОЧНЫЕ НОРМАТИВНО-ТЕХНИЧЕСКИЕ ДОКУМЕНТЫ

Обозначение НТД, на которой дана ссылка

Номер пункта

ГОСТ 515-77

1.3

ГОСТ 3916.1-89

2.2

ГОСТ 3916.2-89

2.2

ГОСТ 4598-86

1.3, 2.4

ГОСТ 5088-94

2.17

ГОСТ 6009-74

1.3

ГОСТ 7016-82

2.12

ГОСТ 7338-90

1.3

ГОСТ 7798-70

2.15

ГОСТ 8273-75

1.3

ГОСТ 8486-86

2.5, 2.6

ГОСТ 9330-76

2.1, 2.8

ГОСТ 14918-80

1.3

ГОСТ 15612-85

3.6

ГОСТ 15613.1-84

3.5

ГОСТ 15613.4-78

3.5

ГОСТ 16588-91

3.4

ГОСТ 17005-82

3.5

ГОСТ 24404-80

2.13

5. ПЕРЕИЗДАНИЕ с Изменением № 1, утвержденным в апреле 1984 г. (ИУС 10-84)

СОДЕРЖАНИЕ

1. Типы и размеры

2. Технические требования

3. Правила приемки и методы испытаний

4. Маркировка, хранение и транспортирование

Приложение 1 Справочное Пример установки ворот в проемах с железобетонным каркасом

Приложение 2 Справочное Пример крепления обрамления проемов ворот к кирпичной стене