МЕЖГОСУДАРСТВЕННЫЙ СТАНДАРТ

Единая система защиты от коррозии и старения

СТАНЦИИ КЛИМАТИЧЕСКИЕ ИСПЫТАТЕЛЬНЫЕ

Общие требования

ГОСТ 9.906-83

МОСКВА
ИПК ИЗДАТЕЛЬСТВО СТАНДАРТОВ
1999

МЕЖГОСУДАРСТВЕННЫЙ СТАНДАРТ

Единая система защиты от коррозии и старения

СТАНЦИИ КЛИМАТИЧЕСКИЕ ИСПЫТАТЕЛЬНЫЕ

Общие требования

Unified system of corrosion and ageing protection.
Test climatic stations. General requirements

ГОСТ
9.906-83

Дата введения 01.01.85

Настоящий стандарт устанавливает цели испытаний, типы станций, требования к размещению станций, общие требования к сооружениям и оборудованию станций, объему и методам метеорологических наблюдений и метрологическому обеспечению климатических испытательных станций (далее - станций).

(Измененная редакция, Изм № 2).

1. ОБЩИЕ ПОЛОЖЕНИЯ

1.1. Стандарт устанавливает общие требования к станциям, предназначенным для проведения испытаний изделий, материалов и средств защиты (далее - образцов) в атмосферных условиях любых климатических районов и акваторий с целью:

определения коррозионной стойкости металлов и сплавов, коррозионной стойкости и (или) защитной способности средств противокоррозионной защиты;

определения стойкости неметаллических образцов к климатическому старению;

установления сроков сохранения свойств материалов и сохраняемости изделий, а также прогнозирования их показателей, в том числе гарантийных сроков хранения;

установления климатической стойкости образцов в условиях, имитирующих эксплуатационные в части воздействия климатических факторов;

установления микробиологической стойкости образцов;

исследования характера и кинетики изменения показателей при воздействии климатических факторов;

образцов для разработки методов их ускоренных испытаний;

материалов и средств противокоррозионной защиты для их обоснованного выбора при конструировании изделий и для разработки методов ускоренных испытаний;

средств временной противокоррозионной защиты (консервационные и упаковочные материалы) для разработки методов консервации образцов на требуемые сроки хранения;

средств защиты неметаллических образцов от старения и микробиологических повреждений.

(Измененная редакция, Изм № 2).

1.2. Стандарт устанавливает три типа станций: наземные, береговые, надводные плавающие и стационарные.

Наземные станции предназначены для испытаний образцов в атмосферных условиях любых климатических районов на суше.

Береговые - в атмосферных условиях у уреза воды океанов, морей и водоемов.

Надводные плавающие станции - в атмосферных условиях, морской воде акваторий и пресной воде водоемов.

Надводные стационарные станции - в атмосферных условиях на пирсах и других стационарных площадках, в морской воде акваторий и пресной воде водоемов.

(Измененная редакция, Изм. № 1, 2).

1.3. Станции осуществляют:

проведение испытаний (экспозиция образцов, периодические осмотры, измерения и контроль технических характеристик образцов в соответствии с программой испытаний, снятие с испытаний и т.д.);

проведение метеорологических наблюдений и обработку метеорологических данных;

метрологическое обеспечение метеорологических наблюдений, измерения, испытания и контроля технических характеристик изделий и образцов;

обработку результатов испытаний в соответствии с программой испытаний.

1.4. Станция должна иметь паспорт, содержащий:

наименование и ведомственную принадлежность;

назначение и тип;

географический пункт расположения;

занимаемую площадь;

данные о климатических характеристиках и коррозионной агрессивности атмосферы за период не менее пяти лет, поправки и уточнение этих значений проводят каждые пять лет (характеристики коррозионной агрессивности атмосферы устанавливают по ГОСТ 9.039);

данные о возможности испытания образцов по категориям размещения по ГОСТ 15150;

сведения о биологических воздействующих факторах;

сведения о специальном испытательном оборудовании;

перечень сооружений с указанием площади;

сведения о лабораторной базе (измерительная аппаратура, вспомогательное и лабораторное оборудование);

способ обслуживания станции (постоянное, периодическое);

генеральный план станции с пояснениями условных обозначений.

2. ТРЕБОВАНИЯ К РАЗМЕЩЕНИЮ СТАНЦИЙ

2.1. Наземные станции

2.1.1. Станции рекомендуется размещать на территории представительных и (или) экстремальных пунктов климатических районов по ГОСТ 16350.

2.1.2. К участку, выбираемому для размещения сооружений и оборудования наземных станций, предъявляются следующие требования:

участок должен быть расположен на ровной площадке на естественном грунте с травяным покровом высотой не более 15 см;

на участке не должно быть больших водоемов, рек, застаивания талой и дождевой воды, создающих микроклимат, отличающийся от климата района;

подъездные дороги к участку, а также дороги на его территории должны иметь искусственное покрытие - асфальтовое, бетонное, каменное и др.;

участок не должен находиться вблизи источников загрязнения воздуха: вентиляционных установок предприятий и других устройств, выделяющих большое количество водяного пара, сажи, углекислого, сернистого и других газов.

2.1.3. Допускается создание климатических испытательных площадок периодического и постоянного обслуживания в географических пунктах со специфическим микроклиматом или загрязненностью атмосферы.

2.1.4. Размер участка определяется предполагаемым объемом испытаний изделий и образцов, а также спецификой изделий.

2.1.5. Хранилища и другие помещения должны размещаться на участке, не затеняя открытые площадки и не препятствуя свободной аэрации. Размещение их должно проводиться с учетом розы ветров для уменьшения загрязнения атмосферы станции продуктами сгорания при отоплении помещений.

2.2. Береговые станции

2.2.1. Береговые станции размещают в климатических районах по ГОСТ 16350 у уреза воды океанов, морей и водоемов.

2.2.2. Требования к участку, выбираемому для размещения сооружений и оборудования - по п. 2.1.2.

2.3. Надводные плавающие и стационарные станции

2.3.1. Надводные плавающие станции размещают на специально приспособленных судах, акватории плавания которых определяются программой испытаний образцов.

2.3.2. Надводные стационарные станции размещают в климатических районах по ГОСТ 16350 на побережьях океанов, морей и других водоемов на гидротехнических сооружениях (эстакады, стационарные платформы и т.д.) или понтонах, которые удерживаются при помощи якорей.

2.3.2.1. Местоположение надводных стационарных станций необходимо выбирать таким образом, чтобы было возможно моделировать естественные условия и состояние воды в районах, в которых эксплуатируются испытуемые образцы.

2.3.2.2. Надводная стационарная станция должна быть защищена от сильных ветров, бурь и волн. Расположение станции должно обеспечивать возможность проведения испытаний в условиях экспонирования образцов над зеркалом воды при увлажнении водяными брызгами, при периодическом погружении во время приливов и отливов, а также полного погружения на различные глубины, вплоть до придонного илистого слоя. Вода в районе размещения надводной стационарной станции не должна содержать загрязнений от промышленных и других отходов.

3. ТРЕБОВАНИЯ К СООРУЖЕНИЯМ СТАНЦИЙ

3.1. Станции в соответствии с программой испытаний должны быть обеспечены необходимыми сооружениями, изготовленными из коррозионно-стойких материалов или защищенными средствами противокоррозионной защиты.

(Измененная редакция, Изм. № 1).

3.2. Наземные и береговые станции должны иметь сооружения для размещения образцов:

открытые площадки с естественным грунтом и бетонированные;

навесы;

жалюзийное хранилище;

будки защитные жалюзийные для метеорологических наблюдений по НТД;

микологические площадки;

наземные неотапливаемые хранилища;

наземные отапливаемые хранилища;

подземные неотапливаемые вентилируемые хранилища.

(Измененная редакция, Изм № 2).

3.2.1. Открытые площадки с естественным грунтом и бетонированные должны быть удалены от одноэтажных зданий и деревьев на расстояние не менее 10-кратной высоты этих объектов, от высоких объектов - на расстояние не менее 20-кратной высоты. Площадка должна быть квадратной или прямоугольной с направлением сторон с севера на юг и с востока на запад. Ограждение участка не должно мешать свободной аэрации.

3.2.2. Навес должен обеспечивать естественную циркуляцию воздуха и исключать попадание на образцы прямых солнечных лучей и атмосферных осадков.

3.2.3. Жалюзийное хранилище должно иметь размеры не менее 2´2´4 м, обеспечивать естественную циркуляцию воздуха, исключать попадание на образцы прямых солнечных лучей и атмосферных осадков, для чего стены его изготовляют в виде жалюзей; хранилище окрашивают в светлые тона, деревянный пол должен находиться на расстоянии не менее 20 см от земли.

3.2.4. Микологическая площадка должна иметь площадь не менее 0,5 га и размещаться в низменной местности, защищенной от действия ветра, с высокой влажностью воздуха, а также затенена двух-, трехъярусной растительностью. Почва микологической площадки должна быть с высоким стоянием грунтовых вод, местами заболоченная. Растительность на микологической площадке не допускается обрабатывать химическими препаратами. Почвенно-растительная характеристика микологической площадки должна быть типичной для данного климатического района.

Почвенно-растительная характеристика микологической площадки, расположенной в теплом влажном климатическом районе по ГОСТ 16350, уход за ней и контроль наличия микроорганизмов - по ГОСТ 9.053.

3.3. Требования к сооружениям в соответствии с п. 3.2 в части их конструктивных особенностей, а для хранилищ также в части температурного и влажностного режимов, определяются спецификой образцов, а также предполагаемым объемом и программой испытаний.

3.4. На надводных плавающих станциях для испытаний образцов используют открытые палубы, отапливаемые помещения, трюмы, другие неотапливаемые помещения и приспособления для погружения образцов в воду.

3.5. Надводные стационарные станции должны иметь сооружения для размещения образцов для испытаний:

понтоны, эстакады или плавпирсы, расположенные над водой таким образом, чтобы их продольная ось была ориентирована по преимущественному направлению ветра;

закрытые неотапливаемые помещения (короба), расположенные на настиле понтонов, эстакад или плавпирсов.

3.6. Размеры сооружений для проведения испытаний и их количество для всех станций определяют объемом испытаний образцов.

3.7. На станциях должны быть помещения для проведения лабораторных работ, измерения технических характеристик образцов, оборудование в соответствии с требованиями стандартов на методы испытаний и измерений, в том числе и помещения с кондиционированным воздухом.

3.8. В приложении 1 приведен перечень вспомогательных сооружений, предназначенных для обслуживания наземных, береговых и надводных станций.

4. ТРЕБОВАНИЯ К ОБОРУДОВАНИЮ СТАНЦИЙ

4.1. Перечень и характеристики оборудования, требуемого для испытаний образцов, определяют спецификой испытуемых образцов, а также программами испытаний и стандартами на методы их проведения.

4.1.1. Станции должны иметь:

приборы для проведения комплекса метеорологических наблюдений в соответствии с таблицей;

Измеряемый параметр

Частота или период фиксации (измерения) параметра

Вычисляемые данные по измеренным параметрам

Станции

Приборы и методы, используемые для измерений

Предельно допускаемая погрешность измерения

1. Температура воздуха, °С

Ежесуточно непрерывно

Среднемесячная

Наземные, береговые и надводные стационарные

Термограф М-16Н или М-16С

±1 °С

Надводные плавающие

Термометр в оправе на кронштейне

±1 °С

2. Минимальная температура воздуха, °С

Ежесуточно

Среднемесячная

Наземные, береговые и надводные

Термометр минимальный ТМ-2

±0,5 °С

3. Максимальная температура воздуха, °С

Ежесуточно

Среднемесячная

Наземные, береговые и надводные

Термометр максимальный ТМ-1

±0,5 °С

4. Относительная влажность воздуха, %

Ежесуточно в 0; 6; 12; 18 ч или непрерывно

Среднемесячная

Наземные, береговые и надводные стационарные

Гигрометр пьезосорбционный Волна-2М

±3 %

Гигрограф метеорологический М-21Н или М-21С

±10 %

Психрометр аспирационный МВ-4М

±10 %

5. Интенсивность и продолжительность воздействия атмосферных выпадаемых осадков, мм∙ч-1, ч, мин

Ежесуточно непрерывно

За месяц, год

Наземные, береговые и надводные

Самописец дождя П-2

±1 мм∙ч-1

±5 мин

Снегомер весовой ВС-43

±1 мм∙ч-1

6. Продолжительность воздействия конденсированных осадков (роса), ч

Ежесуточно

За месяц, год

Наземные, береговые и надводные

Самописец росы М-35

±0,08 ч

7. Продолжительность солнечного сияния, ч

Ежесуточно

За месяц, год

Наземные, береговые и надводные стационарные

Гелиограф универсальный ГУ-1

±0,16 ч

Надводные плавающие

Датчик солнечного сияния ДСС

±0,16 ч

8. Доза суммарного солнечного излучения, МДж∙м-2

Ежесуточно, еженедельно, ежемесячно

Суточная доза суммарного излучения

Наземные, береговые и надводные стационарные

Пиранометр универсальный ПП-1 (М-80) в комплекте с интегрирующим устройством

±6 %

Надводная, плавающая

Пиранометр судовой в комплекте с интегрирующим устройством

8а. Доза УФ-составляющей солнечного излучения в диапазоне 300 - 385 нм, МДж∙м-2

Ежесуточно

Суточная доза УФ составляющей солнечного излучения

Наземные, береговые, надводные стационарные и надводные плавающие

Ультрафиолетовый радиометр типа TUVR (фирма Eppley, США) в комплекте с интегрирующим устройством

+6 %

9. Атмосферное давление, гПа

Ежесуточно в 0; 6; 12; 18 ч

Среднемесячное

Наземные, береговые и надводные стационарные

Барометры мембранные метеорологические

±1 гПа

Надводные плавающие

Барографы метеорологические анероидные

±1 гПа

10. Скорость ветра, м∙с-1

Ежесуточно в 0; 6; 12; 18 ч

Среднесуточная

Наземные, береговые и надводные стационарные

Анеморумбограф М-63М

±1 м∙с-1

Надводные плавающие

Анемометр ручной индукционный АРИ-49

±1 м∙с-1

11. Направление воздействия ветра (от плоскости меридиана по ходу часовой стрелки), градус

Ежесуточно в 0; 6; 12; 18 ч

Среднемесячное с указанием преобладающего направления

Надводные плавающие

Анеморумбограф М-63М

±5°

12. Массовая концентрация озона и оксидантов в нижних слоях атмосферы, мкг∙м-3

8 раз в месяц

Среднегодовая, среднемесячная

Наземные, береговые и надводные

По рекомендуемому приложению 7

±1 мкг∙м-3

13. Массовая концентрация сернистого газа в воздухе, мг∙м-3

8 раз в месяц

Среднемесячная, среднегодовая

Наземные, береговые и надводные

По ГОСТ 9.039

±0,01 мг∙м-3

14. Массовая концентрация и массовая скорость оседания хлоридов в воздухе, мг∙м-3, мг∙м-2∙сут-1

Ежесуточно

Среднемесячная

Наземные, береговые и надводные

По ГОСТ 9.039

±0,01 мг∙м-3

±0,01 мг∙м-2∙сут-1

15. Массовая концентрация аммиака в воздухе, мг∙м-3

3 раза в сутки

Среднемесячная

Наземные, береговые и надводные

По ГОСТ 9.039

± 0,001 мг∙м-3

16. Содержание пыли в воздухе и ее химический состав

1 раз в месяц

Среднегодовое

Наземные и береговые

По приложению 8

-

17. Высота морской волны, м

Ежесуточно в 0; 6; 12; 18 ч

Среднесуточная

Надводные стационарные

Волнограф прибрежный ГМ-61

±0,05 м

Надводные плавающие

Волнограф судовой ГМ-62

±0,05 м

18. Анализ морской и пресной воды на:

1 раз в сутки

Среднемесячный

 

-

-

соленость морской воды, %

Надводные плавающие и стационарные

Анализаторы жидкости кондуктометрические

±0,3 %

плотность воды, кг∙дм-3

Надводные плавающие и стационарные

Ареометры и цилиндры стеклянные

+0,001 кг∙дм-3

удельная электрическая проводимость, см∙м-1

Надводные плавающие и стационарные

Анализаторы жидкости кондуктометрические

±0,05 см∙м-1

показатель концентрации водородных ионов, ед. рН

Надводные плавающие и стационарные

Анализаторы жидкости потенциометрические

±0,05 ед. рН

19. Температура воды, °С

Ежесуточно в 0; 6; 12; 18 ч

Среднемесячная, среднегодовая

Надводные плавающие и стационарные

Термометр

±1 °С

20. Период и высота приливов и отливов, м

В периоды максимального и минимального уровня

Максимальный и минимальный уровень прилива и отлива

Надводные плавающие и стационарные

Рейка водомерная типа ГР-104

±0,01 м

21. Содержание кислорода в воде, мг∙м-3

Ежесуточно

Среднемесячное

Надводные плавающие и стационарные

Кислородомер К-215

±0,5 мг∙м-3

(Измененная редакция, Изм № 2).

Примечания:

1. Частота и период фиксации (измерения) параметра приведены по местному времени.

2. Измерение метеорологических параметров допускается проводить с использованием других приборов, обеспечивающих измерение с заданной предельно допустимой погрешностью.

3. Если загрязненность воздуха сернистым газом и хлоридами не превышает фоновой по ГОСТ 9.039, то контроль указанных параметров допускается проводить с другой периодичностью в соответствии с положением о данной станции.

лабораторное оборудование для проведения анализа воздуха и воды, а также химико-аналитических работ, физико-химических, механических, металлографических, микробиологических, электрических испытаний, фоторабот и других в зависимости от программы испытаний;

подъемно-транспортное и специальное оборудование для установки и монтажа образцов в местах испытаний.

При отсутствии на станциях необходимого оборудования для определения отдельных показателей испытуемых образцов допускается производить эти измерения в специализированных организациях.

4.2. В зависимости от программы испытаний станции должны иметь стенды для экспонирования образцов на открытых площадках и стеллажи для экспонирования образцов под навесом и в хранилищах.

4.2.1. Для испытания образцов применяют стенды с постоянным и (или) изменяемым углом наклона рамы к горизонту. Стенд для экспонирования образцов, рама которого может быть установлена горизонтально, вертикально, под углом 45° к горизонту или под углом, равным географической широте места расположения станции, измеренным с предельно допустимой ошибкой 1°, приведен в приложении 2. Стенд с автоматически перемещающейся рамой, постоянно устанавливающейся перпендикулярно направлению солнечного луча, приведен в приложении 3.

4.2.2. Расстояние от поверхности земли до нижнего конца стенда должно быть больше высоты уровня снежного покрова в месте его расположения, но не менее 0,8 м.

4.2.3. Стенды должны быть установлены так, чтобы в течение суток ни один стенд не затенялся другим стендом или объектом, а лицевые стороны их рам были обращены на юг.

Расчет минимально допустимого расстояния от заслоняющих объектов до образцов на стендах рассчитывают по приложению 4.

4.2.4. Микологический стенд для испытания образцов на микробиологическую стойкость приведен в приложении 5.

4.2.5. Стенд для экспонирования образцов на надводных станциях приведен в приложении 6.

4.2.6. Каркас и рамы всех стендов следует изготовлять из материалов, которые в выбранном климатическом районе мало подвержены коррозии или гниению с учетом требований ГОСТ 9.005.

4.3. Стеллажи для экспонирования образцов располагают на расстоянии не менее 50 см от крыш навеса или хранилища.

4.4. Поверку средств измерений и контроля образцов проводят в соответствии с требованиями ГОСТ 8.002. Аттестацию испытательного оборудования проводят в соответствии с требованиями ГОСТ 24555*.

* На территории Российской Федерации действует ГОСТ Р 8.568-97.

(Измененная редакция, Изм № 2).

5. ТРЕБОВАНИЯ К МЕТЕОРОЛОГИЧЕСКИМ НАБЛЮДЕНИЯМ

5.1. Требования к объему метеорологических наблюдений на открытых площадках станций и их обработке приведены в таблице. В соответствии с программой испытаний допускается дополнительно проводить и другие метеорологические наблюдения, не указанные в таблице, или сокращать их объем по отдельным параметрам.

При размещении станции на территории представительных и (или) экстремальных пунктов допускается использовать данные метеорологических наблюдений гидрометеорологических станций.

5.2. Метеорологические наблюдения под навесами должны проводиться по пп. 1 - 3 таблицы, во всех видах закрытых помещений - по пп. 1 - 4 таблицы в соответствии с чем в указанных местах в непосредственной близости от образцов должны быть установлены требуемые приборы.

5.3. Метеорологические наблюдения проводят в соответствии с наставлениями гидрометеорологическим станциям и постам, утвержденными Государственным комитетом СССР по гидрометеорологии и контролю природной среды.

5.4. Проводят определение содержания в воздухе станции сернистого газа, хлоридов, аммиака, пыли, озона и оксидантов.

Определение содержания в воздухе сернистого газа, хлоридов и аммиака проводят по ГОСТ 9.039, озона и оксидантов - по приложению 7, пыли и ее химического состава - по приложению 8.

Определение интенсивности и дозы УФ-составляющей солнечной радиации проводят в соответствии с техническим описанием (инструкцией по эксплуатации) применяемого прибора.

(Измененная редакция, Изм № 2).

5.5. Перечень аппаратуры для метеорологических наблюдений приведен в приложении 9.

6. ТРЕБОВАНИЯ БЕЗОПАСНОСТИ

6.1. Требования безопасности труда - по ГОСТ 12.1.007, ГОСТ 12.1.008, ГОСТ 12.3.002, ГОСТ 12.3.009, ГОСТ 12.3.019 и разд. 7 ГОСТ 9.048-89.

(Измененная редакция, Изм № 2).

6.2. Требования пожарной безопасности - по ГОСТ 12.1.004-91.

(Измененная редакция, Изм № 2).

6.3. Метеорологические условия, уровень звукового давления, уровни звука и содержание вредных примесей в рабочей зоне помещений для измерений, испытаний и контроля показателей образцов не должны превышать норм, установленных СН-245-71, утвержденных Госстроем СССР.

6.4. Надводные стационарные станции должны быть соответствующим образом обозначены и снабжены сигнальной системой.

ПРИЛОЖЕНИЕ 1

Рекомендуемое

ПЕРЕЧЕНЬ ВСПОМОГАТЕЛЬНЫХ СООРУЖЕНИЙ

Электроподстанция.

Котельная.

Склад материальный.

Склад горюче-смазочных материалов.

Гараж.

Примечание. Виды, размеры, характеристики и количество сооружений определяются типами станций и объемом предполагаемых работ.

ПРИЛОЖЕНИЕ 2

Рекомендуемое

СТЕНД С ИЗМЕНЯЕМЫМ УГЛОМ НАКЛОНА РАМЫ К ГОРИЗОНТУ

1 - продольная рейка рамы (40´40´1455 мм, 10 шт.); 2 - поперечная рейка рамы (40´40´950 мм, 2 шт.); 3 - швеллер (№ 10, длина 1440 мм, 2 шт.); 4 - швеллер (№ 10, длина 784 мм, 2 шт.); 5 - связь наклонная (прокат угловой равнобокий, длина 430 мм, 4 шт.); 6 - швеллер (№ 10, длина 1300 мм, 2 шт.); 7 - стопорный болт; 8 - дуга

Освободив стопорный болт на дуге, раму поворачивают на ее оси и затем закрепляют в нужном положении (под углом 45°, горизонтальном, вертикальном и др.), завинчиванием стопорного болта.

ПРИЛОЖЕНИЕ 3

Рекомендуемое

УСТРОЙСТВО СТЕНДА С АВТОМАТИЧЕСКИ ПЕРЕМЕЩАЮЩЕЙСЯ РАМОЙ

Стенд с автоматически перемещающейся рамой отличается от стенда, приведенного в рекомендуемом приложении 2 настоящего стандарта, непрерывным и автоматическим изменением положения плоскости лицевой части рамы и находящихся на ней испытуемых образцов, постоянно располагая ее перпендикулярно направлению солнечного луча; как это показано на черт. 1. Схема стенда показана на черт. 2.

Стенд должен обеспечивать:

непрерывное поворачивание рамы 5 стенда в направлении с востока на запад вокруг оси СО;

изменение угла наклона a осевой линии рамы к линии горизонта (ÐCOD).

Стенд состоит из двух опор 2 и 8, рамы и электродвигателя 10 с редуктором 9. Рама стенда имеет две выходящих полуоси 4 - верхнюю и нижнюю, расположенные на осевой линии ОС. Верхняя полуось рамы установлена в подшипнике 6, который закреплен на конце 7 телескопической опоры 8 так, что при подъеме и опускании ее будет изменяться угол наклона осевой линии рамы к линии горизонта. Нижняя полуось 4 рамы установлена в подшипнике 6, который закреплен на неподвижной опоре 2. Эта опора имеет ось АВ, установленную в петлях 11 металлической плиты 1, что позволяет изменять угол a.

Черт. 1

Черт. 2

Поворачивание рамы 5 вокруг оси ОС осуществляет небольшой электродвигатель 10 с редуктором 9, установленные на неподвижной опоре. Выходной вал редуктора должен вращаться со скоростью 1 об/сутки и соединяться при помощи муфты 3 с нижней полуосью рамы. Опоры установлены на тумбах 12.

Ежедневно с восходом солнца оператор поворачивает на некоторый угол раму вокруг оси ОС и при помощи прицельного приспособления проводит установку плоскости рамы в положение, перпендикулярное направлению солнечных лучей. Затем включается электродвигатель и рама поворачивается вокруг оси ОС автоматически. При заходе солнца электродвигатель выключают.

Периодически через каждые 10 дней в астрономический полдень оператор должен проводить изменение угла наклона a осевой линии рамы стенда к линии горизонта путем изменения длины телескопической опоры. При этой регулировке длина телескопической опоры должна быть изменена так, чтобы в астрономический полдень плоскость лицевой части рамы была перпендикулярна солнечному лучу по прицельному приспособлению.

ПРИЛОЖЕНИЕ 4

Рекомендуемое

МЕТОД РАСЧЕТА МИНИМАЛЬНО ДОПУСТИМОГО РАССТОЯНИЯ ОТ ЗАСЛОНЯЮЩИХ ОБЪЕКТОВ ДО ОБРАЗЦОВ НА СТЕНДАХ

Минимально допустимое расстояние от заслоняющих объектов до образцов на стендах (X) в метрах вычисляют по формуле

,

где a - высота заслоняющего объема, м;

b - высота нижней грани стенда или образца, м;

a - высота солнца в 12 ч дня 21 декабря, определенная по формуле

a = 90° - j - s,

где j - географическая широта места станции, град;

s - деклинация солнца, град.

ПРИЛОЖЕНИЕ 5

Рекомендуемое

МИКОЛОГИЧЕСКИЙ СТЕНД ДЛЯ ИСПЫТАНИЯ ОБРАЗЦОВ НА МИКРОБИОЛОГИЧЕСКУЮ СТОЙКОСТЬ

Эскиз микологического стенда для испытаний образцов на микробиологическую стойкость приведен на чертеже.

Стенд состоит из каркаса и укрепленных в нем рам, на которые кладут съемные планки для крепления образцов. Каркас изготовляют из стального уголка и окрашивают.

Наклонную крышу стенда покрывают шифером.

Стенки стенда изготовляют из оргстекла, две из них - выдвижные.

Планки изготовляют из алюминия, его сплавов или из стали, защищенной покрытиями. Планки должны быть размещены на расстоянии не менее 5 см друг от друга. Нижняя рама должна находиться на расстоянии 25 - 30 см от поверхности земли.

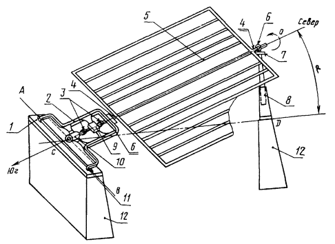
ПРИЛОЖЕНИЕ 6

Рекомендуемое

СТЕНД ДЛЯ ЭКСПОНИРОВАНИЯ ОБРАЗЦОВ НА НАДВОДНЫХ СТАНЦИЯХ

1 - рама; 2, 3, 4, 5 - накладные планки из текстолита; 6 - образец; 7 - резиновая прокладка

Узел I (В) - соединение рамы; узел II (Г) - крепление стенда к палубе

ПРИЛОЖЕНИЕ 7

Рекомендуемое

МЕТОД ОПРЕДЕЛЕНИЯ ОБЩЕГО СОДЕРЖАНИЯ ОЗОНА И ОКСИДАНТОВ В ВОЗДУХЕ

Улавливание озона и оксидантов проводят аспирационным методом, при котором определенный объем воздуха пропускают через поглотительный сосуд, содержащий раствор двойной сернокислой соли закиси железа и аммония (соль Мора).

Метод основан на реакции взаимодействия озона и оксидантов с солью Мора в кислой среде с образованием ионов трехвалентного железа, которое определяют колориметрически в виде железороданидного комплекса.

1. Аппаратура, материалы и реактивы

1.1. Для определения массовой концентрации озона и оксидантов применяют:

установку для отбора проб воздуха, которая должна состоять из электроаспиратора, ротометра общепромышленного по ГОСТ 13045, двух поглотительных сосудов с фильтрами, расположенными последовательно;

термометр метеорологический стеклянный по ГОСТ 112;

барометр мембранный метеорологический;

фотоэлектроколориметр типа ФЭК-Н-57;

фильтр ФКП-20-ПОР 160 по ГОСТ 25336;

пробирки типа ПГНШ-14,5-10 по ГОСТ 25336;

колбы мерные вместимостью 500 см3 по ГОСТ 1770;

колбы конические вместимостью 500 см3 по ГОСТ 25336;

соль закиси железа и аммония двойная серно-кислая (соль Мора) по ГОСТ 4208, х.ч., 0,1 %-ный раствор;

кислоту азотную по ГОСТ 4461, х.ч., 5 %-ный раствор;

кислоту серную по ГОСТ 4204, х.ч., плотностью 1,835 г∙см-3;

аммоний роданистый, х.ч., 0,1 н. раствор;

ацетон по ГОСТ 2603, х.ч.;

водорода перекись по ГОСТ 10929, 30 %-ный раствор;

бидистиллят;

воду дистиллированную по ГОСТ 6709.

(Измененная редакция, Изм. № 1).

2. Подготовка к испытанию

2.1. Приготовление поглотительного раствора

Для приготовления поглотительного раствора 0,1 г соли Мора растворяют в 100 см3 дистиллированной воды, добавляют 10 см3 азотной кислоты и 10 см3 ацетона.

2.2. Отбор проб воздуха

Перед отбором проб воздуха поглотительные сосуды должны быть тщательно отмыты от следов железа. Для этого их промывают бидистиллятом и заполняют поглотительным раствором. По истечении 4 - 5 ч сосуды 2 - 3 раза промывают поглотительным раствором и вновь заполняют. Затем из сосудов отбирают пробы поглотительного раствора объемом 5 см3, добавляют 2 см3 30 %-ного роданистого аммония и измеряют оптическую плотность раствора в кювете с толщиной поглощающего свет слоя жидкости 10 мм на приборе ФЭК-Н-57 с синим светофильтром № 3. В поглотительных сосудах оптическая плотность раствора должна быть не менее 0,01.

Затем в оба поглотительных сосуда наливают по 5 см3 поглотительного раствора. Пробы воздуха отбирают из открытой атмосферы шесть раз в сутки (в 6, 9, 12, 15, 19 и 21 ч) по 20 - 30 мин при скорости протягивания воздуха 0,5 - 1,0 дм3/мин. Для приведения объема воздуха к нормальным условиям во время отбора проб периодически измеряют температуру и атмосферное давление.

3. Проведение испытания

3.1. Раствор из обоих поглотительных сосудов переносят в пробирки, доводят поглотительным раствором объем до 5 см3, добавляют 2 см3 30 %-ного роданистого аммония, перемешивают и через 10 - 15 мин определяют оптическую плотность раствора в кювете с толщиной поглощающего свет слоя жидкости 10 мм на приборе типа ФЭК-Н-57 с синим светофильтром № 3. По величине оптической плотности с помощью градуировочной кривой вычисляют массовую концентрацию озона и оксидантов (в пересчете на озон) в растворе.

Содержание озона и оксидантов в воздухе определяют как сумму результатов анализа растворов из каждого поглотительного сосуда.

3.2. Построение градуировочного графика

Для построения градуировочного графика готовят исходный раствор: 5 - 10 см3 30 %-ного раствора перекиси водорода помещают в мерную колбу вместимостью 500 см3 и доводят бидистиллятом объем до метки. Затем 10 см3 этого раствора отбирают в коническую колбу вместимостью 500 см3, добавляют 200 см3 дистиллированной воды, 20 см3 серной кислоты и титруют 0,1 н. раствором марганцово-кислого калия до появления розовой окраски.

1 см3 0,1 н. раствора марганцово-кислого калия соответствует 1,7 мкг перекиси водорода.

Из полученного раствора готовят два рабочих раствора с массовой концентрацией перекиси водорода 1 и 10 мг∙дм-3.

Затем из рабочих растворов готовят две шкалы образцовых растворов смешиванием каждого рабочего раствора с поглотительным в соотношениях, указанных в таблице.

Номер раствора

Объем раствора, см3

рабочего образцового

поглотительного

0

-

5,0

1

0,2

4,8

2

0,4

4,6

3

0,6

4,4

4

0,8

4,2

5

1,0

4,0

6

2,0

3,0

Оптическую плотность образцовых растворов определяют по п. 3.1 и строят две градуировочные кривые зависимости оптической плотности от содержания озона.

При определении массы озона в анализируемом растворе используют ту или иную градуировочную кривую в соответствии с предполагаемым содержанием озона в воздухе.

4. Обработка результатов

4.1. Массовую концентрацию озона и оксидантов в воздухе (в пересчете на озон) (С), мкг∙м-3, вычисляют по формуле

,

где т - масса озона в растворе, мкг;

Р - давление воздуха, Па (мм рт.ст.);

t - температура воздуха, °С;

Vв - объем воздуха, пропущенного через поглотительный сосуд, м3.

ПРИЛОЖЕНИЕ 8

Рекомендуемое

ОПРЕДЕЛЕНИЕ КОЛИЧЕСТВА ПЫЛИ В ВОЗДУХЕ И ЕЕ ХИМИЧЕСКОГО СОСТАВА

Улавливание пыли проводят методом седиментации на горизонтальную поверхность.

1. Аппаратура, материалы и реактивы

1.1. Для определения количества пыли в воздухе и ее химического состава применяют:

рН-метр типа ЛПУ-01 или анализаторы жидкости потенциометрические по ГОСТ 27987;

фотоэлектроколориметр типа ФЭК-Н-57;

печь муфельную;

шкаф сушильный;

тигли фарфоровые по ГОСТ 9147;

эксикатор по ГОСТ 25336;

чашки выпарительные по ГОСТ 9147;

стаканы фарфоровые вместимостью 1000 см3 по ГОСТ 9147;

стаканы стеклянные вместимостью 1000 см3 по ГОСТ 25336;

колбы мерные вместимостью 250 см3 по ГОСТ 1770;

серебро азотно-кислое по ГОСТ 1277, х.ч., 10 %-ный раствор;

кислоту азотную по ГОСТ 4461, х.ч., 10 %-ный раствор;

кислоту соляную по ГОСТ 3118, х.ч., 3 %-ный раствор;

калий хлористый по ГОСТ 4234, х.ч.;

барий хлористый по ГОСТ 4108, х.ч., 10 %-ный раствор;

калий серно-кислый по ГОСТ 4145, х.ч.;

воду дистиллированную по ГОСТ 6709.

(Измененная редакция, Изм. 1, 2).

2. Подготовка к определению

2.1. Для улавливания пыли применяют стеклянные или фарфоровые стаканы, которые перед использованием обезжиривают, промывают водой и высушивают в сушильном шкафу при 120 °С.

2.2. Стаканы укрепляют на специальном держателе на высоте 2 м от земли вдали от деревьев и строений.

Одновременно выставляют четыре стакана: два - для определения количества пыли в воздухе и содержания органических веществ и два - для химического анализа пыли.

Продолжительность улавливания пыли три месяца для атмосферы I и два месяца для атмосфер II и IV по ГОСТ 15150.

3. Определение общего количества пыли

Пыль из стакана смывают дистиллированной водой и переносят во взвешенную фарфоровую чашку для выпаривания. Воду выпаривают досуха, после чего осадок пыли высушивают до постоянной массы при температуре 110 - 120 °С и взвешивают.

Массовую скорость оседания статической пыли (Сп), мг∙м-2∙сут-1, определяют по формуле

,

где m - масса пыли, мг;

S - площадь дна стакана, м2;

t - время, сут.

4. Определение содержания органических веществ

Пыль после обработки по п. 3 прокаливают в муфельной печи при температуре 700 °С в течение 1 ч, охлаждают в эксикаторе и взвешивают.

Массовую долю органических веществ (Z), %, вычисляют по формуле

,

где m - масса пыли до прокаливания, мг;

m1 - масса пыли после прокаливания, мг.

5. Определение содержания хлоридов и сульфатов

5.1. После обработки по п. 3 пыль переносят в стакан с дистиллированной водой и отфильтровывают нерастворимый осадок. После промывки осадка фильтрат и промывные воды сливают в мерную колбу вместимостью 250 см3 и доводят объем до метки дистиллированной водой.

5.2. рН полученного раствора определяют на рН-метре типа ЛПУ-01.

5.3. Определение содержания хлоридов

5.3.1. Из мерной колбы, доведенной до метки по п. 5.1, берут аликвотную часть (пробу) раствора для нефелометрирования объемом 10 см3. Пробу переносят в мерную колбу вместимостью 25 см3, добавляют 4 см3 азотной кислоты, 4 см3 азотно-кислого серебра и доводят бидистиллятом объем до метки. Раствор перемешивают и через 10 мин в кювете с рабочей длиной 20 мм измеряют светопропускание раствора на приборе типа ФЭК-Н-57 с зеленым светофильтром № 10. По величине светопропускания с помощью калибровочной кривой вычисляют массу ионов хлора в растворе для нефелометрирования.

5.3.2. Калибровочную кривую строят по приложению 1 ГОСТ 9.039.

5.3.3. Массовую скорость оседания хлоридов совместно с пылью из воздуха (CCl-), мг∙м-2∙сут-1, вычисляют по формуле

,

где CCl- - масса ионов хлора в пробе для нефелометрирования, рассчитанная по калибровочной кривой, мг;

V - объем раствора, полученного по п. 5.1, см3;

Vп - объем пробы раствора, взятый для нефелометрирования, см3;

S - площадь дна стакана для улавливания пыли, м2;

t - время, сут.

5.4. Определение содержания сульфатов

5.4.1. Из мерной колбы, доведенной до метки по п. 5.1, берут аликвотную часть (пробу) для нефелометрирования объемом 5 см3, добавляют 1 см3 соляной кислоты, 1 см3 раствора хлористого бария, встряхивают пробирку и через 10 - 15 мин определяют светопропускание раствора в кювете с рабочей длиной 10 мм на приборе типа ФЭК-Н-57 с зеленым светофильтром № 10. Нефелометрирование проводят по инструкции к прибору. По величине светопропускания с помощью калибровочной кривой вычисляют массу серно-кислого бария в рабочем растворе.

5.4.2. Для построения калибровочной кривой готовят стандартный раствор серно-кислого калия. Навеску серно-кислого калия массой 0,272 г растворяют в бидистилляте в мерной колбе вместимостью 1000 см3. Титр раствора устанавливают объемным методом. В пробирки отбирают 0,1; 0,2; 0,3; 0,4; 0,5; 0,6 см3 стандартного раствора, доводят бидистиллятом объем до 5 см3, добавляют 1 см3 соляной кислоты, 1 см3 раствора хлористого бария, встряхивают пробирку и через 10 - 15 мин определяют светопропускание раствора в кювете с рабочей длиной 10 мм на приборе ФЭК-Н-57 с зеленым светофильтром № 10. Затем строят калибровочную кривую зависимости светопропускания от содержания серно-кислого бария в растворе.

5.4.3. Массовую скорость оседания сульфатов (), мг∙м∙сут-1, вычисляют по формуле

,

где 0,4112 - отношение эквивалентных весов SO42- и BaSO4;

 -   масса BaSO4 в пробе для нефелометрирования, рассчитанная по калибровочной кривой, мг;

V - объем рабочего раствора, см3;

Vп -   объем пробы для нефелометрирования, взятый из рабочего раствора, см3;

S - площадь дна стакана для улавливания пыли, м2;

t - время, сут.

6. Запись результатов анализов проводят по форме.

Общее количество и химический состав пыли, оседающей из воздуха на ________ станции в 19___ г.

Номер сосуда

Площадь сосуда S, м2

Срок испытания

Массовая скорость оседания пыли и ее составляющих, мг∙м-2∙сут-1

Массовая доля органических веществ Z, %

Показатель концентрации водородных ионов, рН

Примечание

Начало

Окончание

Длительность t, сут

Сп

Ссl

 

 

 

 

 

 

 

 

 

 

 

ПРИЛОЖЕНИЕ 9

Справочное

ПЕРЕЧЕНЬ АППАРАТУРЫ, ПРИМЕНЯЕМОЙ ПРИ ПРОВЕДЕНИИ МЕТЕОРОЛОГИЧЕСКИХ НАБЛЮДЕНИЙ

Термометры метеорологические стеклянные по ГОСТ 112.

Термометр в оправе на кронштейне.

Термографы метеорологические с биметаллическим чувствительным элементом по ГОСТ 6416.

Термограф М-16Н или М-16С по ГОСТ 6416.

Гигрограф метеорологический М-21Н или М-21С.

Гигрометр пьезосорбционный Волна-2М по НТД.

Психрометр аспирационный МВ-4М.

Самописец дождя П-2.

Снегомер весовой ВС-43.

Самописец росы М-35.

Гелиограф универсальный ГУ-1.

Датчик солнечного сияния ДСС.

Пиранометр универсальный ПП-1 (М-80) в комплекте с интегрирующим устройством*.

Пиранометр судовой.

Барометры мембранные метеорологические.

Барографы метеорологические анероидные по ГОСТ 6359.

Анеморумбограф М-63М.

Волнограф судовой ГМ-62.

Будки защитные жалюзийные для метеорологических приборов по НТД.

Рейка водомерная типа ГР-104.

Анализаторы жидкости кондуктометрические по ГОСТ 13350.

Анализаторы жидкости потенциометрические по ГОСТ 27987.

Ареометры и цилиндры стеклянные по ГОСТ 18481.

Кислородомер К-215.

Анемометр ручной индукционный АРИ-49.

Волнограф прибрежный ГМ-61.

Осадкомер Третьякова О-1.

Актинометр термоэлектрический АТ-50.

Озонометр универсальный М-83.

Мореограф типа ГМ-28.

Ультрафиолетовый радиометр типа TUVR (фирма Eppley, США) с диапазоном измерения 300 - 385 нм*.

* Допускается применение иных приборов, технические возможности которых не ниже, а метрологические характеристики не хуже, чем у указанных.

(Измененная редакция, Изм. № 1, 2).

ПРИЛОЖЕНИЕ 10 (Исключено, Изм № 2).

ИНФОРМАЦИОННЫЕ ДАННЫЕ

1.  РАЗРАБОТАН И ВНЕСЕН Государственным комитетом СССР по стандартам

РАЗРАБОТЧИКИ

Х.Н. Фидлер, канд. техн. наук; Г.В. Козлова, канд. техн. наук; С.Б. Савранский, канд. техн. наук (руководители темы); Д.В. Замбаходзе, канд. техн. наук; В.Н. Русиешвили, канд. техн. наук; О.А. Хачатурова; Л.И. Белова; Л.А. Михайлова

2.  УТВЕРЖДЕН И ВВЕДЕН В ДЕЙСТВИЕ Постановлением Государственного комитета СССР по стандартам от 20.12.83 № 6357

3.  Стандарт содержит все требования СТ СЭВ 4201-83, а также общие требования к надводным плавающим и стационарным станциям СТ СЭВ 4199-83

4.  ВВЕДЕН ВПЕРВЫЕ

5.  ССЫЛОЧНЫЕ НОРМАТИВНО-ТЕХНИЧЕСКИЕ ДОКУМЕНТЫ

Обозначение НТД, на который дана ссылка

Номер пункта, приложения

Обозначение НТД, на который дана ссылка

Номер пункта, приложения

ГОСТ 8.002-86

4.4

ГОСТ 4204-77

Приложение 7

ГОСТ 9.005-72

4.2.6

ГОСТ 4208-72

»          7

ГОСТ 9.039-74

1.4; 4.1.1; 5.4; Приложение 8

ГОСТ 4234-77

Приложение 8

ГОСТ 9.048-89

6.1

ГОСТ 4461-77

Приложения 7; 8

ГОСТ 9.053-75

3.2.4

ГОСТ 6359-75

Приложение 9

ГОСТ 12.1.004-91

6.2

ГОСТ 6416-75

Приложение 9

ГОСТ 12.1.007-76

6.1

ГОСТ 6709-72

Приложения 7; 8

ГОСТ 12.1.008-76

6.1

ГОСТ 9147-80

Приложение 8

ГОСТ 12.3.002-75

6.1

ГОСТ 10929-76

»          7

ГОСТ 12.3.009-76

6.1

ГОСТ 13045-81

»          7

ГОСТ 12.3.019-80

6.1

ГОСТ 13350-78

»          9

ГОСТ 112-78

Приложения 7; 9

ГОСТ 15150-69

1.4; Приложение 8

ГОСТ 1277-75

Приложение 8

ГОСТ 16350-80

2.1.1; 2.2.1; 2.3.2; 3.2.4

ГОСТ 1770-74

»          7

ГОСТ 18481-81

Приложение 9

ГОСТ 2603-79

»          7

ГОСТ 24555-81

4.4

ГОСТ 3118-77

»          8

ГОСТ 25336-82

Приложения 7; 8

ГОСТ 4108-72

»          8

ГОСТ 27987-88

»          8; 9

ГОСТ 4145-74

»          8

СН-245-71

6.3

6.  ПЕРЕИЗДАНИЕ с Изменением № 1, утвержденным в октябре 1987 г. (ИУС 1-88), Изменением № 2, утвержденным в ноябре 2002 г. (ИУС № 6 2003 г.)

СОДЕРЖАНИЕ

1. Общие положения. 1

2. Требования к размещению станций. 2

3. Требования к сооружениям станций. 3

4. Требования к оборудованию станций. 4

5. Требования к метеорологическим наблюдениям.. 8

6. Требования безопасности. 8

Приложение 1. Перечень вспомогательных сооружений. 9

Приложение 2. Стенд с изменяемым углом наклона рамы к горизонту. 9

Приложение 3. Устройство стенда с автоматически перемещающейся рамой. 9

Приложение 4. Метод расчета минимально допустимого расстояния от заслоняющих объектов до образцов на стендах. 11

Приложение 5. Микологический стенд для испытания образцов на микробиологическую стойкость. 11

Приложение 6. Стенд для экспонирования образцов на надводных станциях. 12

Приложение 7. Метод определения общего содержания озона и оксидантов в воздухе. 12

Приложение 8. Определение количества пыли в воздухе и ее химического состава. 14

Приложение 9. Перечень аппаратуры, применяемой при проведении метеорологических наблюдений. 17