ГОСУДАРСТВЕННЫЙ СТАНДАРТ СОЮЗА ССР

ДРОБИЛКИ

ТЕРМИНЫ И ОПРЕДЕЛЕНИЯ

ГОСТ 14916-82

ГОСУДАРСТВЕННЫЙ КОМИТЕТ СССР ПО СТАНДАРТАМ

Москва

ГОСУДАРСТВЕННЫЙ СТАНДАРТ СОЮЗА ССР

ДРОБИЛКИ

Термины и определения

Crushers. Terms and definitions

ГОСТ
14916-82

Взамен
ГОСТ
18600-73,
ГОСТ 14916-69

Постановлением Государственного комитета СССР по стандартам от 16 ноября 1982 г. № 4305 срок введения установлен

с 01.01.84

Настоящий стандарт устанавливает применяемые в науке, технике и производстве термины и определения понятий в области видов и основных исполнений дробилок.

Термины, установленные настоящим стандартом, обязательны для применения в документации всех видов, научно-технической, учебной и справочной литературе.

Для каждого понятия установлен один стандартизованный термин. Применение терминов-синонимов стандартизованного термина запрещается. Недопустимые к применению термины-синонимы приведены в качестве справочных и обозначены «Ндп».

Для отдельных стандартизованных терминов в стандарте приведены в качестве справочных их краткие формы, которые разрешается применять, когда исключена возможность их различного толкования. Установленные определения можно, при необходимости, изменять по форме изложения, не допуская нарушения границ понятий.

Когда необходимые и достаточные признаки понятия содержатся в буквальном значении термина, определение не приведено, и, соответственно, в графе «Определение» поставлен прочерк.

В стандарте в качестве справочных приведены иностранные эквиваленты ряда стандартизованных терминов на немецком (D), английском (Е) и французском (F) языках. В стандарте приведены алфавитные указатели содержащихся в нем терминов на русском языке и их иностранных эквивалентов.

В стандарте имеется справочное приложение, в котором приведена классификация дробилок. Стандартизованные термины набраны полужирным шрифтом, их краткая форма - светлым, а недопустимые синонимы - курсивом.

Термин

Определение

Схема

 

ОСНОВНЫЕ ПОНЯТИЯ

 

1. Дробление

D. Zerkleinerung

Е. Crushing

F. Concassage

Разрушение твердого кускового материала на мелкие куски

-

2. Дробилка

D. Brecher

Е. Crusher

F. Concasseur

Машина для дробления

-

 

ВИДЫ ДРОБИЛОК

 

3. Щековая дробилка

D. Backenbrecher

Е. Jaw crusher

F. Concasseur a machoires

Дробилка, дробление в которой осуществляется сжатием материала между щеками

4. Конусная дробилка

D. Kegelbrecher

Е. Gyratory crusher

F. Concasseur a cone

Дробилка, дробление в которой осуществляется сжатием материала между конусами, расположенными один внутри другого

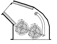
5. Валковая дробилка

D. Walzenbrecher

Е. Roll crusher

F. Concasseur a cylindres

Дробилка, дробление в которой осуществляется сжатием материала между вращающимися валками или валком и неподвижной плитой.

Примечание. В соответствии с числом валков дробилке присваивают наименования: «Одновалковая», «Двухвалковая», «Трехвалковая» и т.д.

6. Роторная дробилка

D. Prallbrecher

Е. Impactor

F. Concasseur a percussion

Дробилка, дробление в которой осуществляется ударами бил, жестко закрепленных на вращающемся вокруг горизонтальной оси роторе.

Примечание. В соответствии с числом роторов дробилке присваивают наименования: «Однороторная», «Двухроторная», «Трехроторная» и т.д.

7. Молотковая дробилка

D. Haminerbrecher

Е. Hammermill

F. Concasseur a marteaux articules

Дробилка, дробление в которой осуществляется ударами молотков, шарнирно закрепленных на вращающемся роторе.

Примечание. В соответствии с числом роторов дробилке присваивают наименования: «Однороторная молотковая дробилка», «Двухроторная молотковая дробилка», «Трехроторная молотковая дробилка» и т.д.

 

ОСНОВНЫЕ ИСПОЛНЕНИЯ ДРОБИЛОК

 

8. Одноступенчатая дробилка

D. Einstufenbrecher

Е. Single-stage crusher

F. Concasseur a stade unique

Дробилка, в которой загружаемый материал поступает одновременно на все основные рабочие органы.

Примечание. Основным рабочим органом дробилки является сборочная единица или среда, передающая энергию кускам дробимого материала при непосредственном с ним контакте

9. Многоступенчатая дробилка

Дробилка, в которой загружаемый материал последовательно поступает от одного основного рабочего органа или группы рабочих органов к другому основному рабочему органу или группе основных рабочих органов.

Примечание. В соответствии с числом ступеней дробления дробилке присваивают наименования: «Двухступенчатая», «Трехступенчатая» и т.д.

10. Комбинированная дробилка

Многоступенчатая дробилка с основными рабочими органами, характерными для дробилок разных видов

11. Щековая дробилка с простым движением щеки

Щековая дробилка, точки подвижной щеки которой движутся по прямым или дугам окружности, близким к прямым

12. Щековая дробилка со сложным движением щеки

Щековая дробилка, точки подвижной щеки которой движутся по замкнутым кривым

13. Реверсивная роторная дробилка

D. Reversieverprallbrecher

Е. Reversible impactor

F. Concasseur a percussion a fonctionnement reversible

Роторная дробилка с реверсивным вращением ротора (ов)

14. Реверсивная молотковая дробилка

D. Reversieverhammerbrecher

Е. Reversible hammermill

F. Concasseur a marteaux articules a fonctionnement reversible

Молотковая дробилка с реверсивным вращением ротора (ов)

15. Вертикальная молотковая дробилка

D. Vertikalhammerbrecher

Е. Vertical hammermill

F. Concasseur a marteaux articules au rotor verticale

Молотковая дробилка с вертикальной осью вращения ротора

 

ОБЩИЕ КОНСТРУКТИВНЫЕ ЭЛЕМЕНТЫ ДРОБИЛОК

 

16. Корпус дробилки

Корпус

Ндп. Рама

D. Brechergehuse

Е. Crusher housing

F. Corps de concasseur

Опорная конструкция для крепления элементов дробилки

17. Станина дробилки

Станина

D. Brecherbett

Е. Crusher frame

F. Bati de concasseur

Часть корпуса дробилки, устанавливаемая на фундамент

18. Камера дробления

D. Brechraum

Е. Crushing chamber

F. Chambre de concassage

Пространство между рабочими органами дробилки, в котором происходит дробление и перемещение материала

-

19. Предохранительное устройство дробилки

Предохранительное устройство

D. Brechschutzvorrichtung

Е. Crusher safety release

F. Dispositif de securite de concasseur

Устройство для предохранения элементов дробилки от поломок при перегрузках

-

АЛФАВИТНЫЙ УКАЗАТЕЛЬ ТЕРМИНОВ НА РУССКОМ ЯЗЫКЕ

Дробилка

2

Дробилка валковая

5

Дробилка комбинированная

10

Дробилка конусная

4

Дробилка многоступенчатая

9

Дробилка молотковая

7

Дробилка молотковая вертикальная

15

Дробилка молотковая реверсивная

14

Дробилка одноступенчатая

8

Дробилка роторная

6

Дробилка роторная реверсивная

13

Дробилка шоковая

3

Дробилка щековая со сложным движением щеки

12

Дробилка щековая с простым движением щеки

11

Дробление

1

Камера дробления

18

Корпус

16

Корпус дробилки

16

Рама

16

Станина

17

Станина дробилки

17

Устройство дробилки предохранительное

19

Устройство предохранительное

19

АЛФАВИТНЫЙ УКАЗАТЕЛЬ ТЕРМИНОВ НА НЕМЕЦКОМ ЯЗЫКЕ

Backenbrecher

3

Brecher

2

Brecherbett

17

Brechergehuse

16

Brechraum

18

Brechschutzvorrichtung

19

Einstufenbrecher

8

Hammerbrecher

7

Kegelbrecher

4

Prallbrecher

6

Reversieverhammerbrecher

14

Reversieverprallbrecher

13

Vertikalhammerbrecher

15

Walzenbrecher

5

Zerkleinerung

1

АЛФАВИТНЫЙ УКАЗАТЕЛЬ ТЕРМИНОВ НА АНГЛИЙСКОМ ЯЗЫКЕ

Crusher

2

Crusher frame

17

Crusher housing

16

Crusher safety release

19

Crushing

1

Crushing chamber

18

Gyratory crusher

4

Hammermill

7

Impactor

6

Jaw crusher

3

Reversible impactor

13

Reversible hammermill

14

Roll crusher

5

Single-slage crusher

8

Vertical hammermill

15

АЛФАВИТНЫЙ УКАЗАТЕЛЬ ТЕРМИНОВ НА ФРАНЦУЗСКОМ ЯЗЫКЕ

Bati de concasseur

17

Chambre de concassage

18

Concassage

1

Concasseur

2

Concasseur a cone

4

Concasseur a cylindres

5

Concasseur a machoires

3

Concasseur a niarteaux articules

7

Concasseur a marteaux articules a fonctionnement reversible

14

Concasseur a marteaux articules au rotor verticale

15

Concasseur a percussion

6

Concasseur a percussion a fonctionnement reversible

13

Concasseur a stade unique

8

Corps de concasseur

16

Dispositif de securite de concasseur

19

ПРИЛОЖЕНИЕ

Справочное

КЛАССИФИКАЦИЯ ДРОБИЛОК