Информационная система
«Ёшкин Кот»

XXXecatmenu

ООО «ЦЕНТР ЭКОЛОГИЧЕСКИХ ИССЛЕДОВАНИЙ»

УТВЕРЖДАЮ:

Директор «Центра экологических
исследований»

___________________ А.М. Царев

«__» ___________________ 2004 г

МЕТОДИКА ВЫПОЛНЕНИЯ ИЗМЕРЕНИИ
МАССОВОЙ КОНЦЕНТРАЦИИ ЖЕЛЕЗА (
Fe+3)
В ПРОМЫШЛЕННЫХ ВЫБРОСАХ
ФОТОМЕТРИЧЕСКИМ МЕТОДОМ

№ МВИ-07-04

Санкт-Петербург
2004

СОДЕРЖАНИЕ

Настоящий документ устанавливает методику выполнения измерений массовой концентрации железа (Fe+3) фотометрическим методом в организованных выбросах металлургического и химического производств, при механической обработке металлов, сварочных работах.

Диапазон измерений массовой концентрации Fe+3 от 1,0 до 1500 мг/м3. Определению Fe+3 мешают: хром шестивалентный, окрашенные вещества (н.р. смолистые). Определению Fe+3 не мешают: кобальт, никель, цинк. Марганец, медь, алюминий до двукратного избытка не мешают определению.

1. Характеристики погрешности измерений

Расширенная неопределенность измерений (при коэффициенте охвата 2)*: 0,25 С, где С - результат измерений суммарной массовой концентрации железа и его соединений, мг/м3.

_________

*) Соответствует границам абсолютной суммарной погрешности (±Δ) при доверительной вероятности 0,95

Область применения градуировочной характеристики от 0,15 до 0,7 мг Fe+3 в 100 см3 раствора.

2. Средства измерений, вспомогательные устройства, реактивы и материалы

2.1. Средства измерения

Наименование, марка

Нормативные документы

Фотоэлектроколориметр КФК-3

ГОСТ 12085-78

Электроаспиратор М-822

ГОСТ 13478-75

Пневмометрические трубки

ГОСТ 17.2.4.06-90

Микроманометр

ГОСТ 2405-88

Термометр лабораторный шкальный ТЛ-2 цена деления 1 °С, 0 - 55 °С

ГОСТ 28498-90

Барометр-анероид М-67

ГОСТ 23696-79

Секундомер, класс 3, цена деления секундной шкалы 0,2 с

ГОСТ 5072-79

Весы лабораторные специального класса точности с наибольшим пре делом взвешивания 200 г и ценой деления 0,1 мг, ВЛР-200-М

ГОСТ 24104-2001

Меры массы

ГОСТ 7328-82

Колбы мерные 2-50-2 2-100-2, 2-1000-2

ГОСТ 1770-74

Пипетки 4-2-1, 4-2-2, 5-2-10

ГОСТ 29227-91

Цилиндр мерный вместимостью 100 см3

ГОСТ 1770-74

ГСО состава водных растворов ионов железа, ГСО 7450-98

ГОСТ 8.315-97

Счетчик газа объемный диафрагменный СГК-1,6

 

Государственный реестр № 17493-98

 

2.2. Вспомогательные устройства

ПЗ ЭПМ «Атмосфера» или ПТ ЭПМ «Смог» (пробоотборные зонды с набором наконечников)

ГОСТ Р 50820-95

Стекловолокно

ОСТ 6-11-81-77

Стекловата

ГОСТ 5679-74

Фильтры АФА-ХП-10, АФА-ХП-20

ТУ 95-743-80

Силикагель марки КСМГ

ГОСТ 3956-78

Стаканы термостойкие В-1-100 ТС

ГОСТ 25336-82Е

Трубка резиновая полувакуумная, тип 1

ГОСТ 5496-77

Эксикатор

ГОСТ 6371-73

Электроплитка

 

Песочная баня

 

Фильтр стеклянный

ГОСТ 9775-69

Воронки для фильтрования, стеклянные

ГОСТ 25336-82

В-25-50-ХС

 

2.3. Реактивы

Железо металлическое восстановленное

ТУ 6-09-2227-72

Кислота соляная, х.ч. (ρ = 1,19 г/см3)

ГОСТ 3118-77

Аммиак водный, ч.д.а. 25 %

ГОСТ 3760-79

Кислота азотная, х.ч. (ρ = 1,4 г/см3)

ГОСТ 4461-77

Кислота сульфосалициловая, ч.д.а.

ГОСТ 4478-78

Аммоний хлористый, х.ч.

ТУ 6-09-587-75

Вода дистиллированная

ГОСТ 6709-72

Примечание: могут быть использованы средства измерений, оборудование и реактивы, не уступающие по своим характеристикам вышеперечисленным.

3. Метод измерения

Метод основан на:

- отборе соединений железа в фильтрующий патрон со стекловатой и стекловолокном или на фильтры АФА-ХП-10, АФА-ХП-20, с помощью электроаспиратора;

- переводе отобранной пробы в раствор;

- взаимодействии Fe+3 с сульфосалициловой кислотой в щелочной среде;

- измерении оптической плотности раствора фотоэлектроколориметром при длине волны 430 нм в кюветах с толщиной поглощающего слоя 10 мм.

4. Требования безопасности

При отборе проб, выполнении измерений массовой концентрации Fe+3 необходимо соблюдение требований техники безопасности (ТБ) при работе с химическими реактивами по ГОСТ 12.1.018-86 и ГОСТ 12.1.007-76, требования электробезопасности при работе с электроустановками по ГОСТ 12.1.019-79. Работы на высоте следует проводить в соответствии с СНиП III-4-80. При отборе проб все исполнители должны быть проинструктированы по условиям безопасной работы на предприятии.

5. Требования к квалификации оператора

К отбору проб и выполнению измерений и обработке результатов допускаются лица, имеющие высшее или среднее специальное химическое образование и опыт работы в химической лаборатории, прошедшие соответствующий инструктаж, освоившие метод в процессе тренировки и уложившиеся в нормативы при выполнении процедур контроля точности результатов измерений

6. Условия измерений

При выполнении измерений в лаборатории должны быть соблюдены следующие условия:

температура воздуха (20 ± 5) °С,

атмосферное давление (84,0 - 106,7) кПа, (630 - 800) мм рт. ст.,

влажность воздуха не более 80 % при температуре 25 °С,

напряжение в сети (220 ± 10) В.

При отборе проб должны выполняться следующие требования:

Метод внутренней фильтрации:

температура газа в газоходе до 3000 °С,

избыточное давление (разрежение) ±10 кПа,

влажность газа в газоходе до 100 %.

Метод внешней фильтрации:

температура газа в газоходе до 600 °С,

избыточное давление (разрежение) ±10 кПа,

влажность газа в газоходе до 30 %.

газовоздушная смесь, поступающая на газовый счетчик, должна соответствовать температуре 20 ± 10 °С.

Примечание: метод внутренней фильтрации является приоритетным.

7. Подготовка к выполнению измерения

7.1. Подготовка фильтров АФА-ХП к измерениям

Каждому фильтру присваивают номер и помещают его в отдельный конверт. Параллельно приготавливают холостой фильтр для серии измерений.

7.2. Подготовка патрона со стекловолокном и стекловатой к измерениям

7.2.1. Подготовка стекловаты и стекловолокна

Необходимое количество стекловолокна и стекловаты для нескольких серий измерений помещают в термостойкие стаканы, заливают содержимое стаканов разбавленной соляной кислотой (1:1) и кипятят в течение 5 минут. Раствор кислоты выливают из стаканчиков и процедуру повторяют. Затем содержимое стаканчиков промывают дистиллированной водой до нейтральной среды и переносят в стеклянные воронки с пористым фильтром, после того как вода стечет, стекловату и стекловолокно сушат в сушильном шкафу до постоянного веса. Хранят в эксикаторе.

7.2.2. Перед отбором проб патроны подготавливают в соответствии с ГОСТ Р 50820-95.

Сухие и чистые стальные патроны сначала плотно набивают стекловатой (~40 - 50 мг), а затем, не очень плотно, стекловолокном (~0,4 - 0,5 г). Патроны набивают так, чтобы разрежение, создаваемое сопротивлением стекловолокна и стекловаты, находилось в интервале 300 ÷ 400 мм вод. ст.

7.2.3. Для проверки разрежения в лаборатории собирают установку в соответствии с рис 1. Вход на U-манометр закрыт зажимом. Включают аспиратор и устанавливают объемный расход 15 дм3/мин. Зажим с U-манометра снимают и измеряют разницу между высотами воды в коленах манометра (ΔРустановка, мм вод. ст.). Измерения проводят не менее трех раз, затем результаты усредняют. Значение разрежения записывают в журнале. Для перевода мм вод. ст. в мм рт. ст. измеренное значение разрежения делят на коэффициент 13,5.

7.2.4. Каждому патрону присваивают номер и помещают его в отдельный контейнер вертикально, закрыв пробкой. Аналогично готовят холостой патрон для серии измерений.

7.3. Приготовление раствора хлорида аммония 2 моль/дм3 (2 н.)

В колбе вместимостью 100 см3, в дистиллированной воде растворяют навеску NH4CI 10,7 г, доводят до метки. Срок хранения один месяц в колбе с притертой пробкой.

7.4. Приготовление 20 %-ного раствора сульфосалициловой кислоты

20 г сульфосалициловой кислоты растворяют в 80 см3 дистиллированной воды. Срок хранения один месяц в колбе с притертой пробкой.

7.5. Приготовление раствора азотной кислоты, разбавленной 1:1

В колбу с 50 см3 дистиллированной воды медленно вносят 50 см3 концентрированной азотной кислоты. Срок хранения неограничен в колбе с притертой пробкой.

7.6. Приготовление раствора соляной кислоты, разбавленной 1:1

В колбу с 50 см3 дистиллированной воды медленно вносят 50 см3 концентрированной соляной кислоты. Срок хранения неограничен в колбе с притертой пробкой.

7.7. Приготовление поглотительного раствора, для отбора мелкодисперсного аэрозоля соединений железа (н.р. мартеновские печи)

В колбу вместимостью 100 см3, с 50 см3 дистиллированной воды, внести 0,9 см3 концентрированной соляной кислоты и 0,1 см3 концентрированной азотной кислоты, довести до метки дистиллированной водой. Срок хранения шесть месяцев в колбе с притертой пробкой.

7.8 Приготовление растворов для построения градуировочной характеристики

7.8.1. Раствор А (исходный)

0,5 г железа металлического восстановленного, помещают в термостойкий стакан, осторожно приливают 10 см3 раствора, состоящего из 9 см3 разбавленной соляной кислоты (1:1) и 1 см3 разбавленной азотной кислоты (1:1), устанавливают на песочную баню при t ~100 °С (следить, чтобы раствор не выплеснуло), выпаривают, почти, досуха. Снимают стаканчик с бани, остужают. Содержимое стаканчика количественно переносят в мерную колбу вместимостью 50 см3 раствором соляной кислоты, разбавленной (1:1). Массовая концентрация Fe+3 в исходном растворе А составляет 10 мг/см3. Срок хранения раствора 6 месяцев в колбе с притертой пробкой в холодильнике. Исходный раствор можно приготовить путем разбавления, используя ГСО 7450-98.

7.8.2. Раствор Б (рабочий)

1,00 см3 раствора А помещают в мерную колбу вместимостью 100 см3, доливают до метки дистиллированной водой. Массовая концентрация Fe+3 в рабочем растворе Б составляет 0,10 мг/см3. Раствор готовить перед использованием.

7.9. Приготовление градуировочных растворов

Градуировочные растворы с массой Fe+3 от 0,1 до 0,7 мг готовят в мерных колбах вместимостью 100 см3 в соответствии с табл. 1. Используют для этого рабочий раствор Б.

Приготовление градуировочных растворов (ГР) с массой Fe+3 от 0,1 до 0,7 мг

Таблица 1

Номер ГР

Хол.

1

2

3

4

5

6

7

Объём раствора Б, см3

0

1,0

2,0

3,0

4,0

5,0

6,0

7,0

Масса Fe+3, мг

0

0,10

0,20

0,30

0,40

0,50

0,60

0,70

Объём дистиллированной воды, см3

До 80 см3

Объём раствора NH4, CL, см3

По 2,0 см3

Объём раствора сульфосалициловой к-ты, см3

По 2,0 см3

Объём аммиака, см3

По 2,0 см3

Содержимое колб доводят до метки дистиллированной водой, перемешивают.

Оптическую плотность градуировочных растворов измеряют при длине волны 430 нм в кюветах с толщиной поглощающего слоя 10 мм через 10 мин после их приготовления.

7.10. Градуировку проводят по трем сериям градуировочных растворов, приготовленных по п. 7.9. Каждый раствор заливают в кювету и фотометрируют относительно холостого раствора. Результаты для трех серий измерений оптических плотностей растворов усредняют. Получают значение оптической плотности (), где индекс i соответствует номеру градуировочного раствора по таблице 1.

Проводят проверку приемлемости (контроль сходимости) результатов измерений оптической плотности.

Результаты признают приемлемыми при выполнении для каждого раствора условия:

(1)

где rD, n - норматив (допускаемое расхождение результатов n измерений) для доверительной вероятности 0,95.

При градуировке n = 3 и rD, 3 = 7 %.

Если результаты измерений не удовлетворяют указанному условию, то необходимо проверить чистоту посуды и реактивов, а так же исправность прибора.

Градуировочную характеристику представляют в виде линейного уравнения:

D = А + Вm,

(2)

где D - оптическая плотность раствора, измеренная относительно холостого раствора, е.о.п.

m - масса Fe+3 в 100 см3 раствора, мг,

А и В - коэффициенты, определяемые методом наименьших квадратов по формулам 3 и 4:

(3)

где  - оптическая плотность i-го градуировочного раствора (среднее арифметическое по трем сериям градуировочных растворов), е.о.п.;

i - номер градуировочного раствора;

mi - масса Fe+3 i-го градуировочного раствора, мг.

n - количество градуировочных растворов, n = 7

(4)

Проводят проверку приемлемости градуировочной характеристики.

Градуировочную характеристику признают приемлемой при выполнении условия:

(5)

где Kг - норматив контроля, %,

 - оптическая плотность i-го градуировочного раствора, е.о.п., (среднее арифметическое результатов по трем сериям измерений)

n - количество градуировочных растворов; n = 7,

Kг = 3 %.

8. Выполнение измерений

8.1 Отбор проб

Отбор проб следует проводить в соответствии с ГОСТ Р 50820-95 при установившемся технологическом режиме работы обследуемого источника выделения загрязняющих веществ в атмосферу. Место для отбора проб выбирают на прямолинейном участке газохода. Прямолинейный участок должен иметь длину не менее 5 - 6 диаметров газохода до места отбора проб и 3 - 4 диаметров после места отбора проб. Не следует выбирать место отбора проб вблизи задвижек, дросселей, диффузоров, колен и вентиляторов.

Условия отбора проб при разных ожидаемых массовых концентрациях
соединений железа (Fe+3)

Таблица 2

Ожидаемая массовая концентрация Fe+3 в газопылевом потоки, мг/м3

от 1 до 8

от 8 до 100

от 100 до 1500

Ориентировочные условия отбора:

 

объемный расход, дм3/мин.,

15

время отбора, мин.

20

Ожидаемая накопленная масса Fe+3, мг

от 0,3 до 2,4

от 2,4 до 30

от 30 до 450

8.1.1. В случае, когда из источника загрязнения атмосферы (ИЗА) летит фракция соединений железа, которая улавливается фильтром или патроном (нет проскока), собирают установку в соответствии с рис. 2

8.1.2. В случае, когда из ИЗА летит мелкодисперсная фракция соединений железа, которая не полностью улавливается фильтром или патроном (мартеновские печи), собирают установку для отбора пробы в соответствии с рис. 3. В этом случае, посте фильтра или патрона устанавливают большой поглотитель Рыхтера с 20 см3 поглотительного раствора, приготовленного по п. 7.7.

8.1.3. Проверяют схему на герметичность: включают электроаспиратор, устанавливают расход газового потока примерно 15 дм3/мин, закрывают входное отверстие пробоотборного зонда, при этом создается разрежение в установке. Если в течение 0,5 мин поплавок ротаметра достигает нулевой отметки, установка считается герметичной. Отбор проб проводят при соблюдении правила изокинетичности во входном сечении пробоотборного зонда. Скорость газовоздушной смеси в газоходе определяют в соответствии ГОСТ 17.2.4.06-90.

Расчёт необходимого объёмного расхода газа при отборе пробы проводят на основе формулы (6).

(6)

где Vг - необходимый объёмный расход газа при отборе из газохода,

d - диаметр сменного наконечника (от 3 до 10 мм),

Wг - скорость газа в газоходе, м/с.

После прохождения газовоздушной смеси через всю пробоотборную систему ее объем изменяется за счёт изменения температуры и сопротивления у ротаметра. Объемный расход газа, проходящий через ротаметр, рассчитывают по формуле:

(7)

где Vp - объёмный расход газа, проходящий через счетчик и ротаметр, дм3/мин,

tp - температура газа у ротаметра, °С,

Р - атмосферное давление, мм рт. ст.,

ΔРг - избыточное давление (+), разрежение (-) в газоходе, мм рт. ст.,

tг - температура газа в газоходе, °С,

ΔРустановка - разрежение, измеренное в условиях лаборатории, мм рт. ст.

Время отбора пробы в соответствии с ГОСТ 17.2.3.02-78, должно составлять 20 минут, объём отобранной пробы, примерно, составлял 300 дм3. Объёмный расход газа у ротаметра необходимо поддерживать постоянным в течение всего времени отбора. Затем установку отключают. Осторожно извлекают патрон или фильтр и помещают в отдельный контейнер или конверт. Пробу передают в лабораторию для анализа.

8.1.4. После отбора пробы на фильтр (метод внешней фильтрации) или мелкодисперсного аэрозоля (в схему отбора пробы включен поглотитель) пробоотборный зонд промывают 10 ÷ 20 см3 раствора соляной кислоты (1 см3 концентрированной HCL в 100 см3 дистиллированной воды). Смыв помещают в стеклянную склянку и передают в лабораторию для анализа.

8.2. Анализ проб

Перевод определяемого вещества в раствор

8.2.1. Если отбор пробы проводился на фильтр, то осторожно освобождают его от фильтродержателя, разворачивают и переносят в термостойкий стаканчик вместимостью 100 - 150 см3. Количественно переносят в него смыв с зонда и ставят на песочную баню для выпаривания. Затем заливают 10 см3 раствора, состоящего из 9 см3 разбавленной соляной кислоты (1:1) и 1 см3 разбавленной азотной кислоты (1:1), ставят на песочную баню (~t = 100 °С) и выпаривают, почти, досуха. Стаканчик остужают и количественно переносят содержимое в мерную колбу в соответствии с табл. 3, раствором соляной кислоты (1 см3 концентрированной соляной кислоты в 100 см3 дистиллированной воды) фильтруя через стеклянный фильтр. Доводят раствором соляной кислоты до метки, полученный раствор перемешивают. Раствор устойчив в течение месяца в стеклянной посуде с притертой пробкой в холодильнике.

8.2.2. Если отбор пробы проводился в соответствии с рис. 3 (с поглотителем Рыхтера), то в термостойкий стаканчик количественно переносят так же содержимое поглотителя, ополаскивая его раствором соляной кислоты. Затем поступают в соответствии с п. 8.2.1.

8.2.3. Если отбор пробы проводился в патроны, осторожно извлекают пинцетом стекловолокно и стекловату над термостойким стаканчиком и помещают её в этот стаканчик. Ополаскивают патрон 10 см3 раствора, состоящего из 9 см3 разбавленной соляной кислоты (1:1) и 1 см3 разбавленной азотной кислоты (1:1), и ставят на песочную баню. Затем поступают как в п. 8.2.1.

8.2.4. Холостой фильтр (холостой патрон) обрабатывают аналогичным образом.

Условия подготовки пробы для выполнения анализа

Таблица 3

Ожидаемая массовая концентрация Fe+3 в газопылевом потоке, мг/м3

от 1 до 8

от 8 до 100

от 100 до 1500

Вместимость мерной колбы, Vколба 1, см3

50

100

100 (из этой колбы взять 15,0 см3 (Vаликвота 2) и поместить в колбу (Vколба 2) вместимостью 100 см3, довести до метки дистиллированной водой)

Аликвота на анализ, Vаликвота 1 см3

от 25 до 15

от 5 до 2

от 3,0 до 1,0

Ожидаемый диапазон масс Fe+3 в анализируемом растворе, мг

от 0,15 до 0,72

от 0,12 до 0,6

от 0,14 до 0,68

Для анализа готовят две параллельные пробы раствора. Каждую аликвоту, в соответствии с табл. 3, помещают в мерную колбу. Затем в соответствии с п. 7.9 и фотометрируют относительно холостого раствора при длине волны 430 нм в кюветах с толщиной поглощающего слоя 10 мм через 10 мин после их приготовления.

9. Обработка результатов измерений

9.1. Вычисляют среднее значение оптической плотности анализируемого раствора по формуле

(8)

где Dʹ и Dʹʹ - результаты параллельных измерений оптической плотности анализируемого раствора, измеренные относительно холостого раствора, е.о.п.

Проверяют приемлемость результатов измерений оптической плотности по формуле (1) при n = 2 и rD, 2 = 6% - норматив при анализе.

9.2. Вычисляют массу Fe+3 в 100 см3 анализируемого раствора (m, мг) по формуле:

(9)

где А и В - коэффициенты, найденные по формулам (3) и (4).

9.3. По показаниям газового счетчика находят значение объема отобранной пробы, Vсчетчик, м3.

Объем отобранной пробы газа приводят к нормальным условиям (V0, м3) по формуле:

(10)

где Р - атмосферное давление, мм рт. ст.,

ΔРг - разрежение (-), давление (+) в газоходе, мм рт. ст.,

tp - температура газовой пробы перед ротаметром, °С,

ΔРустановки - разрежение в установке, мм рт. ст. (рис. 1).

9.4. Массовую концентрацию Fe+3 (С, мг/м3) в отобранной пробе в диапазоне от 1,0 до 100 мг/м3 рассчитывают по формуле (11), в диапазоне от 100 до 1500 мг/м3 по формуле (12):

(11)

где Vколба 1 - объем колбы для первичного разбавления солей Fe+3, см3,

Vаликвота 1 - объем аликвоты для анализа, см3.

(12)

где Vколба 2 - объем колбы для вторичного разбавления растворов солей Fe+3, см3,

Vаликвота 1 - объем аликвоты для вторичного разбавления раствора солей Fe+3, см3.

(Vколба 1 = 50 или 100 см3, Vколба 2 = 100 см3, Vаликвота 1 = от 1 до 25 см3, Vаликвота 2 = 15 см3).

10. Контроль точности измерений

10.1. Контроль стабильности градуировочной характеристики.

Контроль стабильности градуировочной характеристики проводится при постоянной работе не реже одного раза в квартал, а так же при смене реактивов, места положения фотоэлектроколориметра. Контроль проводится по градуировочному раствору, приготовленному в соответствии с п. 7.9; 7.10. Для проведения контроля используется контрольный раствор, идентичный градуировочному раствору 3 по табл. 1. Раствор готовится три раза. Результат контроля признается положительным при выполнении условий (1) и (13):

(13)

где Kр - норматив контроля, %.

mi - масса Fe+3 в 100 см3 градуировочного раствора 3 (m3 = 0,30 мг),

mk - масса Fe+3, (мг) в 100 см3 контрольного раствора, рассчитанная по формуле:

(14)

где Dk - оптическая плотность контрольного раствора ( среднее арифметическое результатов трёх измерений ) относительно холостой пробы, приготовленного в соответствии с п. 7.9 табл. 1 (градуировочный раствор 3)),

А, В - коэффициенты по формулам (3) и (4),

Kр = 10 %.

10.2 Контроль правильности результатов измерений массы железа, нанесенной в патрон

Данная контрольная операция позволяет выявить значимые систематические погрешности, возникающие на стадиях, следующих за отбором пробы. Контроль осуществляют на этапе освоения МВИ, при оценке пригодности методики для конкретного источника загрязнений, а также по требованию организации, осуществляющей контроль за деятельностью лаборатории.

Добавка железа на патрон осуществляется весовым методом. В табл. 3 приведены ориентировочные массы железа, которые могут быть накоплены при отборе пробы (от 0,3 до 450 мг). Взвешивают навеску железа в соответствие с приведенным диапазоном (mвзвеш.) С погрешностью не более ±0,2 мг.

Пробоподготовку и анализ проводят с соответствии с п. 8.2.

Массу железа в контрольном образце (mk 1, мг) определяют по формулам (15) или (16):

(15)

(16)

Результат признается положительным при выполнении условия (17).

(17)

Примечание:

При постоянной работе рекомендуется регистрировать результаты контроля на контрольных картах (карте средних значений для mi и карте размахов для D), руководствуясь ГОСТ Р ИСО 5725-6-2002. В этом случае нормативы, указанные в МВИ, используют в качестве первоначальных пределов действия, которые затем корректируют по накопленным в лаборатории данным.

11. Оформление результатов измерений

Результат измерения записывается в виде:

(С ± 0,25С)мг/м3 (Р = 0,95)

(18)

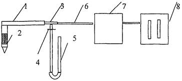
Рис 1. Схема установки для измерения ΔРустановка в условиях лаборатории

1 - пробоотборный зонд, 2 - патрон, 3 -тройник, 4 - зажим, 5 - манометр,
6 - резиновый шланг, 7 - газовый счетчик, 8 - аспиратор

Рис 2. Схема отбора проб

1 - пробоотборный зонд, 2 - патрон, 3 -газоход, 4 - резиновый шланг,
5 - газовый счетчик, 6, - сосуды с термометром и силикагелем,
6ʹ - сосуд с термометром, 7 - аспиратор

Рис 3. Схема отбора проб

1 - пробоотборный зонд, 2 - патрон, 3 -газоход, 4 - резиновый шланг,
5 - газовый счетчик, 6 - сосуды с термометром и силикагелем,
6ʹ - сосуд с термометром, 7 - аспиратор, 8 - поглотитель Рыхтера.



© 2013 Ёшкин Кот :-)