Информационная система
«Ёшкин Кот»

XXXecatmenu

ООО «Строительные Технологии» СПб, 22 Линия, д. 3 корп. 1

Технологическая карта на штукатурные работы по
бетонным потолкам

Типовая технологическая карта
(ТТК)

Шифр проекта: 1012/81.ТТК

Пояснительная записка

Исполнено:

 

 

Главный инженер проекта

 

Соболев А.В.

Инженер-проектировщик

 

Копко В.В.

Н. Контроль

 

Васильев В.М.

2012 г.

СОДЕРЖАНИЕ

1. Область применения. 1

2. Технология и организация выполнения работ. 2

2.1. Требования к качеству предшествующих работ. 2

2.2. Требования к применяемым материалам. 3

2.3. Технология производства работ. 3

3. Требования к качеству и приемке работ. 6

4. Требования безопасности и охраны труда. 12

4.1. Общие положения. 12

4.2. Техника безопасности при работе с электрическими машинами. 13

4.3. Техника безопасности при выполнении штукатурных работ. 13

5. Экологическая, пожарная и электробезопасность. 15

5.1. Обеспечение экологической безопасности. 15

5.2. Обеспечение пожарной безопасности. 15

5.3. Обеспечение электробезопасности. 16

6. Материально-технические ресурсы.. 16

7. Технико-экономические показатели. 18

 

1. ОБЛАСТЬ ПРИМЕНЕНИЯ

Технологическая карта (ТК) разработана на штукатурные работы по бетонным потолкам. Технологическая карта предназначена для использования при разработке Проектов производства работ (ППР), Проектов организации строительства (ПОС), другой организационно-технологической документации, а также с целью ознакомления рабочих и инженерно-технических работников с правилами производства работ по устройству кровли из асбестоцементных листов.

При привязке карты к конкретным объектам и условиям производства работ подлежат уточнению объемы работ, потребность в материально-технических ресурсах, калькуляция затрат труда и календарный план производства работ. Технологическая карта разработана в соответствии с учётом требований следующих нормативных документов:

1. СП 48.13330.2011 «Организация строительства»;

2. ГОСТ 24297-87 «Входной контроль продукции. Основные положения»;

3. СНиП 12-03-2001 «Безопасность труда в строительстве. Часть 1. Общие требования»;

4. СНиП 12-04-2002 «Безопасность труда в строительстве. Часть 2. Строительное производство»;

5. СП 12-135-2003 «Безопасность труда в строительстве. Отраслевые типовые инструкции по охране труда».

6. ППБ 01-03 «Правила пожарной безопасности в Российской Федерации»;

7. СанПиН 2.2.4.548-96 «Гигиенические требования к микроклимату производственных помещений»

8. ГОСТ 7502-98 «Рулетки измерительные металлические. Технические условия».

9. ГОСТ 9416-83 «Уровни строительные. Технические условия».

10. ГОСТ 12.4.011-89 ССБТ «Средства защиты работающих. Общие требования и классификация»;

11. ГОСТ 12.4.103-83 ССБТ «Одежда специальная защитная, средства индивидуальной защиты ног и рук. Классификация»;

12. ЕНиР «Единые нормы и расценки на строительные, монтажные и ремонтно-строительные работы. Общая часть»;

13. «Руководство по разработке технологических карт в строительстве» (М.: ЦНИИОМТП, 2004 г.).

2. ТЕХНОЛОГИЯ И ОРГАНИЗАЦИЯ ВЫПОЛНЕНИЯ РАБОТ

2.1. Требования к качеству предшествующих работ

До начала штукатурных работ необходимо:

- закончить монтажные и общестроительные работы, в т.ч. устройство кровли;

- выполнить входы в здание и устроить козырьки над входами;

- закончить прокладку всех коммуникаций и заделать коммуникационные каналы;

- заделать стыки и зазоры сопряжений стен, перегородок, перекрытий, а также мест сопряжений оконных, балконных и дверных блоков с элементами наружных и внутренних ограждающих конструкций;

- установить подоконники;

- опробовать внутренние системы водопровода, отопления и канализации;

- утеплить помещение и обеспечить в нем температуру не ниже +10 °С и влажность воздуха не более 60 %, а также просушку сырых мест;

- проверить прочность и устойчивость подмостей;

- осветить рабочие места;

- обеспечить установки для связи штукатуров с машинистом световой или звуковой сигнализацией;

- доставить на рабочее место инструменты, инвентарь, приспособления и материалы;

- проверить механизмы на холостом ходу, тщательно осмотреть шланги, устранить изломы и перегибы;

- промыть шланги известковым молоком;

- исправить все обнаруженные дефекты и отклонения от допусков, установленных СНиП 3.03.01-87 «Несущие и ограждающие конструкции» при сооружении внутренних стен.

2.2. Требования к применяемым материалам.

1. Оштукатуривание мокрым способом поверхностей стен, перегородок, перекрытий и других конструктивных элементов строящихся зданий и сооружений, в соответствии с требованиями главы СНиП на отделочные покрытия строительных конструкций, допускается как исключение, обусловленное проектом, особыми условиями эксплуатации и невозможностью применения индустриальных видов отделки поверхностей.

2. Для обычных штукатурок применяются цементные, цементно-известковые, известковые, известково-гипсовые, гипсовые, глиноизвестковые и гажевые растворы.

3. Выбор и применение растворов для обычных штукатурок в зависимости от влажностных условий, в которых будут находиться в период эксплуатации здания и сооружения, помещения и отдельные конструктивные элементы (Инструкция по приготовлению и применению строительных растворов СН 290-74)

4. Сухую штукатурную смесь доставляют на строительный объект закрытыми автомобилями в крафт-мешках или в стальных бункерах. Смесь завозят заблаговременно, обеспечивая запас на 1,5 смены работы, и хранят в условиях, исключающих возможность попадания в нее влаги. Влажность сухой смеси должна быть не более 1,5 %.

Подачу сухой смеси на этажи производят при помощи подъемника или лебедок. Для приготовления штукатурного раствора устанавливают малогабаритные смесители СБ-43 А.

Вначале в смеситель заливают половину требуемого объема воды, затем при включенном механизме вводят стабилизированную дибутилфталатом ПВАЭ или латекс СКС-55 ГП, стабилизированный поверхностно активным веществом ОП-7 или ОП-10, в количестве 10 - 15 % от объема водной дисперсии латекса.

После 2 - 3 мин. перемешивания в смеситель загружают сухую цементно-песчаную смесь и остальную воду. Общее время перевешивания всех компонентов не более 10 мин.

Подвижность раствора в первом случае должна соответствовать 10 - 12 см погружения стандартного конуса, во втором - 8 - 10 см. Раствор следует приготовлять небольшими порциями, которые можно использовать до начала схватывания цемента.

Наносят штукатурные составы на поверхность с помощью бескомпрессорной форсунки, к которой состав подается по растворонасосу СО-48А.

2.3. Технология производства работ

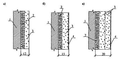
1. Обычные штукатурки в зависимости от тщательности выполнения подразделяют на три категории: простые, улучшенные и высококачественные, которые представлены на рисунке 1 установка ограждения;

а - простая; б - улучшенная; в - высококачественная;
1 - основание; 2 - обрызг; 3 - грунт; 4 - накрывка

Рисунок 1 - Виды штукатурки

Простую штукатурку выполняют из двух слоев раствора: обрызга и грунта общей толщиной до 12 мм.

Улучшенную штукатурку выполняют из трех слоев раствора: обрызга, грунта и накрывочного слоя общей толщиной до 15 мм.

Высококачественная штукатурка состоит из обрызга, двух слоев грунта и накрывочного слоя общей толщиной 20 мм.

Последовательность выполнения технологических операций при производстве штукатурных работ в зависимости от видов штукатурки принимается по таблице.

Технологические операции

Оштукатуривание

простое

улучшенное

высококачественное

Подготовка поверхностей под оштукатуривание

+

+

+

Провешивание поверхностей

+

+

+

Установка маяков

-

-

+

Нанесение обрызга

+

+

+

Нанесение грунта

+

+

+

Разравнивание нанесенного грунта

+

+

+

Нанесение грунта (второй слой)

-

-

+

Разравнивание нанесенного грунта (второго слоя)

-

-

+

Разделка углов

+

+

+

Разделка потолочных рустов

+

+

+

Нанесение накрывочного слоя

-

+

+

Затирка

+

+

+

Отделка откосов и заглушин

+

+

+

2. Подготовка поверхности под оштукатуривание заключается в очистке поверхности от потерявших сцепление и вяжущие свойства штукатурок, продуктов разрушения, старых отслоившихся окрасочных слоев, пыли и грязи. Методы и средства очистки зависят от химического состава очищаемого материала, характера загрязнений и наслоений. Требования к качеству очистки определяются видом проектируемой отделки.

Обеспыливание поверхностей производить перед нанесением каждого слоя огрунтовочных или штукатурных составов. При необходимости должны быть произведены насечки поверхности.

От качества подготовки поверхности под оштукатуривание зависит сцепление (адгезия) штукатурного покрытия с основанием. Для внутренней отделки потолков, стен и перегородок этот показатель согласно таблице 8 СНиП 3.04.01-87 должен быть не менее 0,1 МПа.

На подлежащих оштукатуриванию поверхностях не допускаются жировые, битумные и масляные пятна (следы смазки), высолы, выступающая арматура, ржавчина. Поверхности стен очищают от наплывов раствора, срубая их скребками и штукатурными молотками, после чего ветошью очищают поверхность от пыли.

3. Нанесение выравнивающего слоя или обрызга-грунта и накрывочного слоя с затиркой его.

Штукатурный выравнивающий слой или обрызг-грунт и накрывочный слой наносят на поверхности по мере движения скользящей опалубки. Толщина штукатурного выравнивающего слоя - 3 мм, обрызга-грунта - до 4 мм, накрывочного слоя - 1 мм.

Накрывочный слой наносят только после схватывания предыдущего.

Нанесение штукатурных слоев производят при помощи растворонасосов бескомпрессорной форсункой. При этом необходимо следить за тем, чтобы количество опадающего раствора было минимальным, для чего штукатур, приступая к нанесению раствора, должен установить требуемую длину струи раствора и факел его распыления в зависимости от давления.

Разравнивают нанесенный слой полуторками и правилами. При этом полутерок передвигают снизу вверх зигзагообразными движениями, прижимая его к стене параллельно полу так, чтобы между нижней частью полутерка и стеной образовался острый угол. По одному участку следует проходить полутерком дважды во взаимно перпендикулярных направлениях.

Качество выполненной штукатурки проверяют по ходу работы, прикладывая к поверхности контрольное правило.

Затирают выравнивающий или накрывочный слой спиралевидными движениями диска электрозатирочной машинки СО-86 или СО-112, со смачиванием или же (в случае необходимости) с нанесением для выравнивания цементно-песчаного раствора без добавления эмульсии ПВА. Одновременно разделывают углы, отделывают оконные и дверные откосы.

Небольшие помещения с полами площадью не более 5 м2 оштукатуривают вручную. Раствор наносят ковшом непосредственно из ящика, а в труднодоступных местах и в очень тесных помещениях используют штукатурные лопатки.

Свежевыполненную штукатурку до ее затвердения необходимо предохранить от намокания, замерзания, пересушивания, от ударов и сотрясений. В случае необходимости применяют искусственную сушку штукатурки путем равномерной подачи в оштукатуренные помещения нагретого воздуха и вытяжки влажного воздуха с использованием вентиляции. При этом должен обеспечиваться не менее чем трехкратный обмен воздуха в помещении в течение 1 ч.

В сухую погоду, при температуре +23 °С и выше, оштукатуренные участки необходимо увлажнять.

4. Подача раствора растворонасосами состоит из следующих технологических процессов:

- процеживание раствора самотеком при приемке;

- подача раствора в бункер на этажи;

- установка и переноска рукава по ходу работы;

- очистка сетки бункера от отходов;

- промывка и продувка рукава с удалением пробок.

На обслуживании растворонасосов заняты машинист растворонасоса 3 разряда и два штукатура 2 разряда.

5. Температуру в 10 °С в помещении необходимо поддерживать круглосуточно, не менее чем за 2 суток до начала и 12 суток после окончания штукатурных работ.

3. ТРЕБОВАНИЯ К КАЧЕСТВУ И ПРИЕМКЕ РАБОТ

1 Контроль качества штукатурных работ должен осуществляться службами строительных организаций, а также производителями работ, мастерами и бригадирами.

2 Производственный контроль качества штукатурных работ должен включать входной контроль рабочей документации, материалов и оборудования, операционный контроль производства штукатурных работ и оценку соответствия оштукатуренной поверхности нормативным требованиям.

Входной контроль

1. При входном контроле рабочей документации производится проверка ее комплектности и достаточности содержащейся в ней технической информации для производства работ.

Внутренние поверхности стен и перегородок в зданиях, подлежащие оштукатуриванию, должны соответствовать по качеству выполнения работ и по допускам требованиям, предусмотренными главами соответствующих норм, правил и стандартов.

При входном контроле качества подлежащей оштукатуриванию поверхности выборочно техническим осмотром проверяется качество поверхности и точность геометрических параметров.

Штукатурные растворы, другие материалы и изделия, применяемые для устройства обрызга, грунта и накрывочного слоя устанавливаются проектом с учетом их назначения и условий эксплуатации и должны соответствовать требованиям нормативно-технической документации и соответствующих стандартов. Определение качества растворных смесей производится в соответствии с ГОСТ 5802-86 «Растворы строительные. Методы испытаний».

2. При подготовке и приготовлении отделочных составов и приемке подготовленных к оштукатуриванию поверхностей необходимо руководствоваться требованиями, изложенными в таблице 1.

Таблица 1 - Требования к отделочным растворам и оштукатуриваемым поверхностям

Технические требования

Предельные отклонения

Контроль (метод, объем, вид регистрации)

Средства измерения

Растворы штукатурные должны проходить без остатка через сетку с размерами ячеек, мм:

-

Измерительный, периодический, 3 - 4 раза в смену, журнал работ

Стандартный набор сит КСИ

- для обрызга и грунта - 3

- для накрывочного слоя и однослойных покрытий - 1,5

Подвижность раствора - 5

+7

То же, каждой партии

В соответствии с ГОСТ 5802-86 (п. 2.21)

Расслаиваемость растворной смеси - не более 15 %

-

То же, в лабораторных условиях 3 - 4 раза в смену

В соответствии с ГОСТ 5802-86 (п. 5)

Водоудерживающая способность - не менее 90 %

-

То же

В соответствии с ГОСТ 5802-86 (п. 4)

Прочность сцепления, МПа, не менее:

10 %

То же, не менее 3 измерений на 50 - 70 м2 поверхности покрытия

У ниверсальные испытательные машины Р-0,5, Р-5, Р-10, Р-20, Р-50, Р-100

- для внутренних работ - 0,1

Отклонения поверхностей и углов кладки стен от вертикали, мм:

 

Измерительный

Линейка 150;

на один этаж на все здание высотой более

10

Не менее 5 измерений на 70 ... 100 м2 поверхности покрытия или в одном помещении меньшей площади в местах, выявленных сплошным визуальным осмотром, журнал работ

Метр складной МСД-1;

двух этажей

30

Штангенциркуль ШЦ-1;

Рулетки измерительные РЗ-10; РЗ-20 и т.п.

Неровности на вертикальной поверхности кладки, обнаруженные при накладывании рейки длиной 2 м, мм

10

То же

Рейка L = 2 м

Допускается влажность кирпичных поверхностей при оштукатуривании

Не более 8 %

Измерительный, не менее 3 измерений на 10 м поверхности

 

3. Результаты входного контроля должны быть занесены в «Журнал входного учета и контроля качества получаемых деталей, материалов, конструкций и оборудования».

Операционный контроль

1. Операционный контроль осуществляется в ходе выполнения штукатурных работ и обеспечивает выявление дефектов с целью принятия мер по их устранению и предупреждению и включает в себя проверку качества подготовки основания, влажности, прочности сцепления штукатурки с основанием, толщину наносимых слоев штукатурки.

При операционном контроле проверяется соблюдение технологии выполнения штукатурных работ, соответствие выполняемых работ требованиям СНиП 3.04.01-87 «Изоляционные и отделочные покрытия».

2. При оценке соответствия производится проверка качества готовой штукатурки. На готовой поверхности должны отсутствовать трещины, наплывы раствора, пятна, раковины и т.п. Штукатурка должна прочно сцепляться с поверхностью, не отслаиваться, иметь хорошо затертую поверхность без внешних дефектов.

На этапе оценки соответствия проверяются:

- прочность сцепления штукатурки с основанием;

- отклонение оштукатуренной поверхности стен и потолков от вертикали и горизонтали;

- неровности поверхности плавного очертания, обнаруживаемые при накладывании правила или шаблона длиной 2 м;

- отклонение откосов проемов, пилястр, столбов от вертикали и горизонтали;

- отклонения радиуса криволинейной поверхности;

- отклонения ширины откосов от проектной.

3. Прочность сцепления штукатурки с основанием определяют по ГОСТ 24992-81 «Конструкции каменные. Метод определения прочности сцепления в каменной кладке» в МПа путем отрыва образцов, нанесенных на материал, подлежащий оштукатуриванию.

4. Прочность штукатурного раствора на сжатие (марка), выраженная в МПа (кгс/см2), определяется на образцах-кубах размером 70,7×70,7×70,7 мм3 в возрасте, установленном стандартом или техническими условиями на данный вид раствора в соответствии с методикой по ГОСТ 5802-86 «Растворы строительные. Методы испытаний».

5. Перечень операций, подлежащих контролю при устройстве штукатурных покрытий, представлен в таблице 2. Состав и содержание производственного контроля качества оштукатуривания внутренних поверхностей монолитной штукатуркой, время, объем и методы контроля представлены в таблице 2.

Таблица 2 - Перечень операций, подлежащих контролю при устройстве штукатурных покрытий

Наименование операций, подлежащих контролю

Контроль качества выполнения операций

производителем работ

мастером

состав

способы

время

привлекаемые службы

Приемка поверхностей под штукатурные работы

-

Ровность, вертикальность и горизонтальность поверхностей

Визуально, при помощи рейки, отвеса и других измерительных инструментов

До начала штукатурных работ

-

 

Приемка и контроль качества штукатурного раствора

Осадка конуса, пластичность, наличие посторонних включений

Визуально, лабораторным путем

До начала и в процессе производств а работ

Лаборатория

 

Подготовка поверхностей под оштукатуривание

Очистка поверхностей от пыли, грязи, жировых пятен, провешивание поверхностей и установка маяков

Визуально, при помощи рейки и отвеса

В процессе производства штукатурных работ

 

 

Нанесение штукатурных слоев обрызга, грунта, накрывки . Отделка рустов, оконных и дверных откосов

Дозирование добавок (цемента, гипса) для штукатурного слоя в зависимости от оштукатуриваемо й поверхности, толщина слоев и соблюдение допускаемых отклонений

Дозирование добавок. Толщина и отклонения при помощи измерительных инструментов

В процессе производства штукатурных работ

Лаборатория

Приемка выполненных работ

 

Внешний вид, вертикальность, горизонтальность и неровности поверхностей

Визуально, рейка, отвес, метр и другие измерительные инструменты

После окончания штукатурных работ

 


Таблица 3 - Состав и содержание производственного контроля качества

Вид контроля

Входной контроль

Операционный контроль

Оценка соответствия

Контролируемые операции

Подготовительные работы

Нанесение обрызга и грунта

Вытягивание тяг и заделка углов

Накрывка и затирка поверхности

 

Чистота поверхностей

Температурно-влажностный режим в помещениях (в зимнее время)

Качество мест сопряжения

Наличие актов на скрытые работы для подготовки под штукатурку

Наличие и комплектность средств подмащивания для работы на высоте и механизмов для подъема грузов и приготовления растворных смесей

Провешивание поверхностей, установка марок и маяков

Технический анализ штукатурных растворных сухих смесей

Смачивание поверхности

Равномерность распределения растворной смеси по поверхности

Толщина слоя обрызга

Нанесение грунта

Толщина грунта

Вертикальность и горизонтальность

Заданная кривизна поверхности

Прямолинейность

Толщина накрывки

Фактура и внешний вид штукатурки

Вертикальность и горизонтальность поверхности

Неровности на поверхности

Отклонения ширины откосов

Сцепление штукатурки с оштукатуриваемой поверхностью (основанием)

Качество оштукатуренной лицевой поверхности

Меры предохранения штукатурки от пересушивания и повреждений

Объем контроля

Сплошной

Сплошной и выборочный

Сплошной

Метод контроля

Визуальный

Инструментальный

Визуальный

Инструментальный и технический осмотр

Инструментальный

Визуальный

Операции, контролируемые строительной лабораторией

 

+

+

 

+

 

+

 

Время контроля

Перед началом штукатурных работ

До нанесения раствора на поверхность

Доразравнивания

После нанесения слоев

После вытягивания тяг, заделки углов

После выполнения операции

После окончания штукатурных работ


6 Предельные отклонения оштукатуренной поверхности должны соответствовать требованиям СНиП 3.04.01-87 «Изоляционные и отделочные покрытия», представленным в таблице 4.

Таблица 4 - Допускаемые отклонения и средства контроля оштукатуренной поверхности при улучшенной штукатурке

№ п/п

Наименование

Допускаемые отклонения

Метод и объем контроля

Средства измерения

1

2

3

4

5

1

Неровности поверхности плавного очертания (на 4 м2):

-

Измерительный, не менее 5 измерений контрольной двухметровой рейкой на 50 ... 70 м2 поверхности или на отдельном участке меньшей площади в местах, выявленных визуальным осмотром, журнал работ

Правило или шаблон длиной 2 м

при простой штукатурке - не более 3, глубиной (высотой) до 5 мм

то же, улучшенной - не более 2, глубиной (высотой) до 3 мм

то же, высококачественной - не более 2, глубиной (высотой) до 2 мм

2

Отклонение оштукатуренной поверхности стен и перегородок от вертикали (мм на 1 м), мм:

 

Рейка контрольная КРД-2

Уровень строительный УС 5-2-П

при простой штукатурке - 3

Не более 15 мм на высоту помещения

Линейка 150

то же, улучшенной - 2

То же, не более 10 мм

Метр складной МСД-82

то же, высококачественной - 1

То же, не более 5 мм

Рулетка измерительная РЗ-2

3

Отклонения оштукатуренной поверхности по горизонтали (мм на 1 м) не должны превышать, мм:

-

То же

То же

при простой штукатурке - 3

то же, улучшенной - 2

то же, высококачественной - 1

4

Отклонения оконных и дверных откосов, пилястр, столбов, лузг, усенков от вертикали и горизонтали (мм на 1 м) не должны превышать, мм:

До 5 мм на весь элемент

То же, кроме измерений (3 на 1 мм)

Отвес ОТ 100, ОТ 200, ОТ 400

при простой штукатурке - 4

До 10 мм на весь элемент

 

Линейка 150

то же, улучшенной - 2

То же, до 5 мм

 

Метр складной МСД- 1, МСМ-82

то же, высококачественной - 1

То же, до 3 мм

 

 

5

Отклонения радиуса криволинейных поверхностей, проверяемого лекалом, от проектной величины (на весь элемент) не должны превышать, мм:

-

Измерительный, не менее 5 измерений контрольной двухметровой рейкой на 50 - 70 м2 поверхности или на отдельном участке меньшей площади в местах, выявленных сплошным визуальным осмотром (для погонажных изделий - не менее 5 на 35 - 40 м и трех на элемент) кроме измерений (3 на 1 мм), журнал работ

 

при простой штукатурке - 10

Лекало индивидуальное

то же, улучшенной - 7

Линейка 150

то же, высококачественной - 5

Метр складной МСД-1, МСМ-82

6

Отклонения ширины откоса от проектной не должны превышать, мм:

-

-«-

 

при простой штукатурке - 5

Линейка 500, 1000

то же, улучшенной - 3

Метр складной МСМ- 82

то же, высококачественной - 2

Рулетки измерительные РЗ-2, ЗПКЗ-1 АУТ/1 и т.п.

7

Отклонения тяг от прямой линии в пределах между углами пересечения и раскреповки не должны превышать, мм:

-

-« -

Рейка контрольная КРД-2

при простой штукатурке - 6

 

 

Линейка 150

то же, улучшенной - 3

 

 

Метр складной МСД-1, МСМ-82

то же, высококачественной - 2

 

 

Рейка М-01

8

Допускаемая толщина однослойной штукатурки, мм:

 

Измерительный, не менее 5 измерений на 70 - 100 м2 поверхности покрытия или в одном помещении меньшей площади в местах, выявленных сплошным визуальным осмотром, журнал работ

Линейка 150

при применении всех видов растворов, кроме гипсового - до 20, из гипсовых растворов - до 15

Метр складной МСД-1

Штангенциркуль ШЦ-1

Рулетки измерительные РЗ-10, РЗ-20 и т.п.

9

Допускаемая толщина каждого слоя многослойных штукатурок без полимерных добавок, мм:

 

Измерительный, не менее 5 измерений на 70 - 100 м2 поверхности покрытия или в одном помещении меньшей площади в местах, выявленных сплошным визуальным осмотром, журнал работ

 

обрызга по кирпичным поверхностям - до 5

-

Линейка 150

грунта из цементных растворов - до 5

-

Метр складной МСД-1

грунта из известковых, известково-гипсовых растворов - до 7

-

Штангенциркуль ШЦ-1

накрывочного слоя штукатурного покрытия - до 2

-

Рулетки измерительные РЗ-10, РЗ-20 и т.п.

4. ТРЕБОВАНИЯ БЕЗОПАСНОСТИ И ОХРАНЫ ТРУДА

4.1. Общие положения

При производстве штукатурных работ необходимо соблюдать требования следующих нормативных документов:

- СНиП 12-03-2001 «Безопасность труда в строительстве. Часть 1. Общие требования»;

- СНиП 12-04-2002 «Безопасность труда в строительстве. Часть 2. Строительное производство»;

- СП 12-135-2003 «Безопасность труда в строительстве. Отраслевые типовые инструкции по охране труда».

При работе на объекте строительства нескольких организаций необходимо предусмотреть мероприятия по безопасности труда в соответствии с «Положением о взаимоотношениях организаций - генеральных подрядчиков и субподрядных организаций».

Все вновь поступающие в организации (предприятия) рабочие могут быть допущены к работе только после прохождения вводного инструктажа и первичного инструктажа на рабочем месте по охране труда независимо от характера и степени опасности производства. Все виды инструктажа и обучения по безопасности труда следует проводить и регистрировать в соответствии с ГОСТ 12.0.004-79 «Организация обучения работающих безопасности труда».

Рабочие, руководители, специалисты и служащие должны быть обеспечены спецодеждой, спецобувью и другими средствами индивидуальной защиты, соответствующими ГОСТ 12.4.011.

Рабочие места и подходы к ним должны быть освещены в соответствии с требованиями ГОСТ 12.1.046 (см. табл. 1, раздел 2.3. «Требования к организации рабочего мета» настоящей ТТК).

При обнаружении нарушений норм и правил охраны труда работники должны принять меры к их устранению собственными силами, а в случае невозможности этого - прекратить работы и информировать должностное лицо.

В случае возникновения угрозы безопасности и здоровью работников ответственные лица обязаны прекратить работы и принять меры по устранению опасности, а при необходимости - обеспечить эвакуацию людей в безопасное место.

4.2. Техника безопасности при работе с электрическими машинами

Номинальное напряжение электрических машин I класса не должно превышать 220 В - для машин постоянного тока и 380 В - для машин переменного тока.

Применять машины следует только в соответствии с назначением, указанным в паспорте. Применение в строительстве ручных электрических машин Г класса запрещено.

До начала работ следует:

- определить места складирования и хранения материалов, оборудования, инструмента на строительной площадке;

- обеспечить всех работающих индивидуальными средствами защиты.

Во время работы с электромашинами необходимо:

- следить за состоянием изоляции кабеля, отсутствием резких перегибов шлангов, образованием петель, попаданием кабеля и шланга под колеса;

- подключение (отключение) вспомогательного оборудования (понижающих трансформаторов, преобразователей частоты тока, защитно-отключающих устройств), а также неисправностей в них должны производиться только дежурным электромонтером.

4.3. Техника безопасности при выполнении штукатурных работ

1. К устройству внутренних штукатурных работ с использованием средств подмащивания допускаются лица не моложе 18 лет, имеющие профессиональные навыки, прошедшие медицинское освидетельствование и признанные годными, получившие знания по безопасным методам и приемам труда.

2. Внеочередной инструктаж по технике безопасности проводится при переводе рабочих-отделочников с одного объекта на другой, при изменении условий производства работ, нарушении бригадой правил и инструкций по безопасности труда.

3. Перед началом работы со штукатурами, машинистом растворонасоса и обслуживающим звеном проводится первичный инструктаж на рабочем месте по безопасному производству работ с записью результатов инструктажа в «Журнал регистрации инструктажа на рабочем месте». Вновь принимаемые на работу должны пройти вводный инструктаж с записью в «Журнале регистрации вводного инструктажа по охране труда».

4. К работе с электрифицированным инструментом допускаются только рабочие, прошедшие специальное обучение согласно ГОСТ 12.0.004-90 «ССБТ. Организация обучения безопасности труда. Общие положения», инструктаж на рабочем месте по безопасности и охране труда и имеющие III категорию по электробезопасности.

5. При сухой очистке поверхности и других работах, связанных с выделением пыли и газов, необходимо пользоваться респираторами и защитными очками.

6. Работники, занятые производством штукатурных работ или работающие при повышенной запыленности и загазованности воздуха рабочей зоны, должны быть обеспечены индивидуальными и коллективными средствами защиты по ГОСТ 12.4.011-89 «ССБТ. Средства защиты работающих. Общие требования и классификация».

7. Перед началом работ машины и механизмы, используемые для подачи раствора, проверяются на холостом ходу. Корпуса всех механизмов должны быть заземлены, токопроводящие провода надежно изолированы, а пусковые рубильники закрыты.

8. К управлению механизмами допускаются лица, прошедшие специальное обучение и сдавшие экзамены по безопасности труда.

9. Разборка, ремонт и чистка форсунок машин, используемых при оштукатуривании, разрешается лишь после снятия давления и отключения машин от сети.

10. Рабочее место штукатура-оператора необходимо связывать звуковой сигнализацией с рабочим местом машиниста штукатурных машин.

11. Материалы и воздушные шланги растворонасоса необходимо периодически испытывать на удвоенное рабочее давление.

12. При работе растворонасоса запрещается перегибать подающие шланги. Продувку шлангов сжатым воздухом для устранения пробок разрешается производить только после удаления из помещения людей. По окончании работ запрещается снимать воздушный клапан и переходной патрубок, не убедившись в том, что давление упало до нуля. При работе с растворонасосом необходимо:

- следить, чтобы давление в растворонасосе не превышало допустимых норм, указанных в паспорте;

- удалять растворные пробки, осуществлять ремонтные работы только после отключения растворонасоса от сети и снятия давления;

- осуществлять продувку растворонасоса при отсутствии людей в зоне 10 м и ближе;

- держать форсунку при нанесении раствора под небольшим углом к оштукатуриваемой поверхности и на небольшом расстоянии от нее.

13. Переносные инструменты, машины, светильники должны иметь напряжение не более 42 В.

14. При применении электрических или работающих на жидком топливе воздухонагревателей для просушивания оштукатуренных поверхностей помещений здания или сооружения необходимо соблюдать требования ППБ 01-03 «Правила пожарной безопасности в Российской Федерации». Запрещается сушить помещения нагревателями открытого типа и другими устройствами, выделяющими продукты сгорания топлива.

15. Рабочая зона при производстве штукатурных работ должна быть освещена в соответствии со СНиП 23-05-95 «Естественное и искусственное освещение» и ГОСТ 12.1.046-85 «ССБТ. Строительство. Нормы освещения строительных площадок». Освещенность рабочих мест должна быть не менее 30 лк. Проект временного освещения должен быть разработан специализированной организацией по заказу подрядчика.

16. При применении составов, содержащих вредные и пожароопасные вещества, на рабочих местах должны быть первичные средства пожаротушения, приоткрыты в помещении окна для обеспечения вентиляции, а рабочие должны быть обеспечены респираторами и другими средствами индивидуальной защиты.

17. При приготовлении штукатурных растворов на рабочем месте необходимо использовать для этих целей помещения, оборудованные вентиляцией, не допускающей повышения предельно допустимых концентраций вредных веществ в воздухе рабочей зоны. Помещения должны быть обеспечены безвредными моющими средствами и теплой водой.

18. При выполнении штукатурных работ внутренних стен и перегородок необходимо строго соблюдать требования безопасности и охраны труда, экологической и пожарной безопасности согласно:

- СНиП 12-03-2001 «Безопасность труда в строительстве. Часть 1. Общие требования»

- СНиП 12-04-2002 «Безопасность труда в строительстве. Часть 2. Строительное производство»;

- ГОСТ 12.0.004-90 «ССБТ. Организация обучения безопасности труда. Общие положения»;

- ГОСТ 12.1.004-91* «ССБТ. Пожарная безопасность. Общие требования»;

- ПОТ Р М-016-2001 Межотраслевые правила по охране труда (правила безопасности) при эксплуатации электроустановок;

- ППБ 01-03 Правила пожарной безопасности в Российской Федерации;

- СП 12-135-2003 Безопасность труда в строительстве. Отраслевые типовые инструкции по охране труда.

5. ЭКОЛОГИЧЕСКАЯ, ПОЖАРНАЯ И ЭЛЕКТРОБЕЗОПАСНОСТЬ

5.1. Обеспечение экологической безопасности

Все мероприятия по охране окружающей среды проводятся в соответствии с Федеральным законом от 10 января 2002 г. № 7-ФЗ «Об охране окружающей среды».

Для предупреждения от запыления окружающих строительную площадку территорий следует систематически вывозить строительный мусор и отходы. Складировать строительный мусор следует только в специально предназначенных для этого мусорных контейнерах.

Отходы после укладки коврового покрытия утилизируются обычным способом как все подобные материалы в специально отведенных местах. Запрещается сжигание всех сгорающих отходов, чтобы не загрязнять воздушное пространство.

Чистота воздуха рабочей зоны производственных помещений и контроль за состоянием воздуха рабочей зоны по ГОСТ 12.1.005-88*.

5.2. Обеспечение пожарной безопасности

При производстве штукатурных работ следует соблюдать требования СНиП 21-01-97* «Пожарная безопасность зданий и сооружений» и ППБ 01-03 «Правила пожарной безопасности в Российской Федерации».

Места производства работ должны быть обеспечены средствами пожаротушения - огнетушителями, бочками с водой, ящиками с песком, ломами, топорами, лопатами, баграми, ведрами.

Каждый рабочий должен знать свои обязанности при возникновении пожара и его тушении, уметь пользоваться средствами пожаротушения, быстро оповещать пожарную команду, пользуясь средствами связи.

Противопожарное оборудование должно содержаться в исправном, работоспособном состоянии. Проходы к противопожарному оборудованию должны быть всегда свободны и обозначены соответствующими знаками.

Все электротехнические установки по окончании работ необходимо выключать, а кабели и провода обесточивать.

Сушка одежды и обуви должна производиться в специально приспособленных для этих целей помещениях, зданиях или сооружениях с центральным водяным отоплением либо с применением водяных калориферов. Устройство сушилок в тамбурах и других помещениях, располагающихся у выходов из зданий, не допускается.

Не разрешается накапливать на строительных площадках горючие вещества (жирные масляные тряпки, отходы пластмасс и др.), их следует хранить в закрытых металлических контейнерах в безопасном месте.

К моменту начала работ по укладке коврового покрытия должно быть обеспечено противопожарное водоснабжение от пожарных гидрантов на водопроводной сети или из резервуаров (водоемов). Колодец с пожарным гидрантом должен быть в исправном состоянии и освещен в ночное время. Подъезд к нему должен быть свободен всегда.

Для курения должны быть отведены специальные места, оборудованные урнами, бочками с водой, ящиками с песком.

Для предупреждения пожаров необходимо строго соблюдать требования противопожарной безопасности и регулярно проводить инструктаж работающих.

5.3. Обеспечение электробезопасности

При выполнении работ на производственной территории должны соблюдаться требования ГОСТ 12.1.013 и ГОСТ 12.1.030.

Устройство и техническое обслуживание временных и постоянных электрических сетей на производственной территории следует осуществлять силами электротехнического персонала, имеющего соответствующую квалификационную группу по электробезопасности.

Светильники общего освещения напряжением 127 и 220 В должны устанавливаться на высоте не менее 2,5 м от пола. При высоте подвески менее 2,5 м необходимо применять светильники специальной конструкции или использовать напряжение не выше 42 В. Питание светильников напряжением до 42 В должно осуществляться от понижающих трансформаторов, машинных преобразователей, аккумуляторных батарей. Применять для указанных целей автотрансформаторы, дроссели и реостаты запрещается. Корпуса понижающих трансформаторов и их вторичные обмотки должны быть заземлены.

Применять стационарные светильники в качестве ручных запрещается. Следует пользоваться ручными светильниками только промышленного изготовления.

Штепсельные розетки и вилки, применяемые в сетях напряжением до 42 В, должны иметь конструкцию, отличную от конструкции розеток и вилок напряжением более 42 В.

6. МАТЕРИАЛЬНО-ТЕХНИЧЕСКИЕ РЕСУРСЫ

Перечень основных инструментов и приспособлений для устройства кровли. При необходимости приведенные ниже инструменты могут быть заменены на аналогичные по техническим характеристикам.

Таблица 5.

Наименование

Марка, № чертежа, ГОСТ

Количество, шт.

1

2

3

Машины и оборудование

Подъемник грузопассажирский грузоподъемностью 500 кг (высота подъема груза 50 м)

ПГС-800

1

Растворосмеситель на 65 л готового замеса, производительностью 2 - 2,6 м3

СБ-43А

2

Растворонасос производительностью 2 м3

СО-48А

2

Установка для нанесения жидкой шпаклевки производительностью до 200 м3

СО-21А

1

Компрессор производительностью 28 - 30 м3

СО-7А

1

Трансформатор

ИВ-4

1

Преобразователь частоты тока

ИЭ-9401 или ИЭ-9402

1

Пункт передвижной инструментально-раздаточный конструкции ЦНИИОМТП

Черт. 3287.А.00.000

1

Механизированные инструменты

Машинка штукатурно-затирочная производительностью до 50 м2

СО-86 или СО-112

5

Устройство для подачи воды к затирочным машинкам конструкции Главкиевгорстроя

Черт. МС 26.00.00.00.00

2

Ножницы электрические для резки металла

ИЭ-5402

2

Электрокраскопульт производительностью 250 м2

СО-61

1

Ручные инструменты

Кельма штукатурная КШ

ГОСТ 9533-71

5

Ковш штукатурный

ГОСТ 7945-73

6

Отрезовка ОШ-1 и ОШ-2

ГОСТ 9533-71

6

Сокол дюралюминиевый

ОТУ 22-697-67

5

Острогубцы (кусачки) 175

ГОСТ 7282-64

4

Нож штукатурный

ГОСТ 18975-73

5

Ножовка поперечная по дереву

ГОСТ 6532-53

3

Молоток штукатурный МШТ

ГОСТ 11042-72

5

Скарпель диаметром 20 мм конструкции УМОР ГМС

Черт. 192.00.000

2

Терка деревянная конструкции УМОР ГМС

Черт. 272.00.000

7

Терка пенопластовая или войлочная конструкции Оргтехстроя Лит. ССР

Черт. 4687.01.00

5

Правило удлиненное конструкции ЦНИИОМТП

Черт. 3345.14.000

5

Правило усеночное

ОТУ 22-1235-68

4

Правило лузговое

ОТУ 22-1234-68

4

Подутерки деревянные конструкция УМОР ГМС

 

 

800 мм

Черт. 223.00.000

16

1500 т

Черт. 224.00.000

 

Кисть-макловица КМА-2

ГОСТ 10597-70

6

Гладилка стальная

 

 

ГШ-1

ГОСТ 10403-63

5

ГШ-2

 

5

Рейко держатель со штырем конструкции ЦНИИОМТП

Черт. 3345.13.000

5

Щетка стальная прямоугольная конструкции Гипрооргсельстроя Минсельстроя СССР

-

5

Шпатель стальной

ГОСТ 10778-64

6

Лопата растворная типа ЛР

ГОСТ 3620-63

3

Рустовка потолочная односторонняя

ГОСТ 13995-68

4

Лоток для сбора опавшего раствора конструкции ЦНИИОМТП

Черт. 084.000.00

4

Линейка штукатурная конструкции УМОР ГМС

Черт. 156.00.000

3

Скребок металлический конструкции ЦНИИОМТП

Черт. 3345.19.000

5

Измерительные инструменты

Рейка с отвесом

ГОСТ 9416-67

2

Уровень строительный УС1-300, УС2-700

ГОСТ 9416-67

4

Отвес О-400

ГОСТ 7948-71

3

Метр складной стальной

ГОСТ 7253-64

3

Угольник стальной

ГОСТ 10920-64

5

Конус стандартный

ГОСТ 5802-66

1

Шнур в корпусе разметочный

ТУ 22-1268-68

1

Приспособления

Форсунка штукатурная

ГОСТ 10466-63

2

Производственный инвентарь

Емкость поэтажная вместимостью 0,35 м3 для раствора или бункер поэтажный конструкции УМОР ГМС

Черт. 315.00.000

4

Тележка для раствора конструкции ЦНИИОМТП

Черт. 3294.62.000

2

Очки защитные

ГОСТ 9802-61

17

Перчатки резиновые

ГОСТ 10108-62

17 пар

Респиратор

РПП-57

17

Ведро

ГОСТ 20558-75

8

Средства подмащивания

Столик универсальный конструкции ЦНИИОМТП

Черт. 3241.08.000

4

Столик двухвысотный конструкции ЦНИИОМТП

Черт. 3241.07.000

4

7. ТЕХНИКО-ЭКОНОМИЧЕСКИЕ ПОКАЗАТЕЛИ

Трудоемкость выполнения штукатурных работ определена на основании ЕНиР и приведена в таблице 6.

Таблица 6.

Обоснование

Наименование работ

Единица измерения

Норма времени на единицу измерения, чел.-ч

ЕНиР, 1973, § 4-1-36Б, т. 5

Прием готового известкового раствора из кузова растворовоза СБ-89 в приемный бункер штукатурной станции СО-114

м3

0,115

Трест Мосоргстрой с участием ЦНИБ Мосстроя Главмосстроя, Кт-8.0-5.1-75

Подготовка поверхности

100 м2

9,67

ЕНиР, 1973, § 8 - 4, т. 2, п. 3а, б

Подача известкового раствора растворонасосом в растворные емкости на этажах

м3

1,4

0,7

(0,7)

ЕНиР, § 8-1-2.

Механизированное нанесение известкового раствора на поверхность потолка

100 м2

5

обрызга

5

первого слоя грунта

12

второго слоя грунта и накрывочного слоя

12

разравнивание грунта, накрывочного слоя, отделка лузг и усенков

8,1

НИЛ Мехстрой Главкиевгорстроя, 1975, Кт-8.0-2-7

Механизированная затирка поверхности затирочными машинками СО-112

м2

20

 

Подготовка бетонных поверхностей под затирку

100 м2

5,88

ЕНиР, 1973, § 8 - 11, п. 26

Заделка швов между плитами перекрытия

100 м шва

17,5

Потребность в основном персонале приведена в таблице 7:

Таблица 7.

№ п/п

Наименование работ

Разряд рабочих по укладке коврового покрытия

Всего, чел.

1

Штукатурные работы

Штукатур - 4 разр.

- 2

5

Штукатур - 4, 3 «

- 2

Штукатур - 4, 2 «

- 1

 

 



© 2013 Ёшкин Кот :-)