Информационная система
«Ёшкин Кот»

XXXecatmenu

 ООО «Строительные Технологии» СПб, 22 Линия, д. 3 корп. 1

Типовая технологическая карта на монтаж
вводно-распределительных устройств, этажных
щитков, электроплит на жилых домах и объектах
соцкультбыта.

Типовая технологическая карта
(ТТК)

Шифр проекта: 1012-07/42.ТТК

Пояснительная записка

Исполнено:

Главный инженер проекта

Соболев А.В.

Инженер - проектировщик

Копко В.В.

И. Контроль

Васильев В.М.

2012 г.

СОДЕРЖАНИЕ

1. ОБЩИЕ ДАННЫЕ

Типовая технологическая карта разработана на монтаж вводно-распределительных устройств, этажных щитков, электроплит на жилых домах и объектах соцкультбыта.

Технологическая карта составлена с учетом требований следующих нормативных документов:

·                СНиП 3.05.06-85 «Электротехнические устройства. Правила производства и приемки работ»;

·                ПУЭ-2003 (7 изд.);

·                СНиП 12-03-2001 «Безопасность труда в строительстве. Часть 1. Общие требования»;

·                СНиП 12-04-2002 «Безопасность труда в строительстве. Часть 2. Строительное производство»;

·                СП 12-136-2002 «Решения по охране труда и промышленной безопасности в проектах организации строительства и проектах производства работ»;

·                СП 12-135-2003 «Безопасность труда в строительстве. Отраслевые типовые инструкции по охране труда»;

·                СП 31-110-2003 «Проектирование и монтаж электроустановок жилых и общественных зданий»;

·                РД-11-06-2007 «Методические рекомендации о порядке разработки проектов производства работ грузоподъемными машинами и технологических карт погрузочно-разгрузочных работ»;

·                МДС 12-81.2007 «Методические рекомендации по разработке и оформлению проекта организации строительства и проекта производства работ;

·                МДС 12-29.2006 «Методические рекомендации по разработке и оформлению технологической карты».

Указания по монтажу вводно-распределительных устройств.
Схемы электроснабжения жилых зданий

Схемы питания домов до пяти этажей

Для питания электроэнергией пятиэтажных жилых домов 2, 3 и 4 без электрических плит от трансформатора 1 подстанции используется магистральная (рис. 1) петлевая схема (I). Питание осуществляется двумя кабельными линиями 10 и 9 с резервной перемычкой 8 или без нее. Эта перемычка подключается при выходе из строя одной из питающих линий. Резервная перемычка и питающие линии рассчитаны на работу по току аварийного режима и по допустимой потере напряжения. Перегрузка допускается при условии, что в нормальном режиме загрузка линий не превышает номинальной для кабелей с пластмассовой изоляцией и 80 % номинальной для кабелей с бумажной изоляцией, проложенных в земле. Перегрузка в аварийном режиме к длительно допустимой разрешается для кабелей с бумажной изоляцией на 20 %, с полиэтиленовой на 10 % и поливинилхлоридной на 15 % при условии, что в этом режиме схема будет находиться не более 5 суток во время максимума, но не более 6 ч ежесуточно. Во вводно-распределительных устройствах 7 установлены рубильники 6 и предохранители 5. Предохранители 11 монтируют и на магистралях.

1

Рис. 1. магистральная петлевая схема (I)

Схема питания (II) отличается от рассмотренной тем, что на вводах в дома вместо рубильников установлены переключатели 12. Такая схема особенно удобна при застройке домов в одну линию. Преимуществом схемы является более высокая экономичность, получаемая при выходе из строя одной из питающих линий, а ее недостатками - усложнение вводного устройства из-за установки переключателей вместо рубильников и удлинение питающих линий вследствие прокладки в каждом доме, кроме последнего (тупикового), четырех кабелей вместо двух.

Рис. 2. Магистральная петлевая схема (II)

Схемы питания 9 - 16-этажных домов

Для питания электроприемников 9 - 16-этажных жилых домов без электрических плит применяют как радиальную так и магистральную схему с переключателями на двух вводах (I). При этом одна из питающих линий 2 или 5 используется для присоединения электроприемников квартир и общего освещения общедомовых помещений (подвалов, технических подполий, лестничных клеток, вестибюлей, холлов, чердаков, наружного освещения), другая - для подключения лифтов, противопожарных устройств, эвакуационного и аварийного освещения, элементов диспетчеризации и кодовых замков на дверях подъездов.

Рис. 3. Схема питания электроприемников 9 - 16-этажных жилых домов без электрических плит (радиальная и магистральная схема с переключателями на двух вводах (I))

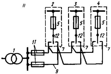
При выходе из строя одной из питающих линий все электроприемники дома подключаются к линии, оставшейся в работе, которая рассчитана на работу в аварийном режиме. Перебой в питании домов длится короткое время, необходимое электромонтеру для переключения на вводно-распределительное устройство 4 с помощью переключателей 3. Каждая из двух питающих линий получает питание по этой схеме от своего трансформатора I. Такую схему применяют и для питания пятиэтажных домов с электроплитами. Если 9 - 16-этажные жилые дома оборудованы электрическими плитами или имеют многосекционную конструкцию с большим числом квартир, их питание осуществляется по схеме с тремя вводами (II), где первый ввод резервирует второй, второй - третий, а третий - первый.

Рис. 4. Схема питания электроприемников 9 - 16-этажных жилых домов оборудованных электрическими плитами или имеют многосекционную конструкцию с большим числом квартир, их питание осуществляется по схеме с тремя вводами (II)

Для создания удобства при ремонте одной из сторон низкого напряжения на подстанции служат схемы (III), в которых первый и второй вводы резервируют друг друга, а третий резервируется от первого. При таком решении в аварийном режиме вся нагрузка дома принимается на один кабель, что требует отключения части электроприемников. Два ввода получают питание от одного трансформатора на подстанции, а один - от другого. При питании домов по вышеприведенным схемам (II и III) необходимо учитывать, что применяемые для автоматического включения резерва (АВР) контакторные станции серии ПЭВ оборудованы контакторами, рассчитанными на ток 1000 или 630 А, поэтому не допускается их перегрузка при аварийных режимах. Установка автоматического включения резерва возможна и на стороне высокого напряжения подстанции.

1

Рис. 5. Схемы (III), в которых первый и второй вводы резервируют друг друга, а третий резервируется от первого

Схема питания 17 - 25-этажных домов и более

При построении схемы питания жилых 17 - 25-этажных домов и более необходимо учитывать, что лифты, эвакуационное и аварийное освещение, огкн светового ограждения и противопожарные установки являются электроприемниками первой категории по надежности электроснабжения. Для таких зданий применяют радиальные схемы с АВР на вводах, к которым присоединяют и противопожарные устройства, огни светового ограждения, эвакуационное и аварийное освещение.

Рис. 6. Схемы питания жилых 17 - 25-этажных домов и более

Схемы подключения противопожарных устройств в домах до 16 этажей включительно

Противопожарные устройства, в которые входят системы дымозащиты, в домах до 16 этажей включительно получают питание от специальных панелей 3 вводного распределительного устройства с автоматическим включением резерва 2. Питающие линии должны подключаться к вводам 1 этих панелей в здание до переключателей, что повышает надежность их электроснабжения. На вводах устанавливают аппараты защиты и управления.

Рис. 7. Противопожарные устройства, в которые входят системы дымозащиты, в домах до 16 этажей включительно

Схемы питания линий внутри зданий

Внутри зданий прокладывают вертикальные участки - стояки, схемы которых имеют большое значение в обеспечении квартир электроэнергией. Они могут быть разомкнутыми (I, II, IV) питанием с одной стороны и замкнутыми (III) с одним, двумя и большим количеством источников питания. В домах более пяти этажей стояки (два или более), присоединенные к одной питающей линии, должны иметь в точке ответвления отключающие аппараты. При подключении к одному стояку более 70 - 80 квартир для повышений надежности прокладывают в каждой секции дома две вертикальные магистрали, подсоединяя квартиры через этаж или по две квартиры на каждом этаже либо более половины квартир (60 %), начиная с первого этажа, к одному стояку, а оставшуюся часть - ко второму (IV). Обычно в домах до 16 этажей при современном уровне нагрузки (включая дома с электроплитами) выгодно применять один стояк на секцию при четырех квартирах на этаж. В некоторых случаях используют схему попарно соединенных стояков (III), причем номинальный ток расцепителя автоматического выключателя 2 должен быть на две ступени ниже, чем автоматических выключателей 1 и 3.

Рис. 8. Вертикальные участки внутри зданий - стояки, схемы могут быть разомкнутыми (I, II, IV) питанием с одной стороны и замкнутыми (III) с одним, двумя и большим количеством источников питания

Этажные щитки квартир 6, размещенные в железобетонном электроблоке на лестничной клетке, можно подключать к стояку 4 (V). На щитках устанавливают трехполюсные пакетные выключатели 5, которые подключают к двум фазным и нулевому проводам стояка.

Схема групповой квартирной сети

Для питания осветительных и бытовых электроприемников служит схема групповой квартирной сети. В целях безопасности применяют однофазные групповые линии. Общее освещение 4, как правило, выделяется в отдельную группу, но допускается и смешанное питание общего освещения и штепсельных розеток. Установлено следующее количество штепсельных розеток 5 в квартирной сети: в жилых комнатах квартир и общежитий - пять на каждые 6 м2 площади, 2 коридорах квартир - одна на 10 м2, в общей комнате квартир с кондиционером - одна дополнительная на ток 10 А (для подключения кондиционера), в кухнях квартир площадью до 8 м2 - три пристенные на ток 6 А, а площадью 8 м2 и более четыре (для подключения холодильника или бытового прибора, подплитного фильтра, динамика трехпрограммного вещания, местного освещения), одна на ток 10 А (для подключения бытового прибора мощностью до 2,2 кВт), одна с заземляющим контактом на ток 25 А (для подключения бытового прибора мощностью до 4 кВт), одна с заземляющим контактом на ток 40 А (для подключения электроплиты мощностью от 5,9 до 8 кВт). В групповом щитке 6 размещены выключатель 1, счетчик 2 и автоматический выключатель 3.

Рис. 9. Схема групповой квартирной сети служит для питания осветительных и бытовых электроприемников

В качестве примера рассмотрим типовую комплексную схему распределения электроэнергии в 16-этажном жилом доме (рисунок 10).

Здание имеет два кабельных взаиморезервируемых ввода 1 и 2 с переключателями 19 и предохранителями 18. К каждому из вводов подключены соответствующие секции шин вводно-распределительных устройств I и II. От секции ВРУ I отходят питающие линии 7 квартир, через отдельный автоматический выключатель 15 и счетчик 14, включаемый с помощью трансформатора тока 16, получает питание сборка ВРУ общедомовых помещений, от которой отходят групповые линии рабочего освещения холлов, лестниц и коридоров 9, освещения технического подполья, чердака, машинных помещений и шахт лифтов, а также питающая линия к щитку иллюминации 8. От секции ВРУ II отходят питающие линии лифтов 6, групповые линии эвакуационного и аварийного освещения 10, розеток для подключения уборочных машин 11.

Потребление электрической энергии электроприемниками, подключенными к секции ВРУ II, учитывается трехфазным счетчиком 22, подключаемым через трансформаторы тока 21. К питающим линиям квартир с автоматическими выключателями 17 присоединяются стояки секций. На вводах устанавливают помехозащитные конденсаторы 20 емкостью по 0,5 мкФ. Освещение лестниц и коридоров автоматизировано; все элементы автоматики установлены на ВРУ. Автоматика отключает искусственное освещение при достаточной естественной освещенности с помощью фотовыключателя 13 и программного реле времени 12, а также часть освещения в ночные часы. Кроме того, можно использовать централизованное управление освещением с диспетчерского пункта, а при выходе из строя автоматики - ручное управление.

Устройства незадымляемости и дымоудаления подключают к специальной секции ВРУ III с устройством АВР, которую присоединяют к обоим вводам до переключателей (вводы 1п, 2п). При этом устройства остаются в рабочем состоянии даже во время полного обесточивания дома. Для учета расхода электроэнергии устанавливают счетчик 4. На каждой из линий, питающих секцию ВРУ III, имеются автоматические выключатели 3. От секции ВРУ III отходят линии, питающие вентиляторы системы незадымленности и щитки управления, а также часть линий эвакуационного освещения 5, расположенного на путях эвакуации. Такое подключение эвакуационного освещения в 16-этажных домах не предусмотрено, но целесообразно в целях повышения безопасности людей, при этом дополнительные затраты не требуются.


Рис. 10. Типовая комплексная схема распределения электроэнергии в 16-этажном жилом доме


Вводно-распределительное однопанельное устройство для жилых зданий

Вводно-распределительные устройства, например ВРУ-1, служат для приема, распределения и учета электроэнергии в сетях 380/220 В с глухозаземленной нейтралью трехфазного переменного тока частотой 50 Гц, а также для защиты линий при перегрузках и коротких замыканиях в общественных зданиях и жилых домах повышенной этажности.

Устройства, собираемые из панелей одностороннего обслуживания шкафного или открытого типа, могут быть однопанельными (I) и многопанельными. Аппараты учета (счетчики, трансформаторы тока) размещены в специальном отсеке 2 панели и закрываются отдельной дверью, аппаратура автоматического и неавтоматического управления освещением - в отсеке 3 групповых линий. В правой нижней части устройства находится распределительный отсек 4. Ввод проводов и кабелей осуществляется снизу, вывод - как снизу так и сверху через верхнюю съемную крышку отсека 1 ввода. Максимальное количество и сечение жил проводов или кабелей, присоединяемых к одному вводному зажиму на 250 А, составляет 4×95 мм2, на 400 А - 4×150 мм2 и на 200 А - 2×95 мм2. Вводно-распределительные устройства, имеющие различные электрические схемы, собирают из вводных, распределительных и вводно-распределительных панелей одинаковых размеров (1700×800×450 мм) и соединяют между собой болтами. В нижних рамах каждой панели имеются четыре отверстия для крепления ВРУ к строительному основанию болтами или штырями. Все ВРУ-1 имеют установочные размеры (II). Применяют также блочные панели ВРУ-I-41-ОЩ, состоящие из распределительной панели ВРУ-1 и шкафа КК878 (КК879) с аппаратурой автоматического управления освещением (III). Шкафы с габаритными размерами 1200×600×200 мм имеют подставку (500×600×200 мм) и могут устанавливаться отдельно от распределительных панелей.

После установки, выверки и закрепления панелей их корпуса заземляют, присоединяя нулевые жилы питающих кабелей (или проводов) к нулевой шине.

Рис. 11 Устройства, собираемые из панелей одностороннего обслуживания шкафного или открытого типа, могут быть однопанельными (I) и многопанельными

Вводно-распределительные устройства устанавливают в щитовых помещениях, доступных только для обслуживающего персонала. Допускается размещать их в помещениях, выделенные в сухих подвалах или технических подпольях, если они легко доступны для обслуживающего персонала и отделены от других помещений несгораемыми перегородками с пределом огнестойкости не менее 0,75 ч. Для одно- и двухэтажных жилых зданий, не имеющих общих лестничных клеток, ВРУ монтируют снаружи на стене зданий, при этом они должны иметь необходимую степень защиты.

1

Рис. 12.

Осветительные групповые щитки

Для приема и распределения электрической энергии и защиты от перегрузок и токов короткого замыкания групповых линий в сетях с глухозаземленной нейтралью применяют осветительные групповые щитки. Для всех автоматических выключателей одного щитка номинальный ток расцепителей одинаков (16, 20 или 25 А).

Рис. 13

Щитки ОП (I), рассчитанные на напряжение 380 В, комплектуются вводными зажимами и автоматическими выключателями АЕ1000 на отходящих линиях и устанавливаются на стене. Ввод и вывод проводов осуществляется через верхнюю 1 и нижнюю 2 съемные крышки щитков, при этом максимальное количество и сечение жил, присоединяемых к одному вводному зажиму, составляет 2×50 мм2. Щитки ОЩВ (II) и УОЩВ (III), ОЩ применяют при напряжении 380/220 В, причем щитки ОЩ типа ОЩ-6УХЛ4 рассчитаны на 6 групп подсоединений, а ОЩ-12УХЛ4 - на 12. На их вводах имеются зажимы, а на отходящих линиях - автоматы А63. Щитки ОЩВ типа ОЩВ-6АУХЛ4 с автоматами АЕ2046-10 на вводе имеют 6 групп подсоединений, типа ОЩВ-12АУХЛ4 с автоматами АЕ2056-Ю - 12 групп, типа УОЩВ-6АУХЛ4 с автоматами АЕ2046-10 - 6 групп, типа УОЩВ-12АУХЛ4 с автоматами АЕ2056-10 - 12 групп. В щитках ОЩВ и УОЩВ всех типов на отходящих линиях предусмотрены автоматы АЕ61. Щитки ОП, ОЩ и ОЩВ крепят к стене через четыре отверстия, а щиток УОЩВ устанавливают в нише.

Рис. 14

Схемы питания групповых щитков

Схемы питания групповых щитков зависят от мощности питающих линий и конфигурации осветительной сети.

Линия питания (I) от вводного ящика 1 (щита) подводится непосредственно или через магистральный осветительный щиток 3 к групповым щиткам 2 (II). Кроме того, применяют схемы, позволяющие от одного щитка отводить групповые линии к светильникам или другим щиткам либо осветительным шинопроводам.

Рис. 15

Щитки для жилых зданий

В жилых зданиях применяют следующие виды щитков: этажные (лестничные) защитные с аппаратурой защиты вводов в квартиры; этажные (лестничные) учетные с аппаратурой защиты групповых линий квартир, счетчиками и коммутационными аппаратами, установленными перед счетчиками; этажные (лестничные), совмещенные со счетчиками и аппаратурой (такими же, как в этажных лестничных учетных щитках) и имеющие дополнительное отделение, в котором размещены устройства телефонной, радиотрансляционной и телевизионной сетей; квартирные с аппаратурой защиты групп, счетчиками и коммутационными аппаратами (допускающими коммутацию под нагрузкой) на вводах. Для перечисленных видов щитков используют автоматические выключатели, но допускаются и резьбовые предохранители.

Рис. 16

Осветительные квартирные щитки служат для питания, учета электрической энергии и защиты сети квартир до 220 В. Они получают питание от этажных щитков, смонтированных на лестничной площадке. Щитки ЩКП01УХЛ4 (I) с тремя автоматами (АЕ 1000) 1, пакетным выключателем 3 и счетчиком электрической энергии 2 устанавливают открыто на стене и крепят с помощью четырех отверстий на панелях. Конструкция щитков ЩК2101УХЛ4 (II) отличается от предыдущей тем, что применяется для скрытой установки в нише.

1

Рис. 17

Щитки ЩК1201УХЛ4 (II) и ЩК1206УХЛ4 (III), имеющие три предохранителя 4 с резьбой Е27 и счетчик электрической энергии 2, устанавливают открыто на стене и крепят через четыре отверстия на основании.

1

Рис. 18

Этажные осветительные щитки ЩЭ выпускаются трех основных типов: с аппаратами защиты вводов в квартиры (IV), с аппаратами защиты групповых линий и отделением слаботочных устройств (V) и с аппаратами защиты групповых линий (VI). Они предназначены для установки в нишах.

Рис. 19

С помощью этажных осветительных щитков ЩЭ1409УХЛ4, ШЭ1410УХЛ4 с аппаратами защиты на вводе (IV) групповые линии четырех квартир присоединяют к магистрали без ее разрезания (на эскизе щиток показан с открытой дверью). На шасси рамы справа и слева установлены четыре автоматических выключателя 1, ответвительные зажимы 7 для присоединения этих выключателей к проводам магистрали стояка 8 и зажима 6 для присоединения нулевых проводов вводов в квартиры к нулевому проводу питающей линии. Щитки укрепляют в нише четырьмя распорными болтами 5, расположенными на шасси. Провода стояка проходят через эту же нишу, их можно прокладывать до и после установки щитка. Дверца щитков имеет запорную защелку.

Рис. 20

Щитки ЩЭ3201УХЛ4-ЩЭ3406УХЛ4 (V) состоят из двух отсеков, в которых выполняют все соединения. К верхнему отсеку имеют доступ жильцы, так как в нем расположены автоматические выключатели для защиты групповых квартирных сетей и автоматические или пакетные выключатели для полного отключения квартирной сети, а к нижнему отсеку - только работники энергосбыта, так как в нем установлены счетчики расхода электроэнергии. Показания счетчиков видны через застекленные окна.

Щитки ЩЭ3201УХЛ4-ШЭ3406УХЛ4 (VI), кроме того, имеют отделение слаботочных устройств (радио, телефона, телевизора), закрывающееся отдельной дверцей. При строительстве жилых домов применяют этажные совмещенные щитки ЩЛС-4, устанавливаемые в нишах электроблока. В этом же электроблоке размещены щитки (ЩЭ3201УХЛ4-ЩЭ3406УХЛ4) и шкаф автоматическим выключателем защиты стояка. На смену этажным щиткам и электроблокам приходят комплексные этажные распределительные токопроводы (КЭРТ), которые представляют собой шкафную металлическую конструкцию заводского изготовления, поступающую на строительную площадку в смонтированном виде (на месте монтажа выполняют только межэтажные соединения проводов стояка опрессовкой и прокладку групповых сетей и сетей связи). В КЭРТ используются автоматические выключатели защитного отключения и сети переговорно-запорных устройств в квартиры.

1

Рис. 21

Щитки для общественных зданий

Для общественных зданий применяют щитки (I), устанавливаемые в помещениях с улучшенной отделкой, которые окрашивают в светлые тона. Щитки А584УХЛ4 для питания сетей местного освещения 12 или 36 В выпускаются с понижающим трансформатором и автоматическим выключателем и устанавливаются в нише размером 330×330×165 мм. Вводные отверстия выполняются на монтаже.

1

Рис. 22

Щитки А585УХЛ4 (II), предназначенные для подключения передвижных трехфазных приемников электроэнергии на 25 А и 380 В, имеют четырехполюсную штепсельную розетку. Их устанавливают в нишу размером 180×180×110 мм. Отверстия для ввода труб в корпус щитков выполняют на монтаже.

Рис. 23

Распределительные щитки А588АУХЛ4 (III) применяют для подключения аппаратов к сети напряжением до 380/220 В с глухозаземленной нейтралью. Их собирают вместе с автоматическим выключателем АЕ2056 на вводе, автоматическим выключателем A3163 и девятью автоматическими выключателями A3161 на отходящих линиях, вольтметром с переключателем и сигнальной лампой и устанавливают на стене. Расцепители всех автоматических выключателей одного щитка имеют один и тот же номинальный ток (16, 20 или 25 А). Ввод и вывод проводов осуществляются через верхнюю и нижнюю съемные крышки щитка. Максимальное количество и сечение проводов, присоединяемых к одному вводному зажиму, составляет 2×50 мм2.

1

Рис. 24

Ящики ЯТП-0,25УЗ (IV) для питания сетей местного освещения 12, 24 или 36 В комплектуют предохранителями Е27 или автоматическими выключателями АЕ1000 и понижающим трансформатором ОСО-0,25 со штепсельной розеткой на 6 А. Ящики ЯТП-0,2511УЗ - ЯТП-0,2513УЗ собирают вместе с предохранителями, имеющими резьбу Е27, а ящики ЯТП-0,2521УЗ - ЯТП-0,2523УЗ - с автоматическими выключателями АЕ1000.

1

Рис. 25

Крепление осветительных щитков к опорным поверхностям

При установке осветительных щитков выбирают места, доступные для их обслуживания в любое время.

Осветительные щитки, с которых выполняется оперативное управление включением и отключением светильников, устанавливают так, чтобы от них были видны эти приборы.

В зданиях без круглосуточного дежурства щитки располагают вблизи основных входов, а в сырых и пыльных помещениях - в шкафах - или нишах с уплотненными дверцами. Щитки с выключателями, предназначенными для управления освещением, или со счетчиками монтируют на высоте от пола до их верха не более 1,8 - 2 м, а в квартирах жилых домов - 1,4 - 1,7 м до коробки зажимов счетчиков. Не допускается установка щитков в помещениях, которые во время работы могут оказаться запертыми, а также над оконными или дверными проемами.

Если управление освещением выполняется не со щитков, их устанавливают в цехах на специальных электротехнических мостиках, где монтируют светильники и пункты распределения.

Плоскость фасада панелей или дверей щитков должна быть вертикальной. На щитках делают надписи с указанием их номера и назначения отходящих линий.

Рис. 26

Щитки 4 размещают на капитальных стенах, колоннах или жестких конструкциях и крепят дюбелями-гвоздями 1 (I) с помощью планки для пристрелки 2, штырями с гайкой 5 (II), дюбелями с распорной гайкой 6 с помощью профиля 7 и болта с гайкой 3 (III), шпильками с двумя гайками 8 (IV).

Рис. 27

Квартирные щитки ЩК устанавливают открыто на дюбелях-винтах (V), забитых в строительное основание пристрелкой в определенные места, а также на конструкциях из полосовой стали (VI) пристрелкой к строительное основанию или с помощью дюбелей ДГП 4,5×50 в местах 9.

Рис. 28

Навесные распределительные щитки 4 типа ПР11-3065 (VII) крепят на конструкциях из УСЭК, изготовляемых в МЭЗ с помощью профиля (УСЭК52) 10, болта (М12×25) 11, закладной гайки (УСЭК 77), держателя (УСЭК 78), а также стальной полосы 12.

Рис. 29

Для разметки мест открытой установки квартирных и групповых щитков и изготовления крепежных конструкций необходимо знать их установочные размеры а и h (VIII), мм:

254×190 (ОП-6); 380×190 (ОП-12); 300×30 (ОЩ-6), 300×500 (ОЩ-12); 300×400 (ОЩВ-6А, ОПВ-6); 300×600 (ОЩВ-12А); 274×320 (ЯОУ-8501 - ЯОУ 8504); 700×620 (ПР11-3065, 165×425 (ЩК-1101).

Рис. 30

Установка щитков в нишах

Квартирные, групповые щитки УОШВ, ЩО, ЯОУ для промышленных, административных и общественных зданий и этажные квартирные щитки ЩЭ, ЩК устанавливают в специально подготовленные ниши при выполнении строительных конструкций зданий в домостроительных комбинатах или оставленные в стенах при кладке кирпичных зданий и крепят с помощью распорных дюбелей, дюбелей-винтов и распорных болтов, непосредственно или с помощью специальных рам.

В зависимости от типа щитков ниши должны иметь необходимые размеры (высоту h, ширину а и глубину b), мм:

500×400×140(УОЩВ-6А), 700×400×140 (УОШВ-12А), 296×440×150 (ЩО33-13), 464×440×150 (ЩО33-24, ЩОЭ1-21), 530×440×150 (Щ031-32), 650×300×150 (ЯОУ-8505, ЯОУ-8506), 550×300×150 (ЯОУ-8507, ЯОУ-8508), 950×500×140 (ШЭ2301 - ЩЭ2306, ЩЭ2401 - ШЭ2406), 950×900×140 (ЩЭ3301 - ЩЭ3306, ЩЭ3401 - ЩЭ3406), 300×290×130 (ЩЭ1409, ЩЭ1410), 500×280×130 (ЩК2101)

Конусность ниш вызвана технологией их изготовления, при которой легче извлекать из них деталь.

Рис. 31

Монтаж распределительных щитков и вводных устройств

Применяемые в общественных зданиях и жилых домах повышенной этажности вводно-распределительные устройства серии ВРУ устанавливаются в щитовых помещениях, доступных только для обслуживающего персонала. Допускается размещать ВРУ в помещениях, выделенных в сухих подвалах или в технических подпольях при условии, если они легко доступны для обслуживающего персонала и отделены от других помещений несгораемыми перегородками с пределом огнестойкости не менее 0,75 ч. Для одно- и двухэтажных жилых зданий, не имеющих общих лестничных клеток, ВРУ могут устанавливаться снаружи на стене здания. В этом случае они должны иметь соответствующую степень защиты.

Панели ВРУ крепят к основанию болтами или штырями через четыре отверстия в нижних рамах каждой панели (рис. 32). Между собой панели скрепляют болтами. Ввод проводов и кабелей осуществляют снизу через приямок или канал, а ввод - как снизу, так и через верхнюю крышку.

Рис. 32. Установочные размеры вводных панелей

а - панелей серии ВРУ; б - блочной панели ВРУ1-41-ОЩ

На рис. 1, б показано крепление блочной панели ВРУ1-41-ОЩ, состоящей из распределительной панели ВРУ1 и шкафа КК878 (КК879) с аппаратурой автоматического управления освещением. Шкафы КК878 (КК879) имеют габариты 1200×600×200, с подставкой 500×600×200 мм. Они могут также устанавливаться отдельно от распределительных панелей ВРУ1.

Щитки осветительные типов ОП, ОПВ, ОЩ, ОЩВ, ЯОУ, ПР11, предназначенные для распределения электроэнергии и защиты от перегрузок и токов короткого замыкания групповых линий освещения в промышленных, административных и общественных зданиях, и осветительные квартирного типа ЩК устанавливают открыто на стене или колонне и закрепляют на распорных дюбелях, дюбелях-винтах, на конструкциях (рис. 33 а, б), пристреливаемых строительно-монтажными пистолетами, согласно установленным размерам, приведенным в табл. 1.1. На рис. 33, в показано крепление навесных распределительных щитков типа ПР11-3065 на конструкциях из УСЭК, изготовленных в МЭЗ.

Рис. 33. Крепление щитков открытой установки

а - на дюбель-винтах; б - на конструкциях из полосовой стали; в - на конструкциях из УСЭК; 1 - УСЭК52; 2 - щиток ПР11-3065; 3 - болт М 12×25; 4 - гайка закладная УСЭК77; 5 - держатель УСЭК78; 6 - дюбель ДТП 4,5×50; 7 - полоса стальная 40×4

Установочные размеры для открытого крепления осветительных групповых и квартирных щитков

Таблица 1.1

Тип щитка

Размеры, мм

Рисунок

а

h

ОП-6

254

190

Рис. 34. Установочные размеры для открытого крепления осветительных групповых и квартирных щитков

ОП-12

380

190

ОЩ-6

300

300

ОЩ-12

300

500

ОЩВ-6А (ОПВ-6)

300

400

ОЩВ-12А

300

600

ЯОУ-8501 - ЯОУ-8504

274

320

ПР11-3065

700

620

ЩК-1101

165

425

Примечание: Щиток ОПВ-6 с выключателем АЕ1031 выпускается взамен - щитка ОЩВ-6А с выключателем АЕ2044.

Щитки осветительные групповые типов УОЩВ, ЩО, ЯОУ для промышленных, административных и общественных зданий, а также этажные типа ЩЭ и квартирные ЩК для жилых зданий крепят на распорных дюбелях, дюбелях-винтах или распорными болтами в нишах строительных конструкций зданий, выполняемых при их изготовлении на ДСК или оставляемых в стенах при кладке кирпичных зданий (табл. 1.2).

Размеры ниш для установки осветительных групповых и квартирных щитков

Таблица 1.2

Тип щитка

Размеры, мм

Рисунок

h

а

b

УОЩВ-6А

500

700

400

400

140

140

Рис. 35. Размеры ниш для установки осветительных групповых и квартирных щитков

УОЩВ-12А

296

464

440

440

150

150

ЩО33-13

530

650

440

300

150

150

ЩО33-24, ЩО31-21

550

300

150

ЩО31-32

ЯОУ-8505, ЯОУ-8506

ЯОУ-8507, ЯОУ-8508

ЩЭ2301 - ЩЭ2306, ЩЭ2401 - ЩЭ2406

950

500

140

ЩЭ3301 - ЩЭ3306, ЩЭ3401 - ЩЭ3406

950

900

140

ЩЭ1409, ЩЭ1410

300

290

130

ЩК2101

500

280

130

Примечание. Конусность ниш необходима только для лучшего извлечения закладных деталей при распалубке отформованных панелей на заводах.

Осветительные групповые щитки в производственных и общественных зданиях, устанавливают в местах, доступных для обслуживания в любое время, и, как правило, вблизи основных входов и выходов.

Установка щитков в помещениях, которые во время работы могут оказаться запертыми, не допускается. В пыльных и сырых помещениях устанавливают щитки с уплотненными дверцами и вводами. Высота установки от пола щитков с выключателями, предназначенными для управления освещением, или со счетчиками должна быть не более 1,8 - 2 м до верха щитка, в квартирах жилых домов 1,4 - 1,7 м до коробки зажимов счетчиков.

При наличии в цехах специальных электротехнических мостиков и при отсутствии необходимости управления освещением со щитков (например, общее освещение высоких пролетов производственных цехов), светильники и пункты распределения и управления целесообразно располагать на указанных мостиках. Это позволит значительно сократить протяженность групповых сетей и улучшить условия обслуживания светильников.

Для монтажа сетей освещения во взрывоопасных зонах классов В-1а, В-1б, В-2, В-2а и установках класса В-1г применяют навесные щитки взрывонепроницаемые ЩОВ-1А и ЩОВ-2А (высота×ширина×глубина: 880×600×325 мм). Для ввода и вывода проводов и кабелей щитки имеют снизу два вводных и сверху четыре выводных устройства. Вводы выполнены с условным диаметром проходного отверстия 45 мм и рассчитаны на присоединение труб диаметром 2». Выводы выполнены из расчета на присоединение труб диаметром 1».

Питающие сети щитков подключают к контактным зажимам вводных устройств проводами и кабелями, оконцованными наконечниками, или с помощью ответвительных сжимов У733М, У859М, позволяющих выполнять присоединение к медным или алюминиевым проводам сечением до 70 мм2 без разрезания магистрали.

Монтаж вводно-распределительных устройств, пунктов и щитков производят индустриальным методом с предварительной подготовкой в МЭЗ всех крепежных конструкций, сборкой в блоки, установкой и подключением счетчиков и комплектной доставкой в зону монтажа. Схемы включения электрических счетчиков приведены на рис. 36.

Рис. 36. Включение электрических счетчиков

а - непосредственное однофазного счетчика; б - то же, через трансформатор тока; в - непосредственное трехфазного счетчика; г - то же, через трансформатор тока; д - непосредственное трехфазного счетчика в четырехпроводную сеть; е - то же, через трансформатор тока

Квартирные щитки открытой установки типа ЩК поставляют на объект, как правило, без счетчиков, которые после проверки устанавливают перед сдачей жилых домов в эксплуатацию.

2. ОРГАНИЗАЦИЯ И ТЕХНОЛГИЯ СТРОИТЕЛЬНОГО ПРОЦЕССА

Условия начала работ

2.1. Проверить в соответствии с проектом наличие ниш в строительных конструкциях, выполненных при их изготовлении на ДСК или оставленных в стенах при кладке кирпичных зданий.

Размеры ниш для установки осветительных групповых и квартирных щитков приведены в табл. 2.1.

Таблица 2.1

Тип щитка

Размеры ниш, мм

h

а

b

ЩЭ1409 - ЩЭ1410 УХЛ4

300

290

130

ЩЭ3201 - ЩЭ3206

ЩЭ3301 - ЩЭ3306

ЩЭ3401 - ЩЭ3406

950

500

140

ЩЭ2301 - ЩЭ2306

ЩЭ2401 - ЩЭ2406

950

900

140

ЩК 1201

500

280

130

УОЩВ-6

500

400

140

УОЩВ-6

700

400

140

1

Рис. 36. Размеры ниш для установки осветительных групповых и квартирных щитков

2.2. В МЭЗ должна быть произведена подготовка к монтажу щитков и ВРУ в т.ч. установлены и подключены счетчики, нанесены надписи, подготовлены все крепежные конструкции и комплектно доставлены в зону монтажа.

2.3. Эл. монтажной организацией должны быть установлены конструкции под ВРУ и проложены в подливке пола пластмассовые трубы для ввода проводов или кабелей снизу.

2.4. Исполнители:

Электромонтажник 4 разряда - 1 чел.

Электромонтажник 3 разряда - 1 чел.

Электромонтажник 2 разряда - 1 чел.

3. Технология выполнения работ

3.1. Монтаж ВРУ

3.1.1. Для транспортирования панелей ВРУ на объект и выполнения погрузочно-разгрузочных работ использовать автомобиль-самопогрузчик. К месту монтажа панели ВРУ перемещать вручную.

3.1.2. На подготовленные металлоконструкции установить панели и обеспечить их устойчивость, или временно закрепить к надежным строительным конструкциям, до окончательного закрепления их болтами. Затем, подкладывая стальные пластины под нижние связи панелей, а также ослабляя и подтягивая болты, соединяющие между собой панели, производят выверку вертикальности, однолинейности и подгонку болтовых отверстий блока панелей.

3.2. Монтаж осветительных групповых и квартирных щитков.

3.2.1. Для подъема инвентарных контейнеров с этажными и квартирными щитками необходимо, установить в оконном проеме последнего этажа приспособление разработки ЗТГ.

Установку приспособления и схему подъема контейнера на верхние этажи здания см. рис. 38.

Рис. 38. Схемы подъема груза в контейнерах

После подъема на стаж загруженный контейнер ставят на подоконник и с помощью троса удерживают при заторможенной лебедке. Вынув щиток из контейнера вручную доставить его к месту монтажа.

3.2.2. Для монтажа навесных распределительных щитков непосредственно на стене или на металлоконструкции необходимо выполнить разметку отверстий под распорные дюбели. Установочные размеры для открытого крепления щитков приведены в табл. 2.2.

Таблица 2.2

Тип щитка

Размеры, мм

а

h

ОП-3УХЛ4, ОП-6УХЛ4

254

374

ОП-9УХЛ4, ОП-12УХЛ4

380

500

ОЩ-6 УХЛ4

300

416

ОЩ-12 УХЛ4

500

616

ОЩВ-6А УХЛ4

400

516

ОЩВ-12А УХЛ4

600

716

ЩК-1101 УХЛ4

165

425

Рис. 39. Размеры для открытого крепления щитков

3.2.3. В нишах строительных конструкций щитки крепить распорными болтами.

3.3. Провода стояка в местах присоединения к этажным или квартирным групповым щиткам не должны разрезаться. Присоединение их к щиткам должно осуществляться путем петлевого захода на щитки или с помощью ответвительных сжимов в изолированном корпусе.

3.4. Оконцевание жил проводов и кабелей выполнить:

изгибанием конца однопроволочной жилы сеч. 2,5 - 10 мм2 в кольцо;

опрессовкой с применением кабельных наконечников для жил сеч. 16 - 240 мм2.

3.5. В местах ответвлений и присоединений предусмотреть запас проводов или кабеля для повторного соединения или ответвления.

3.6. Зануление корпусов панелей ВРУ обеспечивается присоединением, нулевых жил кабелей или проводов к нулевой шине (электрически соединенной с корпусами всех панелей).

Зануление щитков выполнить при помощи отдельных ответвлений от магистрали. Последовательное включение в нулевой защитный проводник зануляемых щитков запрещается.

3.7. При выполнении эл. проводок в пластмассовых трубах с вводом в ВРУ через моталлорукав, последний занулить от корпуса.

3.8. Подъем электроплит на верхние этажи здания выполнять аналогично подъему этажных и квартирных щитков. К месту установки эл. плиты доставить вручную.

3. ТРЕБОВАНИЯ К КАЧЕСТВУ И ПРИЕМКЕ РАБОТ

Общие сведения

1. Работы по монтажу электроустановок жилых и общественных зданий должны организовываться и проводиться в соответствии с требованиями СНиП 3.05.06-85, ПУЭ, СП 31-110-2003, ГОСТ 30331.1-95, ГОСТ Р 50571.2-94, ГОСТ Р 50571.3-94, ГОСТ Р 50571.7-94, ГОСТ Р 50571.9-94, ГОСТ Р 50571.10-96, ГОСТ Р 50571.11-96, ГОСТ Р 50571.12-96, ГОСТ Р 50571.13-96, ГОСТ Р 50571.14-96, ГОСТ Р 50571.15-97, ГОСТ Р 50571.16-99*, ГОСТ Р 50571.17-2000, ГОСТ Р 50571.18-2000, ГОСТ Р 50571.19-2000, ГОСТ Р 50571.20-2000, ГОСТ Р 50571.21-2000, ГОСТ Р 50571.22-2000, ГОСТ Р 50571.23-2000.

______________

* Взамен действует ГОСТ Р 50571.16-2007. - Примечание изготовителя базы данных.

2. Объем и содержание рабочего проекта, в общем случае, должны соответствовать требованиям ГОСТ 21.608-84, ГОСТ 21.613-88, ГОСТ 21.611-85.

3. Способы прокладки электропроводок указываются в проекте. В помещениях жилых и общественных зданий, как правило, применяется скрытая электропроводка. Открытую проводку выполняют в технических этажах и подпольях, в неотапливаемых подвалах, тепловых пунктах, вентиляционных камерах, насосных, в сырых и особо сырых помещениях.

Вертикальные участки («стояки») питающих линий должны прокладываться в трубах, коробах, каналах строительных конструкций.

В таблице 3.1 приведены указания ГОСТ Р 50571.15-97 по выбору электропроводки.

Таблица 3.1

Выбор электропроводки (ГОСТ Р 50571.15-97 таблица 52F)

Провода и кабели

Способ монтажа

без крепления

с непосредственным креплением

в трубах

в коробах

в спец. коробах

на лотках и кронштейнах

на изоляторах

на тросе (струне)

Не изолированные провода

-

-

-

-

-

-

-

-

Изолированные провода

-

-

+

+

+

-

+

-

Изолированные провода в защитной оболочке, кабели в оболочках (в т.ч. бронированные с минеральной изоляцией)

многожильные

+

+

+

+

+

+

0

+

Одножильные

0

+

+

+

+

+

0

+

Обозначения:

«+» - разрешается;

«-» - не разрешается;

«0» - не применяется или обычно в практике не используется.

Примечание: специальный короб - это короб прямоугольного сечения, предназначенный для прокладки проводов и кабелей, и не имеющий съемных или открывающихся крышек.

4. Электропроводка должна соответствовать условиям окружающей среды, назначению и ценности сооружений, их конструкции и архитектурным особенностям. Электропроводка должна обеспечивать возможность легкого распознания по всей длине проводников по цветам.

Должны применяться следующие расцветки проводов:

- голубого цвета - для обозначения нулевого рабочего или среднего проводника электрической сети;

- двухцветной комбинации зелено-желтого цвета - для обозначения защитного или нулевого защитного РЕ проводника;

- двухцветной комбинации зелено-желтого цвета по всей длине с голубыми метками на концах линии, которые наносятся при монтаже - для обозначения совмещенного нулевого рабочего и нулевого защитного РЕМ проводника;

- черного, коричневого, красного, фиолетового, серого, розового, белого, оранжевого, бирюзового цвета - для обозначения фазных проводников.

5. В зданиях должны применяться кабели и провода с медными жилами. Питающие и распределительные сети, как правило, должны выполняться кабелями и проводами с алюминиевыми жилами, если их расчетное сечение равно 16 мм2 и более.

Питание отдельных электроприемников, относящихся к инженерному оборудованию зданий (насосы, вентиляторы, калориферы, установки кондиционирования воздуха и т.п.) может выполняться проводами и кабелями с алюминиевыми жилами сечением не менее 2,5 мм2.

В жилых зданиях сечение медных проводников должны быть не менее:

1,5 мм2 - для линий групповых сетей;

2,5 мм2 - от этажных до квартирных щитков и к расчетному счетчику;

4 мм2 - для линии распределительной сети (стояки) для питания квартир.

6. Контроль качества работ по монтажу электрооборудования жилых зданий включает проверки:

- качества электротехнических материалов и изделий, их соответствие условиям окружающей среды и уровню напряжения; (входной контроль)

- соблюдения технологии и последовательности выполнения операций;

- соответствия размещения электрооборудования в помещениях здания требованиям проекта, СНиП, ПУЭ и СП 31-110-2003;

- выполнения требований по защите материалов и электрооборудования от воздействий окружающей среды и механических повреждений;

- выполнения требований пожарной безопасности;

- выполнения мер защиты от поражения электрическим током;

- состояния электрической изоляции электрооборудования и электропроводок.

7. Электромонтажные работы выполняют в две стадии:

- на первой стадии производят установку закладных деталей и конструкций для крепления оборудования, подготовку участков трасс для прокладки линий электропроводки. Одновременно, за пределами монтажной зоны, проверяют качество материалов и изделий, проводят укрупнительную сборку отдельных узлов. При монтаже скрытых электропроводок в состав работ первой стадии входят прокладка кабелей (трубопроводов), установка распаечных коробок, прозвонка жил кабелей и соединение их в коробах. Выполнение работ первой стадии должно обеспечить возможность производства отделочных строительных работ;

- на второй стадии (после окончания отделочных работ), выполняют установку аппаратов, светильников. При монтаже открытых проводок - открытую прокладку кабелей по подготовленным трассам;

8. При производстве работ по монтажу электрооборудования выполняются следующие операции:

- контроль качества электротехнических материалов и электрооборудования (входной контроль);

- проверка качества работ, выполняемых строительной организацией и связанных с последующими электромонтажными работами. Эти работы предусмотрены в архитектурно-строительных чертежах (установка закладных деталей и конструкций, подготовка фундаментов под электрооборудование, каналов, ниш, плинтусов и наличников с каналами для электропроводок). Кроме того, проверяется качество электропроводок замоноличиваемых в строительные элементы при их изготовлении;

- разметка мест установки электрооборудования (светильников, розеток, выключателей и др. аппаратов);

- разметка трассы электропроводки и мест расположения распаечных коробок;

- подготовка мест крепления кабелей (трубопроводов) и электрооборудования;

- прокладка кабелей (трубопроводов), затягивание кабелей в проложенные трубопроводы, короба;

- прозвонка жил проводов и кабелей, сборка схемы электропроводки, соединение жил в коробках;

- установка и присоединение светильников, розеток, выключателей и другого электрооборудования;

- измерение сопротивления изоляции электрооборудования и электропроводок;

- сдача электрооборудования в эксплуатацию;

9. Качество выполнения перечисленных операций проверяется в процессе производственного контроля. При осуществлении государственного, технического и авторского надзоров инспектирующий персонал руководствуется действующими инструкциями. При этом проверяется, как правило, законченные крупные этапы работ, однако он имеет право контролировать качество выполнения любых операций электромонтажных работ.

Производственный контроль

10. Контроль качества электрических материалов и электрооборудования осуществляют службы производственно-технической комплектации на базах и центральных складах электромонтажных организаций. Линейный персонал обязан проверить внешним осмотром соответствие электроматериалов, конструкций и изделий требованиям проекта и нормативным документам, а также проверить наличие и содержание паспортов, сертификатов и других сопроводительных документов.

Проверку качества строительных работ, выполняемых в интересах электромонтажников, линейный персонал производит внешним осмотром и измерением основных размеров в натуре.

11. При контроле качества разметки мест установки аппаратов необходимо руководствоваться следующими требованиями нормативных документов:

- расположение светильников зависит от их количества в помещении.

Если в помещении предусматривается установка одного светильника, его размещают в центре потолка, в точке пересечения диагоналей, (рис. 40, а). Если необходимо установить два светильника, их размещают на большей средней линии помещения, (рис. 40, б). При установке четырех светильников их размещают, как показано на рис. 40, в. В служебных помещениях большой площади светильники, как правило, размещают в шахматном порядке (рис. 40, г). При наличии в проекте указаний по размещению светильников необходимо строго ими руководствоваться;

Рис. 40. Разметка мест установки светильников в помещениях

- розетки в квартирах и общежитиях должны устанавливаться в местах, удобных для их использования и с учетом проектируемой расстановки бытовой и кухонной мебели. Не допускается размещать розетки под и над мойками, а также в других неудобных для эксплуатации местах (например, в кухонных шкафах);

- в школах и детских школьных учреждениях в помещениях для пребывания детей выключатели и розетки должны устанавливаться на высоте 1,8 м от пола. Высота установки осветительных и силовых розеток в других общественных зданиях и помещениях принимается удобной для присоединения к ним электрических приборов в зависимости от назначения помещений и оформления интерьеров, но не выше чем 1 м от пола;

- выключатели для светильников общего освещения устанавливаются на высоте от 0,8 до 1,7 м от пола, в помещениях для пребывания детей - на высоте 1,8 м и размещаются таким образом, чтобы они не закрывались открывающимися дверями. Рекомендуемые места установки выключателей показаны на рис. 41.;

Рис. 41. Места установки выключателей в помещениях

- выключатели для туалетов и ванных комнат размещают вне этих помещений;

- электрощитовые, а также ВРУ и ГРЩ не допускается располагать непосредственно под уборными, ванными комнатами, душевыми, кухнями пищеблоков, моечными и другими помещениями, связанными с мокрыми технологическими процессами. Прокладка через электрощитовые трубопроводов систем водоснабжения, отопления (за исключением трубопроводов отопления щитовой), а также вентиляционных и других коробов разрешается как исключение, если они не имеют в пределах щитовых помещений ответвлений, а также люков, задвижек, фланцев, ревизий, вентилей. При этом холодные трубопроводы должны иметь защиту от отпотевания, а горячие - тепловую несгораемую изоляцию. Прокладка через электрощитовые газопроводов и трубопроводов с горючими жидкостями не допускается;

- распределительные пункты и групповые щитки следует, как правило, устанавливать в нишах стен в запирающихся шкафах. Открыто установленные щитки и пункты должны размещаться на высоте не менее 2,2 м от пола;

- в учебных кабинетах и лабораториях школ и средних специальных учебных заведений распределительные щитки для питания учебных приборов следует устанавливать вблизи стола преподавателя, но не далее 1,5 м от него.

12. Выбирая трассу питающих линий и внутренних сетей необходимо руководствоваться следующим:

- кабельные вводы в здания следует выполнять в трубах на глубине не менее 0,5 м и не более 2 м от поверхности земли. При этом в одну трубу следует затягивать один силовой кабель. Прокладку труб следует выполнять с уклоном в сторону улицы. Трубы для ввода кабеля следует закладывать, как правило, непосредственно до помещения вводно-распределительного устройства. По подвалу и техническому подполью здания, при отсутствии возможности доступа посторонних лиц (кроме эксплуатирующего персонала), допускается прокладка транзитных силовых кабелей напряжением до 1000 В, питающих электроэнергией другие здания;

- трассу внутренних электрических сетей при скрытой прокладке намечают параллельно линиям пересечения стен и потолков на расстоянии 100 - 200 мм от потолка или 50 - 100 мм от карниза или балки. Трасса не должна совпадать с дымоходами, боровами и другими горячими поверхностями или пересекать их;

- при пересечении с трубопроводами провода и кабели должны располагаться на расстоянии не менее 50 мм от трубопровода, при пересечении с трубопроводами с горючими газами и жидкостями - не менее 100 мм;

- трасса проводки по перекрытиям (в штукатурке, щелях, в пустотах плит) должна выбираться по кратчайшему расстоянию;

- спуски и подъемы к светильникам, выключателям и штепсельным розеткам должны выполняться по вертикальным линиям во избежание повреждения провода гвоздями, вбиваемыми в стены при эксплуатации помещения;

- при выборе трассы следует избегать пересечений проводов между собой;

- открытая прокладка проводов на роликах или изоляторах, на тросах и лотках должна выполняться на высоте не менее 2 м. В помещениях с повышенной опасностью - на высоте не менее 2,5 м;

13. При подготовке мест прокладки кабелей скрытой электропроводки глубина борозд, штраб должна быть такой, чтобы после укладки кабеля (трубопровода) и оштукатуривания слой штукатурки над кабелем (трубопроводом) был не менее 10 мм. Во избежание повреждения изоляции кабелей борозды не должны иметь острых выступов, крутых углов поворота.

Электрические сети, прокладываемые за непроходными подвесными потолками и в перегородках, рассматриваются как скрытые электропроводки и они должны выполняться:

- за потолками и в пустотах перегородок из горючих материалов в металлических трубах и в закрытых коробах;

- за потолками и в перегородках из негорючих материалов - в выполненных из негорючих материалов трубах и коробах, а также кабелями, не распространяющими горение.

При этом должна быть обеспечена возможность замены проводов и кабелей.

14. При скрытой электропроводке розетки и выключатели (предназначенные для утопленного монтажа) устанавливаются в коробки, при открытой - на стенах помещения. Если эти аппараты не имеют цоколя для непосредственной установки на стене, их устанавливают на подкладках из непроводящего материала (подрозетниках) толщиной не менее 10 мм;

15. Устанавливая детали крепления кабелей при открытой проводке, необходимо размещать их так, чтобы радиус изгиба кабелей был не менее допустимого (для кабелей типа ВВГ - он должен быть не менее десяти наружных диаметров кабеля). Крепление у места изгиба выполняется на прямолинейном участке на расстоянии 10 мм от начала изгиба. Крепление у коробок и проходов осуществляют на расстоянии 50 - 100 мм от них. Расстояние между точками крепления на горизонтальных участках должна быть не более 500 мм, на вертикальных - 700 мм. При скрытой прокладке кабелей в кирпичных или бетонных конструкциях крепление осуществляют «примораживанием» алебастровым раствором через 0,3 - 1,0 м. Выход скрыто проложенных кабелей в коробки, к светильникам выполняют в изоляционных трубах.

16. Прокладка кабелей с пластмассовой изоляцией должна производиться при температуре не ниже +15 °С. При открытой прокладке таких кабелей следует предусматривать, кроме того, меры по защите их оболочек от непосредственного воздействия солнечных лучей, разрушающих поливинилхлорид.

17. При монтаже открытых проводок в трубах:

- трубопровод прокладывают непосредственно по строительным основаниям или по закреплённым на них опорным конструкциям. Опорные конструкции закрепляют так, чтобы они выступали на 50 - 100 мм от строительной поверхности, что создает удобства для соединения труб и ввода их в ящики и коробки. К строительной поверхности опорные конструкции крепят различными способами. При наличии заранее установленных закладных деталей опорные конструкции крепят к ним сваркой, а при отсутствии их с помощью строительно-монтажного пистолета. К металлическим поверхностям опорные конструкции прикрепляют сваркой. Крепление труб на опорных конструкциях производят скобами с лапками, хомутами или накладками на болтах;

- расстояния между точками крепления трубопровода должны быть не более 2,5 м для труб с условным проходом 15 - 20 мм и 3 м - для труб с условным проходом 25 - 32 мм. Крепление трубопроводов электрической проводки к технологическим трубопроводам, а также крепление путем непосредственной приварки трубопроводов к строительным или технологическим конструкциям не допускаются. При прокладке трубопровода необходимо обеспечить уклон его в одну сторону для стока воды, которая может скапливаться в трубопроводе и вывести из строя изоляцию проводов;

- одновременно с прокладкой участков трубопровода выполняют соединения труб между собой, присоединяют их к коробкам, аппаратам. В зависимости от способа прокладки и условий окружающей среды соединения выполняют с уплотнением или без уплотнения стыков и мест ввода труб в коробки, аппараты;

- соединения с уплотнением выполняют для электропроводок во взрывоопасных установках, в помещениях с химически агрессивной средой, в особо сырых помещениях и наружных установках. Степень уплотнения может быть различной. Так, в помещениях сырых и с химически активной средой уплотнение должно предохранять от проникновения внутрь трубопровода влаги или агрессивных к изоляции проводов газов и жидкостей. Трубопровод, в котором соединения выполняют без уплотнения, защищает провода от возможных механических повреждений и непосредственного попадания на них влаги;

18. При затягивании проводов и кабелей в трубы, непосредственно перед выполнением операции, необходимо принять меры по предупреждению повреждения оболочек, установив на концах труб металлические или пластмассовые оконцеватели (цельные или разъемные).

19. В местах прохода проводов и кабелей через стены, междуэтажные перекрытия или выхода их наружу необходимо обеспечивать возможность смены электропроводки. Для этого проход должен быть выполнен в трубе, коробе, проеме и т.п. С целью предотвращения проникновения и скопления воды и распространения пожара в местах прохода через стены, перекрытия или выхода наружу следует заделывать зазоры между проводами, кабелями и трубой (коробом, проемом и т.п.), а также резервные трубы (короба, проемы и т.п.) легко удаляемой массой из несгораемого материала. Заделка должна допускать замену или дополнительную прокладку новых проводов и кабелей и обеспечивать предел огнестойкости проема не менее предела огнестойкости стены (перекрытия).

20. При сборке схемы электропроводки необходимо соблюдать следующие требования:

- к выключателям должен подключаться фазный провод;

- к резьбовой части патронов светильников с лампами накаливания должен присоединяться нулевой провод;

- нулевой и защитный проводники не должны иметь разрывов;

21. Длина проводов ответвлений от групповых линий к электроустановочным изделиям для утопленного монтажа и к светильникам должна приниматься равной:

- для закладных коробок под розетки и выключатели - 50 мм плюс глубина коробки;

- для светильников с лампами накаливания - 100 мм от потолка;

- для светильников с люминесцентными лампами -150 мм от потолка (независимо от наличия закладной коробки).

22. Соединение, ответвление и оконцевание жил проводов и кабелей, за исключением проводов, проложенных на изолирующих опорах, должны выполняться в соединительных и ответвительных коробках, в изоляционных корпусах соединительных и ответвительных сжимов в специальных нишах строительных конструкций, внутри корпусов электроустановочных изделий, аппаратов и машин. При прокладке на изолирующих опорах соединение или ответвление проводов следует выполнять непосредственно у изолятора, клицы или на них, а также на ролике.

Соединение и оконцевание жил должны быть выполнены при помощи опрессовки, сварки или сжимов (винтовых, болтовых и т.п.) в соответствии с действующими инструкциями. В местах соединения, ответвления и присоединения жил проводов и кабелей должен быть предусмотрен запас провода (кабеля), обеспечивающий возможность повторного соединения, ответвления или присоединения. Места соединения и ответвления проводов и кабелей должны быть доступны для осмотра и ремонта.

В местах соединения и ответвления провода и кабели не должны испытывать механических усилий, тяжения; сопротивление места соединения не должно превышать сопротивления целого провода такой же длины более чем в 2 раза, место соединения должно иметь изоляцию, равноценную изоляции целых жил этих проводов и кабелей.

23. Проверку качества соединений производят внешним осмотром, обращая внимание на отсутствие трещин, раковин. Изоляцию места соединения выполняют изоляционной лентой в три слоя или одевая на место соединения полиэтиленовый изолирующий колпачок.

24. Для подключения электроприемников с частями, подлежащими заземлению (занулению), должны применяться розетки с защитным контактом. Такие розетки должны быть установлены в вестибюлях, холлах, в помещениях, где применяют электроприемники класса 1, не имеющие двойной или усиленной изоляции. В жилых помещениях все розетки должны иметь защитный контакт.

25. В ванных комнатах квартир, в умывальных, душевых, ванных комнатах и преддушевых общежитии и гостиниц устанавливать розетки не допускается, за исключением розеток в умывальных и ванных комнатах, присоединенных через разделяющий трансформатор, первичная обмотка которого включается при включении рабочего освещения этих помещений или через устройство защитного отключения (УЗО).

26. В жилых комнатах квартир и общежитии площадью 10 м2 и более должна быть предусмотрена возможность установки многоламповых светильников с лампами накаливания с включением ламп двумя частями. При установке в жилых комнатах общежитии нескольких люминесцентных светильников следует предусматривать возможность их раздельного включения. Крюк в потолке для подвешивания светильника должен быть изолирован с помощью полихлорвиниловой трубки. Это требование не относится к случаям крепления крюков к деревянным перекрытиям.

Размеры крюков для подвеса бытовых светильников должны быть, мм: внешний диаметр полукольца - 35; расстояние от перекрытия до начала изгиба - 12. При изготовлении крюков из круглой стали диаметр прутка должен быть 6 мм.

27. Приспособления для подвешивания светильников массой до 25 кг должны выдерживать в течение 10 мин без повреждения и остаточных деформаций приложенную к ним нагрузку, равную пятикратной массе светильника. В проектах масса светильника для жилых комнат, кухонь и передних квартир принимается 10 кг.

Приспособления для крепления светильников (люстр) массой 25 кг и более должны быть испытаны грузом массой равной двукратной массе светильника плюс 80 кг. Груз подвешивается к приспособлению и выдерживается 10 минут. По результатам испытаний составляются протоколы.

28. Во внутренних сетях жилых и общественных зданий запрещается устанавливать автоматические выключатели, имеющие только электромагнитный расцепитель мгновенного действия (отсечку).

29. Для систем стационарного электротеплоснабжения жилых и общественных зданий (электрическое отопление и горячее водоснабжение) разрешается применение следующих видов нагревательных приборов: низкотемпературных сухих и масляных радиаторов, греющих панелей, электротепловентиляторов, аккумуляционных электропечей, греющих кабелей, конструкционных элементов зданий со встроенными низкотемпературными нагревательными элементами и электроводонагреватели. Электроотопительные приборы должны соответствовать требованиям ГОСТ 16617-87*Е, ГОСТ 23110-84*Е, СТ СЭВ 1110-78. Запрещается использование приборов электротеплоснабжения, не прошедших аттестации органов государственного надзора.

Номинальная мощность одного отопительного прибора не должна превышать 2 кВт. Питание приборов электротеплоснабжения в жилых домах должно осуществляться по независимым от других электроприемников линиям, начиная от квартирных щитков или вводов в здание. В общественных зданиях питание приборов электротеплоснабжения должно, как правило, быть независимым от других электроприемников, начиная от ВРУ. Соединение приборов с линиями питания должно быть неразъемным.

30. Нагревательные приборы должны располагаться на негорючих или трудногорючих основаниях строительных конструкций. Допускается расположение нагревателей на горючем основании при условии установки между нагревателем и основанием подложки из негорючего теплоизолирующего материала (асбест, асбоцемент и т.п.). Отопительные нагревательные приборы следует располагать преимущественно под оконными проемами.

31. Расстояние от приборов электроотопления до горючих материалов должно быть не менее, м:

до древесины

0,12

поливинилхлорида

0,05

полиэтилена

0,07

хлопчатобумажной ткани

0,27

картона

0,25

древесноволокнистой плиты

0,26

пенопласта

0,05

волокна вискозного

0,24.

32. Датчики температуры, используемые в системе регулирования приборов электротеплоснабжения, должны располагаться на негорючем основании на высоте не менее 1,8 м от пола.

33. Расчетные счетчики электрической энергии должны быть установлены в точках балансового разграничения с энергоснабжающей организацией: на ВРУ, ГРЩ или на вводах низшего напряжения силовых трансформаторов ТП, в которых щит низшего напряжения обслуживается эксплуатационным персоналом абонента, на вводах в квартиры жилых домов.

Для потребителей помещений общественного назначения, встроенных в жилые дома или пристроенных к ним, расчетные счетчики следует устанавливать на вводах каждого из них независимо от источника питания - ТП, ВРУ жилого дома или ВРУ одного из потребителей.

34. В общежитиях следует предусматривать централизованный учет расхода электроэнергии счетчиками, устанавливаемыми на вводах в здании.

В общежитиях квартирного типа, кроме общего учета, следует предусматривать счетчики контрольного учета электроэнергии, потребляемой каждой квартирой.

35. Защитное заземление (зануление) в электроустановках жилых и общественных зданий должно соответствовать требованиям глав 1.7, 7.1 ПУЭ, СНиП 3.05.06-85 и ГОСТ Р 50571.10-96, ГОСТ Р 50571.21-2000.

36. В жилых и общественных зданиях защитному заземлению (занулению) подлежат:

- элементы электроустановок в помещениях общего пользования с повышенной опасностью от поражения электрическим током:

- бытовые электрические машины и приборы единичной мощностью свыше 1,3 кВт;

- в горячих и других производственных цехах и холодильных камерах предприятий общественного питания, в помещениях механизированной обработки и транспортировки продуктов, производственных цехах предприятий бытового обслуживания и ПТУ, мастерских школ, машинных отделениях лифтовых установок и других аналогичных помещениях все стационарные и переносные электроприемники класса 1 (не имеющие двойной или усиленной изоляции), стальные трубы и короба электропроводок, металлические корпуса щитов, щитков, шкафов. В указанных помещениях розетки, устанавливаемые в сети напряжением 380 - 220 В для подключения переносных и передвижных электроприемников, должны иметь защитные контакты, присоединяемые к сети заземления (зануления).

37. В жилых и общественных зданиях металлические корпуса ванн и душевых поддонов должны быть соединены металлическими проводниками с трубами водопровода для уравнивания электрических потенциалов (указанные работы предусматриваются в санитарно-технической части проекта).

38. Для заземления (зануления) металлических корпусов бытовых кондиционеров воздуха, стационарных и переносных бытовых приборов класса 1, бытовых электроприборов мощностью свыше 1,3 кВт, корпусов трехфазных и однофазных электроплит, варочных котлов и другого теплового оборудования, а также металлических нетоковедущих частей технологического оборудования помещений с мокрыми процессами следует применять отдельный РЕ проводник сечением, равным фазному, прокладываемый от щита или щитка, к которому подключен данный электроприемник, а в линиях, питающих медицинскую аппаратуру, - от ВРУ или ГРШ здания.

39. Во всех зданиях линии групповой сети, прокладываемые от групповых, этажных и квартирных щитков до светильников общего освещения, штепсельных розеток и стационарных электроприемников, должны выполняться трехпроводными (фазный, нулевой рабочий - Ми нулевой защитный - РЕ проводники).

Не допускается объединение нулевых рабочих и нулевых защитных проводников различных групповых линий.

Нулевой рабочий и нулевой защитный проводники не допускаются подключать на щитках под общий контактный зажим.

Сечение нулевых рабочих (М) проводников однофазных двух- и трехпроводных линий, а также трехфазных четырех- и пятипроводных линий при питании однофазных нагрузок должны быть такими же, как сечение фазных проводников.

Трехфазные четырех- и пятипроводные линий при питании трехфазных симметричных нагрузок должны иметь сечения нулевых рабочих (М) проводников, равные сечению фазных проводников, если фазные проводники имеют сечение до 16 мм по меди и 25 мм по алюминию, а при больших сечениях - не менее 50 % сечения фазных проводников.

Сечение РЕ проводников должно равняться сечению фазных при сечении последних до 16 мм2, 16 мм2 при сечении фазных проводников от 16 до 35 мм2 и 50 % сечения фазных проводников при больших сечениях.

Сечение РЕ проводников, не входящих в состав кабеля, должно быть не менее 2,5 мм2 - при наличии механической защиты и 4 мм2 - при ее отсутствии.

40. Осветительные сети в жилых и общественных зданиях, торговых помещениях, служебно-бытовых помещениях промышленных предприятий должны быть защищены от тока короткого замыкания и тока перегрузки.

41. Во всех помещениях открытые проводящие части светильников общего освещения и стационарных электроприемников (электрических плит, кипятильников, бытовых кондиционеров, электрополотенец и т.п.) должны присоединяться к нулевому защитному (РЕ) проводнику.

42. В помещениях зданий металлические корпуса однофазных переносных электроприборов и настольных средств оргтехники класса 1 по ГОСТ 12.2.007.0-75* «ССБТ. Изделия электротехнические. Общие требования безопасности» должны присоединяться к защитным (РЕ) проводникам трехпроводной групповой линии, (см. п. 39). К защитным проводникам должны присоединяться металлические каркасы перегородок, дверей и рам, используемых для прокладки кабелей.

43. В помещениях без повышенной опасности допускается применение подвесных светильников, не оснащенных зажимами для подключения защитных проводников, при условии, что крюк для их подвески изолирован (см. п. 26). Требование данного пункта не отменяют требование п. 39 и не являются основанием для выполнения электропроводок двухпроводными.

44. Для защиты групповых линий, питающих штепсельные розетки для переносных электрических приборов, рекомендуется предусматривать устройство защитного отключения (УЗО).

45. Если устройство защиты от сверхтока (автоматический выключатель, предохранитель) не обеспечивает время автоматического отключения 0,4 с при номинальном напряжении 220 В из-за низких значений токов короткого замыкания и электроустановка (квартира) не охвачена системой уравнивания потенциалов, установка УЗО является обязательной.

46. Рекомендуется использовать УЗО, представляющий собой единый аппарат с автоматическим выключателем, обеспечивающим защиту от сверхтока.

47. В жилых зданиях не допускается применять УЗО, автоматически отключающее потребителя от сети при исчезновении или недопустимом падении напряжения сети. При этом УЗО должно сохранять работоспособность на время не менее 5 с при снижении напряжения до 50 % номинального.

48. В зданиях могут применяться УЗО типа «А», реагирующие как на переменные, так и на пульсирующие токи повреждений, или «АС», реагирующие только на переменные токи утечки. Источником пульсирующего тока являются, например, стиральные машины с регуляторами скорости, регулируемые источники света, телевизоры, видеомагнитофоны, персональные компьютеры и др.

49. В групповых сетях, питающих штепсельные розетки, следует применять УЗО с номинальным током срабатывания не более 30 мА. Допускается присоединение к одному УЗО нескольких групповых линий через отдельные автоматические выключатели (предохранители). Установка УЗО в линиях, питающих стационарное оборудование и светильники, а также в общих осветительных сетях, как правило, не требуется.

50. В жилых зданиях УЗО рекомендуется устанавливать на квартирных щитках, допускается их установка на этажных щитках.

51. Установка УЗО запрещается для электроприемников, отключение которых может привести к ситуациям, опасным для потребителей (отключение пожарной сигнализации и т.п.)

52. Обязательной является установка УЗО с номинальным током срабатывания не более 30 мА для групповых линий, питающих розеточные сети, находящиеся вне помещений и в помещениях особо опасных и с повышенной опасностью, например в зоне 3 ванных и душевых помещений квартир и номеров гостиниц (см. п. 35).

53. Суммарный ток утечки сети с учетом присоединяемых стационарных и переносных электроприемников в нормальном режиме не должны превосходить 1/3 номинального тока УЗО. При отсутствии данных ток утечки электроприемников следует принимать из расчета 0,4 мА на 1 А тока нагрузки, а ток утечки сети - из расчета 10 мкА на 1 м длины фазного проводника.

54. Если УЗО предназначено для защиты от поражения электрическим током и возгорания или только от возгорания, то оно должно отключать как фазный, так и нулевой рабочий проводники, защита от сверхтока в нулевом рабочем проводнике не требуется.

55. На вводе в здание должна быть выполнена система уравнивания потенциалов путем объединения следующих проводящих частей:

- основной (магистральный) защитный проводник;

- основной (магистральный) заземляющий проводник или основной заземляющий зажим;

- стальные трубы строительных коммуникаций зданий и между зданиями;

- металлические части строительных конструкций, молниезащиты, системы центрального отопления, вентиляции, кондиционирования и другие проводящие части должны быть соединены между собой на вводе в здание. Рекомендуется по ходу передачи электроэнергии выполнить дополнительные системы уравнивания потенциалов.

56. К дополнительной системе уравнивания потенциалов должны быть присоединены все доступные прикосновению открытые проводящие части стационарных электроустановок, сторонние проводящие части, нулевые защитные проводники всего электрооборудования.

57. Для ванных и душевых помещений дополнительная система уравнивания потенциалов является обязательной и должна предусматривать, в том числе, подключение сторонних проводящих частей, выходящих за пределы помещений (см. п. 2). Нагревательные элементы, замоноличенные в пол, должны быть покрыты заземленной металлической сеткой или заземленной металлической оболочкой, присоединенными к системе уравнивания потенциалов. В качестве дополнительной защиты для нагревательных элементов рекомендуется использовать УЗО на ток до 30 мА.

Испытания и проверки

58. Электроустановки жилых и общественных зданий законченные монтажом подвергаются испытаниям и проверкам в соответствии с требованиями ПУЭ, ГОСТ Р 50571.16-99*. «Электроустановки зданий. Часть 6. Испытания. Гл.61. Приемосдаточные испытания».

______________

* Взамен действует ГОСТ Р 50571.16-2007. - Примечание изготовителя базы данных.

2. Объем и содержание рабочего проекта, в общем случае, должны соответствовать требованиям ГОСТ 21.608-84, ГОСТ 21.613-88, ГОСТ 21.611-85.

59. До начала испытания должен быть проведен визуальный осмотр электроустановки, чтобы удостоверится, что все стационарно установленное оборудование и подключенное электрооборудование удовлетворяют требованиям безопасности и соответствующих стандартов на оборудование, правильно выбрано и смонтировано в соответствии с требованиями комплекса стандартов ГОСТ Р 50571 «Электроустановки зданий», не имеют видимых повреждений, которые снижают его безопасность.

60. Визуальный осмотр должен включать следующие проверки:

- мер защиты от поражения электрическим током, включая измерение расстояний, относящихся, например, к защитным ограждениям или оболочкам, барьерам или размещение токоведущих частей вне зоны досягаемости;

- наличие противопожарных уплотнений и других средств, препятствующих распространению огня, а также защиты от тепловых воздействий;

- выбора проводников по длительно допустимому току и потере напряжения;

- выбора устройств защиты и сигнализации и установок их срабатывания;

- наличие правильно расположенных соответствующих отключающих и отделяющих аппаратов;

- выбора оборудования и защитных мер, соответствующих внешним воздействиям;

- маркировки нулевых рабочих и нулевых защитных проводников;

- наличие схем, предупреждающих надписей или другой подобной информации;

- маркировка цепей, предохранителей, клемм и т.п.;

- правильность соединения проводников;

- доступ для удобной работы, идентификации и обслуживания электроустановки.

61. В зависимости от состава используемых мер защиты должны быть выполнены следующие проверки, измерения и испытания в приведенной последовательности:

- испытания непрерывности защитных проводников, включая проводники главной и дополнительной системы уравнения потенциалов;

- измерение сопротивления изоляции электроустановки;

- проверка защиты путем разделения цепей;

- измерение сопротивления изоляции пола и стен;

- проверка защиты, обеспечивающей автоматическое отключение источника питания;

- проверка полярности;

- испытание электрической прочности;

- проверка работоспособности;

62. Испытания на непрерывность защитных проводников, включая главные и дополнительные проводники системы уравнения потенциалов, рекомендуется проводить с использованием источника питания, имеющего напряжение холостого хода от 4 до 24 В постоянного или переменного тока при испытательном токе не менее 0,2 А. Должна быть установлена непрерывность защитных проводников.

63. Сопротивление изоляции должно быть измерено:

- между токоведущими проводниками, относительно друг друга;

- между каждым токоведущим проводником и «землей».

Измерения должны проводиться на постоянном токе. Если в цепи имеются электронные приборы, то должно быть измерено сопротивление изоляции между соединенными вместе фазными и нулевым рабочими проводниками и «землей».

Эта мера предосторожности необходима, так как выполнение испытания без соединения токоведущих проводников может вызвать повреждение электронных приборов.

Значение сопротивления изоляции должны быть не менее значений, приведенных в таблице 3.2.

64. При наличии защиты разделением цепей, разделение одной цепи от другой должно быть проверено измерением сопротивления изоляции. Полученные значения сопротивления изоляции должны соответствовать приведенным в таблице 3.2.

65. Проверка сопротивления изоляции пола и стен производится для изолирующих (непроводящих) помещений, зон, площадок.

Должно быть проведено не менее трех измерений в каждом помещении. Одно измерение должно быть выполнено примерно в 1 м от сторонних проводящих частей, находящихся в этом помещении. Другие два измерения должны быть проведены на большем удалении. Измерения должны быть проведены для каждого помещения, зоны, площадки.

Сопротивление изолирующего пола и стен, измеренное в каждой точке, должно быть не ниже:

- 50 кОм при номинальном напряжении электроустановок не выше 500 В;

- 100 кОм при номинальном напряжении электроустановок выше 500 В.

Методика проведения измерения сопротивления изоляции пола и стен приведена в приложении 10 (Приложение А, ГОСТ Р 50571.16-99*)

______________

* Взамен действует ГОСТ Р 50571.16-2007. - Примечание изготовителя базы данных.

2. Объем и содержание рабочего проекта, в общем случае, должны соответствовать требованиям ГОСТ 21.608-84, ГОСТ 21.613-88, ГОСТ 21.611-85.

Минимальные значения сопротивления изоляции

(извлечение из Таблицы 61А ГОСТ Р 50571.16-99*)

______________

* Взамен действует ГОСТ Р 50571.16-2007. - Примечание изготовителя базы данных.

2. Объем и содержание рабочего проекта, в общем случае, должны соответствовать требованиям ГОСТ 21.608-84, ГОСТ 21.613-88, ГОСТ 21.611-85.

Номинальное напряжение цепи, В

Испытательное напряжение переменного тока, В

Сопротивление изоляции, МОм

Системы БСНН и функционального сверхнизкого напряжения (ФСНН), где сеть питается от безопасного трансформатора, а также выполнены требования:

- вилки не должны входить в штепсельные розетки других напряжений;

- штепсельные розетки не должны допускать включение вилок на другие напряжения;

- штепсельные розетки не должны иметь защитного контакта.

250

≥0,25

До 500 включительно, за исключением сети БСНН и ФСНН

500

≥ 0,5

Свыше 500

1000

≥ 1,0

66. Проверяется защита, обеспечивающая автоматическое отключение источника питания.

Для системы ТМ проверяются сопротивление петли «фаза-нуль» и характеристики защитных устройств (т.е. проверяются токи уставок автоматических выключателей и токи плавких вставок предохранителей, а также испытываются УЗО).

Для системы ТТ проверка производится путем измерения сопротивления заземлителя для открытых проводящих частей электроустановки, осмотром и испытанием УЗО и визуальной проверкой тока уставки автоматических выключателей и токов плавких вставок предохранителей.

Кроме того, в электроустановках, где имеется повторное заземление нулевого провода, например на воздушных линиях электропередачи, измеряется эффективное сопротивление (суммарное сопротивление всех заземлителей, соединенных параллельно) заземления, которое должно быть не менее приведенного в таблице 3.3.

Таблица 3.3

(ПУЭ Гл. 1.7)

Максимально допустимые сопротивления заземляющих устройств электроустановок

Электроустановки

Сопротивление заземляющих устройств, Ом

Примечание

Электроустановки напряжением до 1000 В с глухозаземленной нейтралью

1. Сопротивление заземляющего устройства, к которому присоединены нейтрали трансформаторов или выводы источника однофазного тока, в любое время года при линейном напряжении 660, 380 и 220 В, трехфазного тока или 380, 220 и 127 В однофазного тока, должно быть соответственно не более.

2, 4, 8

Это сопротивление должно быть обеспечено с учетом использования естественных заземлителей, а также повторных заземлителей нулевого провода воздушных линий до 1000 В при количестве отходящих линий не менее двух.

2. Сопротивление заземлителя, расположенного в непосредственной близости от нейтрали трансформатора (генератора) или вывода источника однофазного тока, при линейном напряжении 660, 380 и 220 В трехфазного тока 380, 220 и 127 В однофазного тока, должно быть соответственно не более.

15, 30, 60

3. Общее сопротивление растеканию заземлите лей (в том числе и естественных) всех повторных заземлений нулевого рабочего провода каждой воздушной линии в любое время года при линейном напряжении 660, 380 и 220 В, трехфазного тока или 380, 220 и 127 В однофазного тока, должно быть, соответственно, не более. При этом сопротивление растеканию заземлителя каждого из повторных заземлений должно быть не более 15, 30, 60 Ом. Соответственно при тех же напряжениях.

5, 10, 20

На ВЛ заземление осуществляется нулевым рабочим проводом, проложенным на тех же опорах, что и фазные. На концах воздушных линий (или ответвлений) длиной более 200 м, а также на вводах к электроустановкам, которые подлежат заземлению, должны быть выполнены повторные заземления нулевого рабочего провода. Для этого в первую очередь следует использовать естественные заземлители. Проводники повторного заземления должны быть рассчитаны на ток не менее 25 А.

Электроустановки напряжением до 1000 В с изолированной нейтралью

4. Сопротивление заземляющего устройства, используемого для заземления электрооборудования, должно быть не более.

4

Если мощность питающего трансформатора 100 кВА и менее, заземляющие устройства могут иметь сопротивление не более 100 м.

Электроустановки напряжением выше 1000 В с эффективно заземленной нейтралью

5. Заземляющие устройства, которые выполняются с соблюдением требований ПУЭ к их сопротивлению, должны имеет сопротивление (включая сопротивление естественных заземлителей) в любое время года не более.

0,5

Электроустановки напряжением выше 1000 В с изолированной нейтралью

6. Сопротивление заземляющих устройств при прохождении расчетного тока замыкания на землю в любое время года (с учетом сопротивления естественных заземлителей) должно быть не более:

Должны также выполняться требования, предъявляемые к заземлению электроустановок напряжением до 1000 В, но не более 10 Ом.

- при одновременном использовании для электроустановок напряжением до 1000В;

R = 125/l

- при использовании для электроустановок напряжением выше 1000 В

R = 250/l

Примечания:

1. В пп. 1, 2 и 3 при удельном сопротивлении земли ρ более 100 Ом ∙ м допускается увеличение указанных норм в 0,01р раз, но не более десятикратного.

2. В п. 6: R - наибольшее сопротивление заземляющего устройства, Ом; 1 - расчетный ток замыкания на землю, А.

В приложении 1 в качестве примера приводятся методики испытания УЗО (приложение В ГОСТ Р 50571.16-99*).

______________

* Взамен действует ГОСТ Р 50571.16-2007. - Примечание изготовителя базы данных.

2. Объем и содержание рабочего проекта, в общем случае, должны соответствовать требованиям ГОСТ 21.608-84, ГОСТ 21.613-88, ГОСТ 21.611-85.

67. Проверка полярности производится там, где запрещена установка однополюсных выключающих аппаратов в нулевом рабочем проводнике, проверка полярности должна быть выполнена, чтобы удостовериться, что все такие аппараты включены только в фазный проводник.

68. Испытанием электрической прочности подвергается только электрооборудование, которое изготовлено или модернизировано на месте установки.

69. Проверка работоспособности проводится, чтобы убедиться, что распределительные устройства, щиты управления, приводы, системы и блокировки правильно смонтированы, отрегулированы и установлены в соответствии с требованиями комплекса стандартов ГОСТ Р 50571. Аппараты защиты должны быть подвергнуты проверке на работоспособность, если необходимо проверить, что они правильно установлены и отрегулированы.

70. Электрооборудование жилых и общественных зданий (отдельные электродвигатели, коммутационные аппараты и т.д.) испытываются в объеме и по нормам ПУЭ для соответствующего вида электрооборудования.

71. Осветительные установки опробывают рабочим напряжением на зажигание и горение ламп.

72. Приспособления для крепления многоламповых светильников (люстр) испытываются в объеме и по нормам, указанным в п. 27.

73. По результатам испытаний и проверок составляются протоколы и акты, формы которых приведены в приложениях 2, 3, 4, 5, 6, 7, 8.

74. Требования к протоколам испытаний электроустановок зданий, согласно ГОСТ Р 50571.16-99, приведены в приложении 9 (Приложение С, ГОСТ Р 50571.16-99).

Приложение 1

Проверка работы УЗО

(рекомендации ГОСТ Р 50571.16-99*)

______________

* Взамен действует ГОСТ Р 50571.16-2007. - Примечание изготовителя базы данных.

2. Объем и содержание рабочего проекта, в общем случае, должны соответствовать требованиям ГОСТ 21.608-84, ГОСТ 21.613-88, ГОСТ 21.611-85.

В качестве примеров даны следующие методы

Метод 1

На рисунке 42 показан принцип метода, при котором регулируемое сопротивление присоединяют между фазным проводником на стороне нагрузки и открытой проводящей частью. Ток увеличивают путем уменьшения сопротивления регулируемого резистора Rр.

Ток lΔ, при котором УЗО срабатывает, не должен быть больше номинального тока срабатывания lΔn

Примечание.

Этот метод может быть использован для систем TN-S, ТТ и IT. В системе IT может быть соединение точки схемы с землей при проведении испытания, необходимого для срабатывания УЗО.

Рис. 42. Схема проверки УЗО по методу 1.

Метод 2

На рисунке 43 показан принцип метода, при котором регулируемое сопротивление присоединяют между одним проводником (фазным или нулевым рабочим) на стороне питания и другим проводником (нулевым рабочим или фазным) на стороне нагрузки. Ток увеличивают путем уменьшения сопротивления регулируемого резистора Rp.

Ток lΔ, при котором УЗО срабатывает, не должен быть больше lΔn. Нагрузка во время испытания должна быть отсоединена.

Примечание.

Метод 2 может быть использован для систем TN-S, ТТ и IT.

Рис. 43. Схема проверки УЗО по методу 2.

Метод 3

На рисунке 44 показан принцип метода, использующего вспомогательный электрод. Ток увеличивают путем уменьшения сопротивления регулируемого резистора Rр.

Затем измеряют напряжение U и между открытыми проводящими частями и независимым вспомогательным электродом.

Измеряют также ток lΔ, который не должен быть больше lΔn, при котором УЗО срабатывает.

Должно быть выполнено следующее условие

где UL - предельное нормируемое напряжение прикосновения, В.

Рис. 44. Схема проверки УЗО по методу 3.

Примечания.

1. Метод 3 может быть использован только в том случае, если расположение электроустановки позволяет использовать вспомогательный электрод.

2. Метод 3 может быть использован для систем TN-S, ТТ и IT. В системе IT может быть необходимым при проведении испытаний соединение точки системы с землей для обеспечения срабатывания УЗО.

Приложение 2

Форма 2

___________________________________

(Министерство)

__________________________________

(город)

___________________________________

(трест)

__________________________________

(заказчик)

___________________________________

(монтажное управление)

__________________________________

(объект)

___________________________________

(участок)

__________________________________

«__» _________________ 20__ г.

АКТ
технической готовности электромонтажных работ

Комиссия в составе: представителя строительной организации _________________

__________________________________________________________________________

(должность, фамилия, и., о.)

представителя заказчика

__________________________________________________________________________

(должность, фамилия, и., о.)

представителя электромонтажной организации

__________________________________________________________________________

(должность, фамилия, и., о.)

произвела осмотр смонтированного электрооборудования.

1. Электромонтажной организацией выполнены следующие работы: ____________

__________________________________________________________________________

(перечень, основные технические характеристики, физические объемы)

__________________________________________________________________________

2. Электромонтажные работы выполнены в соответствии с проектом, разработанным

__________________________________________________________________________

(проектная организация)

3. Отступления от проекта перечислены в Приложении 1 к акту.

4. Комиссия проверила техническую документацию (Приложение 2), предъявленную в объеме требований ПУЭ, СНиП 3.05.06-85.

5. Индивидуальные испытания электрооборудования _________________________

__________________________________________________________________________

(проведены/не проведены)

6. Остающиеся недоделки, не препятствующие комплексному опробованию, и сроки их устранения перечислены в Приложении 3.

7. Ведомость смонтированного электрооборудования приведена в Приложении 4.

8. Заключение.

8.1. Электромонтажные работы выполнены по проектной документации согласно требованиям СНиП 3.05.06-85 и ПУЭ.

8.2. Настоящий акт является основанием для:

а) организации работы комиссии о приемке оборудования после индивидуальных испытаний;

б) непосредственной передачи электроустановки заказчику (генподрядчику) в эксплуатацию

Представитель заказчика

_________________________________

(подпись)

Представитель генерального подрядчика

_________________________________

(подпись)

Представитель электромонтажной организации

_________________________________

(подпись)

Сдали*

________________________________

Приняли

_____________________________________

(подпись)

________________________________

(подпись)

______________

* Заполняется в случае, указанном в п. 8.2б настоящего акта.

Приложение 3

Электромонтажная организация

Предприятие ______________________________

Адрес _______________________

Тел. _________________________

Объект ___________________________________

«__» _____________________ 200_ г.

Лист №___________________________________________________________________

АКТ
проверки надежности крепления закладных деталей (крюков) для подвески светильников

Закладные детали крюков для подвешивания светильников массой до 25 кг испытаны пятикратной нагрузкой по отношению к расчетной массе светильников в течение 10 мин.

Повреждений, остаточных деформаций не обнаружено.

Крюки соответствуют требованиям СП 31-110-2003.

Представитель эл.-монтажной организации

_______________________

(подпись)

____________________

(фамилия)

Представитель заказчика

_______________________

(подпись)

____________________

(фамилия)

Приложение 4

Электромонтажная организация

Предприятие ___________________________

Адрес _________________________

_______________________________________

Тел. __________________________

Объект ________________________________

«__» ________________________ 200_ г.

Лист №

_______________________________________

АКТ
проверки осветительной сети на функционирование и правильность монтажаустановочных аппаратов

Комиссия в составе: представителя строительной организации __________________

___________________________________________________________________________

(должность, фамилия, и., о.)

представителя заказчика ___________________________________________________

___________________________________________________________________________

(должность, фамилия, и., о.)

представителя электромонтажной организации _______________________________

___________________________________________________________________________

(должность, фамилия, и., о.)

произвела осмотр смонтированной осветительной сети. В результате установлено:

1. Расключение квартир по фазам в ___ этажных щитках (ЩЭ) и токоприемников в квартирных щитках (ЩК) выполнены согласно проекта __________________________

___________________________________________________________________________

(проект, NN листов)

с равномерной загрузкой фаз и групп.

2. Выключатели установлены в фазных проводах.

3. Подключение розеток и остальных стационарных токоприемников с металлическими корпусами выполнено по 3-х-5 проводной схеме с учетом требований глав 1.7 и 7.1 ПУЭ.

Все розетки, стационарные токоприемники функционируют нормально.

 

Представитель заказчика

______________________

(фамилия)

___________________

(подпись)

Представитель генерального подрядчика

_____________________

(фамилия)

___________________

(подпись)

Представитель электромонтажной организации

_____________________

(фамилия)

___________________

(подпись)

Приложение 5

АКТ
освидетельствования скрытых работ

Представитель эл.-монтажной организации

____________________

(фамилия)

__________________

(подпись)

 

Представитель заказчика

_____________________

(фамилия)

__________________

(подпись)

 

«__» ___________ 200_ г.

 

 

 

 

Комиссия в составе: представителя строительной организации __________________

___________________________________________________________________________

(должность, фамилия, и., о.)

представителя технического надзора заказчика _______________________________

___________________________________________________________________________

(должность, фамилия, и., о.)

___________________________________________________________________________

представителя проектной организации (в случаях осуществления авторского надзора проектной организацией в соответствии с требованиями СП 11-110-99) ______

___________________________________________________________________________

(должность, фамилия, и., о.)

произвела осмотр работ, выполненных

___________________________________________________________________________

(наименование строительно-монтажной организации)

и составила настоящий акт о нижеследующем:

1. К освидетельствованию предъявлены следующие работы _____________________

___________________________________________________________________________

(наименование скрытых работ)

2. Работы выполнены по проектно-сметной документации ______________________

___________________________________________________________________________

(наименование проектной организации,

___________________________________________________________________________

№ чертежей и дата их составления)

3. При выполнении работ применены ________________________________________

___________________________________________________________________________

(наименование материалов, конструкций,

___________________________________________________________________________

изделий со ссылкой на сертификаты или другие документы,

___________________________________________________________________________

подтверждающие качество)

4. При выполнении работ отсутствуют (или допущены) отклонения от проектно-сметной документации ______________________________________________________

___________________________________________________________________________

(при наличии отклонений указывается кем согласованы,

___________________________________________________________________________

№ чертежей и дата согласования)

5. Дата: начала работ _____________________________________________________

окончания работ _________________________________________________________

Решение комиссии

Работы выполнены в соответствии с проектно-сметной документацией, стандартами, строительными нормами и правилами и отвечают требованиям их приемки.

На основании изложенного разрешается производство последующих работ по устройству (монтажу)

__________________________________________________________________________

(наименование работ и конструкций)

 

Представитель строительно-монтажной организации

________________________

(подпись)

Представитель технического надзора заказчика

________________________

(подпись)

Представитель проектной организации

________________________

(подпись)

Приложение 6

Предприятие _____________________

Предприятие ___________________________

Объект ________________________________

ПРОТОКОЛ № _______
измерения сопротивления изоляции проводов и кабелей

Измерение проводилось мегаомметром типа _____ зав. № _____.

№ п/п

Наименование, № фидера или электрической цепи

Рабочее напряжение (В)

Сопротивление изоляции

Результат измерений

L1 - L2

L2 - L3

L1 - L3

L1 - N

L2 - N

L3 - N

L1 - РЕ

L2 - РЕ

L2 - РЕ

N - РЕ

1

2

3

4

5

6

7

8

9

10

11

12

13

14

Примечание: каждый проводник проверялся относительно других заземленных.

Заключение: по результатам электрических измерений сопротивление изоляции кабелей и проводов удовлетворяет требованиям ПУЭ. Кабели и провода пригодны к подаче рабочего напряжения.

Проверку произвели

Руководитель работ:

_________________

_____(________)____

_________________

_____(________)____

________________

(подпись)

_____(________)____

(фамилия)

________________

(подпись)

_____(________)____

(фамилия)

Приложение 7

Предприятие ______________________________

Объект ___________________________________

«__» ___________________ 200_ г.

ПРОТОКОЛ № _____
проверки полного сопротивления петли «фаза-нуль», обеспечения условий срабатывания защиты при однофазном коротком замыкании на корпус эл.-оборудования или нулевой провод прибором типа М-417

№ п/п

Токоприемники

Автомат, выключатель, предохранитель

K

Коэффициент кратности

(Ом)

см. формулу 1*

см. формулу 2*

результат проверки

Монтажн. символ, наименование эл. оборудования, место установки

Место замера

Тип автомата, расцепителя, предохранителя

lуст расц. ток плавк. вставки (А)

1

2

3

4

5

6

7

8

9

10

* Примечание:

Формула 1: lмин к.з.(lуст×K) (А)

Формула 2:  (А)

где 0,85 - понижающий коэффициент, учитывающий снижение фазного напряжения в питающей сети.

Условие надежного отключения: lк.з. > lмин к.з., где:

lк.з. - ток короткого замыкания, определяемый расчетным путем, А.

lмин к.з. - минимально допустимый ток короткого замыкания, А.

lмин к.з. = K×lуст

lуст - номинальный ток плавкой вставки или ток уставки расцепителя автоматического выключателя, А.

K - коэффициент (согласно ПУЭ), зависящий от вида защиты.

Измерения произведены прибором ________ тип ________ зав. № _____.

Заключение: по результатам электрических измерений эл. оборудования эксплуатации пригодно.

Проверку произвели

Руководитель работ:

_________________

_____(________)____

_________________

_____(________)____

________________

(подпись)

_____(________)____

(фамилия)

________________

(подпись)

_____(________)____

(фамилия)

Приложение 8

Предприятие ____________________________

Объект _________________________________

«__» _______________ 200_ г.

ПРОТОКОЛ № ____
проверки петли «фаза-нуль», путем непосредственного замера тока однофазного короткого замыкания на корпус эл.-оборудования (нулевой привод) прибора типа Щ-41160 или ЭК 0200

№ п/п

Токоприемники

Автомат, выключ. предохранители

К

Коэффициент кратности

* см. формулу 1

lкз

Результат

Монтажный символ, наименование эл. оборудования, место установки

Место замера

Тип автомата расцепителя предохран.

lуст расц. ток плавк. вставки

(А)

lкз изм

(А)

lкз изм

(А)

* Примечание:

Формула 1: lминкз(lуст×K) (А)

Условия надежного отключения: где lк.з. р > lмин к.з., где lк.з. р = 0,85lизм расчетный фактический ток КЗ;

lизм - непосредственное показание прибора;

lк.з. р = 0,85[(lизм×220 ÷ (220 - 0,31lизм] - при вводе в цепь «фаза-нуль» дополнительного сопротивления (при токе К.З. > 535 А);

0,85 - понижающий коэффициент, учитывающий снижение фазного напряжения в питающей сети переходное сопротивление в точке КЗ и погрешность прибора

lмин к.з. = lуст×Kн

где lмин к.з. - минимальный допустимый ток КЗ, А;

lуст - номинальный ток плавкой вставки и ток уставки расцепителя автоматического выключателя, А;

Kн - коэффициент кратности.

Измерения произведены прибором ___________тип ________ __ зав. № ___________

Заключение: по результатам электрических измерений эл. оборудование к эксплуатации пригодно.

Проверку произвели

Руководитель работ:

_________________

_____(________)____

_________________

_____(________)____

________________

(подпись)

_____(________)____

(фамилия)

________________

(подпись)

_____(________)____

(фамилия)

Приложение 9

Требования ГОСТ Р 50571.16-99* к содержанию протокола испытаний электроустановки здания

______________

* Взамен действует ГОСТ Р 50571.16-2007. - Примечание изготовителя базы данных.

2. Объем и содержание рабочего проекта, в общем случае, должны соответствовать требованиям ГОСТ 21.608-84, ГОСТ 21.613-88, ГОСТ 21.611-85.

1. Протокол испытаний должен содержать достоверные, объективные и точные результаты испытаний, данные об условиях испытаний и погрешности измерений, заключение о соответствии испытуемой электроустановки здания требованиям нормативных документов и проектной документации и показывать точно, четко и недвусмысленно результаты испытаний и другую относящуюся к ним информацию.

2. Протокол испытаний должен содержать следующие основные сведения:

- наименование и адрес испытательной лаборатории;

- регистрационный номер, дату выдачи и срок действия аттестата аккредитации, наименование аккредитующей организации, выдавшей аттестат (при наличии) или свидетельство о регистрации в органах государственного энергетического надзора;

- номер и дату регистрации протокола испытаний, нумерацию каждой страницы протокола, а также общее количество страниц;

- полное наименование электроустановки и ее элементный состав;

- код ОКП;

- наименование организации или фамилию, имя, отчество заказчика и его адрес;

- дату получения заявки на испытания;

- наименование и адрес монтажной организации;

- сведения о проектной документации, в соответствии с которой смонтирована электроустановка;

- сведения об актах скрытых работ (организация, номер, дата);

- дату проведения испытаний;

- место проведения испытаний;

- климатические условия проведения испытаний (температура, влажность, давление);

- цель испытаний (приемо-сдаточные, для целей сертификации, сличительные, контрольные);

- программу испытаний (объем испытаний в виде перечисления пунктов (разделов) нормативного документа на требования к электроустановке и ее элементному составу).

Примечание. Программа испытаний может быть приведена в приложении к протоколу испытаний;

- нормативный документ, на соответствие требованиям которого проведены испытания (стандарт, правила, нормы и т.п.);

- перечень применяемого испытательного оборудования и средств измерений с указанием наименования и типа испытательного оборудования и средств измерений, диапазона и точности измерений, данных о номере метрологического аттестата или свидетельства и дате последней и очередной аттестации и проверки;

- значения показателей по нормативным документам и допусков при необходимости;

- фактические значения показателей испытанных электроустановок с указанием погрешности измерений при необходимости;

- вывод о соответствии нормативному документу по каждому показателю;

- информация о дополнительном протоколе испытаний, выполненных на условиях субподряда (при его наличии);

- заключение о соответствии (или несоответствии) испытанной электроустановки, ее элементов требованиям стандартов или других нормативных документов;

- подписи должности лиц, ответственных за проведение испытаний и оформление протокола испытаний, включая руководителя испытательной лаборатории;

- печать испытательной лаборатории (или организации);

- указание о недопустимости частичной или полной перепечатки или размножения без разрешения заказчика (или испытательной лаборатории) (на титульном листе).

На титульном листе указывают, что протокол испытаний распространяется только на электроустановку.

3. Исправления и дополнения в тексте протокола после его выпуска не допускаются. При необходимости их оформляют только в виде отдельного документа «Дополнение к протоколу испытаний» (номер, дата) в соответствии с приведенными выше требованиями к протоколу. На конкретные виды испытаний могут оформляться отдельные протоколы, входящие в состав общего протокола испытаний электроустановки здания.

4. В протоколе испытаний не допускается помещать рекомендации и советы по устранению недостатков или совершенствованию испытанных электроустановок.

5. Копии протоколов испытаний подлежат хранению в испытательной организации не менее шести лет.

Приложение 10

Метод измерения сопротивления изоляции пола и стен
(рекомендации ГОСТ Р 50571.16-99*)

______________

* Взамен действует ГОСТ Р 50571.16-2007. - Примечание изготовителя базы данных.

2. Объем и содержание рабочего проекта, в общем случае, должны соответствовать требованиям ГОСТ 21.608-84, ГОСТ 21.613-88, ГОСТ 21.611-85.

В качестве источника постоянного тока используют мегаомметр, обеспечивающий напряжение холостого хода 500 В (или 1000 В, если номинальное напряжение установки превышает 500 В).

Сопротивление измеряют между измерительным электродом и защитным проводником электроустановки.

Измерительные электроды могут быть одного из нижеследующих типов. В случае разногласий рекомендуется использовать электрод 1.

Примечание. Испытания рекомендуется выполнять до нанесения на испытуемые поверхности отделочных покрытий (лак, краски и другие отделочные материалы).

Измерительный электрод 1

Электрод состоит из квадратной металлической пластины со стороной 250 мм и квадратной влажной водопоглощающей бумаги или материи, излишнюю влагу из которой удаляют, со стороной примерно 270 мм, помещаемой между металлической пластиной и измеряемой поверхностью.

Во время измерения пластину прижимают к поверхности пола или стены с усилием приблизительно 750 или 250 Н соответственно.

Измерительный электрод 2

Измерительный электрод представляет собой треножник, ножки которого образуют вершины равностороннего треугольника (рис. 45).

Рис. 45. Испытательный электрод 2

1 - алюминиевая пластина; 2 - винт с шайбой и гайкой; 3 - клемма; 4 - контактная ножка из проводящей резины

Каждая, ножка имеет эластичное основание, обеспечивающее при нагрузке плотный контакт с измеряемой поверхностью площадью приблизительно 900 мм2 и сопротивлением менее 5000 Ом.

Перед измерением поверхность смачивают или покрывают влажной материей. Во время измерений треножник прижимают к поверхности пола или стены с усилием, равным 750 или 250 Н соответственно.

4. МАТЕРИАЛЬНО-ТЕХНИЧЕСКИЕ РЕСУРСЫ

Механизмы, инструменты и приспособления

№ п.п.

Наименование

Тип, марка

Единица измерения

Количество

1.

Нормокомплект

НК-ПИМу

комплект

1

2.

Монтажная площадка

ПМ-600

шт.

2

3.

Подъемное приспособление (консоль, канат, монтажный блок, лебедка)

ЭТГ

шт.

1

4

Автопогрузчик-самосвал

АОО308

шт.

1

5. ОХРАНА ОКРУЖАЮЩЕЙ СРЕДЫ И ПРАВИЛА ТЕХНИКИ БЕЗОПАСНОСТИ

Техника безопасности

5.1. При подготовке болтовых отверстий ВРУ необходимо пользоваться шпильками или специальными ломиками. Проверять совпадение отверстий пальцами не разрешается.

5.2. Установка и крепление подъемного приспособления допускается только в местах указанных в проекте производства работ или по указанию мастера.

5.3. Перед началом механизированных работ ответственный за перемещение грузов обязан объяснить рабочим последовательность выполнения операций и обязанности каждого рабочего; проверить исправность всех механизмов, такелажа, приспособлений, и подмостей, а также напомнить рабочим и машинистам значение подаваемых сигналов.

5.4. Место расположения лебедки и зону подъема груза необходимо оградить. При подъеме груз должен быть предварительно приподнят на высоту не более 200 - 300 мм для проверки правильности строповки и надежности действия тормозов грузовой лебедки.

5.5. Во время работы лебедки запрещается:

а) поправлять канат на роликах и блоках, а трос на барабане лебедки руками;

б) производить во время спуска груза: торможение барабана лебедки при помощи деревянных лаг;

в) стоять рядом с натянутым канатом;

г) производить смазку и чистку.

Правила и инструкции по ТБ

1. Межотраслевые правила по охране труда при эксплуатации электроустановок. ПОТ Р М-016-2001.

2. Межотраслевые правила по охране труда при работе на высоте ПОТ Р М-012-2000.

3. Инструкция по применению и испытанию средств защиты, используемых в электроустановках.

4. Правила устройства электроустановок.

5. Правила устройства и безопасной эксплуатации грузоподъемных кранов. ПБ 10-382-00.

6. Межотраслевые правила по охране труда при погрузочно-разгрузочных работах и размещении грузов ПОТ Р М-007-98.

7. Межотраслевые правила по охране труда при эксплуатации промышленного транспорта ПОТ Р М-008-99.

8. Правила пользования инструментом и приспособлениями, при ремонте и монтаже энергетического оборудования.

Меры, обеспечивающие электробезопасность

Электрические установки и устройства должны быть в полной исправности, для чего в соответствии с правилами эксплуатации их нужно периодически проверять. Нетокопроводящие части, могущие оказаться под напряжением в результате пробоя изоляции, должны быть надежно заземлены.

Запрещается проводить работы или испытания электрического оборудования и аппаратуры, находящихся под напряжением, при отсутствии или неисправности защитных средств, блокировки ограждений или заземляющих цепей. Для местного переносного освещения должны применяться специальные светильники с лампами на напряжение 12 В. Пользоваться неисправным или непроверенным электроинструментом (электросверлилками, паяльниками, сварочным и другими трансформаторами) запрещается. В помещениях с повышенной опасностью поражения электрическим током (сырые, с токопроводящими полами, пыльные) работы должны выполняться с особыми предосторожностями. Большое значение уделяется защитным средствам.

Руководящими материалами по безопасным приемам работы должны служить ПТЭ и ПТБ, а также местные или ведомственные инструкции.

Меры безопасности при производстве слесарных и станочных работ

При работах с молотком и зубилом, при заточке инструмента на наждачном круге нужно пользоваться только исправным инструментом. Запрещается удлинять гаечные ключи, ударять по ключу, а также отвинчивать гайки и болты с помощью зубила и молотка. Зубило должно быть длиной не менее 150 мм и ударная часть его не должна быть разбитой. Заточку инструмента нужно производить в защитных очках.

Ручки молотков, кувалд, напильников, отверток должны быть определенной длины, надежно закреплены, гладко обработаны и сделаны из сухого дерева твердых пород (береза, бук). Гаечные ключи разрешается применять только по размеру гаек и головок болтов; при затягивании гаек и болтов нельзя устанавливать подкладки между гранями ключа и гайки, последняя может вырваться, поранить.

К самостоятельной работе на станках допускаются только квалифицированные рабочие, прошедшие специальный инструктаж. Для обеспечения безопасности все вращающиеся части станка (зубчатые колеса, шкивы) должны быть ограждены специальными щитками, кожухами или сетками. Рукава, работающие должны плотно завязывать у кисти рук во избежание попадания их во вращающиеся части станка. При работе на металлорежущих станках следует пользоваться защитными очками.

При изготовлении обмоток или бандажей надо следить, чтобы пальцы не попали под наматываемую проволоку. Запрещается выравнивать провода на шаблонах обмоточных станков во время работы последних. При установке ротора в центрах станка, бандажировке, балансировке или для того, чтобы срезать лобовую часть обмотки, надо надежно закрепить заднюю бабку станка, с тем, чтобы при вращении ротор не вырвался бы из центров и не упал на ноги работающего.

Меры безопасности на заготовительных участках

На обмоточно-изолировочном участке особое внимание следует обратить на работу с изоляцией, содержащей стекло. При этом есть опасность попадания на кожу мелких частичек стекла, вызывающих сильное раздражение кожи. Во избежание этого провода со стекловолокнистой изоляцией предварительно пропитывают в жидкоразведенном лаке, а затем подсушивают до полувлажного состояния. В таком состоянии провод используют для намотки секций катушек.

Сварку или пайку концов обмоток можно производить только в защитных очках, так как случайные капли припоя могут попасть в глаза.

На пропиточно-сушильных участках уделяется особое внимание работе с лакокрасочными материалами и их растворителями. Они горючи, легко воспламеняются, а пары их взрывоопасны! Хранить эти вещества надо отдельно от остальных материалов в помещениях с надежной вентиляцией и хорошо закрывающимися металлическими дверями. Небольшое количество лакокрасочных материалов можно хранить в запирающемся железном ящике при температуре не ниже +8 и не выше +25 °С. Тара для хранения лаков и красок должна плотно закрываться, иметь маркировку и быть исправной. Открытой тару оставлять нельзя. Освободившуюся тару сразу же сдают на склад.

На рабочих местах легковоспламеняющиеся и горючие материалы могут находиться в количествах однодневного расхода при условии соблюдения пожарной безопасности.

При длительном хранении лаков, эмалей и особенно растворителей пробки бутылей, бачков и крышек банок рекомендуется заливать кабельной массой МБ-70, МБ-90 или же битумом с добавкой 10 % трансформаторного масла.

Запрещается вскрывать тару с лакокрасочными материалами стальными инструментами во избежание искрения и воспламенения!

Некоторые растворители вредно действуют на кожу человека. При работе с ними на руки надевают тонкие резиновые (медицинские) перчатки. Если растворитель попал на кожу, то надо сразу же вымыть руки с мылом.

При погружении изделий в пропиточную ванну не следует допускать их падения во избежание разбрызгивания пропиточного раствора. При закатывании тележки с деталями в сушильную печь тележку надо толкать от себя. Запрещается вести тележку за собой! Включение сушильной камеры разрешается только после плотного закрытия створок камеры. Сушку обмоток индукционным способом разрешается выполнять только двум работающим на огражденных участках с вывешенными предупредительными плакатами. Соединение схемы должно производиться при видимом разрыве контактов рубильника.

В сушильно-пропиточных отделениях все оборудование должно быть выполнено во взрывозащищенном исполнении.

Все работники, имеющие дело с лакокрасочными материалами, должны пройти специальный инструктаж по безопасности труда.

Меры безопасности при такелажных работах

Все операции по перемещению и подъему грузов, начиная с разгрузки в местах складирования и кончая установкой на места монтажа, относятся к такелажным работам. Такелажные работы требуют особой осторожности и выполняются специально подготовленными рабочими-такелажниками, знающими правила обращения с грузами.

Совершенно недопустимо пренебрегать любым требованием правил безопасности, даже малосущественным! Нельзя приступать к такелажным работам в плохо пригнанной, незастегнутой одежде. Она может зацепиться за трос, крючок или выступающие части груза и явиться причиной несчастного случая.

Для предохранения рук от ранений работать нужно в рукавицах. Рабочее место должно быть свободным от каких-либо посторонних предметов и мусора, полы должны быть сухими, чтобы исключить падение работающих. Проходы к грузам нужно освободить.

Размещение оборудования в монтажной зоне должно соответствовать последовательности его поступления к месту установки. Настилы должны быть оборудованы ограждением высотой не менее 1 м. Грузы массой более 20 кг разрешается поднимать только подъемными механизмами. Подъем груза должен производиться только вертикально и в два приема: сначала следует поднять груз на высоту не более 0,5 м, убедиться в надежности его крепления, а затем производить его дальнейший подъем или перемещение. Для подъема грузов широко применяют стальные и пеньковые канаты. Стальные канаты должны быть снабжены паспортом завода-изготовителя, в котором указано разрывное усилие. Канаты должны храниться на барабанах в исправном состоянии. При размотке и намотке канатов не допускается образование петель и спиралей.

Изготовление стропов и сплетка концов каната разрешается только квалифицированным рабочим. Все стропы должны быть снабжены бирками с указанием грузоподъемности, даты испытания и пригодности к работе.

При подъёме электрического оборудования (например, статор машин, обмотки, активная часть трансформатора, щиты или пульты) в целях предохранения его от повреждения стропами применяют специальные приспособления. Эти приспособления исключают надавливание строп на поднимаемое оборудование.

Работами по подъему и перемещению грузов должен руководить рабочий-бригадир. Под поднятым грузом и вблизи него не должно быть людей. Нельзя оставлять на поднимаемом оборудовании инструмент.

При выполнении такелажных работ особое внимание должно быть обращено на исправность строп и подъемных механизмов, к которым относятся: блоки, полиспасты, тали, тельферы, домкраты, лебедки, всякого рода козлы и треноги. Не допускается работа этих механизмов и приспособлений, если они не прошли периодической проверки, не имеют соответствующих паспортов, разрешающих их эксплуатацию, или если они сделаны непрочно, без соответствующего расчета.

Меры безопасности при работе на высоте

Работами, выполняемыми на высоте, называются такие, при которых рабочий находится выше 1 и до 5 м от поверхности грунта, перекрытия или на столе. Работы, выполняемые на высоте более 5 м, называются верхолазными. К таким работам могут быть отнесены работы по ремонту светильников, тросовых проводок, воздушных линий и др. К этим работам допускаются лица не моложе 18 лет и прошедшие специальный медицинский осмотр на годность к работам на высоте или верхолазным.

Работы с использованием лестниц и стремянок, специально приспособленных и имеющих упоры, должны производиться двумя рабочими, один из которых находится на полу и придерживает лестницу. Запрещается работа со случайных предметов, например с ящиков, табуретов, непроверенных или непригодных подмостей. Установка и съем осветительной арматуры, щитов и аппаратов массой более 10 кг выполняется двумя лицами или одним, ею с применением специальных механизмов или приспособлений.

Противопожарные мероприятия

Причинами пожара, как правило, являются: работа с открытым огнем, неисправности электрических устройств и проводок, курение и несоблюдение правил пожарной безопасности.

При работе с паяльной лампой необходимо выполнять следующие требования:

·                резервуар лампы нужно заполнять горючим не более чем 3/4 его емкости;

·                наливную пробку плотно завертывать;

·                не работать с лампой вблизи огня;

·                не разжигать лампу путем подачи горючего на горелку;

·                не перекачивать лампу во избежание взрыва;

·                не снимать горелки до снижения давления;

·                пользоваться только тем горючим, для которого лампа предназначена;

·                не снижать давления воздуха из резервуара лампы через наливную пробку;

·                работать только с исправной лампой.

Все цехи и участки должны быть обеспечены противопожарным инвентарем и огнетушителями. Рабочие должны уметь ими пользоваться. Курить разрешается только в специально отведенных местах. Запрещается стирать спецодежду бензином, ацетоном и другими легковоспламеняющимися жидкостями. Пролитую горючую жидкость следует немедленно убирать. Использованные обтирочные материалы нужно хранить в специальных металлических ящиках с плотно закрывающимися крышками.

В случае возникновения пожара или возгорания принимаются немедленные меры по его ликвидации и одновременно сообщается в пожарную часть.

Первая доврачебная помощь пострадавшим при несчастных случаях

Последовательность оказания первой доврачебной помощи

Первая доврачебная помощь - это комплекс простейших, срочных и целесообразных мер для спасения жизни человека и предупреждения осложнений при несчастном случае. Эти мероприятия проводятся до прибытия медицинского работника или доставки пострадавшего в лечебное учреждение. Первая помощь, оказываемая самим пострадавшим, называется самопомощью (например, самостоятельное наложение повязки при ранении). Первая помощь, оказываемая другими людьми, называется взаимопомощью.

К первой доврачебной помощи, наряду с обработкой ран, относятся: экстренный вызов скорой медицинской помощи, принятие мер по остановке кровотечения и восстановлению работоспособности сердца и легких (реанимация), а также мероприятия по эвакуации пострадавшего из опасной зоны или его транспортировка к месту, доступному для прибытия машины скорой помощи.

Одним из важнейших положений оказания первой доврачебной помощи является ее срочность (чем быстрее она оказана, тем больше надежды на благоприятный исход), поэтому такую помощь может и должен своевременно оказать тот, кто находится рядом с пострадавшим.

При оказании первой доврачебной помощи пострадавшему необходимо:

·                немедленно устранить воздействие на организм повреждающих факторов, угрожающих здоровью и жизни пострадавшего (освободить его от действия электрического тока, вынести из зараженной атмосферы, погасить горящую одежду и т.д.) и оценить состояние пострадавшего;

·                определить характер и тяжесть травмы, наибольшую угрозу для жизни пострадавшего и последовательность мероприятий по его спасению;

·                выполнить необходимые мероприятия по спасению пострадавшего в порядке срочности: восстановить проходимость дыхательных путей, произвести искусственное дыхание, наружный массаж сердца, остановить кровотечение, иммобилизовать (создать неподвижность) место перелома, наложить повязку и т.п.;

·                поддерживать основные жизненные функции пострадавшего до прибытия медицинского работника;

·                вызвать скорую медицинскую помощь (врача) либо принять меры для транспортировки пострадавшего в ближайшее лечебное учреждение.

Освобождение пострадавшего от действия электрического тока

При поражении электрическим током необходимо как можно скорее освободить пострадавшего от действия электрического тока, так как от продолжительности этого действия зависит тяжесть электротравмы.

Прикосновение к токоведущим частям, находящимся под напряжением (пороговой неотпускающий ток при 50 Гц составляет 5 ... 25 мА), вызывает в большинстве случаев непроизвольное судорожное сокращение мышц и общее возбуждение, которое может привести к нарушению и даже полному прекращению деятельности органов дыхания и кровообращения. Если пострадавший держит провод руками, то его пальцы так сильно сжимаются, что высвободить провод из его рук становится невозможным. Поэтому первым действием человека, оказывающего помощь, должно быть немедленное отключение той части электроустановки, которой касается пострадавший. Отключение производится при помощи выключателя, рубильника или другого отключающего аппарата, а также путем снятия или вывертывания предохранителя (пробок), разъема штепсельного соединения.

Рис. 46. Способы освобождения пострадавшего от действия электрического тока

Оказывающий помощь не должен прикасаться к пострадавшему без надлежащих мер предосторожности, так как это опасно для жизни. Он должен следить и за тем, чтобы самому не оказаться в контакте с токоведущей частью и под шаговым напряжением.

Если быстро отключить установку нельзя, то необходимо принять другие меры к освобождению пострадавшего от действия электрического тока (рис. 46).

Для отделения пострадавшего от токоведущих частей или провода напряжением до 1000 В следует воспользоваться веревкой, палкой, доской или каким-либо другим сухим предметом, не проводящим электрический ток. Можно также оттянуть его за одежду (если она сухая и не плотно прилегает к телу), например за полы пиджака или пальто, за воротник, избегая при этом прикосновения к окружающим металлическим предметам и частям тела пострадавшего, не прикрытым одеждой.

Если пострадавший находится на высоте, то отключение установки и тем самым освобождение его от действия электрического тока может вызвать его падение. В этом случае необходимо принять меры, предупреждающие падение пострадавшего или обеспечивающие его безопасность.

После освобождения пострадавшего от действия электрического тока необходимо вынести его из опасной зоны. При этом следует помнить об опасности шагового напряжения, если токоведущий элемент (провод и т.п.) лежит на земле.

Если нельзя быстро отключить линию электропередачи, электроэнергию, а пострадавший касается проводов, то для его освобождения следует соединить провода накоротко, набросив на них изолированный провод.

Первая доврачебная помощь пострадавшим от действия электрического тока

После освобождения пострадавшего от действия электрического тока необходимо оценить его состояние.

Признаки, по которым можно быстро определить состояние пострадавшего, следующее:

сознание - ясное, отсутствует, нарушено (пострадавший заторможен, возбужден);

цвет кожных покровов и видимых слизистых оболочек (губ, глаз) - розовые, синюшные, бледные;

дыхание - нормальное, отсутствует, нарушено (неправильное, поверхностное, хрипящее);

пульс на сонных артериях - хорошо определяется (ритм правильный или неправильный), плохо определяется, отсутствует;

зрачки - узкие, широкие.

Пульс на сонной артерии прощупывают подушечками указательного, среднего и безымянного пальцев, располагая их вдоль шеи и слегка прижимая к позвоночнику. Приемы определения пульса на сонной артерии очень легко отработать на себе или своих близких.

Если у пострадавшего отсутствуют сознание, дыхание, пульс, кожные покровы синюшные, а зрачки широкие (0,5 см в диаметре), можно считать, что он находится в состоянии клинической смерти, и немедленно приступить к его оживлению при помощи искусственного дыхания способом «изо рта в рот» или «изо рта в нос» и непрямого массажа сердца.

Если пострадавший дышит очень редко и судорожно, но у него прощупывается пульс, то необходимо сразу же начать делать искусственное дыхание. Не обязательно, чтобы при проведении искусственного дыхания пострадавший находился в горизонтальном положении.

Приступив к оживлению, следует позаботиться о том, чтобы другой человек вызвал врача или скорую медицинскую помощь.

Если пострадавший в сознании, но до этого был в обмороке или находился в бессознательном состоянии с сохранившимися устойчивым дыханием и пульсом, то нужно уложить его на подстилку; расстегнуть одежду, стесняющую дыхание; создать приток свежего воздуха; согреть тело, если оно холодное; обеспечить прохладу, если жарко; создать полный покой, непрерывно наблюдая за пульсом и дыханием.

Если пострадавший находится в бессознательном состоянии, то необходимо наблюдать за его дыханием. В случае нарушения дыхания из-за западения языка нужно выдвинуть нижнюю челюсть вперед, взявшись пальцами за ее углы, и поддерживать ее в таком положении, пока не прекратится западение языка.

При рвоте следует повернуть голову и плечи пострадавшего налево для удаления рвотных масс.

Ни в коем случае нельзя позволять пострадавшему двигаться, а тем более продолжать работу, так как отсутствие видимых тяжелых повреждений от действия электрического тока или других причин (падения и т.п.) еще не исключает возможности последующего ухудшения его состояния. Только врач может решить вопрос о состоянии здоровья пострадавшего.

Переносить пострадавшего в другое место следует только в тех случаях, когда ему или лицу, оказывающему помощь, продолжает угрожать опасность или оказание помощи на месте невозможно.

Пострадавшим от молнии оказывается та же помощь, что и пострадавшим от действия электрического тока.

Если вызвать врача на место происшествия невозможно, то необходимо обеспечить транспортировку пострадавшего в ближайшее лечебное учреждение. Перевозить пострадавшего можно только при удовлетворительном дыхании и устойчивом пульсе. Если состояние пострадавшего не позволяет его транспортировать, то необходимо продолжать оказывать помощь.

Способы оживления организма при клинической смерти

Оживление организма (реанимация) - восстановление жизненно важных функций организма (прежде всего дыхания и кровообращения). Оживление организма проводят, если отсутствует дыхание и прекратилась сердечная деятельность или обе эти функции угнетены настолько, что не обеспечивают потребности организма.

Основными методами оживления организма являются искусственное дыхание и массаж сердца.

Искусственное дыхание проводится, если пострадавший не дышит или дышит очень плохо (редко, судорожно, как бы со всхлипыванием), а также если его дыхание постоянно ухудшается, независимо от того, чем это вызвано (поражением электрическим током, отравлением и т.д.).

Наиболее эффективным способом искусственного дыхания является способ «изо рта в рот» или «изо рта в нос», так как при этом обеспечивается поступление достаточного объема воздуха в легкие пострадавшего (рис. 47). Воздух, выдыхаемый человеком, оказывающим помощь, насильно подается в дыхательные пути пострадавшего. Установлено, что выдыхаемый человеком воздух физиологически пригоден для поддержания дыхания у пострадавшего в течение длительного времени. Вдувать воздух можно через марлю, платок или специальное приспособление - воздуховод.

Этот способ искусственного дыхания позволяет легко контролировать поступление воздуха в легкие пострадавшего по расширению грудной клетки после вдувания и последующему ее сжатию в результате пассивного выдоха.

Для проведения искусственного дыхания следует уложить пострадавшего на спину и расстегнуть одежду.

Прежде чем начать искусственное дыхание, необходимо в первую очередь обеспечить проходимость верхних дыхательных путей, которые в положении лежа на спине при бессознательном состоянии всегда закрыты запавшим языком. Кроме того, в полости рта могут находиться рвотные массы, которые необходимо удалить пальцем, обернутым платком (тканью) или бинтом. Человек, оказывающий помощь, должен находиться сбоку от пострадавшего. Одну руку он должен подложить под шею пострадавшего, а ладонью другой руки - надавить на его лоб, максимально запрокинув голову. При этом корень языка поднимется и освободит вход в гортань, а рот пострадавшего откроется. Человек, оказывающий помощь, должен наклониться к лицу пострадавшего, сделать глубокий вдох открытым ртом, полностью охватить губами открытый рот пострадавшего и сделать энергичный выдох, с некоторым усилием вдув воздух в его рот. Одновременно он должен закрыть нос пострадавшего щекой или пальцами руки, находящейся на лбу. При этом обязательно следует наблюдать за грудной клеткой пострадавшего. Как только грудная клетка расширится, нагнетание воздуха следует приостановить. У пострадавшего происходит пассивный выдох.

Рис. 47. Проведение искусственного дыхания способом «изо рта в рот» и непрямого массажа сердца

Если у пострадавшего хорошо определяется пульс и необходимо только искусственное дыхание, то интервал между искусственными вдохами должен составлять 5 с (12 дыхательных циклов в минуту).

Кроме расширения грудной клетки хорошим показателем эффективности искусственного дыхания могут служить порозовение кожных покровов и слизистых оболочек у пострадавшего, а также выход его из бессознательного состояния, самостоятельное дыхание.

При проведении искусственного дыхания оказывающий помощь должен следить за тем, чтобы воздух не попадал в желудок пострадавшего. При попадании воздуха в желудок (об этом свидетельствует вздутие живота «под ложечкой») нужно осторожно надавить ладонью на живот между грудиной и пупком. Если при этом может возникнуть рвота, то необходимо повернуть голову и плечи пострадавшего набок, чтобы очистить его рот и глотку.

Если после вдувания воздуха грудная клетка не расширится, то необходимо выдвинуть нижнюю челюсть пострадавшего вперед.

Если челюсти пострадавшего плотно стиснуты и открыть рот не удается, то следует проводить искусственное дыхание способом «изо рта в нос».

При отсутствии самостоятельного дыхания и наличии пульса искусственное дыхание можно выполнять и в положении сидя или стоя, если несчастный случай произошел в люльке, на опоре или на мачте. При этом следует как можно дальше запрокинуть голову пострадавшего назад или выдвинуть вперед нижнюю челюсть. Остальные приемы те же, что и при горизонтальном положении пострадавшего.

Искусственное дыхание прекращают после восстановления у пострадавшего достаточно глубокого и ритмичного самостоятельного дыхания.

В случае отсутствия и дыхания, и пульса на сонной артерии делают подряд два искусственных вдоха и приступают к непрямому массажу сердца (см. рис. 47).

При остановке сердца необходимо, не теряя ни секунды, уложить пострадавшего на ровное жесткое основание (скамью, пол), в крайнем случае можно подложить ему под спину доску (никаких валиков под шею и плечи подкладывать нельзя).

Если помощь оказывает один человек, то он должен, находясь сбоку от пострадавшего, наклониться, сделать два быстрых энергичных вдувания (способом «изо рта в рот» или «изо рта в нос»), затем подняться, ладонь одной руки положить на нижнюю половину грудины (отступив на два пальца выше от ее нижнего края), а пальцы приподнять. Ладонь другой руки нужно положить поверх первой поперек или вдоль и надавить, помогая себе наклоном корпуса. Руки при надавливании должны быть выпрямлены в локтевых суставах.

Надавливать следует быстрыми толчками, так чтобы смещать грудину на 4 ... 5 см. Продолжительность надавливания - не более 0,5 с; интервал между отдельными надавливаниями - 5 с. В паузах руки с грудины не снимать, пальцы должны оставаться прямыми, руки должны быть полностью выпрямлены в локтевых суставах.

Если оживление проводит один человек, то на каждые 2 вдувания он производит 15 надавливаний на грудину. За минуту необходимо сделать не менее 60 надавливаний и 12 вдуваний, поэтому темп реанимационных мероприятий должен быть высоким. Опыт показывает, что наибольшее количество времени теряется при выполнении искусственного дыхания. Нельзя затягивать вдувание: как только грудная клетка пострадавшего расширилась, вдувание прекращают.

При участии в реанимации двух человек соотношение дыхание-массаж составляет 1:5. Во время искусственного вдоха пострадавшего тот, кто делает массаж сердца, надавливание не производит, так как усилия, развиваемые при надавливании, значительно больше, чем при вдувании (надавливание при вдувании приводит к тому, что искусственное дыхание, а, следовательно, и реанимационные мероприятия не дают результата).

Если реанимационные мероприятия проводятся правильно, то кожные покровы розовеют, зрачки сужаются, самостоятельное дыхание восстанавливается. Пульс на сонных артериях во время массажа должен хорошо прощупываться, если его определяет другой человек. После того как восстановится сердечная деятельность и будет хорошо определяться пульс, массаж сердца немедленно прекращают, продолжая искусственной дыхание при слабом дыхании пострадавшего, стараясь, чтобы естественный и искусственный вдохи совпадали. При восстановлении полноценного самостоятельного дыхания искусственное дыхание также прекращают. Если сердечная деятельность или самостоятельное дыхание еще не восстановилось, но реанимационные мероприятия эффективны, то их можно прекратить только при передаче пострадавшего в руки медицинского работника. При неэффективности искусственного дыхания и непрямого массажа сердца (кожные покровы синюшно-фиолетовые, зрачки широкие, пульс на артериях во время массажа не определяется) реанимацию прекращают через 30 мин.

Первая доврачебная помощь при ранении

Ранение - механическое повреждение тканей с нарушением целости кожи и слизистых оболочек. При ранениях обязательно возникают кровотечения, боль и расхождение краев раны. Первая помощь при ранениях заключается в защите раны от загрязнения и временной остановке кровотечения.

Всякая рана может легко загрязнится микробами, находящимися на ранящем предмете, на коже пострадавшего, а также в пыли, земле, на руках человека, оказывающего помощь, в не стерильном перевязочном материале.

При оказании первой доврачебной помощи необходимо строго соблюдать следующие правила:

нельзя промывать рану водой или каким-либо лекарственным веществом, засыпать порошком или смазывать мазями, так как это препятствует ее заживлению, способствует занесению в нее грязи с поверхности кожи и вызывает нагноение;

нельзя удалять из раны песок, землю, камешки, так как удалить таким образом все, что загрязняет рану, невозможно. Следует осторожно очистить кожу вокруг раны по направлению от ее краев наружу, чтобы не загрязнять рану. Очищенный участок вокруг раны перед наложением повязки нужно смазать йодом;

нельзя удалять из раны сгустки крови, инородные тела, так как это может вызвать сильное кровотечение;

нельзя заматывать рану изоляционной лентой или накладывать на рану ткань, так как это может привести к заражению столбняком.

Для остановки кровотечения необходимо (рис. 48):

поднять раненую конечность;

закрыть кровоточащую рану перевязочным материалом (из индивидуального перевязочного пакета), сложенным в комочек, и придавить сверху, не касаясь пальцами самой раны. В таком положении, не отпуская пальцев, держать перевязочный материал в течение 4 ... 5 мин. Если кровотечение остановится, то, не снимая перевязочного материала, поверх него следует наложить еще одну подушечку из другого пакета или кусок ваты и забинтовать раненое место с небольшим нажимом, чтобы не нарушить кровообращение поврежденной конечности. При бинтовании руки или ноги витки бинта должны идти снизу вверх - от пальцев к туловищу;

при сильном кровотечении, если его невозможно остановить давящей повязкой, следует сдавить кровеносные сосуды, питающие раненую область, пальцами, жгутом (закруткой) либо согнуть конечности в суставах. Во всех случаях при сильном кровотечении необходимо срочно вызвать врача и указать ему точное время наложения жгута (закрутки).

На место травмы следует положить холод (резиновый пузырь со льдом, снегом или холодной водой, холодные примочки и т.п.).

Рис. 48. Способы временной остановки кровотечения:

а, б - прижатие пальцем кровоточащего сосуда к кости; в - с помощью носового платка; г - с помощью табельного резинового жгута; д - с помощью ремня

Первая доврачебная помощь при ожогах

По глубине поражения выделяют четыре степени ожогов:

I степень - покраснение кожи и появление отека;

II степень - появление водяных пузырей;

III степень - омертвение поверхностных и глубоких слоев кожи;

IV степень - обугливание кожи, поражение мышц, сухожилий и костей.

Ожоги бывают:

термические - от воздействия огня, пара, горячих предметов и веществ;

химические - от воздействия кислот и щелочей;

электрические - от воздействия электрического тока или вольтовой дуги.

Термические и электрические ожоги. Если на пострадавшем загорелась одежда, то необходимо быстро набросить на него пальто, любую плотную ткань или сбить пламя водой. Нельзя бежать в горящей одежде, так как ветер, раздувая пламя, усилит ожог.

При оказании помощи пострадавшему во избежание заражения нельзя касаться руками обожженных участков кожи или смазывать их мазями, жирами, маслами, вазелином, присыпать питьевой содой, крахмалом и т.п. Нельзя вскрывать пузыри, удалять приставшие к обожженному месту мастику, канифоль или другие смолистые вещества, так как, удаляя их, легко можно содрать обожженную кожу и тем самым создать благоприятные условия для инфицирования раны.

При небольших по площади ожогах I и II степени следует наложить на обожженный участок кожи стерильную повязку.

Одежду и обувь с обожженного места нельзя срывать, их необходимо разрезать ножницами и осторожно снять. Если куски одежды прилипли к обожженному участку тела, то необходимо поверх них наложить стерильную повязку и направить пострадавшего в лечебное учреждение.

При тяжелых и обширных ожогах пострадавшего следует завернуть в чистую простыню или ткань, не раздевая его, укрыть потеплее, напоить теплым чаем и создать покой до прибытия врача.

Обожженное лицо необходимо закрыть стерильной марлей.

При ожогах глаз следует сделать холодные примочки из раствора борной кислоты (половина чайной ложки борной кислоты на 1 стакан воды) и немедленно направить пострадавшего к врачу.

Химические ожоги. При химических ожогах глубина повреждения тканей зависит от длительности воздействия химического вещества. Важно как можно скорее уменьшить концентрацию химического вещества и время его воздействия.

Для этого пораженное место необходимо сразу же промыть большим количеством проточной холодной воды из-под крана, из резинового шланга или ведра в течение 15 ... 20 мин.

Если кислота или щелочь попала на кожу через одежду, то следует ее сначала смыть водой с одежды, потом осторожно разрезать мокрую одежду и снять ее с пострадавшего, после чего промыть кожу.

При попадании на тело человека серной кислоты или щелочи в виде твердого вещества необходимо удалить ее сухой ватой или кусочком ткани, а затем тщательно промыть пораженное место водой.

При химическом ожоге полностью смыть химические вещества водой не удается, поэтому после промывания необходимо обработать пораженное место соответствующими нейтрализующими растворами, используемыми в виде примочек (повязок).

Дальнейшая помощь при химических ожогах оказывается так же, как и при термических.

Первая доврачебная помощь при отморожении

Отморожение - повреждение тканей тела под влиянием холода. Отморожение может произойти не только в морозную погоду, но и при температуре около 0 °С, особенно когда сыро и ветренно. Основная причина повреждения тканей - стойкие изменения кровеносных сосудов, вызванные их длительным спазмом.

Первая доврачебная помощь при отморожении заключается в немедленном согревании пострадавшего, особенно отмороженной части тела, для чего пострадавшего следует как можно быстрее перевести в теплое помещение. Прежде всего, необходимо согреть отмороженную часть тела, восстановить в ней кровообращение.

Наиболее эффективно и безопасно это достигается, если отмороженную конечность поместить в ванну с водой температурой 20 °С. В течение 20 ... 30 мин температуру воды постепенно повышают до 40 °С; при этом конечность тщательно отмывают от загрязнений.

После ванны (согревания) поврежденные участки тела следует высушить (протереть), обмотать стерильной повязкой и тепло укутать.

Нельзя смазывать их жиром и мазями, так как это значительно затруднит последующую обработку.

Отмороженные участки тела нельзя растирать снегом, так как при растирании усиливается охлаждение, а льдинки ранят кожу, что способствует инфицированию (заражению) зоны отморожения.

Нельзя также растирать отмороженные места варежкой, суконкой, носовым платком. Можно производить массаж чистыми руками по направлению от периферии к туловищу.

При отморожении ограниченных участков тела (нос, уши) их можно согреть руками.

Большое значение при оказании первой доврачебной помощи имеют мероприятия по общему согреванию пострадавшего. Быстрейшая транспортировка пострадавшего в медицинское учреждение также является первой помощью.

Первая доврачебная помощь при переломах, вывихах и растяжении связок

При переломе, как открытом (после остановки кровотечения и наложения стерильной повязки), так и закрытом, необходимо провести иммобилизацию (создать неподвижность) поврежденной конечности. Это значительно уменьшит боль и предотвратит дальнейшее смещение костных обломков.

Рис. 49. Способы иммобилизации конечностей при переломах:

а - шинирование нижней конечности; б - прибинтовывание поврежденной нижней конечности к здоровой при отсутствии шины; в - прибинтовывание верхней конечности

Для иммобилизации можно использовать готовую шину, а также палку, доску, линейку, кусок фанеры и т.п. (рис. 49).

При закрытом переломе не следует снимать с пострадавшего одежду, шину нужно накладывать поверх нее.

Для уменьшения боли на место травмы необходимо положить холод (резиновый пузырь со льдом, снегом или холодной водой, холодные примочки и т.п.).

Если не оказалось подручного материала для шины, то можно прибинтовать поврежденную ногу к здоровой, а руку к туловищу. Шину нужно наложить так, чтобы она захватила суставы ниже и выше места перелома кости.

При открытом переломе необходимо обнажить конечность, остановить наружное кровотечение, обработать края раны и наложить на нее стерильную повязку. Касаться раны, вправлять отломки кости, удалять осколки и инородные тела нельзя!

В холодное время суток нужно утеплить пострадавшего, особенно его конечности. Для обезболивания следует положить под язык размельченные таблетки анальгина.

Перелом любого типа требует доставки пострадавшего в больницу. Этому должна предшествовать транспортная иммобилизация, т.е. обездвижение поврежденного участка тела.

Цели транспортной иммобилизации:

создать покой для поврежденной части тела;

обездвижить обломки кости;

исключить вторичные повреждения суставов, нервов, мягких тканей.

Первая доврачебная помощь при обмороке, тепловом и солнечном ударе, отравлениях

При обмороке происходит кратковременная потеря сознания вследствие недостаточного кровоснабжения мозга. Обморок может возникнуть по разным причинам (волнение, испуг, страх, сильная боль, тепловой или солнечный удар). В предобморочном состоянии (жалобы на головокружение, тошноту, стеснение в груди, недостаток воздуха, потемнение в глазах) пострадавшего следует уложить, опустив голову несколько ниже туловища, так как при обмороке происходит внезапный отлив крови от мозга. Необходимо расстегнуть одежду, стесняющую дыхание, обеспечить приток свежего воздуха, дать выпить холодной воды, периодически давать нюхать нашатырный спирт. Класть на голову холодные примочки и лед не следует. Лицо и грудь можно смочить холодной водой. Так же следует поступать, если обморок уже наступил.

При тепловом и солнечном ударе происходит прилив крови к мозгу, в результате чего пострадавший чувствует внезапную слабость, головную боль, появляется рвота, дыхание становится поверхностным.

Пострадавшего необходимо вывести или вынести из жаркого помещения или с солнцепека и поместить в прохладное помещение, в тень, обеспечив приток свежего воздуха. Пострадавшего следует уложить так, чтобы голова была выше туловища. Затем нужно расстегнуть ему одежду, стесняющую дыхание, положить на голову лед или сделать холодные примочки, смочить грудь холодной водой, периодически давать нюхать нашатырный спирт. Если пострадавший в сознании, то нужно дать ему выпить настойку валерианы (15 ... 20 капель на треть стакана воды).

Если дыхание прекратилось или оно очень слабое, а пульс не прощупывается, то необходимо сразу же начать делать искусственное дыхание и массаж сердца и срочно вызвать врача.

При отравлении газами, в том числе угарным газом, ацетиленом, природным газом, парами бензина, появляются головная боль, стук в висках, звон в ушах, общая слабость, головокружение, усиленное сердцебиение, тошнота и рвота. При сильном отравлении наступают сонливость, апатия, безразличие, а при тяжелом отравлении -возбужденное состояние с беспорядочными движениями, потеря или задержка дыхания, расширение зрачков.

При всех отравлениях пострадавшего следует немедленно вывести или вынести из отравленной зоны, расстегнуть одежду, стесняющую дыхание, обеспечить приток свежего воздуха, уложить его, приподнять ноги, укрыть потеплее, периодически давать нюхать нашатырный спирт.

У пострадавшего в бессознательном состоянии может появиться рвота, поэтому необходимо повернуть его голову на бок.

При остановке дыхания следует сразу же начать делать искусственное дыхание.

Пожарная безопасность и средства тушения пожаров

Пожарная профилактика основывается на исключении условий, необходимых для горения, и использовании принципов обеспечения безопасности.

При обеспечении пожарной безопасности решаются четыре задачи:

·                предотвращение пожаров и загорании;

·                локализация возникших пожаров;

·                защита людей и материальных ценностей;

·                тушение пожаров.

Предотвращение образования источников зажигания достигается следующими мероприятиями:

соответствующие исполнение, применение и режим эксплуатации машин и механизмов;

устройство молниезащиты зданий и сооружений;

ликвидация условий для самовозгорания;

регламентация допустимой температуры и энергии искрового разряда и др.

Пожарная защита реализуется следующими мероприятиями:

применение негорючих и трудногорючих веществ и материалов;

ограничение количества горючих веществ;

ограничение распространения пожара;

применение средств пожаротушения;

регламентация пределов огнестойкости;

создание условий для эвакуации людей, а также применение противодымной защиты;

применение пожарной сигнализации и др.

Процесс горения прекращается, если:

очаг горения изолируется от воздуха;

концентрация кислорода снижается до предельного значения (для большинства веществ - до 12 ... 15 %);

горящие вещества охлаждаются ниже температур самовоспламенения, воспламенения;

осуществляется интенсивное ингибирование (торможение скорости химической реакции в пламени).

Вещества, которые способствуют созданию перечисленных выше условий, называются огнетушащими.

К огнетушащим веществам относятся вода, водные растворы, водяной пар, пена, углекислота, инертные газы, сжатый воздух, порошки, песок, земля и т.д.

Инженерно-технические работники и рабочие должны знать правила ведения огневых работ, а также они должны знать, где располагаются:

·                особо пожароопасные участки, места для курения;

·                пожарная сигнализация и телефоны пожарной части;

·                средства тушения пожара и правила пользования ими;

·                места хранения отходов, ветоши и мусора.

Чем быстрее пожарная команда получит извещение о месте пожара и его масштабах, тем больше возможность своевременной ликвидации пожара.

Сигнализации и связь может быть:

·                электрической (разбить стекло и нажать на кнопку);

·                автоматической (тепловые и фотоэлектрические);

·                телефонной (указать место возникновения пожара, сообщить, что горит, а также свою фамилию).

Причины пожаров:

·                небрежное хранение воспламеняющихся материалов;

·                искрение электрического оборудования и электроустановок, короткое замыкание;

·                небрежное обращение с огнем.

При возникновении пожара работники должны:

·                вызвать пожарную команду;

·                сообщить руководству о пожаре;

·                принять меры по спасению людей, имущества и тушению пожара.

Необходимо оценить обстановку, свои возможности и принять правильное решение.

Средства тушения пожаров. К первичным средствам пожаротушения относятся все виды переносных и передвижных огнетушителей, оборудование пожарных кранов, ящики с порошковыми составами (песок, перлит и т.д.), а также огнестойкие ткани (асбестовое полотно, кошма, войлок и т.д.), пожарный щит. Для размещения первичных средств пожаротушения образуют инвентарный пожарный щит.

Огнетушители бывают углекислотные, хладоновые, порошковые.

Рис. 50. Ручной углекислотный огнетушитель ОУ-5 (ОУ-8):

1 - баллон; 2 - поворотный раструб; 3 - запорная головка; 4 - сифонная трубка; 5 - крюк; 6 - чека; 7 - ручка; 8 - хомут; 9 - упор

Углекислотные огнетушители (ОУ-2, ОУ-5 и ОУ-10) (рис. 50) предназначены для тушения возгораний различных веществ и материалов, электроустановок, кабелей и проводов, находящихся под напряжением 1000 В.

Для приведения их в действие нужно сорвать пломбу, выдернуть чеку, повернуть рычаг на себя, направить струю заряда на огонь.

Углекислотный огнетушитель нужно держать в рукавицах, чтобы исключить обморожение рук.

Хладоновые огнетушители (рис. 51) предназначены для тушения возгораний горючих жидкостей и тушения электроустановок, находящихся под напряжением до 400 В.

Рис. 51. Хладоновый огнетушитель ОУБ-ЗА (ОУБ-7А):

1 - пусковой рычаг; 2 - запорная головка; 3 - рукоятка; 4 - крепление; 5 - баллон; 6 - кронштейн; 7 - распыливающее устройство; 8 - предохранительный колпак

Запрещается применять хладоновые огнетушители для тушения щелочных металлов.

Порошковые огнетушители (рис. 52) предназначены для тушения возгорания твердых, жидких и газообразных веществ, а также электроустановок, находящихся под напряжением до 1000 В.

Рис. 52. Ручной порошковый огнетушитель ОП-5:

1 - пистолет; 2 - рычаг; 3 - рукав; 4 - пломба; 5 - сифонная труба; 6 - баллончик; 7 - игла; 8 - корпус; 9 - чека

Для приведения их в действие нужно выдернуть клин или чеку, нажать на рычаг, направить струю порошка на огонь.



© 2013 Ёшкин Кот :-)