Информационная система
«Ёшкин Кот»

XXXecatmenu

ЦЕНТРАЛЬНЫЙ НАУЧНО-ИССЛЕДОВАТЕЛЬСКИЙ
И ПРОЕКТНО-ЭКСПЕРИМЕНТАЛЬНЫЙ
ИНСТИТУТ ПРОМЫШЛЕННЫХ ЗДАНИЙ
И СООРУЖЕНИЙ
(ЦНИИпромзданий) ГОССТРОЯ СССР

РУКОВОДСТВО
по проектированию
очистки воздуха
от пыли в системах
приточной вентиляции
и кондиционирования

2-е издание
переработанное и дополненное


МОСКВА СТРОЙИЗДАТ 1984

Рекомендовано к изданию решением секции по проблемам отопления, вентиляции и кондиционирования воздуха Научно-технического совета ЦНИИпромзданий Госстроя СССР.

Даны классификация и основные технические и экономические показатели фильтров, рекомендации по их выбору и применению в системах приточной вентиляции, кондиционирования воздуха и воздушного отопления, основы проектирования фильтровальных установок и камер, методики оценки приведенных затрат на очистку воздуха.

1-е издание вышло в 1976 г.

Для инженерно-технических работников проектных организаций.

Табл. 28, ил. 30.

ВВЕДЕНИЕ

Необходимость в использовании воздушных фильтров для очистки воздуха, подаваемого в помещения, постоянно увеличивается в связи с повышением требований к чистоте воздуха в помещениях и растущим загрязнением атмосферы. Растет объем производства, увеличивается номенклатура фильтров, выпускаемых промышленностью.

Применение современных фильтров сопряжено с существенными капитальными и эксплуатационными затратами. В связи с этим приобретает важное значение умение проектировщика правильно выбрать фильтр с учетом оптимальной области его применения, оценить на стадии проектирования затраты и учесть особенности эксплуатации.

В Руководстве даны классификация и основные технические и экономические показатели фильтров, рекомендации по их выбору и применению в системах приточной вентиляции, кондиционирования воздуха и воздушного отопления, основы проектирования фильтровальных установок и камер, методика оценки приведенных затрат на очистку воздуха.

Во втором издании руководства отражены изменения, происшедшие в технике очистки воздуха за последние годы. Дополнены вопросы, относящиеся к рециркуляции очищенного воздуха, что является одним из основных средств экономии тепла в системах вентиляции. Пересмотрен раздел, относящийся к оценке экономических показателей систем очистки воздуха. Уточнены показатели дисперсности атмосферной пыли с использованием данных, полученных с помощью наиболее современных приборов - каскадных импакторов. Уточнены показатели оборудования, описанного в приложении с учетом проводившихся заводами и разработчиками модернизаций. Добавлен новый раздел о карманных фильтрах ФяКП.

Руководство разработано ЦНИИпромзданий Госстроя СССР (д-р техн. наук, проф. А.И. Пирумов).

1. ОБЩИЕ ПОЛОЖЕНИЯ

1.1. Очистка воздуха от пыли, подаваемого системами и установками приточной вентиляции и кондиционирования воздуха, производится в целях:

а) уменьшения пылесодержания наружного и рециркуляционного воздуха, подаваемого в вентилируемые помещения, если концентрация пыли в районе расположения здания или вблизи места забора воздуха или запыленность внутреннего воздуха, используемого для рециркуляции, систематически превышает предельно допустимые величины, установленные санитарными нормами;

б) защиты теплообменников, оросительных устройств, приборов автоматики и другого оборудования вентиляционных камер и кондиционеров от запыления, снижающего теплотехнические показатели, увеличивающего сопротивление и т.п.;

в) предохранения внутренней отделки и оборудования вентилируемых помещений от загрязнения отложениями мелкодисперсной пыли, содержащейся в воздухе, подаваемом в помещения;

г) поддержания в производственных помещениях предприятий точного приборостроения, радиоэлектронной, фармацевтической и некоторых других отраслей промышленности заданной в соответствии с технологическими требованиями чистоты воздуха;

д) уменьшения пылесодержания воздуха, подаваемого системами воздушного душирования, системами, подающими воздух в шлемы, маски и щитки, защищающие лица работающих.

Примечание. В случаях, когда запыленность наружного или рециркуляционного воздуха, подаваемого в производственные помещения, не превышает 30 % ПДК в рабочей зоне, воздух не очищается, если необходимость очистки не обуславливается другими требованиями (см. пп. 1.1 б, в, г, д).

1.2. Очистка воздуха всегда сопряжена с существенными затратами: капитальными - на приобретение фильтров и их установку, включая стоимость занимаемой ими полезной площади, и эксплуатационными - на приобретение и замену фильтрующего материала или смачивателей (масла) и пр.

Обслуживание фильтров, особенно масляных, трудоемко и требует специального персонала. С учетом этих обстоятельств необходимость применения воздушных фильтров должна быть обоснована в каждом отдельном случае.

1.3. Для очистки воздуха от пыли применяют пористые воздушные фильтры и электрические воздушные фильтры промывного типа. Пористые фильтры подразделяются на сухие и омоченные. К сухим пористым фильтрам относятся фильтры с заполнением из нетканых волокнистых слоев, губчатые и с гофрированными сетками из полимерных материалов. К смоченным пористым фильтрам относятся фильтры с заполнением из металлических проволочных сеток и пластинок, нетканых волокнистых слоев и с пофрированными сеансами из полимерных материалов. Электрические фильтры промывного типа относятся к сухим фильтрам.

1.4. По своей эффективности воздушные фильтры подразделяются на три класса (табл. 1).

Таблица 1

Класс фильтров

Размер эффективно улавливаемых пылевых частей, мкм

Эффективность очистки наружного воздуха не менее, %

I

Частицы всех размеров

99

II

        »        размером более 1 мкм

85

III

        »        от 10 до 50 мкм

60

Эффективность очистки наружного воздуха, указанная в табл. 1, соответствует запыленности, не превышающей максимальной величины ПДК, установленной санитарными нормами для атмосферного воздуха (0,5 мг/м3). Для ориентировочной оценки влияния начальной запыленности воздуха на эффективность пористых фильтров находят среднюю эффективность Е, по формуле

где E0 - средняя эффективность фильтра при Сп ≈ 1 мг/м3 по методике ЦНИИпромзданий;

Сп - концентрация пыли в воздухе, мг/м3.

Формулой можно пользоваться при запыленности воздуха от 0,15 до 3 мг/м3.

Эффективность электрических фильтров в этих пределах можно считать примерно постоянной.

Виды воздушных фильтров, которые могут применяться для очистки наружного воздуха, подаваемого в помещения, перечислены в табл. 2.

1.5. Аэродинамические характеристики H(L) фильтров, перечисленных в табл. 2 (зависимость начального сопротивления чистого фильтра Н от воздушной нагрузки L) и некоторых изготовляемых промышленностью волокнистых фильтрующих материалов, которые могут быть использованы для очистки воздуха, даны на рис. 2. На рис. 2 приведены пылевые характеристики тех же фильтров. Сплошными линиями показала зависимость H(Gy) сопротивления фильтров от массы уловленной в них пыли Gy, пунктирной - зависимость 100 - E(Gy) эффективности фильтров от Gy.

Полное сопротивление фильтра

H = H(L) + H(Gy).

Примечание. Значения комплексного критерия качества фильтров Kк, учитывающего одновременно эффективность, начальное сопротивление и пылеемкость фильтров, определяется с помощью аэродинамических и пылевых характеристик фильтров, приведенных на рис. 1 и 2 по формуле

где Е - эффективность в долях единицы;

Н - сопротивление фильтра, Па;

Gy - масса уловленной пыли, кг;

n - постоянный угловой коэффициент графика Н(Gy), определяемый по рис. 2.


Таблица 2

Тип

Вид

Класс фильтра по эффективности

критерий качества

Воздушная нагрузка на входное сечение, м3/(ч ∙ м2)

Сопротивление при допустимой воздушной нагрузке, Па

Пылеемкость при достижении указанного конечного сопротивления, г/м3

Средняя начальная запыленность очищаемого воздуха, мг/м3

Способ регенерации фильтров

рекомендуемая

допустимая

начальное

при указанной запыленности

допустимая

предельная

Сухие пористые

Волокнистые сухие

Ячейковые ФяЛ

I

2

6000

7000

100

300

900

0,05

0,15

Смена фильтрующего материала

По каталогам объединения «Союзмединструмент»

Сетчатые сухие

То же, ЛАИК

I

 

 

 

 

 

 

0,01

0,05

Смена фильтра

Карманные ФяКП

II

42

6000

7000

40

300

1400

1

2

Смена фильтрующего материала

Панельные Фр4

III

79

8000

10000

60

300

570

0,10

0,60

То же

Рулонные ФРП

III

-

5000

10000

60

300

1000

4

6

Очистка запыленного материала пневматически

Рулонные ФРПМ

III

-

10000

10000

30

300

-

4

30

То же

Ячейковые ФяВ

III

78

6000

7000

60

150

2400

1

3

Очистка фильтрующего материала промывкой в воде

Губчатые

Ячейковые

III

77

6000

7000

70

150

350

0,3

0,5

То же или пневматически

Смоченные пористые

Волокнистые

Рулонные ФРУ

III

0

8000

10000

60

300

670

0,5

1

Смена фильтрующего материала

Ячейковые ФяУ

III

56

6000

7000

40

150

570

0,3

0,5

То же

Масляные

Самоочищающиеся Кд (КдМ, Кт, КтЦ, ФС)

III

0

6000

7000

100

10

7 - 15*

0,3

0,5

Непрерывная промывка в масле фильтрующих элементов

Ячейковые ФяР

III

69

6000

7000

6

15

2400

1

3

Промывка фильтра в содовом растворе с последующим замасливанием

Ячейковые ФяВ

III

68

6000

7000

60

150

2600

1

3

То же

Двухзональные промывные

Агрегатные ФЭ и тумбочные ЭФ-2 (ФЭ-2М)

II

34

7000

8000

10**

40

1500

1500

2

10

Промывка водой

_____________

* В процентах от массы масла, залитого в ванну фильтра.

** Над чертой дано начальное сопротивление без использования противоуносного фильтра; под чертой - с использованием противоуносного фильтра.


Описание: Описание: Описание: Описание: 1

Рис. 1. Аэродинамические характеристики фильтров и фильтрующих материалов

1 - фильтра ФяР; 2 - фильтра ФяВ; 3 - фильтров ФРУ, ФяУ и фильтрующего материала ФСВУ; 4 - фильтра ФяП; 5 - фильтра ФяЛ; 6 - фильтров ФЭ и ЭФ-2 (с противоуносным фильтром); 7 - фильтра ФяКП; 8 - фильтрующего материала ФРНК; 9 - фильтрующего материала ФНИ; 10 - фильтра Кд (КдМ, КТ, КТЦ); 11 - фильтра ФРП с фильтрующим материалом ФВН; 12 - то же, с капроновой ситовой тканью арт. 25К; 13 - то же, арт. 70

Критерий качества фильтров, сопротивление которых в процессе эксплуатации не изменяется, равен нулю. При возможности выбора между несколькими фильтрами следует отдавать предпочтение фильтру, у которого величина Kк наименьшая.

1.6. При проектировании следует (руководствоваться приведенными техническими показателями отдельных видов фильтров, учитывая особенности их монтажа и эксплуатации1.

_____________

1 Показатели эффективности и пылеемкости фильтров получены в результате испытаний, проведенных в соответствии с «Руководством по испытанию и оценке воздушных фильтров для систем приточной вентиляции и кондиционирования воздуха» (М. Стройиздат, 1979) с максимальным приближением к эксплуатационным условиям.

2. ВЫБОР И РАСЧЕТ ФИЛЬТРОВ

2.1. Выбор фильтров при проектировании должен основываться на соответствии эффективности фильтров требованиям к чистоте воздуха с учетом его начальной запыленности. Одновременно должны приниматься во внимание начальное сопротивление фильтра и изменение сопротивления при его запылении, конструктивные и эксплуатационные особенности фильтров.

Описание: Описание: Описание: Описание: 1

Рис. 2. Пылевые характеристики фильтров и фильтрующих материалов

1, I - фильтра ФяР [при L = 7000 м3/(ч ∙ м2)]; 2, II - фильтра ФяВ [при L = 7000 м3/(ч ∙ м2)]; 3, III - фильтров ФРУ, ФяУ и фильтрующего материала ФСВУ [при L = 7000 м3/(ч ∙ м2)1; 31 - то же при L = 10000 м3/(ч ∙ м2); 4, IV - фильтра ФяП [при L = 7000 м3/(ч ∙ м2)]; 5, V - фильтра ФяЛ [при L = 5400 м3/(ч ∙ м2)]; 6, VI - фильтров ФЭ и ЭФ-2 [с противоуносными фильтрами [при L = 7200 м3/(ч ∙ м2)]; 7, VII - фильтра ФяКП [при L = 7000 м3/(ч ∙ м2)]; 8, IX - фильтра Кд (КдМ, КТ, КТЦ)

2.2. Выбор фильтров по их эффективности рекомендуется производить согласно табл. 1, руководствуясь следующим:

фильтры III класса эффективности применять в случаях, предусмотренных в пп. 1.1 а, б, д;

фильтры II класса эффективности применять в случаях, предусмотренных в пп. 1.1 а, б, в. Для продления сроков использования в случаях надобности их следует устанавливать в качестве II ступени после более пылеемких фильтров класса III;

фильтры I класса эффективности применять в случаях, предусмотренных в п. 1.1 при наличии специального обоснования. В целях рационального использования они должны устанавливаться в качестве последней ступени очистки после фильтров II или III классов.

2.3. Начальное пылесодержание очищаемого наружного воздуха принимается по опытным данным, относящимся непосредственно к проектируемому объекту. При отсутствии таких данных начальное пылесодержание рекомендуется принимать с учетом усредненных показателей запыленности атмосферного воздуха, приведенных в табл. 3 (для районов с аналогичной характеристикой).

Таблица 3

Степень загрязнения атмосферного воздуха

Характеристика местности

Среднесуточная концентрация пыли в атмосферном воздухе, мг/м3

Чистый

Сельские местности и непромышленные поселки

До 0,15

Слабо загрязненный.

Жилые районы промышленных городов

» 0,5

Сильно загрязненный

Индустриальные районы промышленных городов

» 1

Чрезмерно загрязненный

Территории предприятий с большими пылевыми выбросами*

» 3 и более

_____________

* В отдельных случаях концентрация пыли может быть более 3 мг/м3.

Примечание. При выборе фильтров следует учитывать, что концентрации пыли, соответствующие чрезмерно загрязненной атмосфере, превышают значения как допустимой средней запыленности, так и предельные значения, т.е. концентрации, характерные для кратковременных периодов, приведенные в табл. 2. В таких условиях необходимо изыскивать специальные технические решения.

2.4. Распределение дисперсности атмосферной пыли соответствует границе между IV и V группами классификационной номограммы пылей (ГОСТ 12.2.043-80).

Ввиду того, что дисперсность меняется в сравнительно узких пределах, специально учитывать ее при выборе фильтров не следует, за исключением особых случаев, к которым относится очистка воздуха в условиях пыльных бурь или при расположении воздухозаборов на предприятиях с большими и плохо очищаемыми выбросами пыли.

В указанных условиях очистка проектируется по индивидуальной методике на основании данных, относящихся непосредственно к проектируемому объекту.

Дисперсность пыли, взвешенной в воздухе общеобменных систем вентиляции, используемых для рециркуляции, отдельно также не учитывают, потому что, как правило, частицы крупнее 10 мкм успевают выпасть из воздуха в помещениях. Исключение составляют текстильные предприятия, воздух которых содержит сравнительно крупные элементы пуха и волокон.

2.5. При выборе пористых фильтров с учетом начального пылесодержания очищаемого наружного воздуха следует руководствоваться следующими соображениями.

Ячейковые фильтры типа Фя рекомендуется применять главным образом для очистки небольших объемов воздуха и в случаях, когда надлежащая эксплуатация механизированных самоочищающихся иди рулонных фильтров не может быть обеспечена.

При повышенной запыленности воздуха следует применять главным образом механизированные фильтры III класса. При очистке больших объемов воздуха (более 20 тыс. м3/ч) и при запыленности 0,5 мг/м3 и более и при повышенном содержании крупных фракций пыли (10 мкм и более) применяют масляные самоочищающиеся фильтры, если по условиям эксплуатации объекта допускается небольшое замасливание воздуха парами замасливателя и не является совершенно обязательным полное исключение выноса в систему мелкодисперсных капель замасливателя.

При очистке в тех же условиях меньших объемов воздуха (до 20 тыс. м3/ч), в особенности при необходимости исключить только капельный вынос масла, применяют ячейковые масляные фильтры, если этому не препятствует трудоемкость обслуживания этих фильтров. Область применения масляных фильтров может быть расширена использованием нелетучих и непахнущих замасливателей.

При запыленности воздуха, достигающей 0,5 мг/м3, а при наличии технико-экономического обоснования до 1 мг/м3 для очистки больших объемов воздуха могут быть использованы смоченные рулонные волокнистые фильтры, а в случае небольших расходов воздуха - ячейковые фильтры с тем же фильтрующим материалом. Эти фильтры воздух практически не замасливают.

При запыленности менее 0,5 кг/м3 могут применяться указанные выше фильтры, а также все виды сухих фильтров III и II класса эффективности.

При запыленности менее 0,15 мг/м3 могут применяться все указанные выше фильтры, а также фильтры I класса эффективности.

2.6. Электрические фильтры могут применяться во всем диапазоне возможной начальной запыленности воздуха. При увеличении удельной воздушной нагрузки до 10 тыс. м3/(ч ∙ м2) их эффективность снижается до 80 % и электрофильтры могут использоваться в качестве фильтров III класса.

2.7. Все фильтры, перечисленные в табл. 2, могут применяться также для очистки воздуха, рециркулирующего в системах плиточной вентиляции, кондиционирования воздуха и воздушного отопления, а рулонные фильтры типа ФРП и ФРПМ предназначены только для очистки рециркуляционного воздуха от волокнистой пыли при вентиляции текстильных и сходных с ними предприятий.

2.8. Начальное содержание пыли в рециркулирующем воздухе следует принимать равным ПДК пыли, наличие которой в очищаемом воздухе предполагается в соответствии с технологией. Остаточное содержание пыли в воздухе, поступающем в помещения, должно быть не более 30 % указанного ПДК. В целях предотвращения накопления в воздухе мелкодисперсных пылевых частиц для очистки желательно применять фильтры II класса.

2.9. При проектировании воздухоочистных установок с применением масляных самоочищающихся фильтров для очистки наружного воздуха, для предупреждения обмерзания фильтров и замерзания воды, попадающей в ванны фильтров, следует предусматривать подогрев масла.

Примечание. Обмерзание фильтров возможно при резком потеплении, сопровождающемся повышением содержания в воздухе влаги, которая выпадает на более холодных поверхностях фильтров, а также при выпадении осадков в виде инея, измороси и т.п.

Попадание влаги в ванны фильтров возможно в результате конденсации влаги например из рециркуляционного воздуха, либо в результате непосредственного попадания в фильтр осадков в виде дождя или снега.

Для предупреждения заноса в камеру атмосферных осадков следует избегать повышенных скоростей забора наружного воздуха и создавать условия для выпадения осадков из воздушного потока до фильтра.

При подогреве верхний предел температуры масла в ванне должен быть не выше 30 °С.

2.10. Для облегчения эксплуатации масляных самоочищающихся фильтров следует предусматривать их централизованное маслоснабжение и удаление шлама при суммарной пропускной способности установленных фильтров более 200000 м3/ч. При повышенной запыленности воздуха централизованное маслоснабжение следует применять и при меньших объемах очищаемого воздуха.

2.11. При выборе фильтров следует проверять расчетом достаточность их пылеемкости, иначе эксплуатация очистных устройств может усложниться.

Расчет фильтров можно производить в следующей последовательности. Исходя из сопротивления фильтра, которое может быть допущено в проектируемой системе, и аэродинамической характеристики фильтра, выбранного в соответствии с требованиями к эффективности очистки, задаются воздушной нагрузкой и определяют типоразмер фильтра или площадь фильтрующей поверхности. По начальному пылесодержанию и эффективности фильтра определяют количество пыли, улавливаемое фильтром в единицу времени; по пылевой характеристике определяют время работы фильтра, в течение которого будет использован перепад между принятыми начальным и допустимым сопротивлениями ячейковых и электрических фильтров, либо время, через которое должны меняться масло в ваннах самоочищающихся фильтров, катушки рулонных фильтров и т.п.

В случае если это время меньше, чем может быть допущено по условиям эксплуатации и по величине эксплуатационных затрат, нужно уменьшить воздушную нагрузку, применить другой, более пылеемкий тип фильтра либо рассмотреть возможность использования в фильтре большего напора.

Пример 1. Подобрать фильтры для санитарно-гигиенической очистки наружного воздуха, подаваемого в производственные помещения предприятия, расположенного в индустриальном районе промышленного города. Объем подаваемого воздуха L = 6000 м3/ч. Располагаемый напор вентиляционной системы 150 Па. Режим работы двухсменный - 16 ч. Фильтры должны быть регенерируемыми.

Решение. Начальная запыленность воздуха, согласно табл. 3, может быть принята 1 мг/м3.

Требования санитарно-гигиенической очистки, как правило, удовлетворяются фильтрами III класса эффективности. Учитывая небольшой объем очищаемого воздуха, можно применять ячейковые фильтры. Выбираем фильтры ячейковые типа ФяР.

При установке четырех фильтров площадью рабочего сечения 0,22 м2 каждый удельная воздушная нагрузка составит

6000/0,22 ∙ 4 = 6818 м3/(ч ∙ м2),

начальное сопротивление при этом H(L) = 40 Па (см. рис. 1). Эффективность фильтров можно принять для заданной запыленности воздуха в среднем равной E = 82 % (см. рис. 2).

Расчетная пылеемкость фильтров при увеличении сопротивления на 110 Па против начального (Н = 150 - 40 = 110 Па) определяется по рис. 2 и составляет 2420 г/м2.

Количество оседающей пыли на 1 м2 фильтра ФяР в сутки, составит: 0,001 ∙ 6818 ∙ 0,82 ∙ 16 = 89,5 г/сут.

Продолжительность работы фильтра по достижении заданного сопротивления равна: 2420/89,5 = 27,5 сут.

Таким образом, регенерация фильтра должна производиться через 27 дней.

При выборе фильтров необходимо рассчитать затраты на смену фильтрующего материала с тем, чтобы эксплуатационные расходы были приемлемы для проектируемого предприятия.

Пример 2. Подобрать фильтры для санитарно-гигиенической очистки наружного воздуха, подаваемого в производственные помещения предприятия, расположенного в индустриальном районе промышленного города. Объем подаваемого воздуха 200000 м3/ч, располагаемое давление вентиляционной системы 150 Па. Режим работы односменный - 8 ч.

Решение. Начальная запыленность воздуха для расчета принимается, согласно табл. 3, равной 1 мг/м3.

Требования санитарно-гигиенической очистки и в этом случае удовлетворяются фильтрами III класса эффективности. Учитывая большой объем очищаемого воздуха, целесообразно использовать механизированные фильтры.

Вариант 1. Рассмотрим сначала возможность применения рулонных фильтров типа ФРУ.

При установке двух фильтров Ф12РУ площадью сечения около 12 м2 каждый удельная воздушная нагрузка составит

200000/2 ∙ 12 = 8300 м3/(ч ∙ м2),

начальное сопротивление при этом 50 Па (см. рис. 1).

Эффективность фильтров Е можно принять равной 85 %.

Количество отлагающейся пыли на 1 м2 фильтрующего материала за 1 день работы составит 0,001 ∙ 8300 ∙ 0,85 = 56,4 г/м2.

Расчетная пылеемкость материала при увеличении сопротивления от 50 до 150 Па составляет 370 г/м2.

Продолжительность работы фильтра по достижении проектного сопротивления равна

370/56,4 = 6,6 сут.

Таким образом, перемотка фильтрующего материала производится примерно через каждые шесть дней. Расход материала при высоте рабочего сечения трехсекционных фильтров Ф12РУ около 5 м составит в сутки 5 ∙ 3 ∙ 1,02 ∙ 2/6,6 = 4,6 м и в год 4,6 ∙ 300 = 1380 м, или около 72 рулонов материала.

Затраты на приобретение фильтрующего материала ФСВУ при стоимости 1 р. 25 к. за 1 м2 составят 1380 ∙ 1,25 = 1725 руб.

Если располагаемый напор вентиляционной системы позволяет повысить расчетное конечное сопротивление фильтра, например, до 300 Па, то в соответствии с рис. 2 пылеемкость увеличится до 700 г/м2, а продолжительность работы фильтра до замены фильтрующего материала составит: 700/56,4 = 12,5 сут.

Соответственно расход материала уменьшится до 725 м, а затраты на его приобретение снизятся до 910 руб.

Примечание. Высокие затраты обусловлены значительной запыленностью воздуха. Некоторое снижение затрат может быть достигнуто за счет уменьшения удельной воздушной нагрузки путем установки трех фильтров той же пропускной способности.

Вариант 2. Рассмотрим вариант применения сухих волокнистых трехсекционных фильтров ФР-4 (индекс 2021110).

Удельная воздушная нагрузка с учетом складчатого расположения фильтрующего материала составит: 1870 м3/(ч ∙ м2) (см. ниже табл. 26).

Количество пыли, отлагающейся на 1 м2 фильтрующего материала за 1 день, составит 0,001 ∙ 1870 ∙ 0,85 = 13 г/м2, или на 1 м2 входного сечения 13 ∙ 4 = 52 г/м2.

Расчетная пылеемкость материала при увеличении сопротивления от 60 до 150 Па составляет 230 г на 1 м2 фильтрующей поверхности, или 920 г на 1 м2 входного сечения фильтра.

Продолжительность работы фильтра до достижения проектного сопротивления равна: 230/13 = 17,7 дня.

Затраты на приобретение фильтрующего материала ФРНК при его стоимости 4,7 руб. за 1 м2 составят 8531 руб.

При повышении конечного сопротивления до 300 Па расчетная пылеемкость увеличится до 500 г на 1 м2 фильтрующего материала*.

_____________

* По данным ВНИИКондиционер, пылеемкость материала ФРНК значительно больше (1000 г/м2). Это объясняется особенностями методики, применяемой этим институтом, значительно большей крупностью пыли, используемой для запыления фильтров, и ее концентрации (до 30 мг/м3).

Пылеемкость материала ФСВУ, по данным ВНИИКондиционер, также превышает примерно вдвое показатели ЦНИИпромзданий. Поскольку методика ВНИИКондиционер не соответствует условиям эксплуатации фильтров, в данном расчете приняты технические показатели, определенные ЦНИИпромзданий.

Продолжительность работы фильтра до замены материала составит в этом случае 500/13 = 38,4 дня, годовой расход материала уменьшится до 836 м2, и затраты на его приобретение составят 3930 руб. в год.

Рассмотренный пример свидетельствует о том, что применять фильтры ФР-4 можно только при очень небольшой запыленности очищаемого воздуха.

Вариант 3. Рассмотрим вариант применения масляных самоочищающихся фильтров (если это не исключается заданием на проектирование).

Примем удельную воздушную нагрузку, соответствующую случаю установки двух фильтров КтЦ номинальной производительностью 120000 м3/ч с площадью рабочего сечения каждого 12,62 м2, равную 200000/2 ∙ 12,62 = 7923 м3/(ч ∙ м2).

Эффективность фильтров можно принять Е = 60 %. Количество пыли, отлагающейся на фильтрующих панелях каждого фильтра в день, составит 0,001 ∙ 0,65 ∙ 100000 ∙ 8 = 480 г.

Вся уловленная пыль смывается в ванну фильтра. При емкости ванны фильтров 585 л и удельном весе масла в среднем 0,9 г/м3 ее максимальная пылеемкость, равная 15 % веса масла, будет исчерпана за время 585 ∙ 0,9 ∙ 0,15/0,78 = 164 сут.

По прошествии этого времени масло должно быть заменено. Использование механизма шламоудаления фильтров КтЦ позволяет удлинить этот срок, однако вместе со шламом теряется масло в количестве примерно 50 % веса пыли, т.е. около 800 кг в год на один фильтр.

При централизованном шламоудалении с перекачкой загрязненного масла по трубам содержание механических примесей не должно превышать 7 %. При этом масло должно регенерироваться каждые 60 сут. Максимальная продолжительность использования нефтяных масел с регенерацией путем отстоя и фильтрации примерно 2 года.

При использовании нефтяных масел (висциновое, индустриальное и т.п.) замасливание воздуха может составлять летом 0,2 мг/м3, а в среднем за год 0,02 мг/м3. Учитывая, что испарение масла происходит непрерывно, можно принять, что потеря масла за сутки при этом составит 0,0002 ∙ 200000 ∙ 24 = 960 г или за один год около 300 кг. При стоимости этих сортов масла примерно 150 руб. за 1 т годовые затраты на расходуемое масло составят, руб.:

при одноразовом использовании масла с последующим его сливом и уничтожением

при механическом удалении шлама с периодическим добавлением масла

при регенерации масла путем отстоя и фильтрации1

(2 ∙ 585 ∙ 0,5 + 300)0,15 = 124.

_____________

1 В данном случае необходимо принимать во внимание затраты на регенерационные устройства и уменьшение трудозатрат по эксплуатации фильтров.

Применяя вместо нефтяных масел полиметилсилоксановые жидкости ПМС-200, которые практически не испаряются, можно избавиться от замасливания воздуха и соответственно от потерь замасливателя на испарение. В этом случае затраты определяются только амортизацией кремнийорганической жидкости (примерно 10 % в год при обеспечении очистки от взвешенных частиц). При стоимости полиметилсилоксановой жидкости около 14 руб. за 1 кг годовые затраты составят ориентировочно 2 ∙ 585 ∙ 0,9 ∙ 14 ∙ 0,1 = 1474 руб.

При использовании водно-глицеринового раствора с его постоянной регенерацией следует учитывать, что глицерин также практически не испаряется. Продолжительность использования глицерина 2 года.

При стоимости глицерина 1-го сорта (плотность 1,18 г/см3) 950 руб. за тонну и при содержании глицерина в растворе 70 % годовые затраты составят с учетом замены 50 % глицерина 2 ∙ 560 ∙ 1,18 ∙ 0,95 ∙ 0,7 ∙ 0,5 = 433 руб.

Вариант 4. Рассмотрим применение электрофильтров типа ФЭ, эффективность которых несколько выше.

Примем к установке два фильтра Ф14Э6 номинальной производительностью 100000 м3/ч каждый, укомплектованные противоуносными стекловолокнистыми фильтрами.

Площадь рабочего сечения каждого фильтра 14 м2. Удельная воздушная нагрузка составит 200000/2 ∙ 14 = 7200 м3/(ч ∙ м2).

Начальное сопротивление фильтра 20 Па, эффективность 92 % (см. рис. 1). Количество пыли, оседающей за сутки, составит на 1 м2 входного сечения фильтра 0,001 ∙ 7200 ∙ 0,92 ∙ 8 = 53 г.

Расчетная пылеемкость фильтра при увеличении сопротивления от 40 до 150 Па составляет около 1700 г. Продолжительность работы фильтра до достижения проектного сопротивления равна 1700/53 = 32 дн.

Таким образом, противоуносный фильтр должен меняться примерно 1 раз в месяц. Одновременно должен промываться электрофильтр. Расход фильтрующего материала на одну замену составляет 1 ∙ 14 = 14 м2 и в год 14 ∙ 2 ∙ 12 = 336 м2.

Затраты на приобретение материала составляют 336 ∙ 1,25 = 420 руб.

Стоимость воды, расходуемой на промывку фильтров, а также очень небольшие затраты электроэнергии в расчете не учитываются.

Дальнейшее снижение затрат на очистку воздуха в электрофильтрах может быть достигнуто за счет некоторого уменьшения эффективности очистки, если отказаться от установки противоуносных фильтров.

Для ориентировочных расчетов можно принять, что при накоплении пыли в количестве 1500 г/м2 эффективность очистки (без противоуносного фильтра) снижается до 70 %, а средняя эффективность очистки за весь период работы составляет примерно 80 %.

3. КОНСТРУИРОВАНИЕ КАМЕР И УСТАНОВОК ДЛЯ ОЧИСТКИ ВОЗДУХА

3.1. Надлежащее конструирование фильтровальных камер является необходимым условием эффективной и надежной работы фильтров.

3.2. В вентиляционных системах и кондиционерах фильтры III класса следует устанавливать перед калориферами. При этом необходимо принимать меры для предупреждения попадания атмосферных осадков в воздухозаборные отверстия либо создавать условия для их выпадания из потока в подводящих каналах до фильтров.

Фильтры I класса по возможности располагают вблизи места выпуска очищенного воздуха в помещение, чтобы предупредить загрязнение очищенного воздуха в каналах. Фильтры II класса, если они не являются единственной ступенью очистки, также приближают к местам раздачи воздуха.

3.3. Фильтры, а также используемые в них материалы (замасливатели, волокнистые слои и т.п.) должны сохранять работоспособность при самых высоких и самых низких температурах очищаемого воздуха (параметр В).

3.4. При смешении холодного и теплого рециркуляционного воздуха в смесительных камерах, располагаемых обычно перед фильтрами, может происходить конденсация влаги, содержащейся в воздухе. Необходимо предусматривать ее отвод и предупреждать обмерзание фильтрующих поверхностей.

3.5. Вентиляторные агрегаты приточных камер и кондиционеров, в которых применяются фильтры с изменяющимся по мере накопления пыли сопротивлением, должны обеспечивать подачу воздуха, близкую к расчетной как при чистых, так и при запыленных фильтрах, для чего желательно применять вентиляторы с круто падающими характеристиками либо с регулируемым числом оборотов. Необходимо проверять расчетом действительную величину подачи воздуха системой при принятом сопротивлении загрязненных фильтров.

3.6. Особое внимание следует обращать на организацию упорядоченного подтекания воздуха к фильтрующим элементам. В установках с ячейковыми фильтрами всех видов и с сухими фильтрами неравномерность скоростей вызывает увеличение сопротивления в связи с растеканием воздуха по фильтрующей поверхности. При неравномерном распределении скоростей в электрофильтрах в зонах с повышенными скоростями частицы либо не успевают зарядиться и осесть на осадительных электродах, либо срываются с них ускоренными воздушными течениями. Эффективность фильтров при этом снижается.

В случаях использования масляных самоочищающихся фильтров неудовлетворительная организация течения воздуха через камеру способствует выносу масла из фильтра. При этом мелкие капли масляного аэрозоля уносятся в систему, загрязняя по пути каналы, калориферы и другое оборудование вентиляционных систем. Масло, попавшее в горячие калориферы, испаряется и частично возгоняется, сообщая воздуху неприятный запах. Особенно важно не допускать образования зоны повышенных скоростей в нижней части сечения фильтра. На поверхности элементов фильтрующих панелей, находящихся в этой части, имеется избыточное масло, не успевшее стечь. Появившиеся на них толстые масляные пленки легко срываются воздухом, образуя большое количество масляных капель.

3.7. Неравномерность поля скоростей воздуха перед фильтрами, как правило, бывает обусловлена условиями подвода воздуха к камерам и кондиционерам.

Скорость фильтрации в фильтрах не должна превышать 2 - 2,5 м/с, в то время как в каналах, подводящих воздух к фильтрам, скорость может быть равна 10 - 12 м/с и более. Струя воздуха, втекающего в камеру, не успевает надлежащим образом расшириться на коротком пути до фильтра, отдельные участки которого оказываются подверженными воздействию больших скоростей.

Для выравнивания потока в него следует вводить сопротивление, рассредоточенное по всему сечению в виде решеток, выполненных из перфорированных листов, сеток и других элементов.

3.8. При проектировании выпрямляющих устройств следует учитывать, что фильтр, так же как решетка, является сопротивлением, рассредоточенным по сечению потока, который выравнивается фильтром.

В однослойных фильтрах, например волокнистых, это выравнивание происходит сразу, поэтому они малочувствительны к неравномерности скоростей. В многослойных фильтрах выравнивание происходит постепенно от слоя к слою. Так, например, в фильтрах типа Кд (КдМ, КТ, КтЦ) воздух проходит через четыре сетчатые панели. Последнюю из них обтекает воздух, распределение скоростей в котором выравнялось под влиянием первых трех сеток, однако первая сетка полностью воспринимает влияние сосредоточенной струи.

В электрофильтрах выравнивание потока происходят перед противоуносным пористым слоем. В то же время распределение скоростей в осадительной зоне, сопротивление которой очень мало, остается неравномерным.

Описание: Описание: Описание: Описание: 1

Рис. 3. Схема течения воздуха через камеру при подводе и отводе воздуха в осевом направлении

3.9. Картина течения воздуха в камере фильтра с подводом и отводом воздуха в осевом направлении схематически показано на рис. 3. Пунктирными линиями показаны границы активной струи при отсутствии решетки, а сплошными - после установки надлежащим образом подобранной решетки.

Чем больше сопротивление решетки, там меньше разница между скоростью воздуха в живом сечении ее отдельных участков, потому что сопротивление пропорционально квадрату скорости, а в отверстиях плотных решеток последняя достигает больших величин.

При набегании на решетку струя растекается по ней в радиальных направлениях. В тонких решетках, обычно применяемых на практике, радиальные составляющие скорости не гасятся, вследствие чего перетекание от центра к периферии сохраняется и за решеткой. В решетках с большим сопротивлением такое перетекание проявляется особенно сильно, причем может возникнуть «перевернутый» профиль скоростей; весь поток устремляется к стенкам камеры, а в центральной части создаются обратные течения.

Возникающая таким образом вторичная неравномерность потока также нежелательна. Для удовлетворительного выравнивания потока с помощью плоских решеток их следует конструировать так, чтобы коэффициент местного сопротивления решеток был равен величине, определяемой по формуле И.Е. Идельчика1:

 

где Fф - площадь рабочего (входного) сечения фильтра, м2; Fк - площадь сечения подводящего канала, м2; ΔН0 - сопротивление решеток, Па; ω - скорость воздуха в полном сечении решетки, м/с; ρ - плотность воздуха, кг/м3.

_____________

1 Имеется в виду, что поток в подводящем канале выровнен. При наличии вблизи входного отверстия поворотов, клапанов и других местных сопротивлений необходимо вводить в формулу коэффициент кинетической энергии.

При значениях ξ меньше вычислительных, величин скорости в осевой части потока останутся большими; при больших значениях может возникать перетекание к периферии.

Формула применима для отношения площадей ≤ 10.

При больших величинах этого соотношения следует устанавливать несколько решеток. В этом случае растекание потока по каждой из решеток будет происходить менее интенсивно, а в пространстве между решетками радиальные составляющие потока затухают. В пределах значений  можно принимать для установки две, а при  - три решетки.

Требуемый коэффициент сопротивления отдельной решетки системы при одинаковой конструкции определяется формулой

где n - число решеток.

Расстояние между решетками должно быть достаточно велико, чтобы успело произойти выравнивание потока. Рекомендуется расстояние l принимать не меньше 0,1 наибольшего размера решетки Вр.

Степень выравнивания потока зависит в известной мере от расположения подводящего отверстия относительно фильтра. Следует стремиться к центральному втеканию струи в камеру.

Расстояние от первой решетки до подводящего отверстия должно быть не меньше диаметра или ширины подводящего отверстия. Расстояние между решеткой и фильтром должно выбираться с таким расчетом, чтобы монтаж и обслуживание фильтров не были затруднены. В больших фильтровальных установках, как правило, это расстояние не должно быть меньше 1,2 - 2 м.

Достаточное внимание должно уделяться также расположению всасывающего отверстия для отвода воздуха от фильтра. Распределение скоростей в пространстве вблизи всасывающих отверстий определяется спектром всасывания. На рис. 3 показаны линии тока, а также несколько линий равных скоростей, перпендикулярных линиям тока. Их расположение дано в координатной сетке, где расстояния указаны в долях. Соответственно и скорости приведены в долях средней скорости в сечение Д0. В таком представлении спектр скоростей остаётся неизменным для герметически подобных всасывающих отверстий.

Скорости в спектре всасывания с удалением от всасывающего отверстия быстро затухают. Для всасывающих отверстий, устроенных, как показано (см. рис. 3), скорость на расстоянии, равном примерно одному диаметру всасывающего отверстия, составляет около 10 % средней скорости в сечении всасывающего отверстия.

Если такая поверхность касается выходного сечения фильтра, то при средней скорости выхода выровненного потока из фильтра 3 м/с и при средней скорости во всасывающем сечении, например 20 м/с, в результате снижения скоростей накладывающихся потоком скорость в точке касания может составить 5 м/с. Аналогичное явление подсасывания произойдет на смежных участках и эпюра скоростей примет ту же структуру, для предупреждения образования которой устанавливались решетки. В результате взаимодействия струи и спектра всасывания может возникнуть струйное перетекание через фильтр от входного отверстия к выходному, как это показано на рисунке (штрихпунктирной линией). С учетом этого обстоятельства рекомендуется принимать расстояние до всасывающего отверстия не меньше 1,5 - 2Д0.

Пример 4. Рассчитать выпрямляющую решетку из тонкого стального листа для камеры, в которой установлен фильтр Ф12РУ. Воздух к камере подводится по каналу сечением 12×2,25 м.

Решение. По приложению (стр. 40) площадь фильтра равна 3,07×5,09 = 15,6 м.

Коэффициент сопротивления решетки должен быть равен:

Решетку выбираем по данным, приведенным И.Е. Идельчиком в Справочнике по гидравлическим сопротивлениям. Принимаем диаметр d0 отверстий решетки 0,03 м; по диаграмме 8-1 определяем, что коэффициент местного сопротивления близок к требуемому (11,6) при живом сечении f перфорированного листа, равном 0,36.

Количество отверстий на одном м2 решетки равно:

Расстояние между отверстиями, м, равно:

Описание: Описание: Описание: Описание: 1

Рис. 4. Схема течения воздуха через камеру при боковом подводе и отводе воздуха

3.10. Картина течения воздуха в камере фильтра с боковым подводом и отводом воздуха (сверху и снизу) показана на рис. 4.

В данном случае поток отжимается к стенке, противоположной входу воздуха (на рисунке это показано пунктирной линией). Введение решетки позволяет выпрямить поток. Необходимо учитывать, что здесь будет происходить растекание воздуха по решетке в направлении к стенке, на которой расположено входное отверстие. При слишком большом сопротивлении решетки у этой стенки возникает зона повышенных скоростей и эпюра будет вновь неравномерной.

Расстояние от решетки до ближайшего края входного отверстия должно быть не меньше 0,1Бр.

Отвод очищенного воздуха из камеры такого рода обычно производят через всасывающее отверстие, расположенное вплотную к торцевой стенке камеры. При этом спектр всасывания изменяется, так как одно из направлений подтекания воздуха преграждается. Зона всасывания в других направлениях соответственно удлиняется, и для предупреждения вредного влияния спектра всасывания на фильтр расстояние между ними и отверстием должно быть увеличено.

На рис. 4 в целях экономии площади всасывающее отверстие c помощью переходного элемента вытянуто вдоль торцевой стены. При этом площадь его сечения может быть увеличена для уменьшения скорости входа воздуха. Закономерности образования спектра и относительные расстояния остаются теми же, однако абсолютные расстояния уменьшаются пропорционально уменьшенной ширине всасывающего отверстия.

Суммарное расстояние от фильтра до задней стенки камеры следует принимать равным 1,5 - 2d0.

По компоновочным условиям не всегда удается выдержать указанные расстояния. В этом случае приходится прибегать к устройству направляющих лопаток или объемных, например сотовых, решеток, не только выпрямляющих, но и направляющих поток. В некоторых случаях удобно использовать короткие диффузоры со встроенными в них направляющими перегородками.

3.11. При проектировании и размещении фильтровальных камер и установок следует учитывать характеристики сгораемости фильтрующих материалов, пожароопасность конструкций фильтров и соответствие примененного электрооборудования и электроаппаратуры ПУЭ. При этом необходимо принимать во внимание следующее: волокнистые фильтрующие материалы ФСВУ, ФВН, ФПП, ФПА, Сипрон, ФРНК, ФВНР относят к сгораемым. При горении материалы ФПП, ФРНК выделяют токсичные вещества I и II класса опасности; губчатый фильтрующий материал, получаемый из пенополиуретана, относится к сгораемым и при горении выделяет токсичные вещества I и II класса опасности1; смачиватели масляных фильтров (нефтяные и синтетические) относятся к горючим жидкостям; электрооборудование и электроаппаратура фильтров ФРУ, ФЭ и ЭФ-2 предназначены для использования в помещениях с нормальной средой (согласно ПУЭ); фильтров ФРП и ФРПМ - в помещениях класса ПII.

_____________

1 Изделия из полиуретана по ОСТ 6-05-1150-68 включены в «Перечень полимерных материалов и изделий, разрешенных к применению в строительстве» (Минздрав СССР, 1977 г.).

4. ВЫБОР СМАЧИВАТЕЛЕЙ ДЛЯ МАСЛЯНЫХ ФИЛЬТРОВ. ЦЕНТРАЛИЗОВАННОЕ МАСЛОСНАБЖЕНИЕ И УДАЛЕНИЕ ШЛАМА

4.1. Масла, применяемые для смачивания фильтров, должны сохранять надлежащую вязкость при крайних верхних и нижних значениях температуры очищаемого воздуха, не обладать повышенной летучестью и неприятным запахом.

Для смачивания масляных фильтров применяются натуральные (нефтяные) и синтетические смачиватели (замасливатели). Вязкость замасливателей должна соответствовать температуре очищаемого воздуха. Рекомендуемые температурные границы указаны в табл. 4.

Если температура воздуха выше рекомендуемого значения, данного в табл. 4, замасливатель разжижается: уменьшается толщина образуемых пленок, увеличиваются испарение и запах. При использовании замасливателей за пределами низших рекомендуемых границ замасливатель густеет, что ухудшает отмывку панелей от пыли, замедляется осаждение частиц в ванне, увеличивает сопротивление фильтра. Возможно образование сплошных пленок, усиленный вынос масла, разрушение привода, фильтра.

Таблица 4

Замасливатель

Стандарт или технические условия

Температурная граница применения, °С

Температура вспышки, °С

высшая

низшая

Масло для вентиляционных фильтров (висциновое)

ГОСТ 7611-75

85

-15

-

То же, при введении депрессатора АзНИИ

То же

35

-25

165

Масло индустриальное:

12

ГОСТ 20799-75

20

-20

165

20

То же

30

-10

170

Парфюмерное масло

ГОСТ 4225-76

25

-25

160

Трансформаторное масло

ГОСТ 982-80

5

-35

147

Приборное масло МВП

ГОСТ 1805-76

-15

-50

127

Водно-глицериновый раствор с содержанием глицерина, %:

80

Инструкция ЦНИИпромзданий

35

-15

-

70

То же

35

-35

-

60

»

20

-30

-

Полиметилсилоксановая

ГОСТ 13032-77

50

-50

300

Примечания: 1. Температура застывания парфюмерного масла стандартом не определена. Низшая граница применения данного масла установлена по результатам исследований ЦНИИпромзданий.

2. Для трансформаторного масла приведена температура вспышки в закрытом тигле.

3. Верхняя граница применения приборного масла МВП определена по повышенной испаряемости.

4. При указанных значениях высшей границы применения ПМС-200 испарение практически отсутствует.

Для оценки возможного замасливания воздуха в процессе его очистки можно руководствоваться данными, приведенными на рис. 5. Наибольшая испаряемость свойственна маловязким нефтяным маслам (трансформаторное), наименьшая - вязким (парфюмерное).

Испаряемость и запах глицерина меньше, чем в нефтяных маслах; полиметилсилоксановые жидкости можно считать практически не испаряющимися и не пахнущими. Из нефтяных масел наибольшим запахом обладают маловязкие масла, особенно при повышенных температурах, наименьшим - парфюмерное масло.

Плотность полиметилсилоксановых жидкостей при температуре ниже 0 °С и трансформаторного масла ниже минус 5 °С повышается настолько, что при наличии в ванне воды возможно всплывание льда.

При использовании этих замасливателей рекомендуется предусматривать подогрев ванны фильтра.

Водно-глицериновый раствор применяется главным образом в случаях, когда этим обеспечивается взрывобезопасность технологических процессов и снижается пожароопасность. Раствор с содержанием воды 35 % и более считается невоспламеняющимся. В некоторых случаях важно отсутствие у этих растворов запаха. В районах, где возможны резкие изменения температуры, сопровождающиеся выпадением влаги в виде инея, измороси и т.п., рекомендуется применять йодно-глицериновые растворы для предупреждения обмерзания фильтров.

Описание: Описание: Описание: Описание: 1

Рис. 5. Усредненное содержание масла в очищенном воздухе

1 - висциновое масло; 2 - масло индустриальное 12; 3 - масло индустриальное 20; 4 - масло трансформаторное; 5 - масло парфюмерное; 6 - приборное масло

Рис. 6. Схема централизованного маслоснабжения

1 - ванна фильтра; 2 - счетчик расхода масла; 3 - фильтр масла; 4 - шестеренный насос; 5 - бак; 6 - фильтр-пресс; 7 - отстойник; с - трубопровод слива из транспорта чистого масла; П - перепуск масла из фильтров; о - отстойное масло; р - регенерированное масло; в - вода; V - сжатый воздух

Водно-глицериновый раствор готовится из высшего или 1-го сорта глицерина (ГОСТ 6824-76) с антикоррозионной добавкой в виде 2 %-ного хромистого калия и 0,13 %-ного едкого натра по весу глицерина.

Рекомендации по выбору и применению натуральных и синтетических замасливателей разработаны ЦНИИпромзданий Госстроя СССР при участии НПОкриогенмаш, Гипрокислорода и ВНИИхолодмаша. Завод-изготовитель полиметилсилоксановых жидкостей (ПМС) - Кремнийполимер (Запорожье).

4.2. Для облегчения эксплуатации масляных самоочищающихся фильтров рекомендуется применять систему централизованного маслоснабжения, регенерация масел и удаления шлама согласно схеме, приведенной на рис. 6.

Система функционирует следующим образом.

Замасливатель, поступающий на объект (например, в автоцистернах), сливается в бак для его приема и хранения. Из бака он с помощью шестеренного насоса попадает в ванны фильтров. Заправку фильтров желательно контролировать автоматически. В схеме предусмотрен счетчик, который позволяет избежать переполнение ванны при отсутствии автоматики. Для защиты счетчиков от загрязнений, которые могут содержаться также в совершенно свежем замасливателе, установлен специальный фильтр. При переполнении ванн замасливатель по дренажному трубопроводу может стекать в один из отстойников. Залитый в ванны замасливатель используется до 7 %-ого насыщения механическими примесями, после чего подлежит регенерации. Из ванны отработанный замасливатель направляется на очистку в отстойник. После предварительного отстоя замасливатель, пройдя через фильтр-пресс, направляется в емкость для свежего и регенерированного замасливателя, откуда по мере необходимости вновь закачивается в ванны фильтров. Фильтрация замасливателя - трудоемкая операция, а при длительном отстое с подогревом необходимость в фильтрации может отпасть. Для этого случая в схеме предусмотрена возможность перекачки замасливателя из отстойника непосредственно в емкость для свежего регенерированного замасливателя. В результате отстоя при температуре 70 - 80 °С в течение 20 ч из индустриального, трансформаторного и аналогичных масел осаждается до 90 % примесей. В фильтр-прессе при предварительном отстое накапливается значительно меньше шлама и его перезарядку можно производить значительно реже, например, один раз в два месяца.

Отстой отработанного замасливателя производится в отстойнике (рис. 7). Конусная часть отстойника заполняется водой. Температура отстоя поддерживается в пределах 70 - 80 °С. Подогрев должен осуществляться периодически с тем, чтобы избежать конвекционных токов, замедляющих осаждение механических примесей и воды. Для поддержания заданной температуры отстойник оборудован змеевиком. Замасливатель по окончанию отстоя отбирается из верхней зоны посредством поплавкового заборника. Механические примеси, находящиеся в замасливателе, в процессе отстоя опускаются вниз, проходят конусную часть отстойника, заполненную водой, и собираются в шламосборнике.

Рис. 7. Отстойник

1 - змеевик; 2 - отверстие для сброса газов и паров; 3 - люк; 4 - переливная труба; 5 - задвижка; 6 - шламосборник; 7 - устройство для механического перемешивания; 8 - поплавковый заборник; 9 - крышка; 10 - указатель уровня; 11 - рыхлительная трубка

По мере накопления шлам из шламосборника удаляется. Взмучивание шлама производится рыхлительными трубками. В шламосборнике для улучшения отделения замасливателя от шлама предусмотрена установка кольцевого обогревательного элемента. Степень заполнения отстойника замасливателя контролируется указателем уровня.

В конусной части отстойника размещается устройство для пневматического перемешивания, что позволяет использовать отстойник для приготовления промывочного раствора и для введения в замасливатели добавок. В крышке отстойника имеется отверстие для сброса паров и газов в атмосферу и люк для профилактических осмотров.

Непременным условием нормальной работы отстойника является наличие воздушной подушки, составляющей примерно 5 % полезного объема. Для обеспечения постоянства объема имеется переливная трубка.

Для нормальной эксплуатации системы желательно предусматривать не менее двух отстойников.

Разработаны рабочие чертежи отстойников вместимостью 500, 1000, 1500 и 2000 л. Ниже приводятся техническая характеристика, габаритные и присоединительные размеры отстойников (табл. 5, 6).

Таблица 5

Показатели

Вместимость отстойников, л

500

1000

1500

2000

Полезная вместимость отстойника, м3

0,66

1,26

2

2,43

Температура нагрева замасливателя, °С

70 - 80

Поверхность нагрева змеевика, м2

2,48

4,6

7

11,7

Расход пара (Р = 2 атм), кг/ч

30

60

90

120

Масса (сухого), кг

578

720

1330

2020

Таблица 6

Вместимость отстойника, л

Размер, мм

А

Б

В

500

2339

1330

1480

1000

2654

1575

1720

1500

2903

1775

1920

2000

3480

2305

2435

Фильтрация отстоенного замасливателя осуществляется в рамочных фильтр-прессах. Производительность фильтр-пресса находится в прямой зависимости от вязкости, поэтому замасливатель, направляемый в фильтр, должен подогреваться до температуры 70 - 80 °С. Кроме того, замасливатель должен быть свободен от воды, так как она вызывает разбухание фильтровальной бумаги и фильтрация замасливателя прекращается. В качестве фильтрующего материала в фильтр-прессах применяют хлопчатобумажные ткани: бельтинг (ГОСТ 2924-77) и фильтровальная бумага (ГОСТ 12026-76). При отсутствии бельтинга можно применять шинельное сукно, мешковину или другой подобный материал. Вместо фильтровальной бумаги может быть взята любая непроклеенная бумага (оберточная, газетная, ротаторная). Фильтрующий материал перед сборкой фильтра должен быть хорошо просушен. Принимая во внимание необходимость перезарядки, следует предусмотреть установку двух параллельно работающих фильтр-прессов.

Подбирать трубопроводы следует исходя из условий эксплуатации, вязкости замасливателя, располагаемого напора, скорости прокачивания, числа запорной арматуры и других факторов. Наиболее распространенные диаметры трубопроводов 20 - 50 мм. Уклон трубопроводов принимается в пределах не менее 0,003 - 0,005 в сторону емкостей.

Для очистки трубопроводов в случае образования пробок рекомендуется производить их продувку паром или сжатым воздухом. Для перекачки замасливателя по трубопроводам при вязкости в пределах от 70 до 1850 ∙ 10-6 м2/с рекомендуется использовать шестеренные насосы и при вязкости не более 40 ∙ 10-6 м2/с - центробежные насосы. Отстойники и трубопроводы, по которым перекачивается замасливатель на участке отстойников до фильтр-прессов, а также теплопроводы должны быть утеплены минеральной ватой.

Разработанная схема маслоснабжения масляных самоочищающихся фильтров применима и для фильтров, работающих на полиорганосилоксановых жидкостях и водно-глицериновых растворах. Для отстоя водно-глицериновых растворов водяная подушка не требуется. При фильтрации водно-глицериновых растворов не рекомендуется использовать в качестве фильтрующего материала рыхлую бумагу.

Разработчик схемы и конструкции отстойников - ЦНИИпромзданий Госстроя СССР и завод «Реготмасс».

5. ОЦЕНКА НАДЕЖНОСТИ СИСТЕМ ОЧИСТКИ ВОЗДУХА

5.1. Надежность работы систем очистки воздуха является важнейшим показателем качества, поэтому оценивать ее целесообразно на стадии проектирования. Большое значение этот показатель имеет для оценки качества очистки рециркуляционного воздуха.

5.2. Под надежностью систем очистки воздуха понимается безотказность систем, т.е. их способность непрерывно находиться в работоспособном состоянии и выполнять заданные функции в течение установленного времени, сохраняя значения установленных эксплуатационных показателей в заданных пределах, соответствующих принятым режимам и условиям эксплуатации и технического обслуживания.

5.3. Надежность фильтров Р и других видов оборудования системы оценивается по формуле

P(t) = ехр(-λt); λ = 1/T0,

где t - необходимая продолжительность работы оборудования, ч;

λ - интенсивность отказов - нарушение работоспособности фильтра или всей системы очистки;

Т0 - наработка на отказ данного вида оборудования.

В системах с рециркуляцией воздуха и в системах вентиляции, совмещенной с отоплением, время t принимается не менее продолжительности отопительного периода. В помещениях, где к чистоте воздуха предъявляются повышенные требования, t принимается равным общей продолжительности работы фильтров.

Значения λ или Т0 принимаются по стандартам или техническим условиям на данное оборудование.

Показатели надежности некоторых воздушных фильтров приведены в табл. 7.

Таблица 7

Оборудование

Наработка на отказ Тв не менее, ч

Интенсивность отказов λ ∙ 105, ч-1

Средний ресурс до первого капитального ремонта, не менее, ч

Средний срок службы, не менее, лет

Техническое условие

Фильтры воздушные самоочищающиеся типа Кд (КдМ, КТ, КТЦ)

1500

66,6

19200

(80 % ресурс)

15

ТУ 22-3636-76

Фильтры воздушные ячейковые Фя

500

20

35000

(80 % ресурс)

18

ТУ 22-3193-75

Фильтры рулонные:

ФРУА

3000

33,3

21000

15

ТУ 22-3071-74

ФРПМ

4000

12,5

18000

12

ТУ 27-27-1573-82

5.4. Надежность системы, в состав которой входят несколько фильтров, установленных последовательно, оценивается по формуле

где P1(t), P2(t)... - надежность каждого из фильтров, определенная по п. 5.3;

n - число последовательно установленных фильтров.

5.5. При параллельной установке резервного фильтра надежность системы установленных фильтров оценивается по формуле

5.6. Расчетную надежность фильтров рекомендуется выбирать:

для предприятий, на которых прекращение очистки воздуха вызывает необходимость останавливать выпуск продукции не ниже надежности технологического оборудования - 90 - 99 % (0,9 - 0,99);

в случаях, когда отказ фильтров вызывает существенное снижение температуры, в частности в результате забивания теплообменников - не ниже 80 %;

в других случаях - в зависимости от последствий прекращения очистки воздуха, но не ниже 50 %.

6. ОЦЕНКА ЭКОНОМИЧЕСКОЙ ЭФФЕКТИВНОСТИ СИСТЕМ ОЧИСТКИ ВОЗДУХА

6.1. При выборе фильтров рекомендуется проводить сравнительный технико-экономический расчет для выявления годовой стоимости очистки в целом по объекту и на единицу производительности системы по воздуху, а также затрат энергии, воды и других материалов на очистку воздуха. Наличие таких показателей позволяет более обоснованно выбирать оптимальный вариант устройства очистных сооружений.

6.2. Сравнительный технико-экономический расчет проводят по приведенным затратам. Экономический эффект, Эп, определяемый как разность приведенных затрат по двум сравниваемым фильтрам или системам очистки, находят по формуле

Эп = (С1 + ЕмK1) - (С2 + ЕмK2),

где С1 и С2 - эксплуатационные расходы (текущие издержки);

K1 и K2 - капитальные вложения (единовременные затраты);

Ем - нормативный коэффициент эффективности капитальных вложений, принимаемый равным 0,15.

К капитальным затратам относится стоимость фильтров и занимаемой ими площади или объема здания, причем в расчет принимается тот из двух показателей, стоимость которого выше, а также стоимость сопутствующих строительных работ.

Стоимость оборудования, на которое не имеется утвержденных сметных цен, рассчитывается по массе использованного металла и цене на его единицу применительно к ближайшему аналогу.

Эксплуатационные затраты слагаются из следующих элементов:

а) затраты на сменные элементы фильтров, которые принимаются в соответствии с паспортными данными. Сменными считаются элементы конструкции, срок амортизации которых меньше, чем фильтров в целом. К ним относятся главным образом фильтрующие материалы и смачиватели воздушных фильтров.

Некоторые показатели затрат на сменные фильтрующие материалы и смачиватели для воздушных фильтров даны в табл. 8. Показатели рассчитаны для начальной запыленности воздуха 1 мг/м3 и для другой запыленности должны быть пропорционально изменены;

Таблица 8

Воздушные фильтры

Затраты на очистку 100000 м3/ч воздуха, руб., при сопротивлении фильтра

постоянном,

конечном, Па

80 - 100 Па

150

300

Масляные самоочищающиеся фильтры Кд (КдМ, Кт, КтЦ) со смачиванием нефтяными маслами:

при одноразовом использовании

170

-

-

при механическом удалении шлама

150

-

-

при регенерации масла

60

-

-

синтетической жидкостью ПМС

700

-

-

70% водно-глицериновым раствором

220

-

-

Рулонные фильтры ФРУ при удельной воздушной нагрузке на фильтрующий материал 8300 м3/(ч ∙ м2)

-

860

450

Панельные фильтры Фр-4 при удельной воздушной нагрузке на фильтрующий материал 2500 м3/(ч ∙ м2)

-

4800

2200

Электрические фильтры ФЭ со стекловолокнистыми противоуносными матами

-

210

-

Электрические фильтры ФЭ без противоуносных матов (сопротивление 5 - 10 Па)

Затрат на сменные материалы нет

б) стоимость затрачиваемой электроэнергии и воды рассчитывают в соответствии с данными, относящимися к району расположения проектируемого объекта. Потери энергии во всасывающих и нагнетательных воздуховодах не учитываются.

Стоимость водопроводной воды на промывку фильтров, как правило, не учитывают. В случае надобности принимается по данным, относящимся к району, в котором располагается проектируемый объект. К стоимости водопроводной воды добавляется стоимость услуг канализационных сетей на полный объем расходуемой воды. Для ориентировочных подсчетов можно пользоваться данными табл. 9.

Пример 3. Сравнить по приведенным затратам экономическую эффективность рассмотренных в примере 2 вариантов использования фильтров ФРУ и Фр-4. Сопротивление фильтра принять 300 Па.

Решение. Капитальные затраты. Для расчета принимаются следующие исходные данные: стоимость фильтра Ф12РУ по калькуляции Симферопольского машиностроительного завода - 1070 руб.; стоимость фильтра Фр-4 по калькуляции Харьковского завода «Кондиционер» - 2060 руб.; стоимость монтажа фильтра Ф12РУ по ценнику 17-3473 равна 83,7 руб.; стоимость монтажа фильтра Фр-4 в ценниках не приведена. Она может быть определена следующим образом: стоимость сборки каждой из шести секций фильтра Фр-4 принимаем 56,4 руб., как секции обслуживания кондиционера; стоимость сборки фильтра Фр-4 из шести готовых секций может быть принята равной стоимости сборки двух фильтров Ф12РУ, состоящих из трех секций заводской готовности. В соответствии с этим стоимость монтажа фильтра Фр-4 составит 2 ∙ 83,7 + 6 ∙ 56,4 = 505 руб.

Таблица 9

Наименование городов

Стоимость услуг предприятий за 1 м3 воды, коп.

водопровода

канализации

Москва:

вода питьевого качества

15

15

вода техническая

6

15

Ленинград

10

6

Горький

15

20

Волгоград

10

10

Свердловск

10

10

Тольятти

25

10

Ставрополь

15

10

Таганрог

15

6

Владивосток

20

10

Грозный

10

10

Куйбышев

10

6

Краснодар

10

10

Якутск

100

75

Габаритные размеры фильтра Ф12РУ (в плане) 3595×308 мм (см. приложение) и площадь, занимаемая двумя фильтрами, составит 2,21 м2 (без учета зоны обслуживания). Соответствующие размеры фильтра Фр-4 (для КТЦ 250) составляют 5800×622 мм и занимаемая площадь равна 3,61 м2.

Стоимость 1 м2 площади здания, занимаемой фильтром, примем 110 руб. (Инструкция по определению экономической эффективности нового оборудования для кондиционирования воздуха и вентиляции, ЦНИИТстроймаш).

Время, затрачиваемое на замену фильтрующего материала одной секции фильтра ФРУ (катушек) двумя рабочими (по данным ЦНИИпромзданий) - 8 мин., одной секции фильтра Фр-4 по данным ВНИИКондиционер - 30 мин.

Стоимость 1 чел.-ч обслуживаемого персонала принимается 0,67 («Временная инструкция по обслуживанию устройств вентиляции и кондиционирования воздуха в зданиях промышленного, инженерно-лабораторного и служебно-административного назначения»).

Стоимость электроэнергии принимается 3 коп/кВт.

Результаты технико-экономического сравнения фильтров приведены в табл. 10.

Таблица 10

Вид затрат

Затраты, руб., при конечном сопротивлении фильтров 300 Па

при установке двух фильтров Ф12РУ

при установке фильтра Фр-4

Капитальные вложения:

стоимость фильтров

2140

2060

монтаж

167

505

стоимость площади, занимаемой фильтрами

243

397

Всего

2550

2962

Эксплуатационные издержки:

стоимость фильтрующего материала

725 ∙ 1,25 = 910

836 ∙ 4,7 = 3930

заработная плата

амортизационные отчисления:

а) на полное восстановление (9,8 % стоимости фильтров)

210

202

б) капитальный ремонт (2,7 % стоимости фильтров)

58

57

Стоимость электроэнергии, затраченной вентилятором для преодоления сопротивления фильтра

Всего

2223

5226

Соответственно экономический эффект Эп при применении фильтров Ф12РУ составит:

Эп = (5266 + 0,15 ∙ 2958) - (2223 + 0,15 ∙ 2523) = 3108 руб.

Как видно из расчета, определяющее влияние на экономику процесса оказывают затраты на фильтрующий материал. Снижение воздушной нагрузки положительного эффекта не дает, а увеличение конечного сопротивления позволяет уменьшить расход фильтрующего материала, что дает тем больший эффект, чем дороже материал.

Следует учитывать, что большая разница между начальным и конечным сопротивлением может повлечь существенные колебания в производительности системы.

ПРИЛОЖЕНИЕ

ОСНОВНЫЕ ВИДЫ ВОЗДУШНЫХ ФИЛЬТРОВ, РЕКОМЕНДУЕМЫХ ДЛЯ ПРИМЕНЕНИЯ ПРИ ПРОЕКТИРОВАНИИ ОЧИСТКИ ВОЗДУХА

Рулонные фильтры

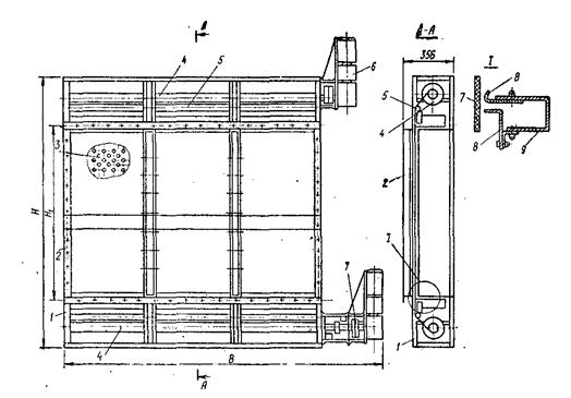
Рулонные фильтры ФРУ рекомендуется применять в условиях нормальной запыленности, атмосферного воздуха, т.е. при концентрациях пыли менее 0,5 мг/м3. Они могут применяться также и при повышенной запыленности воздуха, если большой расход фильтрующего материала и частота его смены не противоречат технико-экономической целесообразности. В зависимости от пропускной способности фильтры собираются из двух или трех унифицированных секций шириной 1050 и 800 мм.

Трехсекционный фильтр типа ФРУ показан на рис. 8. Каждая секция фильтра состоит из сварного корпуса, внутри которого размещена подвижная решетка, выполненная из двух бесконечных роликовых цепей, в ушках которых закреплены поперечные проволочные рамки. Кромки рамок опираются на уголки, приваренные к боковым стенкам корпуса секции. Подвижная решетка натянута между нижним и верхним валами. Нижний вал секции - ведущий, он установлен в подшипниках. Верхний вал - натяжной и может перемещаться в вертикальной плоскости при помощи специальных натяжных винтов. В верхней и нижней частях каркаса установлены катушки. Секции фильтра соединяются между собой при помощи стяжек и горизонтальных уголков присоединительных фланцев. Зазоры между секциями уплотняются резиновой прокладкой или деревянными брусьями. Нижние валы секций имеют на концах штифты, при помощи которых и специальных муфт они соединяются при сборке фильтра.

Рис. 8. Габаритный чертеж фильтра ФРУ (ФРУА и ФРУБ)

1 - подвижная опорная решетка; 2 - фланец; 3 - катушка; 4 - привод; 5 - прижим; 6 - корпус фильтра; 7 - цепь

На одной секции в зависимости от исполнения установлен редукторный электропривод мощностью 0,25 кВт, обеспечивающий перемещение подвижных решеток и вращение нижних катушек фильтра. С нижним валом секции привод соединен напрямую при помощи муфты. На нижние катушки вращение передается целью.

Катушка фильтра представляет собой трубчатую металлическую ось с двумя круглыми ребордами. В цапфах катушек имеются шлицы и отверстия для установки и шплинтовки планок, при помощи которых катушки могут соединяться между собой. Для закрепления на оси катушки полотнища фильтрующего материала имеется скоба, прокалывающая материал в первом витке. Катушки устанавливаются в подшипники, выполненные в виде наклонных лунок с откидными крышками. Нижние (порожние) катушки соединяются между собой, а верхние (с фильтрующим материалом) должны быть расцеплены. Фильтрующий материал с верхних катушек пропускается через уплотнительные щели верхних и нижних стенок фильтра, при этом он заполняет все живое сечение и закрепляется на нижних катушках.

В сечении фильтра материал поддерживается съемными прижимами. Кромки полотнищ опираются на неподвижные направляющие уголки, образуя, сплошную поверхность фильтрующего материала, который заполняет сечение фильтра. Воздух, фильтруясь через полотнища, оставляет на нем пыль. По мере загрязнения материал сматывается с верхних катушек на нижние.

В фильтрах используется фильтрующий материал типа ФСВУ производства Ивотского стекольного завода (ТУ 21-РСФСР-369-75). Длина каждого полотнища 15 м. Фильтрующий материал типа ФСВУ представляет собой рыхлый, упругий, слегка промасляный слой из прочного тянутого стеклянного волокна толщиной 30 - 50 мм, уложенного и связанного в процессе выработки связующими веществами. Материал наматывается на катушки, при этом он утолщается до 2 - 3 мм и может храниться в таком состоянии до 1 года. Будучи смотан с катушки, материал вновь принимает первоначальную рыхлую форму.

Плотность намотки материала на катушки регулируется фрикционом, синхронизирующим скорости перемещения решеток и намотки материала.

Подвижные решетки предназначены для предупреждения прогиба материала под давлением потока воздуха и нарушения его структуры и разрыва в результате возникновения растягивающих усилий в случаях, когда перемотка производится без выключения вентилятора системы. Необходимость в этом возникает в системах, эксплуатируемых без перерывов, главным образом технологического назначения.

Перемотка материала с верхних катушек на нижние производится периодически, по мере накопления в нем пыли и достижения установленной величины сопротивления. При этом в воздушный поток вводится чистый материал и сопротивление фильтра уменьшается до первоначального. Скорость перемещения материала при перемотке составляет около 50 см/мин.

Привод фильтра включается вручную по показаниям микроманометра или при помощи системы автоматического управления.

Автоматизация перемотки осуществляется с помощью мембранного датчика-реле перепада напора типа ДПН-100. Для подключения датчика-реле в камерах перед фильтром и после него предусматриваются штуцеры для замера статических давлений.

Схема автоматического управления перемоткой показана на рис. 9. Перепад давления, при котором должна включаться перемотка, определяется настройкой датчика-реле перепада напора. При достижении заданного перепада замыкаются контакты датчика-реле S3 и включается электродвигатель перемотки М. Нормально разомкнутый контакт магнитного пускателя K и включенные последовательно с ним нормально замкнутые контакты микропереключателя S4 блокируют контакты датчика-реле. В процессе перемотки фильтрующего материала перепад давления уменьшается, что приводит к размыканию контактов S3. При этом ток катушки магнитного пускателя протекает по блокирующей цепи.

Рис. 9. Электрическая схема управления перемоткой фильтров ФРУ (ФРУА, ФРУБ)

В - выключатель автоматический; S1 - выключатель путевой; S2 - пост управления кнопочный; S3 - контакты датчика-реле перепада напора типа ДПН-100; S4 - микропереключатель МП-10А, дополнительно устанавливаемый на плате датчика-реле перепада напора; K - магнитный пускатель с тепловым реле РТ

Перемотка продолжается до тех пор, пока шток датчика реле ДПН-100 не разомкнет контакты S4 микропереключателя, которые отрегулированы на срабатывание при минимальном перепаде и разрывают цепь питания катушки магнитного пускателя. За это время запыленный фильтрующий материал полностью перематывается и заменяется свежим.

Кнопка S2 служит для ручного управления перемоткой при заправке нового фильтрующего материала и при регулировочных работах. Путевой выключатель S1 размыкает свои контакты при окончании намотки фильтрующего материала на верхней катушке.

Рулонные фильтры ФРУ могут быть снаряжены и другими фильтрующими материалами, например неткаными, волокнистыми, губчатыми и т.д.

Разработана техническая документация на фильтры типа ФРУ пропускной способностью 20, 40, 60, 80, 120, 160, 200 и 240 тыс. м3/ч. Промышленностью серийно выпускаются фильтры пропускной способностью 20, 40, 60, 80 и 120 тыс. м3/ч.

Основные технические показатели этих фильтров приведены в табл. 11, а присоединительные и габаритные размеры - в табл. 12 (см. рис. 8).

Для облегчения обслуживания фильтров, установленных в кондиционерах, и удобства смены нижних катушек разработаны специальные переходные камеры с люком для доступа к нижним катушкам.

Установка рулонных фильтров в кондиционерах с использованием типовых промежуточных секций Кд, промежуточных вставок Кд99 и указанной переходной камеры показана на рис. 10. Комплектация установки переходными элементами указана в табл. 13.

Габаритные размеры установки с присоединительными элементами приведены в табл. 12.

Установка фильтров в вентиляционных камерах, устраиваемых в строительных конструкциях, показана на рис. 11. В этом случае фильтр крепится непосредственно к обрамлению проема в перегородке. Обслуживание фильтров при этом облегчается, но для доступа к верхним катушкам фильтров пропускной способностью 60, 80 и 120 м3/ч должны быть применены разработанные для них рабочие площадки с металлическими лестницами-стремянками. Комплектация фильтров площадками при установке в строительных конструкциях приведена в табл. 14*.

_____________

* Комплектация фильтров промежуточными камерами, площадками и др. производится только по отдельной договоренности с заводами.

Таблица 11

Наименование

Типоразмеры фильтров

Ф12РУ1

Ф8РУ2

Ф6РУ6

Ф4РУ4

Ф2РУ7

Номинальная пропускная способность, м3

120000

80000

60000

40000

20000

Площадь рабочего сечения (округленно), м2

12

8

6

4

2

Число секций шириной, мм:

1050

3

3

1

2

-

800

-

-

2

-

2

Ширина фильтрующего материала, мм

1020

1020

1020

770

1020

770

Число катушек, шт.

6

6

6

4

4

Масса, кг

970

717

633

408

360

Таблица 12

Типоразмер фильтров

Размер, мм

А

Б

В

Н

Н1

Ф12РУ1

3125

3072

3595

5090

4000

Ф8РУ2

3125

3072

3595

3700

2625

Ф6РУ6

2625

2572

3095

3700

2625

Ф4РУ4

2072

2021

2545

2930

1841

Ф2РУ7

1572

1521

2044

2433

1344

Таблица 13

Типоразмер фильтров

Индекс чертежей комплектующих элементов

Камера промежуточная

Камера промежуточная переходная

Вставка промежуточная

Ф12РУ1

Кд12007

Кд120071

Кд12099

Ф8РУ2

Кд8007

Кд80071

Кд8099

Ф6РУ6

Кд6007

Кд60071

Кд6099

Ф4РУ4

Кд4007

Кд40071

Кд4099

Ф2РУ7

Кд2007

Кд2071

Кд2099

Таблица 14

Типоразмер фильтров

Индекс чертежей площадок с лестницами

Ф12РУ1

Е505

Ф8РУ2

Е503

Ф6РУ6

Е501

Рис. 10. Установка фильтра ФРУ в кондиционер Кд

1 - подставка; 2 - промежуточная секция; 3 - фильтр; 4 - переходная камера; 5 - вставка промежуточная

Рис. 11. Установка фильтра ФРУ в вентиляционной камере

1 - фильтр; 2 - площадка для обслуживания с лестницей

Сопротивление фильтрующего материала ФСВУ и фильтров ФРУ в зависимости от воздушной нагрузки показано на рис. 1. Графиком можно пользоваться для определения сопротивления фильтра в целом.

Номинальные пропускные способности фильтров, указанные в табл. 11, следует считать условными. Как правило, верхний предел располагаемого давления системы, которое может расходоваться на преодоление сопротивления фильтров, ограничен. При проектировании следует выбирать воздушные нагрузки меньше 10000 м3/(ч ∙ м2).

На рис. 2 показана пылевая характеристика фильтра (фильтрующего материала ФСВУ). Как видно из рисунка, сопротивление фильтра растет по мере запыления материала.

Эффективность фильтра остается практически постоянной на всем протяжении работы материала. При очень большом пересыщении материала пылью, когда его сопротивление достигает величины 700 - 1000 Па, может происходить продавливание и осыпание уловленной пыли. В этих условиях эффективность фильтров снижается, поэтому доводить сопротивление фильтра до слишком больших величин не рекомендуется.

В процессе заправки фильтрующего материала, а иногда при перемотке (если материал недостаточно качественный или имеет механические повреждения) возможен срыв фрагментов материала или отдельных волокон. Для предупреждения их выноса в вентилируемые помещения в пределах камеры или в магистральных воздухопроводах рекомендуется устанавливать предохранительные сетки, например капроновые по ТУ РСФCP 62-10170-81, арт. 7 - 12 или стеклосетки ССФ-06 по ТУ Т2-6-11-438-77. Необходимо обеспечивать надлежащее хранение запаса материала на объекте, в отапливаемом помещении, на стеллажах.

Фильтры поставляются в разобранном виде посекционно, со снятым приводом. При соединении секций между собой необходимо обеспечить соосность ведущих валов подвижных решеток и подшипников для установки катушек.

Фильтры собирают в следующем порядке: устанавливают вертикальную приводную секцию, а рядом с ней вторую (третью) секцию и выставляют их нижние валы так, чтобы они вошли в зацепление с соединительной муфтой приводной секции; прокручивают вручную подвижные решетки; устанавливают пружинные упоры прижимов и сами прижимы, редукторный электропривод, цепную передачу катушек, нижние катушки фильтра.

Собранный фильтр устанавливают на выверенном по уровню фундаменте и присоединяют к фланцу промежуточной камеры или проема. Между фланцами фильтра и промежуточной камерой делают уплотнительные прокладки и подводят к фильтру электроэнергию.

Место установки электрического щита управления фильтром выбирают исходя из удобства обслуживания.

По окончании монтажа фильтра вывинчивают ручки верхних подшипников до высвобождения крышек и откидывают их вверх до упора; устанавливают катушки с фильтрующим материалом так, чтобы их цапфы разместились в лунках подшипников; закрывают крышки подшипников и ввинчивают ручки до упора; снимают упаковочную бумагу с фильтрующего материала и пропускают концы его вниз по подвижным решеткам вручную, равномерно прокручивая катушки.

Заправку фильтрующего материала в фильтры производят в комбинезонах и брезентовых рукавицах.

Обслуживание фильтра заключается в своевременной замене фильтрующего материала, а также в поддержании работоспособности узлов и деталей фильтра. Объектами наблюдения работающего фильтра являются фильтрующий материал, узел привода, подвижная решетка, фрикционная муфта, цепная передача, подшипники.

Рис. 12. Габаритный чертеж фильтра ФРП (ФРПА, ФРПБ)

1 - подвижная опорная решетка; 2 - фланец; 3 - катушка; 4 - привод; 5 - воздуховод; 6 - корпус фильтра; 7 - цепь

Предусмотренные к выпуску фильтры ФРУД предназначены только для систем вентиляции и кондиционирования. Так как фильтры в этих системах работают с перерывами, то перемотку можно производить, когда через фильтр не протекает воздух, а это позволяет заменить подвижную поддерживающую решетку на неподвижную, существенно упростив этим конструкцию фильтра и уменьшив трудоемкость изготовления и металлоемкость.

Присоединительные размеры ФрУД в точности соответствуют размерам секции кондиционера КтЦ, поэтому могут устанавливаться в составе кондиционеров без применения специальных промежуточных элементов.

Завод - изготовитель фильтров - Симферопольский машиностроительный завод Минстройдормаша. Разработчик фильтров - ЦНИИпромзданий Госстроя СССР. Завод - изготовитель фильтрующего материала - Ивотский стекольный завод Минстройматериалов РСФСР. Разработчик фильтрующего материала - Государственный институт стекла МПСМ СССР и ЦНИИпромзданий Госстроя СССР.

Рулонные фильтры ФРП предназначаются для очистки воздуха от волокнистой пыли, главным образом, на предприятиях текстильной промышленности и в аналогичных условиях. По устройству они идентичны фильтрам ФРУ (табл. 15, рис. 12).

Отличительной особенностью фильтров ФРП является примененная в них система пневматической регенерации фильтрующего нетканого материала типа ФВН.

Система состоит из щелевого пневматического насадка, выполненного в виде короба, расположенного над нижними катушками за пределами живого сечения фильтра. К коробу присоединен вертикальный воздуховод, имеющий фланец для присоединения к системе отсоса. На верхних катушках намотаны полотнища фильтрующего материала. Концы полотнищ пропускают через рабочее сечение фильтра поперек течения воздуха и закрепляют на нижних катушках. По мере загрязнения материал сматывается с верхних катушек на нижние. Во время перемотки очищается от пыли и используется повторно.

Полотнища нетканого фильтрующего материала имеют длину 100 м. Число катушек зависит от пропускной способности фильтра.

Таблица 15

Наименование

Типоразмеры фильтров

Ф12РП1

Ф8РП2

Ф6РП6

Ф4РП4

Ф2РП7

Пропускная способность, м3

120000

80000

60000

40000

20000

Число секций шириной, мм:

1050

3

3

1

2

2

800

-

-

2

-

2

Площадь рабочего сечения (округленно), м2

12

8

6

4

2

Ширина фильтрующего материала, мм

1015

1015

1015

764

1015

764

Число катушек, шт.

6

6

6

4

4

Масса фильтра, кг

970

717

623

408

353

Расход воздуха на пневмоочистку, м3

1500 - 2000

1500 - 2000

1200 - 1500

1000 - 1200

800 - 1000

Фильтрующий материал типа ФВН представляет собой слой из смеси натуральных и синтетических волокон толщиной 0,6 мм, связанных в процессе выработки специальными склеивающими веществами (ТУ РСФСР-17-2803-69).

Система пневматической регенерации обеспечивает 6 - 7-кратное использование материала. Она может обслуживаться либо специально установленным вентилятором, либо присоединяться к централизованной системе пневмоуборки.

Перемотка материала производится при достижении величины сопротивления, устанавливаемого потребителем исходя из располагаемого давления вентиляционной системы. Скорость движения материала при перемотке 0,5 м/мин.

Одновременно с перемоткой включается вентилятор системы регенерации или открывается заслонка в сети пневмоуборки, к которой присоединен фильтр. Фильтрующий материал, проходя мимо щели короба, очищается от уловленной пыли и сматывается на нижние катушки. Когда на верхних катушках фильтрующий материал будет полностью израсходован, верхние и нижние катушки меняют местами.

Для эффективной очистки материала разрежение в отсасывающей щели должно быть не менее 3000 Па1.

_____________

1 Описание относится также к рулонным фильтрам ФРПА, ФРПБ.

Рулонные фильтры ФРП снаряжаются и другими фильтрующими материалами, например капроновыми сетками.

Присоединительные размеры фильтров ФРП такие же, как у фильтров ФРУ (см. табл. 12). Присоединительные элементы фильтров пропускной способностью 20, 40, 60, 80 и 120 тыс. м3/ч в точности соответствуют размерам присоединительных фланцев соответствующих типовых секций кондиционеров Кд.

Основные технические показатели фильтров приведены в табл. 16.

Для нормального обслуживания фильтров, установленных в кондиционерах, и смены катушек разработаны специальные переходные камеры с люком для доступа к нижним катушкам.

Рулонные фильтры устанавливаются в кондиционерах с использованием типовых присоединительных секций Кд07, промежуточных вставок Кд99 и указанного переходного элемента, так же как и фильтры ФРУ (см. рис. 10, табл. 13).

При установке в вентиляционных камерах, монтируемых из строительных конструкций, фильтры ФРП крепятся непосредственно к металлическому обрамлению проемов перегородки камеры, так же как фильтры ФРУ (см. рис. 11).

Обслуживание фильтров при этом облегчается, но для доступа к верхним катушкам фильтров пропускной способностью 60 тыс. м3/ч и выше, так же как в фильтрах ФРУ, должны быть применены рабочие площадки с металлическими лестницами-стремянками.

Начальное сопротивление фильтров определяется по графику в зависимости от принятой воздушной нагрузки. Следует учитывать, что при регенерации фильтрующий материал восстанавливается неполностью. Увеличение сопротивления после каждой регенерации в среднем равно 30 % начального сопротивления чистого материала. Суммарная пылеемкость материала в условиях прядильных цехов составляет около 1000 г/м2.

Расход воздуха на пневматическую очистку приведен в табл. 6.

При объединении секций между собой следует обращать особое внимание на герметизацию стыков системы пневматической регенерации фильтров. Порядок монтажа фильтров такой же, как и рулонных фильтров ФРУ.

Рулоны для установки на фильтр подбираются одинакового наружного диаметра и с ровными боковыми кромками. Допускается снаряжение фильтров рулонами, составленными из отдельных оклеенных или сшитых между собой полотнищ. Заправка материала производится двумя рабочими.

При эксплуатации фильтров должна обеспечиваться своевременная перемотка фильтрующего материала. Режим перемотки уточняется по данным длительной эксплуатации фильтров. Плотность намотки регулируется при помощи фрикционов, вмонтированных в приводные звездочки. Случайные разрывы материала должны сшиваться или склеиваться клеем. Фильтрующий материал должен быть заменен, когда сопротивление его после регенерации не уменьшается, а также при разрушении материала.

Из-за большой длины полотнища фильтрующего материала ФВН, при перемотках происходит сбегание материала в сторону, при этом возникают вертикальные щели, через которые часть воздуха протекает без очистки, поэтому использование фильтров в автоматическом режиме оказалось невозможным.

В 1982 году начат выпуск модернизированных фильтров ФРПМ (рис. 13).

В качестве фильтрующего материала используются прочные сетки: капроновые (ситовые ткани по ОСТ 17-46-71, арт. 25, 55, 70 и др.) или стеклосетки (ССФ-06 по ТУ Т2-6-11-438-77).

Сетки легко прочищаются (регенерируются) путем отсоса с них пыли. В отличие от описанной выше модернизации предусмотрено два щелевых насадка, один из которых расположен над нижними катушками, а другой под верхними, а сетки попеременно сматываются вниз на нижние катушки, и вверх - на верхние, наматываясь на них очищенными. Длина полотнищ небольшая, около двух высот фильтров, что в совокупности с установленными коническими валиками (рис. 13) предупреждает перекосы полотнища при перемотках.

Верхняя и нижняя катушки уловителя приводятся во вращение каждая отдельным электрическим двигателем через редуктор и кулачковую муфту. Кулачковая муфта служит для расцепления катушки уловителя от редуктора при кратковременном обратном вращении электродвигателя, что необходимо для свободного вращения катушки, с которой в данное время сматывается фильтрующий материал.

Принципиальная электрическая схема изображена на рис. 14. Управление работой электродвигателями перемотки М1 и М2 осуществляется автоматически при напряжении 36 В с помощью командного электропневматического прибора КУ. В качестве сигнала управления перемоткой и регенерацией фильтрующего материала используется не перепад давления в уловителе, а время работы уловителя, за которое практически достигается этот перепад. Время между перемотками устанавливается при наладке уловителя в зависимости от запыленности воздуха.

Рис. 13. Габаритный чертеж фильтра ФРПМ

1 - корпус фильтра; 2 - фланец; 3 - неподвижная опорная решетка; 4 - катушка; 5 - валик; 6 - привод; 7 - фильтрующий материал; 8 - корпус щелевого отсоса; 9 - подвижные губки отсоса.

Управление перемоткой фильтрующего материала при заправке, ремонте и контроле можно осуществлять вручную путем нажатия кнопок перемотки вверх S2 или вниз S3, кнопки «стоп» S1, расположенных на щите управления. Остановка электрических двигателей при всех режимах работы осуществляется автоматически путевыми выключателями S6 или S7.

Выбор режима работы уловителя осуществляется переключателем В2 с тремя фиксированными положениями: «Автомат», «Выключено», «Ручное».

Электрическая схема, кроме того, позволяет осуществлять управление регенерацией уловителя от командного прибора соседнего уловителя при параллельной работе двух однотипных уловителей или от постороннего командного прибора. При этом необходимо разомкнуть перемычки 16-17, 18-19 и 3-20, а клеммы 4, 16 и 18 подключить соответственно к клеммам 10, 8 и 9 соседнего уловителя, являющегося управляющим.

Удаление пыли может производиться с помощью пневмотранспортной системы, подсоединение к которой производится через клапаны-переключатели или с использованием индивидуальных систем пылеотсоса.

Рис. 14. Электрическая схема управления работой уловителя волокнистой пыли типа ФРПМ

В1 и В3 - выключатели автоматические; В2 - переключатель универсальный; М1 и M2 - электродвигатели перемотки; T1 - трансформатор ОСМ-0,25 380/36; Т2 - трансформатор ОСМ-0,063 127/36; H1 ÷ H4 - лампы сигнальные 36 В; S1 ÷ S3 - кнопки управления; S4 ÷ S7 - выключатели путевые типа ВПК-2112; K1 и K2 - пускатели магнитные реверсивные ПМЕ-114; K3 и K4 - реле электромагнитные; КУ - командный электропневматический прибор КЭП-12У.

Контакты 6 и 7 щита управления предназначены для подключения к цепи пуска системы пневмотранспорта. Сигнал обратной связи о сборке линии и включении пневмотранспортной установки в виде замыкания цепи вводится на контакты 1 и 5.

Пример осуществления системы регенерации с помощью пневмотранспортной системы для шести уловителей, работающих попарно, показан на рис. 15. После поступления сигнала со щита управления фильтрами кондиционера K2 на регенерацию клапан-переключатель КП2 автоматически переводится в положение «Ответвление», включаются фильтр и пневмотранспортная установка. После этого на щит управления поступает сигнал обратной связи и производится перемотка фильтрующего материала уловителей У3 и У4.

Рис. 15. Схема подсоединения уловителей волокнистой пыли к пылетранспортной системе

1 - фильтр ФТ-2М; 2 - пневмотранспортная установка; КП1 и КП2 - клапаны-переключатели; К1, К2 и К3 - кондиционеры; У1 - У6 - уловители волокнистой пыли ФРПМ

Щит управления имеет световую сигнализацию включенного состояния (Н1), перемотки фильтрующего материала (лампы H2, Н3), работы пылеотсоса (лампа H4).

Завод-изготовитель фильтров ФРП - Серпуховский механический завод Минлегпищемаша.

Разработчик фильтров ФРП и ФРПМ - ЦНИИпромзданий Госстроя СССР при участии ГПИ-1 Минлегпрома СССР. Изготовитель фильтрующего материала ФВН - Моршанская суконная фабрика. Разработчик фильтрующего материала - ЦНИИХБИ Минлегпрома СССР и ЦНИИпромзданий Госстроя СССР.

Масляные самоочищающиеся фильтры Кд применяются в местных и центральных кондиционерах. Номенклатура самоочищающихся фильтров типа Кд включает фильтры пропускной способностью от 1500 до 250000 м3/ч. Размеры фильтров на производительность от 10 до 250 т ∙ м3/ч соответствуют габаритам кондиционеров, в которых они использованы. Номенклатура самоочищающихся фильтров КдМ и их основные показатели приведены в табл. 16.

Таблица 16

Обозначение типоразмеров

Номинальная пропускная способность, м3

Площадь входного сечения (округленная), м2

Полезная емкость ванны, л

КдМ10

10000

1

75

КдМ20

20000

2

135

КТМ-31,5

31500

3

29

КТМ-40

400000

4

290

КТМ-63

63000

6

585

KTM-80

80000

8

585

КТМ-125

125000

13

585

КТМ-160

160000

18

585

КТМ-200

200000

19

850

КТМ-250

250000

24

850

Фильтр представляет собой металлическую сварную станину, в верхней и нижней части которой устанавливаются горизонтальные валы фильтровальных панелей. Последние имеют вид непрерывной ленты из пружинно-стержневой сетки, которая натягивается между двумя валами. Верхние из них являются ведущими; они устанавливаются в подшипниках и приводятся во вращение вручную или редукторным электроприводом в зависимости от размера и назначения фильтра. Нижние валы установлены в подвижных подшипниках и являются натяжными.

Вращение панелей осуществляется за счет трения сеток о поверхности верхних валов. Нижние валы расположены в ванне для масла, поэтому сетки при вращении панелей промываются маслом.

В фильтрах с механическим приводом скорость первых по ходу воздуха панелей составляет 160 мм/мин, а вторых - 70 мм/мин.

Направление вращения панелей выбирается так, чтобы последняя сетчатая поверхность, которую встречает воздух, проходя через фильтр, двигалась бы сверху вниз. Тем самым предупреждается повышенный унос масла, который мог бы иметь место в результате срыва с сеток избытка масла, стекающего с нижней части панели при ее выходе из ванны.

В донной части ванн устроены мешалки для взмучивания осадка (шлама) перед удалением отработанного масла. В зависимости от размера фильтра привод мешалки может быть ручной или механический.

Силами изготовителей фильтры модернизированы: изменены габаритные размеры, привод и способ удаления шлама. Модернизированным конструкциям присвоены индексы КдМ, КТ, ФС и др.

При сборке фильтра монтаж ведется в следующей последовательности. Фильтр устанавливается в вертикальном положении. Снимается верхняя крышка фильтра и крышка ванны. Сетка раскладывается по полу помещения, выравнивается, проверяется ее ширина, отсутствие поврежденных звеньев и неровностей кромок. Далее сетка складывается вдвое, в месте изгиба пропускается труба 25 - 40 мм так, чтобы ее концы выступали на 250 - 300 мм по обе стороны сетки, затем сетка сматывается в рулон, начиная с места перегиба, и временно скрепляется в таком положении проволокой.

Рулон поднимают над фильтрами, проволоку снимают и, медленно поворачивая рулон, развешивают сетку на вал, заправляя ее одновременно в направляющие Наружная ветвь панели опускается до уровня 1 - 1,2 м от нижнего вала и прикрепляется в этом положении к станине; вторая ветвь обводится вокруг нижнего вала и поднимается до стыка с наружной панелью. Извлекая в месте стыка стержни сетки, удаляют при необходимости лишние звенья сетки, после чего, пользуясь одним из стержней, сращивают обе ветви панели в бесконечную ленту. После установки панели проверяется правильность положения кромок сеток в направляющих и производится натяг панелей с помощью натяжных болтов.

Заполняют ванну до верхней риски на щупе, входящем в комплект фильтров.

После заполнения ванны фильтр должен включаться в работу на 1 - 2 ч (фильтры с ручным приводом проворачиваются с таким расчетом, чтобы каждая точка панели прошла бы через ванну не менее 2 раз), после чего останавливается на 0,5 - 1 ч для стока избытка масла, и ванна доливается до указанного уровня.

Заводы - изготовители фильтров Кд - Домодедовский завод кондиционеров Минстройдормаша, Харьковский завод кондиционеров Минстройдормаша. Разработчик фильтров Кд - ЦНИИпромзданий Госстроя СССР. Калькодержатель фильтров Кд, КдМ, КТ, КТЦ и ФС - ВНИИкондиционер.

Плоские ячейковые фильтры

Конструкция унифицированного ячейкового фильтра представлена на рис. 16.

Описание: Описание: Описание: Описание: 1

Рис. 16. Унифицированный фильтр Фя

1 - ячейка; 2 - установочная рамка; 3 - защелка

Ячейка фильтра Фя представляет собой разъемную металлическую коробку, закрепленную в установочной рамке пружинными защелками.

Ячейка состоит из корпуса, куда укладывается фильтрующий слой, и крышки, которые плотно вставляются в рамку и защемляются в ней при сборке выштампованными зигзагами на боковых стенках обеих деталей. Корпус и крышка снабжены опорными решетками, удерживающими фильтрующий слой от выпадения под действием воздушной нагрузки. Рамка ячейки снабжена ручками для tе установки и извлечения.

В зависимости от условий эксплуатации фильтры Фя могут заполняться различными фильтрующими материалами. Разработано четыре типа фильтров Фя: ФяР, ФяВ, ФяП и ФяУ. Обозначения фильтров типа Фя приведены ниже.

Номинальные технические показатели фильтров приведены в табл. 17.

Аэродинамические характеристики всех четырех разновидностей фильтров Фя показаны на рис. 1, пылевые - на рис. 2.

Фильтры ФяР заполняются гофрированными стальными сетками по ГОСТ 3826-66 следующего набора: 5 сеток № 2, 5; 4 - № 1, 2 и 3 - № 63.

Тип фильтра

Характеристика фильтра ячейкового

ФяР

Типа «Рекк» с заполнением из металлических сеток

ФяВ

С заполнением из винипластовых сеток

ФяП

С заполнением из модифицированного пенополиуретана

ФяУ

С заполнением из упругого стелковолокнистого фильтрующего материала

Таблица 17

Показатели

Тип фильтра

ФяР

ФяВ

ФяП

ФяУ

Номинальная пропускная способность, м3

1540

1540

1540

1540

Удельная воздушная нагрузка, м3/(ч ∙ м2)

7000

7000

7000

7000

Начальное сопротивление, Па

50

60

60

40

Пылеемкость (при увеличении сопротивления до 15 Па), г/м2

2300

2200

350

570

Масса, кг

8,39

5,8

4,8

4,4

Сетки промасливаются висциновым, индустриальным или другими маслами. Запыленный фильтр промывается и промасливается для повторного применения. Фильтры ФяР обладают сравнительно большой пылеемкостью и могут применяться во всех случаях, когда допускается небольшое замасливание воздуха и возможно регулярное проведение регенерации.

Фильтры ФяВ заполняются двенадцатью замасленными винипластовыми гофрированными сетками (планками) по ГОСТ 15967-70.

По пылеемкости и эффективности они равноценны фильтрам ФяР. Фильтры ФяВ могут использоваться также в незамасленном состоянии как фильтры сухого типа, но при этом их эффективность несколько снижается. Сухие фильтры ФяВ регенерируются путем промывки в воде, что облегчает их эксплуатацию и позволяет избежать замасливания очищенного воздуха. Не рекомендуется применять сухие фильтры в условиях, когда на них передаются толчки, вибрация и т.п.

Фильтры ФяП заполняются губчатым пенополиуретаном, обработанным для придания ему воздухопроницаемости в растворе щелочи. Фильтры эти менее пылеемки, чем фильтры ФяВ, легко промываются водой и удобны в эксплуатации благодаря легкости регенерации.

Фильтры поставляются по фондовым нарядам управления «Союзглаварматура».

Примечание. Губчатый фильтрующий материал для фильтров ФяП получают в результате обработки пенополиуретана (ППУ) в растворе щелочи. ППУ (паропласт полиуретановый) представляет собой полимерный материал губчато-сотовой структуры (ОСТ 6-05-407-75). Объемный вес ППУ 35 - 55 кг/м3. Поры ППУ разделены тонкими упругими перегородками, т.е. являются относительно закрытыми, поэтому гидравлическое сопротивление ППУ при воздушных нагрузках, применяемых в практике очистки воздуха, значительно больше, чем это может быть допущено по технико-экономическим соображениям.

Для возможности использования ППУ в воздушных фильтрах материал подвергается специальной обработке, направленной на разрушение перегородок, образующих стенки пор. Для этого материал обрабатывается 20 %-ным раствором едкого натра (250 г на 1 л воды). Плотность раствора контролируемая ареометром, должна составлять 20 - 21 %. Раствор обладает коррозирующей способностью, однако его можно приготовлять и хранить в емкостях из стали марки Ст3.

Процесс обработки не может быть ограничен погружением материала в раствор и должен сочетаться с механической обработкой, способствующей заполнению пор раствором и разрушению перегородок пор. Такая обработка может производиться в установке Фр50М с помощью двух обжимающих валков, вращающихся навстречу друг другу и погруженных в раствор щелочи. Установка представляет собой ванну размером 1700×1500×1000 мм, заполняемую раствором. Посредине ванны установлены два валка диаметром 60 мм, зазор между ними равен 1 - 1,5 мм.

В установке предусмотрен электроподогрев раствора и редукторный электропривод валков. Возможен также подогрев раствора водой или паром.

Обжатый материал, совершающий в ванне возвратно-поступательные движения, должен быть погружен в раствор. В противном случае поры, освободившиеся от жидкости, заполняются воздухом, и щелочь не может проникнуть в них.

Для получения удовлетворительной повторяемости результатов обработки необходимо соблюдать определенный режим обработки, за единицу которого принят один цикл обработки, включающий в себя 20 обжимов материала валками и последующую выдержку материала в ванне в течение 30 мин.

Растворение щелочи происходит с выделением тепла. При этом раствор может разогреваться до температуры 85 °С. В дальнейшем раствор охлаждается. Для поддержания постоянной температуры раствора ванна оборудована подогревателем.

Описание: Описание: Описание: Описание: 1

Рис. 17. Дополнительное крепление тонких и податливых фильтрующих материалов в фильтрах ФзП и ФяУ

1 - рамка установочная; 2 - корпус ячейки; 3 - крышка ячейки; 4 - прижим; 5 - прокладка; 6 - фильтрующий материал

Описание: Описание: Описание: Описание: 1

Рис. 18. Панели для установки фильтров Фя

Для использования в системах приточной вентиляции для материала толщиной 20 мм продолжительность обработки целесообразно принять шесть циклов (общая продолжительность - около 3,5 ч) при температуре 30 - 35 °С.

Аэродинамическая характеристика такого материала показана на рис. 1, пылевая - на рис. 2.

Регенерация материала производится путем его промывки. Рекомендуется промывать фильтры в теплой воде с мылом.

Учитывая, что технические условия допускают существенные колебания в объемном весе ППУ и не ограничивают размер пор, следует считаться с возможными колебаниями в аэродинамических и пылевых характеристиках материала. Поэтому перед обработкой ППУ следует предварительно обрабатывать и продувать чистым воздухом один - два небольших образца из каждой партии.

Разработчик методики обработки пенополиуретана и его использования в качестве фильтров - ЦНИИпромзданий Госстроя СССР.

Фильтры ФяУ заполняются упругим стекловолокнистым фильтрующим материалом ФСВУ по ТУ 21-РСФСР-369-75. Пылеемкость фильтров ФяУ несколько меньше, чем ФяВ и ФяР, однако они позволяют избежать регенерации, заменив ее сменой запылившегося материала.

Промышленностью выпускаются фильтры с ячейками высотой 4,0 мм (с 1983 г. высота ячеек фильтра Фя-40, а других типов - 19 мм). Для более надежного закрепления в ячейке ФСВУ и пенополиуретана рекомендуется применять проволочные прижимы (рис. 17). Прижимы можно крепить к корпусу ячейки на сварке или пайке.

Все фильтры можно монтировать в плоские и V-образные панели. Для возможности сборки ячеек в плоские панели в стенках установочных рамок устроено по три отверстия с каждой стороны. Установочные рамки присоединяются друг к другу на болтах или заклепках, и зазоры между ними уплотняются.

ЦНИИпромзданий разработана техническая документация плоских панелей для ячейковых фильтров типа Фя (индекс чертежей Ус39) пропускной способностью от 3 до 40 тыс. м3/ч (рис. 18). Панели модернизированы совместно с институтом Госхимпроект (индекс чертежей Ус39А), их технические показатели приведены в табл. 18.

Таблица 18

Условное обозначение панелей

Пропускная способность, тыс. м3

Число ячеек в панели, шт.

Размеры, мм

А

Б

Ус39А 1×2

3 - 3,5

2 (1×2)

522

1040

Ус39А 2×2

4 - 7

4 (2×2)

1040

1040

Ус39А 2×3

7 - 10

6 (2×3)

1040

1558

Ус39А 3×3

10 - 15

9 (3×3)

Ус39А 3×4

15 - 20

12 (3×4)

1558

2076

Ус39А 3×5

20 - 25

15 (3×5)

2594

Ус39А 4×4

25 - 28

16 (4×4)

2076

Ус39А 4×5

28 - 35

20 (4×5)

2076

2594

Ус39А 4×6

35 - 37

24 (4×6)

3112

Ус39А 5×5

37 - 40

25 (5×5)

2594

2594

Модернизированы также панели для угловой установки в строительных конструкциях фильтров Фя пропускной способностью 10, 20 и 40 тыс. м3/ч воздуха (Ус40А, Ус41А, Ус42А).

Вновь разработана техническая документация на панели для угловой установки фильтров Фя в кондиционерах КТЦ производительностью 10, 20, 31,5 и 40 тыс. м3/ч (Ус51, Ус52, Ус53, Ус54). Эти панели отличаются наличием глухих элементов, служащих для перекрытия зазоров, возникающих по высоте и ширине сопряжения.

Схема панелей для угловой установки приведена на рис. 19, основные технические показатели - в табл. 19.

Таблица 19

Индекс чертежей

Пропускная способность, тыс. м3

Число ячеек в панели, шт.

Размеры, мм

А

Б

В

Г

Ус40А

10

8

876

-

1104

530

Ус41А

20

12

1703

-

1104

515

Ус42А

40

24

1703

-

2140

515

Ус51

10

8

876

876

1301

530

Ус52

20

12

1703

1703

1301

515

Ус53

31,5

18

1703

1703

2051

515

Ус54

40

24

1703

1703

2551

515

Угол между смежными ячейками, установленными в панеле, составляет около 30 °С. Сопротивление панели при этом практически не увеличивается и может приниматься по характеристикам отдельных ячеек.

Карманные ячейковые фильтры

Карманные фильтры предназначаются для очистки воздуха в случаях, когда требуется повышенная эффективность (II класс). Ввиду простоты устройства и эксплуатации они могут применяться и, в других случаях, в частности, при сравнительно высокой начальной запыленности воздуха.

Габаритный чертеж карманного фильтра ФяКП дан на рис. 19.

Фильтр представляет собой раму из элементов углового профиля, в которую укладываются пакеты, состоящие из рамок и плоских карманов, сшитых из нетканого фильтрующего материала ФНИ (ТУ 17-14-156-81). Глубина карманов 600 мм, но может изменяться в зависимости от условий применения фильтров.

Сверху пакеты скрепляются накладкой и крепятся в установочной рамке Фя с помощью защелок.

Технические показатели фильтров ФяКП

Номинальная пропускная способность, м3/ч................................. 2500

Удельная воздушная нагрузка, м3/(ч ∙ м2)........................................ 10000

Начальное сопротивление, Па........................................................ 60

Площадь входного сечения, м2........................................................ 0,25

Развернутая площадь фильтрующего материала, м2...................... 3,8

Количество карманов, шт................................................................ 7

Описание: Описание: Описание: Описание: 1

Рис. 19. Габаритный чертеж карманного фильтра ФяКП

1 - рама; 2 - накладка; 3 - защелка; 4 - фильтрующие элементы

Фильтры могут монтироваться в агрегаты нужной производительности с помощью установочных рамок и плоских панелей (рис. 18).

Разработчик фильтров - ЦНИИпромзданий, фильтрующего материала - ВНИИНТМ МЛП СССР при участии ЦНИИпромзданий.

Складчатые ячейковые фильтры типа ЛАИК

Фильтры типа, ЛАИК (лаборатория аэрозолей института им. Ф.Я. Карпова) предназначены для высокоэффективной очистки воздуха от аэрозолей. В них используют фильтрующие материалы типа ФП («ткань» академика И.В. Петрянова), представляющие собой слой ультратонкого химического волокна со средним диаметром 1,5 мкм уложенного на марлевую подложку. Основные свойства разновидностей материалов, используемых в фильтрах, даны в табл. 20.

Материал ФПП-15-1,5 - гидрофобен, стоек по отношению к концентрированным кислотам и щелочам, спиртам, предельным углеводородам, растворяется в ароматических и хлорированных углеводородах, кетонах, набухает в пластификаторах (ТУ 6-16-2062-76). Может быть использован для улавливания туманов кислот, щелочей, масел при условии, что количество уловленной жидкой фазы не превышает 10 - 20 г/м2 фильтрующей поверхности.

Обладает высоким и стабильным электрическим зарядом, существенно улучшающим фильтрующие свойства материала. При длительной эксплуатации материала заряд стекает.

Таблица 20

Показатели

ФПП-15-1,5

ФПА-15-2

РФМ-0,6

Материал волокна

Перхлорвинил

Ацетилцеллюлоза

Перхлорвинил

Сопротивление потоку воздуха при скорости 1 см/с (воздушная нагрузка 36 м3/(ч ∙ м2), Па

15 ± 3

20 ± 2

Проскок (1-Е) по масляному туману со средним радиусом частиц 0,15 - 0,17 мкм при скорости фильтрации 1 см/с, %, не более

0,1*

3

3

Максимальная допускаемая температура очищаемого воздуха, °С

60

150

60

Минимальная допускаемая температура очищаемого воздуха, °С

-200

Не нормируется

-200

Допускаемая относительная влажность, %, не более

98

90

Не нормируется

Масса, г/м2

30 ± 5

25 ± 5

15 - 23

Размеры, мм:

длина

1500 ± 10

1500 ± 10

До 10000

ширина

660 ± 10

660 ± 10

600

880 ± 20

880 ± 20

880 ± 20

_____________

* При стекании заряда в процессе длительной эксплуатации коэффициент проскока ФПП-15-1,5 может увеличиться от 2 до 10 %.

Не обладает свойством самовозгорания, однако может гореть в пламени других веществ с выделением вредных хлоросодержащих веществ.

Материал ФПА-15-2,0 гидрофилен, стоек к слабым кислотам и щелочам, спиртам, маслам, предельным и ароматическим углеводорорам, не стоек к сильным кислотам, растворяется в кетонах, хлорированных углеводородах и полярных растворителях.

Горюч, но продукты горения нетоксичны (ТУ 6-16-2068-76).

Промышленность выпускает также рулонный материал фильтрующий РФМ-0,6 (ТУ 6-16-1997-75). Материал гидрофобен, стоек к щелочам, не стоек к маслам и органическим растворителям. Обладает электрическим зарядом (см. ФПП-15-1,5).

Фильтры ЛАИК, выпускаемые объединением Союзмединструмент, представляют собой деревянные короба, образуемые П-образными рамками, обтянутыми фильтрующим материалом, причем поперечные элементы рамок попеременно укладываются на входе и на выходе воздуха из фильтра. Рамки скрепляются между собой гвоздями, в результате чего фильтрующий материал плотно зажимается между боковыми планками рамок. Все грани образованных таким образом пакетов обшиваются листами фанеры толщиной 8 - 12 мм. Между слоями фильтрующего материала укладываются гофрированные сепараторы, препятствующие их слипанию.

Во избежании просасывания воздуха через щели между пакетами, образуемыми П-образным и планками и обшивкой, все сопряжения уплотняются фильтрующим материалом.

Объединением выпускаются фильтры различных типоразмеров. В табл. 21 приведены данные по фильтрам, которые по своему начальному сопротивлению могут быть использованы в системах вентиляции и кондиционирования общего назначения (рис. 20).

Примечание. Данные заимствованы из паспорта т ЦБ2.966.000-00 ПС. Более детальных данных о начальном сопротивлении фильтров в паспорте не приводится. Пылеемкость определяется повышением сопротивления на 500 Па при очистке воздуха с начальной концентрацией 0,5 мг/м3 в течение 600 ч.

Таблица 21

Марка фильтра

Пропускная способность, м3/ч,

Начальное сопротивление, Па

Площадь фильтрующей поверхности, м2

Масса, кг

Размеры, мм

при удельной воздушной нагрузке, м3/(ч ∙ м2)

А

В

С

Д

L

108

150

Д 3/6

-

900

100

6

16

636

320

-

-

378

Д 3/16

-

2400

200

15

27

636

320

-

-

528

Д 3/26

2810

-

210

26

38

636

590

-

-

478

СПА 3/15

-

2250

200

15

34

695

605

540

630

470

Д 3/6

-

900

100

6

16

636

320

-

-

378

Д 3/16

-

2400

200

16

27

636

320

-

-

528

Д 3/26

2810

-

210

26

38

636

590

-

-

478

СПА 3/15

-

2250

200

15

34

695

605

540

630

470

СПА 3/17

-

2250

ПО

17

39

695

107

1010

630

355

СПА 3/21

2270

-

180

21

42

695

650

585

630

625

СПВ 3/15

-

2250

200

15

34

695

605

540

630

475

СПВ 3/21

2270

-

180

21

42

695

650

585

630

625

СПГ 3/15

-

2250

200

15

26

690

605

530

620

490

СПГ 3/21

2270

-

180

21

32

690

640

640

575

635

СПГ 3/26

2810

-

210

26

39

665

660

600

605

750

СПД 3/15

-

2250

200

15

23

620

530

-

-

460

СПД 3/17

-

2550

110

17

28

620

995

-

-

335

СПД 3/21

2270

-

180

21

30

620

575

-

-

605

Фильтры ЛАИК выпускаются Белгород-Днестровским заводом медицинских изделий.

Рис. 20. Фильтр ЛАИК

Складчатые ячейковые фильтры ФяЛ (типа ЛАИК) отличаются от других фильтров типа ЛАИК возможностью неограниченного повторного использования основных элементов их конструкции. Замена фильтрующего материала производится периодически по мере того, как сопротивление фильтра вследствие его загрязнения достигает величины, установленной проектом.

Чертеж фильтра показан на рис. 21.

Рис. 21. Габаритный чертеж фильтра ФяЛ

1 - крышка; 2 - П-образная рамка; 3 - гофрированный сепаратор; 4 - направляющие пазы; 5 - боковая стенка

Основные технические показатели фильтра ФяЛ, снаряженного материалом ФПП-15-1,5, приведены в табл. 22.

Аэродинамическая характеристика фильтра ФяЛ показана на рис. 1.

Эффективность фильтра ФяЛ, снаряженного свежим материалом ФПП-15-1,5, близка к абсолютной и практически может приниматься равной 100 %. При испытаниях фильтров после длительного хранения, транспортировки и т.д. обнаруживается существенное снижение эффективности (см. табл. 21). Эффективность фильтров, снаряженных материалом ФПА-15-2, составляет 97 - 99 %.

Таблица 22

Характеристика

Показатель

Пропускная способность, м3

2000

Суммарная, поверхность фильтрующего материала, м2

16

Площадь входного сечения, м2

0,33

Эффективность, %

~100

Пылеемкость фильтра при увеличении сопротивления в два раза, г/м2 (лобового сечения)

430

Начальное сопротивление, Па

9 - 10

Масса, кг

42,7

Фильтр состоит из двух взаимозаменяемых боковых стенок, двух взаимозаменяемых крышек, набора П-образных рамок, гофрированных сепараторов, закладываемых между слоями фильтрующего материала для предотвращения возможности их слипания и обеспечения необходимых зазоров для прохода воздуха.

Боковые стенки имеют штампованные направляющие пазы, и П-образные рамки, фиксирующие выступы, которые размещаются при сборке фильтра в направляющих пазах боковых стенок.

Рамки, кроме того, имеют резиновые прокладки, обеспечивающие герметичность фильтра. Баковые стенки и крышки фильтра соединяются между собой при помощи болтов и имеют планки (с резьбовыми отверстиями), образующие присоединительные фланцы фильтра.

При уменьшении воздушной нагрузки сопротивление фильтра уменьшается, что позволяет при ограниченном верхнем пределе сопротивления фильтра реже заменять фильтрующий материал.

Начальное сопротивление фильтра в значительной мере зависит от качества сепараторов. Они стесняют свободное сечение для прохода воздуха между двумя смежными слоями фильтрующего материала, высота которого равна 5 - 6 мм. Вследствие этого сепараторы желательно изготовлять из тонкого материала.

В местах соприкосновения образующих углов сепараторов с фильтрующим материалом последний заглушается, т.е. выключается из работы, что также способствует увеличению начального сопротивления. С течением времени работающие участки материала запыляются, их сопротивление увеличивается и заглушенные участки постепенно тоже включаются в работу. Тем не менее целесообразно применять для изготовления сепараторов материал не только тонкий, но и способный при гофрировании (плиссировке) образовывать остроугольные жесткие складки.

Описание: Описание: Описание: Описание: 1

Рис. 22. Приспособление для сборки ФяЛ

1 - плита; 2 - ребра; 3 - фильтр; 4 - вертикальные стойки; 5 - упорные гайки; 6 - жесткая штанга; 7 - винтовые прижимы

На рис. 22 показана пылевая характеристика фильтра, полученная при удельной воздушной нагрузке 125 м3/(ч ∙ м2).

Как видно из графика, эффективность фильтра равна 100 %, а пылеемкость невелика, всего ~10 г/м2 при увеличении сопротивления вдвое больше против начального, т.е. ~450 г на ячейку.

Фильтры поставляются в собранном виде, снаряженные фильтрующим материалом. При замене фильтрующего материала сборка и снаряжение фильтров производится непосредственно потребителем.

Сборка фильтров производится с помощью специального приспособления типа ИП9 (рис. 22).

Приспособление состоит из двух основных узлов: плиты, на поверхности которой имеются ребра, препятствующие смещению фильтра во время его сборки, и укреплены вертикальные стойки, на концах которых имеется резьба для навертывания упорных гаек, и из горизонтальной жесткой штанги с двумя винтовыми прижимами.

Сборка производится в следующем порядке. Отвертывают гайки на концах вертикальных стоек приспособления и снимают горизонтальную штангу. На плиту приспособления устанавливают корпус фильтра со снятой верхней крышкой так, чтобы направляющие ребра плиты фиксировали положение нижней крышки. На нижнюю крышку фильтра по всей ее глубине укладывают слой фильтрующего материала, причем нижний слой материала должен быть обращен ворсом к крышке. На материал укладывают замкнутую прямоугольную рамку, после чего материал перестилают по рамке на противоположную сторону. Укладывают первую П-образную рамку, обращенную поперечной планкой в сторону свободного конца фильтрующего материала, и сепаратор. Затем фильтрующий материал перестилают по П-образной рамке и сепаратору в противоположную сторону. По новому слою материала укладывают вторую П-образную рамку, на этот раз поперечной планкой в сторону, противоположную поперечной планке первой П-образной рамки. Далее укладывается сепаратор и ткань перестилается на противоположную сторону и т.д. Последней укладывается замкнутая прямоугольная рамка. Между ней и последней П-образной рамкой сепаратор не прокладывается.

Выступающие за наружный периметр части поперечных перекладин размещаются в пазах боковых стенок; продольные перекладины с одной стороны обклеены резиновыми прокладками для герметизации стыков.

Фильтрующий материал укладывается двумя рабочими. При извлечении из ящика его рекомендуется осторожно намотать пористой стороной внутрь на круглый стержень диаметром 30 - 40 мм, лучше всего на пластмассовую трубу или на деревянный стержень с очень гладкой поверхностью длиной 1 м. При укладке материал осторожно расправляют и слегка натягивают.

Стыкование полотнищ производят путем укладки концов их внахлест с перекрытием на 8 - 10 см так, чтобы сверху был материал, являющийся первым по ходу воздуха. Марлевую подложку в верхнем слое осторожно отделяют от волокна и в промежутках вводят нижний слой материала.

Весь набор рамок с верхней крышкой после сборки выступает над верхней кромкой боковин на .несколько сантиметров.

Сжатие фильтра винтовыми прижимами производят до совмещения отверстий боковых стенок с отверстиями фланцев верхней крышки, после чего боковые стенки соединяют с верхней крышкой болтами. Собранные фильтры монтируют в камеру с помощью установочных рам (чертеж Фр46А ЦНИИпромзданий), которые изготовляют потребители (рис. 23).

Крепление фильтров производят при помощи болтов, вворачиваемых в резьбовые отверстия фланцев фильтра через уплотняющие прокладки по всему контуру ячейки со стороны входа воздуха (вакуумная резина, фетр, пенополиуретан). Особое внимание должно быть обращено на уплотнение вертикального зазора, что достигается применением широких фланцев установочных рам и прокладок, перекрывающих, кроме фланцев фильтра, торцы продольных П-образных планок.

Описание: Описание: Описание: Описание: 1

Рис. 23. Установочная рама для ФяЛ

Описание: Описание: Описание: Описание: 1

Рис. 24. Плоская панель для установки ФяЛ

Описание: Описание: Описание: Описание: 1

Рис. 25. Фильтр-камера для установки ФяЛ

1 - фильтр; 2 - установочная рама; 3 - перемычка; 4 - дверка

Установочные рамы могут компоноваться в плоские панели производительностью до 120 тыс. м3/ч, показанные схематично на рис. 24 (по чертежам ЦНИИпромзданий Фр46ПЗ*). Основные размеры плоских панелей для фильтров ФяЛ приведены в табл. 23.

_____________

* Индекс ПЗ обозначает, что чертежи выполнены на уровне проектного задания.

Крепление установочных рам в вентиляционных камерах, агрегатах и кондиционерах к металлическим обрамлениям соответствующих проемов должно производиться с соблюдением необходимой герметизации.

Таблица 23

Пропускная способность панели, тыс. м3

Габаритные размеры, мм

Число фильтров, шт.

Число установочных рам Фр46А, шт.

А

Б

20

3280

1820

12

4

30

2400

3640

18

6

40

3280

3640

24

8

60

4800

3640

36

12

80

6440

3640

48

16

120

4800

7280

72

24

При установке фильтров необходимо обращать внимание на правильное расположение сторон входа и выхода воздуха. На стороне входа воздуха материал обращен наружу волокнистым слоем, ,на стороне выхода - марлевой подложкой.

При использовании фильтров в качестве секции кондиционера Кд удобнее пользоваться фильтр-камерами, схематически показанными на рис. 25 (чертежи ЦНИИпромзданий Фр51, 52, 53, 54, 55, 56 ПЗ). Для присоединения к другим секциям кондиционера фильтр-камеры имеют фланцы с размерами, соответствующими размерам существующих типовых секций.

Основные размеры и технические показатели фильтр-камер для фильтров ФяЛ приведены в табл. 24.

Таблица 24

Индекс чертежей фильтр-камер

Пропускная способность камеры, тыс. м3

Габаритные размеры, мм

Число фильтров, шт.

Число установочных рам Фр46А, шт.

А

Б

В

Фр51ПЗ

10

3000

2000

850

6

2

Фр52ПЗ

20

4000

2000

1610

12

4

Фр53ПЗ

40

4000

3046

2120

24

8

Фр54ПЗ

60

4000

3400

2661

36

12

Фр55ПЗ

80

5000

4000

3161

48

16

Фр56ПЗ

120

6000

6000

3161

72

24

Внутри камер находятся установочные рамы для фильтров и перегородки, обеспечивающие равноценное сопротивление обоих каналов для прохода воздуха.

Для свободного доступа в камеры и для монтажа и демонтажа фильтров камеры снабжены герметичными дверками, проемы которых имеют размер 1650×600, что обеспечивает свободный проход человека.

Монтаж и демонтаж фильтров производится двумя-тремя рабочими, что также предусмотрено конструкцией камер.

Фильтр-камеры могут быть выполнены также в строительных конструкциях.

Фильтры следует устанавливать в местах удобных и доступных для обслуживания. Необходимо предусматривать возможность регулярного демонтажа фильтров для смены фильтрующего материала. Фильтры можно устанавливать как на всасывающей, так и на нагнетательной стороне вентиляционных систем. В обоих случаях необходимо принимать меры для обеспечения равномерного распределения воздуха по всему сечению установленных фильтров.

Срок использования фильтра в эксплуатации определяется ростом сопротивления по мере запыления фильтрующего слоя и располагаемым напором вентиляционной системы (кондиционера). Сопротивление фильтра следует систематически контролировать с помощью тягомеров.

По достижении заданного сопротивления фильтры демонтируют и перезаряжают. Для этого их устанавливают в приспособлении ИП9 и сжимают винтовыми прижимами, затем извлекают болты сопряжений верхней крышки с боковыми стенками, крышку снимают и извлекают весь пакет.

П-образные планки и сепараторы последовательно снимают и протирают влажной тряпкой, а освободившийся запыленный материал свертывают в рулон и уничтожают.

Работать в марлевых повязках, после окончания разборки вымыть руки теплой водой с мылом.

Перезарядка одной ячейки выполняется двумя рабочими примерно за 1 ч.

Завод - изготовитель фильтров - Серпуховский механический завод Минлегпищемаш. Разработчик фильтров - ЦНИИпромзданий Госстроя СССР. Разработчик фильтрующего материала - Научно-исследовательский физико-химический институт им. Карпова.

Панельные фильтры Фр-4

Панельные волокнистые фильтры Фр-4 применяют в кондиционерах харьковского завода «Кондиционер» при небольшой запыленности воздуха.

Фильтр Фр-4 состоит из корпуса, в котором укреплена зигзагообразная неподвижная решетка из прутков (рис. 26). Фильтрующий материал вручную укладывают на решетку и фиксируют скобками на сгибах, при этом образуются гофры и фильтрующая поверхность развивается в четыре раза по сравнению с входным сечением фильтра.

Запылившийся материал по достижении максимально допустимого сопротивления извлекается из корпуса. При этом следует остановить вентагрегат, зайти в установленную перед фильтром камеру обслуживания, извлечь фильтрующие скобы, закрепить нижний конец полотна материала на оси катушки и намотать материал на катушку при помощи электропривода, снять катушку с материалом и вымести ее за пределы камеры. Смена материала в каждой секции производится двумя рабочими в течение 30 мин.

Рис. 26. Панельный волокнистый фильтр Фр-4

1 - электропривод; 2 - катушка; 3 - корпус; 4 - неподвижная решетка

Фильтры собираются из базовых секций двух типоразмеров номинальной пропускной способностью 31,5 и 40 тыс. м3/ч. Фильтры пропускной способностью 60 и 80 тыс. м3/ч собираются из двух секций, установленных параллельно; фильтры на 120 и 160 тыс. м3/ч - из четырех секций, устанавливаемых в два ряда по высоте, по две секции в каждом ряду; фильтры на 200 и 250 тыс. м3/ч - аналогичным образом из шести секций. Технические показатели фильтров приведены в табл. 25.

В фильтрах используется фильтрующий материал ФРНК производства Димитровградского коврово-суконного комбината в виде полотнищ шириной 1700 мм (ТУ РСФСР-17-9-108-73). Материал представляет собой волокнистый слой толщиной 35 мм, сформированный из смеси синтетических волокон (нитрон и лавсан) и связанный водной дисперсией поливинилхлорида.

Таблица 25

Марка фильтра

Номинальная производительность кондиционера КТЦ, тыс. м3

Число секций и укладываемых матов, шт.

Размер укладываемых матов фильтрующего материала, м

Удельная воздушная нагрузка, м2/ч ∙ м3

Размеры фильтра, мм

Масса, кг

на рабочее сечение фильтра

на фильтрующий материал

H

А

Б

03.21160

31,5

1

8,5×1,73

10000

2180

2643

2051

1703

270

04.21110

40

1

10,5×1,73

10500

2230

3143

2551

1703

330

06.21110

63

2

8,5×1,73

10000

2180

3143

2551

3453

520

08.21110

80

2

10,5×1,73

10500

2230

3143

2551

3453

640

12.21110

120

4

8,5×1,73

9500

2070

4643

4051

3453

1070

16.21110

160

4

10,5×1,73

10500

2230

5643

5051

3453

1330

20.21110

200

6

8,5×1,73

10600

2310

4643

4051

5203

1570

25.21110

250

6

10,5×1,73

11000

2330

4643

5051

5203

1940

Рис. 27. Габаритный чертеж фильтра ФЭ

Аэродинамические и пылевые характеристики материала даны на рис. 1 и 2.

Перед фильтром со стороны входа воздуха устанавливаются камеры обслуживания. Ширина камер обслуживания для фильтров пропускной способностью от 31,5 до 160 тыс. м3/ч равна 622 мм, 200 и 250 тыс. м3/ч - 1122 мм.

Удаление запылившегося материала сопровождается пылением, поэтому предусматривается отсос воздуха из камер обслуживания.

Завод-изготовитель фильтров - Харьковский завод «Кондиционер» Минстройдормаш. Разработчик фильтров - ВНИИкондиционер Минстройдорма. Изготовитель фильтрующего материала ФРНК - Димитровградский комбинат технических сукон. Разработчик фильтрующего материала - ЦНИИшерсти Минлегпрома СССР при участии ВНИИкондиционер.

Электрические воздушные фильтры

Электрические фильтры типа ФЭ могут быть использованы для эффективной очистки наружного воздуха при практически любой его запыленности, а также для очистки рециркуляционного воздуха от любой зернистой пыли в широких пределах запылённости (см. табл. 2).

Фильтры ФЭ собираются из унифицированных ячеек двух размеров: 758×250×465 и 965×250×465 мм. Максимальная пропускная способность ячеек в металлическом корпусе показана на рис. 27. Глубина фильтра 510 мм. Число ячеек в одном вертикальном ряду, а также число рядов определяют в зависимости от необходимой пропускной способности фильтра. Каждая ячейка фильтра имеет ионизационную зону с коронирующими проволочными электродами, укрепленными к токоподводящим траверсам. Траверсы изолированы от корпуса ячейки с помощью тарельчатых изоляторов проходного типа. Высокое напряжение к траверсам подводят через клеммы и откидные перемычки.

Коронирующие электроды разделены выступающими удлиненными пластинками осадительной зоны, которые монтируют на стержнях круглого сечения с помощью втулок, закрепляющих их на расстояниях 9 - 10 мм между собой. Стержни с заряженными электродами устанавливают на изоляторах, а с заземленными электродами крепят непосредственно к боковым стенкам ячейки.

Поток очищаемого воздуха вначале протекает через ионизационную зону. К коронирующим электродам подводят напряжение 13000 В положительного потенциала, в результате чего в окружающем их пространстве образуется интенсивное электрическое поле и происходит коронный электрический разряд. Образующиеся при этом воздушные ионы, несущие положительный заряд, перемещаются к заземленным электродам зоны ионизации, причем некоторые из них, сталкиваясь по пути с пылевыми частицами, передают им свой заряд. Далее воздух, несущий уже заряженные частицы пыли, протекает через осадительную зону, к пластинкам которой через одну подводится напряжение 6500 В положительного потенциала. Промежуточные пластинки заземлены. Заряженные пылевые частицы, оказавшись при течении через щелевые каналы между электродами, под влиянием образующегося здесь однородного электрического поля движутся к заземленным пластинкам и осаждаются на них. Полнота осаждения зависит от размера частиц, величины приобретаемого ими заряда и скорости движения воздуха и в нормальных условиях достигает большой величины.

Осажденную пыль периодически смывают водой при промывке. Частицы, осевшие на осадительные электроды и отдавшие им свой заряд, могут срываться воздушным потоком, поэтому за осадительным пакетом устанавливают противоуносный пористый фильтр, который предотвращает также попадание воды в воздуховоды при промывке.

Противоуносный фильтр представляет собой разъемную рамку, заполняемую фильтрующим материалом типа ФСВУ или губчатым. Она крепится к корпусу фильтра. В случае надобности на входе в фильтр устанавливается защитная проволочная сетка.

Корпуса фильтров состоят из вертикальных и горизонтальных стенок, соединяемых болтами. Присоединительные фланцы корпусов допускают непосредственное соединение с секциями кондиционеров типа Кд номинальной производительностью 10, 20, 40, 60, 80 и 120 тыс. м3/ч.

Габаритные размеры фильтров приведены в табл. 26.

Таблица 26

Типоразмер

Размер, мм

В

В1

В2

H1

H2

H3

Ф1Э1

846

772

820

1840

1804

1756

Ф3Э2

1616

1532

1580

1840

1804

1756

Ф5Э3

2126

2042

2090

2344

2308

2260

Ф8Э4

2661

2677

2625

3098

3062

3014

Ф10Э5

3161

3077

3125

3098

3062

3014

Ф14Э6

3161

3077

3125

4598

4562

4514

Ф18Э7

4161

4077

4125

4598

4562

4514

Скорость воздуха в сечении кондиционеров при их производительности, соответствующей номинальной, составляет 3 м/с, т.е. больше, чем допустимо в электрофильтрах. Для применения электрофильтров предусмотрено более полное использование габаритного сечения кондиционеров за счет высоты их подставок. При этом фильтры устанавливают непосредственно на бетонном основании, как показано на рис. 28.

Для обслуживания фильтра и его присоединения к кондиционеру сконструированы специальные переходные камеры, которые также устанавливают на бетонном основании и крепят к нему с помощью анкерных болтов. Камеры могут быть снабжены механизированным промывным устройством с приводом. Дверцы камер снабжены защитной электрической блокировкой и лампочкой, сигнализирующей о наличии напряжения.

Комплектация установок электрофильтров в типовых кондиционерах Кд приведена в табл. 27.

Таблица 27

Индекс чертежей фильтров

Индекс чертежей комплектующих элементов

камеры переходной

промывного устройства

агрегата питания

Ф1Э1

Кд1007П

УС5

В-13/6,5-30

Ф3Э2

Кд2007П

УС6

Ф5Э3

Кд4007П

УС7

Ф8Э4

Кд6007П

УС8

Ф10Э5

Кд8007П

УС9

Ф14Э6

Кд12007П

УС10

Ф18Э7

Кд16007П

УС11

При устройстве кондиционеров или приточных камер в строительных конструкциях установку фильтров удобно производить с помощью тех же переходных элементов.

С увеличением расхода воздуха эффективность фильтра убывает. Максимальная пропускная способность фильтра ограничена величинами, указанными в табл. 28, где приведены основные технические показатели фильтров по рис. 27 при удельной воздушной нагрузке 7200 м3/(ч ∙ м2) входного сечения.

Таблица 28

Наименование

Типоразмер

Ф1Э1

Ф3Э2

Ф5Э3

Ф8Э4

Ф10Э5

Ф14Э6

Ф18Э7

Номинальная пропускная способность, м3

10000

19000

33000

55000

66000

100000

130000

Площадь рабочего сечения (округленно), м2

1

3

5

8

10

14

18

Число ячеек шириной, мм:

758

7

14

-

24

-

-

-

965

-

-

18

12

36

54

72

Потребляемый ток, мА

7

14

24

42

54

81

110

Потребляемая мощность, Вт

100

200

350

600

800

1100

1500

Расход воды для промывки фильтра при давлении 3 атм, м3

0,2

0,5

1,0

1,5

2

3,0

4,0

Масса, кг

205

367

583

963

1120

1640

2150

Сопротивление электрофильтра без противоуносного фильтра очень мало и при максимальной нагрузке составляет примерно 5 - 10 Па.

При наличии противоуносного фильтра сопротивление фильтра принимают равным сопротивлению использованного фильтрующего материала. В случае надобности электрофильтр может применяться без противоуносного фильтра. В этом случае необходимо более часто промывать фильтр или смачивать осадительные электроды медленно испаряющимися вязкими жидкостями (маслами).

Пылеемкость фильтра зависит от заполнителя противоуносного фильтра. Пылевая характеристика при стекловолокнистом противоуносном фильтре представлена на рис. 2. После замены запыленного противоуносного фильтра чистым сопротивление электрофильтра восстанавливается до первоначального значения.

Фильтры могут промываться вручную с помощью шланга с наконечником или с помощью автоматизированного промывного устройства, схематически показанного на рис. 28.

Промывное устройство представляет собой установку, состоящую из вертикальной штанги-трубы с закрепленными на ней форсунками. В установке применяются форсунки с плоским вертикальным факелом распыления воды. Каждая форсунка закрепляется накидной гайкой, что позволяет ориентировать ее в нужном положении.

Штанга, закрепленная на ролике, насаженном на горизонтальном уголке, перемещается по поперечному сечению промежуточной камеры. Во избежание отклонения штанги нижняя ее часть снабжена упорным роликом с одной стороны и скобой - с другой, скользящими по направляющей.

Привод промывной установки состоит из редуктора, агрегатированного с электродвигателем, двух звездочек и цепи. Вода подается в штангу через гибкий шланг и вентиль с электромагнитным приводом, катушка которого подключена параллельно с электродвигателем привода промывного устройства, т.е. включается одновременно при помощи одного и того же пускателя.

Предусматриваются два параллельных пускателя: один смонтирован на стенке промежуточной камеры для ручного местного управления; другой - на диспетчерском щитке для дистанционного управления. Промывка может производиться холодной или подогретой водой.

Для питания электрофильтров типа ФЭ выпрямленным током высокого напряжения применяют полупроводниковые электроагрегаты типа В-13/6,5-30. Агрегаты собраны по схеме выпрямления с удвоением напряжения и заземленным отрицательным полюсом. Максимальный ток нагрузки агрегатов составляет 30 мА при напряжении положительной полярности 13000 и 6500 В.

Принципиальная схема агрегата показана на рис. 29.

Питающее напряжение от сети 220 В подается через контакты блокировки дверцы S4 и S5, контакты главного контактора К1 и переключатель нагрузки В1 на первичную обмотку высоковольтного трансформатора Т. Вторичное напряжение трансформатора через высоковольтные полупроводниковые выпрямители V1 и V2 подается на конденсаторы С1 и С2. Конденсаторы включены последовательно и обеспечивает на выходах агрегата постоянное напряжение 6500 В и 13000 В.

Конденсаторы С1 и С2 шунтированы резисторами R1 и R2 для снятия остаточного электрического заряда с фильтра при выключении электроагрегата.

Со стороны заземленного вывода отрицательной полярности включены реле максимальной нагрузки К2, шунтированное регистром R3 и отключающее питание агрегата при перегрузках при коротких замыканиях, миллиамперметр РА с переключателем В2 пределов измерения 5 и 50 мА, газовый разрядник F2 для защиты реле и миллиамперметра. Миллиамперметр закорочен контактами кнопки S3. Силу тока можно измерить, нажав кнопку S3.

Описание: Описание: Описание: Описание: 1

Рис. 28. Установка фильтра ФЭ в кондиционере

1 - переходная камера; 2 - привод промывочного устройства; 3 - фильтр ФЭ; 4 - штанга; 5 - форсунки

Включение высокого напряжения осуществляется с помощью контактора К1, в цепь которого включены следующие контакты: нормально открытый контакт кнопки включения S1, который блокируется контактом контактора K2, нормально закрытый контакт кнопки выключения S1, а также нормально закрытый контакт реле максимального тока К2. Высокое напряжение включается нажатием кнопки S1 и контролируется сигнальной лампочкой Н и отключается нажатием кнопки S2.

Для подавления радиопомех предусмотрены конденсаторы С3 и С4. В целях электробезопасности дверца агрегата, открывающая доступ к клеммам высокого напряжения, снабжена блокировочными контактами S4 и S5, отключающими сеть от агрегата питания при открывании дверцы.

Все токоподводящие металлические части агрегата соединены с клеммой Е, к которой присоединена также цепь заземления отрицательного полюса выходного напряжения. Агрегат рассчитан на непрерывную длительную работу в закрытом помещении.

Один электроагрегат В-13/6,5-30 может обеспечить питанием фильтры общей пропускной способностью до 15000 - 20000 м3/ч.

Ячейки фильтра соединяют между собой параллельно с помощью клемм и перемычек, предусмотренных в конструкции фильтра.

Фильтры следует устанавливать в местах, доступных и удобных для обслуживания. Необходимо предусматривать возможность извлечения из корпуса фильтра ячеек для их осмотра, очистки от несмывающихся отложений и смены коронирующих электродов, а также возможность извлечения противоуносного фильтра.

Фильтр включается кнопкой, расположенной на лицевой панели агрегата питания. О включении фильтра сигнализирует свечение лампы. Силу тока следует ежедневно проверять по миллиамперметру агрегата питания. При нормальном состоянии электродов сила тока должна быть равна примерно 0,5 - 0,8 мА на одну ячейку.

Фильтры промывают один раз в месяц или чаще в зависимости от запыленности воздуха при значительном снижении тока фильтра или при повышении сопротивления до установленного проектом значения. Расход воды составляет 0,2 м32 входного сечения фильтра или 0,08 м3 на 1000 м3/ч пропускной способности фильтров при давлении воды 3 атм. Промывка ведется при полностью открытом вентиле до возвращения промывного устройства в исходное положение. Необходимо дать стечь воде в течение 5 - 10 мин, а затем рекомендуется включить вентилятор для сдувания оставшихся на пластинках крупных капель, которые могут служить причиной короткого замыкания, и для подсушки фильтра. В зимнее время продувка должна производиться теплым воздухом. При работе без противоуносного фильтра при начальных концентрациях, например 1 мг/м3, промывку рекомендуется производить через каждые 10 - 20 ч работы.

Основные технические показатели электроагрегатов типа В-13/6,5-30

Номинальные выпрямленные напряжения, кВ..................................... 6,5 и 13

Наибольший допустимый ток нагрузки, мА........................................... 30

Питающая сеть:

частота, Гц............................................................................................ 50

напряжение, В...................................................................................... 220

Наибольшая потребляемая мощность, кВт.............................................. 0,6

Габаритные размеры, мм:

длина..................................................................................................... 266

ширина.................................................................................................. 215

высота.................................................................................................... 455

Масса, кг..................................................................................................... 28

При эксплуатации фильтров должны приниматься меры по обеспечению безопасности обслуживающего персонала. Несмотря на малую мощность агрегата питания, заряд, накапливающийся в конденсаторах и конструкции фильтра, достигает величины, опасной для человеческого организма. При выключении фильтра заряд стекает не мгновенно, и прикасаться к токопроводящим элементам фильтра можно не раньше чем через 30 - 35 с после отключения питания, предварительно замкнув их на корпус.

Описание: Описание: Описание: Описание: 1

Рис. 29. Электрическая схема агрегата питания В-13/6,5-30

T - трансформатор; V1 и V2 - полупроводниковые вентили; В1 - переключатель нагрузки; В2 - переключатель миллиамперметра; R1, R2 и R3 - резисторы; С1 и С2 - конденсаторы удвоения напряжения; С3 и С4 - конденсаторы защиты от радиопомех; K1 - главный контактор; К2 - реле максимального тока; РА - миллиамперметр; S1 - кнопка включения; S2 - кнопка выключения; S3 - кнопка миллиамперметра; S4 и S5 - контакты блокировки дверцы; F1, F3 и F4 - предохранители; F2 - разрядник газовый; H - сигнальная лампа

Завод-изготовитель фильтров - Серпуховский механический завод Минлегпищемаш. Разработчик фильтров - ЦНИИпромзданий Госстроя СССР.

Завод-изготовитель источников питания электрофильтров - завод «Мосрентген». Разработчик источников питания - завод «Мосрентген» и ЦНИИпромзданий Госстроя СССР.

Фильтр типа ЭФ-2 представляет собой модификацию фильтра ФЭ. Фильтр выполнен в жестком корпусе тумбочного типа (рис. 30). Ионизационная и осадительные части фильтра объединены в одном узле, который устанавливается в корпусе фильтра через монтажную дверцу. Проволочные коронирующие электроды подвешены к питающим шинам с помощью пружинных подвесок и располагаются между выступающими частями удлиненных пластинок - заземленных осадительных электродов. Во входном патрубке корпуса фильтра смонтирована водоподводящая гребенка с форсунками. Входной патрубок может снабжаться сеткой для предохранения от попадания крупных частиц, способных вызвать короткие замыкания, а также для большей безопасности обслуживания. В выходном патрубке корпуса установлена съемная ячейка противоуносного фильтра. Для заполнения противоуносного фильтра используется пористый слой модифицированного пенополиуретана толщиной 10 - 15 мм или стекловолокнистого материала типа ФСВУ.

Электрофильтр может эксплуатироваться и без противоуносного фильтра, однако в этом случае его необходимо часто промывать. Водораспределительная гребенка также выполнена в виде ячейки. Обе ячейки навлекаются и устанавливаются через проемы в боковых стенках патрубков корпуса фильтра. Переставляя эти ячейки и соответственно узел электродов внутри корпуса, можно использовать фильтр как для правого, так и для левого подсоединения к воздуховодам. В днище корпуса фильтра установлен сифон для спуска промывочной воды в канализацию.

Рис. 30. Габаритный чертеж ЭФ-2

а - основная конструкция; б - конструкция, измененная заводом-изготовителем; 1 - корпус; 2 - ионизационная и осадительная часть; 3 - противоуносный фильтр; 4 - гребенка с форсунками

Агрегат питания типа В-13/6,5-30 может быть установлен на корпусе фильтра либо в удобном для обслуживания месте. При открывании дверки корпуса фильтра блокирующие устройства отключают ток, обеспечивая этим безопасность обслуживания фильтра. С уменьшением расхода воздуха через фильтр его эффективность возрастает. Максимальная пропускная способность фильтров типа ЭФ-2 равна 2000 м3/ч.

Сопротивление фильтров зависит от расхода воздуха и определяется также как в случае фильтров ФЭ.

Основные технические показатели электрофильтров типа ЭФ-2

Максимальная пропускная способность, м3/ч..................................... 2000

Напряжение, В:

на коронирующих электродах............................................................... 13000

на осадительных электродах................................................................. 6500

Потребляемый ток, мА.......................................................................... до 1

Потребляемая мощность, кВт................................................................ до 20

Общая длина коронирующих электродов, м....................................... 3,5

Масса, кг................................................................................................. 90

Фильтры должны устанавливаться в местах, доступных и удобных для обслуживания. Необходимо предусматривать возможность извлечения из корпуса фильтра электродного узла для его осмотра, очистки от несмываемых отложений и смены коронирующих электродов, а также возможность извлечения противоуносного фильтра.

Фильтр включается кнопкой, расположенной на лицевой панели агрегата питания.

Промывка фильтров ведется примерно 3 мин при полностью открытом вентиле.

Другие вопросы эксплуатации аналогичны фильтрам ФЭ.

Электрофильтры поставляются в составе кондиционеров УКВ-1 и УКВ-2 производительностью 11000, 2000 м3/ч.

Завод - изготовитель фильтров - Казанский завод медицинской аппаратуры Минмедпрома СССР. Разработчик электрофильтров - ЦНИИпромзданий Госстроя СССР.

СОДЕРЖАНИЕ

 



© 2013 Ёшкин Кот :-)