Информационная система
«Ёшкин Кот»

XXXecatmenu

ФЕДЕРАЛЬНОЕ АГЕНТСТВО
ПО ТЕХНИЧЕСКОМУ РЕГУЛИРОВАНИЮ И МЕТРОЛОГИИ

НАЦИОНАЛЬНЫЙ
СТАНДАРТ
РОССИЙСКОЙ
ФЕДЕРАЦИИ

ГОСТ Р
54072-2010

Изделия космической техники

МАТЕРИАЛЫ КОМПОЗИЦИОННЫЕ
ПОЛИМЕРНЫЕ

Номенклатура показателей

Москва

Стандартинформ

2011

Предисловие

Цели и принципы стандартизации в Российской Федерации установлены Федеральным законом от 27 декабря 2002 г. № 184-ФЗ «О техническом регулировании», а правила применения национальных стандартов Российской Федерации - ГОСТ Р 1.0-2004 «Стандартизация в Российской Федерации. Основные положения»

Сведения о стандарте

1 РАЗРАБОТАН Обществом с ограниченной ответственностью «Композит»

2 ВНЕСЕН Техническим комитетом по стандартизации ТК 273 «Композиционные материалы и изделия из них»

3 УТВЕРЖДЕН И ВВЕДЕН В ДЕЙСТВИЕ Приказом Федерального агентства по техническому регулированию и метрологии от 30 ноября 2010 г. № 726-ст

4 ВВЕДЕН ВПЕРВЫЕ

Информация об изменениях к настоящему стандарту публикуется в указателе «Национальные стандарты», а текст изменений и поправок - в ежемесячно издаваемых информационных указателях «Национальные стандарты». В случае пересмотра или отмены настоящего стандарта соответствующее уведомление будет опубликовано в издаваемом информационном указателе «Национальные стандарты». Соответствующая информация, уведомление и тексты размещаются в информационной системе общего пользования - на официальном сайте Федерального агентства по техническому регулированию и метрологии в сети Интернет

СОДЕРЖАНИЕ

ГОСТ Р 54072-2010

НАЦИОНАЛЬНЫЙ СТАНДАРТ РОССИЙСКОЙ ФЕДЕРАЦИИ

Изделия космической техники

МАТЕРИАЛЫ КОМПОЗИЦИОННЫЕ ПОЛИМЕРНЫЕ

Номенклатура показателей

Space technology products. Polymer composites. List of indices

Дата введения - 2011-07-01

1 Область применения

Настоящий стандарт распространяется на однонаправленно-армированные непрерывными волокнами композиционные полимерные материалы (далее - КПМ), применяемые для изготовления изделий космической техники, несущих силовые нагрузки, и устанавливает номенклатуру показателей их состава и свойств.

Стандарт предназначен для обеспечения правильного представления наименования и размерности показателей свойств КПМ и однозначности их записей и кодирования в технической и нормативной документации, документах автоматизированных информационно-поисковых фактографических систем и базах данных.

Классификация КПМ - по ГОСТ Р 50579.

2 Нормативные ссылки

В настоящем стандарте использованы ссылки на следующие стандарты:

ГОСТ Р 50109-92 Материалы неметаллические. Метод испытания на потерю массы и содержание летучих конденсирующихся веществ при вакуумно-тепловом воздействии

ГОСТ Р 50578-93 Материалы композиционные полимерные. Метод испытания на сдвиг перекашиванием пластины

ГОСТ Р 50579-93 Материалы композиционные полимерные. Классификация

ГОСТ 9.706-81 Единая система защиты от коррозии и старения. Материалы полимерные. Методы испытаний на стойкость к радиационному старению

ГОСТ 12.1.005-88 Система стандартов безопасности труда. Общие санитарно-гигиенические требования к воздуху рабочей зоны

ГОСТ 12.1.007-76 Система стандартов безопасности труда. Вредные вещества. Классификация и общие требования безопасности

ГОСТ 12.1.044-89 (ИСО 4589-84) Система стандартов безопасности труда. Пожаровзрывоопасность веществ и материалов. Номенклатура показателей и методы их определения

ГОСТ 25.601-80 Расчеты и испытания на прочность. Методы механических испытаний композиционных материалов с полимерной матрицей (композитов). Метод испытания плоских образцов на растяжение при нормальной, повышенной и пониженной температурах

ГОСТ 25.602-80 Расчеты и испытания на прочность. Методы механических испытаний композиционных материалов с полимерной матрицей (композитов). Метод испытания на сжатие при нормальной, повышенной и пониженной температурах

ГОСТ 25.603-82 Расчеты и испытания на прочность. Методы механических испытаний композиционных материалов с полимерной матрицей (композитов). Метод испытания на растяжение кольцевых образцов при нормальной, повышенной и пониженной температурах

ГОСТ 25.604-82 Расчеты и испытания на прочность. Методы механических испытаний композиционных материалов с полимерной матрицей (композитов). Метод испытания на изгиб при нормальной, повышенной и пониженной температурах

ГОСТ 4647-80 Пластмассы. Метод определения ударной вязкости по Шарпи

ГОСТ 4650-80 Пластмассы. Методы определения водопоглощения

ГОСТ 4651-82 Пластмассы. Метод испытания на сжатие

ГОСТ 6433.2-71 Материалы электроизоляционные твердые. Методы определения электрического сопротивления при постоянном напряжении

ГОСТ 9550-81 Пластмассы. Методы определения модуля упругости при растяжении, сжатии и изгибе

ГОСТ 10456-80 Пластмассы. Метод определения поведения пластмасс при контакте с раскаленным стержнем

ГОСТ 11262-80 Пластмассы. Метод испытания на растяжение

ГОСТ 12020-72 Пластмассы. Методы определения стойкости к действию химических сред

ГОСТ 15139-69 Пластмассы. Методы определения плотности (объемной массы)

ГОСТ 15173-70 Пластмассы. Метод определения среднего коэффициента линейного теплового расширения

ГОСТ 17302-71 Пластмассы. Метод определения прочности на срез

ГОСТ 18197-82 Пластмассы. Метод определения ползучести при растяжении

ГОСТ 18616-80 Пластмассы. Метод определения усадки

ГОСТ 20214-74 Пластмассы электропроводящие. Метод определения удельного объемного электрического сопротивления при постоянном напряжении

ГОСТ 21793-76 Пластмассы. Метод определения кислородного индекса

ГОСТ 22372-77 Материалы диэлектрические. Методы определения диэлектрической проницаемости и тангенса угла диэлектрических потерь в диапазоне частот от 100 до 5 · 106 Гц

ГОСТ 22456-77 Пластмассы. Метод определения содержания нелетучих и летучих веществ в эпоксидных смолах и композициях

ГОСТ 23553-79 Пластмассы. Манометрический метод определения газопроницаемости

ГОСТ 23630.1-79 Пластмассы. Метод определения удельной теплоемкости

ГОСТ 23630.2-79 Пластмассы. Метод определения теплопроводности

ГОСТ 24778-81 Пластмассы. Метод определения прочности при сдвиге в плоскости листа

ГОСТ 25645.323-88 Материалы полимерные. Методы радиационных испытаний

ГОСТ 28157-89 Пластмассы. Методы определения стойкости к горению

РД 50-25645.216-90 Методические указания. Безопасность радиационная экипажа космического аппарата в космическом полете. Метод расчета распределения поглощенной и эквивалентной доз космических излучений по толщине материалов на внешней поверхности космического аппарата на орбитах, проходящих через ЕРПЗ

Примечание - При пользовании настоящим стандартом целесообразно проверить действие ссылочных стандартов в информационной системе общего пользования - на официальном сайте Федерального агентства по техническому регулированию и метрологии в сети Интернет или по ежегодно издаваемому указателю «Национальные стандарты», который опубликован по состоянию на 1 января текущего года, и по соответствующим ежемесячно издаваемым информационным указателям, опубликованным в текущем году. Если ссылочный стандарт заменен (изменен), то при пользовании настоящим стандартом следует руководствоваться заменяющим (измененным) стандартом. Если ссылочный стандарт отменен без замены, то положение, в котором дана ссылка на него, применяется в части, не затрагивающей эту ссылку.

3 Термины и определения

В настоящем стандарте применены следующие термины с соответствующими определениями:

3.1 материалы композиционные полимерные: Материалы, состоящие из двух и более совместимых компонентов (отдельных волокон или армирующих составляющих и связующей их матрицы) и обладающие специфическими свойствами, отличными от суммарных свойств их составляющих компонентов.

3.2 волокно КПМ: Отрезки резко анизометрических материалов относительно короткой длины и очень маленького поперечного сечения.

4 Показатели состава

К показателям состава КПМ относят:

- матричный материал;

- армирующий наполнитель;

- массовую долю наполнителя в процентах;

- массовую долю летучих веществ по ГОСТ 22456 и ГОСТ Р 50109 в процентах;

- толщину монослоя в миллиметрах.

5 Показатели свойств

Номенклатура показателей свойств КПМ приведена в таблицах 1 и 2.

Таблица 1 - Номенклатура и степень обязательности показателей КПМ

Наименование показателя

Обозначение показателя

Единица измерения

Обозначение нормативного документа на показатель

Степень обязательности показателя

1 Механические свойства

1.1 Разрушающее напряжение при растяжении в направлении оси армирования (ось 1)

МПа

ГОСТ 25.601

ГОСТ 25.603

ГОСТ 11262

++

1.2 Разрушающее напряжение при растяжении в направлении, перпендикулярном оси армирования (ось 2)

МПа

ГОСТ 25.601

ГОСТ 11262

++

1.3 Разрушающее напряжение при сжатии в направлении оси армирования

МПа

ГОСТ 25.602

ГОСТ 4651

++

1.4 Разрушающее напряжение при сжатии в направлении, перпендикулярном оси армирования

МПа

ГОСТ 25.602

ГОСТ 4651

++

1.5 Предел текучести при растяжении в направлении оси армирования

sт

МПа

ГОСТ 11262

+

1.6 Относительное удлинение при пределе текучести

xт

%

ГОСТ 11262

+

1.7 Относительное удлинение при разрушении в направлении оси армирования

x1

%

ГОСТ 25.601

ГОСТ 25.602

ГОСТ 11262

++

1.8 Относительное удлинение при разрушении в направлении, перпендикулярном оси армирования

x2

%

ГОСТ 25.601

ГОСТ 25.602

ГОСТ 11262

++

1.9 Модуль упругости при растяжении в направлении оси армирования

МПа

ГОСТ 25.601

ГОСТ 25.603

ГОСТ 9550

++

1.10 Модуль упругости при растяжении в направлении, перпендикулярном оси армирования

МПа

ГОСТ 25.601

ГОСТ 25.603

ГОСТ 9550

++

1.11 Модуль упругости при сжатии в направлении оси армирования

МПа

ГОСТ 25.602

ГОСТ 9550

++

1.12 Модуль упругости при сжатии в направлении, перпендикулярном оси армирования

МПа

ГОСТ 25.602

ГОСТ 9550

++

1.13 Коэффициент Пуассона в плоскости 12 при растяжении в направлении оси армирования

-

ГОСТ 25.601

ГОСТ 25.602

++

1.14 Коэффициент Пуассона в плоскости 12 при сжатии в направлении оси армирования

-

ГОСТ 25.601

ГОСТ 25.603

(+)

1.15 Разрушающее напряжение при сдвиге в плоскости 12

t12

МПа

ГОСТ 24778

ГОСТ Р 50578

++

1.16 Модуль сдвига в плоскости 12

s12

МПа

ГОСТ 24778

(+)

1.17 Разрушающее напряжение при поперечном изгибе

sи

МПа

ГОСТ 25.604

(+)

1.18 Модуль упругости при поперечном изгибе

Еи

МПа

ГОСТ 25.604

ГОСТ 9550

(+)

1.19 Разрушающее напряжение на срез

sср

МПа

ГОСТ 17302

+

1.20 Длительная прочность при растяжении

st

МПа

ГОСТ 18197

+

1.21 Долговечность при ползучести при растяжении

tp

ч

ГОСТ 18197

+

1.22 Сопротивление усталости при циклическом растяжении, сжатии и растяжении-сжатии

smax

-

Технические условия на материал

+

1.23 Разрушающее напряжение при смятии

sсм

МПа

Технические условия на материал

+

2 Физико-химические свойства

2.1 Плотность

r

г/см3

ГОСТ 15139

++

2.2 Коэффициент линейного теплового расширения в направлении оси армирования

a1

°C-1

ГОСТ 15173

+

2.3 Коэффициент линейного теплового расширения в направлении, перпендикулярном оси армирования

a2

°C-1

ГОСТ 15173

+

2.4 Теплопроводность в направлении оси армирования

l1

Вт/м×К

ГОСТ 23630.2

+

2.5 Теплопроводность в направлении, перпендикулярном оси армирования

l2

Вт/м×К

ГОСТ 23630.2

+

2.6 Удельная теплоемкость

Cp

Дж/кг×К

ГОСТ 23630.1

+

2.7 Газопроницаемость

G

м×Па-1×с-1

ГОСТ 23553

+

2.8 Ударная вязкость

a

кДж/м2

ГОСТ 4647

+

2.9 Предельное водопоглощение

Mmax

%

ГОСТ 4650

ГОСТ 12020

+

2.10 Коэффициент влагопроницаемости

Р

г×см/(см2×с)

ГОСТ 12020

+

2.11 Коэффициент диффузии влаги

D

см2

ГОСТ 12020

+

2.12 Удельное объемное электрическое сопротивление

rv

Ом×м

ГОСТ 20214

ГОСТ 6433.2

+

2.13 Удельное поверхностное электрическое сопротивление

rs

Ом

ГОСТ 6433.2

+

2.14 Диэлектрическая проницаемость

e

-

ГОСТ 22372

+

2.15 Радиационная удельная объемная электропроводимость

sp

См/м

ГОСТ 25645.323

+

2.16 Поглощенная доза излучения

Dи

кГр

ГОСТ 9.706

ГОСТ 25645.323

РД 50-25645.216

++

2.17 Радиационная потеря массы

Мр

%

Технические условия на материал

+

3 Показатели надежности

3.1 Гарантийный срок хранения

-

Мес.

Технические условия на материал

+

4 Дизайн

4.1 Внешний вид

-

Соответствие образцу-эталону

Технические условия на материал

+

4.2 Цвет

-

Соответствие образцу-эталону

Технические условия на материал

+

5 Технологические свойства

5.1 Усадка

-

%

ГОСТ 18616

+

Примечания

1 Знаком «++» обозначены основные показатели КПМ. К ним относят показатели, необходимые для проектирования деталей, работающих при статических силовых нагрузках. Знаком «(+)» обозначены показатели, определяемые на этапах разработки материалов. Знаком «+» обозначены дополнительные показатели КПМ. К ним также относят показатели, определяемые по требованию потребителя. По согласованию с потребителем допускается дополнение состава основных и дополнительных показателей и их количества в соответствии с нормативной и технической документацией на конкретную продукцию.

2 Знаки «+» и «-», используемые в качестве верхних индексов в механических характеристиках, относятся к нагружению соответственно при растяжении и при сжатии.

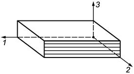
3 Направления осей координат 1, 2, 3 приведены на рисунке 1.

Рисунок 1 - Направление осей координат

Таблица 2 - Номенклатура основных показателей безопасности КПМ

Наименование показателя

Обозначение показателя

Единица измерения

Обозначение нормативного документа на показатель

1 Кислородный индекс

КИ

%

ГОСТ 12.1.044

ГОСТ 21793

2 Показатель токсичности продуктов горения полимерных материалов

НcL50

г×м-3

ГОСТ 12.1.044

3 Температура тления

t

°С

ГОСТ 12.1.044

4 Коэффициент дымообразования

D

м2/кг

ГОСТ 12.1.044

5 Стойкость к горению

V

мм/с

ГОСТ 28157

6 Предельно допустимая концентрация веществ, выделяемых материалом при хранении

пдк

мг/м3

ГОСТ 12.1.005

7 Степень воздействия на организм

Класс опасности

-

ГОСТ 12.1.007

8 Стойкость к воспламенению от раскаленного стержня

t, L

с, мм

ГОСТ 10456

9 Температура самовоспламенения

t

°C

ГОСТ 12.1.044

 

Ключевые слова: материалы композиционные полимерные, номенклатура показателей, показатели состава, показатели свойств

 



© 2013 Ёшкин Кот :-)