Информационная система
«Ёшкин Кот»

XXXecatmenu

МИНИСТЕРСТВО ПРОМЫШЛЕННОСТИ И ЭНЕРГЕТИКИ РОССИИ

МЕЖРЕГИОНАЛЬНОЕ ОТКРЫТОЕ АКЦИОНЕРНОЕ ОБЩЕСТВО
«НЕФТЕАВТОМАТИКА»

ФЕДЕРАЛЬНОЕ ГОСУДАРСТВЕННОЕ УНИТАРНОЕ ПРЕДПРИЯТИЕ

ВСЕРОССИЙСКИЙ НАУЧНО-ИССЛЕДОВАТЕЛЬСКИЙ ИНСТИТУТ
РАСХОДОМЕТРИИ

ГОСУДАРСТВЕННЫЙ НАУЧНЫЙ МЕТРОЛОГИЧЕСКИЙ ЦЕНТР

УТВЕРЖДАЮ

Заместитель директора

по научной работе

ФГУП ВНИИР

___________ М.С. Немиров

«20» ___07___ 2006 г.

РЕКОМЕНДАЦИЯ

ГОСУДАРСТВЕННАЯ СИСТЕМА ОБЕСПЕЧЕНИЯ ЕДИНСТВА ИЗМЕРЕНИЙ

ПРАВИЛА ПЛОМБИРОВАНИЯ И КЛЕЙМЕНИЯ
СРЕДСТВ ИЗМЕРЕНИЙ И ОБОРУДОВАНИЯ,
ПРИМЕНЯЕМЫХ В СОСТАВЕ СИСТЕМ ИЗМЕРЕНИЙ
КОЛИЧЕСТВА И ПОКАЗАТЕЛЕЙ КАЧЕСТВА НЕФТИ И
ПОВЕРОЧНЫХ УСТАНОВОК

МИ 3002-2006

Уфа
2006

Предисловие

РАЗРАБОТАНЫ Межрегиональным открытым акционерным обществом «Нефтеавтоматика» (ОАО «Нефтеавтоматика»)

ИСПОЛНИТЕЛИ: Глушков Э.И., Еременко Т.С., Давидюк Е.В.

РАЗРАБОТАНЫ Федеральным государственным унитарным предприятием

Всероссийским научно-исследовательским институтом расходометрии

Государственным научно-метрологическим центром

(ФГУП ВНИИР ГНМЦ)

ИСПОЛНИТЕЛИ:

УТВЕРЖДЕНА ФГУП ВНИИР ГНМЦ 20 июля 2006 г.

ЗАРЕГИСТРИРОВАНА ФГУП ВНИИМС 14 августа 2006 г.

ВВОДИТСЯ ВПЕРВЫЕ

СОДЕРЖАНИЕ

1. Нормативные ссылки. 2

2. Сокращения. 2

3. Общие положения. 3

4. Порядок нанесения поверительных клейм.. 3

5. Порядок нанесения калибровочных клейм.. 4

6. Порядок нанесения контрольных клейм.. 5

Приложение А (обязательное) Перечень средств измерений СИКН и ТПУ, подлежащих клеймению.. 6

Приложение Б (обязательное) Места нанесения оттисков клейм на средства измерений СИКН и ТПУ.. 16

Приложение В (справочное) Примеры реализации в СОИ уровней доступа пользователей к выполнению защищенных функций. 61

РЕКОМЕНДАЦИЯ

Государственная система обеспечения единства измерений

Правила пломбирования и клеймения средств измерений и оборудования,
применяемых в составе систем измерений количества и показателей
качества нефти и поверочных установок

МИ 3002-2006

Настоящая рекомендация распространяется на средства измерений, входящие в состав систем измерений количества и показателей качества нефти и поверочных установок, а так же их оборудование и устанавливает порядок и места нанесения оттисков поверительных, калибровочных и контрольных клейм, порядок доступа к местам пломбирования и пародирования, хранения паролей.

1. Нормативные ссылки

В настоящей рекомендации использованы ссылки на следующие нормативные документы:

- ПР 50.2.006-94 ГСИ. Порядок проведения поверки средств измерений;

- ПР 50.2.007-2001 ГСИ. Поверительные клейма;

- ПР 50.2.016-94 ГСИ. Требования к выполнению калибровочных работ;

- ПР PCK 002-95 РСК. Калибровочные клейма;

- МИ 1974-2004 ГСИ. Преобразователи расхода турбинные. Методика поверки;

- МИ 2304-94 ГСИ. Метрологический контроль и надзор, осуществляемые метрологическими службами юридических лиц;

- МИ 2903-2005 ГСИ. Счетчики ультразвуковые ALTOSONIC-5 (мод. ALTOSONIC-5М). Методика поверки поверочной установкой «ВСР-М» в комплекте с компаратором;

- МИ 2974-2006 ГСИ. Установки поверочные трубопоршневые 2-го разряда. Методика поверки трубопоршневой поверочной установкой 1-го разряда с компаратором;

- Рекомендации по определению массы нефти при учетных операциях с применением систем измерений количества и показателей качества нефти, утвержденные приказом Минпромэнерго России № 69 от 31 марта 2005 г.;

- Закон Российской Федерации «Об обеспечении единства измерений» № 4871-1 от 27.04.93 г.

2. Сокращения

В настоящих правилах приняты следующие сокращения:

АРМ - автоматизированное рабочее место;

БИК - блок измерения показателей качества нефти;

БИЛ - блок измерительных линий;

ВА - вторичная аппаратура;

ИВК - измерительно-вычислительный комплекс;

КП - компакт-прувер;

МПР - массовый преобразователь расхода;

ОЛПР - объемно-лопастной преобразователь расхода;

ПСП - приемо-сдаточный пункт;

ПУ - поверочная установка;

СИ - средство измерений;

СИКН - система измерений количества и показателей качества нефти;

СОИ - система обработки информации;

ТПР - турбинный преобразователь расхода;

ТПУ - трубопоршневая поверочная установка;

УЗПР - ультразвуковой преобразователь расхода.

3. Общие положения

3.1. Настоящая рекомендация предназначена для применения:

- организациями, осуществляющими учетные операции с применением СИКН и ПУ;

- организациями, осуществляющими техническое и метрологическое обслуживание СИКН и ПУ;

- владельцами СИКН и ПУ;

- проектными и исследовательскими организациями, занимающимися разработкой проектов СИКН;

- метрологическими службами юридических лиц, осуществляющими метрологический надзор за СИ;

- органами государственного метрологического контроля и надзора.

3.2. Рекомендация распространяется на средства измерений, входящие в состав СИКН и ПУ, эксплуатируемые различными предприятиями и организациями добычи, транспорта и переработки нефти, независимо от форм собственности. Рекомендация может быть использована предприятиями других отраслей промышленности в случае эксплуатации рассматриваемых данной Рекомендацией СИ и оборудования.

3.3. Для новых СИ, которые будут использованы в составе СИКН и ПУ, а также для СИ, находящихся в эксплуатации и входящих в состав СИКН и ПУ, но не вошедших в настоящую рекомендацию, способ и места нанесения клейм рекомендуется указывать во вновь разрабатываемых или перерабатываемых методиках поверки СИ, или в эксплуатационной документации в разделе «Оформление результатов поверки».

3.4. Контроль целостности оттисков клейм и пломб обеспечивают дежурные операторы принимающей и сдающей нефть организаций, о чем делают соответствующие записи в эксплуатационном журнале при приеме-сдаче смены.

3.5. При обнаружении повреждений оттисков клейм или пломб ответственные представители принимающей и сдающей нефть организаций составляют двусторонний акт о вышеуказанном происшествии и ставят в известность диспетчерские службы принимающей и сдающей нефть организаций, сервисной организации, проводящей техническое обслуживание СИКН, а средство измерений изымается из эксплуатации.

4. Порядок нанесения поверительных клейм

4.1. Порядок нанесения поверительных клейм определен требованиями ПР 50.2.007. Поверительное клеймо, согласно ПР 50.2.007 представляет собой знак, нанесенный на СИ, дополнительные устройства и (или) техническую документацию и удостоверяющий, что поверка СИ проведена с удовлетворительными результатами, а также для защиты, при необходимости, СИ от любого несанкционированного доступа, включая регулировочные (юстировочные) устройства.

4.2. Для гашения оттиска существующего поверительного клейма используют специальные поверительные клейма с рисунком крестообразной формы (гасители). Если гашение клейма осуществляется путем нанесения соответствующей наклейки, то она должна иметь красный цвет

Примечание - Поверительное клеймо гасится, свидетельство о поверке аннулируется, выписывается извещение о непригодности или делается соответствующая запись в технической документации, если СИ по результатам поверки признано непригодным к применению.

4.3. Поверке подлежат следующие СИ, входящие в состав СИКН и подлежащие государственному метрологическому контролю и надзору:

- ТПР, УЗПР, ОЛПР, МПР на измерительных линиях;

- преобразователи плотности и преобразователи вязкости поточные;

- влагомеры нефти поточные;

- датчики давления, преобразователи давления;

- датчики температуры, преобразователи измерительные к термопреобразователям сопротивления, термопреобразователи сопротивления;

- манометры, термометры;

- газосигнализаторы, газоанализаторы;

- суммирующие приборы, корректоры вязкости;

- устройства измерения параметров жидкости и газа, ИВК, СОИ, контроллеры измерительные, вычислители расхода и т.п.

4.4. Поверке подлежат ПУ и СИ, входящие в их состав:

- датчики давления, преобразователи давления, манометры;

- датчики температуры, преобразователи измерительные к термопреобразователям сопротивления, термопреобразователи сопротивления, термометры;

- калиброванные участки ПУ;

- детекторы ПУ;

- вторичная аппаратура ПУ.

4.5. СИ, перечисленные в 4.3 и 4.4, подвергают поверке органами Государственной метрологической службы или аккредитованными на право поверки СИ метрологическими службами юридических лиц в соответствии с Законом Российской Федерации «Об обеспечении единства измерений».

4.6. После окончания поверки СИ поверитель наносит оттиск поверительного клейма, соответствующего требованиям раздела 2 ПР 50.2.007 в виде клейма на свидетельство о поверке и на СИ на пломбы, установленные на контровочных проволоках, или на пломбировочных мастиках, или голографической наклейкой в местах, указанных в методике поверки СИ. Для некоторых ИВК места нанесения поверительных клейм указаны на рисунках Б.22 - Б.23.1, Б.25 - Б.27 приложения Б и в приложении А настоящей Рекомендации.

4.7. Для СОИ, ИВК, контроллеров, вычислителей и т.п., снабженных средствами защиты от несанкционированного доступа к изменению информации (ввод мгновенных значений, проведение поверки, редактирование файлов) в виде паролей и (или) ключа, ключ и (или) пароль с уровнем доступа «поверитель» помещают в конверт или пенал, защищенный от вскрытия оттиском поверительного клейма. Конверт или пенал хранят на СИКН в составе эксплуатационной документации.

Остальные пароли (ключи) хранятся по принадлежности: у сдающей стороны - свой; у принимающей стороны - свой; у сервисной организации - свой.

Примеры реализации уровней и прав доступа для защиты от несанкционированного доступа к изменению информации в различных СОИ и вторичной аппаратуре приведены в приложении Б.

5. Порядок нанесения калибровочных клейм

5.1. Результаты калибровки СИ удостоверяются калибровочным клеймом согласно ПР 50.2.016, в местах, указанных в методиках калибровки (поверки) СИ, а также в приложении А настоящей Рекомендации.

5.2. Калибровочное клеймо, согласно ПР PCK 002 - техническое устройство, предназначенное для нанесения оттиска клейма на СИ, дополнительные устройства или техническую документацию в целях:

- удостоверения, что СИ имеют метрологические характеристики, согласно действующим методикам калибровки;

- исключения при необходимости доступа к регулировочным устройствам СИ;

- опечатывания непригодных к применению СИ;

- аннулирования существующего клейма (аннулирующие клейма).

5.3. Для СИКН калибровке подлежат СИ, результаты измерений которых не влияют на погрешность измерений массы нефти, на охрану окружающей среды и обеспечение безопасности труда. К ним относятся:

- расходомеры, установленные в БИК, их ВА, если расходомер применяется в комплекте с ВА;

- перепадомеры и манометры, измеряющие перепад давления на фильтрах.

5.4. Средства измерений, перечисленные в 5.3, подвергают калибровке метрологическими службами юридических лиц, аккредитованными на право проведения калибровки СИ.

5.5. Для гашения оттиска существующего калибровочного клейма используют специальные калибровочные клейма с рисунком крестообразной формы.

6. Порядок нанесения контрольных клейм

6.1. Контрольные клейма - знаки, нанесенные представителем сервисной организации, обслуживающей СИ, представителями сдающей и принимающей нефть организаций, на СИ, запорные элементы шкафов КИПиА, оборудование (запорную аппаратуру и другие устройства) для обнаружения любого несанкционированного доступа, открытия, проникновения.

6.2. Оттиски контрольных клейм наносятся на:

- пломбу, установленную на контровочной проволоке, пропущенной через отверстия винтов, завернутых в крышку клеммной коробки СИ, как на рисунках Б.5, Б.7, Б.10;

- пломбировочной мастике или наклейке на винт, стопорящий отвинчивание крышки клеммной коробки от корпуса, как на рисунках, Б.3, Б.17, Б.18, Б.29;

- пломбировочной мастике или наклейке на винт, завернутый в крышку клеммной коробки СИ, как на рисунке Б.2.2;

- пломбу, установленную на контровочной проволоке, крестообразно-охватывающей крышку клеммной коробки и корпус СИ, как показано на рисунке Б.2.1;

- пломбу, установленную на контровочной проволоке, пропущенной через специальные отверстия, предусмотренные для клеймения, например, в крышке клеммной коробки и корпусе, как на рисунке Б.4, Б.15, Б.16, Б.19;

- пломбу, установленную на контровочной проволоке, охватывающей крышку клеммной коробки и корпус СИ, как показано на рисунках Б.1, Б.20, Б.21;

- пломбировочной мастике на винте крепления или в чашечке винта крепления панели вторичной аппаратуры или ИВК, как показано на рисунках Б.22.1, Б.22.2, Б.25, Б.26;

- пломбировочной мастике, нанесенной на винт крышки, закрывающей винты регулировки «нуля» или «диапазона» СИ;

Примечание - В других случаях оттиск контрольного клейма наносят на пломбу, пломбировочную мастику или наклейку в местах, предусмотренных фирмой-изготовителем СИ для предотвращения несанкционированного доступа.

6.3. О нанесении и снятии контрольных клейм делается запись в «Журнале установки и снятия пломб», имеющемся на СИКН. Оттиски контрольных клейм должны быть приложены к «Журналу установки и снятия пломб».

Приложение А
(обязательное)

Перечень средств измерений СИКН и ТПУ, подлежащих клеймению

Таблица А.1 - Перечень СИ с указанием мест нанесения оттисков клейм

Наименование средства измерений

Место нанесения оттиска клейма

Поверительного или калибровочного

Контрольного

А.1. Преобразователи расхода

А.1.1. ТПР в БИЛ типа MVTM с 2-мя МИД («Smith-Meter Inc.» FMC Energy Systems, США, Германия) - см. рис. Б.1 приложения Б

На двух пломбах, установленных на контровочных проволоках, пропущенных через отверстия шпилек, расположенных на диаметрально противоположных фланцах согласно МИ 1974

На пломбу, установленную на контровочной проволоке, охватывающей крышку МИД, кабельный ввод и штуцер (рис. Б.1 приложения Б) или пропущенной через отверстия в завернутых винтах крышки МИД и т.п.

На наклейку, нанесенную на стыке крышки МИД и корпуса

А.1.2. ТПР в БИЛ типа МИГ, НОРД-М (БОЗНА г. Бугульма) - см. рис. Б.2.1 - Б.2.2 приложения Б

На двух пломбах, установленных на контровочных проволоках, пропущенных через отверстия шпилек, расположенных на диаметрально противоположных фланцах согласно МИ 1974

На пломбу, установленную на контровочной проволоке, крестообразно-охватывающей крышку клеммной коробки и трубу измерительной линии (рис. Б.2.1 приложения Б), или на мастику, нанесенную на шляпку соединительного винта с пломбировочной чашкой на корпусе клеммной коробки (рис. Б.2.2 приложения Б)

А.1.3. «ТУРБОКВАНТ» («MMG AM Nova Kft», Венгрия)

На пломбу, установленную на контровочной проволоке, пропущенной через отверстия завернутых винтов крышки, закрывающей цифровой переключатель установки коэффициента

На пломбировочную мастику, закрывающую задние винты крепления

А.1.4. «РОТОКВАНТ» («Ворр Reuther», Германия), HELIFLU TZ-N («Faure Herman», Франция), Daniel «Emerson», США) и др.

На двух пломбах, установленных на контровочных проволоках, пропущенных через отверстия шпилек, расположенных на диаметрально противоположных фланцах согласно МИ 1974

На наклейку, нанесенную на стыке крышки МИД (предусилителя, клеммной коробки) и корпуса или на пломбировочную мастику, нанесенную на один из винтов крепления крышки или на пломбу, установленную на контровочной проволоке, пропущенной через отверстия винтов крышки МИД и охватывающей трубу ИЛ

А.1.5. ТПР в БИК

-

То же

А.1.6. УЗПР мод. UFM 500 («КРОНЕ-Автоматика», г. Самара) в БИК - см. рис. Б.3 приложения Б

На двух пломбах, установленных на контровочных проволоках, пропущенных через отверстия шпилек, расположенных на диаметрально противоположных фланцах

На пломбировочную мастику, нанесенную на винт, фиксирующий отвинчивание крышки преобразователя (рис. Б.3 приложения Б)

А.1.7. МПР ROTAMASS мод. RCCT3 («Yokogawa Electric CIS», Япония) в БИЛ - см. рис. Б.4 приложения Б

На двух пломбах, установленных на контровочных проволоках, пропущенных через отверстия шпилек, расположенных на диаметрально противоположных фланцах

На пломбу, установленную на контровочной проволоке, проходящей через пазы электронного блока (рис. Б.4 приложения Б)

А.1.8. УЗПР мод. ALTOSONIC-5 («Krohne Altometer», Нидерланды) с первичным и вторичным преобразователями в БИЛ

На двух пломбах, установленных на контровочных проволоках, пропущенных через отверстия винтов на крышках первичного и вторичного преобразователей, согласно МИ 2903

-

А.1.9. МПР «MICRO MOTION» в БИЛ («Emerson Process Management, Fisher-Rosemount», США, Голландия) - см. рис. Б.5 - Б.10 приложения Б

На двух пломбах, установленных на контровочных проволоках, пропущенных через отверстия шпилек, расположенных на диаметрально противоположных фланцах

На пломбу, установленную на контровочной проволоке, пропущенной через отверстия завернутых винтов крышки соединительной коробки (рис. Б.5, Б.7, Б.10 приложения Б), на пломбу, установленную на контровочной проволоке, охватывающей корпус процессора и штуцер (рис. Б.6, Б.8, Б.9 приложения Б)

А.1.10. Преобразователь измерительный RFT счетчика-расходомера массового Micro Motion («Emerson Process Management, Fisher-Rosemount», США, Голландия) - см. рис. Б.11 - Б.12 приложения Б

На пломбу, установленную на контровочной проволоке, охватывающей корпус преобразователя через пазы в торцевых крышках (рис. Б.11 приложения Б) На пломбу, установленную на контровочной проволоке, крестообразно-охватывающей корпус преобразователя (рис. Б.12 приложения Б)

-

А.1.11. МПР CORIMASS мод. MFM («Krohne», Германия) в БИЛ

На пломбе или наклейке на запечатанном конверте с паролем защиты коммерческого учета согласно «Инструкции по установке и эксплуатации КОРИ-МАСС».

-

На двух пломбах, установленных на контровочных проволоках, пропущенных через отверстия шпилек, расположенных на диаметрально противоположных фланцах

А.1.12. МПР PROMAS мод. 63F («Endress-Hauser Flowtec AG») в БИЛ

На двух пломбах, установленных на контровочных проволоках, пропущенных через отверстия шпилек, расположенных на диаметрально противоположных фланцах

На пломбировочную мастику, нанесенную на винт-фиксатор крышки преобразователя

А.1.13. ОЛПР SMITH мод. М 16 («Smith-Meter Inc.», США) в БИЛ

На двух пломбах, установленных на контровочных проволоках, пропущенных через отверстия шпилек, расположенных на диаметрально противоположных фланцах

На пломбах, установленных на контровочных проволоках, пропущенных через отверстия завернутых винтов крепления: а) преобразователя импульсов мод. РЕХР к корпусу объемного счетчика; б) корпуса индикаторного счетчика к преобразователю импульсов мод. РЕХР

А.1.14. Расходомер-счетчик ультразвуковой УРСВ «Взлет ПР» в БИЛ

На двух пломбах, установленных на контровочных проволоках, пропущенных через отверстия шпилек, расположенных на диаметрально противоположных фланцах

На пломбу, нанесенную на один из крепежных винтов корпуса вторичного преобразователя

А.1.15. Индикатор расхода CRA/MRT-97 («Daniel», США) в БИК см. рис. Б.13 приложения Б

-

На пломбу, установленную на контровочной проволоке, охватывающей весь корпус преобразователя через пазы на лицевой стороне прибора (рис. Б.13 приложения Б)

А.1.16. Ротаметр Н 250 («Krohne», Германия) в БИК

-

На пломбу, установленную на болте, соединяющем крышку с задней стенкой прибора

А.2. Преобразователи давления, разности давлений и манометры

А.2.1. Преобразователь давления «Cerabar M) («Endress + Hauser GmbH + Co, Германия) см. рис. Б.14 приложения Б

-

На пломбу, установленную на контровочной проволоке, охватывающей крышку преобразователя, кабельный ввод и штуцер (рис. Б.14 приложения Б)

А.2.2. Преобразователь давления «Cerabar S) («Endress + Hauser GmbH + Co.KG, Германия) см. рис. Б.15, приложения Б

-

На пломбу, установленную на контровочной проволоке, проходящей через пазы преобразователя (электронного блока) (рис. Б.15 приложения Б)

А.2.3. Преобразователи избыточного давления («Fisher-Rosemount», США, Голландия) см. рис. Б.19 приложения Б, «МЕТРАН-100...» (ГП «Метран», г. Челябинск) см. рис. Б.16 приложения Б

-

На пломбу, установленную на контровочной проволоке, проходящей через пазы корпуса (электронного блока) (рис. Б.16, Б.19 приложения Б)

А.2.4. Преобразователи избыточного давления САПФИР (ЗАО «Манометр» г. Москва), ТЖИУ 406 (ПО «Старт», г. Заречный), («JUMO», Германия), («Endress-Hauser», Германия); датчик избыточного давления FHGG4W1 («ITT Barton Instruments», Канада); преобразователи разности давлений САПФИР-22М (ЗАО «Манометр», г. Москва); датчики разности давлений типа IDP, IPS, IFL («Foxboro Company», США)

-

На пломбу, установленную на контровочной проволоке, крестообразно-охватывающей крышку клеммной коробки или проходящей через пазы клеммной коробки, или, пропущенной через отверстия в крышке клеммной коробки и корпусе. На пломбировочную мастику, нанесенную на крышку блока регулировочных кнопок или винтов (UP/ZERO, DOUN/SPAN)

А.2.5. Датчики давления «МЕТРАН-55-Вн...», «МЕТРАН-55-Д...», «МЕТРАН-55-Ех-Д...» (ГП «Метран», г. Челябинск) см. рис. Б.17 - Б.18 приложения Б

-

На пломбировочную мастику, нанесенную на винт-фиксатор крышки преобразователя (рис. Б.17, Б.18 приложения Б)

А.2.6. Манометры показывающие российского или зарубежного производства

На стекло или на мастику, нанесенную на шляпку соединительного винта с пломбировочной чашкой на задней стенке манометра или на наклейку на стыке корпуса и крышки, или на пломбу, установленную на контровочной проволоке, пропущенной через отверстие стопорного винта крышки и специального отверстия на выступе крышки.

-

А.3. Преобразователи температуры и термометры

А.3.1. Термопреобразователи сопротивления Pt 100 («JUMO» Германия), («Rosemount», Нидерланды); («Weksler Instruments», США); преобразователь термометра сопротивления мод. 5351-3 («Yokogava Electric Works», Япония); преобразователи температуры «МЕТРАН» (ГП «Метран», г. Челябинск); преобразователи температуры ТСПУ (ТСМУ) («Эталон», г. Омск)

-

На пломбу, установленную на контровочной проволоке, крестообразно-охватывающей крышку клеммной коробки и корпус, или на пломбировочную мастику, нанесенную на один из крепежных винтов крышки клеммной коробки, или на винт, фиксирующий крышку клеммной коробки, или на пломбу, установленную на контровочную проволоку, проходящую через пазы крышек преобразователя

А.3.2. Преобразователи температуры RTT20 («The Foxboro Company», США), 244, 644, 3144 («Fisher-Rosemount», США) см. рис. Б.20 - Б.21 приложения Б

-

На пломбу, установленную на контровочной проволоке, охватывающей через пазы крышку клеммной коробки и корпус (рис. Б.20 - Б.21 приложения Б). Для преобразователей температуры мод. 644 на пломбировочную мастику, нанесенную на винт фиксирующую крышку клеммной коробки

А.4. Системы обработки информации, вычислители расхода, измерительно-вычислительные комплексы, контроллеры

А.4.1. ИВК Schlumberger мод. 7945 («Schlumberger Electronics Ltd», Великобритания)

На пломбу, установленную на контровочной проволоке, пропущенной через отверстия винтов крепления верхней и нижней крышек

-

А.4.2. Вычислитель расхода GeoFlo, GeoProv («Smith Meter Inc.», США, Германия), устройство измерения параметров жидкости мод. 7950, 7951, 7955 («Solartron Mobrey Ltd», Великобритания) см. рис. Б.22.1, Б.22.2, Б.23.1, Б.23.2 приложения Б

На пломбу, установленную на контровочной проволоке, пропущенной через отверстия завернутых винтов крышки, закрывающей корпус замка (рис. Б.22.1, Б.23.1 приложения Б) На наклейку, нанесенную на гнездо ключа (рис. Б.22.2, Б.23.2), и на мастику, нанесенную на шляпку соединительного винта с пломбировочной чашкой на передней панели прибора (рис. Б.22.1, Б.22.2 приложения Б). Для вычислителей расхода мод. 7915 и 7925 голографическая наклейка или оттиск клейма поверителя, нанесенные на лицевую панель вычислителя

-

А.4.3. СОИ «КОР-MAC» («MMG AM», Венгрия)

На пломбы, установленные: на контровочной проволоке, пропущенной через отверстия завернутых винтов крышек, закрывающих платы установки коэффициентов и на контровочной проволоке, пропущенной через отверстия двух завернутых винтов крышки блока счетчика

-

А.4.4. Вычислитель расхода мод. 2522, TURBO 2522 («Daniel Measurement Control», США)

На пломбах, установленных на контровочной проволоке, пропущенной через отверстие за лицевой панелью, на запечатанном конверте с паролем ограниченного доступа. Уровни доступа приведены в приложении В

-

А.4.5. ИВК мод. ROC-600 FLOBOSS («Emerson/Fisher/Daniel», США/Великобритания)

На пломбу, нанесенную на запечатанный конверт с паролем «Поверитель» и на пломбировочную мастику, нанесенную на один из винтов крепления задней панели прибора. Уровни доступа приведены в приложении В

-

А.4.6. Блок электронный НОРД-Э3М, НОРД-Э9М («БОЗНА», г. Бугульма)

На пломбу, нанесенную на винт с чашкой на задней панели прибора

-

А.4.7. Сумматор импульсов LCCC-40 («Smith Meter Inc.» FMC Energy Systems, США, Германия) см. рис. Б.24 приложения Б

На пломбировочную мастику, нанесенную на винт с чашкой на задней панели прибора (рис. Б.24 приложения Б)

-

А.4.8. ИВК мод. OMNI-3000/6000 («Omni Flow Computers, Inc», США) см. рис. Б.25 - Б.26 приложения Б

На пломбировочную мастику, нанесенную на винт с чашкой на задней панели прибора (рис. Б.25 - Б.26 приложения Б). Уровни доступа приведены в приложении В

-

А.4.9. ИВК мод. ИМЦ-03 (ОАО «ИМС», г. Москва) см. рис. Б.27 приложения Б

Место нанесения оттиска клейма поверительного или калибровочного на пломбу, установленную на контровочной проволоке, пропущенной через отверстия в винтах каркаса промышленного компьютера (рис. Б.27.1 приложения Б), и на пломбировочную мастику, нанесенную на напечатанный конверт с паролем «Поверитель».

Место нанесения оттиска клейма контрольного «на пломбу, установленную на контровочной проволоке, пропущенной через отверстие в штыре, проходящем через дверь шкафа (рис Б.27.2 приложения Б)

(Новая редакция, Изм. № 1).

-

А.4.10. Преобразователь электронный «VEGA-03» (БОЗНА, г. Бугульма)

На пломбировочные мастики, нанесенные на два крепежных винта задней панели прибора

-

А.4.11. ИВК мод. OCTOPUS (OOO «ИМС», г. Тверь)

На пломбировочные мастики, нанесенные на винт с чашечкой на боковой панели прибора и на запечатанный конверт с паролем «Поверитель». Уровни доступа приведены в приложении В

-

А.4.12. ИВК «SYBERTROL» («FMC Smith Meter Inc.», США, Германия)

На пломбировочные мастики, нанесенные на винт крышки, закрывающей переднюю панель, и на запечатанный конверт с паролем «Поверитель». Уровни доступа приведены в приложении В

-

А.4.13. ИВК «МЕТРОКОН» и «МЕТРОКОН-М» (ОАО «Нефтеавтоматика», г. Уфа)

На пломбировочную мастику, нанесенную на запечатанный конверт с паролем «Поверитель», и на наклейки на стыках верхней и боковых панелей. Уровни доступа приведены в приложении В

-

А.4.14. Прибор поверки эталонный «ПУЛЬСАР-01Э» (ООО «ПТП ЭРА-1», г. Омск) см. рис. Б.28 приложения Б

На пломбировочную мастику, нанесенную на винт с чашкой на задней панели прибора (рис. Б.28 приложения Б). Уровни доступа приведены в приложении В

-

А.4.15. Вторичные приборы ТПР типа ЕТК, B&R (Германия), СМИТ (США), TQ-021, «Midi-Flow», «Ультраквант» (Венгрия), «Oval» (Япония)

На пломбировочную мастику, нанесенную на один из крепежных винтов на передней панели прибора

-

А.4.16. Суммирующие приборы типа БСМ (Россия), СМИТ серии CMOS и СТС (США), JS4-04 Repeel-Funcs, Midi-Sum (Венгрия), Sodeco (Швейцария)

На пломбировочную мастику, нанесенную на один из крепежных винтов на передней панели прибора

-

А.4.17. Шкафы СОИ «НИЧИМЕН» («Nichiment», Япония)

-

Шкаф ЭВМ - на пломбировочную мастику или наклейку, соединяющую боковую стенку и дверцу шкафа.

Приборный шкаф (шкаф ВА) - на пломбу, установленную на контровочной проволоке, пропущенной через отверстия в ручках шкафа.

А.4.18. АРМ оператора «CROPOS», «ФАКТОР», «ОЛЕУМ» (ОАО «Нефтеавтоматика», г. Уфа)

На пломбировочную мастику, нанесенную на запечатанный конверт с паролем «Поверитель». Уровни доступа приведены в приложении В

На пломбировочную мастику, нанесенную на запечатанный конверт с паролем «Инженер»

А.4.19. Системный блок АРМ-оператора

-

На пломбировочную мастику, нанесенную на винт с чашкой на задней стенке блока

А.4.20. ИВК мод. ИВК-Н, ИВК-Т (ИПФ «Турбулент», г. Омск) см. рис. Б.29 приложения Б

На пломбу, установленную на контровочной проволоке, пропущенной через отверстия в сборке модулей и на пломбировочную мастику, нанесенную на винт с чашкой крепления крышки (рис. Б.29 приложения Б)

-

А.5. Преобразователи плотности и вязкости

А.5.1. Преобразователь плотности жидкости измерительный мод. 7830, 7835 («Solartron Mobrey Limited», Великобритания) см. рис. Б.30 приложения Б

-

На пломбировочную мастику, нанесенную на винт с чашкой на крышке электронной части преобразователя или на пломбу, установленную на контровочной проволоке, пропущенной по диагонали крышки через отверстия в винтах (рис. Б.30 Приложения Б)

На двух пломбах, установленных на контровочных проволоках, пропущенных через отверстия шпилек, расположенных на диаметрально противоположных фланцах

А.5.2. Денсиметр (преобразователь плотности) SARASOTA мод. FD 960 («Onix Measurement Ltd, Великобритания) см. рис. Б.31 приложения Б

-

На одной пломбе, установленной на контровочной проволоке, пропущенной через пазы крышки клеммной коробки и корпуса усилителя (рис. Б.31 приложения Б)

На двух пломбах, установленных на контровочных проволоках, пропущенных через отверстия шпилек, расположенных на диаметрально противоположных фланцах

А.5.3. Преобразователь плотности жидкости NT 1762 («Schlumberger Electronics Ltd», Великобритания)

-

На пломбу, установленную на контровочной проволоке, пропущенной через отверстия двух завернутых винтов крышки преобразователя

На двух пломбах, установленных на контровочных проволоках, пропущенных через отверстия шпилек, расположенных на диаметрально противоположных фланцах

A.5.4. Преобразователи плотности и вязкости жидкости измерительные (мод. 7827, 7829) («Solartron Mobrey Limited», Великобритания) см. рис. Б.32 приложения Б

-

На пломбу, установленную на контровочной проволоке, пропущенной через отверстие в корпусе усилителя, и на пломбу, установленную на контровочной проволоке, охватывающей через пазы крышку преобразователя (рис. Б.32 приложения Б)

На двух пломбах, установленных на контровочных проволоках, пропущенных через отверстия шпилек, расположенных на фланце диаметрально противоположно

А.5.5. Вискозиметр мод. OMS с детектором и преобразователем («JSW», Япония)

ВА - на пломбу, установленную на контровочной проволоке, пропущенной через отверстия в корпусе

На пломбирующую мастику, нанесенную на один из винтов крепления блока преобразователя

Наименование средства измерений

Место нанесения оттиска клейма

Поверительного или калибровочного

Контрольного

А.6. Влагомеры

А.6.1. Влагомер поточный трех вариантов исполнений («Phase Dynamics, Inc.», США) см. рис. Б.33 - Б.34.3 приложения Б

-

На пломбу, установленную на контровочной проволоке, пропущенной через отверстия двух завернутых болтов крышки электронного блока

На пломбу, установленную на контровочной проволоке, охватывающей через пазы крышку преобразователя и на двух пломбах, установленных на контровочных проволоках, пропущенных через отверстия шпилек, расположенных на фланце диаметрально противоположно

А.6.2. Преобразователь измерительный сверхвысокочастотный влагомера нефти поточного УДВН-1пм (ООО НПП «ГОДСИБ», г. Фрязино, Московская обл.) см. рис. Б.35 приложения Б

-

На пломбу, установленную на контровочной проволоке, пропущенной через отверстия шпильки крепления датчика к фланцам (рис. Б.35 приложения Б)

А.6.3. Влагомер сырой нефти ВСН (НПП «Нефтесервисприбор», г. Саратов) см. рис. Б.36 приложения Б

-

На пломбу, установленную на контровочной проволоке, охватывающей крышку преобразователя и штуцер.

На двух пломбах, установленных на контровочных проволоках, пропущенных через отверстия шпилек, расположенных на диаметрально протиположных фланцах

А.7. Трубопоршневые поверочные установки, компакт-пруверы, мерники, весы

А.7.1. ТПУ однонаправленные и двунаправленные

Поверительные клейма на пломбы, установленные: на контровочных проволоках, пропущенных через отверстия шпилек, соединяющих фланцы калиброванного участка измерительной петли; и на контровочных проволоках, пропущенных через отверстия завернутых винтов клеммной коробки детекторов согласно МИ 2974-2006

-

А.7.2. Компакт-пруверы

А.7.3. Мерник образцовый MIP («Energoinvest», СФРЮ) см. рис. Б.37 приложения Б

Поверительные клейма на пломбу, установленную на контровочной проволоке, пропущенной через отверстия в основании термокармана и скобы, закрепленной на корпусе мерника, и на пломбу, установленную на контровочной проволоке, пропущенной через отверстия в винте и гайке для крепления градуировочной планки со шкалой (рис. Б.37 приложения Б)

-

А.7.4. Преобразователи давления, перечисленные в п. А.2.1 - А.2.5 приложения А настоящих правил

-

На пломбу, установленную на контровочной проволоке, крестообразно-охватывающей крышку клеммной коробки или проходящей через пазы клеммной коробки, или, пропущенной через отверстия в крышке клеммной коробки и корпусе

На пломбировочную мастику, нанесенную на крышку блока регулировочных кнопок или винтов (UP/ZERO, DOUN/SPAN)

А.7.5. Преобразователи температуры, перечисленные в А.3.1 - А.3.2 приложения А настоящих правил

-

На пломбу, установленную на контровочной проволоке, крестообразно-охватывающей крышку клеммной коробки и корпус, или на пломбировочную мастику, нанесенную на один из крепежных винтов крышки клеммной коробки, или на винт, фиксирующий отворачивание крышки клеммной коробки, или на пломбу, установленную на контровочную проволоку, проходящую через пазы крышек преобразователя

А.7.6. Вторичная аппаратура ТПУ («Energoinvest», СФРЮ) см. рис. Б.38 приложения Б

На пломбу, установленную на контровочную проволоку, пропущенную через головки двух винтов передней панели прибора, или на пломбировочную мастику, нанесенную на винт с чашкой на передней панели прибора (рис. Б.38 приложения Б)

-

А.7.7. Устройство весоизмерительное мод. 0958 («METLER TOLEDO», Швейцария)

На пломбу, установленную на контровочной проволоке, пропущенной через отверстия винтов крепления крышки

-

А.8. Сигнализаторы загазованности, газоанализаторы, блоки питания и сигнализации, индикаторы фазового состояния, клеммные коробки измерительного (контрольного) кабеля

А.8.1. Сигнализатор СТМ-30-50, СТМ-10 («СПО Аналитприбор», Россия)

На пломбировочную мастику, нанесенную на боковую или лицевую панель прибора

На пломбу, установленную на контровочной проволоке, пропущенной через отверстия завернутых винтов крышки выносного блока датчика и на пломбировочную мастику в месте крепления корпуса вторичного прибора

Оттиск клейма поверителя на лицевой панели ВА

А.8.2. Датчики-сигнализаторы термохимические ДАТ, датчики - газоанализаторы электрохимические ДАХ, блок питания и сигнализации БПС 21

На пломбировочную мастику, нанесенную на боковую или лицевую панель прибора

-

Оттиск клейма поверителя на лицевой панели ВА

А.8.3. Индикатор фазового состояния потока ИФС-1В-700 (ОАО «Электрон», г. Тюмень) см. рис. Б.40 приложения Б

-

Согласно рисунку завод-изготовителя в техническом описании и инструкции по эксплуатации, НО 944.00.00.000 ТС

А.8.4. Клеммные коробки измерительного кабеля

-

На пломбу, установленную на контровочной проволоке, пропущенной через отверстия двух винтов, ввернутых в крышку клеммной коробки

А.9. Пробоотборники

А.9.1. Изокинетический пробоотборник Clif Mock («NuFlo Technologies, Inc.», США) см. рис. Б.41 приложения Б

-

На пломбу, установленную на контровочной проволоке, охватывающей привод CD-30A (в углублениях), болт, коробку и трубопровод (рис. Б.41 приложения Б)

А.9.2. Пробоотборник для ручного отбора нефти «СТАНДАРТ» - Р (БОЗНА, г. Бугульма) см. рис. Б.42 приложения Б

-

На пломбу, которая установлена на контровочной проволоке, пропущенной через отверстие шпильки, расположенной на фланцах, и отверстие рычага при закрытом положении (рис. Б.42 приложения Б)

А.9.3. Пробоотборник для автоматического отбора нефти «СТАНДАРТ» - А (БОЗНА, г. Бугульма)

-

На пломбировочную мастику, нанесенную на винт с чашкой на корпусе дозатора

А.9.4. Автоматический пробоотборник «Проба-1М» (БОЗНА, г. Бугульма)

-

На баллоне - согласно паспорту 1-92 ПС, совмещенному с техническим описанием и инструкцией по эксплуатации

На пробоотборнике - на пломбу, установленную на контровочной проволоке, охватывающей через углубления корпус и пропущенной через предусмотренное отверстие

А.10. Задвижки, краны шаровые

А.10.1. Задвижка стальная клиновая с выдвижным шпинделем (ОАО «Алексинский завод тяжелой промышленной арматуры, Россия, г. Алексин-8) см. рис. Б.43 приложения Б

-

На пломбу, установленную на контровочной проволоке, пропущенной через корпус задвижки и спицу штурвала, таким образом, что предотвращает его несанкционированное вращение (рис. Б.43 приложения Б)

Задвижки, не указанных в пункте А.10, других фирм-производителей

-

Пломбирование задвижки должно обеспечивать невозможность несанкционированного изменения положения штурвала, а также его демонтаж и проворачивание шпинделя без штурвала

А.10.2. Кран шаровый с ручным приводом

-

Схема пломбирования рычага крана шарового должна обеспечивать невозможность несанкционированного изменения положения рычага (пломбировка закрытого положения)

А.10.3. Кран шаровый с электроприводом

-

Схема пломбирования должна обеспечивать невозможность несанкционированного изменения положения штурвала и стопорных механизмов (при возможном варианте)

Приложение Б
(обязательное)

Места нанесения оттисков клейм на средства измерений СИКН и ТПУ

Таблица Б.1 - Перечень средств измерений СИКН и ТПУ

Номер рисунка

Наименование, тип СИ

Б.1

Преобразователь расхода жидкости турбинный MVTM с двумя магнитоиндукционными датчиками фирмы «Smith Meter Inc.» FMC Energy Systems, США, Германия

Б.2.1

Преобразователь расхода турбинный счетчика турбинного «МИГ», «НОРД-М» БОЗНА, г. Бугульма. Вариант 1 пломбирования

Б.2.2

Преобразователь расхода турбинный счетчика турбинного «МИГ», «НОРД-М» БОЗНА, г. Бугульма. Вариант 2 пломбирования

Б.3

Счетчик ультразвуковой серии UFM с вторичным преобразователем UFC 500F производства «КРОНЕ-Автоматика», г. Самара

Б.4

Преобразователь расхода массовый ROTAMASS цельноблочного исполнения, RCCT3 производства Yokogawa Electric CIS, Япония

Б.5

Счетчик-расходомер массовый Micro Motion модель CMF 025 (050, 100) серии Elite, выполненный с соединительной коробкой, фирмы «Emerson Process Management, Fisher-Rosemount», США, Голландия

Б.6

Счетчик-расходомер массовый Micro Motion модель CMF 025 (050, 100) серии Elite, выполненный с базовым процессором, фирмы «Emerson Process Management, Fisher-Rosemount», США, Голландия

Б.7

Счетчик-расходомер массовый Micro Motion модель CMF 200 (300) серии Elite, выполненный с соединительной коробкой, фирмы «Emerson Process Management, Fisher-Rosemount», США, Голландия

Б.8

Счетчик-расходомер массовый Micro Motion модель CMF 200 (300) серии Elite, выполненный с базовым процессором, фирмы «Emerson Process Management, Fisher-Rosemount», США, Голландия

Б.9

Счетчик-расходомер массовый Micro Motion модель Т 025 (050, 100, 150), выполненный с базовым процессором, фирмы «Emerson Process Management, Fisher-Rosemount», США, Голландия

Б.10

Счетчик-расходомер массовый Micro Motion модель Т 025 (050, 100, 150), выполненный с соединительной коробкой, фирмы «Emerson Process Management, Fisher-Rosemount», США, Голландия

Б.11

Преобразователь измерительный RFT счетчика-расходомера массового Micro Motion фирмы «Emerson Process Management, Fisher-Rosemount», США, Голландия

Б.12

Преобразователь измерительный RFT с трансмиттером счетчика-расходомера массового Micro Motion фирмы «Emerson Process Management, Fisher-Rosemount», США, Голландия

Б.13

Прибор вторичный счетчиков жидкости турбинных MRT 97 фирмы «Daniel», США

Б.14

Преобразователь давления измерительный Cerabar M фирмы Endress + Hauser GmbH + Co», Германия

Б.15

Преобразователь давления измерительный Cerabar S с изолирующей диафрагмой и фланцем фирмы Endress + Hauser GmbH + Co. KG», Германия

Б.16

Датчик давления МЕТРАН-100-... группы предприятий МЕТРАН, г. Челябинск

Б.17

Датчик давления МЕТРАН-55-Вн-... группы предприятий МЕТРАН, г. Челябинск

Б.18

Датчик давления МЕТРАН-55-Д..., МЕТРАН-55-Ех-Д... группы предприятий МЕТРАН, г. Челябинск

Б.19

Датчик давления 1151 фирмы «Fisher-Rosemount MFG CmbH & Co.OHG, Германия

Б.20

Преобразователь измерительный 3144 к датчикам температуры фирмы «Fisher-Rosemount», США

Б.21

Преобразователь температуры измерительный RTT20 фирмы «The Foxboro Company», США

Б.22.1

Вычислитель расхода GeoFlo и GeoProv фирмы «Smith Meter Inc.», США, Германия. Вариант 1 пломбирования

Б.22.2

Вычислитель расхода GeoFlo и GeoProv фирмы «Smith Meter Inc.», США, Германия. Вариант 2 пломбирования

Б.23.1

Устройство измерения параметров жидкости и газа (моделей 7950, 7951, 7955) фирмы SML, Великобритания Вариант 1 пломбирования

Б.23.2

Устройство измерения параметров жидкости и газа (моделей 7950, 7951, 7955) фирмы SML, Великобритания Вариант 2 пломбирования

Б.24

Сумматор импульсов LCCC-40 фирмы «Smith Meter Inc.» FMC Energy Systems, США, Германия

Б.25

Измерительно-вычислительный контроллер OMNI-6000 фирмы «OMNI FLOW COMPUTERS, INC.», США

Б.26

Измерительно-вычислительный контроллер OMNI-3000 фирмы «OMNI FLOW COMPUTERS, INC.», США

Б.27.1

Комплекс измерительно-вычислительный ИМЦ-03 ЗАО «ИМС Инжиниринг». Промышленный компьютер.

Б.27.2

Комплекс измерительно-вычислительный ИМЦ-03 ЗАО «ИМС Инжиниринг Шкаф.

(Новая редакция, Изм. № 1).

Б.28

Прибор поверки эталонный «ПУЛЬСАР-010» ООО «ПТП ЭРА-1», г. Омск

Б.29

Измерительно-вычислительный комплекс ИВК-Н ИПФ «Турбулент», г. Омск

Б.30

Преобразователь плотности жидкости измерительный модели 7835 фирмы «Solartron Mobrey Limited», Великобритания

Б.31

Денсиметр SARASOTA модели FD 960 фирмы «Onix Measurement Ltd.», Великобритания

Б.32

Преобразователи плотности и вязкости жидкости измерительные (модели 7827, 7829) фирмы «Solartron Mobrey Limited», Великобритания

Б.33

Блок электронный влагомера поточного фирмы «Phase Dynamics, Inc.», США

Б.34.1

Влагомер поточный фирмы «Phase Dynamics, Inc.», США. Вариант 1 исполнения

Б.34.2

Влагомер поточный фирмы «Phase Dynamics, Inc.», США. Вариант 2 исполнения

Б.34.3

Влагомер поточный фирмы «Phase Dynamics, Inc.», США. Вариант 3 исполнения

Б.35

Преобразователь измерительный сверхвысокочастотный влагомера нефти поточного УДВН-1пм ООО НПП «ГОДСИБ» г. Фрязино Московской обл.

Б.36

Влагомер сырой нефти ВСН НПП «Нефтесервисприбор», г. Саратов

Б.37

Мерник образцовый MIP «Energoinvest», СФРЮ

Б.38

Вторичная аппаратура ТПУ «Energoinvest», СФРЮ

Б.39

Вторичная аппаратура ТПУ «MMG AM», Венгрия

Б.40

Индикатор фазового состояния потока ИФС-1В-700 ОАО «Электрон», г. Тюмень

Б.41

Изокинетический пробоотборник Clif Mock «NuFlo Technologies, Inc.», США

Б.42

Пробоотборник для ручного отбора нефти «СТАНДАРТ» - Р БОЗНА, г. Бугульма

Б.43

Задвижка стальная клиновая с выдвижным шпинделем ОАО «Алексинский завод тяжелой промышленной арматуры» Россия, г. Алексин-8

Рисунок Б.1 - Преобразователь расхода жидкости турбинный MVTM с двумя магнитоиндукционными датчиками фирмы «Smith Meter Inc.» FMC Energy Systems

Рисунок Б.2.1 - Преобразователь расхода турбинный счетчика турбинного «МИГ», «НОРД-М» БОЗНА. Вариант 1 пломбирования

Рисунок Б.2.2 - Преобразователь расхода турбинный счетчика турбинного «МИГ», «НОРД-М» БОЗНА. Вариант 2 пломбирования

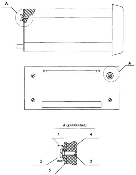
1 - шайба чашеобразная М5; 2 - мастика для оттиска клейма; 3 - винт М4; 4 - корпус; 5 - крышка клеммной коробки.

Рисунок Б.3 - Счетчик ультразвуковой серии UFM с вторичным преобразователем UFC 500F производства «КРОНЕ-Автоматика»

1 - шайба чашеобразная М5; 2 - мастика для оттиска клейма; 3 - винт М4; 4 - корпус прибора; 5 - крышка датчика.

iii

Рисунок Б.4 - Преобразователь расхода массовый ROTAMASS цельноблочного исполнения, RCCT3 фирмы Yokogawa Electric CIS

Рисунок Б.5 - Счетчик-расходомер массовый Micro Motion модель CMF 025 (050, 100) серии Elite, выполненный с соединительной коробкой, фирмы «Emerson Process Management, Fisher-Rosemount»

1 - крышка соединительной коробки; 2 - корпус соединительной коробки; 3 - крепежный винт под контровочную проволоку.

Рисунок Б.6 - Счетчик-расходомер массовый Micro Motion модель CMF 025 (050, 100) серии Elite, выполненный с базовым процессором, фирмы «Emerson Process Management, Fisher-Rosemount»

Рисунок Б.7 - Счетчик-расходомер массовый Micro Motion модель CMF 200 (300) серии Elite, выполненный с соединительной коробкой, фирмы «Emerson Process Management, Fisher-Rosemount»

1 - крышка соединительной коробки; 2 - корпус соединительной коробки; 3 - крепежный винт под контровочную проволоку.

Рисунок Б.8 - Счетчик-расходомер массовый Micro Motion модель CMF 200 (300) серии Elite, выполненный с базовым процессором, фирмы «Emerson Process Management, Fisher-Rosemount»

Рисунок Б.9 - Счетчик-расходомер массовый Micro Motion модель Т 025 (050, 100, 150), выполненный с базовым процессором, фирмы «Emerson Process Management, Fisher-Rosemount»

Рисунок Б.10 - Счетчик-расходомер массовый Micro Motion модель Т 025 (050, 100, 150), выполненный с соединительной коробкой, фирмы «Emerson Process Management, Fisher-Rosemount»

1 - крышка соединительной коробки; 2 - корпус соединительной коробки; 3 - крепежный винт под контровочную проволоку.

Рисунок Б.11 - Преобразователь измерительный RFT счетчика-расходомера массового Micro Motion фирмы «Emerson Process Management, Fisher-Rosemount»

Рисунок Б.12 - Преобразователь измерительный RFT с трансмиттером счетчика-расходомера массового Micro Motion фирмы «Emerson Process Management, Fisher-Rosemount»

1 - шайба чашеобразная M5; 2 - мастика для оттиска клейма; 3 - винт М4; 4 - корпус прибора; 5 - зажим.

Рисунок Б.13 - Прибор вторичный счетчиков жидкости турбинных MRT 97 фирмы «Daniel»

Рисунок Б.14 - Преобразователь давления измерительный Cerabar M фирмы Endress + Hauser GmbH + Co

Рисунок Б.15 - Преобразователь давления измерительный Cerabar S с изолирующей диафрагмой и фланцем фирмы Endress + Hauser GmbH + Co. KG

Рисунок Б.16 - Датчик давления МЕТРАН-100-... группы предприятий МЕТРАН

Рисунок Б.17 - Датчик давления МЕТРАН-55-Вн-... группы предприятий МЕТРАН

Рисунок Б.18 - Датчик давления МЕТРАН-55-Д..., МЕТРАН-55-Ех-Д... группы предприятий МЕТРАН

Рисунок Б.19 - Датчик давления 1151 фирмы «Fisher-Rosemount MFG CmbH & Co. OHG

Рисунок Б.20 - Преобразователь измерительный 244, 644, 3144 к датчикам температуры фирмы «Fisher-Rosemount»

Рисунок Б.21 - Преобразователь температуры измерительный RTT20 фирмы «The Foxboro Company»

Рисунок Б.22.1 - Вычислитель расхода GeoFlo и GeoProv фирмы «Smith Meter Inc.». Вариант 1 пломбирования

1 - шайба чашеобразная М5; 2 - мастика для оттиска клейма; 3 - винт М4; 4 - передняя крышка прибора; 5 - корпус прибора; 6 - корпус замка; 7 - крышка; 8 - зажимные винты.

Рисунок Б.22.2 - Вычислитель расхода GeoFlo и GeoProv фирмы «Smith Meter Inc.». Вариант 2 пломбирования

1 - шайба чашеобразная М5; 2 - мастика для оттиска клейма; 3 - винт М4; 4 - передняя крышка прибора; 5 - корпус прибора; 6 - корпус замка; 7 - голографическая наклейка обслуживающей организации.

Рисунок Б.23.1 - Устройство измерения параметров жидкости и газа (моделей 7950, 7951, 7955) фирмы «Solartron Mobrey Ltd.». Вариант 1 пломбирования

1 - передняя крышка прибора; 2 - корпус замка; 3 - крышка; 4 - зажимные винты.

Рисунок Б.23.2 - Устройство измерения параметров жидкости и газа (моделей 7950, 7951, 7955) фирмы «Solartron Mobrey Ltd.». Вариант 2 пломбирования

1 - передняя крышка прибора; 2 - корпус замка; 3 - голографическая наклейка обслуживающей организации.

Рисунок Б.24 - Сумматор импульсов LCCC-40 фирмы «Smith Meter Inc.» FMC Energy Systems

1 - шайба чашеобразная M5; 2 - мастика для оттиска клейма; 3 - винт М4; 4 - задняя крышка прибора; 5 - корпус прибора.

Рисунок Б.25 - Измерительно-вычислительный контроллер OMNI-6000 фирмы «OMNI FLOW COMPUTERS, INC.»

1 - шайба чашеобразная М5; 2 - мастика для оттиска клейма; 3 - винт М4; 4 - задняя панель; 5 - корпус прибора.

Рисунок Б.26 - Измерительно-вычислительный контроллер OMNI-3000 фирмы «OMNI FLOW COMPUTERS, INC.»

1 - шайба чашеобразная М5; 2 - мастика для оттиска клейма; 3 - винт М4; 4 - задняя панель; 5 - корпус прибора.

Рисунок Б.27.2 - Комплекс измерительно-вычислительный ИМЦ-03 ЗАО «ИМС Инжиниринг». Шкаф

1 - дверь шкафа; 2 - штырь с отверстием; 3 - отверстие двери шкафа.

Рисунок Б.27.1 - Комплекс измерительно-вычислительный ИМЦ-03 ЗАО «ИМС Инжиниринг» Промышленный компьютер

1 - каркас промышленного компьютера, 2 - винт с отверстием, 3 - фиксирующая планка.

(Новая редакция, Изм. № 1).

Рисунок Б.28 - Прибор поверки эталонный «ПУЛЬСАР-01Э» ООО «ПТП ЭРА-1». Панель лицевая прибора. Фрагмент панели задней прибора

1 - шайба чашеобразная М5; 2 - мастика для оттиска клейма; 3 - винт М4; 4 - панель задняя; 5 - корпус прибора.

Рисунок Б.29 - Измерительно-вычислительный комплекс ИВК-Н ИПФ «Турбулент»

1 - шайба чашеобразная М5; 2 - мастика для описка клейма; 3 - винт М4; 4 - лицевая панель прибора; 5 - корпус прибора.

Рисунок Б.30 - Преобразователь плотности жидкости измерительный модели 7835 фирмы «Solartron Mobrey Limited»

1 - шайба чашеобразная М5; 2 - мастика для оттиска клейма; 3 - винт М4; 4 - задняя крышка прибора; 5 - корпус прибора.

Примечания

1. C-I Оттиск клейма на пломбировочную мастику, нанесенную на винт с чашкой на крышке электронного блока

2. C-II Оттиск клейма на пломбу, установленную на контровочной проволоке, пропущенной по диагонали крышки через отверстия в винтах

Рисунок Б.31 - Денсиметр SARASOTA модели FD 960 фирмы «Onix Measurement Ltd.»

Рисунок Б.32 - Преобразователи плотности и вязкости жидкости измерительные (модели 7827, 7829) фирмы «Solartron Mobrey Limited»

Рисунок Б.33 - Блок электронный влагомера поточного фирмы «Phase Dynamics, Inc.»

Примечания

В головке болта предусмотреть отверстие для пропуска пломбировочной проволоки.

Рисунок Б.34.1 - Влагомер поточный фирмы «Phase Dynamics, Inc.». Вариант 1 исполнения

Рисунок Б.34.2 - Влагомер поточный фирмы «Phase Dynamics, Inc.». Вариант 2 исполнения

Рисунок Б.34.3 - Влагомер поточный фирмы «Phase Dynamics, Inc.». Вариант 3 исполнения

Рисунок Б.35 - Преобразователь измерительный сверхвысокочастотный влагомера нефти поточного УДВН-1пм ООО НПП «ГОДСИБ»

Рисунок Б.36 - Влагомер сырой нефти ВСН НПП «Нефтесервисприбор»

Рисунок Б.37 - Мерник образцовый MIP «Energoinvest»

Рисунок Б.38 - Вторичная аппаратура ТПУ «Energoinvest»

1 - шайба чашеобразная М5; 2 - мастика для оттиска клейма; 3 - винт М4; 4 - передняя панель; 5 - корпус прибора.

Рисунок Б.39 - Вторичная аппаратура ТПУ «MMG AM»

1 - шайба чашеобразная М5; 2 - мастика для оттиска клейма; 3 - винт М4; 4 - лицевая панель прибора; 5 - корпус прибора.

Рисунок Б.40 - Индикатор фазового состояния потока ИФС-1В-700 ОАО «Электрон»

Рисунок Б.41 - Изокинетический пробоотборник Clif Mock «NuFlo Technologies, Inc.»

Рисунок Б.42 - Пробоотборник для ручного отбора «СТАНДАРТ» - Р БОЗНА

Рисунок Б.43 - Задвижка стальная клиновая с выдвижным шпинделем ОАО «Алексинский завод тяжелой промышленной арматуры»

Приложение В
(справочное)

Примеры реализации в СОИ уровней доступа пользователей к выполнению защищенных функций

Системы обработки информации и вторичная аппаратура, входящие в состав и расположенные в операторной СИКН, снабжены различными уровнями доступа для защиты от несанкционированного доступа к изменению информации. Уровни доступа обеспечиваются с помощью ключа, блокирующих переключателей и (или) паролей.

В.1. В блоке обработки информации СОИ «Пульсар - С1 доступ пользователей к выполнению тех или иных защищенных функций реализован через предоставление определенному пользователю определенных прав доступа. Пользователи, работающие с системой, могут иметь следующие права доступа:

- «поверитель»,

- «покупатель»,

- «продавец»,

- «обслуживающий персонал».

Поверитель получает право доступа через разблокирование пломбируемого тумблера S1, расположенного на задней панели блока обработки информации.

Представители покупателя и продавца получают право доступа либо через разблокирование пломбируемых тумблеров S2 и S3, соответственно, либо через ввод личного пароля.

Представители обслуживающего персонала получают право доступа только через ввод личного пароля.

В.2. Вычислитель расхода DANIEL мод. 2522 имеет следующие уровни доступа:

полный доступ к изменению любых параметров;

полное отсутствие доступа к изменению какого-либо параметра;

полный доступ к изменению любых параметров при вводе пароля.

В.3. Система защиты контроллера ROC 407/FLOBOSS поддерживает до 50 индивидуальных пользователей. Каждому пользователю присваивается уровень безопасности в диапазоне от 0 (самый высокий) до 9 (самый низкий).

В.4. В вычислителях расхода SOLARTRON мод. 7915, 7925 доступ пользователей реализован с помощью ввода паролей или переключателя внутри вычислителя. С помощью паролей реализовано 4 уровня доступа.

В.5. Для ограничения несанкционированного доступа введена четырехуровневая система доступа и система паролей

Уровни доступа:

Доступ 0 - разрешает только просмотр всех меню и таблиц.

Доступ 1 - разрешает проведение поверки и изменение констант в таблицах, не относящихся к характеристикам измерительных каналов и преобразователей.

Доступ 2 - разрешает проводить конфигурацию входов/выходов, изменять константы управления и т.п., кроме характеристик измерительных каналов и измерительных преобразователей.

Доступ 3 - разрешает полный доступ ко всем константам всех таблиц.

Пароли:

Оператор 1 - пароль оператора сдающей стороны.

Оператор 2 - пароль оператора принимающей стороны.

Наладчик 1 - пароль обслуживающего персонала.

Инженер 1 - пароль инженера по учету сдающей стороны.

Инженер 2 - пароль инженера по учету принимающей стороны.

Наладчик 2 - пароль обслуживающего персонала.

Поверитель - пароль поверителя.

При установке «Доступ 1» запрашиваются пароли «Оператор 1» и «Оператор 2»

При установке «Доступ 2» запрашиваются пароли «Оператор 1», «Оператор 2» и «Наладчик 1».

При установке «Доступ 3» запрашиваются пароли «Инженер 1», «Инженер 2», «Наладчик 2» и «Поверитель».

При установке «Доступ 0» пароли не требуются.

(Новая редакция, Изм. № 1).

В.6. В ИВК «OMNI» предусмотрены 4 уровня паролей (привилегированный, 1, 1А, 2) и блокирующий переключатель внутри передней панели ИВК. На привилегированном уровне можно изменять все константы и пароли, а на уровне 1А можно изменять константы ТПР и плотномера.

В.7. Для защиты вычислителей расхода мод. 7950, 7951, 7955 от несанкционированного доступа к изменению информации (ввод мгновенных значений, проведение поверки) предусмотрена также система паролей по следующим уровням доступа:

«программист» или «калибровка» - персонал от организации, разработавшей программное обеспечение и поверитель;

«инженер» - персонал наладочной организации (при первоначальных пуско-наладочных работах СИКН), в дальнейшем, при эксплуатации СИКН - персонал сервисной организации, производящей техническое обслуживание СИКН;

«оператор» - персонал организаций, сдающей и (или) принимающей нефть.

С помощью ключа обеспечивается доступ пользователей на всех уровнях без ввода паролей.

Доступные функции для пользователей представлены в таблице В.1.

Таблица В.1

Доступные функции

Уровни доступа

калибровка

инженер

оператор

всеобщий

Программируемые параметры, кроме кодов безопасности

ДА

ДА

ЧАСТИЧНО*

НЕТ

Коды безопасности

ДА

НЕТ

НЕТ

НЕТ

Функции программирования

ДА

ДА

НЕТ

НЕТ

Функции калибровки

ДА

НЕТ

НЕТ

НЕТ

Отображение уровня светодиодом

Красный мигающий

Красный

Оранжевый

Зеленый

* Все данные или функции, которые не влияют на результат вычислений.

На уровне доступа «калибровка» или «программист» поверитель совместно с инженером сервисной организации проводит поверку вычислителя расхода 7955, преобразователей расхода и ввод коэффициентов после поверки СИ, входящих в состав СИКН.

На уровне доступа «инженер» представитель наладочной или сервисной организации вводит верхние и нижние предельные значения по измеряемым параметрам.

На уровне доступа «оператор» можно менять аварийные уставки по измеряемым величинам с обязательной регистрацией и указанием причины изменения в журнале эксплуатации СИКН.

В.8. Для защиты АРМ оператора «CROPOS» от несанкционированного доступа к изменению информации (ввод мгновенных значений, проведение поверки, редактирование файлов) предусмотрена следующая система паролей по уровням доступа, показанная на рисунке В.1.

Рисунок В.1 - Иерархия уровней доступа

Поверитель проводит поверку средств измерений, ввод коэффициентов совместно с инженером сервисной организации. Доступ «Поверитель + инженер сервисной службы» предполагает совместный ввод паролей.

Работа инженера сервисной организации проводится в присутствии операторов, поэтому уровень доступа «Оператор + оператор + инженер сервисной службы» требует ввода трех паролей.

Вход в уровень доступа «Оператор + оператор» осуществляется вводом паролей операторов сдающей и принимающей сторон.

Для каждого уровня доступа возможно несколько пользователей, имеющих собственные имена, причем доступные функции одинаковы для пользователей с одинаковыми уровнями доступа.

Уровень доступа задается кнопкой в нижней панели интерфейса АРМ оператора.

 



© 2013 Ёшкин Кот :-)