Информационная система
«Ёшкин Кот»

XXXecatmenu

ФЕДЕРАЛЬНОЕ АГЕНТСТВО
ПО ТЕХНИЧЕСКОМУ РЕГУЛИРОВАНИЮ И МЕТРОЛОГИИ

НАЦИОНАЛЬНЫЙ
СТАНДАРТ
РОССИЙСКОЙ
ФЕДЕРАЦИИ

ГОСТ Р
53770-2010

(ИСО 4190-1:1999)

ЛИФТЫ ПАССАЖИРСКИЕ

Основные параметры и размеры

ISO 4190-1:1999
Lift (Elevator) installation - Part 1:
Class I, II, III and IV lifts
(MOD)

Москва

Стандартинформ

2010

Предисловие

Цели и принципы стандартизации в Российской Федерации установлены Федеральным законом от 27 декабря 2002 г. № 184-ФЗ «О техническом регулировании», а правила применения национальных стандартов Российской Федерации - ГОСТ Р 1.0-2004 «Стандартизация в Российской Федерации. Основные положения»

Сведения о стандарте

1 ПОДГОТОВЛЕН ОАО «Щербинский лифтостроительный завод» (ОАО «ЩЛЗ») на основе аутентичного перевода стандарта, указанного в пункте 4

2 ВНЕСЕН Техническим комитетом по стандартизации ТК 209 «Лифты, эскалаторы, пассажирские конвейеры и подъемные платформы для инвалидов»

3 УТВЕРЖДЕН И ВВЕДЕН В ДЕЙСТВИЕ Приказом Федерального агентства по техническому регулированию и метрологии от 11 февраля 2010 г. № 15-ст

4 Настоящий стандарт является модифицированным по отношению к международному стандарту ИСО 4190-1:1999 «Лифтовая установка. Часть 1. Лифты классов I, II, III и IV» (ISO 4190-1:1999 Lift (Elevator) installation - Part 1: Class I, II, III and IV lifts).

При этом дополнительные требования и параметры, включенные в текст стандарта для учета потребностей национальной экономики Российской Федерации, выделены в тексте стандарта курсивом.

Настоящий стандарт дополнен структурным элементом «Библиография».

Наименование настоящего стандарта изменено относительно наименования указанного международного стандарта для приведения в соответствие с ГОСТ Р 1.5-2004 (пункт 3.5)

5 ВВЕДЕН ВПЕРВЫЕ

Информация об изменениях к настоящему стандарту публикуется в ежегодно издаваемом информационном указателе «Национальные стандарты», а текст изменений и поправок - в ежемесячно издаваемых информационных указателях «Национальные стандарты». В случае пересмотра (замены) или отмены настоящего стандарта соответствующее уведомление будет опубликовано в ежемесячно издаваемом информационном указателе «Национальные стандарты». Соответствующая информация, уведомления и тексты размещаются также в информационной системе общего пользования - на официальном сайте Федерального агентства по техническому регулированию и метрологии в сети Интернет

СОДЕРЖАНИЕ

1 Область применения. 2

2 Нормативные ссылки. 2

3 Термины и определения. 2

4 Параметры лифтов. 3

4.1 Ряд номинальных грузоподъемностеи. 3

4.2 Ряд номинальных скоростей. 3

5 Размеры.. 3

5.1 Внутренние размеры кабины пассажирского лифта. 3

5.2 Размеры дверного проема пассажирских лифтов. 4

5.3 Внутренние размеры шахты лифта. 4

5.4 Размеры машинного помещения лифта. 4

Приложение А (справочное) Сопоставление структуры настоящего стандарта со структурой примененного в нем международного стандарта ИСО 4190-1:1999. 10

Библиография. 11

ГОСТ Р 53770-2010
(ИСО 4190-1:1999)

НАЦИОНАЛЬНЫЙ СТАНДАРТ РОССИЙСКОЙ ФЕДЕРАЦИИ

ЛИФТЫ ПАССАЖИРСКИЕ

Основные параметры и размеры

Passenger lifts. Basic parameters and dimensions

Дата введения - 2010-06-01

1 Область применения

1.1 Настоящий стандарт распространяется на пассажирские лифты для зданий (сооружений) различного назначения.

1.2 Пассажирские лифты, включенные в настоящий стандарт, предназначены для установки в новые здания (сооружения).

Настоящий стандарт может быть использован в качестве нормативной базы при установке новых лифтов в существующие здания (сооружения).

1.3 Настоящий стандарт не распространяется на пассажирские лифты со скоростью движения кабины более 6,0 м/с.

1.4 Основные параметры и размеры лифтов могут отличаться от включенных в настоящий стандарт при условии соблюдения требований безопасности, установленных [1].

2 Нормативные ссылки

В настоящем стандарте использованы ссылки на следующие стандарты:

ГОСТ 8032-84 Предпочтительные числа и ряды предпочтительных чисел

ГОСТ 30471-96/ГОСТ Р 50602-93 Кресла-коляски. Максимальные габаритные размеры

Примечание - При пользовании настоящим стандартом целесообразно проверить действие ссылочных стандартов в информационной системе общего пользования на официальном сайте Федерального агентства по техническому регулированию и метрологии в сети Интернет или по ежегодно издаваемому информационному указателю «Национальные стандарты», который опубликован по состоянию на 1 января текущего года, и по соответствующим ежемесячно издаваемым информационным указателям, опубликованным в текущем году. Если ссылочный стандарт заменен (изменен), то при пользовании настоящим стандартом следует руководствоваться заменяющим (измененным) стандартом. Если ссылочный стандарт отменен без замены, то положение, в котором дана ссылка на него, применяется в части, не затрагивающей эту ссылку.

3 Термины и определения

В настоящем стандарте применены следующие термины с соответствующими определениями:

3.1 грузоподъемность лифта номинальная: Наибольшая масса груза, для транспортирования которой предназначен лифт.

3.2 дверь кабины (шахты) горизонтально-раздвижная: Дверь, створка (створки) которой перемещаются в горизонтальном направлении.

3.3 дверь кабины (шахты) горизонтально-раздвижная телескопическая: Дверь, створки которой перемещаются в параллельных плоскостях, при открывании заходя одна за другую.

3.4 дверь кабины (шахты) горизонтально-раздвижная центрального открывания: Дверь, створки которой при движении перемещаются в противоположные направления от центра (к центру).

3.5 дверь кабины (шахты) горизонтально-раздвижная одностороннего открывания: Дверь, створка (створки) которой перемещаются в одну сторону.

3.6 дверь кабины (шахты) распашная: Дверь кабины (шахты), створка (створки) которой перемещаются вокруг шарнирного крепления к порталу двери.

3.7 дверь кабины (шахты) складчатая: Дверь кабины (шахты), створка (створки) которой состоят из двух и более панелей, соединенных между собой шарнирами с возможностью складывания при открывании, а крайние полотна перемещаются вокруг шарнирного крепления к порталу двери.

3.8 кабина пассажирского лифта: Грузонесущее устройство, предназначенное для размещения и транспортирования пользователей, оборудованное ограждением в виде стен, пола, потолка и двери.

3.9 лифт: Грузоподъемная машина периодического действия, предназначенная для транспортирования людей и/или грузов в зданиях и сооружениях, оборудованная кабиной, перемещающейся по жестким направляющим, угол наклона которых к вертикали не превышает 15°.

3.10 лифт пассажирский: Лифт, предназначенный в основном для подъема и спуска людей.

3.11 лифт пассажирский категории А: Пассажирский лифт, полезная площадь кабины которого не превышает указанную в таблице 1 настоящего стандарта для соответствующей номинальной грузоподъемности.

3.12 лифт пассажирский категории В: Пассажирский лифт, полезная площадь кабины которого превышает указанную в таблице 1 настоящего стандарта для соответствующей номинальной грузоподъемности.

3.13 лифт пассажирский для лечебно-профилактических зданий (больничный лифт): Пассажирский лифт, размеры и конструкции которого позволяют перевозить пациентов на средствах горизонтального транспортирования (каталках, кроватях и т.п.) и/или медицинское оборудование.

3.14 лифт пассажирский самостоятельного пользования: Лифт, в котором транспортирование, вход и выход пассажиров осуществляются без участия обученного персонала.

3.15 машинное помещение: Отдельное помещение для размещения оборудования лифта (гидроагрегат или лебедка, а также связанные с ними механические и электрические устройства).

3.16 приямок шахты: Часть шахты, расположенная ниже уровня крайней нижней этажной площадки.

3.17 полезная площадь кабины: Площадь кабины, измеренная при закрытых дверях на высоте 1 м от уровня пола кабины, используемая для размещения транспортируемых пассажиров и/или грузов.

3.18 скорость лифта номинальная: Скорость движения кабины, на которую рассчитан лифт.

3.19 шахта лифта: Пространство, в котором перемещается кабина и, при наличии, противовес и/или уравновешивающее устройство кабины.

3.20 внутренние размеры кабины, шахты, машинного помещения: (см. рисунки 1 - 3).

3.20.1 ширина кабины b1: Расстояние по горизонтали между внутренними поверхностями стен кабины, измеренное параллельно передней стенке входа в кабину. При наличии декоративных или защитных панелей, поручней они должны находиться внутри этого размера.

3.20.2 глубина кабины d1: Расстояние по горизонтали между внутренними поверхностями передней и задней стен кабины, измеренное перпендикулярно к ширине кабины при наличии декоративных и защитных панелей, поручней они должны находиться внутри этого размера.

3.20.3 высота кабины h1: Расстояние по вертикали между полом и конструктивным потолком кабины.

Устройства освещения кабины и декоративные потолки должны находиться внутри этого размера.

3.20.4 ширина дверного проема b2: Ширина входа в свету, измеренная при полностью открытых дверях кабины и шахты.

3.20.5 высота дверного проема h3: Высота входа в свету, измеренная при полностью открытых дверях кабины и шахты.

3.20.6 ширина шахты b3: Расстояние по горизонтали между внутренними поверхностями боковых стен шахты, измеренное параллельно к ширине кабины.

3.20.7 глубина шахты d2: Расстояние по горизонтали между внутренними поверхностями передней и задней стен шахты, измеренное перпендикулярно к ширине шахты.

3.20.8 глубина приямка d3: Расстояние по вертикали от уровня пола крайней нижней этажной площадки до пола шахты, измеренное параллельно направляющим.

3.20.9 высота шахты от верхней этажной площадки h1: Расстояние от уровня пола верхней этажной площадки до нижней части перекрытия шахты, измеренное параллельно направляющим.

3.20.10 ширина машинного помещения b4: Расстояние по горизонтали между внутренними поверхностями стен машинного помещения, измеренное параллельно ширине кабины.

3.20.11 глубина машинного помещения d4: Расстояние по горизонтали между внутренними поверхностями стен машинного помещения, измеренное перпендикулярно к ширине машинного помещения.

3.20.12 высота машинного помещения h2: Расстояние по вертикали между уровнем пола машинного помещения, на котором размещено оборудование лифта, и потолком машинного помещения.

3.21 система управления лифта: Совокупность устройств управления, обеспечивающих работу лифта в соответствии с заданной программой.

3.22 система управления лифта внутренняя: Вид управления, при котором команда управления на пуск лифта подается только из кабины лифта.

3.23 система управления лифта смешанная: Вид управления, при котором команда управления на пуск лифта подается как из кабины, так и с этажных площадок.

4 Параметры лифтов

4.1 Ряд номинальных грузоподъемностеи

Значения номинальных грузоподъемностеи, кг, выбирают из ряда чисел, близких к ряду предпочтительных чисел R10 по ГОСТ 8032: 320; 400; 450; 500; 630; 800; 1000; 1275; 1600; 1800; 2000; 2500.

4.2 Ряд номинальных скоростей

Значения номинальных скоростей, м/с, выбирают из ряда чисел, близких к ряду предпочтительных чисел R5 по ГОСТ 8032: 0,4; 0,5; 0,63; 0,71; 1,0; 1,6; 2,0; 2,5; 3,0; 3,5; 4,0; 5,0; 6,0. Скорость от 0,5 до 6,0 м/с - для электрических лифтов. Скорость от 0,4 до 1,0 м/с - для гидравлических лифтов.

5 Размеры

5.1 Внутренние размеры кабины пассажирского лифта

Размеры (полезная площадь) кабины лифтов категории А не должны превышать величин, установленных в таблице 1 для соответствующих номинальных грузоподъемностей. Ограничение полезной площади имеет целью предотвратить перегрузку кабины пассажирского лифта пассажирами.

Таблица 1 - Соотношение номинальной грузоподъемности и полезной площади кабины пассажирских лифтов категории А

Номинальная грузоподъемность лифта, кг

Максимальная полезная площадь кабины, м2

320

0,96

400

1,17

450

1,30

500

1,38

630

1,66

800

2,00

1000

2,40

1275

2,95

1600

3,56

1800

4,0

2000

4,20

2500

5,00

В пассажирских лифтах категории В, полезная площадь кабины которых превышает указанную в таблице 1 для соответствующих грузоподъемностей, предусматривается:

a) исключение возможности пуска лифтов из кабины или с посадочной площадки при нахождении в кабине груза, масса которого превышает номинальную грузоподъемность лифтов на 10%, но не менее чем на 75 кг;

b) оборудование кабины лифта сигнальным устройством о перегрузке (световое и звуковое);

c) применение средств, препятствующих опусканию кабины за нижнюю границу зоны отпирания дверей при нахождении в кабине груза, масса которого равна полуторной грузоподъемности лифта, определенной по фактической полезной площади кабины;

d) обеспечение прочности элементов при размещении в неподвижной кабине равномерно распределенного по площади ее пола груза, определенной по фактической полезной площади кабины;

e) обеспечение прочности элементов при посадке на буфера и на ловители кабины с грузом, масса которого равна номинальной грузоподъемности лифта, определенной по фактической полезной площади кабины.

В пассажирских лифтах для лечебно-профилактических учреждений (больничных лифтов) с внутренней системой управления, полезная площадь кабины которых превышает указанную в таблице 1 для соответствующих грузоподъемностей, предусматривается:

a) внутренняя система управления (с проводником);

b) исключение возможности пуска лифта из кабины или с посадочной площадки при нахождении в кабине груза, масса которого превышает номинальную грузоподъемность лифта на 10 %, но не менее чем на 75 кг;

c) оборудование кабины лифта сигнальным устройством о перегрузке (световое и звуковое);

d) допуск к управлению лифтом обученного и аттестованного персонала.

Размеры кабины лифтов, предназначенных для использования пожарными во время пожара, должны обеспечивать размещение и транспортирование в кабине пожарных с оборудованием для борьбы с пожаром и/или для спасения людей.

Размеры кабины лифтов, предназначенных для использования инвалидами и другими маломобильными группами населения на креслах-колясках, должны обеспечивать их въезд-выезд, размещение и транспортирование в кабине на кресле-коляске.

Размеры кабины лифтов для лечебно-профилактических учреждений (больничных лифтов) должны обеспечивать перевозку пациентов на средствах горизонтального транспорта (каталках, кроватях) с сопровождающим персоналом и/или медицинского оборудования.

Размеры кабины пассажирских лифтов приведены в таблицах 2 и 4 и на рисунках 4, 4а, 5, 5а, 7 и 7а.

5.2 Размеры дверного проема пассажирских лифтов

Размеры дверного проема пассажирских лифтов должны обеспечивать безопасный вход в кабину и выход из нее пользователей, в том числе с детскими колясками.

Высота дверного проема пассажирских лифтов должна быть не менее 2000 мм.

Ширина дверного проема пассажирских лифтов, предназначенных для использования пожарными во время пожара, должна быть достаточной для безопасного входа и выхода пожарных с оборудованием для борьбы с пожаром и/или для спасения людей.

Ширина дверного проема пассажирских лифтов, предназначенных для использования инвалидами и другими маломобильными группами населения на креслах-колясках, должна быть достаточной для их безопасного въезда в кабину и выезда из нее.

Ширина дверного проема пассажирских лифтов для лечебно-профилактических учреждений (больничных лифтов) должна обеспечивать перевозку пациентов на средствах горизонтального транспорта (каталках, кроватях) с сопровождающим персоналом и/или медицинского оборудования.

Размеры дверного проема пассажирских лифтов приведены в таблицах 2 и 4 и на рисунках 4, 4а, 5, 6, 7 и 7а.

5.3 Внутренние размеры шахты лифта

5.3.1 Внутренние размеры шахты лифта должны обеспечивать размещение и безопасную работу лифтового оборудования, а также безопасность персонала при техническом обслуживании, ремонте и экспертизе лифта, предусмотренных [1].

5.3.2 Высота шахты лифта от верхней посадочной площадки должна обеспечивать выполнение требований безопасности, предусмотренных [1], пункт 3.11.

5.3.3 Глубина приямка шахты лифта должна обеспечивать выполнение требований безопасности, предусмотренных [1], пункт 3.12.4.

5.4 Размеры машинного помещения лифта

Размеры машинного помещения лифта приведены в таблицах 3 и 4.

5.4.1 Размеры машинного помещения лифта должны обеспечивать размещение и безопасную работу лифтового оборудования, а также безопасность персонала при техническом обслуживании, ремонте и экспертизе лифта, предусмотренных [1].

5.4.2 Площадь машинного помещения лифта (ширина и глубина машинного помещения) должна обеспечивать зону обслуживания устройств управления и подвижных частей механического оборудования, расположенных в машинном помещении, предусмотренных [1], пункты 4.3.9.3, 4.3.9.4, 4.3.9.5.

5.4.3 Высота машинного помещения лифта должна обеспечивать безопасность персонала при проходе к зонам обслуживания устройств управления и механического оборудования и при работе в зонах обслуживания, предусмотренных [1], подпункт 4.3.9.1.

Таблица 2 - Размеры кабины и шахты пассажирских лифтов

Параметры

Номинальная скорость движения

лифта V, м/с

Номинальная грузоподъемность лифта, кг

320

400

630

800

1000

1000; 1275

1275

1600

1800

2000

Высота кабины h4

-

2200/2700

2300

2400

Высота дверей кабины и шахты h3

-

2000

2100/2000

2100

Глубина приямка d3

0,40*

1400

**

0,63

1400

1400/7500

**

1,00

1,60

1600/7400

1600

2,00

**

1750

1750

2,50

**

2200

2200

3,00

**

3200

3,50

3400

4,00***

3800

5,00***

3800

6,00***

4000

Высота шахты от верхней и этажной площадки до перекрытия шахты

0,40*

3600

-

**

0,63

3600

-

-

**

1,00

3700/3500

3700

4200

1,60

**

3800/3700

4000

2,00

**

4300

4400

2,50

**

5000

5200

5500

3,00

**

5500

3,50

5700

4,00***

5700

5,00***

5700

6,00***

6200

* Только для гидравлических лифтов.

** Размеры устанавливаются изготовителем.

*** Размеры учитывают применения буферов с уменьшенным ходом плунжера.

Таблица 3 - Размеры машинного помещения

Размеры в миллиметрах

Параметры

Номинальная скорость V, м/с

Номинальная грузоподъемность, кг

320-630

b4 ´ d4

800-1000

b4 ´ d4

1250-1600

b4 ´ d4

1800-2000

b4 ´ d4

Машинные помещения для электрических лифтов, не менее

0,63-1,6

2500 ´ 3200

(3000 ´ 3900)

3200 ´ 4900

(4800 ´ 4000)

3200 ´4900

3000 ´ 5000

2,0-3,0

-

2700 ´ 5100

3000 ´ 5300

3300 ´ 5700

3,5-6,0

-

3000 ´ 5700

3000 ´ 5700

3300 ´ 5700

Машинные помещения для гидравлических лифтов, не менее

0,4-1,0

Ширина или глубина шахты ´ 2000 мм для лифтов в жилых зданиях. Размеры для зданий с интенсивным пассажиропотоком устанавливаются изготовителем

Таблица 4 - Вертикальные размеры кабины, шахты, размеры машинных помещений лифтов для лечебно-профилактических учреждений (больничных лифтов)

Размеры в миллиметрах

Параметры

Номинальная

скорость VH,

м/с

Номинальная грузоподъемность, кг

500

630

1275

1600

2000

2500

Высота кабины h4

-

2100

2300

Высота дверного проема кабины и шахты h3

-

2000

2100

Глубина приямка с/3

0,50

1300

1400

-

-

0,63

-

1600

1800

1,00

-

1700

1900

1,60

-

1900

2100

2,00

-

2100

2300

2,50

-

2500

Высота шахты от верхней этажной площадки до перекрытия шахты h1

0,50

3600

-

0,63

-

4400

4600

1,00

-

4400

4600

1,60

-

4400

4600

2,00

-

4600

4800

2,50

-

5400

5600

Размеры машинного помещения, не менее

От 0,50

до 2,50

Площадь А, м2

10,8

25

27

29

Ширина* b4

2700

3200

3500

Глубина* d4

4000

5500

5800

* Размеры b4 и d4 - минимальные. Фактические размеры должны обеспечивать площадь машинного помещения не менее А.

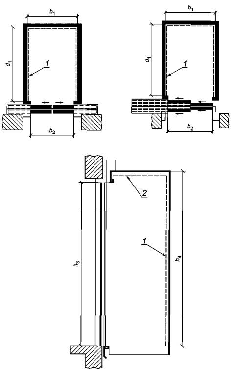
b1 - ширина кабины; b2 - ширина дверного проема; d1 - глубина кабины; h3 - высота дверного проема;
h4 - высота кабины

1 - облицовка купе кабины; 2 - подвесной потолок

Рисунок 1 - Пассажирские лифты. Обозначение размеров кабины и дверного проема

d - машинное помещение (вход в машинное помещение не показан); h3 - ширина шахты; h4 - ширина машинного помещения;
d2 - глубина шахты; d3 - глубина приямка; d4 - глубина машинного помещения;
h1 - расстояние от уровня верхней остановки до перекрытия шахты; h2 - высота машинного помещения

1 - машинное помещение; 2 - люк; 3 - верхняя остановка; 4 - нижняя остановка

Рисунок 2 - Электрические пассажирские лифты. Обозначения размеров шахты и машинного помещения

а - машинное помещение (вход в машинное помещение не показан); b3 - ширина шахты; b2 - ширина машинного помещения;
d2 - глубина шахты; d3 - глубина приямка; d4 - глубина машинного помещения;
h1 - расстояние от уровня верхней остановки до перекрытия шахты; h2 - высота машинного помещения;

1 - машинное помещение; 2 - верхняя остановка; 3 - нижняя остановка

Рисунок 3 - Гидравлические пассажирские лифты. Обозначения размеров шахты и машинного помещения

Примечания

1 Размеры для лифтов со скоростью до 2,5 м/с включительно.

2 Лифты с символом  обеспечивают доступность для инвалидов на кресле-коляске по ГОСТ 30471.

3 Лифты с символом обеспечивают возможность транспортирования носилок размером 600 х2000 мм.

4 Минимальные размеры ширины и глубины кабины должны обеспечивать площадь кабины не менее предусмотренной для соответствующих вместимостей [1].

Рисунок 4 - Пассажирские лифты категории А, рекомендуемые для жилых зданий

Примечания

1 Размеры лифтов со скоростью до 2,5 м/с включительно.

2 Лифты с символом  обеспечивают доступность для инвалидов в кресле-коляске по ГОСТ 30471.

3 Лифты с символом  обеспечивают возможность транспортирования носилок размером 600 х 2000 мм.

Рисунок 4а - Пассажирские лифты категории В, рекомендуемые для жилых зданий

Примечания

1 Размеры для лифтов со скоростью до 2,5 м/с включительно.

2 Лифты с шириной дверного проема 800,900 и 1100 мм обеспечивают доступность для инвалидов на кресле-коляске.

3 Лифты с символом  обеспечивают возможность полного разворота кресла-коляски в кабине.

4 Минимальные размеры ширины и глубины кабины должны обеспечивать площадь кабины не менее предусмотренной для соответствующих вместимостей [1].

Рисунок 5 - Пассажирские лифты категории А, рекомендуемые для общественных зданий

__________

** Размер только для лифтов грузоподъемностью 1275 кг со скоростью 2,5 м/с.

Примечания

1 Размеры для лифтов со скоростью от 2,5 м/с до 6,0 м/с включительно.

2 Лифты с символом * обеспечивают возможность полного разворота кресла-коляски в кабине.

Рисунок 6 - Пассажирские лифты категории А рекомендуемые для высотных зданий с интенсивными пассажиропотоками

Примечания

1 Размеры для лифтов со скоростью до 2,5 м/с включительно.

2 Размеры в скобках указаны для гидравлических лифтов с боковым расположением гидроцилиндра.

3 Лифты с символом  обеспечивают доступность для инвалидов на кресле-коляске.

4 Лифты с символом * обеспечивают возможность полного разворота кресла-коляски в кабине.

5 Размеры кабин лифтов обеспечивают транспортировку больных на кроватях с максимальными габаритными размерами:

а 900 ´ 2000;

b 1000 ´ 2300;

с 1000 ´ 2300 с дополнительным медицинским оборудованием.

Рисунок7 - Пассажирские лифты категории А для лечебно-профилактических учреждений(больничные лифты)

__________

* Размер для проходной кабины.

Примечания

1 Лифты с символом  обеспечивают доступность для инвалидов в кресле-коляске.

2 Размеры кабин лифтов обеспечивают транспортирование больных на кроватях с максимальными габаритными размерами 900 ´ 2000.

Рисунок 7а - Пассажирские лифты категории В для лечебно-профилактических учреждений (больничные лифты)

Приложение А
(справочное)

Сопоставление структуры настоящего стандарта со структурой примененного в нем международного стандарта ИСО 4190-1:1999

Указанное в таблице изменение структуры национального стандарта Российской Федерации относительно структуры примененного международного стандарта обусловлено приведением в соответствие с требованиями, установленными в ГОСТ 1.5.

Таблица А.1

Структура настоящего стандарта

Структура международного стандарта ИСО 4190-1:1999

Раздел 1

Раздел 1

Раздел 2

-

Раздел 3

Раздел 2

Раздел 4

Раздел 3

Раздел 5

Раздел 4

Библиография

[1] ПБ 10-558-2003 Правила устройства и безопасной эксплуатации лифтов. Госгортехнадзор РФ, 2003

Ключевые слова: пассажирские лифты, здания и сооружения различного назначения, основные параметры и размеры

 



© 2013 Ёшкин Кот :-)