Информационная система
«Ёшкин Кот»

XXXecatmenu

Открытое акционерное общество

Проектно-конструкторский и технологический
институт промышленного строительства

ОАО ПКТИпромстрой

 

 

 

 

 

УТВЕРЖДАЮ

 

 

Генеральный директор, к.т.н.

С.Ю. Едличка

«___» __________ 2007 г.

 

ТЕХНОЛОГИЧЕСКАЯ КАРТА
НА УСТРОЙСТВО ОКРАСОЧНОЙ
ГИДРОИЗОЛЯЦИИ ФУНДАМЕНТОВ
ХОЛОДНЫМИ БИТУМНЫМИ МАСТИКАМИ

57-03 ТК

Издание второе
переработанное и дополненное

Первый заместитель генерального

директора - главный инженер

_____________ A.B. Колобов

Начальник отдела

_____________ Б.И. Бычковский

2007

 

Карта содержит организационно-технологические и технические решения на устройство окрасочной гидроизоляции фундаментов холодными битумными и битумно-полимерными мастиками, использование которых должно способствовать ускорению работ, снижению затрат труда и повышению качества гидроизоляции фундаментов.

В технологической карте приведены: область применения, организация и технологическая последовательность выполнения работ, требования к качеству и приемке работ, калькуляция затрат труда, график производства работ, потребность в материально-технических ресурсах, решения по безопасности и охране труда и технико-экономические показатели.

Исходные данные и конструктивные решения, применительно к которым разработана карта, приняты с учетом требований действующих строительных норм и правил, а также условий и особенностей, характерных для строительства в г. Москве.

Технологическая карта служит технологическим документом в монолитном домостроении и предназначена для инженерно-технических работников строительных и проектных организаций, производителей работ, мастеров и бригадиров, связанных с производством гидроизоляционных работ монолитных железобетонных конструкций, а также технических служб заказчика.

В разработке технологической карты, впервые выпущенной в 2003 г., участвовали сотрудники ОАО ПКТИпромстрой:

- Савина О.А. - разработка технологической карты, компьютерная обработка и графика;

- Черных В.В. - общее технологическое сопровождение;

- Холопов В.Н - проверка технологической карты;

- Бычковский Б.И. - разработка технологической карты, техническое руководство, корректура и нормоконтроль;

- Колобов А.В. - общее техническое руководство разработкой технологических карт;

- к.т.н. Едличка С.Ю. - общее руководство разработкой технологической документации.

Корректировку технологической карты выполнили сотрудники отдела 41 ОАО ПКТИпромстрой Б.И. Бычковский и О.А. Савина.

Контактный телефон (495) 614-14-72.

Факс (495) 614-95-53.

E-mail pkti@co.ru

http://www.pkti.со.ru.

 

СОДЕРЖАНИЕ

1 ОБЛАСТЬ ПРИМЕНЕНИЯ

1.1 Технологическая карта разработана на устройство окрасочной гидроизоляции 1000 м2 поверхности фундаментов холодными битумными мастиками в жилищно-гражданском и промышленном строительстве.

1.2 Технологическая карта разработана на производство работ при положительных температурах. Общие указания по производству работ в зимнее время приведены в пп. 2.11, 2.14, 2.15.

1.3 При привязке технологической карты к конкретному объекту и условиям строительства уточняют объемы работ, калькуляцию трудовых затрат, марку мастики, методы нанесения и средства механизации.

1.4 Форма использования карты предусматривает обращение ее в сфере информационных технологий с включением в базу данных по технологии и организации строительного производства автоматизированного рабочего места технолога строительного производства (АРМ ТСП), подрядчика и заказчика.

2 ОРГАНИЗАЦИЯ И ТЕХНОЛОГИЯ ВЫПОЛНЕНИЯ РАБОТ

2.1 Материалы для устройства гидроизоляции выбирают по наиболее важным для эксплуатации характеристикам с учетом особенностей производства строительно-монтажных работ и возможностей ухода за гидроизоляцией в процессе эксплуатации.

Наиболее часто применяемыми являются:

- битумы нефтяные строительные;

- битумы нефтяные кровельные;

- битумы нефтяные изоляционные.

Технические характеристики нефтяных битумов представлены в таблице 1.

Таблица 1 - Технические характеристики нефтяных битумов

Вид, назначение

Марка

Температура размягчения, °С

Растяжимость, см, при температуре, °С

Глубина проникания иглы, град пенетрации, при температуре, °С

25

0

25

0

Строительные (для строительных работ в различных отраслях народного хозяйства) ГОСТ 6617-76*

БН 50/50

50

40

-

41 ... 60

Не нормируется

БН 70/30

70

3

-

21 ... 40

БН 90/10

90

1

-

5 ... 20

Изоляционные (для изоляции трубопроводов от грунтовой коррозии) ГОСТ 9812-74*

БН-IV-3

65

4

-

30 ... 50

15

БНИ-IV

75

3

-

25 ... 40

12

БНИ-V

90

2

-

20

9

Кровельные (для производства кровельных материалов) ГОСТ 9548-74*

БНК 45/180

40 ... 50

-

-

140 ... 220

-

БНК 90/40

85 ... 95

-

-

35 ... 45

-

БНК 90/30

85 ... 95

-

-

25 ... 35

-

2.2 Для изготовления холодных битумных мастик используются органические растворители, волокнистые и пылевидные наполнители. Их состав указывается в проекте и определяется лабораторным путем для каждого замеса.

2.3 До начала гидроизоляционных работ объект должен быть подготовлен к гидроизоляционным работам:

- осушены котлованы (выполнено строительное водопонижение) при наличии высокого уровня грунтовых вод;

- выполнены фундаменты;

- вдоль фронта работ подготовлены подмости или леса (при необходимости);

- обеспечены подъезды для автотранспорта и другой техники;

- выполнена подводка электроэнергии и временное электроосвещение,

- завезено и опробовано оборудование при механизированном способе нанесения окрасочных слоев.

2.4 Холодные битумные мастики для окрасочной гидроизоляции, как правило, приготавливают в заводских условиях и только для небольших объемов работ допускается приготовление мастики на объекте.

2.5 К устройству окрасочной гидроизоляции приступают только после подготовки поверхности фундамента, схематично представленного на рисунке 1, под гидроизоляцию. Подготовка поверхности под окрасочную гидроизоляцию заключается в следующем:

- заделке раковин и трещин;

- срезке выступающих арматурных стержней и проволоки;

- срубке наплывов бетона и раствора;

- удалении ржавчины при ее наличии;

- закруглении радиусом 30 - 50 мм или скосом на фаску углов;

- просушке поверхностей;

- непосредственно перед окраской - в очистке поверхностей от грязи и пыли и протирке очищенной поверхности ветошью.

Требования к подготовке поверхности изложены в таблице 2 СНиП 3.04.01-87.

Рисунок 1 - Схематический план фундамента

2.6 В состав работ, рассматриваемых картой, входят:

- подготовка поверхности;

- нанесение огрунтовки;

- гидроизоляция горизонтальных и вертикальных поверхностей механизированным способом или вручную холодными битумными мастиками;

- формирование покрытия (сушка, отверждение).

2.7 Перед нанесением окрасочного состава изолируемые поверхности должны быть огрунтованы разжиженным окрасочным составом согласно данным таблицы 2 без пропусков и разрывов, а углы и грани оклеены полосками стеклоткани или гидроизола шириной не менее 200 мм. Грунтовка должна иметь прочное сцепление с основанием, на приложенном к ней тампоне не должно оставаться следов вяжущего.

Таблица 2 - Составы холодных битумных грунтовок, % массы

Компонент

Для бетонных поверхностей

Примечание

1-й слой

2-й слой

3-й слой

Битум БН 50/50 или БН 70/30

25

50

75

 

Бензин-растворитель

75

50

25

 

2.8 Влажность бетона при устройстве гидроизоляции из составов, содержащих органические растворители, не должна быть более 4 %.

2.9 Нанесение окрасочных слоев производят только после полного высыхания грунтовочного слоя, как правило, механизированным способом агрегатами с винтовыми насосами, а при небольших объемах работ, как исключение, ручным способом (малярными кистями или щетками). Окрасочную гидроизоляцию наносят в виде тонкого водонепроницаемого покрова на изолируемую поверхность с увлажняемой стороны в 2 - 4 слоя общей толщиной 3 - 6 мм с перекрытием смежных полос.

2.10 Изоляционный битумный состав должен наноситься сплошными и равномерными слоями или одним слоем без пропусков и наплывов. Каждый последующий слой необходимо устраивать по отвердевшей поверхности предыдущего слоя.

2.11 Температура холодных битумных мастик при нанесении в зимнее время не должна превышать 65 °С.

2.12 Для получения покрытия равномерной толщины при пневматическом напылении окрасочных материалов придерживаются следующих правил:

- сопло краскораспылителя должно находиться от окрашиваемой поверхности на расстоянии 200 - 400 мм так, чтобы струя наносимой мастики не сгоняла ранее нанесенный слой;

- окрасочный факел должен быть направлен перпендикулярно к окрашиваемой поверхности;

- оператор должен перемещать распылитель равномерно сверху вниз до границы окрашиваемой полосы, затем с опущенным курком распылитель переносится влево или вправо так, чтобы следующая полоса своим краем перекрывала предыдущую на 40 - 50 мм.

Распылитель перемещают со скоростью 14 - 18 м/мин. Иногда первый слой наносят вертикальными полосами, а второй - горизонтальными.

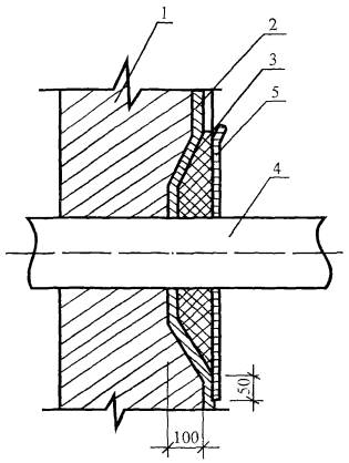
2.13 Сопряжение гидроизоляции различных типов должно быть плотным Окрасочную гидроизоляцию с оклеечной соединяют путем наклейки всех слоев последующей за окрасочной гидроизоляцией на полосе шириной не менее 500 мм с устройством дополнительного окрасочного слоя по оклеечной на ширине этой полосы. С асфальтовой окрасочная гидроизоляция сопрягается внахлестку на полосе шириной 300 - 400 мм. Вокруг закладной детали, как показано на рисунке 2, в поверхности, на которую наносят изоляцию, на глубину не менее 100 мм делают углубление. На вертикальных поверхностях после устройства окрасочной гидроизоляции к закладной детали приваривают металлическую диафрагму и через верх образовавшуюся пустоту заполняют мастикой. На горизонтальных поверхностях диафрагму не приваривают, непосредственно заполняя углубление мастикой.

1 - изолируемая конструкция; 2 - гидроизоляция; 3 - заливка мастикой; 4 - труба (анкер), 5 - защитная металлическая диафрагма

Рисунок 2 - Сопряжение закладных деталей с гидроизоляцией

2.14 Холодные битумные мастики для работы при отрицательных температурах изготавливают с противоморозными добавками. Мастики, изготовленные в специальных цехах и заводах, доставляют на объект в специально утепленной таре (замерзание мастики не допускается).

2.15 Открытые рабочие места защищают от ветра и атмосферных осадков. Перед нанесением окрасочного слоя гидроизоляции поверхности очищают от снега, наледи, инея, просушивают и отогревают до положительной температуры.

По горизонтальным поверхностям гидроизоляцию выполняют по методу «термос», т.е. гидроизоляционный слой сразу же закрывают стяжкой из цементного раствора.

2.16 Формирование поверхности гидроизоляции заключается в заделке материалом щелей, трещин, раковин с последующей сушкой и отверждением нанесенных слоев.

2.17 Работы по устройству окрасочной гидроизоляции выполняет бригада в составе:

гидроизолировщики:        4 разряда - 1 чел.

2 разряда - 1 чел.

термоизолировщик:          3 разряда - 1 чел.

машинист:                         3 разряда - 1 чел.

2.18 Все работы, связанные с устройством окрасочной гидроизоляции фундаментов холодными битумными мастиками, выполнять в соответствии с правилами производства и приемки работ согласно:

- СНиП 12-01-2004 «Организация строительства»;

- СНиП 3.04.01-87 «Изоляционные и отделочные покрытия»;

- СНиП 3.04.03-85 «Защита строительных конструкций и сооружений от коррозии».

3 ТРЕБОВАНИЯ К КАЧЕСТВУ И ПРИЕМКЕ РАБОТ

3.1 Надежность гидроизоляции зависит от водонепроницаемости и других физико-механических свойств исходных материалов, качества выполненных строительно-монтажных работ, постоянства технологического режима и условий эксплуатации.

3.2 При производстве работ по устройству окрасочной гидроизоляции поверхности фундаментов необходимо вести строгий контроль качества применяемых материалов, соблюдения технологии выполнения работ и ухода за законченными покрытиями.

3.3 Контроль качества работ по устройству окрасочной гидроизоляции выполняют в соответствии с требованиями СНиП 12-01-2004 «Организация строительства», СНиП 3.04.01-87 «Изоляционные и отделочные покрытия». Допустимые отклонения при устройстве окрасочной гидроизоляции нормативными документами не регламентированы.

3.4 Производственный контроль качества гидроизоляционных работ должен включать входной контроль рабочей документации, конструкций, изделий, материалов и оборудования, операционный контроль отдельных строительных процессов или производственных операций и оценку соответствия выполненных изоляционных работ.

3.5 При входном контроле рабочей документации должна производиться проверка ее комплектности и достаточности содержащейся в ней технической информации для производства работ.

При входном контроле изделий и материалов, составляющих гидроизоляционное покрытие поверхностей фундаментов, следует проверять внешним осмотром их соответствие требованиям стандартов или других нормативных документов и рабочей документации, а также наличие и содержание паспортов, сертификатов и других сопроводительных документов.

3.6 Требования к материалам.

3.6.1 Все материалы, применяемые при устройстве окрасочной гидроизоляции, должны отвечать требованиям действующих стандартов и технических условий (ТУ) на эти материалы.

Материалы после истечения установленного стандартами или ТУ срока хранения перед применением подлежат контрольной проверке в строительной лаборатории.

3.6.2 Физико-химические показатели битумных мастик марок БНК по ГОСТ 9548-74* приведены в таблице 3.

Таблица 3 - Физико-химические показатели битумных мастик БНК

Наименование показателя

Норма для марки

Метод испытания

БНК-40/180

БНК-45/190

БНК-90/30

ОКП 02 5622 0202

ОКП 02 5622 0201

ОКП 02 5623 0201

1

2

3

4

5

1. Глубина проникания иглы при 25 °С, 0,1 мм

160 - 210

160 - 220

25 - 35

По ГОСТ 11501-78*

2. Температура размягчения по кольцу и шару, °С

37 - 44

40 - 50

80 - 95

По ГОСТ 11506-73*

3. Температура хрупкости, °С, не выше

-

-

-10

По ГОСТ 11507-78*

4. Растворимость в толуоле или хлороформе, %, не менее

99,50

99,50

99,50

По ГОСТ 20739-75*

5. Изменение массы после прогрева, %, не более

0,80

0,80

0,50

По ГОСТ 18180-72*

6. Глубина проникания иглы при 25 °С в остатке после прогрева, % от первоначальной величины, не менее

60

60

70

По ГОСТ 11501-78*

7. Температура вспышки, °С, не ниже

 

240

 

По ГОСТ 4333-87*

8. Массовая доля воды, не более

 

Следы

 

По ГОСТ 2477-65*

9. Массовая доля парафина, %, не более

-

5,0

-

По ГОСТ 17789-72* или по ГОСТ 28967-91

10. Индекс пенетрации

-

От 1,0 до 2,5

-

По приложению 2 ГОСТ 9548-74*

Примечание - Для битума из смеси нефтей, содержащих более 50 % западносибирских, индекс пенетрации должен быть от 0 до 2,5.

3.6.3 Каждая партия битумной мастики снабжена инструкцией по применению и документом, в котором должно быть указано:

- наименование предприятия-изготовителя или его товарный знак;

- наименование мастики, индекса компонента или состава (для многокомпонентных мастик);

- обозначение нормативного документа на конкретный вид мастики;

- номер партии и дата изготовления;

- масса нетто тарного места;

- краткая инструкция по применению.

3.6.4 Упаковка должна обеспечивать сохранность мастики при транспортировании и хранении. Особенности упаковки указывают в нормативном документе на конкретный вид мастики.

3.6.5 При производстве, хранении, транспортировании и применении мастик необходимо соблюдать требования безопасности, устанавливаемые органами санитарно-эпидемиологического надзора, которые должны быть указаны в нормативном документе на конкретный вид мастики, и ГОСТ 1510-84*.

Доставка мастик на объект должна осуществляться специализированным автотранспортом (автогудронатором) или в специальной таре с крышкой.

3.6.6 При погрузочно-разгрузочных работах должны соблюдаться требования безопасности по ГОСТ 12.3.009-76* и СНиП 12-03-2001.

3.6.7 В нормативном документе на конкретный вид мастики должны содержаться показатели пожарной опасности покрытия из мастики: группы горючести и воспламеняемости - для гидроизоляционных мастик.

3.6.8 Мастика на объекте должна предохраняться от действия солнечных лучей, храниться в плотно закрытой таре в складах или под навесом в местах, удаленных от открытого огня и огнеопасных объектов.

3.7 Результаты входного контроля должны быть занесены в «Журнал входного учета и контроля качества получаемых деталей, материалов, конструкций и оборудования».

3.8 При операционном контроле проверяют все операции по устройству окрасочной гидроизоляции в соответствии с требованиями СНиП 3.04.01-87.

Прочность сцепления наносимых составов с основанием должна составлять не менее 0,4 МПа.

3.9 При оценке соответствия проверяют качество устройства гидроизоляции фундамента.

3.10 Состав производственного контроля качества приведен в таблице 4. Результаты производственного контроля качества работ должны заноситься в журнал производства работ.


Таблица 4 - Состав производственного контроля качества работ

Кто контролирует

Прораб или мастер

Операции, подлежащие контролю

Операции при входном контроле

Операции при операционном контроле

Операции при оценке соответствия

Подготовка изолируемой поверхности

Подготовка окрасочного материала

Состав контроля

Чистота и просушка поверхности. Ровность горизонтальной поверхности.

Наличие поверхностных дефектов, выступающие стержни и проволока. Скосы и закругления углов

Качество огрунтовки, усиления гидроизоляции на углах, просушка огрунтованных поверхностей

Соответствие мастики паспортным данным.

Температура расплавленного битума и правильность разжижения битума

Консистенция состава и температуры мастики

Правильность нанесения грунтовки и окрасочной гидроизоляции

Равномерность нанесения слоя

Температура мастики при устройстве гидроизоляции

Соответствие готового гидроизоляционного покрытия требованиям проекта

Метод контроля

Визуально, 2-х метровая рейка

Визуально, влагомером

Визуально, термометром

Отбором проб

Визуально

Визуально

Термометром

Визуально

Время контроля

До герметизации

 

 

 

 

 

 

После окончания работ

Кто привлекается к контролю

Лаборатория

Лаборатория

Лаборатория

Технадзор

Наличие акта на скрытые работы (+)

+

+

 

 

+

 


3.11 Требования к качеству работ:

- окрасочный материал наносят равномерно без пропусков по всей изолируемой поверхности не менее чем в два слоя;

- окрасочная гидроизоляция должна быть сплошной;

- не допускаются вздутия, отслоения, губчатое строение гидроизоляционного слоя, потеки, наплывы.

3.12 При устройстве окрасочной гидроизоляции составляют акты на скрытые работы:

- состояние изолируемой поверхности;

- установка закладных деталей, в том числе уплотнителей;

- огрунтовка поверхностей и наклейка полос усиления гидроизоляции;

- устройство окрасочной гидроизоляции.

3.13 Требования, предъявляемые к готовым изоляционным покрытиям, приведены в таблице 7 СНиП 3.04.01-87.

3.14 Приемку всех работ, связанных с устройством окрасочной гидроизоляции фундаментов холодными битумными мастиками следует выполнять в соответствии с требованиями главы 7 12-01-2004 «Организация строительства», СНиП 3.04.01-87 «Изоляционные и отделочные покрытия» и СНиП 3.04.03-85 «Защита строительных конструкций и сооружений от коррозии».

4 ТРЕБОВАНИЯ БЕЗОПАСНОСТИ И ОХРАНЫ ТРУДА, ЭКОЛОГИЧЕСКОЙ И ПОЖАРНОЙ БЕЗОПАСНОСТИ

4.1 При выполнении работ по окрасочной гидроизоляции фундаментов холодными битумными мастиками могут возникнуть следующие опасные и вредные производственные факторы, связанные с характером работы:

- повышенная запыленность и загазованность воздуха рабочей зоны;

- повышенная или пониженная температура материалов, поверхностей и воздуха рабочей зоны;

- расположение рабочего места вблизи перепада по высоте 1,3 м и более;

- острые кромки, заусенцы и шероховатости на поверхностях и материалах;

- повышенная загрязненность воздуха, кожных покровов, спецодежды химическими соединениями, аэрозолем, пылью;

- повышенная тяжесть труда;

- повышенный уровень шума, вибрации;

- повышенная или пониженная температура, влажность и подвижность воздуха;

- повышенный уровень статического электричества;

- пожаро- и взрывоопасности;

- незащищенные (неогражденные) подвижные элементы окрасочного оборудования;

- недостаточная освещенность на рабочих местах.

4.2 Для предупреждения воздействия на работников опасных и вредных производственных факторов безопасность изоляционных работ должна быть обеспечена соблюдением следующих мероприятий:

- организация рабочих мест с указанием методов и средств для обеспечения вентиляции, пожаротушения, защиты от термических ожогов, освещения, выполнения работ на высоте;

- особые меры безопасности при выполнении гидроизоляционных работ в закрытых подвальных помещениях,

- меры безопасности при приготовлении, транспортировании и нанесении на поверхность мастик.

4.3 Все вновь поступающие на стройку рабочие должны проходить как вводный инструктаж, так и первичный инструктаж на рабочем месте по безопасности и охране труда по работе с механизмами, инструментами и материалами. Инструктаж на рабочем месте проводит производитель работ или мастер с записью результатов инструктажа в «Журнале регистрации инструктажа на рабочем месте». Прошедшие вводный инструктаж заносятся в «Журнал регистрации вводного инструктажа по охране труда».

4.4 Лица, допускаемые к работам по гидроизоляции фундаментов, должны иметь профессиональную подготовку (в том числе по безопасности труда), соответствующую характеру работ, квалификационную группу по электробезопасности не ниже II для лиц, допускаемых к управлению оборудованием с электроприводом, и лиц, допускаемых к управлению ручными электрическими машинами, допуск медицинского учреждения к выполнению работ и удостоверение на право производства работ после обучения согласно ГОСТ 12.0.004-90 и сдачи экзаменов квалификационной комиссии.

4.5 Согласно ГОСТ 12.4.011-89 работающие с нефтяными битумами должны быть обеспечены средствами индивидуальной защиты согласно типовым отраслевым нормам выдачи спецодежды, спецобуви и других средств индивидуальной защиты: фильтрующими противогазами по ГОСТ 12.4.034-2001, костюмами по ГОСТ 12.4.111-82 и ГОСТ 12.4.112-82, обувью по ГОСТ 12.4.032-77*, рукавицами по ГОСТ 12.4.010-75* и защитными очками. Специальных требований к личной гигиене не предъявляется.

4.6 Рабочие и инженерно-технические работники обязаны пройти обучение, проверку знаний правил безопасного производства работ, обеспечения пожарной безопасности, пользования первичными средствами пожаротушения, оказания доврачебной помощи пострадавшим и т.п.

4.7 При производстве изоляционных работ с применением битума работники должны использовать специальные костюмы с брюками, выпущенными поверх сапог, и рукавицы.

4.8 В целях предупреждения и своевременного выявления профессиональных заболеваний или отравлений все поступающие на работу и постоянно работающие рабочие должны пройти предварительный и периодические медицинские осмотры и получить справку о пригодности к выполнению гидроизоляционных работ.

4.9 Гидроизолировщики должны:

- быть обучены безопасным и прогрессивным приемам выполнения соответствующих операций технологического цикла;

- иметь наряд-допуск на производство этих работ, а до их начала быть проинструктированы по безопасности труда на рабочем месте;

- допускаться к работе с герметиками и мастиками, содержащими токсичные и легко летучие огнеопасные вещества, только после специального обучения, и также инструктажа о свойствах материалов и мерах пожарной безопасности.

4.10 Требования к материалам, их хранению и транспортированию.

Материалы, используемые для гидроизоляционных работ, должны сопровождаться паспортами, удостоверяющими их качественные показатели, и инструкциями по применению поставляемых материалов.

Хранение и транспортирование гидроизоляционных и вспомогательных материалов организуется в соответствии с требованиями, изложенными в технических условиях и стандартах на готовую продукцию. Погрузочно-разгрузочные работы должны выполняться согласно требований СНиП 12-03-2001 и ГОСТ 12.3.009-76*.

4.11 На участках работ в помещениях, где ведутся изоляционные работы с выделением вредных и пожароопасных веществ, не допускается выполнение других работ и нахождение посторонних лиц.

4.12 Содержание вредных веществ в воздухе рабочей зоны и параметры микроклимата не должны превышать норм, установленных ГОСТ 12.1.005-88.

4.13 Помещение, в котором производят работу с битумом, должно быть оборудовано приточно-вытяжной вентиляцией. При внезапном прекращении работы приточно-вытяжной вентиляции гидроизоляционные работы с материалами, содержащими органические растворители, должны быть приостановлены, а рабочие удалены на безопасное расстояние.

4.14 Уровни шума и вибрации на рабочих местах, создаваемые машинами и механизмами, не должны превышать норм, установленных ГОСТ 12.1.003-83 и ГОСТ 12.1.012-90.

4.15 Оборудование для окрасочной гидроизоляции фундаментов должно соответствовать ГОСТ 12.2.003-91. При перемещении битума на рабочих местах вручную следует применять металлические бачки, имеющие форму усеченного конуса, обращенного широкой частью вниз, с плотно закрывающимися крышками и запорными устройствами.

4.16 Для предупреждения пожаров необходимо строго соблюдать требования противопожарной безопасности согласно ППБ 01-03 «Правила пожарной безопасности в Российской Федерации» и регулярно проводить инструктаж работающих.

4.17 При устройстве гидроизоляции с применением органических растворителей необходима организация противопожарного поста, в составе которого должна быть кошма размером 2´3 м. В ветреную погоду рабочие должны располагаться таким образом, чтобы ветер дул в спину или в бок, что способствует улучшению санитарно-гигиенических условий на рабочем месте.

4.18 При загорании небольших количеств битума тушить песком, кошмой или пенным огнетушителем. Развившиеся пожары тушить пенной струей из лафетных стволов.

4.19 Для курения должны быть отведены специальные места, оборудованные урнами, бочками с водой, ящиками с песком.

4.20 Отходы производства битума обезвреживают сжиганием в печи дожига.

4.21 Все электротехнические установки по окончании работ необходимо выключать, а кабели и провода обесточивать.

4.22 При работе в подвальных помещениях должны быть обеспечены достаточная естественная или принудительная вентиляция и освещенность рабочих мест. Напряжение электросети при работе в закрытых помещениях должно быть не выше 12 В с арматурой во взрывобезопасном исполнении.

4.23 Рабочие места для выполнения гидроизоляционных работ на высоте более 1,3 м должны быть оборудованы средствами подмащивания с ограждениями и лестницами-стремянками для подъема на них, соответствующими требованиям СНиП 12-03-2001.

4.24 Места производства гидроизоляционных работ должны быть оборудованы первичными средствами пожаротушения - огнетушителями, бочками с водой, ящиками с песком, ломами, топорами, лопатами, баграми, ведрами.

4.25 Каждый рабочий должен знать свои обязанности при возникновении пожара и его тушении, уметь пользоваться средствами пожаротушения, быстро оповещать пожарную команду, пользуясь средствами связи, должен отключить электроприборы и обесточить электропроводку.

4.26 Для соблюдения экологических норм необходимо установить емкость для воды, предназначенную для промывки инструмента и механизмов, а также соблюдать требования, изложенные в «Методическом пособии по разработке решений по экологической безопасности строительства в составе ПОС и ППР».

4.27 Обтирочный материал после его использования необходимо собирать в специальную тару для последующей выдачи на поверхность и утилизации. Сжигать использованный обтирочный материал запрещается.

4.28 При устройстве окрасочной гидроизоляции фундаментов холодными битумными мастиками необходимо руководствоваться требованиями:

- СНиП 12-03-2001 «Безопасность труда в строительстве. Часть 1. Общие требования»;

- СНиП 12-04-2002 «Безопасность труда в строительстве. Часть 2. Строительное производство»;

- ГОСТ 12.0.004-90 «Организация обучения безопасности труда. Общие положения»;

- ПОТ Р М-016-2001 «Межотраслевые правила по охране труда (правила безопасности) при эксплуатации электроустановок», М., 2001 г.;

- ППБ 01-03 «Правила пожарной безопасности в Российской Федерации». МЧС России, М., 2003 г.;

- СП 12-135-2003 «Безопасность труда в строительстве. Отраслевые типовые инструкции по охране труда». Госстрой России, М., 2003 г.;

- «Рекомендаций по организации работы службы охраны труда в организации».

5 ПОТРЕБНОСТЬ В МАТЕРИАЛЬНО-ТЕХНИЧЕСКИХ РЕСУРСАХ

5.1 Потребность в основных материалах на 1000 м2 изолируемой поверхности приведена в таблице 5.

Таблица 5 - Ведомость потребности в основных материалах на 1000 м2

№ п/п

Наименование

Марка

Ед. изм.

Кол.

1

Холодная битумная мастика

На основе разжиженного битума

кг

1665

5.2 Потребность в машинах, оборудовании, инструменте и инвентаре приведена в таблице 6

Таблица 6 - Ведомость потребности в машинах, оборудовании, инструменте и инвентаре

№ п/п

Наименование

Тип, марка, ГОСТ

Кол.

Техническая характеристика

1

Установка для нанесения холодных мастик

УНБМР-1

1

Производительность, м2/ч           400

Мощность, кВт                               2,2

Масса, кг                                         120

2

Термос для холодных мастик

Конструкция СКВ Мосстроя

2

Емкость, м3                                     1

Мощность, кВт                               6

3

Электрощетка

ИЭ-6103

1

 

4

Кисть кровельная

ГОСТ 10597-87*

2

Длина пучка, мм                             200

Диаметр пучка, мм                         100

Масса, кг                                         3

5

Щетка волосяная

ГОСТ 10597-87*

2

300´90 мм

Масса, кг                                          0,4

6

Ролик прикатной

 

1

Длина, мм                                        70

7

Шпатель-скребок

 

2

Ширина полотна, мм                      60

8

Кусачки торцовые

 

2

180 мм

9

Ножницы для резки арматуры

р.ч. ПРП-8-00

Трест Оргтехстрой

Главзападуралстроя

1

Масса, кг                                         2,7

10

Бачок для мастики

Чертежи 3956СБ

СКБ Мосстроя

4

Емкость, л                                       20

6 ТЕХНИКО-ЭКОНОМИЧЕСКИЕ ПОКАЗАТЕЛИ

6.1 В качестве единицы измерения для составления калькуляции затрат труда и машинного времени, календарного плана производства работ принято 1000 м2 окрасочной гидроизоляции фундамента.

6.2 Затраты труда и машинного времени на устройство окрасочной гидроизоляции фундамента и подземных сооружений подсчитаны по «Единым нормам и расценкам на строительные, монтажные и ремонтно-строительные работы», введенным в действие в 1987 г., и представлены в таблице 7.

6.3 Продолжительность работ на устройство окрасочной гидроизоляции фундаментов определяется календарным планом работ, представленным в таблице 8.

Таблица 7 - Калькуляция затрат труда на устройство окрасочной гидроизоляции фундамента

Единица измерения конечной продукции - 1000 м2

№ п/п

Обоснование (ЕНиР и др. нормы)

Наименование технологических процессов

Ед. изм.

Объем работ

Нормы времени

Затраты труда

рабочих, чел.-ч

машинистов, чел-ч, (работа машин, маш.-ч)

рабочих, чел-ч

машинистов, чел.-ч., (работа машин, маш.-ч)

1

2

3

4

5

6

7

8

9

1

Е11-74

Табл. 1, е

Очистка поверхности от пыли, грязи, наплывов раствора электрощетками

100 м2

10,0

0,78

-

7,8

-

2

Е11-36 № 2д

К = 0,8 (ПР-4)

Огрунтовка изолируемых поверхностей готовой холодной битумной грунтовкой механизированным способом

100 м2

10,0

8,3

-

6,64

-

3

Е11-37 № 1в

Окрасочная гидроизоляция в два слоя холодной битумной мастикой механизированным способом

1-й слой

100 м2

10,0

1,7

-

17

-

4

Е11-37 № 1в

К = 0,85

2-й слой

1,7

14,5

Итого

 

 

 

 

45,94

-

6.4 Технико-экономические показатели приведены ниже:

Объем работ окрасочной гидроизоляции, м2                       1000

Затраты труда:

на весь объем, чел.-см.                                             6,38

на 1 м2, чел.-см.                                                         0,0064

Выработка на одного рабочего в смену, м2                          39,2

Таблица 8 - График выполнения работ по устройству окрасочной гидроизоляции фундаментов на общей площади 1000 м2

7 ПЕРЕЧЕНЬ ИСПОЛЬЗОВАННОЙ ЛИТЕРАТУРЫ

1 СНиП 3.04.01-87 Изоляционные и отделочные покрытия;

2 СНиП 3.04.03-85 Защита строительных конструкций и сооружений от коррозии;

3 СНиП 12-01-2004 Организация строительства;

4 СНиП 12-03-2001 Безопасность труда в строительстве. Часть 1. Общие требования;

5 СНиП 12-04-2002 Безопасность труда в строительстве. Часть 2. Строительное производство;

6 СНиП 23.05-95* Естественное и искусственное освещение;

7 ГОСТ 12.0.004-90 ССБТ. Организация обучения безопасности труда. Общие положения;

8 ГОСТ 12.1.003-83 ССБТ. Шум. Общие требования безопасности;

9 ГОСТ 12.1.005-88* ССБТ. Общие санитарно-гигиенические требования к воздуху рабочей зоны;

10 ГОСТ 12.1.012-90 ССБТ. Вибрационная безопасность. Общие требования;

11 ГОСТ 12.3.005-75* ССБТ. Работы окрасочные. Общие требования безопасности;

12 ГОСТ 12.3.009-76* ССБТ. Работы погрузочно-разгрузочные. Общие требования безопасности;

13 ГОСТ 12.4.011-89 ССБТ. Средства защиты работающих. Общие требования и классификация;

14 ГОСТ 12.4.041-89 ССБТ. Средства индивидуальной защиты органов дыхания фильтрующие. Общие технические требования;

15 ГОСТ 6617-76* Битумы нефтяные строительные. Технические условия;

16 ГОСТ 9548-74* Битумы нефтяные кровельные. Технические условия;

17 ГОСТ 9812-74* Битумы нефтяные изоляционные. Технические условия;

18 ГОСТ 10597-87* Кисти и щетки малярные. Технические условия;

19 ВСН 214-82 Сборник инструкций по защите от коррозии;

20 ПОТ Р М-016-2001 Межотраслевые правила по охране труда (правила безопасности) при эксплуатации электроустановок, М., 2001 г.;

21 ПОТ Р М-017-2001 Межотраслевые правила по охране труда при окрасочных работах М., 2001 г.;

22 ППБ 01-03 Правила пожарной безопасности в Российской Федерации. МЧС России, М., 2003 г.;

23 СП 12-135-2003 Безопасность труда в строительстве Отраслевые типовые инструкции по охране труда, Госстрой России, М., 2003 г.;

24 ТР 94.08-99.2000 Технический регламент операционного контроля качества строительно-монтажных и специальных работ при возведении зданий и сооружений. Устройство гидроизоляции подземной части здания;

25 Методическое пособие по разработке решений по экологической безопасности строительства в составе ПОС и ППР. ОАО ПКТИпромстрой, М., 2003 г.;

26 Единые нормы и расценки на строительные, монтажные и ремонтно-строительные работы. Сборник 11.



© 2013 Ёшкин Кот :-)