Информационная система
«Ёшкин Кот»

XXXecatmenu

ОТКРЫТОЕ АКЦИОНЕРНОЕ ОБЩЕСТВО
ЦЕНТРАЛЬНЫЙ НАУЧНО-ИССЛЕДОВАТЕЛЬСКИЙ
И ПРОЕКТНО-ЭКСПЕРИМЕНТАЛЬНЫЙ ИНСТИТУТ
ПРОМЫШЛЕННЫХ ЗДАНИЙ И СООРУЖЕНИЙ
ОАО «ЦНИИПРОМЗДАНИЙ
»

ПОЛЫ

ТЕХНИЧЕСКИЕ ТРЕБОВАНИЯ И ПРАВИЛА ПРОЕКТИРОВАНИЯ,
УСТРОЙСТВА, ПРИЁМКИ, ЭКСПЛУАТАЦИИ И РЕМОНТА

СВОД ПРАВИЛ
(в развитие СНиП 2.03.13-88 «Полы» и СНиП 3.04.01-87
«Изоляционные и отделочные покрытия»)

 

 

МОСКВА 2008 г.

 

В Своде Правил изложены технические требования, предъявляемые к полам, рекомендации по проектированию и устройству различных видов полов, а также указания по их приемке, эксплуатации и ремонту

Свод Правил предназначен для проектных и строительных организаций, а также служб эксплуатации.

Свод Правил разработан ОАО ЦНИИПРОМЗДАНИЙ (Гликин С.М. - Зам. генерального директора, к.т.н.; Чекулаев А.П. - зав. сектором полов, к.т.н.). Свод Правил рассмотрен и одобрен секцией строительных конструкций НТС ОАО «ЦНИИПРОМЗДАНИЙ» - протокол № К-43 от 27 февраля 2004 г.

РАЗДЕЛ I

ТЕХНИЧЕСКИЕ ТРЕБОВАНИЯ, ПРЕДЪЯВЛЯЕМЫЕ К ПОЛАМ

1. ОБЛАСТЬ ПРИМЕНЕНИЯ

Настоящие технические требования распространяются на правила проектирования и устройства полов производственных, жилых, общественных, административных, бытовых, животноводческих, птицеводческих и звероводческих зданий, а также в спортивных залах, Дворцах спорта, на открытых и крытых стадионах и площадках, а также крытых катков с искусственным льдом.

1.2 Соблюдение изложенных ниже технических требований обеспечивает эксплуатационную надёжность и долговечность конструкций полов.

1.3 При проектировании полов, кроме настоящих технических требований, обязательных к применению, необходимо соблюдать дополнительные требования, установленные нормами проектирования конкретных зданий и сооружений, противопожарными и санитарными нормами, а также нормами технологического проектирования.

1.4 Данные технические требования не распространяются на правила проектирования съёмных полов (фальшполов), полов, расположенных на вечномерзлых грунтах, и обогреваемых полов.

2. НОРМАТИВНЫЕ ССЫЛКИ

В настоящем Разделе использованы ссылки на следующие документы:

СНиП 2.01.07-85* «Нагрузки и воздействия» с изм. № 2

СНиП 2.03.11-85 «Защита от коррозии. Нормы проектирования»

СНиП 2.03.13-88 «Полы»

СНиП 2.05.02-85 «Автомобильные дороги»

СНиП 2.05.08-85 «Аэродромы»

СНиП 2.06.03-85 «Мелиоративные системы и сооружения»

СНиП 2.08.02-89* «Общественные здания и сооружения» (Издание 2003 года)

СНиП 2.10.03-84 «Животноводческие здания. Нормы проектирования»

СНиП 3.02.01-87 «Земляные сооружения, основания и фундаменты»

СНиП 3.04.01-87 «Изоляционные и отделочные покрытия»

СНиП 3.07.03-85 «Мелиоративные системы и сооружения»

СНиП 21-01-97* «Пожарная безопасность зданий и сооружений»

СНиП 23-02-2003 «Тепловая защита зданий»

СНиП 23-03-2003 «Защита от шума. Нормы проектирования»

СНиП 31-01-2003 «Здания жилые многоквартирные»

СНиП 31-05-2003 «Общественные здания административного назначения»

НПБ 105-95 «Определение категорий помещений и зданий по взрывопожарной и пожарной безопасности»

ТСН 23-315-2000 «Допустимые уровни шума, вибрации и требования к звукоизоляции в жилых и общественных зданиях»

СП 23-101-2000 «Проектирование тепловой защиты зданий»

СП 23-103-2003 «Проектирование звукоизоляции ограждающих конструкций жилых и общественных зданий»

Приказ № 320 МЧС РФ от 8 июля 2002 г. «Об утверждении перечня продукции, подлежащей обязательной сертификации в области пожарной безопасности»

Стандарт ОАО ЦНИИПромзданий СО 003-02495342-2006 «Полы. Метод оценки скользкости покрытий пола»

Стандарт ОАО ЦНИИПромзданий СО 004-02495342-2006 «Полы. Метод испытаний на безыскровость при ударных воздействиях»

Стандарт ОАО ЦНИИПромзданий СО 005-02495342-2007 «Полы. Метод оценки зыбкости полов»

RT 361.2-35477 ru «Строительные плиты. Древесностружечные плиты» - Карта-инструкция фирмы «PUHOS BOARD OY»

«Проектирование бассейнов» Справочное пособие к СНиП.

DIN 18032-2 «Sporthallen. Hallen fur Turnen, Spielen und Mehrzwecknutzung. Teil 2: Sportboden, Anforderungten, Prufungen».

3. ОСНОВНЫЕ ТЕРМИНЫ И ОПРЕДЕЛЕНИЯ

Покрытие - верхний слой пола, непосредственно подвергающийся эксплуатационным воздействиям.

Прослойка - промежуточный слой пола, связывающий покрытие с нижерасположенным слоем пола или служащий для покрытия упругой постелью.

Гидроизоляционный слой - слой, препятствующий прониканию через пол сточных или грунтовых вод и других жидкостей.

Стяжка (основание под покрытие) - слой пола, служащий для выравнивания поверхности нижерасположенного слоя пола или перекрытия, придания покрытию пола заданного уклона, укрытия проложенных трубопроводов, а также распределения нагрузок по нежестким слоям пола на перекрытии.

Подстилающий слой - слой пола, распределяющий нагрузки на грунт.

Дренаж - система отвода дождевых и подпочвенных вод.

Теплоизоляционный слой - элемент пола, уменьшающий общую теплопроводность пола.

Звукоизоляционный слой - элемент пола, повышающий звукоизолирующую способность пола.

Грунтовое основание - слой грунта, по которому устраивается подстилающий слой или опоры под лаги.

Деформационный шов - разрыв в подстилающем слое, стяжке или покрытии пола, обеспечивающий возможность независимого смещения их участков.

Пароизоляционный слой - элемент пола, расположенный под слоем тепло-звукоизоляции или стяжкой, препятствующий прониканию в них водяных паров через перекрытие из ниже расположенного помещения.

Экологичность пола - свойство всех элементов конструкции пола не выделять при эксплуатации вредных веществ в соответствии с требованиями санитарных норм.

Степень воздействия жидкости на покрытие пола при эксплуатации

- малая - незначительное воздействие жидкости на пол, при котором поверхность покрытия пола сухая или слегка влажная; покрытие пола жидкостями не пропитывается;

- средняя - периодическое увлажнение пола, при котором поверхность покрытия пола влажная или мокрая; покрытие пола пропитывается жидкостями;

- большая - постоянное или часто повторяющееся воздействие жидкостей на покрытие пола.

Степень механического воздействия на покрытие пола при эксплуатации: весьма значительная, значительная, умеренная, слабая (табл. 1).

Таблица 1

Механические воздействия

Интенсивность механических воздействий 1

весьма значительная

значительная

умеренная

Слабая

1

2

3

4

5

Движение пешеходов на 1 м ширины прохода, число людей в сутки

 

 

500 и более

Менее 500

Движение транспорта на гусеничном ходу на одну полосу движения, ед./сут.

10 и более

Менее 10

-

-

Движение транспорта на резиновом ходу на одну полосу движения, ед./сут.

Более 200

100 - 200

Менее 100

Движение ручных тележек

Движение тележек на металлических шинах, перекатывание круглых металлических предметов на одну полосу движения, ед./сут.

Более 50

30 - 50

Менее 30

 

Удары при падении с высоты 1 м твердых предметов массой, кг не более

20

10

5

2

Волочение твердых предметов с острыми углами и ребрами

Соответствует

Соответствует

-

-

Работа острым инструментом на полу (лопатами и др.)

Соответствует

Соответствует

 

 

Теплоусвоение пола - свойство поверхности покрытия пола в большей или меньшей степени воспринимать тепло при периодических колебаниях теплового потока.

Безыскровость пола - отсутствие искрообразования на покрытии пола при ударах или волочении по нему металлических или каменных предметов, а также при разрядах статического электричества.

Антистатичность пола - отсутствие накопления на покрытии пола статического электричества.

Беспыльность пола - полное отсутствие отделения продуктов износа покрытия пола, образующихся при эксплуатационных воздействиях от движения пешеходов и транспорта.

Звукоизолирующая способность пола - ослабление шума при его проникновении через пол на перекрытии.

Скользкость пола - свойство поверхности покрытия пола, характеризующее степень опасности передвижения по нему людей.

4. ОСНОВНЫЕ ПОЛОЖЕНИЯ

4.1 Проектирование полов должно осуществляться с учётом эксплуатационных воздействий на них, а также в соответствии с требованиями СНиП 2.01.07-85* с изм. № 2, специальных требований (безыскровость, антистатичность, беспыльность, теплоусвоение, звукоизолирующая способность, скользкость) и климатических условий места строительства.

4.2 Полы, выполняемые по перекрытиям, при предъявлении к последним требований по защите от шума, должны обеспечивать нормативные параметры звукоизоляции перекрытий в соответствии с указаниями СНиП 23-03-2003.

4.3 Полы производственных, жилых, общественных, административных и бытовых зданий с нормируемым показателем теплоусвоения поверхности пола должны проектироваться также с учётом требований СНиП 23-02-2003.

4.4 Полы животноводческих, птицеводческих и звероводческих зданий и помещений должны проектироваться также с учётом требований СНиП 2.10.03-84.

4.5 Полы в помещениях, где возможно образование взрывоопасных смесей газов, пыли, жидкостей и других веществ в концентрациях, при которых искры, образующиеся при ударе предметов о пол или разрядах статического электричества, могут вызвать взрыв или возгорание, должны выполняться с покрытиями из не образующих при ударах искр антистатических или структурно не электризуемых материалов.

4.6 При размещении в помещениях электронного оборудования полы должны выполняться с покрытием из антистатических или структурно не электризуемых материалов.

4.7 В помещениях с нормируемым содержанием мелкодисперсных аэрозолей в воздухе («чистые» и «особо чистые» помещения) должны применяться «беспыльные» покрытия полов.

4.8 Требования по беспыльности, антистатичности и (или) безыскровости полов устанавливаются Заказчиком на стадии Технического Задания на проектирование с учётом технологического процесса и требований отраслевых стандартов.

4.9 В помещениях, где полы подвержены воздействиям кислот, щелочей, масел и других агрессивных жидкостей, покрытия должны быть выполнены из химически стойких материалов, отвечающих требованиям, предъявляемым СНиП 2.03.11-85.

4.10 В помещениях со средней и большой интенсивностью воздействия жидкостей покрытие пола должно выполняться с уклоном, равным:

0,5 - 1 % - при бесшовных покрытиях и покрытиях из плит (кроме бетонных покрытий всех видов);

1 - 2 % - при покрытиях из кирпича и бетонов всех видов.

Уклоны лотков и каналов в зависимости от применяемых материалов должны приниматься не менее вышеуказанных.

Направление уклонов должно обеспечивать отвод сточных вод в лотки, каналы и трапы, без пересечения проездов и проходов.

4.11 В животноводческих зданиях уклон полов в сторону навозосборного канала должен приниматься равным:

0 % - в помещениях с решётчатыми полами и в канатах с механической уборкой навоза;

не менее 0,5 % - в помещениях для содержания птицы в клетках и в лотках вдоль проходов во всех помещениях;

не менее 1,5 % - в технологических частях помещений (стойлах, денниках, станках и др.);

не более 6 % - в помещениях на выгулах животных и птицы и в переходных галереях между зданиями.

4.12 Полы в плоскостных спортивных сооружениях, подвергающиеся воздействию жидкостей со средней и большой интенсивностью (дождевые и талые воды на открытых стадионах и площадках), должны быть оборудованы системой отвода поверхностных вод и дренажей. Для отвода вод с территории плоскостных сооружений ей должны быть приданы необходимые уклоны, а также предусмотрены устройства для сбора и отвода поверхностных вод в виде открытой системы лотков, закрытой системы труб и колодцев или комбинации открытых лотков и закрытых водоотводящих систем.

4.13 Уклоны покрытия пола в плоскостном открытом сооружении должен составлять 0,5 - 1.

4.14 Направление уклонов должно быть:

- от поперечной оси (а) теннисного корта, площадки для волейбола и бадминтона;

- от продольной оси (б) или вальмовым (в) - в площадках для баскетбола, футбола, ручной мяча и др.

4.15 С целью предупреждения травматизма лотки и каналы в полах открытых спортивных сооружений должны быть оборудованы решётчатыми крышками.

4.16 Уровень пола в туалетных и ванных комнатах должен быть на 15 - 20 мм ниже уровня пола в смежных помещениях либо полы в этих помещения должны быть разделены порогом.

4.17 В полах на грунте уклон должен создаваться путем соответствующей планировки грунтового основания.

4.18 В конструкции полов помещений для хранения и переработки продуктов, а также помещений для содержания животных не должно быть пустот.

4.19 В соответствии со СНиП 21-01-97* в помещениях класса функциональной пожарной опасности Ф5 категорий помещений и зданий по взрыво-пожарной и пожарной безопасности А, Б и В1, где производятся, применяются или хранятся легковоспламеняющиеся жидкости, полы должны проектироваться из материалов группы горючести НГ или Г1.

4.20 Не допускается применение ковровых покрытий из материалов по воспламеняемости групп В2, В3 и по дымообразующей способности групп Д2, Д3 в полах зданий классов функциональной пожарной опасности Ф2, Ф3 и Ф4.

4.21 В зданиях всех степеней огнестойкости и классов конструктивной пожарной опасности, кроме зданий V степени огнестойкости и зданий класса конструктивной пожарной опасности С3, на путях эвакуации не допускается применять для покрытия пола материалы с более высокой пожарной опасностью, чем:

Г2, РП2, Д2, Т2 - в вестибюлях, лестничных клетках и лифтовых холлах;

Г3, РП2, Д3, Т2 - общих коридорах, холлах, фойе.

4.22 Полы не должны быть «зыбкими» при перемещении по ним людей, установке мебели или оборудования. Прогибы, определяемые по методике СО-004-02495342-2007, не должны превышать 2 мм.

5. ГРУНТ ОСНОВАНИЯ ПОД ПОЛЫ

5.1 Грунт основания под полы должен исключать возможность деформации конструкции пола вследствие просадки или пучения.

5.2 Не допускается применять в качестве основания под полы торф, чернозём и другие растительные грунты. Насыпные и естественные грунты с нарушенной структурой должны быть предварительно уплотнены в соответствии с требованиями СНиП 3.02.01-87.

5.3 При размещении сооружений на участках с пучинистыми грунтами необходимо исключить деформации пучения путём:

- понижения уровня грунтовых вод ниже глубины промерзания основания не менее чем на 0,8 м;

- устройства теплоизолирующей насыпи с применением в необходимых случаях слоев из теплоизолирующих материалов для уменьшения глубины промерзания пучинистого грунта;

- полной или частичной замены пучинистого грунта в зоне промерзания непучинистым грунтом.

5.4 Нескальное грунтовое основание под бетонный подстилающий слой должно быть предварительно укреплено щебнем или гравием, утопленным на глубину не менее 40 мм.

6. ПОДСТИЛАЮЩИЙ СЛОЙ

6.1 Нежесткие подстилающие слои (гравийные, щебёночные, песчаные, шлаковые) могут применяться при условии обязательного механического уплотнения их.

6.2 Жесткий подстилающий слой должен выполняться из бетона класса не ниже В22,5.

Если по расчёту напряжение растяжения в подстилающем слое из бетона класса В22,5 получается ниже расчётного, допускается применять бетон класса не ниже В7,5.

6.3 Подстилающий слой под полы в крытых стадионах должен выполняться из цементного бетона класса не ниже В22,5, на открытых площадках - из цементного бетона класса не ниже В22,5, асфальтобетона по нежесткому подстилающему слою из щебня или гравия или непосредственно по нежесткому подстилающему слою из щебня или гравия. Если по расчёту напряжение растяжения в подстилающем слое из бетона класса В22,5 получается ниже расчётного, допускается применять бетон меньшей прочности, но не ниже класса В7,5.

6.4 В полах, которые в процессе эксплуатации могут подвергаться воздействиям агрессивных жидкостей, веществ животного происхождения и органических растворителей любой интенсивности, либо воды, нейтральных растворов, масел и эмульсий из них средней и большой интенсивности, должен предусматриваться жесткий подстилающий слой.

6.5 Толщина подстилающего слоя устанавливается расчётом на прочность от действующих нагрузок и должна быть не менее:

песчаного - 60 мм

шлакового, гравийного и - 80 мм щебёночного

бетонного в жилых и общественных зданиях - 80 мм

бетонного в производственных помещениях - 100 мм

6.6 При использовании бетонного подстилающего слоя в качестве покрытия или основания под покрытие без выравнивающей стяжки его толщина по сравнению с расчётной должна быть увеличена на 20 - 30 мм.

6.7 Подстилающий слой из асфальтобетона под покрытия полов спортивных сооружений следует выполнять в два слоя - нижний из крупнозернистого асфальтобетона (биндера) толщиной 40 мм и верхний из литого асфальтобетона толщиной 40 мм.

6.8 Толщина нежёсткого подстилающего слоя из щебня или гравия под асфальтобетонный подстилающий слой должна быть не менее 150 мм.

6.9 Отклонение поверхности подстилающего слоя от горизонтальной плоскости на длине 2 м не должно превышать для:

песчаных, гравийных, шлаковых, щебёночных - 15 мм

бетонных под бетонные покрытия, покрытия по прослойке из цементно-песчаного раствора и под выравнивающие стяжки - 10 мм

бетонных под покрытия на прослойке из горячей битумной мастики и при укладке оклеечной гидроизоляции - 5 мм

бетонных под покрытия из плитки на прослойке на основе синтетических смол и из клеевой композиции на основе цемента, под покрытия из линолеума, паркета, ламината, рулонных материалов на основе синтетических волокон, а также под полимерные наливные покрытия - 2 мм.

6.10 В бетонных подстилающих слоях должны быть предусмотрены деформационные швы, располагаемые во взаимно перпендикулярных направлениях с шагом 6 - 12 м. Глубина деформационного шва должна быть не менее 40 мм и не менее 1/3 толщины подстилающего слоя. После завершения процесса усадки деформационные швы должны быть заделаны цементно-песчаным раствором.

6.11 В помещениях, при эксплуатации которых возможны резкие перепады температуры воздуха (положительная и отрицательная) деформационные швы должны быть расшиты полимерной эластичной композицией.

6.12 На открытых спортивных площадках с водопроницаемыми покрытиями полов деформационные швы должны использоваться в качестве дерн системы водоотвода. Их расшивка должна быть осуществлена полимерной эластичной композицией с пористой структурой.

6.13 Деформационные швы в полах, совпадающие с деформационными швами здания, должны выполняться на всю толщину бетонного подстилающего слоя.

7. ГИДРОИЗОЛЯЦИЯ

7.1 Гидроизоляция от проникновения сточных вод и других жидкостей должна предусматриваться при средней и большой интенсивности воздействия:

воды и нейтральных растворов - в полах на перекрытии, на просадочных и набухающих грунтах, а также в полах на пучинистых грунтах основания в неотапливаемых помещениях и на открытых площадках;

органических растворителей, минеральных масел и эмульсий из них - в полах на перекрытии;

кислот, щелочей и их растворов, а также веществ животного происхождения - в полах на грунте и на перекрытии.

7.2 Гидроизоляция от проникания сточных вод и других жидкостей должна быть непрерывной в конструкции пола, стенках и днищах лотков и каналов, над фундаментами под оборудование, а также в местах перехода пола к этим конструкциям. В местах примыкания пола к стенам, фундаментам под оборудование, трубопроводам и другим конструкциям, выступающим над полом, гидроизоляция должна предусматриваться непрерывной на высоту не менее 200 мм от уровня покрытия пола, а при попадании струи воды на стены - на всю высоту замачивания.

7.3 При средней и большой интенсивности воздействия жидкостей на пол, а также под сточными лотками, каналами и трапами должна применяться оклеенная гидроизоляция.

При средней и большой интенсивности воздействия на пол минеральных масел, эмульсий из них или органических растворителей, применение оклеенной гидроизоляции из материалов на основе битума не допускается.

7.4 При средней интенсивности воздействия на пол сточных вод и других жидкостей оклеенную гидроизоляцию из материалов на основе битума следует применять в 2 слоя, из полимерных материалов - в 1 слой.

При большой интенсивности воздействия жидкости на пол, а также под сточными лотками, каналами, тралами и в радиусе 1 м от них число слоев гидроизоляции из материалов на основе битума должно быть увеличено на 2 слоя, а из полимерных материалов - на 1 слой.

7.5 По поверхности оклеенной гидроизоляции из материалов на основе битума перед укладкой по ней покрытий, прослоек или стяжек, в состав которых входит цемент необходимо предусматривать нанесение битумной мастики с посыпкой песком крупностью 1,5 - 5 мм.

7.6 При средней и большой интенсивности воздействия воды на пол (открытые стадионы и площадки) и применении водопроницаемых покрытий по бетонным основаниям между покрытием и основанием следует устраивать дренаж, используя в качестве дрен деформационные и рабочие швы. Дрены должны быть заполнены эластичными материалами с пористой структурой, в частности гранулами резинового гранулята, склеенными между собой эластичной полиуретановой композицией.

7.7 Гидроизоляция под бетонным подстилающим слоем должна быть предусмотрена:

- при расположении в зоне опасного капиллярного поднятия грунтовых вод низа подстилающего слоя в помещениях, где отсутствует воздействие на пол сточных вод средней и большой интенсивности. В этом случае при проектировании гидроизоляции высота (м) опасного поднятия грунтовых вод от их горизонта должна приниматься равной для основания из песка крупного - 0,3; песка средней крупности и мелкого - 0,5; песка пылеватого - 1,5; суглинка, пылеватых суглинка и супеси, глины - 2,0;

- при расположении подстилающего слоя ниже уровня отмостки здания в помещениях, где отсутствует воздействие на пол сточных вод средней и большой интенсивности;

- при средней и большой интенсивности воздействия на пол растворов серной, соляной, азотной, уксусной, фосфорной, хлорноватистой и хромовой кислот.

7.8 При средней и большой интенсивности воздействия воды на пол (открытые стадионы и площадки) и укладке водопроницаемых покрытий непосредственно по нежесткому подстилающему слою (гравийному или щебёночному) в грунтовом основании следует выполнять дренаж, обеспечивающий отвод поверхностных вод и понижение уровня подземных вод. Проектирование дренажа следует осуществлять с учётом требований СНиП 2.06.03-85.

8. ТЕПЛО-ЗВУКОИЗОЛЯЦИОННЫЙ СЛОЙ

8.1 Теплоизоляционный слой должен предусматриваться в полах с нормируемым теплоусвоением, в полах на грунте в горячих цехах, а также в полах на перекрытиях, расположенных над арками, не отапливаемыми помещениями или подвалами, а также под обогревающими и охлаждающими стяжками.

8.2 Полы на грунте в помещениях с нормируемой температурой внутреннего воздуха, расположенные выше отмостки здания или ниже её не более чем на 0,5 м, должны быть утеплены в зоне примыкания пола к наружным стенам или стенам, отделяющим отапливаемые помещения от не отапливаемых, на ширине 0,8 м путём укладки по грунту слоя неорганического влагостойкого утеплителя толщиной, определяемой из условия обеспечения термического сопротивления этого слоя утеплителя не менее термического сопротивления наружной стены.

8.3 Полы, выполняемые по перекрытиям, при предъявлении к последним требований по защите от шума, должны обеспечивать нормативные параметры звукоизоляции перекрытий в соответствии с указаниями СНиП 23-03-2003. Нормативные значения индексов изоляции воздушного шума перекрытием и индеек-сов приведённого уровня ударного шума под перекрытиями приведены в табл. 2.

8.4 Требуемые толщины звукоизоляционного слоя и прокладок должна устанавливаться расчётом в соответствии с указаниями СНиП 23-03-2003 и СП 23-103-2003.

8.5 Требуемая толщина теплоизоляционного слоя должна устанавливаться расчётом в соответствии с указаниями СНиП 23-02-2003 и СП 23-101-2000.

Таблица 2

Наименование и расположение ограждающей конструкции

Индекс изоляции воздушного шума Jнв в дБ

Индекс приведённого уровня ударного шума Jну в дБ

1

2

3

Жилые здания

1. Перекрытия между помещениями квартир и отделяющие помещения квартир от холлов и используемых чердачных помещений:

 

 

- в домах категории А

54

55

- в домах категории Б

52

58

- в домах категории В

50

60

2. Перекрытия между помещениями квартир и расположенными под ними магазинами:

 

 

- в домах категории А

59

55

- в домах категории Б

57

58

- в домах категории В

55

60

3. Перекрытия между комнатами в квартире в двух уровнях:

 

 

- в домах категории А

47

63

- в домах категории Б

45

66

- в домах категории В

43

68

4. Перекрытия между жилыми помещениями общежитий

50

60

5. Перекрытия, отделяющие помещения культурно-бытового обслуживания общежитий друг от друга и от помещений общего пользования (холлы, вестибюли и пр.)

47

65

Гостиницы

 

 

6. Перекрытия между номерами:

 

 

- категории А

52

57

- категории Б

50

60

- категории В

48

62

7. Перекрытия, отделяющие номера от помещений общего пользования (вестибюли, холлы, буфеты):

 

 

- категории А

54

55

- категории Б

52

58

- категории В

50

60

8. Перекрытия, отделяющие номера от ресторанов, кафе, столовых, кухонь:

 

 

- категории А

62

57

- категории Б

59

60

- категории В

57

62

Административные здания, офисы

 

 

9. Перекрытия между рабочими комнатами, кабинетами, секретариатами и отделяющие рабочие комнаты, кабинеты, секретариаты от помещений общего пользования (вестибюли, холлы):

 

 

- категории А

52

63

- категории Б

50

66

10. Перекрытия, отделяющие рабочие комнаты, кабинеты от рабочих, не защищаемых от шума помещений (машбюро, телетайпные залы и т.п.):

 

 

- категории А

54

60

- категории Б

52

63

Больницы и санатории

 

 

11. Перекрытия между палатами, кабинетами врачей

47

60

12. Перекрытия между операционными и отделяющие операционные от палат и кабинетов

57

60

13. Перекрытия, отделяющие палаты, кабинеты врачей от помещений общего пользования (вестибюлей, холлов)

52

63

14. Перекрытия, отделяющие палаты, кабинеты от столовых, кухонь

57

63

Школы и другие учебные заведения

 

 

15. Перекрытия между классами, кабинетами, аудиториями и отделяющие эти помещения от помещений общего пользования (коридоры, вестибюли, холлы)

47

63

16. Перекрытия между музыкальными классами средних учебных заведений

57

58

17. Перекрытия между музыкальными классами высших учебных заведений

60

53

Детские дошкольные учреждения

 

 

18. Перекрытия между групповыми комнатами, спальнями

47

63

19. Перекрытия, отделяющие групповые комнаты, спальни от кухонь

51

63

Примечание:   Категория А - высоко комфортные условия;

Категория Б - комфортные условия;

Категория В - предельно-допустимые условия

9. ПРОСЛОЙКА

9.1 Прочность на сжатие материала прослойки в МПа (кгс/см2) в зависимости от интенсивности механических воздействий (табл. 1) должна быть не менее для прослойки из:

- цементно-песчаного раствора - 15 (150) - при слабой интенсивности и 30 (300) - при умеренной, значительной и весьма значительной интенсивности;

- из раствора на жидком стекле - 20 (200);

- из мелкозернистого бетона класса не ниже В30.

9.2 Толщина прослойки должна быть, мм:

- из цементно-песчаного раствора и раствора на жидком стекле с уплотняющей добавкой - 10 - 15

- из полимерзамазок для покрытий из штучных материалов - 3 - 4

- из горячей битумной мастики и клеевой композиции на основе цемента для приклеивания плитки - 2 - 3

- из клеевой композиции для приклеивания паркета - не более 1,0

- из клеевой композиции для приклеивания рулонных материалов - не более 0,8

- из мелкозернистого бетона класса не ниже В30 - 30 - 35

- из песка и теплоизоляционных материалов - не менее 60.

9.3 Для полов, подвергающихся воздействию жидкостей, не допускается применять прослойки из песка и теплоизоляционных материалов.

10. СТЯЖКА

10.1 Стяжка должна предусматриваться, когда необходимо:

- выравнивание поверхности нижележащего слоя;

- укрытие трубопровода;

- распределение нагрузок по тепло-звукоизоляционным слоям;

- обеспечение нормируемого теплоусвоения полов;

- создание уклонов на полах по перекрытиям.

10.2 Наименьшая толщина цементно-песчаной или бетонной стяжки (мм) для создания уклона в местах примыкания к сточным лоткам, каналам и трапам, должна быть: при укладке её по плитам перекрытия - 20, по тепло- и звукоизолирующему слою - 40. Толщина стяжки для укрытия трубопроводов должна быть на 15 - 20 мм больше диаметра трубопроводов.

10.3 Для выравнивания поверхности нижележащего слоя и укрытия трубопроводов, а также для создания уклона на перекрытии должны предусматриваться монолитные стяжки из бетона класса не ниже В12,5 или из цементно-песчаного раствора с прочностью на сжатие не ниже 15 МПа (150 кгс/см2).

10.4 Под наливные полимерные покрытия монолитные стяжки должны предусматриваться из бетона класса не ниже В15 или из цементно-песчаного раствора с прочностью на сжатие не ниже 20 МПа (200 кгс/см2).

10.5 Толщина стяжек в обогреваемых полах должна быть на 50 мм больше диаметра обогревающих трубок.

10.6 Толщина стяжки с охлаждающими трубками в плите катков с искусственным льдом должна быть составлять 140 мм.

10.7 Монолитные стяжки из саморазравнивающихся составов на основе гипсовых вяжущих, используемые под наливные полимерные покрытия, должны иметь прочность на сжатие не менее 20 МПа, под остальные - 10 МПа.

10.8 Толщина монолитных стяжек из саморазравнивающихся составов, применяемых для выравнивания поверхности нижележащего слоя, должна быть не менее 2 мм.

10.9 Легкий бетон стяжек, выполняемых для обеспечения нормируемого теплоусвоения пола, должен быть класса не ниже В5, а поризованный цементно-песчаный раствор прочностью на сжатие не менее 5 МПа (50 кгс/см2).

10.10 Прочность на изгиб стяжек, укладываемых по слою из сжимаемых тепло- или звукоизоляционных материалов, должна быть не менее 2,5 МПа (25 кгс/см2).

10.11 При сосредоточенных нагрузках на пол более 20 кН (200 кгс) толщина стяжки по тепло- или звукоизоляционному слою должна устанавливаться расчётом из условия исключения деформации тепло-звукоизоляционного слоя.

10.12 В местах сопряжения стяжек, выполненных по звукоизоляционным прокладкам или засыпкам, с другими конструкциями (стенами, перегородками, трубопроводами, проходящими через перекрытия, и т.п.) должны быть предусмотрены зазоры шириной 25 - 30 мм на всю толщину стяжки, заполняемые звукоизоляционным материалом.

10.13 Сборные стяжки из гипсоволокнистых, древесно-стружечных и цементно-стружечных листов, а также фанеры должны применяться при умеренной и слабой интенсивности механических воздействий. Не допускается применение данных стяжек в зданиях с мокрым режимом.

10.14 Отклонение поверхности стяжки от горизонтальной плоскости на длине 2 м не должно превышать при покрытиях:

- из штучных материалов по прослойке из цементно-песчаного раствора, из ксилолита, поливинилацетатцементно-опилочного состава, а также для укладки оклеенной гидроизоляции - 4 мм

- из штучных материалов по прослойке на основе синтетических смол и из клеевых композиций на основе цемента, а также из линолеума, паркета, ламината. рулонных материалов на основе синтетических волокон и полимерных наливных покрытий - 2 мм.

10.15 В помещениях, при эксплуатации которых возможны резкие перепады температуры воздуха (положительная и отрицательная) в цементно-песчаной или бетонной стяжке необходимо предусматривать деформационные швы, которые должны совпадать с осями колонн, со швами плит перекрытий, деформационными швами в подстилающем слое. Деформационные швы должны быть расшиты полимерной эластичной композицией.

10.16 При выполнении сборных стяжек из древесно-стружечных плит площадью более 100 м2, необходимо предусматривать в ней с шагом не более 10 м деформационные швы, нарезаемые в продольном и поперечном направлении. При использовании сборных стяжек в помещениях со значительными перепадами температуры и влажности воздуха рекомендуется интервал между деформационными швами принять равным не более 6 м.

11. ПОКРЫТИЯ ПОЛОВ

11.1 Материалы для покрытий полов должны иметь санитарно-эпидемиологическое заключение, а линолеумы и полимерные покрытия полов, кроме того, сертификат пожарной безопасности, в соответствии с приказом № 320 МЧС РФ от 8 июля 2002 г. «Об утверждении перечня продукции, подлежащей обязательной сертификации в области пожарной безопасности».

11.2 Толщина и прочность материала монолитных и плитных покрытий полов в зависимости от интенсивности механических воздействий (табл. 1) должна быть не ниже указанной в табл. 3.

При размещении трубопроводов в бетонных покрытиях при их укладке непосредственно по бетонному основанию (без промежуточной стяжки для укрытия трубопроводов) толщина покрытия пола должна быть не менее диаметра трубопровода плюс 50 мм.

11.3 Полная толщина полов с бетонным покрытием должна определяться расчётом на прочность и быть не менее 120 мм.

11.4 В животноводческих зданиях расчётные сосредоточенные нагрузки от веса животных, воздействующие на пол, должны приниматься по нормам технологического проектирования с учётом коэффициента перегрузки, равном 1,2, и коэффициента динамичности, равном 1,2.

11.5 Полы в кормовых и навозных проездах животноводческих зданий должны рассчитываться на воздействие подвижной нагрузки от транспорта на пневмоходу при давлении на колесо 1,45 тн.

11.6 Толщина половой доски для покрытия должна быть не менее 29 мм, паркетных досок не менее 25 мм, паркетных щитов не менее 30 мм.

11.7 Пролёт лаг следует принимать не более 0,9 м при их толщине 40 мм и не более 1,1 м при толщине 50 мм.

11.8 Лаги должны опираться на столбики из обыкновенного глиняного кирпича (ГОСТ 530-54) марки не ниже 75 на цементно-песчаном растворе марки не ниже М25 или из бетона класса В12,5. Устройство столбиков из силикатного кирпича и других подобных материалов не допускается.

11.9 Воздушное пространство под покрытием полов из досок, реек, паркетных досок и щитов не должно сообщаться с вентиляционными и дымовыми каналами, а в помещениях площадью более 25 м2 дополнительно должно разделяться перегородками из досок на замкнутые отсеки размером (4 - 5)×(5 - 6) м.

11.10 Для помещений с электронным оборудованием в целях исключения помех его нормальной работе от электрических разрядов (предприятия с электронной гигиеной), полы должны выполняться с покрытием из полимерных антистатических материалов (с удельным поверхностным электрическим сопротивлением в пределах 1 · 106 - 1 · 109 Ом), присоединенным к системе заземления здания, или структурно не электризуемых неорганических материалов.


Таблица 3

Материал покрытия пола

Интенсивность механических воздействий на пол

Весьма значительная

Значительная

Умеренная

Слабая

Толщина покрытия, мм

Класс бетона или прочность материала покрытия, МПа (кгс/см2)

Толщина покрытия, мм

Класс бетона или прочность материала покрытия, МПа (кгс/см2)

Толщина покрытия, мм

Класс бетона или прочность материала покрытия, МПа (кгс/см!)

Толщина покрытия, мм

Класс бетона или прочность материала покрытия, МПа (кгс/см2)

1. БЕТОНЫ

 

 

 

 

 

 

 

а) цементный

50*

В40**

30

В30

25

В22,5

20

В15

б) мозаичный

не допускается

30

40(400)

25

30(300)

20

20(200)

в) поливинилацетатный и латексный

не допускается

30

40(400)

20

30(300)

20

20(200)

г) кислотостойкий

не допускается

40

25(250)

30

20(200)

20

20(200)

д) асфальтобетон

не допускается

50

-

40

-

25

-

е) сталефибробетон

40

В35

30

В25

25

В20

20

В15

2. Цементно-песчаный раствор

не допускается

не допускается

30

30(300)

20

20(200)

3. Поливинилацетатцементно-опилочный состав

не допускается

не допускается

20

-

15

-

4. Наливной состав на основе синтетических смол

не допускается

не допускается

4***

-

2-4

-

5. Ксилолит

не допускается

не допускается

20

-

15

-

6. Цементно-бетонные плиты

не допускается

40

В30

30

В22,5

30

В15

7. Мозаично-бетонные плиты

не допускается

40

40(400)

30

30(300)

20

20(200)

8. Керамические плитки

не допускается

не допускается

не допускается

9 - 13

-

9. Керамические кислотоупорные плиты

не допускается

50

-

30 - 35

-

15 - 20

-

10. Керамогранит

не допускается

не допускается

не допускается

Более 8

-

* - для бетонного пола с упрочнённым верхним слоем 70 мм

** - для бетонного пола с упрочненным верхним слоем В22,5

*** - не допускается движение тележек на металлических шинах


11.11 В помещениях, классифицируемых по классам чистоты, полы должны быть беспыльными, отвечающими требованиям, предъявляемым классами беспыльности помещений.

Истираемость покрытия пола не должна превышать для монолитных покрытий полов в помещениях класса беспыльности 100 - 0,06 г/см2, класса 1000 - 0,09 г/см2 и класса 10000 - 0,12 г/см2, а для покрытий полов из линолеума - 50 мкм, 90 мкм и 100 мкм соответственно.

В помещениях класса беспыльности 100 покрытия полов из полимерных материалов должны быть антистатическими. Кромки стыкуемых полотнищ линолеума в помещениях классов 100 и 1000 должны быть сварены.

11.12 Полы в помещениях, где возможно образование взрывоопасных смесей газов, пыли, жидкостей и других веществ в концентрациях, при которых искры, образующиеся при ударе предметов о пол или разрядах статического электричества, могут вызвать взрыв или возгорание, должны выполняться из не образующих искр при ударах (методика испытаний по СО 004-02495342-2006) антистатических или структурно не электризуемых материалов.

11.13 Нормативный коэффициент теплоусвоения покрытий полов не должен превышать:

- в жилых зданиях, больничных учреждениях, диспансерах, амбулаториях, поликлиниках, родильных домах, домах ребёнка, домах-интернатах для престарелых и инвалидов, общеобразовательных и детских школах, детских садах, яслях детских домах и детских приёмниках-распределителях - 12 Вт/(м2 · °С);

- в общественных зданиях, кроме вышеуказанных, вспомогательных зданиях и помещениях промышленных предприятий, а также на участках с постоянными рабочими местами в отапливаемых производственных зданиях, где выполняются легкие физические работы (категория I) - 14 Вт/(м2 · °С);

- в отапливаемых помещениях производственных зданий, где выполняются физические работы средней тяжести (категория II) - 17 Вт/(м2 · °С);

- в животноводческих зданиях: в местах содержания без подстилки крупного рогатого скота молочного направления и молодняка до 4-месячного возраста (крупного рогатого скота и свиней) - 12,3 Вт/(м2 · °С), в местах содержания откормочных животных с 4-месячного возраста - 17,2 Вт/(м2 · °С).

11.14 Показатель теплоусвоения покрытия пола не нормируется в производственных помещениях с температурой поверхности пола выше 23 °С, в отапливаемых производственных помещениях, где выполняются тяжелые физические работы (категория III), в производственных зданиях, где на участках пола постоянных рабочих мест размещены деревянные щиты или теплоизолирующие коврики, в общественных зданиях, эксплуатация которых не связана с постоянным пребыванием людей (залы музеев и выставок, фойе театров и кинотеатров и т.п.), в животноводческих зданиях с решётчатыми полами и полами для содержания животных на подстилке, а также в помещениях для птицы и овец.

11.15 Обогреваемые полы следует предусматривать в зонах хождения людей босыми ногами по покрытиям полов из керамической плитки - обходные дорожки по периметру ванн бассейнов (кроме открытых бассейнов), в раздевалках, душевых. Средняя температура поверхности пола должна поддерживаться в пределах +23 °С.

11.16 Обогреваемые полы являются дополнением к основному отоплению и служат для создания комфорта.

11.17 Поверхность покрытия пола должна быть ровной. Отклонение поверхности покрытия пола от горизонтальной плоскости на длине 2 м не должна превышать для покрытий:

- полимерных мастичных, дощатых, паркетных, из ламината, из линолеума, из рулонных материалов на основе синтетических волокон - 2 мм;

- из бетонов (всех видов), ксилолита, цементно-песчаного раствора, поливинилацетатцементно-опилочного состава, из плит бетонных (всех видов), керамических, каменных, резиновых, чугунных и стальных, а также кирпича (всех видов) на растворе - 4 мм;

- из чугунных плит и кирпича по прослойке из песка - 6 мм.

11.18 Отклонение от заданного уклона покрытий - 0,2 % соответствующего размера помещений, но не более 50 мм.

11.19 Высота уступа между смежными изделиями покрытий из штучных материалов не должна превышать в полах:

- из кирпича, бетонных, чугунных и стальных плит - 2 мм;

- из керамических, мозаично-бетонных, каменных плит - 1 мм.

11.20 В полах дощатых, паркетных, из линолеума и ламината уступы между смежными изделиями не допускаются.

11.21 Допускаемый коэффициент трения, определяемый по СО 003-02495342-2006, должен быть при перемещении в обуви в жилых, общественных и производственных помещениях:

- по сухим покрытиям полов - не менее 0,35;

- то же по влажным покрытиям полов - не менее 0,4;

- то же по замасленным покрытиям полов - не менее 0,5;

При перемещении босыми ногами по влажным покрытиям полов в комнатах для переодевания - не менее 0,2;

- то же по влажным покрытиям полов в душевых помещениях и бассейнах - не менее 0,3;

- то же по подводным лестницам в бассейне - не менее 0,5.

При ходьбе по наклонной плоскости (по прямой линии уклона) под углом α допускаемые коэффициенты трения определяются по формуле:

К'тр предельный = Ктр предельный + tg α.

При ходьбе по горизонтальной плоскости с дополнительным горизонтальным усилием (к примеру - переноска тяжестей) допускаемые коэффициенты трения определяются по формуле:

К"тр предельный = Ктр предельный + Fn/(G · 9,81), где

Fn - дополнительное горизонтальное усилие в ньютонах;

G - средняя масса человека, равная 75 кг.

При ходьбе по наклонной плоскости с дополнительным усилием, прилагаемым параллельно к поверхности плоскости, допускаемые коэффициенты трения определяются по формуле:

К"'тр предельный = Ктр предельный + tg α + Fn/(G · cos α · 9,81)

11.22 Коэффициент трения поверхности покрытий полов в спортивных сооружениях, определяемый по СО 003-02495342-2006, не должен быть менее 0,4 и более 0,6.

11.23 Полы в залах для игровых видов спорта (футбол, волейбол, баскетбол, теннис и т.д.) согласно международным требованиям (в частности требованиям DIN 18032:11) должны обладать необходимым уровнем упругости:

- ударопоглощение - не менее 53 %;

- стандартная деформация - не менее 2,3 мм;

- фактор W500 (параметр, характеризующий деформацию на расстоянии 500 мм от точки воздействия нагрузки) - не более 15 % от стандартной деформации;

- отскок мяча - не менее 90 %;

- давление при прокате - не менее 1500 Н.

11.24 Отклонение швов в покрытиях пола между рядами штучных материалов от прямой линии не должно превышать 10 мм на длине ряда в 10 м. Ширина швов между плитками и блоками не должна превышать 6 мм при втапливании плиток и блоков в прослойку вручную и 3 мм при вибровтапливании.

11.25 Зазоры между досками дощатого покрытия не должны превышать 1 мм, между паркетными досками - 0,5 мм и между смежными планками штучного паркета - 0,3 мм.

11.26 Зазоры между смежными кромками полотнищ ковров не допускаются.

11.27 При проверке сцепления монолитных мастичных покрытий и покрытий из керамических и каменных плит с нижележащими элементами пола простукиванием не должно быть изменения характера звучания.

11.28 Площадь приклейки паркетной планки должна составлять не менее 80 %, адгезия паркета к основанию на отрыв - не менее 0,3 МПа.

11.29 Адгезия линолеума и ковровых покрытий к основанию на отрыв должна быть не менее 0,3 МПа.

11.30 Поверхность покрытия не должна иметь выбоин, трещин, волн, вздутий, приподнятых кромок. Цвет покрытия должен соответствовать требованиям проекта.

11.31 В соответствии с международными требованиями цвет синтетических покрытий кортов, на которых проводятся международные соревнования, должен быть голубым.

11.32 В помещениях, при эксплуатации которых возможны резкие перепады температур, в покрытиях полов должны быть предусмотрены деформационные швы, которые должны совпадать с деформационными швами в стяжке и в подстилающем слое. Швы должны быть расшиты полимерной эластичной композицией.

11.33 Деформационные швы в сборных стяжках из древесно-стружечных плит должны быть повторены в покрытии полов и защищены упругими элементами либо расшиты полимерной эластичной композицией.

11.34 При стыковке покрытий из разнородных материалов рекомендуется установка медных алюминиевых или стальных элементов, защищающих края этих покрытий от механических повреждений, попадания воды в шов и отклеивания. Для паркетных и плиточных покрытий полов такие элементы, кроме того, позволяют компенсировать деформации от температурно-влажностных воздействий.

РАЗДЕЛ II

ПРАВИЛА ПРОЕКТИРОВАНИЯ, УСТРОЙСТВА, ПРИЁМКИ, ЭКСПЛУАТАЦИИ И РЕМОНТА ПОЛОВ

1. Общие положения

Выбор типа пола следует осуществлять с учётом видов и интенсивности эксплуатационных воздействий, а также из технико-экономической целесообразности принятого решения в конкретных условиях строительства, при котором обеспечивается:

эксплуатационная надёжность и долговечность пола;

экономия строительных материалов;

наиболее полное использование физико-механических свойств применённых материалов;

минимум трудозатрат на устройство и эксплуатацию;

максимальная механизация процессов устройства; - экологическая безопасность;

безопасность передвижения людей;

оптимальные гигиенические условия для людей;

пожаробезопасность.

При проектировании и устройстве полов кроме указаний настоящего Руководства должны выполняться требования действующих норм проектирования, правил техники безопасности, по охране труда и противопожарной безопасности.

2. Грунт основания

2.1 При проектировании и устройстве грунтовых оснований должны соблюдаться технические требования, изложенные в Разделе I.

2.2 При пучинистых грунтах, к которым согласно СНиП 2.02.01-83* относятся пылевато-глинистые грунты, пески пылеватые и мелкие, а также крупнообломочные грунты с пылевато-глинистым заполнителем, подверженные в процессе эксплуатации пола замораживанию, рекомендуется предусматривать одну из следующих мер:

- устройство по основанию после снятия растительного грунта слоя теплоизоляции из плитного экструзионного пенополистирола;

- замену пучинистого грунта на непучинистый.

2.3 Макропористые грунты следует закреплять или заменять на грунт с малой осадкой.

2.4 Грунты насыпные или с нарушенной структурой рекомендуется очистить от примесей древесно-строительного мусора и уплотнить.

2.5 При применении для устройства оснований гравийно-песчаных смесей их рекомендуется укладывать по выровненной поверхности слоями толщиной 100 - 120 мм с последующим уплотнением каждого слоя.

2.6 Уплотнение грунта рекомендуется осуществлять механизированным способом в соответствии с требованиями СНиП 3.02.01-87. Ручное трамбование грунта допускается только в местах, недоступных для используемых механизмов, и там, где их применение может вызывать повреждение примыкающих к зоне уплотнения конструкций (фундаментов, стен подвалов и др.).

2.7 Грунт основания при уплотнении и планировке должен быть талым. Уплотнение и планировка талого грунта с примесью мерзлого, а также со снегом и льдом не допускается.

2.8 При производстве работ согласно СНиП 3.02.01-87 необходимо обеспечивать требуемую степень уплотнения грунта (таблица 2.1).

Таблица 2.1

Тип грунта

Контрольные значения коэффициента уплотнения kcom при нагрузке на поверхности уплотненного грунта МПа (кг/см2) при

0

0,05 - 0,2 (0,5 - 2)

Свыше 0,2 (2)

общая толщина отсыпки, м

До 2

2,01 - 4

4,01 - 6

Св. 6

До 2

2,01 - 4

4,01 - 6

Св. 6

До 2

2,01 - 4

4,01 - 6

Св. 6

Глинистые

0,92

0,93

0,94

0,95

0,94

0,95

0,96

0,97

0,95

0,96

0,97

0,98

Песчаные

0,91

0,92

0,93

0,94

0,93

0,94

0,95

0,96

0,94

0,95

0,96

0,97

Примечание. Коэффициентом уплотнения называется отношение достигнутой плотности сухого грунта к максимальной плотности сухого грунта, полученной в приборе стандартного уплотнения по ГОСТ 22733-77.

2.9 Уклоны полов, устраиваемых на грунте, рекомендуется создавать соответствующей планировкой основания. Выполнение уклонов полов на грунте за счёт утолщения подстилающего слоя допускается только в небольших помещениях, где это утолщение не превышает 40 мм.

3. Подстилающий слой

3.1 При проектировании и устройстве подстилающего слоя должны соблюдаться технические требования, изложенные в Разделе I.

3.2 Нежесткий подстилающий слой (песчаный, гравийный, щебёночный и др.) рекомендуется проектировать в производственных зданиях под покрытия из плит жаростойкого железобетона, чугунных и стальных плит.

3.3 При устройстве подстилающего слоя из песка его следует укладывать слоями толщиной 50-100 мм с последующим уплотнением каждого слоя. При этом для повышения степени уплотнения песок рекомендуется предварительно увлажнить до 7 - 10 %.

3.4 Подстилающие слои должны выполняться по предварительно выровненному основанию.

3.5 Гранулометрический состав смеси в % по массе для подстилающих слоев из щебня, естественного камня и доменных шлаков рекомендуется принимать по таблице 3.1

Таблица 3.1

Крупность заполнителя, мм

Из щебня

Из естественного камня

Из доменных шлаков

Более 50

40

20

-

Более 40

20

30

40

25 и более

40

50

60

3.6 Для гравийно-песчаного подстилающего слоя рекомендуется использовать следующий состав гравийно-песчаных смесей:

Размер отверстий в сите, мм

Число зёрен, проходящих
через сито, % по массе

40

90 - 100

20

75 - 90

10

55 - 75

5

40 - 65

2,5

30 - 55

1,2

25 - 45

0,6

20 - 35

0,3

15 - 30

0,15

10 - 25

0,075

7 - 20

3.7 При устройстве подстилающих слоев из щебёночных и гравийно-песчаных смесей их следует предварительно увлажнить до 5 - 7 % и укладывать сплошными равномерными слоями толщиной 80 - 200 мм с последующим уплотнением.

3.8 Бетонные подстилающие слои могут выполняться под все виды покрытий с учётом требований, изложенных в Разделе I. При этом рекомендуется использовать составы бетонных смесей, приведённые в таблице 3.2.

Таблица 3.2

Класс бетона

Составляющие, мас. ч.

Характеристики щебня

Вода

Портландцемент или глиноземистый цемент марки 400

Крупно- или среднезернистый песок

Щебень или гравий крупностью до 15 мм

% износа

Предел прочности при сжатии, МПа

В22,5

0,5

1

1,4

2,4

40

80

В30

0,4

1

1

1,7

45

100

3.9 При нескальных грунтах основания рекомендуется перед укладкой бетона подстилающего слоя втопить в грунт на глубину 40 мм гравий или щебень крупностью 40 - 60 мм с прочностью на сжатие не менее 20 МПа. При необходимости грунт основания предварительно следует увлажнить до 10 - 20 %.

3.10 Устройство бетонных подстилающих слоев рекомендуется выполнять традиционным методом с виброуплотнением смеси или методом вибровакуумирования. При вибровакуумировании содержание песка на 1 м3 бетонной смеси следует принимать на 150 - 200 кг больше, чем в обычных смесях, а её подвижность должна составлять 8 - 12 см.

3.11 Бетон в подстилающем слое следует укладывать полосами шириной 3 - 4,5 м по рейкам с последующим уплотнением виброрейкой и заглаживанием. При этом разбивка полос бетонирования должна совпадать с расположением деформационных швов в подстилающем слое, мест сопряжения полов из различных материалов, примыканий к фундаментам под оборудование и т.п.

3.12 Бетонные подстилающие слои в течение 7 - 10 дней после укладки должны находиться под слоем постоянно влажного водоудерживающего материала.

3.13 При необходимости в последующем выполнения по бетонному подстилающему слою оклеенной или обмазочной гидроизоляции или устройства покрытия из асфальтобетона или штучных материалов, приклеиваемых битумными составами, выровненную поверхность бетона сразу после укладки бетонной смеси следует прогрунтовать раствором битума в летучем растворителе (бензине) при соотношении по массе 1:(2 - 3). Грунтовку наносят краскопультом после устройства подстилающего слоя, но не ранее чем через 30 минут, а кистями - через 1 - 2 суток после укладки бетона. В результате грунтования на поверхности образуется плёнка, предохраняющая бетонный подстилающий слой от быстрого высыхания, что исключает необходимость укрывать её и поливать водой.

3.14 Устройство деформационных швов рекомендуется выполнять методом пропила бетона подстилающего слоя фрезой на глубину не менее 1/3 толщины бетона через 2 суток твердения. Допускается при устройстве деформационных швов в бетонном подстилающем слое в местах расположения разрывов перед укладкой бетона разместить рейки, обмазанные антиадгезионным составом или обёрнутые рулонным кровельным материалом, которые удаляют после затвердевания бетонной смеси. Образовавшиеся швы заполняют герметизирующими материалами.

3.15 Для полов из жаростойкого и кислотостойкого бетонов крупность щебня в бетонной смеси подстилающего слоя не должна превышать 40 мм, а её подвижность 2 см.

3.16 Для щелочестойких подстилающих слоев рекомендуется применять бетонные смеси с содержанием цемента не менее 500 кг/м3 при заполнителе из плотных известняковых или изверженных пород, а также из основных доменных шлаков.

3.17 Для жаростойких подстилающих слоев рекомендуется применять бетонные смеси с подвижностью 2 - 4 см при заполнителе с прочностью на сжатие не менее 20 МПа, огнеупорностью не ниже 1610 °С с пылевидной воздушно-сухой добавкой, содержащей не менее 70 % зерен крупностью до 0,075 мм.

3.18 Для кислотостойких бетонных подстилающих слоев следует применять бетонные смеси, аналогичные тем, которые используются для устройства кислотостойких покрытий (см. табл. 8.6.1).

3.19 Для снижения коэффициента теплоусвоения пола рекомендуется применять при устройстве подстилающего слоя лёгкие бетоны - керамзитобетон или аглопоритобетон (ГОСТ 25820-2000) толщиной 120 - 150 мм класса не ниже В 7,5. Возможно также применение полистиролбетона по ГОСТ Р 51263-99.

3.20 В бетонном подстилающем слое при его устройстве должны быть заложены анкеры и пробки для крепления деталей окаймления полов или оставлены гнёзда для последующей заделки этих деталей.

4. Прослойка

4.1 При проектировании и устройстве прослойки должны соблюдаться технические требования, изложенные в Разделе I.

4.2 При выборе материала и толщины прослойки в зависимости от интенсивности воздействия на пол жидкостей и температуры нагрева следует руководствоваться таблицей 4.1.

5. Стяжки

5.1 При проектировании и устройстве стяжек должны соблюдаться технические требования, изложенные в Разделе I.

5.2 Стяжки могут быть предусмотрены в монолитном и сборном вариантах.

5.3 Для устройства монолитных стяжек рекомендуется применять бетонные и растворные смеси на основе портландцемента с осадкой конуса 2 - 4 см, а также смеси из асфальтобетона и гипса.

5.4 Для устройства монолитных стяжек рекомендуется применять цементно-песчаные растворы (таблица 5.1), бетоны (таблица 5.2) и поризованные цементно-песчаные растворы (таблица 5.3).

Таблица 5.1

Марка раствора

Вода

Цемент марки 400

Песок

M150

0,55

1

3,0

М200

0,48

1

2,8

М300

0,40

1

2,4

Таблица 5.2

Класс бетона

Состав по массе при марке цемента не ниже 400

Вода

Цемент

Песок

Щебень или гравий

В 12,5

0,8

1

2,8

4,4

В 15

0,65

1

2,0

3,4

В 22,5

0,5

1

1,4

2,4


Таблица 4.1

Материал прослойки

Возможный материал покрытия пола

Рекомендуемая толщина прослойки, мм

Предельно допускаемая интенсивность воздействия на пол жидкостей

Нагрев пола до темпера туры, °С

воды и растворов нейтральной реакции

минеральных масел и эмульсий из них

органических растворителей

веществ животного происхождения

Кислот

Щелочей

концентрация, %, не более

интенсивность

концентрация, %, не более

интенсивность

1

2

3

4

5

6

7

8

9

10

11

12

Цементно-песчаный раствор

Плиты бетонные, мозаично-бетонные, из природного камня, керамические плитки

10 - 15

Большая

Большая

Большая

Малая

-

Не допускается

8

Малая

100

Цементно-песчаный раствор с добавкой латекса

Плитки керамические, кислотостойкие, каменные литые, кислотостойкий кирпич

10 - 15

«

Малая

Средняя

Средняя

02

10

Малая

83

Средняя

100

Цементный клей

Плитки керамические, кислотостойкие, каменные литые, керамогранитные

2 - 3

«

Малая

Средняя

Средняя

02

10

Малая

83

Средняя

100

На жидком стекле с уплотняющей добавкой

То же

10 - 12

«

«

Большая

Большая

100

Большая

-

Не допускается

100

На основе синтетических смол (реактопластов)

Плитки керамические, кислотостойкие, каменные литые, керамогранитные

2 - 4

«

«

Средняя

«

154

30

Большая

15

Средняя

70

штучный паркет, линолеум, ламинат

не более 1

-

Не допускается

-

Не допускается

-

Не допускается

-

Не допускается

50

Горячая битумная мастика

Торцовая шашка

2 - 3

Большая

Не допускается

Не допускается

Не допускается

10

20

Большая

8

Средняя

70

Мелкозернистый бетон класса не ниже В30

Стальные и чугунные плиты

30 - 36

-

Большая

Большая

Малая

-

Не допускается

8

Малая

100

Песок

Плиты из жаростойкого бетона, чугунные плиты

220

Малая

Малая

Малая

Не допускается

1000 - 14005

150

600 - 10005

100

200 - 6005

60

Менее 2005

Теплоизоляционные материалы (каменноугольные шлаки, молотые отходы из кирпича и другие жаростойкие материалы с объёмной массой в уплотненном состоянии 1 - 1,2 т/м3)

Плиты из жаростойкого бетона, чугунные плиты

150

Малая

Малая

Малая

Не допускается

1000 - 14005

100

600 - 10005

70

200 - 6005

60

Менее 2005

1. Над чертой указаны: азотная, серная, соляная, фосфорная, хлорноватистая, хромовая, уксусная, под чертой - масляная, молочная, муравьиная, щавелевая кислоты

При заполнении швов полимерными мастиками -

3. При заполнении швов полимерными мастиками 15 %

4. Для окисляющих сред не более 5 %

5. При установке на пол горячих предметов, деталей, проливах расплавленного металла и т.п., нагреве воздуха на уровне пола

Примечания: 1. Температурой пола условно считается температура воздуха на уровне пола или температура горячих предметов при контакте с полом.

2. Приведенный в таблице тип прослойки может быть применен при воздействиях, не превышающих ограничений, установленных в таблице.


Таблица 5.3

Составляющие

Прочность, МПА

5,0

7,5

10,0

Портландцемент М500

420

450

480

Песок

735

900

960

Вода

330 - 350

350 - 380

375 - 400

Алюминиевая пудра ПАП-1

0,4

0,35

0,3

Натрий сернокислый

4

3,5

3

5.5 Для приготовления бетона и цементно-песчаного раствора следует использовать портландцемент (ГОСТ 10178-85) марки не ниже 400. При необходимости сокращения срока производства работ для приготовления бетона и цементно-песчаного раствора следует использовать быстросхватывающиеся цементы, в частности цемент марки UZIN-NC 190.

5.6 Для бетонных стяжек следует применять в качестве крупного заполнителя щебень или гравий фракций 5 - 15 мм с прочностью на сжатие не менее 20 МПа.

5.7 Наименьшая толщина цементно-песчаной или бетонной стяжки (мм) для создания уклона в местах примыкания к сточным лоткам, каналам и трапам, должна быть: при укладке её по плитам перекрытия - 20, по тепло- и звукоизолирующему слою - 40. При проектировании бетонной стяжки, устроенной по теплоизоляционным минераловатным плитам следует руководствоваться таблицами 5.4 - 5.6 в соответствии с «Рекомендациями по подбору толщины и армирования бетонной стяжки, устроенной по теплоизоляционным плитам ФЛОР БАТТС и ФЛОР БАТТС И». Толщина стяжки для укрытия трубопроводов должна быть на 15 - 20 мм больше диаметра трубопроводов.

Таблица 5.4

Рекомендации по проектированию стяжек при действии сосредоточенных нагрузок

Толщина стяжки, мм

Армирование (d, класс/шаг, мм)

Максимально допустимая сосредоточенная нагрузка, кг, при минимальных расстояниях между грузами, м

0,5

0,7

1,0

1,5

2,0

60

-

200

300

330

330

300

80

-

300

480

550

550

540

100

-

400

700

810

830

800

«

d5BpI/200

500

900/1020

1180

1220

1160

«

d6AIII/200

580/750

900/1270

1470

1510

1440

120

-

570

940

1120

1170

1300

«

d5BpI/200

610

940/1220

1440

1500

1450

«

d6AIII/200

610/910

940/1520

1660/1790

1870

1800

«

d6AIII/150

610/1050

940/1610

1660/2380

2240/2480

2400

140

-

630/760

970/1230

1490

1570

1530

«

d5BpI/200

630/880

970/1410

1670/2140

1790

1740

«

d6AIII/200

630/1100

970/1640

1670/2660

2214

2150

«

d6AIII/150

«

«

1670/2950

2580/2960

2910

«

d8AIII/200

«

«

«

2580/3770

3280/3670

«

d10AIII/200

«

«

«

«

3280/5660

Примечания: 1. Класс бетона стяжки - В20.

2. Значения нагрузок слева от черты принимаются для минераловатных плит с прочностью на сжатие при 10 % сжатии 3,5 МПа, а справа от черты - 5,0 МПа.

3. Табличные значения нагрузок получены при размерах опорной площадки 10×10 см. При размерах грузовых площадок. Превышающих в обоих направлениях 20 см, табличные значения нагрузок можно увеличить на 30 %.

4. Допускается использовать иное армирование, чем указанное в таблице. При этом нагрузку Р следует принимать равной:

Ртабл(RxAx)факт/(RхAx)табл, где

(RхАх)факт - предельное усилие в принятой арматуре на единицу длины;

Ртабл и (RхАх)факт - табличное значение нагрузки и соответствующее ей предельное усилие в арматуре, но не более максимальной нагрузки для данной толщины стяжки.

5. Арматурная сетка должна располагаться в нижней части стяжки.

Таблица 5.5

Рекомендации по проектированию стяжек при движении легковых и грузовых двухосных автомобилей

Толщина стяжки, мм

Армирование (d, класс/шаг, мм)

Максимально допустимая нагрузка на одно колесо, кг

Минимальная площадь следа колеса, см2

1

2

3

4

60

-

500

300

70

-

700

400

80

-

960

«

100

-

1390

«

120

-

1880

400

140

-

2620

600

140

d8AIII/200

4220

«

140

d10AIII/200

7030

900

140

d12AIII/200

11350

1600

Примечания: 1. Класс бетона стяжки - В20.

2. При площади следа колеса, превышающей табличные значения в 2 и более раза, допустимую нагрузку можно увеличить на 15 %.

3. Допускается использовать иное армирование, чем указанное в таблице, При этом нагрузку Р следует принимать равной:

Ртабл(RxAx)факт/(RхAx)табл, где

(RхAx)факт - предельное усилие в принятой арматуре на единицу длины;

Ртабл и (RхAx)факт - табличное значение нагрузки и соответствующее ей предельное усилие в арматуре, но не более максимальной нагрузки для данной толщины стяжки.

4. Арматурная сетка должна располагаться в нижней части стяжки

Таблица 5.6

Рекомендации по проектированию стяжек при движении 3-х и 4-хосных автомобилей

Толщина стяжки, мм

Армирование (d, класс/шаг, мм)

Максимально допустимая нагрузка на одно колесо, кг

Минимальная площадь следа колеса, см2

100

-

930

400

120

-

1230

400

140

-

1620

400

140

d8AIII/200

2810

600

140

d10AIII/200

4758

900

140

d12AIII/200

7560

1600

Примечания: 1. Класс бетона стяжки - В20.

2. При площади следа колеса, превышающей табличные значения в 2 и более раза, допустимую нагрузку можно увеличить на 15 %.

3. Допускается использовать иное армирование, чем указанное в таблице, при этом нагрузку Р следует принимать равной:

Ртабл(RxAx)факт/(RхAx)табл, где

(RxAx)факт - предельное усилие в принятой арматуре на единицу длины;

Ртабл и (RxAx)факт - табличное значение нагрузки и соответствующее ей предельное усилие в арматуре, но не более максимальной нагрузки для данной толщины стяжки.

4. Арматурная сетка должна располагаться в нижней части стяжки.

5.8 Бетонные выравнивающие стяжки, устраиваемые по бетонному основанию под полимерные покрытия на основе эпоксидных и полиуретановых смол, рекомендуется выполнять толщиной не менее 25 мм из бетона класса В22,5 - при умеренной интенсивности механических воздействий и не менее 20 мм из бетона класса В15 - при слабой интенсивности механических воздействий.

5.9 Толщина стяжки в обогреваемых полах должна быть на 50 мм больше диаметров нагревательных элементов - электрокабелей и водонагревательных трубопроводов. Стяжку рекомендуется армировать кладочной сеткой из проволоки диаметром 3 мм с размером ячейки 50×50 мм.

5.10 Стяжка с охлаждающими трубками в охлаждающей плите катков с искусственным льдом должна выполняется из морозостойкого бетона марки не ниже F 75 и класса по прочности на сжатие не ниже В 12,5. Толщина стяжки - не более 140 мм.

5.11 Пересечение конструкции охлаждающей стяжки инженерными коммуникациями (кроме охлаждающих труб) не допускается.

5.12 В местах сопряжения стяжек с электро- и водонагревательными элементами и стяжек, укладываемых по тепло-звукоизолирующему слою или обогревающему слою в виде матов из химических волокон с электронагревающими кабелями, с другими конструкциями (стенами, перегородками, трубопроводами, проходящими через перекрытия, и т.п.) должны быть предусмотрены зазоры шириной 25 - 30 мм на всю толщину стяжки, заполняемые эластичными прокладками.

5.13 В стяжках с электро- и водонагревательными элементами и стяжках, укладываемых по обогревающему слою в виде матов из химических волокон с электронагревающими кабелями, должны быть предусмотрены деформационные швы в продольном и поперечном направлении с шагом от 3 до 6 м. Швы должны совпадать с осями колонн, со швами плит перекрытий, деформационными швами подстилающего слоя. Глубина деформационного шва должна быть не менее 1/2 толщины стяжки.

5.14 Водонагревательные элементы в стяжках обогреваемых полов и трубы системы охлаждения в охлаждающих плитах катков с искусственным льдом укладываются, как правило, с шагом 150 мм. Для циркуляции хладо- или теплоносителя применяются цельнотянутые трубы, шаг и сечение которых следует принимать по результатам теплотехнических расчётов.

5.15 Между стяжками с охлаждающими элементами охлаждающей плиты катков с искусственным льдом и нижележащей теплоизоляцией рекомендуется по выравнивающей стяжке выполнять слой скольжения, состоящий из защитных слоев (рубероид, алюминиевая фольга, листовой поливинилхлорид) и помещенного между ними слоя (толщиной около 5 мм) из материалов, обладающих малым коэффициентом трения (порошкообразный графит, тальк, графито-масляная эмульсия).

5.16 Технология изготовления сплошных стяжек из бетона и цементно-песчаного раствора аналогична применяемой при устройстве бетонного покрытия.

5.17 Поверхность монолитных стяжек из бетона и цементно-песчаного раствора, по которым предусматривается устройство оклеечной гидроизоляции, должна быть огрунтована раствором битума в летучем растворителе в соотношении 1:(2 - 3), а под покрытие из штучных изделий по прослойке из полимерных материалов - грунтовочным составом на основе полимерного материала прослойки.

5.18 Поверхность бетонных стяжек перед устройством по ним покрытий полов, имеющих в своём составе поливинилацетатную дисперсию или латекс, следует очистить и прогрунтовать дисперсией или латексом, разбавленными водой в соотношении 1:(2 - 3).

5.19 Стяжки из поризованных цементно-песчаных растворов с прочностью на сжатие 5,0, 7,5 и 10,0 МПа и из легкого бетона, в том числе пенобетона (ГОСТ 25485-89) класса В10 плотностью 1100 - 1200 кг/м3, рекомендуется применять преимущественно под покрытия из рулонных материалов, штучный паркет и плитку. При этом толщину стяжек следует принимать равной 30 - 50 мм.

5.20 При устройстве стяжек смесь поризованного раствора следует укладывать по ровному основанию, в котором зазоры при проверке двухметровой рейкой не должны превышать 5 мм. В противном случае поверхность основания следует выровнять цементно-песчаным раствором марки не ниже 100.

5.21 Смеси из поризованного раствора и бетона следует укладывать равномерным слоем толщиной менее проектной на величину вспучивания, которую определяют опытным путём. При этом контроль толщины рекомендуется при больших площадях пола осуществлять по предварительно выставленным маякам из раствора марки 100, а в небольших помещениях - по рискам, нанесённым на стены.

5.22 Перерывы при устройстве стяжек из поризованного раствора и пенобетона в пределах одного помещения не допускаются. После укладки смеси поверхность стяжки до её интенсивного вспучивания следует тщательно выровнять.

5.23 Движение людей по стяжке допускается после достижения прочности не менее 0,2 МПа.

5.24 В стяжке из поризованного раствора не должно быть усадочных трещин шириной раскрытия более 0,3 мм. В противном случае их следует расшить и зашпаклевать цементно-песчаным раствором на поливинилацетатной дисперсии при соотношении ПВА:вода = 1:4.

5.25 Стяжки из пенобетона для получения мелкодисперсной замкнутой пористости материала рекомендуется выполнять по турбулентно-кавитационной технологии с использованием специального смесителя, снабженного лопастями минимального аэродинамического сопротивления.

5.26 Стяжки из саморазравнивающихся гипсовых, цементных и полимерных композиций рекомендуется применять при повышенных требованиях по ровности или при ограничении по толщине или массе выравнивающего слоя. Толщина саморазравнивающихся стяжек определяется величиной неровности нижележащего элемента, но не может быть менее 1 мм.

5.27 Выбор саморазравнивающейся композиции необходимо осуществлять с учётом типа подстилающего слоя, необходимой толщины стяжки и её прочностных характеристик, а также условий эксплуатации полов. Для стяжек толщиной от 2 до 30 мм может быть рекомендован наливной состав «Глимс-SL» по ТУ 5745-010-40397319-2003, а стяжек толщиной от 5 до 100 мм - наливной состав «Глимс-S3Х» по ТУ 5745-010-40397319-2003, а также сухие смеси, выпускаемые фирмами UZIN (таблице 5.7) и «Хенкель Баутехник» (таблица 5.8). Текучесть саморазравнивающихся композиций после затворения водой должна быть не менее 240 мм по вискозиметру Суттарда.

5.28 Устройство саморазравнивающихся стяжек следует выполнять при температуре воздуха в помещении 15 - 30 °С.

5.29 Перед нанесением саморазравнивающихся стяжек поверхность бетонных оснований и плит перекрытий следует очистить от цементного молока, обеспылить, а затирку удалить.

Таблица 5.7

Марка саморазравнивающейся композиции

Тип вяжущего

Предел прочности при сжатии после 28 суток воздушной выдержки, МПа, не менее

Рекомендуемая толщина слоя, мм

Uzin NC-110

Гипсовое

27

До 30

Uzin NC-160

Цементное

30

До 20

Uzin NC-170

Цементное

40

До 10*

* толщина свыше 10 мм при добавлении 50 % песка.

Таблица 5.8

Марка саморазравнивающейся композиции

Предел прочности при сжатии после 28 суток воздушной выдержки, МПа, не менее

Рекомендуемая толщина слоя, мм

Ceresit CN 69 (ТУ 5745-007-58239148-03)

18

От 3 до 15

Ceresit CN 76 (ТУ 5745-007-58239148-03)

40

От 4 до 50

Thomsit DD (ТУ 5745-001-58239148-2004)

22

От 0,5 до 5

Thomsit DX (ТУ 5745-001-58239148-2004)

30

От 0,5 до 10

5.30 В целях предотвращения интенсивного отсоса воды из составов стяжек нижерасположенным слоем и обеспечения требуемой адгезии с ним поверхность этого слоя рекомендуется загрунтовать специально разработанными грунтовками, в частности для саморазравнивающихся стяжек марки «Глимс» грунтовкой «Глимс-грунт» по ТУ 5775-007-40397319-2004, для саморазравнивающихся стяжек марки «Uzin» грунтовкой «Uzin PE-360», саморазравнивающихся стяжек марки «Ceresit» и «Thomsit» грунтовками марок Ceresit CT 17 (ТУ 5745-008-58239148-03), Ceresit CN 94 (нормативная документация фирмы производителя), Thomsit R 766 (нормативная документация фирмы производителя), и Thomsit R 777 (ТУ 5745-008-58239148-03).

5.31 Изготовление гипсовых саморазравнивающихся стяжек осуществляется, как правило, в один слой. При больших неровностях подстилающего слоя возможно нанесение двух слоев - сначала менее растекаемого «Глимс-S3Х», затем выравнивание поверхности стяжки составом «Глимс-SL». При производстве работ затворённый водой раствор выливается на предварительно прогрунтованное основание с таким расчётом, чтобы получить требуемую толщину слоя. Для ускорения растекаемости рекомендуется использовать зубчатый шпатель.

5.32 Во избежание увлажнения и растрескивания стяжек из поризованного цементно-песчаного раствора, пенобетона и гипсовых составов места примыкания их к стенам и перегородкам следует изолировать рулонными гидроизоляционными материалами либо уложить по периметру помещения вдоль стен пенополиуретановый шнур.

5.33 Асфальтобетонные стяжки рекомендуется выполнять из горячего асфальтобетона толщиной 35 мм.

5.34 Сборные стяжки рекомендуется выполнять из гипсоволокнистых листов влагостойких марки ГВЛВ (ГОСТ Р 51829-2001) или из готовых элементов пола (ТУ 5742-007-03515377-97 или ТУ 5742-004-05800968-04), выполненных из двух гипсоволокнистых листов размером 1500×1500×10 мм, склеенных между собой в заводских условиях со смещением относительно друг друга на 50 мм. Возможно также изготовление сборных стяжек из листов водостойкой фанеры, а также из шпунтованных древесно-стружечных плит.

5.35 При отсутствии требований к полам по показателям тепло- и звукоизоляции сборные стяжки могут укладываться непосредственно по подстилающему слою или плите перекрытия. При необходимости выравнивания поверхности подстилающего слоя или перекрытия по ним следует предусматривать прослойку толщиной 15 - 20 мм из средне- или крупнозернистого песка в воздушно-сухом состоянии.

5.36 Конструкции полов со сборными стяжками из гипсоволокнистых листов в помещениях с нормируемыми показателями звукоизоляции разработаны в четырех вариантах:

• «Альфа» - по перекрытию с ровной поверхностью;

• «Бета» - по слою из эффективных звуко-теплоизолирующих пористо-волокнистых (минератоватных плит, иглопробивных матов типа «Вибросил-Е» или вспененных материалов (вспененного полиэтилена типа «Вилатерм» или вспененного полистирола);

• «Вега» - по выравнивающему и звукоизолирующему слою из сухой засыпки;

• «Гамма» - по слою из эффективных звуко-теплоизолирующих пористо-волокнистых или вспененных материалов с прослойкой из гипсоволокнистых листов по выравнивающему и звукоизолирующему слою из сухой засыпки.

5.37 Выбор типа конструкции и тепло-звукоизоляционного материала осуществляется с учётом требований СНиП 23-03-2003 по фактическим показателям шумопонижения конструкций с монолитными сплошными плитами перекрытий и с многопустотными плитами перекрытий, приведённых в альбоме «Комплектные системы КНАУФ. Полы со сборной стяжкой из гипсоволокнистых листов для жилых и общественных зданий. Материалы для проектирования и рабочие чертежи узлов» ОАО ЦНИИПромзданий, шифр М 28.06/04.

5.38 Толщина слоя тепло-звукоизоляции в помещениях с трубопроводами принимается с учётом необходимости их укрытия и размещения защитных элементов (кожухов, коробов и т.п.). Она должна превышает диаметр трубы не менее чем на 15 мм.

5.39 В помещениях, расположенных над арками и не отапливаемыми помещениями или подвалами, толщина теплоизоляционного слоя определяется из условия обеспечения термического сопротивления перекрытия не менее термического сопротивления наружной стены. Требуемая толщина слоя утеплителя устанавливается расчётом в соответствии с указаниями СНиП 23-02-2003.

5.40 При толщине засыпного тепло-звукоизоляционного слоя более 100 мм для распределения сосредоточенных точечных нагрузок под сборную стяжку предусматривают прослойку из гипсоволокнистых листов толщиной не менее 10 мм. Такая же прослойка укладывается между тепло-звукоизолирующими пористо-волокнистыми матами, пенополиэтиленовыми или пенополистирольными плитами и сухой засыпкой.

5.41 В местах примыкания пола к стенам следует предусматривать зазор, равный 8-10 мм, заполняемый демпфирующей и звукоизоляционной прокладкой, в качестве которой рекомендуется использовать кромочную ленту из вспененного полиэтилена (ТУ 2244-069-04696843-00), отвечающую следующим пожарно-техническим требованиям: группа горючести по ГОСТ 30244-97 - Г2, группа воспламеняемости по ГОСТ 30402-96 - В2, группа дымообразующей способности по ГОСТ 12.01.044-89 - Д3. Возможно также использование в качестве прокладки мягких древесно-волокнистых или минераловатных плит.

5.42 По железобетонной плите перекрытия может быть предусмотрена пароизоляция, в качестве которой рекомендуется использовать полиэтиленовую плёнку толщиной 0,1 - 0,2 мм (ГОСТ 10354-82), а также битумно-полимерных мастики.

5.43 В помещениях со средней и большой интенсивностью воздействия жидкостей на покрытие пола перед укладкой плитки стыки стяжки со стенами следует герметизировать самоклеющейся гидроизоляционной лентой «ЛИПС» по ТУ 2245-001-1263867-95 или «КНАУФ-Флэхендихтбанд», а поверхность её покрывать гидризоляционной мастикой «ГидроМЭБ» по ТУ 5775-010-42788835-01 или «КНАУФ-Флэхендихт». Для гидроизоляции сборной стяжки могут применяться также рулонные гидроизоляционные материалы.

5.44 При устройстве по сборным стяжкам из ГВЛВ покрытий из штучного и наборного паркета, учитывая возможность набухания или усыхания паркетных планок при изменении температурно-влажностных условий (прежде всего в осенний и весенний период), что обуславливает возникновение напряжений как в покрытии, так и в нижележащих слоях пола и, как следствие, коробление паркета. Во избежание этого рекомендуется увеличивать толщину стяжки до 30 мм за счет укладки по ней дополнительного слоя из влагостойких гипсоволокнистых листов по клеевому слою и крепления их со стяжкой винтами для ГВЛ длиной 30 мм с шагом не менее 300 мм. Целесообразно также дополнительно использовать эластичные клеевые мастики под паркетные покрытия и (или) предусматривать разделительный слой между паркетным покрытием и сборной стяжкой из эластичных материалов (в частности клей типа UZIN-92S или рулонный материал на основе полиэстерного волокна типа UZIN Multimoll Vlies (фирма «UZIN», Германия). Конкретные способы, материалы и технологии компенсации деформационных напряжений принимаются в каждом конкретном случае производителями работ по устройству паркетных покрытий.

5.45 При устройстве по сборным стяжкам из ГВЛВ покрытий из линолеума, поливинилхлоридных плиток, ковров из синтетических волокон и ламината, учитывая, что данные типы покрытий полов предъявляют повышенные требования к ровности подстилающих слоев, стыки элементов сборной стяжки и места установки шурупов должны быть заделаны шпаклёвкой «КНАУФ-Фугенфюллер ГВ» (ТУ 5744-008-03515377-02 или ТУ 5745-003-05800969-02), а на поверхности сборной стяжки под поливинилхлоридный многослойный и однослойный линолеум без подосновы следует выполнить выравнивающий слой толщиной не менее 2 мм из гипсовой высокопрочной (предел прочности на сжатие не менее 22 МПа) самовыравнивающейся композиции.

5.46 Устройство полов со сборными стяжками из ГВЛВ следует осуществлять в период отделочных работ. Производство электромонтажных и санитарно-технических, а также всех строительных работ, связанных с «мокрыми» процессами, должно быть завершено до начала монтажа сборных стяжек.

5.47 До начала производства работ монтажные отверстия в перекрытиях, зазоры между плитами, места примыканий перекрытий к стенам, перегородкам, трубам должны быть тщательно заделаны цементно-песчаным раствором марки не ниже M100.

5.48 При необходимости прокладки трубопроводов в полах с тепло- и звукоизоляционным слоем из пенополистирольных плит трубы следует обернуть минераловатными матами, а при применении сухих засыпок обёрнутые минераловатными матами трубы дополнительно защищаются металлическими кожухами, прикрепляемыми к плите перекрытия разжимными дюбелями.

5.49 Весовая влажность бетона плит перекрытий, листов ГВЛВ, элементов пола и сухой засыпки должна быть не более 4 %.

5.50 Работы по устройству сборных стяжек следует выполнять при температуре воздуха на уровне пола не ниже +10 °С и относительной влажности воздуха не более 60 %.

5.51 Перед началом монтажа элементы пола, листы ГВЛВ, сухие засыпки и тепло-звукоизоляционные пористоволокнистые маты и вспененные пенополиэтиленовые или пенополистирольные плиты должны быть выдержаны в температурно-влажностных условиях зоны монтажа.

5.52 Монтаж сборных стяжек предполагает следующую последовательность работ:

нанесение на стены отметки уровня верха стяжки; устройство пароизоляции;

установку кромочной ленты по периметру помещения;

устройство выравнивающего, звукоизолирующего, дополнительного и других слоев пола в соответствии с проектным решением;

укладку сборной стяжки из элементов пола или малоформатных гипсоволокнистых листов;

подготовку поверхности стяжки под покрытие пола; устройство покрытия пола.

5.53 Нанесение отметки уровня верха стяжки осуществляется путем выноса геодезической отметки этажа на ограждающие конструкции монтажных зон с помощью гидравлического или лазерного нивелира. К ней привязываются уровни проектных слоев конструкций пола.

5.54 Полиэтиленовую плёнку пароизоляционного слоя рекомендуется укладывать с нахлёсткой соседних полотен не менее чем на 200 мм с выводом её краёв выше уровня стяжки.

5.55 Кромочная лента устанавливается на пароизоляционный слой в местах примыкания сборной стяжки к ограждающим конструкциям. Она должна отделять стяжку и конструктивные слои пола от ограждающих конструкций.

5.56 Сухую засыпку укладывают по всей поверхности перекрытия слоем проектной толщины. При толщине засыпки более 50 мм, а также в местах примыканий к ограждающим конструкциям она перед нивелированием уплотняется при помощи валика массой не менее 100 кг.

5.57 Нивелирование сухой засыпки производится с помощью комплекта из двух направляющих и одной нивелирующей реек, начиная от стены, противоположной дверному проему. Перед нивелированием необходимо:

- установить направляющие рейки на засыпку параллельно друг другу на расстоянии, равном длине рабочей части нивелирующей рейки;

- выставить нижние плоскости направляющих реек на расчетный (привязанный к геодезическому) уровень.

Нивелирование засыпки производится нивелирующей рейкой «захватками» путем ее перемещения по направляющим рейкам.

5.58 Укладку прослойки из листов ГВЛВ производят от дверного проема с зазором в стыках не более 1 мм и с разбежкой в рядах не менее 250 мм.

5.59 Пористо-волокнистые маты и вспененные плиты укладываются от стены, противоположной дверному проему, в перпендикулярном по отношению к листам выравнивающего слоя направлении в аналогичном порядке. При этом не допускается совпадение стыков жестких звуко-теплоизолирующих материалов и гипсоволокнистых листов прослойки.

5.60 При монтаже стяжки необходимо, чтобы её стыки не совпадали со стыками плитных звуко-теплоизолирующих материалов, а также стыками гипсоволокнистых листов прослойки.

5.61 Монтаж стяжек из элементов пола осуществляется в следующем порядке:

Укладку начинают от стены с дверным проемом справа налево (рис. 1а). В случаях, диктуемых особенностями конфигурации помещений, возможна укладка с противоположной стороны слева направо (рис. 1б).

Предварительно у элементов пола фальцы, примыкающие к ограждающим конструкциям, удаляют (рис. 2).

Каждый новый ряд начинают с укладки остатка элемента предыдущего ряда, что минимизирует отходы и способствует необходимому смещению торцевых стыков в соседних рядах.

При укладке элементов пола на слой сухой засыпки для передвижения по ней устраиваются островки из фрагментов гипсоволокнистых листов размером не менее 50×50 см.

Элементы пола крепятся между собой путем последовательного нанесения из тарной тубы двух полос клеящей мастики (ТУ 2384-0003-365379-56-00) на фальцы стыкуемых элементов и их фиксации винтами для ГВЛ длиной 19 мм, располагаемых с шагом не более 300 мм (согласно рис. 3а и рис. 4а).

При монтаже стяжек в конструкциях «Бета», «Вега» и «Гамма» могут применяться и винты большей длины (22; 25 или 30 мм) в случаях, исключающих возможность повреждения защиты расположенных под стяжкой технических сетей и пароизоляции.

Крепежные винты должны входить в детали стяжки под прямым углом. Головки винтов необходимо утапливать на глубину около 1 мм. Изогнутые, неправильно завернутые винты должны быть удалены и заменены новыми в местах, расположенных на расстоянии около 50 мм от прежних.

Выступающий на поверхность стяжки из стыков клеевой состав удаляется шпателем.

Рис. 1 Схемы раскладки элементов пола при укладке от стены с дверным проёмом (а) и при укладке от стены, противоположной дверному проёму (б)

Рис. 2 Удаление фальцев в примыканиях к ограждающей конструкции

Рис. 3 Соединение элементов пола (а) и малоформатных ГВЛВ (б) при изготовлении сборных стяжек

Рис. 4 Схема крепления винтами: а - элементов пола, б - малоформатных ГВЛВ

В местах расположения дверных проемов соединение элементов пола с удаленными фальцами осуществляется по месту с помощью вставок из ГВЛВ с формированием фальцевых соединений (рис. 5). Их крепление производится вышеизложенным порядком.

Рис. 5 Устройство вставки в месте дверного проёма

5.62 При монтаже стяжки из малоформатных ГВЛВ укладка листов нижнего слоя ведется от стены с дверным проемом встык и с разбежкой относительно друг друга не менее чем на 250 мм (рис. 6а).

Листы второго слоя укладываются таким же порядком с предварительным нанесением клеевого состава (ТУ 2384-003-36537956-00) и разравниванием его при помощи гребешкового шпателя последовательно под каждый лист верхнего слоя (рис. 4б). Плоскости листов верхнего слоя должны перекрывать стыки листов нижнего слоя. При этом смещения их стыков также должны составлять не менее 250 мм (рис. 6б).

Крепление листов верхнего и нижнего слоев стяжки из малоформатных ГВЛВ производится специальными винтами для ГВЛ так же, как фальцев элементов пола согласно рис. 4б.

Рис. 6 Схемы раскладки малоформатных ГВЛВ: а - нижний слой, б - верхний слой.

5.63 Дополнительный слой ГВЛВ, требуемый под покрытия пола из паркета штучного и наборного для упрочнения стяжки, укладывается и закрепляется на поверхности сборной стяжки при помощи клеевого соединения и винтов для ГВЛ по технологии, предусмотренной для укладки верхнего слоя стяжки из малоформатных ГВЛВ.

5.64 При подготовке поверхности стяжки под покрытие пола выступающие части полиэтиленовой пленки пароизоляционного слоя и кромочной ленты срезаются в один уровень с поверхностью стяжки.

5.65 Заделка стыков элементов стяжки и мест установки винтов производится по необходимости, в зависимости от характера покрытия пола. Под покрытия из линолеума с подосновой, ковролина, поливинилхлоридных плиток и т.п. заделка осуществляется шпаклевочными составами «КНАУФ-Фугенфюллер ГВ» (ТУ 5744-008-03515377-02 или ТУ 5745-003-05800969-02) с предварительной обработкой грунтовкой «КНАУФ-Тифенгрунд» (ТУ 5772-031-04001508-2004) и последующим шлифованием зашпаклёванной поверхности.

Дополнительное выравнивание поверхности сборной стяжки под покрытия из поливинилхлоридного многослойного и однослойного линолеума без подосновы, требующие бесшовных оснований с повышенной ровностью и прочностью, осуществляется гипсовыми саморазравнивающимися композициями с пределом прочности на сжатие не менее 22 МПа при помощи зубчатого шпателя. Толщина данного выравнивающего слоя должна быть не менее 2 мм.

5.66 Стяжки из древесностружечной плиты ПухосПол (фирма «Пухос», Финляндия) рекомендуется применять в полах для помещений с сухим режимом эксплуатации, а также при незначительном воздействии жидкости на пол, при котором поверхность покрытия пола сухая или слегка влажная и покрытие пола жидкостями не пропитывается. В данных помещениях гидроизоляция от проникновения сточных вод и других жидкостей может не предусматриваться.

5.67 В соответствии со СНиП 21-01-97* в зданиях всех степеней огнестойкости и классов конструктивной пожарной опасности, кроме зданий V степени огнестойкости и зданий класса конструктивной пожарной опасности С3, не допускается применять сборные стяжки из ДСП на путях эвакуации - в вестибюлях, лестничных клетках и лифтовых холлах (в том числе и лифтовых), общих коридорах, фойе.

5.68 Сборные стяжки из шпунтованных древесно-стружечных плит выполняются по бетонному подстилающему слою, по перекрытиям из монолитного железобетона, сплошных и многопустотных железобетонных плит, по черновому деревянному основанию на лагах, а также непосредственно по деревянным балкам деревянных перекрытий.

5.69 Толщина стяжки из древесностружечных плит класса Puhos P5 и Puhos P6 (фирма «Пухос», Финляндия) составляет 22 мм.

5.70 По бетонному подстилающему слою в полах по грунту и по перекрытиям из монолитного железобетона и сплошных или многопустотных железобетонных плит сборная стяжки из древесно-стружечных плит может укладываться по выравнивающему слою из средне- или крупнозернистого песка в воздушно-сухом состоянии, и по тепло-звукоизолирующему слою из матов или плит (плавающая сборная стяжка), а также по лагам (сборная стяжка на опорах).

5.71 Толщина выравнивающего слоя из средне- или крупнозернистого песка должна быть минимально необходимой.

5.72 Теплоизоляционный слой под сборной стяжкой должен предусматриваться в полах с нормируемым теплоусвоением, а также в полах на перекрытиях, расположенных над арками, не отапливаемыми помещениями или подвалами.

5.73 При необходимости укрытия систем коммуникаций (трубопроводы, электроразводки) сборные стяжки рекомендуется укладывать по обычным или регулируемым лагам.

5.74 Для обычных лаг под сборные стяжки должны использоваться нестроганные доски (ГОСТ 2695-83*, ГОСТ 8486-86*Е) 2-го или 3-го сорта из здоровой антисептированной древесины хвойных или мягких лиственных пород, за исключением липы и тополя. Доски могут иметь тупой обзол без коры. Толщину лаг, опирающихся непосредственно на перекрытия или сплошной звукоизоляционный слой, следует принимать равной 40 мм при ширине 80 - 100 мм. Влажность лаг не должна превышать 18 %.

5.75 В конструкциях полов, к которым не предъявляются требования по их звукоизоляции, лаги укладывают, втапливая их в выравнивающий слой из песчаной засыпки.

5.76 В полах по перекрытию в помещениях с нормируемыми показателями звукоизоляции следует либо увеличить толщину песчаной засыпки, либо дополнительно уложить звукоизолирующие прокладки из древесноволокнистых или древесностружечных плит плотностью 250 - 350 кг/м3. Толщина засыпки и звукоизолирующих прокладок выбираются исходя из расчёта перекрытия по параметру звукоизоляции.

5.77 Древесноволокнистые плиты для звукоизоляционных прокладок должны соответствовать требованиям ГОСТ 4598-86 и быть антисептированными.

5.78 В полах с регулируемыми лагами, а также в деревянных перекрытиях качестве тепло-звукоизоляции рекомендуется применять пенополистирольные плиты и волокнистые маты плотностью до 40 кг/м3, а также засыпки из керамзитового гравия.

5.79 Шаг лаг и балок деревянных перекрытий следует принимать 600 мм в жилых зданиях и 300 мм в зданиях административного назначения.

5.80 В зданиях с деревянными перекрытиями сборные стяжки из древесностружечных плит могут укладываться непосредственно по деревянным балкам перекрытий.

5.81 В случаях возможного увлажнения покрытий пола снизу по бетонному основанию или железобетонной плите перекрытия должна быть предусмотрена пароизоляция, в качестве которой рекомендуется использовать полиэтиленовую плёнку толщиной 0,1 - 0,2 мм (ГОСТ 10354-82), а на черновом деревянном основании парафинированную бумагу (ГОСТ 9569-79) или пергамин (ГОСТ 2697-83).

5.82 При укладке стяжки из древесностружечных плит на бетонный подстилающий слой в полах по грунту или на перекрытия из монолитного железобетона, сплошных и многопустотных железобетонных плит по выравнивающему слою из средне- или крупнозернистого песка пароизоляцию из парафинированной бумаги или пергамина следует размешать между сборной стяжкой и выравнивающим слоем.

5.83 При укладке стяжки из древесностружечных плит по тепло-звукоизолирующему слою из пенополистирольных плит с целью предотвращения скрипа пола между сборной стяжкой и выравнивающим слоем следует располагать промежуточный слой из полиэтиленовой плёнки или пергамина.

5.84 В местах сопряжения плавающих стяжек, выполненных по звукоизоляционным слоям, с другими конструкциями (стенами, перегородками, трубопроводами, проходящими через перекрытия, и т.п.) должны быть предусмотрены зазоры шириной не менее 10 мм на всю толщину стяжки.

5.85 При выполнении плавающих стяжек площадью более 100 м, необходимо предусматривать в ней с шагом не более 10 м деформационные швы, нарезаемые в продольном и поперечном направлении. При использовании сборных стяжек в помещениях со значительными перепадами температуры и влажности воздуха рекомендуется интервал между деформационными швами принимать равным не более 6 м.

5.86 Деформационные швы в полах, совпадающие с деформационными швами здания, должны выполняться на всю толщину бетонного подстилающего слоя или плиты перекрытия и разрезать покрытие пола, тепло-звукоизолирующий слой и сборную стяжку.

5.87 Деформационные швы в сборных стяжках должны быть повторены в покрытии полов и защищены упругими элементами либо расшиты полимерной эластичной композицией.

5.88 Устройство полов со сборными стяжками из древесностружечных плит ПухосПол следует осуществлять в период отделочных работ. Производство электромонтажных и санитарно-технических, а также всех строительных работ, связанных с «мокрыми» процессами должно быть завершено до начала монтажа сборных стяжек.

5.89 При устройстве сборных стяжек из плит ПухосПол непосредственно по железобетонным перекрытиям до начала производства работ монтажные отверстия в перекрытиях, зазоры между плитами, места примыканий перекрытий к стенам, перегородкам, трубам должны быть тщательно заделаны цементно-песчаным раствором марки не ниже M100.

5.90 При наличии под сборной стяжкой трубопроводов и использовании для изготовления тепло- и звукоизоляционного слоя пенополистирольных плит трубы следует обернуть минераловатными матами.

5.91 Весовая влажность бетона основания и плит перекрытий перед укладкой песчаной прослойки или тепло-звукоизоляционного слоя должна быть не более 4 %, досок черновых оснований - не более 12 %.

5.92 Работы по устройству сборных стяжек из плит ПухосПол следует выполнять при температуре воздуха на уровне пола не ниже +10 °С и относительной влажности воздуха не более 60 %.

5.93 Перед началом монтажа детали стяжки и материалы должны быть доставлены в монтажную зону для адаптации к температурно-влажностным построечным условиям.

5.94 Монтаж плавающих сборных стяжек из плит ПухосПол предполагает следующую последовательность работ:

нанесение отметки уровня верха стяжки на ограждающие конструкции;

устройство пароизоляции;

укладку выравнивающего слоя;

устройство тепло-звукоизоляции;

устройство промежуточного слоя;

укладку сборной стяжки из древесностружечных плит;

нарезку деформационных швов.

5.95 Полиэтиленовую плёнку пароизоляционного слоя рекомендуется укладывать на бетонные перекрытия с нахлёсткой соседних полотен не менее чем на 200 мм с выводом краёв её выше уровня стяжки. После окончания работ по устройству сборной стяжки выступающие части плёнки аккуратно срезают. Парафинированная бумага (ГОСТ 9509-79) или пергамин (ГОСТ 2697-83), настилаемые на деревянные черновые полы, укладываются с нахлёсткой около 100 мм без вывода на ограждающие конструкции.

5.96 Песок выравнивающего слоя и пористо-волокнистые тепло-звукоизолирующие маты укладываются непосредственно на подстилающий слой или плиты перекрытий независимо от ровности поверхности данных слоев, а вспененные тепло-звукоизолирующие плиты - при неровности поверхности данных слоев (при проверке контрольной двухметровой рейкой) не более 5 мм. При более высокой неровности поверхности укладка вспененных тепло-звукоизолирующих материалов осуществляется по предварительно выровненному шпаклевочными составами или кварцевым песком подстилающему слою.

5.97 Кварцевый песок рассыпают по поверхности и разравнивают рейкой, начиная от стены, противоположной входу, с последующим уплотнением, а пористоволокнистые и вспененные материалы укладывают насухо с обеспечением надёжного примыкания к основанию и плотности стыков. Не допускается образование перекрёстных швов пенополистирольных плит. При использовании двух и более слоев совпадение швов по высоте слоев не допускается. В связи с этим рекомендуется укладка плит со смешением относительно друг друга не менее чем на 300 мм в поперечном направлении (рис. 7).

Рис. 7 Схема укладки тепло-звукоизолирующих пенополистирольных плит

5.98 Технология укладки промежуточного слоя между сборной стяжкой из плит ПухосПол и выравнивающим слоем из песка или тепло-звукоизолирующим слоем из вспененных плит аналогична технологии устройства пароизоляционного слоя.

5.99 Укладку сборной стяжки из древесностружечных плит ПухосПол производят в направлении «на себя» (находясь на выравнивающем слое из песка или уложенных тепло-звукоизолирующих матах или плитах), начиная от стены, противоположной дверному проёму, оставляя зазор между стеной и сборной стяжкой не менее 10 мм. При укладке плит образование перекрёстных швов не допускается. Не допускается совпадение швов плит сборной стяжки со швами тепло-звукоизолирующих плит.

5.100 Древесностружечные плиты ПухосПол склеиваются дисперсией ПВА (ТУ 2241-027-00203521-96) или мастиками строительными полимерными клеящими латексными (ГОСТ 30307-95). Обеспечение надёжности склеивания плит сборной стяжки между собой достигается расклиниванием с последующим удалением клиньев (рис. 8).

Рис. 8 Схема укладки древесностружечных плит в плавающей сборной стяжке

1 - сборная стяжка из ДСП; 2 - клеевая прослойка; 3 - пароизоляция; 4 - кварцевый песок; 5 - бетонное основание; 6 - грунт основания; 7 - клинья.

5.101 В смежных помещениях при устройстве сборной стяжки рекомендуется сквозная укладка плит ПухосПол.

5.102 После высыхания клея в стяжке осуществляется нарезка деформационных швов ручной циркулярной пилой с отрегулированной опорной плитой таким образом, чтобы глубина пропила соответствовала толщине плиты, а ширина деформационного шва составляла 5 - 10 мм.

5.103 Монтаж сборных стяжек из плит ПухосПол на опорах предполагает следующую последовательность работ:

нанесение отметки уровня верха стяжки на ограждающие конструкции;

устройство пароизоляции;

укладку выравнивающего слоя;

установка лаг;

устройство тепло-звукоизоляции;

устройство промежуточного слоя;

укладку сборной стяжки из древесностружечных плит.

5.104 Лаги следует укладывать поперёк направления света из окон, а в помещениях с определённым направлением движения людей (например, в коридорах) - поперёк прохода с тем, чтобы плиты ПухосПол сборной стяжки располагались вдоль этих направлений. Между лагами и стенами следует оставлять зазор шириной 20 - 30 мм.

5.105 Длина стыкуемых лаг должна быть не менее 2-х метров. Стыковать их между собой при укладке на перекрытие следует торцами в любом месте помещения со смещением стыков в смежных лагах не менее чем на 0,5 м. При размещении лаг на столбиках стыки их должны располагаться на столбиках.

5.106 В полах на перекрытиях поверхность последних должна быть выровнена слоем песка с подбивкой его под звукоизоляционные прокладки или лаги по всей их ширине и длине. Лаги должны опираться на звукоизоляционный слой, поверхность перекрытия или на песчаный выравнивающий слой без зазоров. Подбивка деревянных клиньев или прокладок под лаги для их выравнивания или опирание лаг на деревянные подкладки запрещается.

5.107 В целях снижения трудоёмкости работ, сокращения сроков по устройству пола и повышения качества рекомендуется применять регулируемые лаги со сквозными резьбовыми отверстиями (рис. 9).

Рис. 9 Последовательность операций при установке регулируемых лаг и закреплении к ним сборной стяжки

5.108 Деревянные регулируемые лаги (ТУ 5361-001-42950773-99) имеют размеры 45×45×2000, 45×70×2000 и 45×120×2000 мм и поставляются в комплекте с дюбелями-стойками для регулирования уровня подъема лаг и дюбелями-гвоздями для крепления болтов-стоек к перекрытию.

5.109 Перед установкой в отверстия лаг ввинчиваются пластиковые болт-стойки, на которые опираются лаги (рис. 9а).

5.110 Лаги устанавливаются на перекрытии с шагом 300 или 600 мм, после чего через болты-стойки в перекрытии засверливаются отверстия (рис. 9б, в).

5.111 В болт-стойку помещают дюбель-гвоздь, который на неполную глубину забивают с помощью дробника в отверстие, выполненное в перекрытии (рис. 9г, д).

5.112 С помощью завинчивающего инструмента регулируют необходимое положение лаг по уровню (рис. 9е) и окончательно закрепляют лаги к перекрытию с помощью дюбель-гвоздя, после чего выступающие части болтов-стоек срезают с помощью стамески (рис. 9ж).

5.113 Древесностружечные плиты сборной стяжки укладываются длинной стороной перпендикулярно лагам, а короткой стороной параллельно к ним. Плиты должны раскладываться со смещением относительно друг друга на расстояние не менее двух опор. При этом плита должна перекрывать не менее двух пролётов опор (рис. 10).

Рис. 10 Схема укладки древесностружечных плит в сборной стяжке на опорах

1 - сборная стяжка из ДСП; 2 - гвоздь или шуруп; 3 - клей; 4 - регулируемые лаги; 5 - тепло-звукоизоляция из матов или плит; 6 - пароизоляция; 7 - железобетонная плита перекрытия

5.114 Крепление древесностружечных плит к каждой деревянной опоре осуществляется при помощи дисперсии ПВА (ТУ 2241-027-00203521-96) или мастик строительных полимерных клеящих латексных (ГОСТ 30307-95) и дополнительной установкой либо горяче-оцинкованных гвоздей размером 75×3,1 мм с резьбовой насечкой, либо шурупов, длина которых составляет 2,5 - 3-х кратную толщину плиты. Кроме опор проклеивается шпунтовый стык плит.

5.115 Шаг гвоздей или шурупов по краю плиты должен составлять 150 - 200 мм, а в середине плиты 250 - 300 мм. Шляпки гвоздей и шурупов должны быть заглублены на 2 - 3 мм от поверхности плиты.

5.116 При слабой интенсивности механических воздействий на покрытия полов выравнивание основания может быть осуществлено с помощью стяжки из листов фанеры размером 1,5×1,5 м толщиной 12 мм, опирающейся на основание через регулирующие болты-стойки (рис. 11). При устройстве такой стяжки:

- производится разметка отверстий на листе фанеры. Для этого по углам листа на расстоянии 50 мм от края листа проводятся линии, параллельные его кромкам, точки пересечения которых являются местами расположения отверстий; места расположения отверстий соединяются между собой диагоналям, точка пересечения которых является местом размещения пятого отверстия; следующие четыре отверстия размещаются в середине линий периметра, а последующие четыре - в середине линий полудиагоналей (рис. 11а);

- сверление отверстий, вставка и закрепление саморезами втулок, в которые вкручиваются болты-стойки (рис. 11б - 11д);

- через болты-стойки в перекрытии засверливаются отверстия (рис. 11е);

- в болт-стойку помещают дюбель-гвоздь, который на неполную глубину забивают с помощью дробника в отверстие, выполненное в перекрытии (рис. 11ж);

- с помощью завинчивающего инструмента регулируют необходимое положение листа фанеры по уровню (рис. 11з) и окончательно закрепляют стяжку к перекрытию с помощью дюбель-гвоздя, после чего выступающие части болтов-стоек удаляют с помощью стамески (рис. 11 и);

- укладка второго слоя фанеры и закрепление его к нижнему листу саморезами, располагаемыми с шагом 100 мм (рис. 11к).

5.117 В сборной стяжке из двух листов фанеры толщиной по 10 - 12 мм стыки нижних листов следует перекрывать верхними листами, которые при укладке на лаги крепят между собой саморезами, располагаемыми с шагом 150 мм, а при укладке непосредственно на слой тепло-звукоизоляции шаг саморезов следует принимать равным 100 мм.

5.118 Сборные стяжки из двух слоев водостойкой фанеры толщиной по 10 мм, применяемые под покрытия полов в спортивных сооружениях, укладываются либо по лагам с эластичными прокладками, либо непосредственно по эластичным прокладкам или прослойкам.

5.119 Для крепления стяжки из фанеры рекомендуется применять клеи для паркета. При этом второй лист фанеры должен перекрывать стыки нижнего слоя. Листы фанеры, кроме того, должны быть закреплены к лагам при помощи саморезов, устанавливаемых с шагом 150 мм.

5.120 Устройство покрытий по сборным стяжкам возможно через сутки после их изготовления. Монолитные стяжки на основе гидратирующихся вяжущих (гипсовые, цементно-песчаные и цементно-бетонные) требуют выдержки до достижения нормативной влажности (чаще всего воздушно сухого состояния). С целью предотвращения растрескивания стяжек срок выдержки стяжек на основе гипса, как правило, составляет 3 - 5 суток, цементно-песчаных и цементно-бетонных стяжек с учётом необходимости их увлажнения в первые 7 - 10 суток после изготовления - 3 - 4 недели. На стяжки из цементно-песчаных растворов и бетонов на основе быстросхватывающегося цемента, не требующих выдержки во влажных условиях, покрытия могут наноситься (при температуре воздуха на уровне пола не ниже +20 °С и относительной влажности воздуха не более 60 %) через 24 - 48 часов (в зависимости от толщины стяжки) после изготовления стяжек. Нанесение покрытий на стяжки из саморазравнивающихся композиций при указанных температурных и влажностных условиях возможно через 24 часа.

Рис. 11 Последовательность операций при изготовлении сборной стяжки из фанеры

6. Тепло-звукоизоляционный и эластичный слои

6.1 При проектировании и устройстве теплозвукоизоляционного слоя должны соблюдаться технические требования, изложенные в Разделе I.

6.2 Тепло- и звукоизоляционный слой следует предусматривать:

а). для снижения показателя теплоусвоения пола - располагая непосредственно под покрытием пола листы водостойкой фанеры, древесноволокнистые плиты плотностью до 250 кг/м3 или рулонные вспененные и пористо-волокнистые материалы;

б). для повышения звукоизолирующих характеристик перекрытия - размещая под покрытием пола листы водостойкой фанеры, древесноволокнистые плиты плотностью до 250 кг/м3 или рулонные вспененные и пористо-волокнистые материалы, а под монолитной или сборной стяжкой минераловатные или стекловолокнистые плиты на синтетической связке плотностью до 150 кг/м3, минераловатные маты плотностью до 150 кг/м3, пенополистирольные плиты плотностью 25 - 50 кг/м3, керамзитовый или кварцевый песок, древесноволокнистые плиты плотностью до 250 кг/м3, а также прессованные плиты на основе синтетических волокон на полимерной связке, или размещением под лагами звукоизолирующих прокладок или засыпок;

в). для теплоизоляции перекрытий, расположенных над арками, неотапливаемыми помещениями или подвалам - применяя под стяжкой минераловатные и стекловолокнистые плиты на синтетической связке плотностью до 150 кг/м3, минераловатные маты плотностью до 150 кг/м3, пенополистирольные плиты плотностью 25 - 50 кг/м3, керамзитовый и кварцевый песок, древесноволокнистые плиты плотностью до 250 кг/м3, а также прессованные плиты на основе синтетических волокон на полимерной связке;

г) для снижения потерь тепла в обогреваемых полах или расхода холода в охлаждающих плитах арен с искусственным льдом - располагая под стяжкой с водо- и электронагревающими элементами или охлаждающими трубками или под электроматами прессованные плиты на основе синтетических волокон на полимерной связке.

6.3 Требуемая толщина звукоизоляционного слоя должна устанавливаться расчётом в соответствии с указаниями СНиП 23-03-2003 и СП 23-103-2003 «Проектирование звукоизоляции ограждающих конструкций жилых и общественных зданий».

6.4 Требуемая толщина теплоизоляционного слоя должна устанавливаться расчётом в соответствии с указаниями СНиП 23-02-2003 и СП 23-101-2000 «Проектирование тепловой защиты зданий».

6.5 Для утепления зон примыкания к наружным стенам полов по грунтовому основанию при расположении подстилающего слоя выше отмостки здания или ниже её не более чем 0,5 м рекомендуется предусматривать теплоизоляционные слои толщиной 0,15 - 0,25 м, которые размещаются под подстилающим слоем в грунтовом основании на ширине 0,8 м вдоль стены.

6.6 В местах примыкания пола к стенам и перегородкам следует оставлять зазор шириной не менее 2 см на толщину стяжки. В полах с полимерным покрытием этот зазор следует принимать равным 4 - 5 мм. Зазор заполняется прокладкой из эффективного звукоизоляционного материала, в качестве которого может быть использован пенополиуретан, пенополиэтилен и т.п.

6.7 Эластичный слой следует предусматривать в полах спортивных сооружений, к которым предъявляются требования по нормируемой упругости, располагая непосредственно под покрытием пола рулонные материалы из вспененного винилхлорида или пробко-резинового гранулята. При выполнении покрытия пола по двухлаговому основанию между и под лагами следует устанавливать каучуковые упругие элементы.

6.8 Тип и толщина эластичных прокладочных материалов устанавливаются на основании результатов испытаний полов в спортивных сооружениях по параметрам упругости.

6.9 Тепло- и звукоизоляционные слои следует выполнять по выровненному основанию. При этом высушенный кварцевый и керамзитовый песок рассыпают слоями с последующим разравниванием по рейкам и уплотнением. Плиты и маты укладывают насухо с обеспечением плотности стыков между плитами и перекрытием их смежными матами.

6.10 Для приклейки рулонного материала на основе вспененного винилхлорида или пробко-резинового гранулята к основанию а также второго ряда материалов к первому (при двухслойной укладке), следует использовать полимерные клеи.

7. Гидроизоляция

7.1 При проектировании и устройстве гидроизоляции должны соблюдаться технические требования, изложенные в Разделе I.

7.2 Гидроизоляцию от сточных вод и других жидкостей следует предусматривать по подстилающему слою, перекрытию или стяжке, выполненной по перекрытию или подстилающему слою. Гидроизоляцию от капиллярного поднятия грунтовых вод следует выполнять по уплотнённому грунту или монолитной стяжке (табл. 7.1).

Таблица 7.1

Тип гидроизоляции

Количество слоев

Схема

Слои пола

Гидроизоляция от сточных вод и других жидкостей

Оклеечная из битумных или битумно-полимерных материалов

 

1 - покрытие; 2 - прослойка; 3 - гидроизоляция; 4 - стяжка; 6 - подстилающий слой; 7 - плита перекрытия; 8 - грунтовое основание (уплотнённое)

Оклеечная из эластомерных плёнок

Гидроизоляция от капиллярного поднятия грунтовых вод

Наливная из щебня или гравия, пролитых битумом

 

Асфальтовая из асфальтобетона

Оклеечная из битумных или битумно-полимерных материалов

7.3 Для защиты от проникания сточных вод и нейтральных жидкостей рекомендуется применять оклеенную гидроизоляцию из битумных или битумно-полимерных материалов, наклеиваемых на цементно-песчаную стяжку или бетонный подстилающий слой методом подплавления (для наплавляемых рулонных материалов) или наклейкой на битумно-полимерных мастиках, а также эластомерные плёнки, наклеиваемые на полимерных мастика. Возможно также применение гидроизоляционных слоев из цементных гидроизолирующих масс, в частности гидроизолирующей массы марки Ceresit CR 65 (ТУ 5775-009-58239148-03) и Ceresit CR 166 (ТУ 5775-009-58239148-03).

7.4 Для защиты от воздействия химически агрессивных жидкостей оклеечная гидроизоляция должна выполняться из рулонных материалов и клеевых мастик, обладающих химической стойкостью к конкретной агрессивной среде. В качестве таких материалов рекомендуется применять пластины полиизобутиленовые марки ПСГ (ТУ 2543-428-05011868-98), наклеиваемые на клее 88-НП (ТУ 38.105540-85) и лакокрасочные покрытия на основе эпоксидной шпаклёвки ЭП-0010 (ГОСТ 28379-89), армированные стеклотканью, и эпоксидные и полиуретановые составы марок UZIN-Epoxidicht и UZIN-Epoxiflex Plus (фирма «UZIN», ФРГ) и химически стойкая эластичная эпоксидная гидроизоляция марки Ceresit СЕ 49 (фирма «Хенкель баутехник»). Для армирования лакокрасочных покрытий рекомендуются следующие марки стеклотканей: для кислых сред - ТСФ(7-А)-6П, ТСФ(7-А)-7С (ГОСТ 10146-74) из щелочного алюмомагнезиального стекла 7-А, а для воды, нейтральных и щелочных сред - безщелочные стеклянные ткани на основе алюмоборсиликатного стекла марок Т-11, Т-12, Т-13 (ГОСТ 19170-73), ЭЗ-200-ПТ, ЭЗ-200 (ГОСТ 19907-83). Могут быть применены ткани других марок, рекомендуемые проектами.

7.5 При средней интенсивности воздействия жидкости на пол оклеечную гидроизоляцию из битумных и битумно-полимерных материалов следует выполнять в 2 слоя, а из эластомерных плёнок - в 1 слой.

7.6 При большой интенсивности воздействия жидкости на пол, а также под сточными лотками, каналами, трапами и в радиусе 1 м от них число слоев гидроизоляции следует увеличить вдвое.

7.7 При воздействии на пол веществ животного происхождения и других биологически активных средств оклеечную гидроизоляцию следует выполнять из рулонных битумных и битумно-полимерных материалов с негниющей основой (стеклянной или полимерной) или из эластомерных плёнок.

7.8 При средней и большой интенсивности воздействия на пол минеральных масел, эмульсий из них, органических растворителей следует применять гидроизоляцию из эластомерных плёнок.

7.9 При средней и большой интенсивности воздействия на пол растворов серной, соляной, азотной, уксусной, фосфорной, хлорноватистой и хромовой кислот, кроме гидроизоляции под покрытием пола, следует предусматривать наливную или асфальтовую гидроизоляцию под подстилающим слоем.

7.10 При расположении бетонного подстилающего слоя ниже уровня отмостки здания в помещениях, где отсутствуют какие-либо воздействия на пол сточных жидкостей и нет вероятности опасного капиллярного поднятия грунтовых вод оклеечную гидроизоляцию рекомендуется применять в случаях:

- устройства заглублённых стен подвальных помещений, в которых располагается подсобное оборудование (насосы для подкачки воды, компрессорные и холодильные установки, системы кондиционирования воздуха и пр.);

- вероятного во время эксплуатации здания постепенного поднятия общего уровня грунтовых вод на застраиваемой территории, при заключении в трубы протекающих по данной территории малых рек и т.п.

7.11 Перед выполнением работ по устройству оклеенной гидроизоляции раскатанные полотнища рулонных материалов следует выдержать в течение 24 часов при температуре не ниже +15 °С с целью ликвидации волн и прочих неровностей.

7.12 При устройстве оклеенной гидроизоляции следует обеспечить продольную и поперечную нахлестку полотнищ не менее 85 мм.

7.13 Поверхность битуминозной гидроизоляции перед устройством по ней покрытий, прослоек или стяжек, в состав которых входят цемент или жидкое стекло, следует предварительно покрыть горячей битумной мастикой с втапливанием в неё сухого крупнозернистого песка.

7.14 Мастику следует наносить слоем толщиной 1 - 1,5 мм на чистую и сухую поверхность гидроизоляции. Песок необходимо рассыпать по горячей мастике равномерным слоем без пропусков и скоплений и прокатать ручным катком. Излишки песка после остывания мастики следует удалить.

7.15 Жесткую гидроизоляцию на основе цементных гидроизолирующих составов рекомендуется выполнять по подстилающему слою, бетонному перекрытию или стяжке, выполненной по перекрытию или подстилающему слою. Поверхность основания должна быть предварительно очищена от разного рода загрязнений и веществ, снижающих адгезию гидроизоляционного слоя к основанию (жиров, смазочных масел, битумных мастик, клея, лакокрасочных покрытий и т.д.). Трещины с раскрытием более 0,5 мм должны быть расшиты ремонтным составом марки Ceresit CN 83 (ТУ 5745-007-58239148-03) или Ceresit СХ 5 (нормативная документация фирмы изготовителя). Во внутренних углах сопрягающихся поверхностей необходимо изготовить галтели (скругления) радиусом не менее 3 см из ремонтного состава марки Ceresit CN 83, монтажного цемента Ceresit СХ 5 или цементно-песчаного раствора. На ребрах внешних углов сопрягающихся поверхностей необходимо выполнить скругления радиусом не менее 3 см или фаски под углом 45°.

7.16 Затворенная водой цементная гидроизолирующей масса марки Ceresit CR 65 (ТУ 5745-009-58239148-03) наносится в несколько слоев на защищаемую поверхность кистью, щёткой или шпателем. Первый слой всегда наносится кистью или щёткой на влажное, но не мокрое основание. Затем наносится либо ещё один слой при помощи шпателя, либо два слоя при помощи кисти или щётки. При работе с материалом следует придерживаться правила перекрёстного нанесения (т.е. направление движения инструмента при нанесении каждого последующего слоя должно быть перпендикулярно движениям при нанесении предыдущего). Каждый последующий слой наносят на уже затвердевший, но ещё не высохший предыдущий.

7.17 Свеженанесённые слои следует в течение 24 часов предохранять от пересыхания. В случае необходимости поверхность слоя можно сбрызнуть водой или увлажнить мокрой кистью. Через 3 суток по гидроизоляционному слою можно ходить и производить дальнейшие работы, а через 7 суток - эксплуатировать.

7.18 При устройстве химически стойких непроницаемых гидроизоляционных слоев из полиизобутиленовых пластин марки ПСГ и лакокрасочных слоев из шпаклёвки ЭП-0010, эпоксидного или полиуретанового составов марок UZIN-Epoxidicht и UZIN-Epoxiflex Plus Plus (фирма «UZIN», ФРГ), армированных стеклотканью, следует руководствоваться рекомендациями ВСН 214-89 «Сборник инструкций по защите от коррозии», в соответствии с которыми технология их изготовления включает:

- подготовку бетонного основания: путём очистки его поверхности от пыли, грязи, масляных пятен, а также сушки до влажности не выше 5 %;

- раскрой полотнищ с учётом нахлёстки на 100 - 200 мм в продольных и 150 - 200 мм в поперечных стыках;

- нанесение валиком или кистью на подготовленное бетонное основание грунтовочного состава с последующей выдержкой в течение 20 - 24 часов при температуре 18 - 20 °С;

- нанесение на загрунтованную поверхность валиком или кистью слоя состава, на который приклеивают предварительно раскроенные куски стеклоткани, тщательно разглаживая их и прикатывая роликами или тупыми шпателями, с последующей выдержкой в течение 20 - 24 часов при температуре 18 - 20 °С;

- нанесение валиком или кистью на приклеенную стеклоткань покровного состава с последующей выдержкой его в течение 20 - 24 часов при температуре 18 - 20 °С.

7.19 Химически стойкая эластичная эпоксидная гидроизоляция марки Ceresit СЕ 49 (нормативная документация фирмы «Хенкель Баутехник») наносится по подстилающему слою, бетонному перекрытию или стяжке, выполненной по перекрытию или подстилающему слою. Влажность основания должна составлять не более 4 %. Поверхность основания должна быть предварительно очищена от разного рода загрязнений и веществ, снижающих адгезию гидроизоляционного слоя к основанию (жиров, смазочных масел, битумных мастик, клея, лакокрасочных покрытий и т.д.). Цементное молоко и выступы необходимо удалить механическим путём, а углубления и выбоины заполнить ремонтным составом марки Ceresit CN 83 (ТУ 5745-007-58239148-03) или Ceresit CX 5 (нормативная документация фирмы «Хенкель Баутехник»).

7.20 Перед нанесением гидроизоляции марки Ceresit СЕ 49 (нормативная документация фирмы «Хенкель баутехник») основание необходимо обработать специальной эпоксидной грунтовкой марки Ceresit СЕ 50 (нормативная документация фирма «Хенкель Баутехник»).

7.21 Композиция для изготовления гидроизоляция марки Ceresit СЕ 49 (нормативная документация фирмы «Хенкель Баутехник») двухкомпонентная. После смешивания компаунда и отвердителя в соотношении 1:1 состав наносится на огрунтованную поверхность при помощи кисти, щётки или валика. Следует нанести не менее двух слоев толщиной по 1 мм. Второй слой наносят после отверждения первого (не ранее чем через 16 часов, но не позднее чем через 48 часов). Дальнейшие работы, в частности укладку плитки, осуществляют в течение 1 - 3 дней после нанесения второго слоя.

7.22 Деформационные швы и места сопряжения стена-пол следует дополнительно герметизировать с использованием уплотнительной ленты марки Ceresit CL 52 (нормативная документация фирмы «Хенкель Баутехник»). При этом уплотнительная лента вклеивается в первый слой из Ceresit СЕ 49 (нормативная документация фирмы «Хенкель Баутехник») и затем покрывается вторым слоем.

7.23 Для герметизации мест инженерных вводов следует применять полимерные гильзы с фланцами. Фланцы вклеивают в гидроизоляционный слой, дополнительно укрепляя места вклейки армирующей сеткой.

7.24 При выполнении наливной битумной гидроизоляции от капиллярного поднятия грунтовых вод слой щебня рекомендуется пропитывать горячим битумом, наносимым при помощи автогудронатора слоем толщиной до 6 мм. При необходимости пропитки в несколько слоев по слою битума следует рассыпать каменную мелочь с последующим уплотнением её катком, барабан которого смачивают растворителем, а затем наносят следующий слой горячего битума, по которому рассыпают каменную мелочь или песок фракции до 5 мм.

7.25 Асфальтовую гидроизоляцию следует выполнять из горячих мастик и литых, асфальтовых смесей по подготовленному основанию ярусами толщиной 15 - 25 мм, нанося смесь равномерным сплошным слоем.

7.26 При выполнении работ по устройству асфальтовой гидроизоляции необходимо каждый слой разравнивать и уплотнять обогреваемыми катками или гладилками после остывания предыдущего.

7.27 Для обеспечения требуемого качества гидроизоляции из литого асфальтобетона сопряжение ярусов и захваток следует выполнять внахлестку шириной не менее 20 см, а стыки верхних слоев располагать вразбежку со стыками нижних слоев.

7.28 Асфальтовую гидроизоляцию из холодных мастик следует выполнять по подготовленному огрунтованному основанию, начиная от стен или перегородок, полосами в 1 - 2 слоя толщиной 3 - 5 мм. При этом каждый последующий слой наносят после отвердения предыдущего, а сопряжение ярусов и захваток в каждом слое выполняют внахлестку шириной не менее 200 мм.

8. Покрытия полов

8.1 Общие положения

8.1.1 При проектировании и устройстве покрытий полов должны соблюдаться технические требования, изложенные в Разделе I.

8.1.2 Тип покрытия пола следует принимать в зависимости от функционального назначения помещения с учётом вида и интенсивности механических, жидкостных и тепловых воздействий, а также специальных требований (безыскровости, антистатичности, скользкости, экологической безопасности и т.п.).

8.1.3 Полы должны характеризоваться устойчивостью к деформациям под действием сосредоточенных и распределённых нагрузок - не обладать «зыбкостью», в том числе и при движении людей.

8.1.4 При стыковке разнородных покрытий рекомендуется установка медных, алюминиевых или стальных элементов, защищающих края этих покрытий от механических повреждений, попадания воды в шов и отклеивания. Для паркетных и плиточных покрытий полов такие элементы, кроме того, позволяют компенсировать температурно-влажностные деформации.

8.2 Бетонные покрытия

8.2.1 Полы с бетонным покрытием рекомендуется применять в производственных помещениях и в животноводческих зданиях с учётом допустимых эксплуатационных воздействий, приведённых в табл. 1, 2, 3 Приложения 1. Бетонные покрытия с охлаждающими трубками применяются в качестве охлаждающей плиты катков с искусственным льдом.

8.2.2 В животноводческих зданиях бетонные покрытия полов рекомендуется применять в станках, боксах и т.д. при содержании животных на подстилке или при использовании ковриков или решёток, а также в проездах и проходах.

8.2.3 Бетонные покрытия могут проектироваться в виде эксплуатируемого подстилающего слоя, по бетонному основанию и по железобетонному перекрытию (рис. 12 и 13).

8.2.4 Толщину покрытия следует назначать в зависимости от интенсивности механических воздействий (Раздел I, табл. 3). При выполнении покрытия, выполняющего одновременно функцию подстилающего слоя, толщину следует увеличить не менее чем на 100 мм.

8.2.5 Покрытия толщиной от 50 до 100 мм рекомендуется армировать одним слоем металлической сетки из проволоки диаметром 5 мм с ячейками 100×100 или 150×150 мм, толщиной 100 - 180 мм - двумя слоями металлической сетки, а при толщине более 180 мм каркас определяется расчётом. Нижний слой металлической сетки укладывается на прокладки толщиной не менее 20 мм, верхний - картами 6×6 м, а в особых случаях картами 3×3 м на опоры, приваренные к нижнему слою сетки.

8.2.6 Для армирования бетонных покрытий может также использоваться стальная фибра длиной 50 - 80 мм и диаметром 0,3 - 1 мм. При этом в качестве матричного состава рекомендуется использовать мелкозернистый бетон класса В25 и В35 с максимальным размером крупного заполнителя 20 мм (табл. 8.2.1). Покрытия из сталефибробетона следует выполнять толщиной 40 - 100 мм.

Таблица 8.2.1

Класс бетона

Вода

Цемент

Песок

Щебень

Фибра

Пластификатор

В25

0,40

1

3,5

2,5

0,10

0,08

В35

0,46

1

1,7

2,8

0,16

0,05

8.2.7 В покрытиях полов толщиной более 50 мм необходимо предусматривать деформационные швы в продольном и поперечном направлении с шагом от 3 до 6 м. Швы должны совпадать с осями колонн, со швами плит перекрытий, деформационными швами подстилающего слоя, а при двухслойном армировании сетками с границами верхнего слоя арматуры. Глубина деформационного шва должна быть не менее 40 мм и не менее 1/3 толщины покрытия, ширина - 3 - 5 мм.

Рис. 12 Конструктивные схемы полов с бетонным покрытием по подстилающему слою (а) и по перекрытию (б)

1 - бетонное покрытие; 2 - бетонный подстилающий слой; 3 - гидроизоляция; 4 - грунт основания; 5 - тепло-звукоизоляция; 6 - перекрытие; 7 - трубопровод.

Рис. 13 Конструктивные схемы полов со сталефибробетонным покрытием по подстилающему слою (а) и по перекрытию (б)

1 - сталефибробетонное покрытие; 2 - бетонный подстилающий слой; 3 - гидроизоляция; 4 - грунт основания; 5 - тепло-звукоизоляция; 6 - трубопровод; 7 - перекрытие; 8 - стяжка из бетона.

8.2.8 При выполнении покрытий полов по грунту основания для предотвращения деформации пола при возможности осадки здания следует предусмотреть отсечку покрытия пола от колонн и стен через прокладки из рулонных гидроизоляционных материалов.

8.2.9 Для приготовления бетона следует использовать портландцемент (ГОСТ 10178-85) марки не ниже 400. При этом для водонепроницаемого и морозостойкого бетона рекомендуется сульфатостойкий расширяющийся цемент.

8.2.10 Для покрытий светлых тонов следует применять белый (ГОСТ 965-89), а для цветных покрытий - цветной цемент (ГОСТ 15825-80) марки не ниже 400.

8.2.11 Щебень из природного камня, гравий и щебень из гравия (ГОСТ 8267-93*) для классов бетона В30, В22,5 и В15 должны иметь соответственно прочность 100, 80 и 60 МПа. Крупность щебня или гравия не должны превышать 15 мм и 0,6 общей толщины покрытия.

8.2.12 Песок кварцевый или дробленый (ГОСТ 8736-93*) из природного камня кристаллических пород (гранита, сиенита, базальта и им подобных) крупно- или среднезернистый, используемый для бетонных покрытий, должен быть с содержанием глинистых или илистых частиц не более 3 %.

8.2.13 Расход крупного заполнителя для бетонных покрытий (щебня, гравия, мраморной крошки) должен быть не менее 0,8 м на 1 м бетона, а песка 10 - 30 % объёма пустот в крупном заполнителе.

8.2.14 Для безыскровых бетонных покрытий следует использовать щебень и песок из известняка, мрамора и других чистых каменных материалов, не образующих искр при ударах стальными или каменными предметами.

8.2.15 Для щелочестойких бетонных покрытий рекомендуется применять щебень, гравий и песок из плотных осадочных (серпентинитов, порфиритов, известняков, доломитов) или изверженных (диабазов, гранитов) пород либо основных доменных шлаков. Допускается применение чистого кварцевого песка. Материалы для таких покрытий должны выдерживать не менее 15 циклов попеременного насыщения раствором сернокислого натрия и высушивания без появления признаков разрушения.

8.2.16 Покрытие полов катков с искусственным льдом должно выполняться в виде охлаждающей плиты толщиной не более 140 мм из морозостойкого бетона марки не ниже F 75 и класса по прочности на сжатие не ниже В12,5.

8.2.17 Пересечение конструкции охлаждающей плиты инженерными коммуникациями (кроме холодильных труб) не допускается.

8.2.18 Трубы системы охлаждения в охлаждающих плитах катков с искусственным льдом укладываются, как правило, с шагом 150 мм. Для циркуляции хладоносителя применяются цельнотянутые трубы, шаг и сечение которых следует уточнять при теплотехнических расчётах.

8.2.19 Между охлаждающей плитой и нижележащей теплоизоляцией рекомендуется по выравнивающей стяжке выполнять слой скольжения, состоящий из защитных слоев (рубероид, алюминиевая фольга, листовой поливинилхлорид) и помещенного между ними слоя (толщиной около 5 мм) из материалов, обладающих малым коэффициентом трения (порошкообразный графит, тальк, графито-масляная эмульсия) (рис. 15).

8.2.20 Бетонные покрытия полов рекомендуется изготавливать методом виброобработки и методом вакуумирования.

8.2.21 Для бетонных покрытий, изготавливаемых методом виброобработки, рекомендуется применять составы бетонов, приведенные в таблице 8.2.2.

Таблица 8.2.2

Класс бетона

Состав по массе при марке цемента не ниже 400

Вода

Цемент

Песок

Щебень или гравий

В15

0,65

1

2,0

3,4

В22,5

0,50

1

1,4

2,4

В30

0,40

1

1,0

1,7

Рис. 14 Охлаждающая плита крытых катков с искусственным льдом

1 - охлаждающая плита с забетонированными охлаждающими трубами; 2 - цементно-песчаная стяжка; 3 - слой скольжения; 4 - рулонная гидроизоляция, 5 - теплоизоляция из пенополистирольных плит; 6 - бетонное основание, 7 - грунт основания.

8.2.22 Бетонные смеси для покрытий, изготавливаемых методом виброобработки, в состав которых не введены пластификаторы, должны характеризоваться осадкой конуса 2 - 4 см. Подвижность смесей следует увеличивать только введением пластификаторов марок С-3, СНВ и др. в количестве до 0,8 % от массы цемента.

8.2.23 Работы по укладке бетонных и сталефибробетонных смесей следует выполнять при температуре воздуха на уровне пола не ниже +5 °С. Эта температура должна поддерживаться до приобретения бетоном 50 %-ной проектной прочности. При укладке бетона в зимних условиях при отрицательных температурах в бетонную смесь следует вводить добавку нитрата натрия, поташа и т.п. При этом возможно выделение на поверхности бетонного покрытия белых пятен.

8.2.24 Перед укладкой бетонных смесей нижележащий слой должен быть очищен от грязи и пыли, а жировые пятна удалены промывкой 5 %-ным раствором кальцинированной соды с последующей промывкой водой.

8.2.25 Щели между сборными плитами перекрытий, места примыкания их к стенам, а также монтажные отверстия следует заделать цементно-песчаным раствором с прочностью не ниже 15 МПа заподлицо с поверхностью плит.

8.2.26 Нижние части стен и колонн на высоту, равную толщине покрытия, рекомендуется обклеить гидроизоляционным рулонным материалом или в случае устройства в данных местах деформационных швов - листовым вспененным полиэтиленом.

8.2.27 При устройстве покрытий толщиной до 50 мм для улучшения межслойной адгезии поверхность нижележащего бетонного слоя рекомендуется огрунтовать составом на основе ПВА-эмульсии или латекса.

8.2.28 При устройстве покрытий полов по старым замасленным бетонным основаниям предусматривается разделительный слой из полиэтиленовой плёнки, крафт-бумаги и т.п., а покрытие пола выполняют толщиной не менее 100 мм из бетона класса не ниже В30.

8.2.29 Бетонную смесь следует укладывать на основание полосами, ограниченными маячными рейками (металлопрокат, неизвлекаемые алюминиевые или бетонные рельс-формы) высотой, соответствующей толщине покрытия. При этом ширина полос выбирается с учётом технических характеристик применяемого оборудования, расстояния между колоннами в здании, а также планируемым расположением деформационных швов. Монтажные швы должны совпадать с деформационными швами.

8.2.30 Маячные рейки рекомендуется устанавливать параллельно длинной стороне стены на марки из цементно-песчаного раствора с ориентацией на метку, вынесенную на стену. При этом первый ряд реек следует размещать на расстоянии 0,5 - 0,6 м от стены, противоположной входу в помещение, а следующие ряды - параллельно первому на расстоянии до 3 м.

8.2.31 В местах, где пол должен иметь уклон в сторону трапов или каналов, маячные рейки следует устанавливать с таким расчётом, чтобы верх рейки имел заданный уклон.

8.2.32 Непосредственно перед укладкой бетонной смеси нижележащий слой следует обильно смочить водой, чтобы к моменту укладки он был влажным, но на нём не было скопления воды.

8.2.33 Бетонную смесь следует укладывать между маячными рейками полосами через одну. При этом толщина выровненного бетонного слоя с учётом последующей его осадки в процессе виброобработки должна приниматься на 3 - 5 мм выше маячных реек.

8.2.34 При толщине бетонного покрытия пола до 100 мм уплотнение бетонной смеси рекомендуется выполнять виброрейкой, а при большей толщине следует до уплотнения виброрейкой предварительно обработать уложенную бетонную смесь глубинным вибратором. Скорость передвижения виброрейки должна составлять 0,5 - 1 м/мин при количестве проходов 1 - 2.

8.2.35 Бетонирование рекомендуется проводить без технологических перерывов. В противном случае перед возобновлением бетонирования затвердевшая вертикальная кромка уложенного ранее бетона должна быть очищена от грязи и пыли и промыта водой. В местах рабочих швов уплотнение и заглаживание бетона следует производить до тех пор, пока шов не станет незаметным.

8.2.36 Пропущенные полосы бетонируют после снятия маячных реек, используя забетонированные полосы в качестве опалубки и направляющих.

8.2.37 Вакуумирование бетона производится с помощью комплекта оборудования, включающего: вакуум-агрегат, отсасывающие маты, виброрейка, заглаживающие машины, направляющие для виброреек, шланги и соединительные устройства, ёмкости для промывки отсасывающих матов.

8.2.38 При применении метода вакуумирования рекомендуемые бетонные смеси должны иметь повышенное на 150 - 200 кг на 1 м3 бетонной смеси содержание песка по сравнению с составами по таблице 8.2.2.

8.2.39 Бетонные смеси, применяемые при использовании метода вакуумирования, должны характеризоваться осадкой конуса 8 - 12 см. Повышенное водоцементное отношение облегчает укладку и уплотнение смеси, а также позволяет получить более ровное покрытие пола.

8.2.40 Технологический регламент изготовления покрытий полов методом вакуумирования предусматривает укладку на виброуплотнённую поверхность покрытия пола матов с вакуум-полостями, присоединение их шлангами к вакуум-насосу и отсос избыточной воды, за счёт чего достигается повышение прочности и однородности бетона.

8.2.41 На свежеуложенную бетонную смесь отсасывающие маты укладывают с нахлёсткой 10 - 15 см с каждой стороны, при укладке на затвердевший бетон - не менее чем на 20 см. При этом нижнее фильтровальное полотнище укладывают непосредственно на бетон (если ведут работы одновременно с двумя и более нижними полотнищами, то они должны быть уложены внахлёстку не менее чем на 3 см), а верхнее раскатывают, начиная от середины. Такой порядок раскатки улучшает герметизацию. Полотнища нужно укладывать ровно, без морщин и складок. Верхнее полотнище, кроме того, после укладки рекомендуется прогладить валиком, щёткой и т.п.

8.2.42 Вакуумный агрегат на холостом ходу должен создавать разряжение порядка 0,09 - 0,095 МПа. Нормальным рабочим разряжением вакуум-насоса считается 0,07 - 0,08 МПа. Продолжительность вакуумирования увеличивается обратно пропорционально падению разрежения. При разрежении менее 0,06 МПа вакуумирование производить не следует. Время вакуумирования рассчитывают исходя из 1 - 1,5 мин на 1 см толщины бетонного покрытия. Об окончании процесса судят по прекращению поступления водовоздушной смеси в трубопровод.

8.2.43 После окончания процесса вакуумирования необходимо закатать верхнее полотнище таким образом, чтобы фильтровальное полотнище было открыто на 1 - 2 см с двух сторон при включенном вакуум-насосе в течение 10 - 15 с. Затем верхнее полотнище полностью сворачивают.

8.2.44 С целью повышения ровности и гладкости поверхности бетонных покрытий полов после уплотнения бетонной смеси и схватывания её до состояния, когда на поверхности при хождении остаются лёгкие следы, следует произвести первичную обработку покрытия - затирку бетоноотделочными машинами с разравнивающими дисками. Вторичную обработку покрытия - бетоноотделочными машинами с лопастями производят не позднее, чем через 6 часов.

8.2.45 При использовании метода вакуумирования первичное заглаживание бетонной поверхности производят непосредственно после окончания вакуумирования, а вторичную обработку - через 3 - 5 часов.

8.2.46 Для повышения стойкости бетонных покрытий полов к механическим воздействиям, понижения пылеотделения и уменьшения водопроницаемости рекомендуется выполнять упрочнение поверхности покрытий сухими смесями или осуществлять пропитку покрытий полимерными материалами. Возможно также сочетание этих технологических приёмов. Применение окрашенных упрочняющих смесей позволяет получить цветные бетонные поверхности полов.

8.2.47 Бетонное покрытие с упрочнённым верхним слоем рекомендуется выполнять толщиной не менее 70 мм.

8.2.48 Устройство упрочнённого верхнего слоя можно предусматривать по покрытию, выполненному как традиционным способом, так и с применением вакуумирования.

8.2.49 Для упрочняемых бетонных покрытий полов рекомендуется бетон следующих составов, мас. ч.:

- при традиционном способе:

класс бетона В30 (400 кг/см2)

цемент М400                                                                  - 1,0;

щебень крупностью до 20 мм                                      - 1,7;

песок                                                                               - 1,0;

в/ц                                                                                   - 0,4 - 0,42 (с учётом воды, содержащейся в добавках).

- с применением вакуумирования:

класс бетона В22,5 (300 кг/см2)

цемент М400                                                                  - 1,0;

щебень крупностью до 20 мм                                      - 2,4;

песок                                                                               - 1,4;

в/ц                                                                                   - 0,4 - 0,42 (с учётом воды,

                                                                                         содержащейся в добавках).

8.2.50 Сухие смеси, применяемые для упрочнения бетонных покрытий, должны содержать портландцемент марки не ниже М400 и износостойкий заполнитель, в качестве которого могут быть использованы металлические порошки, корунд, кварц и др., а также модифицирующие добавки. В качестве такой смеси рекомендуется применять упрочняющие смеси марок «Ризотоп-10» и «Ризотоп-20» по ТУ 5745-032-43548961-2004 или марки «Топ-Хард» по ТУ 5745-005-15059795-2007.

8.2.51 Нанесение упрочняющих смесей осуществляется ещё на влажную бетонную поверхность бетонного покрытия, то есть перед стадиями затирки и заглаживания. При упрочнении бетонных покрытий, изготовленных с применением вакуумирования, нанесение упрочняющей смеси производится сразу же после вакуумирования.

8.2.52 Перед нанесением упрочняющей смеси бетон необходимо загладить для размягчения образовавшейся на поверхности корки. После появления на заглаженной поверхности бетона влаги следует вручную или с помощью механического распределителя нанести на бетон сухую смесь. Расход упрочняющей смеси составляет 5 кг на 1 м2 поверхности покрытия.

8.2.53 Нанесение упрочняющей смеси рекомендуется проводить в 2 - 3 приёма. В начале наносится 2/3 общего количества смеси. Смесь должна полностью равномерно пропитаться влагой, подсасываемой из бетона, о чём судят по равномерному потемнению смеси. Добавление воды в упрочняющую смесь не допускается.

8.2.54 Заглаживание поверхности производят бетоноотделочной машиной с диском, исключающей образования пузырей и раковин. Участки, не поддающиеся заглаживанию машиной, должны быть заглажены вручную. После нанесения оставшейся смеси повторяют заглаживание.

8.2.55 Окончательную обработку упрочнённой поверхности следует производить машиной с лопастями.

8.2.56 Не позднее чем через 2 суток после нанесения покрытия при помощи нарезчиков швов с алмазным диском следует нарезать деформационные швы. При применении неизвлекаемых рельс-форм имеющиеся в верхней части рельс-форм пазы используются в качестве деформационных швов и нарезку швов осуществляют только в поперечном направлении.

8.2.57 Бетонное покрытие после его устройства должно выдерживаться во влажных условиях (покрытие полиэтиленовой плёнкой и т.п.) не менее 7 суток, затем осуществляется естественная сушка. Возможно также использование композиций, наносимых на влажную бетонную поверхность и образующих плёнку, с целью предотвращения преждевременного удаления влаги из бетона. Как правило, в качестве таких композиций используются однокомпонентные составы на основе акриловых дисперсий, в частности герметик-упрочнитель марки Master-Cur 113 (концерн «МВТ», Бельгия). Рекомендуется также применение водно-дисперсионной эпоксидной краски марки Ризопокс 5601W (ТУ 2257-011-43548961-2002), водно-дисперсионных эпоксидных грунтовок-пропиток марки Ризопокс 1301W (ТУ 2257-027-43548961-2003) и марки Koropox (фирма Korodur, ФРГ) и силикатной пропитки марки «Ашфорд Формула».

8.2.58 Нанесение таких композиций осуществляется валиком сразу же после выполнения стадии заглаживания, при этом наносится не менее двух слоев состава.

8.2.59 Использование для предотвращения преждевременного высыхания бетона композиций, указанных в п. 8.2.57, на покрытиях полов, по которым планируется нанесение полимерных пропиток, не рекомендуется.

8.2.60 После достижения бетоном воздушно-сухого состояния (влажность не выше 5 %) следует осуществить заделку деформационных швов укладкой в образованный паз эластичного пенополиэтиленового шнура марки «Вилатерм» (ТУ 2291-009-043989419-2006) и заливки заподлицо его отверждаемой эластичной уретановой композицией, в качестве которой рекомендуется герметик «Ризофлекс-62» (ТУ 2257-048-43548961-2007). При выполнении деформационных швов около колонн и вдоль стен следует удалить прокладки из пенополиэтилена и заполнить образующийся паз полиуретановой композицией.

8.2.61 При достижении бетоном воздушно-сухого состояния для снижения пылеотделения от покрытий полов и их водо- и маслопроницаемости возможно также нанесение пропиточных композиций, составы которых и технологии нанесения приведены в главе 9.

8.2.62 Эксплуатация полов допускается после приобретения бетоном проектной прочности на сжатие, пешеходное движение по этим полам может быть допущено при прочности бетона на сжатие не менее 5 МПа.

8.3 Мозаично-бетонные покрытия

8.3.1 Полы с мозаично-бетонным покрытием рекомендуется применять в производственных помещениях, в общественных и животноводческих зданиях с учётом допустимых эксплуатационных воздействий, приведённых в табл. 1, 2, 3 Приложения 1.

8.3.2 Бетонные покрытия могут выполняться по бетонному подстилающему слою и по железобетонному перекрытию (рис. 15).

Рис. 15 Конструктивные схемы полов с мозаично-бетонным покрытием по подстилающему слою (а) и по перекрытию (б)

1 - мозаично-бетонный слой при устройстве покрытия методом втапливания; 1а - верхний мозаично-бетонный слой при двухслойном покрытии; 1б - нижний цементно-песчаный слой при двухслойном покрытии; 2 - бетонный подстилающий слой; 3 - гидроизоляция; 4 - тепло-звукоизоляция; 5 - трубопровод; 6 - перекрытие; 7 - грунт основания.

8.3.3 Мозаично-бетонное покрытие, как правило, выполняется в два слоя. Нижний слой предусматривается толщиной 40 - 50 мм из цементно-песчаного раствора, а верхний (лицевой) - толщиной от 20 до 30 мм в зависимости от интенсивности механических воздействий (Раздел I, табл. 3) из мозаичной смеси. При этом нижний слой толщиной 40 мм рекомендуется выполнять по бетонному основанию или стяжке, а толщиной 50 мм - по сплошному тепло- и звукоизоляционному слою. При наличии в конструкции пола трубопроводов толщину нижнего слоя следует принимать на 25 мм большей диаметра трубопровода.

8.3.4 Прочность нижнего слоя из цементно-песчаного раствора и мозаичного покрытия на сжатие должна быть не менее 20 МПа.

8.3.5 Для обычных мозаичных покрытий рекомендуется применять бетоны с осадкой конуса 2 - 4 см, приведённые в таблице 8.3.1, а для цветных - составы, представленные в таблице 8.3.2.

Таблица 8.3.1

Класс бетона

Состав по массе при марке цемента не ниже 400

Вода

Цемент

Мраморный песок (высевки)

Мраморная крошка

В15

0,65

1

2,0

3,4

В22,5

0,5

1

1,4

2,4

В30

0,4

1

1,0

1,7

8.3.6 Для приготовления мозаичных смесей темных тонов используют портландцемент марки не ниже 400 по ГОСТ 10178-85*. Мозаичные смеси для покрытий полов светлых тонов приготавливают из белого портландцемента (ГОСТ 965-89), а для цветных - из портландцемента по ГОСТ 15825-80.

8.3.7 Для получения цветных покрытий добавляют в состав бетона щелочестойкие, светоустойчивые минеральные пигменты в количестве - не более 15 % от массы цемента. В качестве пигментов используют: сурик железный, окись хрома, ультрамарин и перекись марганца. Пигменты следует вводить в виде суспензии, предварительно пропущенной через краскотёрку.

8.3.8 В качестве крупного заполнителя рекомендуется применять щебень фракции не более 15 мм и не более 0,6 толщины покрытия, который должен изготавливаться из шлифующихся пород (как правило, из хорошо шлифующегося мрамора) с пределом прочности при сжатии не менее 60 МПа (600 кг/см2). Соотношение фракций 2,5 - 5:5 - 10:10 - 15 принимают равным 1:1:1.

8.3.9 В качестве песка рекомендуется применять высевки щебня крупностью от 0,15 до 5 мм из камня полирующихся пород.

8.3.10 Работы по изготовлению покрытий полов следует выполнять при температуре воздуха на уровне пола не ниже +5 °С. Эта температура должна поддерживаться до приобретения бетоном 50 %-ной проектной прочности.

8.3.11 Цементно-песчаный раствор нижнего слоя в отличие от технологии изготовления бетонных покрытий полов рекомендуется укладывать в каждую полосу. После схватывания (когда по нему можно ходить) маячные рейки следует извлечь, а борозды заделать раствором той же марки.

8.3.12 Поверхность нижнего слоя не заглаживают и не затирают.

8.3.13 Перед укладкой мозаичных смесей поверхность нижнего слоя из цементно-песчаного раствора разбивают на карты, затем выполняют прорези, в которые вставляют жилки из стекла толщиной 3 - 5 мм, латуни или полимерных материалов толщиной 1 - 2 мм, разделяющие всю площадь пола на отдельные участки различного цвета. При этом верх жилок следует тщательно выверить по отметке чистого пола с учётом последующего съёма слоя покрытия при шлифовании. Установленные жилки плотно закрепляют с использованием мозаичной смеси или цементно-песчаного раствора.

Таблица 8.3.2

Цвет покрытия

Цемент марки 400

Каменная крошка крупностью, мм

Цвет крошки

Пигменты, % от массы цемента

серый

белый

2,5..5

5..10

10..15

перекись марганца

сурик железный

ультрамарин

окись хрома

1

2

3

4

5

6

7

8

9

10

11

Белый с черным

1

-

1

1

1

Белый

12,5

-

-

-

Белый с красным

1

-

1

1

1

Белый

-

10

4

-

Черный

1

-

1

1

1

Черный

5

-

-

-

Черный с белым

-

1,5

2

1

1

Черный

-

-

-

-

Розовый с красным

1

-

1

1

1

Розовый

-

8

-

-

Красный с коричневым

1

-

1

1

1

Красный

5

5

-

-

Черный с зеленым

-

1,5

2

1

1

Черный

-

-

-

17

Серый

1

-

1

1

1

Черный

-

-

-

10

8.3.14 Укладку одноцветных мозаичных смесей следует выполнять между маячными рейками полосами через одну. Смесь уплотняют виброрейками, которые передвигают по маячным рейкам. В местах, недоступных для виброреек, уплотнение смеси осуществляют легкими трамбовками.

8.3.15 При устройстве многоцветных мозаичных покрытий уплотнение виброрейками не производят, чтобы не нарушить разделительные жилки; в этом случае рекомендуется применять пластичные смеси с подвижностью не более 15 см. Повышение подвижности смеси достигается введением пластификаторов. Не допускается увеличение подвижности смеси за счёт повышения водоцементного отношения.

8.3.16 В процессе укладки как одноцветных, так и многоцветных мозаичных смесей в местах примыкания мозаичного покрытия к колоннам и стенам следует устанавливать жилки или прокладки из рулонного гидроизоляционного материала.

8.3.17 Для получения ровной поверхности мозаичную смесь после укладки следует загладить стальной гладилкой.

8.3.18 Через 4 - 5 дней следует выполнить шлифование поверхности покрытия ручными мозаично-шлифовальными машинами на половину толщины крупного заполнителя. При этом для ускорения процесса обработки рекомендуется применять в качестве смачивающей жидкости вместо воды водные растворы поверхностно-активных веществ (0,1 - 0,12 % водный раствор углекислого натрия), а также использовать дополнительную посыпку на обрабатываемую поверхность песка.

8.3.19 Для высококачественной отделки мозаичных покрытий следует после шлифования производить шпатлевание, дополнительное (чистовое) шлифование, лощение и полировку.

8.3.20 В полах промышленных зданий, где одноцветные мозаичные покрытия устраиваются по бетонным подстилающим слоям, покрытие рекомендуется выполнять одновременно с бетонным подстилающим слоем путём нанесения на поверхность бетона увлажнённой мраморной крошки слоем толщиной 15 - 20 мм с последующим вибровтапливанием её в бетон. При этом бетонный подстилающий слой следует выполнять с использованием вакуумирования, а втапливание мраморной крошки производить сразу после снятия отсасывающих матов. Вибровтапливание осуществляют при помощи устройства типа виброплиты с вертикально направленными колебаниями при частоте колебаний 50 Гц и удельным давлением не менее 1200 Па. После вибровтапливания поверхность заглаживают затирочными машинами, оборудованными дисками. Уход за покрытием аналогичен уходу за мозаичными полами, устраиваемыми по обычной технологии. Шлифуют покрытия перед сдачей объекта в эксплуатацию.

8.3.21 Мозаичные покрытия по аналогии с бетонными в течение не менее 7 суток после их устройства должны выдерживаться во влажных условиях или на их поверхность следует наносить композиции на основе акриловых дисперсий.

8.3.22 После достижения мозаично-бетонной смесью воздушно-сухого состояния возможно также поверхность покрытия пропитать композициями, составы которых и технологии нанесения приведены в главе 9.

8.3.23 Эксплуатация полов допускается после приобретения бетоном проектной прочности на сжатие, а пешеходное движение может быть допущено при достижении прочности на сжатие не менее 5 МПа.

8.4 Покрытия из бетонных и мозаичных плит

8.4.1 Сборные полы из бетонных и мозаичных плит рекомендуется применять в производственных помещениях, в общественных и в животноводческих зданиях взамен аналогичных монолитных покрытий в целях снижения трудозатрат при производстве работ и ускорения ввода полов в эксплуатацию (рис. 16).

Рис. 16 Конструктивные схемы полов с покрытием из бетонных и мозаичных плит по подстилающему слою (а) и по перекрытию (б)

1 - плиты покрытия; 2 - прослойка; 3 - гидроизоляция; 4 - бетонный подстилающий слой; 5 - грунт основания; 6 - стяжка; 7 - тепло-звукоизоляция; 8 - трубопровод; 9 - плита перекрытия.

8.4.2 Покрытия пола из бетонных и мозаичных плит могут выполняться по бетонному подстилающему слою в полах по грунту и по железобетонному перекрытию.

8.4.3 Для покрытий полов рекомендуется применять плиты бетонные тротуарные по ГОСТ 17608-91. Возможно также применение плит, выпускаемых заводами-изготовителями по техническим условиям.

8.4.4 Плиты следует укладывать по прослойке толщиной 10 - 15 мм из цементно-песчаного раствора с прочностью на сжатие 15 МПа при умеренных и 30 МПа при значительных нагрузках. Рекомендуемые составы цементно-песчаных растворов приведены в таблице 5.1.

8.4.5 Плиты за сутки до укладки следует замочить в воде во избежание интенсивного отсоса влаги из раствора прослойки, а основание очистить от загрязнений и увлажнить, но без скопления воды.

8.4.6 Уровень пола должен обозначаться маяками из раствора, которые устанавливают через каждые 2 м.

8.4.7 Работы по изготовлению покрытий полов следует выполнять при температуре воздуха на уровне пола не ниже +5 °С. Эта температура должна поддерживаться до приобретения раствором прослойки 50 %-ной проектной прочности.

8.4.8 Раствор следует укладывать в направлении от маячного шнура, установленного по центральной оси помещения или у стены. При этом следует учитывать, что плиты необходимо резать только у одной или двух взаимно перпендикулярных стен.

8.4.9 Раствор следует укладывать полосами длиной не менее 1 м и на 20 - 30 мм шире укладываемых рядов плит.

8.4.10 Плиты рекомендуется раскладывать по шнуру в направлении «на себя» вплотную друг к другу или со швами толщиной до 3 мм.

8.4.11 Покрытия из бетонных и мозаичных плит по аналогии с бетонными покрытиями в течение не менее 7 суток после их устройства должны выдерживаться во влажных условиях.

8.4.12 Эксплуатация полов допускается после приобретения раствором прослойки проектной прочности на сжатие, а пешеходное движение может быть допущено после приобретения раствором прочности на сжатие не менее 2,5 МПа.

8.5 Покрытия из жаростойкого бетона и из крупноразмерных плит жаростойкого бетона

8.5.1 Полы из жаростойкого бетона и железобетона рекомендуется применять в горячих цехах (кузнечных, термических, сталеплавильных, литейных, прокатных и т.д.) с учётом допустимых эксплуатационных воздействий, приведённых в табл. 1, 2, 3 Приложения 1.

8.5.2 Покрытие из жаростойкого бетона может быть выполнено по грунту (при этом оно выполняет одновременно и функцию подстилающего слоя) или на перекрытии по слою теплоизоляции, в качестве которой рекомендуется применять каменноугольный топливный шлак, молотые отходы шамотного кирпича, а также другие жаростойкие сыпучие материалы с насыпной плотностью в уплотненном состоянии 1000 - 1200 кг/м3 (рис. 17).

8.5.3 Для устройства покрытий из жаростойкого бетона (ГОСТ 20910-90) рекомендуется применять бетон состава, приведённого в таблица 8.5.1.

8.5.4 Для приготовления бетона следует использовать портландцемент (ГОСТ 10178-85) марки не ниже 400.

8.5.5 В качестве тонкомолотых минеральных добавок следует использовать измельчённые отходы или бой шамотных, а также магнезитовых изделий с огнеупорностью не ниже 1610 °С и пределом прочности при сжатии не менее 20 МПа.

8.5.6 В качестве мелкого заполнителя следует применять гранулированный доменный шлак, а в качестве крупного заполнителя - шлаковый щебень плотностью не менее 1,34 т/м3 и прочностью на сжатие материала щебня не менее 120 МПа (1200 кг/см2).

Рис. 17 Конструктивные схемы полов с покрытием из жаростойкого бетона (а) и из плит жаростойкого железобетона (б)

1 - покрытие; 2 - арматурная сетка; 3 - тепло-звукоизоляция; 4 - перекрытие; 5 - грунт основания; 6 - песчаная прослойка; 7 - плита из жаростойкого железобетона.

Таблица 8.5.1

Назначение

Осадка конуса, см

Состав по массе при марке цемента не ниже 400

Цемент

Вода

Тонкомолотая добавка

Мелкий заполнитель из гранулированного доменного шлака

Крупный заполнитель из литого доменного шлака

Доменный гранулированный шлак

Хромит

Для покрытий

3 - 4

1

0,7

1,8

0,3

0,6

1,4

Для заделки зазоров и монтажных углублений в плитах

3 - 4

1

0,8

1,8

0,3

0,6

1,4

8.5.7 Зерновой состав каждой фракции должен удовлетворять требованиям, приведённым в таблице 8.5.2.

Таблица 8.5.2

Полный остаток заполнителя, %

Размер отверстий контрольных сит, мм

0,14

0,315

0,63

1,35

2,5

5

15

20

Мелкого

90 - 100

75 - 90

40 - 70

15 - 45

0 - 25

-

-

-

крупного

-

-

-

-

-

95 - 100

40 - 70

0 - 5

8.5.8 Наличие в гранулированном доменном шлаке зёрен размером более 10 мм не допускается, а зёрен размером от 5 до 10 мм не должно быть более 5 % по массе.

8.5.9 Литой шлаковый щебень не должен содержать зёрен пластинчатой (лещадной) формы более 15 % по массе.

8.5.10 В зонах нагрева пола выше 400 °С рекомендуется использовать армирование бетона стальной сеткой из арматуры диаметром 5 - 6 мм, которую размещают на глубине 30 мм от поверхности покрытия.

8.5.11 Технология устройства покрытия из жаростойкого бетона аналогична технологии устройства покрытия из обычного бетона.

8.5.12 Для устройства покрытий из плит жаростойкого железобетона рекомендуется применять изделия размером 3×3 м (основные) и 1,5×1,5 м (доборные) (Серия 1.444.9-5 «Крупноразмерные комплексные плиты для полов производственных зданий промышленных предприятий»).

8.5.13 Плиты следует укладывать на песчаную прослойку толщиной не менее 60 мм. При этом песок рассыпают полосами длиной не менее 4 м и шириной на 20 - 30 см более размера плит.

8.5.14 Ширина швов между плитами не должна превышать 10 мм. Швы шириной более 5 мм следует заполнить жаростойким раствором из смеси цемента и тонкомолотого гранулированного доменного шлака в соотношении 1:1,8 - 2, подвижность раствора должна быть 8 - 10 см. Швы перед заполнением должны быть очищены от пыли, грязи и увлажнены.

8.5.15 Зазоры между плитами и другими конструкциями, а также монтажные углубления в плитах должны быть заполнены жаростойким бетоном на портландцементе с хромитом и заполнителем из шлака.

8.6 Покрытия из кислотостойкого монолитного бетона и из плит кислотостойкого бетона

8.6.1 Покрытия пола из кислотостойкого бетона рекомендуется применять в производственных помещениях с учётом допустимых эксплуатационных воздействий, приведённых в табл. 1, 2, 3 Приложения 1.

8.6.2 Покрытия из кислотостойкого бетона могут выполняться по бетонным подстилающим слоям и по железобетонным перекрытиям (рис. 18).

8.6.3 Толщину покрытий следует назначать в зависимости от интенсивности механических воздействий (Раздел I, табл. 3).

8.6.4 Для устройства кислотостойких монолитных и плитных покрытий рекомендуется использовать бетон по ГОСТ 25246-82 из жидкого стекла, кремнефтористого натрия, уплотняющих добавок, а также кислотостойких щебня, песка и минерального порошка (табл. 8.6.1).

Таблица 8.6.1

Назначение

Состав, мас. ч.

Жидкое стекло

Натрий кремнефтористый

Щебень

Песок

Минеральный порошок

Добавка

Кислотостойкий бетон для покрытий и подстилающих слоев

1

0,18

3,4

1,7

1,7

0,03

Кислотостойкий раствор марки не ниже 150 для прослоек и заполнения швов в покрытиях из штучных материалов

1

0,18

-

1,7

1,7

0,03

8.6.5 Щебень, песок и минеральный порошок должны изготавливаться из каменных материалов (диабаза, андезита, кварца и др.), кислотостойкость которых по ГОСТ 473.1-81 составляет не менее 94 %, а прочность при сжатии не менее 80 МПа (800 кг/см2). Крупность щебня не должна превышать 15 мм. Допускается применение природного кварцевого песка, а в качестве минерального порошка - природного пылевидного кварца (маршалита) или кислотоупорного цемента (с учётом количества Na2SiF6, находящегося в нём).

8.6.6 Песок и минеральный порошок должны быть рыхлыми, не содержать глины, извести и примесей органических веществ.

8.6.7 Минеральный порошок должен содержать зёрна мельче 0,075 мм в количестве не менее 70 %.

8.6.8 В качестве вяжущего следует применять натриевое жидкое стекло с модулем 2,4 - 3,0 и плотностью 1,38 - 1,40 г/см3.

8.6.9 Кремнефтористый натрий с содержанием чистого Na2SiF6 не менее 93 % для отверждения жидкого стекла должен иметь влажность не более 1 %.

8.6.10 В качестве уплотняющей добавки рекомендуется применять фуриловый спирт (ОСТ 59-127-73).

8.6.11 При изготовлении кислотостойкого раствора и бетона следует предварительно перемешать жидкое стекло с уплотняющей добавкой, затем добавить песок и порошок в смеси с кремнефтористым натрием, а для бетона дополнительно щебень с последующим перемешиванием смеси до получения гомогенной массы.

Рис. 18 Конструктивные схемы полов с покрытием из кислотостойкого бетона по подстилающему слою (а) и по перекрытию (б)

1 - покрытие; 2 - гидроизоляция; 3 - стяжка; 4 - тепло-звукоизоляция; 5 - бетонный подстилающий слой; 6 - грунт основания; 7 - плита перекрытия.

8.6.12 Укладку кислотостойкой смеси следует производить при температуре воздуха не ниже +10 °С. Эта температура должна поддерживаться до приобретения бетоном не менее 70 %-ной проектной прочности.

8.6.13 Технология укладки кислотостойкого бетона аналогична технологии устройства покрытий из обычного бетона.

8.6.14 При плитном варианте покрытия рекомендуется использовать плиты размером 500×500 мм и массой до 20 кг.

8.6.15 Плиты следует укладывать на прослойку толщиной 20 - 25 мм из кислотостойкого раствора (см. табл. 8.6.1) рядами, параллельными стенам помещения или по специальному рисунку.

8.6.16 Эксплуатация полов допускается после приобретения кислотостойкими бетоном и раствором прослойки проектной прочности на сжатие, а пешеходное движение может быть допущено не ранее приобретением бетоном монолитных покрытий прочности на сжатие не менее 5 МПа, а раствором прослойки - не менее 2,5 МПа.

8.7 Асфальтобетонные покрытия

8.7.1 Асфальтобетонные покрытия пола рекомендуется применять в полах промышленных зданий с учётом допустимых эксплуатационных воздействий, приведённых в табл. 1, 2, 3 Приложения 1.

8.7.2 В животноводческих зданиях асфальтобетонные покрытия полов рекомендуется применять в станках, стойлах, клетках и т.д. при содержании животных на подстилке или при использовании ковриков или решёток, а также в проездах и проходах.

8.7.3 Асфальтобетонные полы могут выполняться по бетонному, гравийному или щебёночному подстилающему слою и по железобетонным перекрытиям (рис. 19). Для утепления асфальтобетонных полов в станках, стойлах и клетках животноводческих зданий их рекомендуется выполнять по керамзитобетонному или аглопоритобетонному подстилающему слою.

8.7.4 Толщину покрытия пола в производственных зданиях следует назначать в зависимости от интенсивности механических воздействий (Раздел I, табл. 3), а в животноводческих помещениях принимать равной 20 мм.

8.7.5 Для устройства асфальтобетонных покрытий рекомендуется применять жесткие и литые смеси (табл. 8.7.1).

Таблица 8.7.1

Составляющие, мас. ч.

Жесткие

Литые

зернистые

песчаные

зернистые

песчаные

Битум

0,35

0,25

0,45

0,33

Минеральный порошок (менее 0,075 мм)

1

1

1

1

Песок (0,075 - 5 мм)

1,3

1,5

1,3

1,5

Щебень или гравий

2,3

-

2,3

-

8.7.6 Для асфальтобетонных жестких смесей рекомендуется применять битум с температурой размягчения 50 - 60 °С, а для литых - битумы с температурой размягчения 50 °С и 70 °С в соотношении 1:2 по массе.

8.7.7 Для щелочестойкого асфальтобетона следует использовать щебень, гравий и минеральный порошок из плотных осадочных (серпентинитов, порфиритов, известняков, доломитов) или изверженных (диабазов, гранитов) пород.

8.7.8 Для кислотостойкого асфальтобетона следует использовать щебень, песок и минеральный порошок из каменных материалов (диабаза, андезита, кварца и др.), кислотостойкость которых по ГОСТ 473.1-81 составляет не менее 94 %, а прочность при сжатии не менее 80 МПа (800 кг/см2).

Рис. 19 Конструктивные схемы полов с покрытием из асфальтобетона по подстилающему слою (а) и по перекрытию (б)

1 - покрытие; 2 - стяжка, 3 - трубопровод; 4 - тепло-звукоизоляция; 5 - бетонный подстилающий слой; 6 - грунт основания; 7 - плита перекрытия.

8.7.9 Для безыскрового и неэлектропроводного асфальтобетона следует использовать щебень, песок и минеральный порошок из известняка, мрамора и других искронеобразующих каменных материалов.

8.7.10 Литые асфальтобетонные смеси должны быть однородными с равномерным распределением битума на зёрнах заполнителя. Температура литой асфальтобетонной смеси при приготовлении должна быть в летний период 180 - 200 °С, а в зимний 200 - 210 °С, при укладке - 160 °С, а при уплотнении - не ниже 120 °С.

8.7.11 Поверхность основания из бетона или цементно-песчаного раствора перед укладкой асфальтобетона следует огрунтовать раствором битума в бензине при соотношении 1:2 - 3 по массе.

8.7.12 Асфальтобетонную смесь рекомендуется укладывать в 1 - 2 слоя полосами шириной 2 м, ограниченными рейками. При этом первую рейку следует располагать на расстоянии 10 - 15 см от стены, а последующие через 2 м. Маячные рейки высотой на 7 - 10 мм более проектной толщины покрытия должны укладываться по уровню и быть закреплены распорками во избежание их смещение при уплотнении асфальтобетонной смеси.

8.7.13 После укладки асфальтобетона на первой полосе и его уплотнения последующие полосы следует заполнять через одну. Толщина одного слоя асфальтобетона не должна превышать 25 мм.

8.7.14 Уплотнение асфальтобетонной смеси следует выполнять катками массой 50 - 80 кг с электронагревателями. Уплотнение жестких асфальтобетонных смесей в местах, недоступных для механических катков (около стен, колонн, фундаментов под оборудование и т.п.) следует производить вибраторами с электрообогревом и частотой колебаний 2000 - 3000 в 1 мин.

8.7.15 Работы по изготовлению покрытий полов целесообразно осуществлять без технологических перерывов. В противном случае перед возобновлением работ после перерыва кромка ранее уложенного асфальтобетона должна быть вертикально обрублена, разогрета и прогрунтована горячим битумом.

8.7.16 После уплотнения асфальтобетонной смеси катком лицевой слой следует присыпать сухим мелкодисперсным песком и притереть деревянной тёркой, облицованной стальным листом.

8.7.17 Эксплуатация полов допускается через 24 часа после укладки.

8.8 Поливинилацетатцементно- и латексцементно-бетонные покрытия

8.8.1 Полы с поливилацетатцементно- и латексцементно-бетонными покрытиями рекомендуется применять в производственных помещениях с учётом допустимых эксплуатационных воздействий, приведённых в табл. 1, 2, 3 Приложения 1.

8.8.2 Поливилацетатцементно- и латексцементно-бетонные покрытия могут выполняться по бетонному подстилающему слою и по железобетонному перекрытию (рис. 20).

8.8.3 По аналогии с мозаично-бетонными покрытиями поливилацетатцементно- и латексцементно-бетонные покрытия следует выполнять из двух слоев: нижнего слоя толщиной 40-50 мм из цементно-песчаного раствора марки 200 и верхнего (лицевого) - толщиной от 20 до 30 мм в зависимости от интенсивности механических воздействий (Раздел I, табл. 3) из смеси комплексного вяжущего - поливинилацетатной пластифицированной дисперсии (ГОСТ 18992-80) или латекса СКС-65ГП марки «Б» или марки «К» (ТУ 38.103111-80) с цементом, песком, щебнем, водой и, при необходимости придания покрытию пола цветной окраски, ещё и пигментом (табл. 8.8.1). При этом нижний слой толщиной 40 мм рекомендуется выполнять по бетонному основанию или стяжке, толщиной 50 мм - уложенных на сплошной тепло- и звукоизоляционный слой. При наличии в конструкции пола трубопроводов толщину нижнего слоя следует принимать на 25 мм большей его диаметра.

Рис. 20 Конструктивные схемы полов с поливинилацетатцементно- и латексцементно-бетонным покрытием по подстилающему слою (а) и по перекрытию (б)

1 - покрытие; 2 - бетонный подстилающий слой; 3 - грунт основания; 4 - гидроизоляция; 5 - стяжка; 6 - тепло-звукоизоляция; 7 - плита перекрытия; 8 - трубопровод.

Таблица 8.8.1

Назначение

Осадка конуса, см

Состав по массе при марке цемента не ниже 400

ПВА-дисперсия

Латекс СКС-65ГП марки Б или К

Вода

Цемент

Пигменты

Песок

Щебень

Для поливинилацетатцементно-бетонных покрытий

3 - 4

0,3

 

0,25

1

0,05 - 0,1

1,4

2,6

Для латексцементно-бетонных покрытий

3 - 4

 

0,4

0,1

1

0,05 - 0,1

1,4

2,6

8.8.4 Поливинилацетатная дисперсия должна быть пластифицированной. Если непластифицированная дисперсия поставлена в отдельной таре от пластификатора (дибутилфталата), то перед употреблением в неё добавляют 7,5 % от её массы дибутилфталата и тщательно перемешивают в смесителе.

8.8.5 В качестве крупного заполнителя рекомендуется использовать щебень фракции 5 - 10 мм, который должен изготавливаться из шлифующихся пород (мрамора, базальта и т.п.) с пределом прочности при сжатии не менее 80 МПа (800 кг/см2). Цвет заполнителя может устанавливаться проектом.

8.8.6 В качестве мелкого заполнителя применяют крупно- или среднезернистый песок по ГОСТ 8736-93*.

8.8.7 Пигменты, используемые для бетона, должны быть минеральными, светоустойчивыми (окись хрома, редоксайд и др.), мелко измельченными, рыхлыми, без комков.

8.8.8 Основные требования технологии производства работ по укладке, уплотнению и отделке как нижнего слоя из цементно-песчаного раствора, так и верхнего слоя из поливилацетатцементно- и латексцементно-бетонных смесей те же, что и при устройстве мозаичных покрытий. Для обеспечения прочного сцепления верхнего слоя с затвердевшим нижним слоем последний очищают от мусора, обеспыливают пылесосом и грунтуют дисперсией или латексом, разбавленными водой в соотношении по объёму 1:10 (дисперсия или латекс:вода).

8.8.9 При укладке и твердении смесей температура самой смеси, воздуха на уровне пола и температура нижележащего слоя должна быть не ниже 10 °С. Такая температура должна поддерживаться до приобретения бетоном прочности не менее 50 % от проектной.

8.8.10 Поливинилацетатцементно- и латексцементно-бетонные покрытия после их устройства должны выдерживаться во влажных условиях (покрытые полиэтиленовой плёнкой и т.п.) не менее 7 суток, затем осуществляется естественная сушка. Возможно также использование композиций, наносимых на влажную бетонную поверхность и образующих плёнку, с целью предотвращения преждевременного удаления влаги из бетона. Как правило, в качестве таких композиций используются однокомпонентные составы на основе акриловых дисперсий, в частности герметик-упрочнитель марки Master-Cur 113 (концерн «МВТ», Бельгия).

8.8.11 Использование для предотвращения преждевременного высыхания бетона таких композиций на покрытиях, по которым планируется нанесение полимерных пропиток, не рекомендуется.

8.8.12 Нанесение композиций на основе акриловых дисперсий осуществляется валиком сразу же после выполнения заглаживания в два слоя.

8.8.13 После достижения бетоном воздушно-сухого состояния возможно также использование пропиточных композиций, составы которых и технологии нанесения приведены в главе 9.

8.8.14 Эксплуатация полов допускается после приобретения бетоном проектной прочности на сжатие, а пешеходное движение может быть допущено при достижении прочности на сжатие не менее 5 МПа.

8.9 Монолитные полы из лёгких бетонов с латексцементным покрытием

8.9.1 Полы из лёгких бетонов с латексцементным покрытием рекомендуется применять в животноводческих зданиях с учётом допустимых эксплуатационных воздействий, приведённых в табл. 1, 2, 3 Приложения 1.

8.9.2 Легкобетонные полы с утепляющим слоем и латексцементным покрытием относятся к «тёплым» полам (показатель теплоусвоения не выше 15 Вт/(м2 · °С)) и рекомендуются для применения в свинарниках и откормочниках крупного рогатого скота при бесподстилочном содержании животных.

8.9.3 Не допускается устройство таких полов в проездах и проходах животноводческих зданий.

8.9.4 Полы из лёгких бетонов с латексцементным покрытием выполняются по грунтовому основанию (рис. 21). Они включают теплоизоляционный слой из керамзитового гравия по ГОСТ 9757-90 фракции 20 - 40 мм толщиной 100 мм, подстилающий слой из керамзитобетона класса В3,5 плотностью 1000 кг/м и покрытие из латексцементного раствора марки 150 толщиной 20 мм.

8.9.5 В подстилающем слое предусматриваются температурно-усадочные швы толщиной 15 - 20 мм с шагом не более 20 м, которые располагают под межклеточными или междустойловыми перегородками. Полости швов заливают битумом или уретановым герметиком.

8.9.6 Полы должны иметь уклон в сторону навозосборного канала, величину которого рекомендуется принимать в помещениях для крупного рогатого равным 3,5 %, а в свинарниках - 5 %.

8.9.7 В качестве мелкого заполнителя для легкого бетона подстилающего слоя, а также заполнителя для латексцементного раствора следует применять песок керамзитовый по ГОСТ 9757-90.

8.9.8 В качестве вяжущего для легкого бетона и латексцементного раствора следует применять портландцемент марки 400, отвечающий требованиям ГОСТ 10178-85, с содержанием минеральных добавок не более 10 %.

8.9.9 Латекс СКС-65ГП марки Б, используемый в качестве компонента полимерцементного раствора, должен удовлетворять требованиям ТУ 38.103111-83. Латекс должен транспортироваться и храниться при температуре не ниже +5 °С.

8.9.10 Для полов животноводческих зданий рекомендуется следующий состав легкого бетона из расчёта на 1 м3 смеси:

цемент марки 400, кг                                                                        200 - 220

гравий керамзитовый фракций 10 - 40 мм, м3                               1,0

песок керамзитовый фракции 1 - 5 мм, м3                                     0,2

вода, литр                                                                                           140 - 150

8.9.11 Рекомендуемое соотношение компонентов латексцементного раствора марки M150 для устройства покрытия (в мас. ч.): цемент : латекс : песок : вода составляет 1:(0,1 - 0,2):2,4:0,35. Заполнитель в растворе должен состоять по объёму из 50 % керамзитового песка и 50 % кварцевого песка. Соотношение компонентов раствора следует уточнить на строительной площадке на опытных образцах. Водопоглощение покрытия в затвердевшем состоянии должно составлять не более 5 %.

8.9.12 Приготовление легкого бетона и латексцементного раствора следует производить в смесителях принудительного или гравитационного действия.

Рис. 21 Конструктивная схема полов из лёгких бетонов с латексцементным покрытием

1 - грунтовое основание; 2 - утепляющая подсыпка из керамзитового гравия или аглопоритового щебня; 3 - легкобетонный подстилающий слой; 4 - латексцементное покрытие; 5 - тяжелый бетон у канала навозоудаления; 6 - решетка для перекрытия канала; 7 - транспортёр для уборки навоза.

8.9.13 Загрузка смесителей материалами для приготовления бетонной смеси производится в следующей последовательности: крупный пористый заполнитель, керамзитовый песок, цемент. Вода подаётся постепенно по мере загрузки заполнителя и цемента. Продолжительность перемешивания 2 - 3 минуты.

8.9.14 Осадка конуса, характеризующая подвижность бетонной смеси для подстилающего слоя, должна составлять не более 20 мм.

8.9.15 При приготовлении латексцементного раствора загрузку компонентов следует производить в следующей последовательности: заполнители - песок керамзитовый, строительный песок, цемент, латекс, вода. Продолжительность перемешивания 3 - 4 минуты.

8.9.16 Подвижность латексцементной растворной смеси следует оценивать по расплыву конуса на встряхивающем столике согласно ГОСТ 310.4-81. Расплыв конуса должен быть не более 120 мм.

8.9.17 Устройство конструктивных слоев пола следует производить после устройства навозосборного канала, до установки перегородок и сантехнического оборудования. В местах установки стоек перегородок следует устраивать колодцы соответствующих размеров с использованием инвентарных пустотообразователей.

8.9.18 Утепляющий слой выполняется из керамзитового гравия толщиной после уплотнения 100 мм с образованием уклона в сторону навозосборного канала.

8.9.19 Устройство подстилающего слоя следует выполнять с соблюдением рекомендаций главы 3.

8.9.20 При укладке и твердении легкобетонных смесей температура самой смеси, воздуха на уровне пола и температура нижележащего слоя должна быть не ниже 5 °С. Такая температура должна поддерживаться до приобретения бетоном прочности не менее 50 % от проектной.

8.9.21 Виброуплотнение свежеуложенных бетонных смесей следует производить виброрейками или площадочными вибраторами.

8.9.22 Технологические (рабочие) швы в легкобетонном слое следует, как правило, совмещать с температурно-усадочными швами.

8.9.23 Латексцементное покрытие следует выполнять по свежеуложенному подстилающему слою до установки технологического оборудования. При укладке и твердении полимерцементной растворной смеси температура самой смеси, воздуха на уровне пола и температура нижележащего слоя должна быть не ниже 15 °С. Такая температура должна поддерживаться до приобретения покрытием прочности не менее 70 % от проектной.

8.9.24 В случае устройства латексцементного покрытия по затвердевшему подстилающему слою, поверхность его необходимо предварительно тщательно очистить от загрязнений и огрунтовать раствором латекса, разведенным водой в соотношении 1:10 по объёму.

8.9.25 Укладку латексцементного раствора следует производить с помощью пневматических нагнетателей. Допускается укладка раствора ручным способом. Подаваемый к месту укладки раствор разравнивается рейкой до проектной толщины и заглаживается гладилкой.

8.9.26 Латексцементный раствор укладывается на всю ширину стойла с разравниванием раствора в направлении уклона пола.

8.9.27 Границу участка покрытия, ограничивающую суточный или сменный объём работ, следует размещать в местах расположения межстойловых перегородок. Кромка границы покрытия при этом должна быть вертикальной.

8.9.28 Перед возобновлением работ по устройству латексцементного покрытия вертикальная кромка должна быть очищена и огрунтована раствором латекса. В местах стыков необходимо обеспечить качественное примыкание слоев раствора.

8.9.29 С целью предотвращения образования усадочных трещин покрытие пола должно в течение 7 - 10 дней после укладки находиться под слоем постоянно влажного водоудерживающего материала.

8.9.30 Эксплуатация полов допускается после приобретения раствором проектной прочности на сжатие. Пешеходное движение по этим полам может быть допущено после приобретения покрытием прочности на сжатие не менее 5 МПа.

8.10 Известняково-керамзитовые полы

8.10.1 Известняково-керамзитовые полы рекомендуется применять в животноводческих зданиях (свинарниках) с учётом допустимых эксплуатационных воздействий, приведённых в табл. 1, 2, 3 Приложения 1.

8.10.2 Известняково-керамзитовые полы относятся к «тёплым» полам (показатель теплоусвоения не выше 15,6 Вт/(м2 · °С)), характеризуются достаточной мягкостью поверхностного слоя (твердость по МООСУ равна 3), обеспечивающей условия нормального нарастания и сохранения роговых образований копыт животных, благодаря чему их рекомендуется применяться при бесподстилочном содержании животных. Кроме того, известняк нейтрализует кислоты, что приостанавливает процесс гниения продуктов жизнедеятельности животных.

8.10.3 Не допускается устройство таких полов в проездах и проходах животноводческих зданий.

8.10.4 Известняково-керамзитовые полы выполняются по грунтовому основанию (рис. 22). Они включают покрытие - известняково-керамзитовый слой толщиной 30 мм, теплоизоляционный слой из керамзитобетона толщиной 80 мм (за исключением двухметровых полос, примыкающих к наружным стенам, где толщина слоя принимается равной 120 мм) и подстилающий слой из щебня или крупнозернистого песка толщиной 120 мм.

8.10.5 При высоком уровне грунтовых вод и опасности их капиллярного поднятия рекомендуется применение усиленных полов следующих конструкций:

Вариант I

1. Покрытие - известково-керамзитовый слой                                   - 30 мм;

2. Теплоизоляционный керамзитобетонный слой                             - 80 или 120 мм;

3. Рулонная гидроизоляция на битумной мастике                             - 5 мм;

4. Подстилающий слой из бетона В7,5, армированного

сеткой 100×100×5 мм                                                                       - 80 мм.

Вариант II

1. Покрытие - известково-керамзитовый слой                                   - 30 мм;

2. Теплоизоляционный керамзитобетонный слой                             - 80 или 120 мм;

3. Подстилающий слой из битумизированного щебня                       - 120 - 130 мм.

8.10.6 Температурно-усадочные швы в полах отапливаемых зданий следует предусматривать с шагом 20 м, в неотапливаемых зданиях или на открытых площадках швы рекомендуется выполнять во взаимно перпендикулярных направлениях на расстоянии 8 - 12 м. Швы должны располагаться, как правило, у ограждения станков, что предохраняет их от разрушения животными. Швы устраивают сквозные вертикальные, их следует выполнять при помощи нарезчика швов с алмазным диском или путём установки досок, обёрнутых толем, или строганых досок, обмазанных горячим битумом. Доски удаляют в процессе бетонирования до окончания схватывания смеси, а швы заполняют битумными составами или полиуретановыми герметиками.

8.10.7 Полы должны иметь уклон 5 % в сторону навозосборного канала.

8.10.8 Для известняково-керамзитового слоя следует применять:

- керамзитовый песок по ГОСТ 9757-90 плотностью 500 кг/м3 крупностью 0,005 - 3 мм;

- известняковый песок крупностью 0,005 - 0,14, 0,14 - 1 и 1 - 2,5 мм;

- кирпичный щебень из обожженного глиняного кирпича марки 100 по ГОСТ 7484-78 крупностью 5 - 10 мм;

- портландцемент марки 400 по ГОСТ 10178-85.

Рис. 22 Конструктивные схемы полов с известняково-керамзитовым покрытием

1 - известняково-керамзитовое покрытие; 2 - теплоизоляционный керамзитовый слой; 3 - гидроизоляция; 4 - подстилающий щебёночный слой; 5 - бетонный подстилающий слой; 6 - подстилающий слой из битумизированного керамзита;7 - грунт основания.

8.10.9 Известняковый песок по химическому составу должен удовлетворять следующим требованиям, в %:

потери при прокаливании                                                      - 40,0 - 43,5;

нерастворимый в HCl остаток                                               - 8,0 - 1,5;

полуторные окислы (Al2O3 + Fe2O3)                                      - 3,6 - 0,5;

окись кальция                                                                          - 47,4 - 54,0;

окись магния                                                                            - 1,0 - 0,5;

углекислый кальций                                                               - 85,0 - 97,0;

углекислый магний                                                                 - 2,8 - 2,5.

Химический состав известнякового песка определяется по ГОСТ 5831-63.

8.10.10 Для теплоизоляционного слоя следует применять керамзитовый песок по ГОСТ 9757-90 плотностью 500 кг/м3 с крупностью зёрен 0,005 - 3 мм, керамзитовый гравий по ГОСТ 9757-90 плотностью 500 кг/м3 и крупностью 10 - 20 мм и портландцемент марки 400, соответствующий требованиям ГОСТ 10178-85, с содержанием минеральных добавок не более 10 %.

8.10.11 Подстилающий слой необходимо предусматривать из двух частей: нижней, укладываемой по грунту, из щебня крупностью не менее 50 мм с песком и верхней - из щебня крупностью 20 - 40 мм. Щебень должен быть из материалов твёрдых пород.

8.10.12 Для известняково-керамзитового слоя рекомендуется следующий состав бетона из расчёта на 1 м3 смеси:

цемент марки М400                                     475 кг

керамзитовый песок                                     204 кг

известняковый песок крупностью:

0,005 - 0,14 мм                                    190 кг

0,14 - 1 мм                                           250 кг

1 - 2,5 мм                                             310 кг

кирпичный щебень                                       215 кг

вода                                                                56 кг

Прочность поверхностного слоя на сжатие после 28 суток воздушно-сухой выдержки должна быть не менее 20 МПа.

8.10.13 Рекомендуемый состав бетона теплоизоляционного слоя на 1 м3 смеси:

цемент марки М400                                     250 кг

керамзитовый щебень                                  500 кг

керамзитовый песок                                     250 кг

вода                                                                28 кг

Прочность теплоизоляционного слоя на сжатие после 28 суток воздушно-сухой выдержки должна быть не менее 10 МПа.

8.10.14 При изготовлении бетонного или щебёночного подстилающих слоев следует руководствоваться рекомендациями, изложенными в главе 3, а при устройстве рулонной гидроизоляции или пропитке щебёночного подстилающего слоя битумом - рекомендациями, изложенными в главе 7.

8.10.15 Приготовление смесей как для теплоизоляционного, так и для поверхностного слоя следует производить в смесителях принудительного действия на централизованном или приобъектном бетоносмесительном узле.

8.10.16 Загрузка смесителей материалами для приготовления керамзитобетонной смеси производится в следующей последовательности: крупный пористый заполнитель, керамзитовый песок, цемент. Вода подаётся постепенно по мере загрузки заполнителя и цемента. Продолжительность перемешивания не менее 3 минуты.

8.10.17 При приготовлении раствора для поверхностного слоя загрузку компонентов следует производить в следующей последовательности: заполнители - кирпичный щебень, песок керамзитовый и известняковый, цемент и вода. Продолжительность перемешивания не менее 2 минут.

8.10.18 К устройству конструктивных слоев пола следует приступать после окончания работ по монтажу железобетонных панелей ограждения боксов, устройству подпольных каналов и навозосборных лотков.

8.10.19 Температура воздуха на уровне основания пола, а также укладываемых смесей не должна быть ниже 5 °С. Такая температура должна поддерживаться до приобретения бетоном прочности не менее 50 % проектной.

8.10.20 Устройство теплоизоляционного слоя следует производить по подготовленному и очищенному подстилающему слою, выверенному по проектным отметкам, для обеспечения требуемых уклонов пола и толщины теплоизоляционного слоя.

8.10.21 Укладку керамзитобетонной смеси рекомендуется выполнять полосами (участками) шириной не более 1,5 - 2 м по рейкам, которые устанавливаются на растворе. Высота реек должна быть равной толщине укладываемого керамзитобетонного слоя.

8.10.22 Виброуплотнение свежеуложенных бетонных смесей следует производить виброрейками или площадочными вибраторами.

8.10.23 Устройство покрытия пола следует осуществлять через 2 - 4 часа после окончания укладки бетона теплоизоляционного слоя.

8.10.24 Укладку смеси при устройстве покрытия также следует проводить полосами шириной не более 2 м. При этом маячные рейки, высота которых равна 30 мм, следует располагать, как правило, параллельно длиной стороне помещения, а при наличии сточных лотков - перпендикулярно продольной оси лотка, к которым направлен уклон пола. После схватывания уложенной смеси до состояния, когда на поверхности слоя при хождении остаются небольшие вмятины, рейки извлекают из поверхностного слоя, а пазы заполняют известняково-керамзитовой смесью.

8.10.25 Разравнивание известняково-керамзитовой смеси производят по аналогии с керамзитобетонной смесью. Уплотнение производят также виброрейками, передвигаемыми по маячным рейкам или при небольшой площади пола - площадочными вибраторами, а в труднодоступных местах - ручными трамбовками, с последующим окончательным разравниванием правилом.

8.10.26 Для ликвидации глянцевой поверхности, образуемой после уплотнения известняково-керамзитовой смеси, и придания поверхностному слою пола требуемой шероховатости, рекомендуется обработать поверхность пола затирочными машинами (но не шлифовать их). Обработку следует начинать после схватывания известняково-керамзитовой смеси до состояния, когда на поверхности слоя при хождении остаются лишь небольшие следы.

8.10.27 После окончания затирки пол следует засыпать опилками слоем не менее 30 мм и в течение 7 - 10 суток увлажнять их не реже одного раза в сутки. При температуре воздуха в помещении свыше 15 °С поливку в первые 3 - 4 дня следует производить не реже двух раз в сутки.

8.10.28 Эксплуатация полов допускается после приобретения раствором проектной прочности на сжатие. Пешеходное движение по этим полам может быть допущено не ранее приобретением раствором монолитных покрытий прочности на сжатие не менее 5 МПа.

8.11 Ксилолитовое и поливинилацетатцементно-опилочное покрытия

8.11.1 Полы с ксилолитовым и поливинилацетатцементно-опилочным покрытиями рекомендуется применять в производственных помещениях с учётом допустимых эксплуатационных воздействий, приведённых в табл. 1, 2, 3 Приложения 1.

8.11.2 Покрытия, выполненные из ксилолитовой и поливинилацетатцементно-опилочной смеси плотностью 1200 кг/м3 являются «тёплыми» и характеризуются показателем теплоусвоения не более 11,63 Вт/(м2 · К); а из смеси плотностью 1400 - 1500 кг/м3 относятся к «умеренно тёплыми» с показателем теплоусвоения 15,1 - 16,3 Вт/(м2 · К).

8.11.3 Ксилолитовое и поливинилацетатцементно-опилочное покрытия могут быть выполнены по бетонному подстилающему слою и по железобетонному перекрытию (рис. 23).

Рис. 23 Конструктивные схемы полов с ксилолитовым и поливинилацетатцементно-опилочным покрытием по подстилающему слою (а) и по перекрытию (б)

1 - покрытие; 2 - бетонный подстилающий слой; 3 - грунт основания; 4 - стяжка; 5 - трубопровод; 6 - тепло-звукоизоляция; 7 - плита перекрытия.

8.11.4 Толщину покрытий следует назначать в зависимости от интенсивности механических воздействий (Раздел I, табл. 3).

8.11.5 Ксилолитовые покрытия выполняют из смеси древесных опилок хвойных пород, каустического магнезита, водного раствора хлористого магния и пигментов, а поливинилацетатцементно-опилочные покрытия из смеси портландцемента, пластифицированного поливинилацетатной дисперсией, древесных опилок, пигмента и воды.

8.11.6 Для устройства ксилолитового и поливинилацетатцементно-опилочного покрытий рекомендуется использовать составы, приведённые в таблице 8.11.1.

Таблица 8.11.1

Вид покрытия

Состав по массе (мас. ч.)

Портландцемент

ПВА-дисперсия

Магнезит

Древесные опилки

Песок

Вода

Раствор хлористого магния

Пигмент

Ксилолитовое

плотностью 1200 кг/м3

-

-

100

25

-

-

100 - 110 плотностью 1,18 г/см3

3 - 4

плотностью 1500 кг/м3

-

-

100

18

70

 

85 - 95 плотностью 1,20 г/см3

3 - 4

Поливинилацетатцементно-опилочное

плотностью 1100 кг/м3

100

20

-

20

-

40 - 50

 

2 - 4

плотностью 1400 кг/м3

100

8 - 10

 

10

 

40 - 50

 

2 - 4

8.11.7 Для приготовления связующего поливинилацетатцементно-опилочной смеси следует использовать портландцемент (ГОСТ 10178-85) марки не ниже 400 и поливинилацетатную пластифицированную дисперсию (ГОСТ 18992-80).

8.11.8 Каустический магнезит (ГОСТ 1216-87*) должен содержать в своём составе окиси магния не менее 75 %, зёрен крупнее 0,075 мм не более 25 %, зёрен крупнее 0,3 мм не более 5 %.

8.11.9 Раствор хлористого магния, содержащий не менее 45 % MgCl2, получают растворением в воде кристаллического хлористого магния (ГОСТ 7759-73*) заводского производства, либо полной нейтрализацией каустическим магнезитом соляной кислоты (ГОСТ 3118-77) или ингибированной соляной кислоты. При этом нерастворимый осадок должен быть отфильтрован из раствора.

8.11.10 Вместо раствора хлористого магния для приготовления ксилолитовой смеси допускается применение водного раствора искусственного карналита или карналитовой руды при условии обеспечения прочности ксилолита на растяжение после 7 суток воздушно-сухого выдерживания не менее 2 МПа (20 кг/см2).

8.11.11 Древесные опилки заготавливаются из хвойных пород. Влажность опилок для обоих типов покрытий не должна превышать 20 %, крупность - 2,5 мм для однослойного и верхнего слоя двухслойного покрытия и не более 5 мм для нижнего слоя двухслойного покрытия. Опилки не должны содержать примеси коры, листьев и мусора.

8.11.12 Пигменты (красители) должны быть минеральными, щелочестойкими, сухими, мелкоизмельченными, однородного состава, стойкими к действию света, а для ксилолита - и к соляной кислоте: сурик железный, редоксайд, окись хрома, фталоцианин. Пигменты вводятся в смеси для изготовления однослойного покрытия и верхнего слоя двухслойного покрытия.

8.11.13 В качестве песка следует применять песок кварцевый или дробленый (ГОСТ 8736-93*) из природного камня кристаллических пород (гранита, сиенита, базальта и им подобных) крупно- или среднезернистый с содержанием глинистых или илистых частиц не более 3 %.

8.11.14 Составы ксилолитовых и поливинилацетатцементно-опилочных смесей уточняются при опытном замесе. Предел прочности их при растяжении в возрасте 7 суток воздушно-сухого хранения должен быть не менее 2 МПа (20 кг/см2), а в возрасте 28 суток - 3 МПа (30 кг/см2).

8.11.15 При приготовлении ксилолитовой смеси опилки смешиваются с каустическим магнезитом и пигментом в сухом состоянии, а затем с водным раствором хлористого магния.

8.11.16 При приготовлении поливинилацетатцементно-опилочной смеси ПВА-дисперсию смешивают с пигментом, затем добавляют цемент и опилки с последующим перемешиванием до достижения однородности.

8.11.17 Смешивание компонентов ксилолитовой и поливинилацетатцементно-опилочной смесей следует осуществлять в смесителях принудительного действия.

8.11.18 Подвижность ксилолитовых и поливинилацетатцементно-опилочных смесей по глубине погружения стандартного конуса должна быть равной 2 - 3 см.

8.11.19 Устройство ксилолитовых покрытий следует выполнять при температуре воздуха в помещении не ниже +10 °С. Такая температура должны поддерживаться до приобретения материалом прочности не менее от 70 % проектной.

8.11.20 Устройство поливинилацетатцементно-опилочных покрытий следует выполнять при температуре воздуха в помещении не ниже +5 °С. Такая температура должна поддерживаться до приобретения материалом прочности не менее 50 % от проектной.

8.11.21 Перед устройством полов в помещении должны быть выполнены штукатурные и другие работы, связанные с возможностью увлажнения покрытий. При устройстве этих полов и в последующий период до сдачи объекта в эксплуатацию относительная влажность воздуха не должна превышать 60 %. Сквозняки в помещении не допускаются.

8.11.22 Влажность бетонного основания при укладке обоих типов покрытий не должна превышать 5 %, а прочность не должна быть ниже 15 МПа.

8.11.23 Поверхность бетонного основания перед устройством ксилолитовых покрытий следует очистить и не менее чем за 40 минут до укладки покрытия прогрунтовать смесью раствора хлористого магния (плотностью 1,06 - 1,07 г/см3) с каустическим магнезитом в соотношении 4:1 по массе, а перед устройством поливинилацетатцементно-опилочных покрытий прогрунтовать неразбавленной поливинилацетатной дисперсией с расходом её 1 кг/м2.

8.11.24 Перед укладкой ксилолитовых покрытий металлические детали и конструкции, соприкасающиеся с ними, защищают от действия хлористого магния окраской битумным лаком БТ-577, перхлорвиниловыми или сополимерными эмалями марок ПХВ или ХСЭ или закрывают слоем цементно-песчаного раствора толщиной не менее 30 мм. При этом нижнюю часть стен, перегородок, колонн и других конструкций рекомендуется изолировать слоем цементно-песчаного раствора состава 1:2, а в местах возможного нагрева ксилолитовых полов до температуры более +50 °С источники нагрева (трубы, отопительные приборы и т.п.) должны быть изолированы теплоизоляционными материалами.

8.11.25 Укладку ксилолитовых и поливинилацетатцементно-опилочных смесей следует производить полосами шириной не более 2,0 м, ограниченными деревянными строгаными рейками, которые служат маяками. Толщина маячных реек должна быть на 50 - 60 % больше толщины укладываемого слоя с учётом последующего уплотнения. Укладку смеси начинают от стен с постепенным приближением к входным дверям, проезду и т.п. Полосы заполняют через одну и разравнивают правилом, передвигаемым по маячным рейкам.

8.11.26 В промежуточные полосы смесь следует укладывать через 1 - 2 суток, причём маячные рейки, ограничивающие ранее уложенные полосы покрытия, предварительно удаляют.

8.11.27 Уплотнение смесей следует производить катками весом 60 - 100 кг. Начало уплотнения, вес катка и количество проходов по одному следу необходимо устанавливать пробной укаткой. При движении катка в укатываемом покрытии не должны образовываться вмятины, разрывы (трещины) и раковины. Покрытие после укатки должно быть ровным и однородным. В местах, недоступных для работы катков, смесь следует уплотнять трамбовками весом 3 - 5 кг.

8.11.28 Уплотнение смесей должно прекращаться на расстоянии не менее 300 мм от открытой кромки покрытия; этот участок уплотняется после укладки следующей порции смесей. При перерыве в работе открытую кромку покрытия в поперечном направлении следует оградить маячной рейкой и уплотнить.

8.11.29 В местах рабочих швов уплотнение смесей следует осуществлять до тех пор, пока шов станет незаметным.

8.11.30 При появлении во время уплотнения на поверхности ксилолитовых или поливинилацетатцементно-опилочных покрытий жидкости их посыпают сухой ксилолитовой (каустический магнезит с опилками) или цементно-опилочной смесью при соотношении составляющих, приведённом в таблице 8.11.1.

8.11.31 Верхний слой двухслойного покрытия следует укладывать по затвердевшему и подсохшему нижнему слою (через 1 - 2 суток после его укладки); поверхность нижнего слоя предварительно огрунтовывают.

8.11.32 Поверхность лицевого слоя покрытий должна быть заглажена металлическими гладилками до начала схватывания составов.

8.11.33 Твердение покрытий должно проходить в условиях, исключающих попадание на пол влаги. Белый налёт, появляющийся на поверхности ксилолитового покрытия, следует смыть водой, а затем поверхность вытереть насухо.

8.11.34 В помещениях с повышенными требованиями к внешнему виду пола покрытия рекомендуется отшлифовать и отциклевать. Обработку покрытий начинают не ранее достижения покрытиями прочности, при которой не выкрашиваются опилки, а заканчивают до приобретения прочности, затрудняющей отделку - обычно через 2 - 6 суток после укладки смесей.

8.11.35 Для увеличения срока службы, износостойкости и водостойкости покрытий возможно также использование пропиточных композиций, составы которых и технологии нанесения приведены в главе 9.

8.11.36 Эксплуатация полов допускается после приобретения покрытием проектной прочности на сжатие. Пешеходное движение по этим полам может быть допущено не ранее приобретения прочности на сжатие не менее 5 МПа.

8.12 Эпоксидные, полиуретановые и полиэфирные мастичные покрытия

8.12.1 Эпоксидные, полиуретановые и полиэфирные мастичные покрытия рекомендуется применять в производственных и общественных помещениях, к которым предъявляются повышенные требования по чистоте с учётом допустимых эксплуатационных воздействий и специальных требований - повышенная эстетика покрытий, беспыльность, безыскровость, нескользкость и т.д., приведённых в табл. 1, 2, 3 Приложения 1. При этом для уменьшения скользкости рекомендуется выполнять покрытия с шероховатой или текстурированной поверхностью, а в помещениях, в которых расположено электрооборудование, выходящее из строя при образовании искр от статического электричества, мастичные покрытия следует предусматривать антистатическими. Полиуретановые мастичные покрытия рекомендуются также в спортзалах крытых отапливаемых стадионов и на открытых спортплощадках - легкоатлетические залы, футбольные поля, крытые и открытые корты, открытые беговые дорожки.

8.12.2 Мастичные покрытия относятся к «холодным» покрытиям и не могут быть применены в помещениях с нормируемым теплоусвоением полов (см. п. 11.13 Раздела I).

8.12.3 Мастичные покрытия могут быть выполнены по бетонному основанию, по плите перекрытия или по стяжке из бетона класса не ниже В15 или цементно-песчаного раствора марки М200 (рис. 24 - 27). На открытых кортах возможно нанесение покрытия и по асфальтобетонному основанию (рис. 28).

8.12.4 Толщину покрытий в производственных, и общественных помещениях следует назначать в зависимости от интенсивности механических воздействий (Раздел I, табл. 3).

8.12.5 В залах для легкой атлетики рекомендуется применять двухслойные покрытия с нижним слоем из резино-полимерных рулонных материалов (регупола) и верхним наливным слоем общей толщиной 16 мм; при этом, в местах проведения соревнований по прыжкам в высоту с шестом и по тройному прыжку рекомендуется применение наливного покрытия на всю толщину. В секторе для толкания ядра следует выполнять покрытие из резиноподобных материалов толщиной не менее 30 мм. На стационарных бетонных виражах беговой дорожки по поверхности бетона предусматривается устройство наливного отверждающегося покрытия. При съемных конструкциях виражей (или их части) покрытие наносится на деревянные щиты, укладываемые на металлический каркас.

8.12.6 При повышенных ударных воздействиях на покрытия полов рекомендуется между покрытием и подстилающим слоем располагать слой стеклоткани, наклеиваемой полимерной композицией, совпадающей по химическому составу со связующим мастичного покрытия.

8.12.7 С целью обеспечения отвода статического электричества в грунт в антистатических покрытиях полов между покрытием и основанием следует располагать электроотводящий контур из медных или углеграфитовых лент, присоединяемый к системе заземления здания.

8.12.8 Для придания необходимых упругих свойств покрытиям в спортивных залах и на спортплощадках между полиуретановым мастичным покрытием и подстилающим слоем следует предусматривать промежуточный эластичный слой из резино-полимерных рулонных материалов (регупола) или использовать мастичные композиции, содержащие в качестве наполнителя резиновую крошку. Толщина и характеристики эластичного слоя подбираются из условия обеспечения требуемой упругости пола.

8.12.9 Монолитные покрытия с повышенными эстетическими характеристиками получают, размещая на поверхности покрытия метилметакрилатные или поливинилхлоридные «чипсы», перекрываемые слоем бесцветного лака.

8.12.10 Мастичные покрытия рекомендуется выполнять из компаундов заводского изготовления, имеющих гигиеническое заключение и пожарный сертификат. В частности могут быть рекомендованы эпоксидные компаунды марок «ДИАПОЛ», «ФЕАС» и «РИЗОПОКС», полиуретановые компаунды марки «ПОЛИПЛАН» и полиэфирные компаунды марки «ПРАСПАН».

8.12.11 Все слои мастичных покрытий следует выполнять из материалов, химически совмещающихся между собой. Выбор конкретных марок следует осуществлять в соответствии с рекомендациями альбома «Полы с полимерным покрытием марки «ПРАСПАН» Материалы для проектирования М 28.02/07» или технической документацией фирм «СМТ-продукт», «ФЕАС» и «Хантсман-НМГ». При этом следует учитывать:

- в помещениях класса функциональной пожарной опасности Ф5 категорий помещений и зданий по взрывопожарной и пожарной безопасности А, Б и В1, где производятся, применяются или хранятся легковоспламеняющиеся жидкости и на путях эвакуации следует применять покрытия, относящиеся согласно сертификату пожарной безопасности к группе горючести выше Г-1;

- для изготовления антистатических покрытий следует применять компаунды, обеспечивающие создание покрытий с удельным поверхностным электросопротивлением в пределах от 106 до 109 Ом;

Рис. 24 Конструктивные схемы полов с мастичным покрытием по грунту основания в производственных и общественных помещениях

1 - лак; 2 - чипсы; 3а - мастичное диэлектрическое гладкое покрытие; 3б - мастичное антистатическое гладкое покрытие; 3в - мастичное диэлектрическое шероховатое покрытие; 4 - медные или углеграфитовые ленты; 5 - стеклоткань; 6 - кварцевая посыпка; 7а - диэлектрическая грунтовка; 7б - электропроводная грунтовка; 8 - стяжка; 9 - трубопровод; 10 - бетонный подстилающий слой; 11 - рулонная гидроизоляция; 12 - щебень, пропитанный битумом; 13 - грунт основания.

Рис. 25 Конструктивные схемы полов с мастичным покрытием по плите перекрытия в производственных и общественных помещениях

1 - лак; 2 - чипсы; 3а - мастичное диэлектрическое гладкое покрытие; 3б - мастичное антистатическое гладкое покрытие; 3в - мастичное диэлектрическое шероховатое покрытие; 4 - медные нити углеграфитовые ленты; 5 - стеклоткань; 6 - кварцевая посыпка; 7а - диэлектрическая грунтовка; 7б - электропроводная грунтовка; 8 - стяжка; 9 - трубопровод; 10 - полиэтиленовая плёнка; 11 - тепло-звукоизоляция из вспененных плит или пористо-волокнистых матов; 12 - тепло-звукоизоляция из кварцевого или керамзитового песка; 13 - плита перекрытия.

Рис. 26 Конструктивные схемы полов с мастичным покрытием в спортивных залах, расположенных на первых этажах зданий (по грунту)

1а - мастичное гладкое покрытие - залы для волейбола, баскетбола, гандбола, тенниса, аэробики; 1б - мастичное шероховатое покрытие с лицевым слоем на основе резинового гранулята - корты, беговые дорожки; 2 - шпаклёвочный слой; 3 - резино-полимерный рулонный материал (регупол); 4 - клей; 5 - стяжка; 6 - трубопровод; 7 - бетонный подстилающий слой; 8 - рулонная гидроизоляция; 9 - щебень, пропитанный битумом; 10 - грунт основания.

Рис. 27 Конструктивные схемы полов с мастичным покрытием в спортивных залах по плите перекрытия

1а - мастичное гладкое покрытие - залы для волейбола, баскетбола, гандбола, тенниса, аэробики; 1б - мастичное шероховатое покрытие с лицевым слоем на основе резинового гранулята - корты, беговые дорожки; 2 - шпаклёвочный слой; 3 - резино-полимерный рулонный материал (регупол); 4 - клей; 5 - стяжка; 6 - плита перекрытия.

Рис. 28 Конструктивные схемы полов с мастичным покрытием на открытых кортах (по грунту)

1а - мастичное гладкое покрытие; 1б - мастичное шероховатое покрытие с лицевым слоем на основе резинового гранулята; 2 - шпаклёвочный слой; 3 - резино-полимерный рулонный материал (регупол); 4 - клей; 5 - цементно-песчаная или цементно-бетонная стяжка; 6 - бетонный подстилающий слой; 7 - стяжка из асфальтобетона на основе литой асфальтобетонной смеси; 8 - стяжка из асфальтобетона на основе жесткой асфальтобетонной смеси; 9 - щебёночное основание; 10 - щебень, пропитанный битумом; 11 - грунт основания.

- для обеспечения необходимой влажности подстилающих слоев (при невозможности устранения капиллярного поднятия подпочвенных вод, необходимости ускоренного нанесения полимерного покрытия без выдержки стяжки до достижения воздушно-сухого состояния) следует применять паропроницаемые покрытия.

8.12.12 Нанесение покрытий осуществляется по следующей технологической схеме:

- подготовка поверхности бетонного перекрытия и подстилающего слоя;

- оклейка плинтусов, трапов, лотков и приямков стеклотканью (покрытия полов, подвергающихся воздействию агрессивных сред);

- нанесение грунтовочного слоя;

- оклейка всей поверхности стеклотканью (покрытия полов, подвергающихся воздействию агрессивных сред или при повышенном уровне ударных воздействий);

- приклейка резино-полимерных рулонных материалов (в спортивных залах и на спортивных площадках);

- приклейка по периметру помещения и в продольном и поперечном направлениях с шагом 3-6 м медных лент и подключение данного контура к системе заземления здания (для антистатического покрытия);

- нанесение полимерного покрытия;

- разбрасывание по не затвердевшей поверхности покрытия метилметакрилатных или поливинилхлоридных «чипсов» (для полимерных покрытий с повышенной декоративностью);

- нанесение 1 - 2 слоев бесцветного лака (для полимерных покрытий с чипсами на поверхности).

8.12.13 Мастичные покрытия полов следует выполнять по тщательно подготовленной поверхности подстилающих слоев с влажностью не более 5 %. Поверхность основания перед нанесением мастичных составов следует отфрезеровать или подвергнуть дробеструйной обработке, или, по крайней мере, отшлифовать мозаично-шлифовальной машиной с алмазными дисками. Труднодоступные места - примыкания к стенам, колоннам и т.д. шлифуются углошлифовальной машинкой (Болгаркой) со специальной насадкой. Впадины, трещины и выбоины следует зашпаклевать полимерными шпаклёвками. Отклонение поверхности от горизонтальной плоскости на длине 2 м не должно превышать 2 мм. Непосредственно перед нанесением грунтовочного слоя поверхность основания должна быть обеспылена с использованием промышленного пылесоса.

8.12.14 Выполненные в процессе изготовления бетонного подстилающего слоя деформационно-усадочные швы следует заделать до начала нанесения полимерного покрытия полимерной шпаклёвочной композицией (в полах, эксплуатирующихся при постоянной температуре) или полиуретановой эластичной композицией (в полах, при эксплуатации которых возможны изменения температуры при небольшой амплитуде колебаний). При эксплуатации покрытий с резкими и значительными колебаниями температуры рекомендуется заделать деформационно-усадочные швы полимерной шпаклёвочной композицией, выполнить полимерное покрытие и нарезать температурно-деформационные швы в продольном и поперечном направлении с шагом от 3 до 6 м с заделкой их полиуретановой композицией.

8.12.15 Нанесение грунтовочного слоя осуществляется кистью или валиком, равномерным слоем, без образования потёков и луж. При нанесении грунтовки под эпоксидные наливные полы и под покрытия всех видов, выполняемых методом «послойной технологии», с целью повышения сцепления покрытия с основанием на свеженанесённый грунтовочный слой рекомендуется равномерно разбросать кварцевую присыпку из расчёта 0,4 - 0,5 кг/м2.

8.12.16 Оклейка плинтусов, трапов, лотков и приямков, а также всей поверхности стеклотканью осуществляется в соответствии с рекомендациями главы 7 Раздела II.

8.12.17 Для приклейки резино-полимерных рулонных материалов (регупола) рекомендуется применять водостойкие клеи и мастики, обеспечивающие прочность сцепления на отрыв не менее 0,3 МПа. Рулонные материалы должны быть приклеены к нижележащему слою по всей площади. Толщина слоя клеевой прослойки должна быть не более 0,8 мм.

8.12.18 Технология изготовления электроотводящего контура осуществляется путём приклейки по периметру помещения и в продольном и поперечном направлениях с шагом 3 - 6 м медных лент или лент из графитового волокна и подключение данного контура к системе заземления здания.

8.12.19 Нанесение покрытий полов может осуществляться методом «налива» и методом «послойной технологии».

8.12.20 При нанесении методом «налива» отверждаемая композиция разливается по поверхности и разравнивается калибровочной раклей или валиком. С целью устранения образования воздушных пузырей следует выполнять прокатку наносимого покрытия игольчатым валиком. При нанесении наливного покрытия по высокопористому нижележащему слою, в частности при выполнении лицевого слоя по резино-полимерным плитам, перед нанесением покрытия следует имеющиеся поры зашпаклевать шпаклёвочной композицией.

8.12.21 Нанесение мастичного наливного покрытия может осуществляться в один или два (основной и лицевой) слоя. При повышенных требованиях к ровности и гладкости покрытий перед нанесением лицевого слоя следует отшлифовать поверхность основного слоя мозаично-шлифовальной машиной с алмазными дисками и обеспылить.

8.12.22 Метод «послойной технологии», применяемый при изготовлении покрытий полов, подвергающихся механическим воздействиям «слабой» интенсивности, а также при необходимости изготовить покрытия с шероховатой поверхностью. При данном методе на огрунтованную поверхность стяжки валиком наносится слой ненаполненной окрашенной полимерной композиции и осуществляется сплошная засыпка поверхности промытым и просушенным кварцевым песком. После отверждения композиции излишки песка удаляются и осуществляется нанесение нового слоя композиции и новая засыпка поверхности пола песком. После набора основным слоем необходимой толщины проводят нанесение последнего слоя композиции.

8.12.23 При изготовлении монолитных покрытий с текстурированной поверхностью рекомендуется выполнить основной слой методом «послойной технологии» или методом «налива», нанести валиком лицевой слой из тиксотропной полимерной композиции с последующей прокаткой этого слоя специальным валиком для получения текстурированной поверхности.

8.12.24 Необходимая шероховатость покрытий в спортивных залах и на открытых площадках достигается дополнительным нанесением отделочного слоя на основе резинового гранулята.

8.12.25 Нанесение лакового слоя осуществляется кистью или валиком, равномерным слоем, без образования потёков и луж.

8.12.26 Нанесение каждого слоя осуществляется через 12-24 часа после предыдущего. При выполнении работ температура воздуха на уровне пола, температура нижележащего слоя и укладываемых материалов должна быть не ниже +15 °С.

8.12.27 Хождение по мастичным покрытиям допускается через 24 часа после нанесения последнего слоя, а полная эксплуатация - после 7 суток воздушной выдержки при температуре не ниже +15 °С. Во избежание образования на поверхности ряби и липкости в период нанесения покрытия и воздушной выдержки полы следует защищать от сквозняков, воды и конденсирующейся влаги.

8.13 Покрытия из чугунных и стальных плит на бетонной прослойке

8.13.1 Покрытия пола из чугунных и стальных штампованных плит рекомендуется применять в помещениях производственных зданий с учётом допустимых эксплуатационных воздействий, приведённых в табл. 1, 2, 3 Приложения 1. При этом чугунные плиты с рифлёной лицевой поверхностью следует применять в зонах перетаскивания тяжестей, а также на рабочих местах, где необходимо исключить опасность скольжения работающих, а гладкие плиты - в зонах, где осуществляется движение тележек на колёсах диаметром до 250 мм и при специальных требованиях к гладкости пола.

8.13.2 Покрытия пола из чугунных и стальных штампованных плит могут выполняться по бетонному подстилающему слою и по железобетонному перекрытию (рис. 29).

8.13.3 Для покрытий полов рекомендуется использовать гладкие и рифлёные чугунные дырчатые плиты размером 298×298 мм с рёбрами жесткости и шипами на тыльной стороне и стальные штампованные перфорированные плиты размером 300×300×3 мм. Отверстия в плитах предназначены для выхода воздуха при укладке плит. Ребра жесткости и шипы обеспечивают анкеровку плит в прослойке.

8.13.4 Плиты следует укладывать на прослойку из мелкозернистого бетона при температуре воздуха на уровне пола и температуре подстилающего слоя или перекрытия, а также самих плит не ниже +5 °С. Эта температура должна поддерживаться до приобретения бетоном прослойки прочности не менее 50 % от проектной.

8.13.5 Для прослойки рекомендуется использовать мелкозернистый бетон следующего состава, мас. ч.:

портландцемент марки не ниже 400                            - 1,0;

щебень (гравий) крупностью до 10 мм                         - 1,7;

песок                                                                                - 1,0;

вода                                                                                   - 0,35 - 0,4

8.13.6 Плиты следует укладывать полосами (участками) шириной 10 - 12 м. В пределах каждой полосы плиты укладываются рядами, как правило, параллельными стенам помещения. При наличии в помещении большого числа фундаментов под оборудование, грани которых параллельны между собой, но не параллельны стенам, ряды плит следует располагать параллельно фундаментам.

8.13.7 Первый ряд плит рекомендуется укладывать вдоль стен или каналов с примыканием к ним вплотную, начиная с двух маячных плит, которые устанавливают на концах ряда.

8.13.8 Между основными маячными плитами должна быть натянута шнур-причалка и размещены с интервалом 3 - 4 м промежуточные маячные плиты.

8.13.9 Плиты каждого последующего ряда должны укладываться без перевязки швов с плитами предыдущего ряда и соблюдением ширины швов до 3 мм.

8.13.10 Бетон прослойки следует укладывать одновременно для 6 - 8 плит каждого ряда. При этом ширина полосы должна превышать ширину плит на 5 - 8 см во избежание просадки открытой кромки плит при уплотнении бетона. Толщина слоя бетона прослойки перед его уплотнением должна быть 40 - 45 мм, а после уплотнения – 30 - 35 мм. Укладка бетона должна на 1 - 2 м опережать укладку плит в ряду.

Рис. 29 Конструктивные схемы полов с покрытием из чугунных и стальных плит по подстилающему слою (а) и по перекрытию (б)

1 - плиты покрытия пола; 2 - прослойка из мелкозернистого бетона; 3 - бетонный подстилающий слой; 4 - тепло-звукоизоляция; 5 - трубопровод; 6 - грунт основания; 7 - плита перекрытия.

8.13.11 При укладке плиты осаживают равномерно при помощи вибровтапливателя, а при его отсутствии ударами молотка по деревянному прокладному бруску размерами 250×100 мм и толщиной 50 - 60 мм, положенному плашмя на плиту. Каждую плиту осаживают заподлицо со смежными так, чтобы в шов между ними не попал бетон. При этом бетон должен выступать из всех отверстий плиты, но не растекаться по её поверхности.

8.13.12 Осаживание и выравнивание плит должно быть закончено до начала схватывания бетона. При перерыве в укладке плит более 1,5 часов загустевший бетон, выступивший из-под плит предыдущего ряда, следует сколоть заподлицо с вертикальными гранями плит и удалить.

8.13.13 В местах примыкания покрытий к стенам, фундаментам под оборудование, где не размещаются целые плиты, укладывают куски плит соответствующего размера, вырезанные из целых плит. Заполнять эти места бетоном вместо укладки кусков плит не допускаются. Куски плит укладывают околотой стороной к стене.

8.13.14 Через сутки после укладки плит швы между ними следует заполнить жидким цементным тестом или цементно-песчаным раствором состава 1:1. Бетон, выступивший из прослойки через отверстия в плитах, удаляют металлическими скребками. Излишки раствора, выступившие из швов, немедленно удаляют, а поверхность плит протирают, предварительно посыпав опилками.

8.13.15 Хождение по плитам допускается не ранее, чем через 3 суток после их укладки, а нормальная эксплуатация - после набора бетоном прослойки 70 % прочности от проектной.

8.14 Покрытия из чугунных плит на песчаной прослойке

8.14.1 Покрытия пола из чугунных плит на песке рекомендуется применять в горячих цехах (кузнечных, термических, сталеплавильных, литейных, прокатных и др.) при нагреве пола до 1400 °С (остывание на полу раскалённых металлических болванок и деталей, попадание расплавленного металла в виде брызг, проливов и т.п.) и при повышенных требованиях к ровности и чистоте пола с учётом допустимых эксплуатационных воздействий, приведённых в табл. 1, 2, 3 Приложения 1.

8.14.2 Чугунные плиты могут быть уложены на песчаную прослойку по грунту, подстилающему слою и железобетонному перекрытию (рис. 30). При песчаных грунтах основания плиты могут быть уложены непосредственно по грунту.

8.14.3 Для покрытий полов рекомендуется использовать чугунные плиты размером 248×248 мм. В плите с тыльной стороны имеются ребра жесткости, а по периметру - 6 выступов. Каждая плита в покрытии пола опирается на песок и на опорные выступы смежных плит. Выступы обеспечивают взаимную связь между отдельными плитами, передачу части нагрузки на смежные плиты, ровность пола вследствие невозможности вертикального взаимного перемещения плит и перекрывают швы между плитами, препятствуя прониканию песка из прослойки на поверхность пола.

8.14.4 Прослойку из песка, располагаемую на грунте или подстилающем слое следует принимать толщиной 60 мм, а по железобетонному перекрытию - 60 - 220 мм в зависимости от интенсивности нагрева пола (табл. 4.1).

8.14.5 Для прослойки рекомендуется применять крупно- и среднезернистый песок. В гравелистом песке зёрна гравия крупностью более 10 мм должны быть отсеяны. Содержание в песке пылеватых и глинистых частиц не должно превышать 10 % по массе, а органических примесей и известняковых частиц - 5 %.

8.14.6 Для жаростойкой прослойки рекомендуется применять каменноугольные топливные шлаки, молотые отходы шамотного кирпича и другие жаростойкие сыпучие материалы с насыпной плотностью в уплотнённом состоянии 1000 - 1200 кг/м3.

Рис. 30 Конструктивные схемы полов с покрытием из чугунных плит по прослойке из песка и тепло-звукоизоляционных материалов по нежесткому подстилающему слою (а), по жесткому подстилающему слою (б) и по перекрытию (в)

1 - плиты покрытия пола; 2 - прослойка из песка; 3 - нежесткий подстилающий слой; 4 - жесткий подстилающий слой; 5 - прослойка из жаростойкого сыпучего материала; 6 - грунт основания; 7 - плита перекрытия.

8.14.7 Котельный шлак и другие жаростойкие теплоизоляционные сыпучие материалы, применяемые для прослойки, а также верхний слой грунта толщиной 90 - 100 мм при укладке плит непосредственно на песчаное основание, должны удовлетворять требованиям, предъявляемым к песку для прослойки.

8.14.8 В местах примыкания чугунных плит к каналам, приямкам, фундаментам под оборудование, стенам, полам других типов и т.п. следует предусматривать окаймляющие швы из бетона класса В22,5, закрепляющие плиты в неизменном положении во избежание их смещения в сторону открытой кромки покрытия при эксплуатации пола.

8.14.9 Песчаную прослойку, чугунные плиты и бетон окаймляющих швов укладывают при положительной температуре воздуха в помещении. Материал прослойки должен быть талым.

8.14.10 При больших размерах участка пола песчаную прослойку следует укладывать полосами (участками) шириной 10 - 15 м, начиная от стен и каналов с постепенным приближением к проезду. Песок укладывают слоем толщиной на 15 - 20 % превышающей проектную (с учётом его последующего уплотнения), уплотняют механическими катками, трамбовками или другими способами и тщательно выравнивают его поверхность. Для этого укладывают с заглублением в песок маячные рейки на расстоянии 3 - 4 м между собой, параллельно стенам помещения. Отметка верха реек должна соответствовать отметке чистого пола, отклонение не должно превышать +5 мм. Выравнивают поверхность прослойки правилом, передвигаемым по маячным рейкам как по направляющим. Выравнивание прослойки должно опережать укладку плит не менее чем на 2 м.

8.14.11 Уплотнённый и выровненный песок должен быть предохранён от разрыхления, затрудняющего укладку плит. Ходьба и движение транспорта по прослойке не допускается.

8.14.12 Укладку плит следует производить от края участка, примыкающего к полу другого типа, каналам и другим конструкциям с тем, чтобы обеспечить подноску и укладку плит, исключив ходьбу по выровненной песчаной прослойке.

8.14.13 Первый ряд плит следует укладывать поперёк полосы плит, уложенных по шнуру-причалке, натянутой на высоте 35 - 40 мм над песчаной прослойкой на расстоянии 70 - 100 мм от границы пола из чугунных плит. При этом первую плиту следует укладывать в углу участка вплотную к причалке без вдавливания в песок, а последующие плиты также укладывают без вдавливания в песок в повёрнутом на 90° положении по отношению к предыдущей, что обеспечивает заведение выступов укладываемой плиты под ранее уложенные, а выступов последних - под последующую плиту. Плотность укладки плит обеспечивается ударами молотка массой 2 - 3 кг по плите сбоку. Зазоры между плитами не должны превышать 3 мм.

8.14.14 Укладку каждого последующего ряда плит следует начинать от края участка после укладки 6 - 8 плит предыдущего ряда с сохранением этого интервала в дальнейшем. Плиты укладывают в направлении «от себя» и заканчивают укладку на расстоянии не менее 70 мм от границы участка (стен, фундаментов под оборудование) для устройства в этом промежутке окаймляющего шва из жаростойкого бетона. Вслед за первой аналогично укладываются следующие полосы покрытия.

8.14.15 После укладки плит участок пола следует укатать катком массой 1 - 3 т до полной осадки плит. При малых объёмах работ и в местах, не доступных для катков, а также на краях участка пола шириной 1 м осадку плит производят деревянными трамбовками. Трамбование производят за два раза: вначале на 10 - 15 мм (на половину высоты рёбер жесткости), а затем полностью.

8.14.16 Сразу же после осаживания плит выполняют окаймляющие швы. Для чего между крайним рядом плит и стеной, полом другого типа, канатом выбирают песок до подстилающего слоя, а при его отсутствии делают борозду на глубину 100 - 120 мм. Эту борозду промывают водой, заполняют бетоном, уплотняют его трамбованием и заглаживают поверхность заподлицо с поверхностью пола.

8.14.17 Для окаймляющих швов рекомендуется применять жесткий жаростойкий бетон класса не ниже В22,5. В местах, где при эксплуатации пол не будет нагреваться (вблизи стен и т.п.) для окаймляющих швов допускается применять обычный бетон.

8.14.18 Хождение по плитам допускается сразу же после укатки, а нормальная эксплуатация - после набора бетоном окаймляющих швов 70 % прочности от проектной.

8.15 Покрытия из торцовых деревянных шашек

8.15.1 Покрытия пола из торцовых деревянных шашек рекомендуется применять в помещениях производственных зданий, где полы в процессе эксплуатации подвергаются ударам от падения твёрдых предметов, а также если на полу обрабатываются или могут падать на него детали и инструмент, повреждение которых недопустимо (например, в автосборочных цехах), с учётом допустимых эксплуатационных воздействий, приведённых в табл. 1, 2, 3 Приложения 1.

8.15.2 Покрытия, выполненные из торцовых деревянных шашек, являются «тёплыми» - создающими комфортные условия для производственного персонала.

8.15.3 Покрытия пола из торцовых деревянных шашек могут выполняться по нежесткому или бетонному подстилающему слою, а также по железобетонному перекрытию (рис. 31).

8.15.4 Для торцовых покрытий рекомендуется применять деревянные антисептированные шашки прямоугольное и прямоугольные с пазами треугольного сечения, изготовленные из здоровой древесины хвойных пород и твёрдых лиственных пород, за исключением пихты, берёзы, бука и дуба (ОСТ 13-226-86). Влажность шашек при укладке не должна превышать 12 %.

8.15.5 При полах на грунте с нежестким подстилающим слоем (шлаковым, гравийным, щебёночным), а также при неровной поверхности бетонного подстилающего слоя рекомендуется применять шашку высотой 80 мм, укладывая её на песчаную прослойку толщиной 10 - 20 мм.

8.15.6 В полах по бетонному подстилающему слою и по перекрытию рекомендуется использовать торцовую шашку высотой 60 мм, укладывая её на битумной мастике по предварительно огрунтованной бетонной поверхности. Толщина битумной прослойки должна составлять 2 - 3 мм.

8.15.7 Песок в прослойке при укладке шашки должен быть воздушно-сухим с влажностью не более 3 %. Песчаную прослойку следует уплотнить и выровнять до укладки шашки.

8.15.8 Для битумной прослойки и заполнения швов в торцовых покрытиях следует применять битум с температурой размягчения по способу «кольцо и шар» равной 70 - 80 °С.

8.15.9 Для покрытий полов с повышенными требованиями к эстетике торцовые плашки рекомендуется укладывать на 2-х компонентном полиуретановом клее марки UZIN-MK 92S, предварительно прогрунтовав поверхность бетонного основания 2-х компонентной грунтовкой под клеи марки UZIN-РЕ 420 (фирма «UZIN», ФРГ).

8.15.10 Работы по устройству покрытия из торцовой шашки следует выполнять при температуре воздуха на уровне пола не ниже +5 °С и вести их участками (картами) размером 12×12 м, разделёнными с помощью металлических труб диаметром 30 мм, которые размещают по линии расположения деформационных швов в покрытии.

8.15.11 Шашку следует укладывать рядами перпендикулярно направлению движения, начиная от входных дверей (ворот), в направлении «от себя» (находясь на уложенном покрытии) при песчаной прослойке по нежесткому подстилающему слою и в направлении «на себя» при прослойке из битумной мастики по бетонному подстилающему слою или железобетонному перекрытию.

8.15.12 Укладку рекомендуется начинать от одной из труб рядами, параллельными между собой и деформационному шву. При этом ряд, примыкающий к деформационному шву, должен содержать только целые шашки.

Рис. 31 Конструктивные схемы полов с покрытием из торцовой шашки по подстилающему слою (а) и по перекрытию (б)

1 - торцовая шашка; 2 - прослойка из битумной мастики; 3 - прослойка из песка; 4 - нежесткий подстилающий слой; 5 - бетонный подстилающий слой; 6 - грунт основания; 7 - стяжка; 8 - трубопровод; 9 - тепло-звукоизоляция; 10 - плита перекрытия.

8.15.13 При устройстве покрытия из торцовой шашки её погружают с помощью металлических щипцов всеми гранями, кроме верхнего торца, в горячий битум с температурой не ниже 150 °С и немедленно укладывают в покрытие вплотную к ранее уложенным шашкам с перевязкой швов не менее, чем на 1/3 их длины. Швы между шашками заполняются битумной мастикой. Толщина швов между шашками, а также величина уступа между двумя смежными шашками не должны превышать 2 мм.

8.15.14 После окончания укладки шашек по всей площади карты следует из деформационных швов, примыкающих к ранее уложенному покрытию, следует удалить трубы, а каналы глубиной 30 мм заполнить сухим песком и до верха шашки залить горячей битумной мастикой. Шашки покрываются двухкомпонентным маслом UZIN МН 88 (фирма «UZIN», ФРГ) в 2 или 4 слоя/

8.15.15 Эксплуатация полов допускается сразу же после остывания битумной мастики.

8.16 Покрытия дощатые

8.16.1 Покрытия дощатые рекомендуется применять в комнатах, коридорах и прихожих жилых и общественных зданий, во вспомогательных и бытовых помещениях производственных зданий, спортзалах (кроме залов для легкой атлетики и футбола), а также животноводческих помещениях - в стойлах и боксах для коров, в станках для свиней, в стойлах для лошадей, групповых клетках для телят с учётом допустимых эксплуатационных воздействий, приведённых в табл. 1, 2, 3 Приложения 1.

8.16.2 Дощатые покрытия относятся к «тёплым» полам и характеризуются показателем теплоусвоения менее 9 Вт/(м2 · К).

8.16.3 Для дощатых покрытий в жилых, общественных и производственных зданиях рекомендуется применять строганые доски (ГОСТ 8242-88) толщиной от 29 до 50 мм с влажностью до 12 %. Доски должны быть антисептированы.

8.16.4 В спортивных залах (кроме залов для легкой атлетики, футбола и спортивной гимнастики) покрытия полов рекомендуется устраивать из досок толщиной 32 - 37 мм (в острожке). В залах для физкультурно-оздоровительных занятий рекомендуется дощатые покрытия с толщиной доски от 37 до 39 мм (доски толщиной 29 мм рекомендуется применять в помещениях для занятий на тренажёрах).

8.16.5 В связи с тем, что типовые закладные детали для закрепления гимнастических снарядов крепятся в полу с помощью шурупов длиной не менее 50 мм, и надежность крепления обеспечивается, если шурупы полностью находятся в теле покрытия пола, в залах для спортивной гимнастики деревянные полы рекомендуются выполнять из брусков сечением 60×60 мм.

8.16.6 Закладные детали для крепления спортоборудования в спортзалах должны устанавливаться заподлицо с поверхностью пола.

8.16.7 Дощатые покрытия полов укладываются по деревянным лагам (рис. 32, 33).

8.16.8 В жилых, общественных и производственных зданиях, а также в залах для тяжёлой атлетики, борьбы, бокса для лаг должны использоваться нестроганые доски (ГОСТ 2695-83*, ГОСТ 8486-86*Е) 2-го или 3-го сорта из здоровой антисептированной древесины хвойных или мягких лиственных пород, за исключением липы и тополя. Доски могут иметь тупой обзол без коры. Толщину лаг, опирающихся непосредственно на перекрытия или сплошной звукоизоляционный слой, следует принимать равной 40 мм при ширине 80 - 100 мм, а толщину лаг, укладываемых на отдельные опоры (столбики в полах на грунте, балки перекрытий и др.) 40 - 50 мм при ширине 100 - 120 мм. Влажность лаг не должна превышать 18 %.

8.16.9 В связи с повышенными требованиями по показателю упругости к полам из доски в спортивных залах для игровых видов спорта покрытия их следует выполнять по двухлаговому основанию с резиновыми элементами, расположенными как между основанием и датой, так и между лагами (рис. 33б). Следует применять лаги заводского изготовления, в частности могут быть рекомендованы лаги фирмы «Junkers» (ФРГ).

Рис. 32 Конструктивные схемы полов с дощатым покрытием в жилых, общественных и административных зданиях

1 - покрытие дощатое; 2 - лага обычная; 3 - лага регулируемая; 4 - болт-стойка; 5 - деревянная прокладка; 6 - гидроизоляция; 7 - полиэтиленовая плёнка; 8 - кирпичный или бетонный столбик; 9 - стяжка; 10 - кварцевый песок; 11 - керамзитовый песок; 12 - плиты пенополистирольные; 13 - многопустотная плита перекрытия; 1 4 - сплошная плита перекрытия; 15 - бетонный подстилающий слой; 16 - грунт основания; 17 - звукоизолирующая прокладка.

Рис. 33 Конструктивные схемы полов с дощатым покрытием из доски по однолаговому основанию (а) и двухлаговому основанию (б) и с деревянным покрытием из брусков (в) в спортивных залах

1 - покрытие дощатое; 2 - лага; 3 - связь между лагами; 4 - резиновый элемент; 5 - деревянная прокладка; 6 - гидроизоляция; 7 - кирпичный или бетонный столбик; 8 - звукоизолирующая прокладка; 9 - стяжка; 10 - бетонный подстилающий слой; 11 - плита перекрытия с ровной поверхностью; 12 - плита перекрытия с неровной поверхностью; 13 - грунт основания.

8.16.10 Под покрытия из деревянных брусков толщиной 60 мм должны применяться лаги из бруска сечением 75×75 мм (рис. 33в).

8.16.11 В целях повышения жесткости пола при восприятии больших усилий в местах крепления спортивных гимнастических снарядов, между лагами из бруска сечением 75×75 мм должны быть предусмотрены связи из брусков сечением 60×60 мм, устанавливаемые в шахматном порядке с шагом 2,5 м.

8.16.12 Дощатые полы в жилых, общественных и производственных зданиях, а также спортивных залах могут быть выполнены по грунту, по бетонному подстилающему слою или по перекрытию.

8.16.13 При устройстве полов по грунту, если уровень их в цокольном или подвальном помещении ниже уровня отмостки, следует предусмотреть бетонную подготовку из бетона класса В12,5 толщиной 80 мм по слою щебня, утрамбованному в грунт на глубину не менее 40 мм. По бетонной подготовке устанавливают столбики из кирпичной кладки или бетона.

8.16.14 При устройстве полов по грунту, когда их уровень выше уровня отмостки здания, столбики устанавливают непосредственно по утрамбованному грунту.

8.16.15 Для столбиков под лаги в полах, устраиваемых на грунте, рекомендуется применять обыкновенный глиняный кирпич (ГОСТ 530-95) марки 75 и выше и цементно-песчаный раствор марки не ниже М25 или бетон класса В 12,5. Устройство столбиков из силикатного кирпича и других искусственных камней, понижающих прочность при увлажнении, не допускается.

8.16.16 Для предотвращения появления капиллярной влаги в элементах пола и загнивания деревянных изделий на столбиках предусматривают гидроизоляцию из двух слоев рулонного битумного или битумно-полимерного материала, на котором размещают деревянные прокладки, а по ним укладывают лаги. Края гидроизоляционного рулонного материала должны быть выпущены из-под прокладок на 30 - 40 мм и прикреплены к ним гвоздями.

8.16.17 Ширина деревянных прокладок, укладываемых по столбиками под лаги в полах на грунте, должна быть 100 - 150 мм, длина 200 - 250 мм, а толщина не менее 25 мм. Влажность прокладок не должна превышать 18 %.

8.16.18 В полах по перекрытию, к которым не предъявляются требования по их звукоизоляции, лаги укладывают, втапливая их в выравнивающий слой из песчаной засыпки, а в помещениях с нормируемыми показателями звукоизоляции лаги следует укладывать по звукоизолирующим прокладкам. Для звукоизоляционных прокладок рекомендуется применять минераловатные плиты или стекловолокнистые плиты на синтетической связке плотностью до 150 кг/м3, минераловатные маты плотностью до 150 кг/м3, пенополистирольные плиты плотностью 25 - 50 кг/м3 и древесноволокнистые плиты плотностью до 250 кг/м3. Возможно также применение звукоизоляционных засыпок из керамзитового или кварцевого песка, а также сочетание засыпок со звукоизолирующими прокладками.

8.16.19 Высота подпольного пространства в полах на грунте (расстояние от основания или подстилающего слоя до дощатого покрытия пола) должна быть не более 250 мм, а в полах на перекрытиях (расстояние от плиты перекрытия или звукоизоляционного слоя до дощатого покрытия) не менее 10 мм.

8.16.20 Пролёт лаг при установке их на столбики следует принимать не более 0,9 м при их толщине 40 мм и не более 1,1 м при толщине 50 мм.

8.16.21 При шпунтованной доске толщиной 29 и 37 мм шаг лаг следует принимать соответственно 400 и 600 мм, а в полах спортивных залов с покрытием из деревянной доски или деревянных брусков 500 мм. При больших эксплуатационных нагрузках на пол из досок (например, в спортивных залах при распределённых нагрузках более 500 кг/см2 и сосредоточенных - более 200 кг) расстояние между опорами для лаг и их толщин принимаются по расчёту.

8.16.22 В зданиях с деревянными перекрытиями дощатое покрытие пола может выполняться непосредственно по деревянным балкам перекрытий.

8.16.23 Перед укладкой лаг на междуэтажных железобетонных перекрытиях следует заделать монтажные отверстия в плитах и щели между плитами и стенами цементно-песчаным раствором марки не ниже M100.

8.16.24 Лаги следует укладывать поперёк направления света из окон, а в помещениях с определённым направлением движения людей (например, в коридорах) - поперёк прохода с тем, чтобы доски покрытия располагались вдоль направления движения. Между лагами и стенами следует оставлять зазор шириной 20 - 30 мм.

8.16.25 Длина стыкуемых лаг должна быть не менее 2-х метров. Стыковать их между собой при укладке на перекрытие следует торцами в любом месте помещения со смещением стыков в смежных лагах не менее чем на 0,5 м. При размещении лаг на столбиках стыки их должны размещаться на столбиках.

8.16.26 В местах дверных проёмов и перегородках следует предусматривать уширенную лагу, выступающую не менее чем на 50 мм с каждой стороны, чтобы обеспечить опирание покрытия пола в смежных помещениях на одну лагу.

8.16.27 В целях снижения трудоёмкости работ, сокращения сроков по устройству пола и повышения качества рекомендуется применять регулируемые лаги со сквозными резьбовыми отверстиями (рис. 9). Технология их установки приведена в п. 5.118 - 5.121.

8.16.28 Работы по настилке досок м брусков следует производить при температуре воздуха в помещении не ниже 10 °С и его влажности до 70 %.

8.16.29 Укладка досок или брусков деревянного покрытия должна производиться в один слой, непосредственно по лагам, перпендикулярно им. Доски покрытия следует соединять между собой боковыми кромками в шпунт и сплачивать. Уменьшение ширины покрытия при сплачивании должно быть не менее 0,5 %. Зазоры между досками покрытия допускаются только в отдельных местах не более 1 мм.

8.16.30 Каждая доска дощатого покрытия должна быть пришита к лаге гвоздями длиной в 2 - 2,5 раза больше толщины доски. Гвозди следует забивать в пласт досок наклонно с втапливанием шляпок. Ряды гвоздей вдоль лаг должны быть прямолинейными.

8.16.31 Стыки торцов досок покрытия, торцов с боковыми кромками досок и стыки боковых кромок смежных досок без шпунтового соединения между ними (например, в дверных проемах) следует располагать на лагах и выполнять с тщательной подгонкой по прямой линии, не допуская образования щелей. Каждую из смежных досок, опирающихся на общую лагу, следует пришивать к этой лаге.

8.16.32 Для устранения уступов между досками или брусками и провесов после настилки полов поверхность покрытия выравнивают строгальными или шлифовальными машинами.

8.16.33 Для проветривания подпольного пространства полов на грунте в помещениях, расположенных на 1 этаже зданий без технического подполья, стен и перегородок должны быть предусмотрены щелевые плинтусы, либо в покрытии пола или галтелях оставлены отверстия в двух противоположных углах помещения. Отверстия общей площадью 20 - 30 см следует перекрыть металлическими решетками, возвышающимися над полом на 7 - 10 мм.

8.16.34 По периметру помещения устанавливаются плинтусы, закрепляемые гвоздями либо только к стене, либо только к покрытию пола.

8.16.35 После окончания всех строительных работ в помещении остроганные и отшлифованные дощатые полы очищают от стружек и опилок, грунтуют, а затем шпаклюют. Высохший шпаклёвочный слой зачищают шлифовальными машинами или вручную при помощи пемзы и наждачной бумаги, а затем окрашивают, нанося окрасочные составы за два раза.

8.16.36 Дощатые полы в животноводческих помещениях могут быть выполнены по глинобитному или по бетонному подстилающему слою (рис. 34).

8.16.37 Бетонный подстилающий слой в полах животноводческих помещений рекомендуется выполнять из бетона класса В7,5 толщиной 80 мм, а глинобитный - толщиной 120 мм.

8.16.38 В животноводческих помещения для дощатых покрытий рекомендуется применять строганные антисептированные доски (ГОСТ 8242-88) толщиной не менее 37 мм с влажностью до 12 %.

8.16.39 Для лаг должны использоваться нестроганые доски (ГОСТ 2695-83*, ГОСТ 8486-86*Е). Поперечное сечение лаг должно быть трапецевидной формы - толщиной 60-70 мм, шириной 100 и 120 мм. Лаги должны быть антисептированы или осмолены.

8.16.40 Поскольку полы в животноводческих помещениях не должны иметь подпольных пространств, создающих застойные зоны для продуктов жизнедеятельности животных, лаги укладываются на подстилающий слой с шагом 1,0 - 1,5 м широким распилом вниз, а промежутки между ними заполняют плотно утрамбованным бетоном или глиной.

8.16.48 На лаги и подстилающий слой должна быть нанесена прослойка из горячей битумной мастики толщиной 2 - 3 мм, к которой доски должны прилегать без зазора. Доски пришиваются к лагам гвоздями длиной 50 - 70 мм.

8.17 Покрытия из штучного и наборного паркета

8.17.1 Покрытия полов из наборного и штучного паркета рекомендуется применять в жилых домах, в общественных, спортивных (в залах для волейбола, мини-футбола, баскетбола, гандбола, сквош) и административных зданиях, а также в ряде специальных помещений общественных зданий (многофункциональных залах, залах для бальных и эстрадных танцев, аэробики), больницах и поликлиниках с учётом допустимых эксплуатационных воздействий, приведённых в табл. 1, 2, 3 Приложения 1.

8.17.2 Покрытия, выполненные из штучного и наборного паркета, являются «тёплыми» и характеризуются показателем теплоусвоения при укладке на плотный бетон, равным 12 Вт/(м2 · К).

8.17.3 Для покрытий из паркета применяются штучный, наборный и готовый паркет.

8.17.4 Штучный и наборный паркет должен удовлетворять требованиям ГОСТ 862.1-85. Паркет из сосны и лиственницы допускается только в помещениях, в которых полы не подвержены интенсивному износу. Покрытия полов должны выполняться только из одной породы древесины и одного рисунка; применение паркета различного цвета и размера допускается только для создания специального рисунка.

8.17.5 Рекомендуется применять паркетные планки толщиной не менее 10 мм, при этом их ширина во избежание возможного поперечного коробления не должна превышать пяти толщин. Влажность паркета при укладке не должна быть более 10 %.

8.17.6 Готовый паркет - штучный паркет с многослойными (2 - 3-х слойными) плашками и отшлифованной и покрытой лаком в заводских условиях лицевой поверхностью. Выпускается по технической документации заводов-изготовителей и характеризуется пониженным расходом древесины уникальных пород (нижележащие слои изготавливаются из менее ценных пород) и пониженной склонностью к короблению при изменении влажности.

Рис. 34 Конструктивные схемы полов с дощатым покрытием в животноводческих зданиях

1 - покрытие дощатое; 2 - прослойка из битумной мастики; 3 - лага; 4 - глинобитный подстилающий слой; 5 - бетонный подстилающий слой; 6 - грунт основания.

8.17.7 Для полов в спортивных залах применяется специальный штучный паркет (в частности Tarket Helze/Erable (ФРГ)), выпускаемый по технической документации заводов-изготовителей и характеризующийся повышенной длиной планки (до 3700 мм) и наличием пазов и гребней как на боковых, так и торцевых кромках.

8.17.8 Покрытия из паркета могут быть выполнены непосредственно по бетонному основанию или железобетонному перекрытию (при ровной поверхности), по выравнивающей цементно-песчаной, гипсовой или легкобетонной стяжке, сплошному деревянному основанию или по сборной стяжке из спаренных гипсоволокнистых листов или древесно-стружечных плит (рис. 36 - 43).

8.17.9 Наборный паркет с паркетными планками из древесины различных пород (паркетный ковёр) укладываются, как правило, по прослойке из фанеры, поскольку технология изготовления данного покрытия предусматривает крепление планок не только клеями, но и мелкими гвоздями. Гвозди следует забивать в пласт планок наклонно с втапливанием шляпок (рис. 35).

Рис. 35 Конструктивные схемы полов с покрытием из штучного и наборного паркета из различных пород дерева (паркетный ковер)

1 - покрытие из паркета; 2 - клей; 3 - мелкий гвоздь; 4 - сборная стяжка из фанеры; 5 - шуруп или дюбель; 6 - цементно-песчаная стяжка; 7 - бетонное основание; 8 - плита перекрытия; 9 - грунт основания.

8.17.10 Для улучшения звукоизоляции от ударного и воздушного шума полов, выполненных по перекрытиям, рекомендуется:

- устройство под монолитными или сборными стяжками тепло- и звукоизоляционного слоя из минераловатных плит или стекловолокнистых плит на синтетической связке плотностью до 150 кг/м3, минераловатных матов плотностью до 175 кг/м3, пенополистирольных плит плотностью не менее 25 кг/м3, рулонного стекловойлочного материала марки «Фибиол» (ТУ 5763-003-50646256-2002), характеризующегося снижением индекса приведённого уровня ударного шума не менее 20 дБ, керамзитового или кварцевого песка;

- устройство между монолитными или сборными стяжками и паркетным покрытием промежуточного слоя из плит пробко-резинового гранулята марок UZ1N-RR 188 или UZIN-RR 189 (фирма «UZIN», ФРГ), снижающих индекс приведённого уровня ударного шума при толщине h = 3 мм, h = 4 мм и h = 6 мм соответственно на 10 дБ, 15 дБ и 20 дБ, или из древесно-волокнистых плит плотностью 800 - 850 кг/м3 и листов водостойкой фанеры размером 750×750 мм толщиной 10 - 18 мм, укладываемых в разбежку с зазором 3 - 5 мм.

8.17.11 При укладке паркета на сборные стяжки из ГВЛ фирмы «Кнауф» для снижения напряжений между паркетом и основанием и исключения возможности коробления паркета при изменении влажности воздуха между ним и основанием рекомендуется располагать разделительный слой толщиной 1 мм из рулонного материала на основе полиэстерного волокна марки UZIN Multimoll Vlies (фирма «UZIN», ФРГ).

8.17.12 Покрытия из паркета в спортивных залах из спортивного паркета с повышенными требованиями к ровности подстилающих слоев, следует выполнять по выравнивающей стяжке из самовыравнивающихся композиций марок Uzin NC-110, Uzin NC-150S или Uzin NC-160 или по сборной стяжке из водостойкой фанеры, уложенной по лагам (рис. 44).

Рис. 36 Конструктивные схемы полов на грунте с покрытием из штучного и наборного паркета по ровному бетонному основанию и по монолитным цементно-песчаным или гипсовым стяжкам

1 - покрытие из паркета; 2 - клей; 3 - монолитная цементно-песчаная или гипсовая стяжка; 4 - трубопровод; 5 - бетонный подстилающий слой; 6 - грунт основания.

Рис. 37 Конструктивные схемы полов на перекрытиях с покрытием из штучного и наборного паркета по ровному бетонному перекрытию и по монолитным цементно-песчаным или гипсовым стяжкам

1 - покрытие из паркета; 2 - клей; 3 - монолитная цементно-песчаная или гипсовая стяжка; 4 - трубопровод; 5 - фанера; 6 - древесно-волокнистая плита; 7 - дюбель; 8 - засыпка из кварцевого или керамзитового песка; 9 - плиты пенопластовые или пористо-волокнистые маты; 10 - плита перекрытия с ровной поверхностью; 11 - плита перекрытия с неровной поверхностью.

Рис. 38 Конструктивные схемы полов на грунте с покрытием из штучного и наборного паркета по сборным стяжкам из ГВЛВ

1 - покрытие из паркета; 2 - клей; 3 - упругая прослойка; 4 - крупноформатный гипсоволокнистый лист; 5 - сборная стяжка из готовых элементов из гипсоволокнистых листов; 6 - кварцевый песок; 7 - трубопровод; 8 - обкладка трубы пористо-волокнистыми матами; 9 - защитный металлический кожух; 10 - дюбель разжимной; 11 - пароизоляция - полиэтиленовая плёнка; 12 - бетонный подстилающий слой; 13 - наливная гидроизоляция - щебень или гравий, пропитанный битумом; 14 - рулонная гидроизоляция; 15 - цементно-песчаная стяжка; 16 - грунт основания.

Рис. 39 Конструктивные схемы полов на плите перекрытия с покрытием из штучного и наборного паркета по сборным стяжкам из ГВЛВ

1 - покрытие из паркета; 2 - клей; 3 - упругая прослойка; 4 - крупноформатный гипсоволокнистый лист; 5 - сборная стяжка из готовых элементов из гипсоволокнистых листов; 6 - кварцевый или керамзитовый песок; 7 - пористо-волокнистые маты или пенопластовые плиты; 8 - трубопровод; 9 - обкладка трубы пористо-волокнистыми матами; 10 - защитный металлический кожух; 11 - дюбель разжимной; 12 - пароизоляция - полиэтиленовая плёнка; 13 - плита перекрытия.

Рис. 40 Конструктивные схемы полов на грунте с покрытием из штучного и наборного паркета по черновому деревянному полу

1 - покрытие из паркета; 2 - клей; 3 - фанера; 4 - черновой деревянный пол; 5 - шуруп; 6 - гвоздь К4×100; 7 - лага; 8 - деревянная прокладка; 9 - гидроизоляция; 10 - кирпичный или бетонный столбик; 11 - бетонный подстилающий слой; 12 - грунт основания.

Рис. 41 Конструктивные схемы полов на грунте с покрытием из штучного и наборного паркета по сборным стяжкам из ДСП

1 - покрытие из паркета; 2 - клей паркетный; 3 - сборная стяжка из ДСП; 4 - клей водно-дисперсионный; 5 - пароизоляция (пергамин); 6 - кварцевый песок; 7 - лага обычная; 8 - лага регулируемая; 9 - болт-стойка; 10 - саморез; 11 - деревянная прокладка; 12 - гидроизоляция рулонная; 13 - полиэтиленовая плёнка; 14 - кирпичный или бетонный столбик; 15 - трубопровод; 16 - бетонный подстилающий слой; 17 - наливная гидроизоляция - щебень или гравий, пропитанный битумом; 18 - цементно-песчаная стяжка; 19 - грунт основания.

Рис. 42 Конструктивные схемы полов на плите перекрытия с покрытием из штучного и наборного паркета по сборным стяжкам из ДСП

1 - покрытие из паркета; 2 - клей паркетный; 3 - сборная стяжка из ДСП; 4 - клей водно-дисперсионный; 5 - пароизоляция (пергамин); 6 - полиэтиленовая пленка; 7 - кварцевый песок; 8 - лага регулируемая; 9 - болт-стойка; 10 - саморез; 11 - пористо-волокнистые маты и пенопластовые плиты; 12 - трубопровод; 13 - плита перекрытия.

Рис. 43 Конструктивные схемы полов с покрытием из штучного и наборного паркета по сборным стяжкам из ДСП по деревянным балкам

1 - покрытие из паркета; 2 - клей паркетный; 3 - сборная стяжка из ДСП; 4 - клей водно-дисперсионный; 5 - саморез; 6 - деревянная балка; 7 - керамзит; 8 - пористо-волокнистые маты или пенопластовые плиты; 9 - пароизоляция (пергамин); 10 - полиэтиленовая плёнка; 11 - ДСП-плита.

Рис. 44 Конструктивные схемы полов с покрытием из паркета в спортивных залах для игровых видов спорта - волейбола, мини-футбола, баскетбола, а также в многофункциональных залах и залах для бальных и эстрадных танцев.

1 - покрытие из специального штучного паркета; 2 - клей; 3 - упругая подложка; 4 - сборная стяжка из фанеры; 5 - саморез; 6 - лага; 7 - резиновый элемент; 8 - труба; 9 - бетонный подстилающий слой; 10 - плита перекрытия с ровной поверхностью; 11 - плита перекрытия с неровной поверхностью; 12 - рулонная гидроизоляция; 13 - цементно-песчаная стяжка; 14 - щебень, пропитанный битумом; 15 - грунт основания.

8.17.13 В связи с повышенными требованиями к покрытиям полов из паркета в спортивных сооружениях по показателю упругости сборные стяжки из водостойкой фанеры следует выполнять:

- по однолаговому основанию - неравноупругий пол, допустимый для залов тяжёлой атлетики, борьбы, бокса, так техническая эксплуатация полов осуществляется в этих залах по коврам, на помостах и рингах;

- по двухлаговому основанию - упругий пол, допустимый для всех видов залов.

8.17.14 Под покрытия из паркета должны быть использованы лаги заводского изготовления, в частности могут быть рекомендованы лаги фирмы «Junkers».

8.17.15 Наборный и штучный паркет следует приклеивать к основаниям быстро твердеющими мастиками на водостойких вяжущих, соответствующих требованиям ГОСТ 30307-95 и ГОСТ 24064-80. Рекомендуются, в частности водно-дисперсионные клеи марок UZIN-MK 73, UZIN-MK 80 и UZIN-MK 80S (фирма «UZIN», ФРГ) и марки Thomsit P 618 (фирма «Хенкель Баутехник», ФРГ), полимерные клеи на растворителях: однокомпонентные «Перминид» (ТУ 400-1-136-78), UZIN-MK 97 и Thomsit P 600 и 2-х компонентные полиуретановые UZIN-MK 92S и Thomsit P 625. Возможно применение и битумно-полимерных клеев и мастик: «Универсальная мастика» (ТУ 5075-001-03989419-93), битумно-скипидарная мастика «Биски» (ТУ 400-2-85-76), битумно-синтетический клей (ТУ 400-2-262-77) и др. На водно-дисперсионные и битумно-полимерные клеи рекомендуется укладывать штучный паркет из обычных пород дерева, на клеях на органических растворителях - паркет из сильно впитывающих пород дерева (бук), а на 2-х компонентных клеях - паркет из экзотических пород дерева. Подробные рекомендации по выбору марки клея, выпускаемого фирмами «UZIN» и «Хенкель Баутехник» приведены в альбомах «Полы жилых, общественных, производственных и спортивных зданий с применением материалов немецкой фирмы «UZIN» M 28.16/03 и «Полы жилых, общественных и производственных зданий с применением материалов фирмы «Хенкель Баутехник» М 28.06/06.

8.17.16 Паркетные планки в покрытиях полов спортивных залов следует приклеивать однокомпонентным клеем марки UZIN-MK 73 или двухкомпонентным полиуретановым клеем марки UZIN-MK 92S (при очень интенсивных нагрузках).

8.17.17 Не рекомендуется применение водно-дисперсионных клеёв для укладки паркетных планок толщиной меньше 10 мм.

8.17.18 К фанере или деревянным черным полам паркетные планки могут закрепляться гвоздями, забиваемых наклонно в основание нижней щеки паза на кромках паркетных планок с втапливанием шляпок, или на вышеуказанных клеях. При креплении паркетных планок гвоздями под покрытие рекомендуется вводить прослойку из строительного картона или слоев обёрточной бумаги для устранения скрипа.

8.17.19 Для крепления древесноволокнистых плит, фанеры, плит пробко-резинового гранулята марок UZIN-RR 188 или UZIN-RR 189 и рулонного материала на основе полиэстерного волокна марки UZIN Multimoll Vlies к основанию следует применять клеи для паркета. Листы фанеры должны быть дополнительно закреплены дюбелями к цементно-песчаной стяжке и саморезами или шурупами к деревянным черным полам.

8.17.20 Работы по наклейке паркета следует выполнять при температуре воздуха в помещении не ниже 10 °С и его влажности до 60 %. Данный температурно-влажностный режим следует поддерживать и при эксплуатации покрытий.

8.17.21 Весовая влажность бетона междуэтажных перекрытий перед укладкой паркета не должна превышать 4 %, стяжек на основе цементного, полимерцементного и гипсового вяжущего - не более 5 %, стяжек из древесно-волокнистых плит - 12 %.

8.17.22 Паркет следует укладывать в соответствии с принятым рисунком: «в ёлку» с фризами по периметру помещения и без них; «квадратом» - прямым и развёрнутым диагонально; «прямой» - с расположением планок в одном направлении и стыковкой торцами и кромками. При этом следует иметь ввиду, что при рисунке «прямой» напряжения, возникающие в древесине планок при влагосменах, распространяются в одном направлении - поперёк планок, что может снизить эксплуатационную надёжность пола.

8.17.23 Паркет в помещениях спортивных зданий укладываются по схеме «прямой» - с расположением планок в одном направлении и стыковкой торцами и кромками.

8.17.24 Перед укладкой паркета по цементно-песчаной стяжке на битумных клеевых составах для повышения адгезии следует прогрунтовать стяжку раствором битума в бензине состава 1:2 - 3. Огрунтовку рекомендуется производить через сутки после устройства стяжек, так как в этом случае образующаяся плёнка не только создаёт условия для надёжного сцепления битумной мастики с раствором, но и способствует набору прочности раствором, так как препятствует испарению воды из стяжки.

8.17.25 Перед укладкой паркета на клеях фирмы Uzin (ФРГ) по цементно-песчаной стяжке или фанере ее необходимо грунтовать под клей Uzin МК-73 грунтовкой Uzin РЕ-317, под клей Uzin MK-92 S грунтовкой Uzin PE-420 (2-х компонентной, эпоксидной). При укладке паркета на стяжки из саморазравнивающихся композиций марки «UZIN» и на клея «UZIN» грунтовка не требуется если поверхность не загрязнена и прошло не более 3-х недель со дня их укладки.

8.17.26 При применении клеевых композиций фирмы «Хенкель Баутехник» бетонные основания рекомендуется обработать водно-дисперсионными грунтовками марок Ceresit CT 17 (ТУ 5745-008-58239148-03) или Ceresit CN 94 (документация фирмы производителя) или Thomsit R 766 (документация фирмы производителя) или Thomsit R 777 (ТУ 5745-008-58239148-03). Водно-дисперсионные грунтовки марок Ceresit CT 17 и Thomsit R 777 поставляются в готовом к применению виде, Ceresit CN 94 перед нанесением следует разбавить водой в соотношении 1:3, a Thomsit R 766 - в соотношении 1:1. При укладке паркета на стяжки из саморазравнивающихся композиций марки Thomsit и на клеи Thomsit грунтование основания не требуется.

8.17.27 Работы по изготовлению покрытий полов рекомендуется начинать с укладки маячных рядов. В помещениях малого размера маячный ряд следует укладывать у стены, наиболее удалённой от входной двери. В больших помещениях два стыкуемых маячных ряда следует укладывать в середине площадки и работы вести в двух направлениях.

8.17.28 Укладку паркетных планок следует начинать в направлении слева направо пазовой стороной к стене на расстоянии 8 - 10 мм от стены. При ширине помещения более 6 м в направлении ширины паркета, зазор между стеной и паркетом необходимо увеличить на 1,5 мм на каждый дополнительный метр.

8.17.29 Паркетные планки укладывают вплотную к ранее установленным, втапливают в мастику и плотно соединяют в шпунт с помощью паркетного молотка. Толщина слоя мастики под паркетом должна быть не более 1 мм, зазоры между смежными планками - 0,3 мм.

8.17.30 Покрытие из паркета следует отциклевать, а затем отшлифовать. Эти работы следует выполнять при наклейке паркета на водно-дисперсионных клеях - через 2 недели, на клеях с органическими растворителями - через 1 неделю, а на 2-х компонентных полимерных клеях - через 1 - 2 суток.

8.17.31 Покрытие из готового паркета не циклюются и не шлифуются.

8.17.32 Зазоры между паркетным покрытием и стенами (перегородками) должны перекрываться после циклевки паркета плинтусами или галтелями, которые крепят гвоздями длиной 30 - 40 мм, диаметром 2,5 мм или шурупами длиной 25 мм, диаметром 3 мм либо только к стене (перегородке), либо только к полу. Поливинилхлоридные плинтусы приклеивают к стенам и перегородкам полимерными контактным (UZIN-GN 276) или термоконтактным UZIN-DK 290 Thermocoll) клеями (фирма UZIN, ФРГ), контактным растворным клеем Thomsit К 172 (фирма «Хенкель Баутехник», а также полимерными клеями на растворителях, в частности клеем марки «Перминид» (ТУ 400-1-136-78).

8.17.33 Под плинтусы рекомендуется устанавливать упругие прокладки из полос линолеума на теплоизолирующей подоснове, которые следует укладывать между плинтусом и стеной, если плинтус крепится к полу, или между плинтусом и полом, если плинтус крепится к стене.

8.17.34 Нанесение лаковых покрытий на паркетные полы необходимо выполнять с учётом указаний главы 9.

8.18 Покрытия из паркетных и массивных досок, паркетных щитов и ламината

8.18.1 Покрытия полов из паркетных досок, щитов и ламината рекомендуется применять в жилых домах и в общественных зданиях с учётом допустимых эксплуатационных воздействий, приведённых в табл. 1, 2, 3 Приложения 1.

8.18.2 Покрытия полов из паркетных и массивных досок, щитов и ламината относятся к «тёплым».

8.18.3 Паркетные доски (ГОСТ 862.3-86) представляют собой клееные реечные изделия с пазами и гребнями на боковых и торцевых кромках, выполненные из древесины хвойных пород, берёзы или осины с наклеенными на них планками покрытия квадратной или прямоугольной формы (из тех же пород древесины, что и штучный паркет) толщиной не менее 4 мм. В основании досок по всей длине предусмотрены компенсационные продольные пропилы, препятствующие их короблению при периодических изменениях влажности. Доски подразделяются на два типа: П1 - укладываемые по лагам (толщина 25 мм) и П2 - укладываемое на сплошное основание (толщина 18 мм).

8.18.4 Паркетные щиты (ГОСТ 862.4-87) представляют собой изделия, включающие деревянную раму с пазами на боковых и торцевых кромках с наклеенным на неё лицевым покрытием из паркетных планок или квадров шпона.

8.18.5 Массивная доска - крупноформатная доска (длина от 600 до 1800 мм, ширина от 85 до 180 мм, толщина 20 мм) с пазами и гребнями на боковых и торцевых кромках из цельной неклееной древесины ценных пород. Выпускается по технической документации заводов изготовителей и применяется в помещениях с повышенными требованиями по эстетике.

8.18.6 В качестве ламинированного покрытия используются многослойные пластмассовые изделия в виде досок длиной 1100 - 1300 мм, шириной 190 - 390 мм и толщиной 6 - 11 мм, которые представляют собой многослойную конструкцию с несущей основой из древесноволокнистой плиты или пластика. Наружный декоративный слой, имитирующий различные породы дерева, камня и т.п., защищен прозрачным пергамином, пропитанным меламиноформальдегидной смолой, а нижний слой выполняется из специального картона или войлока с пропиткой. Ламинат выпускается в соответствии с технической документацией заводов-изготовителей.

8.18.7 Конструктивные схемы полов с покрытием из паркетных досок типа П1 (укладываемых по лагам) и паркетных щитов аналогичны конструктивным схемам с дощатым покрытием (рис. 32, 33), а конструктивные схемы полов из паркетных досок типа П2 (укладываемых на клее по сплошным основаниям) - конструктивным схемам полов из штучного паркета (рис. 36 - 43). Конструктивные схемы полов из ламината приведены на рис. 45 - 51.

8.18.8 Массивные доски укладываются, как правило, по прослойке из фанеры, поскольку технология изготовления данного покрытия предусматривает крепление планок не только клеями, но и саморезами. Саморезы следует ввинчивать в пласт досок наклонно с втапливанием шляпок (рис. 52). Доски следует приклеивать к основаниям клеями, соответствующими требованиям ГОСТ 30307-95 и ГОСТ 24064-80. В частности, рекомендуются водно-дисперсионные клеи марок UZIN-MK 73, и UZIN-MK 80S (фирма «UZIN», ФРГ) и 2-х компонентные полиуретановые UZIN-MK 92S и Thomsit P 625 (фирма «Хенкель Баутехник», ФРГ). Подробные рекомендации по выбору марки клея, выпускаемого фирмами «UZIN» и «Хенкель Баутехник» приведены в альбомах «Полы жилых, общественных, производственных и спортивных зданий с применением материалов немецкой фирмы «UZIN» M 28.16/03 и «Полы жилых, общественных и производственных зданий с применением материалов фирмы «Хенкель Баутехник» М 28.06/06.

Рис. 45 Конструктивные схемы полов на грунте с покрытием из ламината по бетонному основанию с монолитной цементно-песчаной или гипсовой стяжкой

1 - ламинат; 2 - клей или замковое соединение; 3 - пенополиэтиленовая подложка; 4 - монолитная цементно-песчаная или гипсовая стяжка; 5 - трубопровод; 6 - бетонный подстилающий слой; 7 - щебень, пропитанный битумом; 8 - рулонная гидроизоляция; 9 - грунт основания.

Рис. 46 Конструктивные схемы полов с покрытием из ламината по плите перекрытия с монолитной цементно-песчаной или гипсовой стяжкой

1 - ламинат; 2 - клей или замковое соединение; 3 - пенополиэтиленовая подложка; 4 - монолитная цементно-песчаная или гипсовая стяжка; 5 - трубопровод: 6 - засыпка из кварцевого или керамзитового песка; 7 - плиты пенопластовые или пористо-волокнистые маты; 8 - плита перекрытия.

Рис. 47 Конструктивные схемы полов на грунте с покрытием из ламината по сборным стяжкам из ГВЛВ

1 - ламинат; 2 - клей или замковое соединение; 3 - пенополиэтиленовая подложка; 4 - сборная стяжка из готовых элементов из гипсоволокнистых листов; 5 - кварцевый песок; 6 - трубопровод; 7 - обкладка трубы пористо-волокнистыми матами; 8 - защитный металлический кожух; 9 - дюбель разжимной; 10 - пароизоляция - полиэтиленовая плёнка, 11 - бетонный подстилающий слой; 12 - наливная гидроизоляция - щебень или гравий, пропитанный битумом; 13 - рулонная гидроизоляция; 14 - цементно-песчаная стяжка, 15 - грунт основания.

Рис. 48 Конструктивные схемы полов на плите перекрытия с покрытием из ламината по сборным стяжкам из ГВЛВ

1 - ламинат; 2 - клей или замковое соединение; 3 - пенополиэтиленовая подложка; 4 - сборная стяжка из готовых элементов из гипсоволокнистых листов; 5 - кварцевый или керамзитовый песок; 6 - пористо-волокнистые маты или пенопластовые плиты; 7 - трубопровод; 8 - обкладка трубы пористо-волокнистыми матами; 9 - защитный металлический кожух; 10 - дюбель разжимной; 11 - пароизоляция - полиэтиленовая пленка; 12 - плита перекрытия.

Рис. 49 Конструктивные схемы полов на грунте с покрытием из ламината по сборным стяжкам из ДСП

1 - ламинат; 2 - клей или замковое соединение; 3 - пенополиэтиленовая подложка; 4 - сборная стяжка из ДСП; 5 - клей водно-дисперсионный; 6 - пароизоляция (пергамин); 7 - кварцевый песок; 8 - лага обычная; 9 - лага регулируемая; 10 - болт-стойка; 11 - саморез; 12 - деревянная прокладка; 13 - гидроизоляция рулонная; 14 - полиэтиленовая плёнка; 15 - кирпичный или бетонный столбик; 16 - трубопровод; 17 - бетонный подстилающий слой; 18 - наливная гидроизоляция - щебень или гравий, пропитанный битумом; 19 - цементно-песчаная стяжка; 20 - грунт основания.

Рис. 50 Конструктивные схемы полов на плите перекрытия с покрытием из ламината по сварным тяжким из ДСП

1 - ламинат; 2 - клей или замковое соединение; 3 - пенополиэтиленовая подложка; 4 - сборная стяжка из ДСП; 5 - клей водно-дисперсионный; 6 - пароизоляция (пергамин); 7 - полиэтиленовая пленка; 8 - кварцевый песок; 9 - лага регулируемая; 10 - болт-стойка; 11 - саморез; 12 - пористо-волокнистые маты или пенопластовые плиты; 13 - трубопровод; 14 - плита перекрытия.

Рис. 51 Конструктивные схемы полов с покрытием из ламината по сборным стяжкам из ДСП

1 - ламинат; 2 - клей или замковое соединение; 3 - пенополиэтиленовая подложка; 4 - сборная стяжка из ДСП; 5 - клей водно-дисперсионный; 6 - саморез; 7 - деревянная балка; 8 - керамзит; 9 - пористо-волокнистые маты или пенопластовые плиты; 10 - пароизоляция (пергамин); 11 - полиэтиленовая пленка; 12 - плита ДСП.

Рис. 52 Конструктивные схемы полов с покрытием из массивной доски

1 - покрытие из массивной доски; 2 - клей; 3 - саморез; 4 - сборная стяжка из фанеры; 5 - шуруп или дюбель; 6 - цементно-песчаная стяжка; 7 - бетонное основание; 8 - плита перекрытия; 9 - грунт основания.

8.18.9 Покрытия из паркетных досок типа П2 (укладываемых по сплошным основаниям) и ламината, укладываемого насухо - «плавающим способом», предъявляющие повышенные требования к ровности подстилающих слоев, следует выполнять, как правило, по выравнивающей стяжке из самовыравнивающихся композиций - нивелирмасс марок Uzin NC-110, Uzin NC-150S или Uzin NC-160 (фирма «UZIN», ФРГ) или из саморазравнивающейся смеси марки Thomsit DX (ТУ 5745-001-58239148-2004) (толщина стяжки от 0,5 до 10 мм).

8.18.10 Работы по устройству покрытий полов следует производить при температуре воздуха в помещении не ниже 10 °С и его влажности до 70 %.

8.18.11 Паркетные и массивные доски и ламинат соединяют между собой в шпунт, а паркетные щиты - при помощи шпонок, изготавливаемых из древесины твердых пород или фанеры.

8.18.12 В покрытиях из паркетных досок по лагам их пролёт следует принимать равным 400 - 500 м, а в покрытиях из паркетных щитов - 300 - 400 мм.

8.18.13 При укладке по лагам каждую паркетную доску и щит следует пришивать к каждой лаге гвоздями длиной 50 - 60 мм. Гвозди следует забивать наклонно в основание нижней щеки паза на кромках паркетных досок и паркетных щитов с втапливанием шляпок.

8.18.14 Стыки торцов и боковых кромок паркетных досок с торцами смежных досок, а также стыки параллельных лагам смежных паркетных щитов следует располагать на лагах. При сопряжении паркетных досок, а также паркетных щитов с опиленными кромками на одних из них должен быть выполнен паз, на других - гребень, соответствующие имеющимся на других кромках. Одна из смежных паркетных досок и один из смежных паркетных щитов, опирающиеся на общую для них лагу и имеющие на кромках паз, должны быть пришиты к этой лаге.

8.18.15 Покрытия пола из ламината выполняются без наклейки на основание, а сами изделия следует соединять между собой в шпунт с посадкой на клей. В качестве клея рекомендуется применять водно-дисперсионные клеи, соответствующие требованиям ГОСТ 30307-95, в частности клей марки UZIN МК-33 (фирма «UZIN», ФРГ) и марки Thomsit P 640 (фирма «Хенкель Баутехник», ФРГ), образующие при высыхании невидимый шов.

8.18.16 При устройстве покрытия пола ламинат укладывают на амортизирующую подложку, в качестве которой следует использовать гофрированный картон или вспененный полиэтилен, а также пенопласт толщиной 2 - 3 мм. Для полов с высокими требованиями к звукоизоляции в качестве амортизирующей подложки рекомендуется применять резино-пробковый рулонный материал марки UZIN-RR 189 Plus (фирма «UZIN», ФРГ) или тепло-звукоизолирующий материал марки TF 302 Thomsit-Floor (фирма «Хенкель Баутехник», ФРГ).

8.18.17 Укладку паркетных и ламинатных досок следует начинать в направлении слева направо пазовой стороной к стене на расстоянии 8 - 10 мм от стены, наиболее удалённой от входа. При ширине помещения более 6 м в направлении ширины доски, зазор между стеной и доской следует увеличить на 1,5 мм на каждый дополнительный метр.

8.18.18 Последующие ряды следует укладывать таким образом, чтобы шаг стыков между торцами досок смежных рядов был не менее 30 см.

8.18.19 В целях обеспечения возможности разборки покрытия рекомендуется использовать ламинат со специальными замковыми соединениями.

8.18.20 Зазоры между покрытием из паркетных досок, щитов или ламината и стенами следует перекрывать плинтусами или галтелями, которые крепят гвоздями длиной 30 - 40 мм, диаметром 2,5 мм или шурупами длиной 25 мм, диаметром 3 мм либо только к стене (перегородке), либо только к полу.

8.18.21 Под плинтусы рекомендуется устанавливать упругие прокладки из полос линолеума на теплоизолирующей подоснове, которые следует укладывать между плинтусом и стеной, если плинтус крепится к полу, или между плинтусом и полом, если плинтус крепится к стене.

8.19 Покрытия из линолеума и ковров на основе синтетических волокон

8.19.1 Покрытия полов из линолеума рекомендуется применять в жилых, общественных и промышленных зданиях, а также в залах для игровых видов спорта - баскетбол, волейбол, бадминтон и др. с учётом допустимых эксплуатационных воздействий, приведённых в табл. 1, 2, 3 Приложения 1. Антистатические покрытия полов из линолеума рекомендуется применять в помещениях, где не допускается скопления электростатических зарядов на полу - хирургические, операционные, специальные лаборатории, машинные залы с электронным оборудованием, а также в «чистых» и «особо чистых» помещениях, так как покрытия полов не должны удерживать частички пыли на поверхности за счёт сил электростатики.

8.19.2 Покрытия полов из ковров на синтетической основе рекомендуется применять в общественных зданиях (гостиницы, торговые залы ресторанов, зрительные залы зрелищных зданий, библиотеки, административные помещения и т.п.) и в гимнастических (внутренние беговые дорожки) и тренажёрных залах, а также в крытых теннисных кортах с учётом допустимых эксплуатационных воздействий, приведённых в табл. 1, 2, 3 Приложения 1. «Искусственная трава» - рулонный материал, производимый по технологии тафтинг-метода (объёмные волокна из полипропилена, полиэтилена, нейлона или их сочетания, имитирующие стебли травы, вплетённые в высокоэластичное основание) рекомендуется в залах и стадионах для футбола.

8.19.3 В жилых, общественных и промышленных зданиях полы рекомендуется выполнять преимущественно из поливинилхлоридного линолеума на теплоизолирующей подоснове, сваренного в стационарных условиях в ковры размером на комнату (ГОСТ 27023-86), а также поливинилхлоридного линолеума на тепло-звукоизолирующей подоснове (ГОСТ 18108-80) и на тканевой подоснове (ГОСТ 7251-77). Возможно также применение линолеума поливинилхлоридного многослойного и однослойного без подосновы, резинового линолеума и алкидного (натурального) линолеума, выпускаемых по технической документации заводов-изготовителей.

8.19.4 К покрытиям полов на основе химических волокон относятся покрытие для полов рулонное на основе химических волокон марки «Ворсонит» (ГОСТ 26149-84), синтетические ковровые материалы на вспененной латексной подоснове (ТУ 400-1-367-83), синтетические ковровые материалы с печатным рисунком на нетканой основе «Ковроплен» (ТУ 400-1-184-70), покрытие для полов рулонное на основе синтетических волокон «Ворсолин» (ТУ 21-29-35-75) и др.

8.19.5 Для покрытий пола в вестибюлях, лестничных клетках, лифтовых холлах, а также ступеней лестниц следует применять ковровые покрытия или поливинилхлоридный линолеум (для облицовки ступеней и готовые поливинилхлоридные элементы), характеризующиеся группой горючести не выше Г1 (слабогорючие), группой горючести по распространению пламени по поверхности не выше РП1 (нераспространяющие), группой горючести по дымообразующей способности не выше Д1 (с малой дымообразующей способностью) и группой по токсичности продуктов горения не выше Т1 (малоопасные).

8.19.6 Для покрытий пола в общих коридорах, холлах и фойе следует применять ковровые покрытия или поливинилхлоридный линолеум, характеризующиеся группой горючести не выше Г2 (умереногорючие), группой горючести по распространению пламени по поверхности не выше РП1 (нераспространяющие), группой горючести по дымообразующей способности не выше Д2 (с умеренной дымообразующей способностью) и группой по токсичности продуктов горения не выше Т1 (малоопасные).

8.19.7 Алкидный линолеум, характеризующийся природными антисептическими свойствами, рекомендуется применять, прежде всего, в помещениях дошкольных и школьных учреждений, в больницах, поликлиниках, а также в жилых зданиях.

8.19.8 Для антистатических покрытий рекомендуется применять линолеум поливинилхлоридный однослойный без подосновы с удельным поверхностным электросопротивлением в пределах от 5 · 106 до 5 · 109 Ом. В частности, может быть использован линолеум марки «ACCZENT MINERAL» (ТУ 5771-014-54031669-2005).

8.19.9 В спортивных залах следует применять линолеум и ковровые покрытия (тафтинговые, иглопробивные или велюровые), характеризующиеся повышенными стойкостью к истиранию, упругостью, прочностью закрепления ворсовых пучков (петель). Лицевой слой линолеума должен быть текстурирован, что с одной стороны обеспечивает надёжное сцепление подошвы обуви с покрытием, с другой - создаёт условия, оптимизирующие скорость и уровень отскока мяча. В частности, могут быть рекомендованы для беговых дорожек ковровые материалы марки Mondo Sportflex Super X, для покрытий полов теннисных кортов - ковровое покрытие марки TaroFleks Sport 3D, а для покрытия пола тренажёрных залов - поливинилхлоридный линолеум марок Tarket Sport Elit и Mondo Sport С.

8.19.10 Покрытия, выполненные из поливинилхлоридного линолеума на тепло-звукоизолирующей подоснове (ГОСТ 18108-80) и ковров на основе химических волокон являются «тёплыми» и характеризуются показателем теплоусвоения соответственно не более 12 Вт/(м2 · К) и не более 11,6 Вт/(м2 · К) и индекс снижения ударного шума не менее 18 дБ.

8.19.11 Основанием под полы из линолеума и синтетических ковров в жилых, общественных и промышленных зданиях может быть бетонный подстилающий слой, железобетонное перекрытие, монолитные стяжки на основе цементного или гипсового вяжущего, а также сборная стяжка из спаренных фанерных или гипсоволокнистых листов, а также из древесно-стружечных плит (рис. 54 - 58).

8.19.12 При укладке линолеума поливинилхлоридного многослойного и однослойного без подосновы в помещениях с нормируемыми показателями теплоусвоения по бетонному подстилающему слою, железобетонному перекрытию или монолитным стяжкам на основе цементного или гипсового вяжущего между покрытием и подстилающим слоем следует располагать теплоизолирующую прослойку из древесноволокнистых плит, стяжек из легкого бетона или поризованного цементно-песчаного раствора.

8.19.13 С целью отвода статического электричества между покрытием из антистатического линолеума и подстилающим слоем следует располагать электроотводящий контур из медной ленты, приклеиваемой по периметру помещения, а также вдоль и поперёк помещения с шагом не более 6 м. Контур должен быть присоединён к системе заземления здания (рис. 53).

Рис. 53 Конструктивные схемы полов с покрытием из антистатического линолеума

1 - покрытие из антистатического линолеума; 2 - электропроводный клей; 3 - электропроводная грунтовка; 4 - медная шинка, наклеиваемая по периметру помещения вдоль и поперек помещения с шагом не более 6 м и присоединяемая к системе заземления здания; 5 - цементно-песчаная или цементно-бетонная стяжка; 6 - бетонное основание; 7 - плита перекрытия; 8 - грунт основания.

Рис. 54 Конструктивные схемы полов на грунте и плитах перекрытия с покрытием из линолеума и ковров на синтетической основе по монолитным цементно-песчаным или гипсовым стяжкам (а) и черновому деревянному полу (б)

1 - покрытие из линолеума и ковров на синтетической основе; 2 - клей; 3 - монолитная цементно-песчаная или гипсовая стяжка; 4 - фанера; 5 черновой деревянный пол; 6 - гвоздь К4×100; 7 - шуруп или дюбель; 8 - древесно-волокнистая плита; 9 - засыпка из кварцевого песка; 10 - плиты пенопластовые; 11 - засыпка из керамзитового песка; 12 - полиэтиленовая пленка; 13 - плита перекрытия с ровной поверхностью; 14 - плита перекрытия с неровной поверхностью; 15 - бетонное основание с ровной поверхностью; 16 - бетонное основание с неровной поверхностью; 17 - лага; 18 - деревянная прокладка; 19 - гидроизоляция рулонная; 20 - кирпичный или бетонный столбик; 21 - грунт основания.

Рис. 55 Конструктивные схемы полов на грунте и плитах перекрытия с покрытием из линолеума и ковров на синтетической основе по сборным стяжкам из ГВЛВ

1 - покрытие из линолеума и ковров на синтетической основе; 2 - клей; 3 - сборная стяжка из ГВЛВ; 4 - крупноформатный лист ГВЛВ; 5 - засыпка из кварцевого песка; 6 - плиты пенопластовые; 7 - засыпка из керамзитового песка; 8 - лага регулируемая; 9 - болт-стойка; 10 - шуруп; 11 - гвоздь К4×100; 12 - полиэтиленовая плёнка; 13 - плита перекрытия; 14 - лага обычная; 15 - деревянная прокладка; 16 - кирпичный или бетонный столбик; 17 - гидроизоляция; 18 - бетонное основание; 19 - грунт основания.

Рис. 56 Конструктивные схемы полов на грунте с покрытием из штучного и наборного паркета по сборным стяжкам из ДСП

1 - покрытие из линолеума и ковров на синтетической основе; 2 - клей для линолеума и ковров на синтетической основе; 3 - сборная стяжка из ДСП; 4 - клей водно-дисперсионный; 5 - пароизоляция (пергамин); 6 - кварцевый песок; 7 - лага обычная; 8 - лага регулируемая; 9 - болт-стойка; 10 - саморез; 11 - деревянная прокладка; 12 - гидроизоляция рулонная; 13 - полиэтиленовая плёнка; 14 - кирпичный или бетонный столбик; 15 - трубопровод; 16 - бетонный подстилающий слой; 17 - наливная гидроизоляция - щебень или гравий, пропитанный битумом; 18 - цементно-песчаная стяжка; 19 - грунт основания.

Рис. 57 Конструктивные схемы полов на плите перекрытия с покрытием из линолеума и ковров на синтетической основе по сборным стяжкам из ДСП

1 - покрытие из линолеума и ковров на синтетической основе; 2 - клей для линолеума и ковров на синтетической основе; 3 - сборная стяжка из ДСП; 4 - клей водно-дисперсионный; 5 - пароизоляция (пергамин); 6 - полиэтиленовая плёнка, 7 - кварцевый песок; 8 - лага регулируемая, 9 - болт-стойка; 10 - саморез; 11 - пористо-волокнистые маты или пенопластовые плиты; 12 - трубопровод; 13 - плита перекрытия.

Рис. 58 Конструктивные схемы полов с покрытием из линолеума и ковров на синтетической основе по сборным стяжкам из ДСП

1 - покрытие из линолеума и ковров на синтетической основе; 2 - клей для линолеума и ковров на синтетической основе; 3 - сборная стяжка из ДСП; 4 - клей водно-дисперсионный; 5 - саморез; 6 - деревянная балка; 7 - керамзит; 8 - пористо-волокнистые маты или пенопластовые плиты; 9 - пароизоляция (пергамин); 10 - полиэтиленовая пленка; 11 - плита ДСП.

8.19.14 Покрытия полов из линолеума и ковровые покрытия в спортивных залах могут выполняться как непосредственно по бетонному основанию или выравнивающим стяжкам, так и по сборным стяжкам из водостойкой фанеры, уложенным по деревянным лагам (рис. 59).

Рис. 59 Конструктивные схемы полов с покрытием из линолеума в спортивных залах для игровых видов спорта - волейбола, баскетбола, гандбола, тенниса, аэробики

1 - линолеум для спортивных покрытий; 2 - клей; 3 - стеклоткань; 4 - упругая подложка; 5 - сборная стяжка из фанеры; 6 - саморез; 7 - лага; 8 - резиновый элемент; 9 - труба; 10 - бетонный подстилающий слой; 11 - плита перекрытия с ровной поверхностью; 12 - плита перекрытия с неровной поверхностью; 11 - рулонная гидроизоляция; 14 - цементно-песчаная стяжка; 15 - щебень, пропитанный битумом; 16 - грунт основания.

8.19.15 Для придания необходимых упругих свойств покрытию полов в спортивных залах из линолеума и ковров на основе синтетических волокон между ним и подстилающим слоем следует предусматривать промежуточный эластичный слой (в частности из рулонных материалов на основе вспененного поливинилхлорида) и применять армирующую сетку из нетканого полотна, способствующую равномерному распределению нагрузки и стабилизации линейных деформаций, возникающих в полотнищах. Толщина и характеристики эластичного слоя подбираются из условия обеспечения требуемой упругости пола.

8.19.16 Футбольные поля на открытых стадионах с покрытием из «искусственной травы» следует выполнять по нежесткому подстилающему слою (гравийному или щебёночному).

Рис. 60 Конструктивная схема футбольных полей.

1 - рулонный материал «Искусственная трава»; 2 - засыпка кварцевым песком или смесью кварцевого песка с резиновым гранулятом; 3 - склейка кромок листов липкой лентой; 4 - гранитный отсев фракции 0 - 5 мм; 5 - гранитный щебень фракции 5 - 20 мм; 6 - дренажная труба; 7 - грунт основания.

8.19.17 Линолеум и ковры на основе синтетических волокон в жилых, общественных и промышленных зданиях следует приклеивать к основаниям быстро твердеющими мастиками на водостойких вяжущих, соответствующих требованиям ГОСТ 30307-95 и ГОСТ 24064-80. Рекомендуются, в частности, сертифицированные в России клеи, выпускаемые фирмами «UZIN» и «Хенкель Баутехник», в том числе водно-дисперсионные клеи марок Thomsit UK 400 (ТУ 2216-012-04831040-2005) и Thomsit K188E (документация фирмы производителя) полимерный клей на растворителях марки Thomsit К172 (документация фирмы производителя) и 2-х компонентный полиуретановый марки Thomsit R 710 (документация фирмы производителя), выпускаемые фирмой «Хенкель Баутехник», (ФРГ) и водно-дисперсионные клеи марок UZIN UZ-52, UZIN UZ-57, UZTN UZ-75, UZIN UZ-90, UZIN KE-418 и UZIN KE-2008 и полимерный клей на растворителях марки UZIN КЕ-2000S, выпускаемые фирмой («UZIN» ФРГ). Подробные рекомендации по выбору марки клея приведены в альбомах «Полы жилых, общественных, производственных и спортивных зданий с применением материалов немецкой фирмы «UZIN». Материалы для проектирования и рабочие чертежи узлов» М 28.16/03 и «Полы жилых, общественных и производственных зданий с применением материалов фирмы «Хенкель Баутехник». Материалы для проектирования и рабочие чертежи узлов» М 28.06/06.

8.19.18 Для приклейки антистатического линолеума рекомендуется применять электропроводные клеи марки UZIN-КЕ 2000 SL (фирма «UZTN», ФРГ) и Thomsit К 112 (фирма «Хенкель Баутехник», ФРГ), а для алкидного (натурального) линолеума - клеи марок UZTN LE-44, UZIN LE-2401 (фирма «UZIN», ФРГ) и Thomsit L 240D (ТУ 2216-012-04831040-2005) (фирма «Хенкель Баутехник», ФРГ).

8.19.19 Для линолеумных покрытий в спортивных залах рекомендуется применять универсальный клей марки UZIN KE-2000S, а для ковровых покрытий - эпоксидный клей марки UZIN KR-421 и полиуретановый клей марки UZIN KR-430 (фирма UZIN, ФРГ).

8.19.20 В помещениях, где устраиваются полы из линолеума или ковровых покрытий, температура воздуха на уровне пола должна быть не ниже 15 °С, влажность воздуха - не более 60 %. Влажность по массе для бетона панелей междуэтажных перекрытий должна быть не более 4 %, для стяжек на основе цементного, полимерцементного и гипсового вяжущего - не более 5 %, для стяжек из древесноволокнистых плит - не более - 12 %.

8.19.21 Линолеум в виде сварных ковров (размером на комнату) и синтетические ковровые материалы должны поставляться в рулонах, намотанных на сердечники диаметром 100 - 150 мм. При этом каждый рулон синтетического коврового материала должен быть упакован в обёрточную бумагу, поливинилхлоридную или полиэтиленовую плёнку.

8.19.22 Перед укладкой покрытия бетонное основание следует выровнять, бугорки на поверхности бетона сошлифовать, западающие неровности, трещины и выбоины зашпаклевать раствором из цементно-песчаной смеси марки M150, затворив её поливинилацетатной дисперсией, разбавленной водой в соотношении 1:4 (дисперсия:вода). При применении материалов фирмы «Хенкель Баутехник» западающие неровности, трещины и выбоины рекомендуется зашпаклевать составом на основе монтажного цемента марки Ceresit СХ 5 (документация фирмы производителя), а при применении материалов фирмы «UZIN» - в отапливаемых помещениях полимерцементными шпаклёвками марок UZIN NC-180 (толщина слоя от 1 мм) или UZIN NC-182 (толщина слоя от 0 мм - способна «сводиться на нет»), в неотапливаемых помещениях - UZIN NC-182 (толщина слоя от 3 до 20 мм). Шпаклёвку в местах заделки следует просушить, а поверхность нижележащего слоя перед укладкой покрытий обеспылить без увлажнения водой.

8.19.23 Поверхность основания следует огрунтовать. Грунтовки должны соответствовать по химической основе применяемым клеям, при этом следует руководствоваться рекомендациями фирм-производителей клеев и мастик.

8.19.24 Рулоны линолеума и синтетических ворсовых ковров следует раскатать для устранения волнистости не позднее, чем за двое суток до их укладки, выдержать при температуре воздуха не ниже 15 °С. Деформированные места листов, не прилегающие к основанию, следует пригрузить.

8.19.25 Перед наклейкой алкидного (натурального) линолеума необходимо произвести обрезку рулона с 2-х сторон по 2 см, так как края рулона могут «заплыть» и различаться по толщине.

8.19.26 Линолеум и синтетические ворсовые ковры должны быть приклеены к нижележащему слою по всей площади. Толщина слоя клеевой прослойки должна быть не более 0,8 мм.

8.19.27 Нанесение клея осуществляется зубчатым шпателем непосредственно на очищенное и обеспыленное основание. Водно-дисперсионные и растворные клеи, а также клеи и мастики на основе битумов следует наносить и на основание, и на тыльную сторону покрытия (кроме синтетических ковров) толщиной 0,2 - 0,3 мм.

8.19.28 На двухкомпонентные полиуретановые клеи линолеум и ковровые покрытия следует укладывать сразу после его нанесения на основание. Водно-дисперсионные и растворные клеи, а также клеи и мастики на основе битумов следует подсушить для улетучивания избытка растворителя. Время выдержки для клеев и мастик на основе битумов составляет 15 - 20 минут. При использовании клеев и мастик фирм «UZIN» и «Хенкель Баутехник» следует руководствоваться рекомендациями фирм-производителей.

8.19.29 Линолеум и текстильные покрытия укладываются на приклеиваемую поверхность свободно, не допуская их деформаций, особенно в швах. При укладке линолеума необходимо избегать попадания воздуха под покрытие. Зазор между линолеумом и стеной должен составлять 4 - 5 мм и перекрываться плинтусом. Покрытия плотно прижимают к поверхности и притирают с помощью специального инструмента или пробковой доски. После этого следует убедиться в том, что под покрытием не осталось пузырей воздуха. При необходимости края покрытий через 10 - 20 минут после укладки можно повторно прижать или прикатать к основанию тяжёлым валиком.

8.19.30 При приклейке рулона линолеума с рисунком на лицевой стороне нельзя смещать его относительно смежного. Если ворс синтетических ковров наклонён под углом к подоснове, то угол наклона ворса всех полотнищ должен быть в одном направлении. Рекомендуется ковры укладывать так, чтобы наклон ворса был от окна в сторону двери, что облегчает уборку помещения.

8.19.31 Зазоры между смежными кромками листов линолеума и синтетических ворсовых ковров в покрытии не допускаются. Эти листы следует укладывать с напуском 10 мм на ранее уложенные, приклеивая по всей площади, за исключением краёв шириной около 100 мм. В местах напуска оба листа одновременно разрезают по линейке. Отрезанные полоски удаляют и края листов приклеивают к нижележащему слою. Кромки полотнищ следует приклеивать к основанию тем же клеем, что и сами полотнища. Во время приклейки листы следует плотно прижимать к нижележащему слою.

8.19.32 Стыки приклеенных смежных полотнищ и ковров прирезают после высыхания клеевой прослойки, но не ранее чем через 3-е суток после приклейки, что необходимо для стабилизации первоначальной усадки линолеума.

8.19.33 При устройстве покрытий из линолеума, сваренного в ковры, и из синтетических ковров их предварительно отгибают на половину длины и на освободившуюся площадь основания наносят клей, после чего раскатывают ковёр по клеевому слою, прижимая его к основанию с помощью катка или гладилки с целью удаления воздуха. При использовании клея на полимерной основе клеевой слой предварительно выдерживают в течение 20 минут, а затем раскатывают ковер по основанию. Аналогичную операцию проводят со второй половиной ковра.

8.19.34 Технология изготовления линолеумных и ковровых антистатических покрытий включает создание электропроводного слоя путём нанесение валиком на всю поверхность основания пола электропроводной грунтовки марки UZIN-РЕ 260 L (производство фирмы «UZIN», ФРГ) или Thomsit R 762 (производство фирмы «Хенкель Баутехник», ФРГ), приклейку медной или углеграфитовой ленты или укладку самоклеющейся медной ленты марки UZIN-Kupferleitband по периметру помещения, а также в продольном и поперечном направлениях с шагом не более 6 м, подключаемых к системе заземления здания, и приклейку антистатического линолеума или коврового покрытия на электропроводном клее.

8.19.35 В помещениях с влажными условиями эксплуатации для предотвращения проникания влаги в подоснову линолеума и основание через швы стыкуемых полотнищ, а также в «чистых» и «особо чистых» помещениях для предотвращения выделения частиц пыли из швов полотнища в стыке их рекомендуется сваривать.

8.19.36 Линолеумы, имеющие в своём составе термопластическую поливинилхлоридную смолу, сваривают горячим воздухом, контактно-тепловым нагревом или воздействием инфракрасных лучей. Для этого рекомендуется применять электронное устройство «Пилад» или полуавтомат типа «Пчёлка».

8.19.37 Полотнища поливинилхлоридного линолеума со вспененной подосновой и печатным рисунком, которые не свариваются, стыкуют методом «холодной сварки» с помощью клеёв.

8.19.38 После приклейки стыков линолеума устанавливают плинтусы. Деревянные плинтусы (ГОСТ 8242-88) прибивают к предварительно размещённым в стенах пробкам гвоздями длиной 30 - 40 мм или крепят шурупами длиной 25 мм. Плинтусы устанавливают так, чтобы они только касались покрытия пола и не были к нему прижаты. Поливинилхлоридные плинтусы приклеивают к стенам и перегородкам полимерными клеями, в качестве которых рекомендуется применять контактные клеи марок UZIN-GN 276 и Thomsit K172.

8.19.39 В «чистых» и «особо чистых» помещениях с целью снижения количества зон скопления пыли рекомендует выполнять плинтусы из линолеума. Технологическая схема изготовления плинтуса предусматривает приклейку линолеума к основанию пола с нахлёстом полотнищ на стены на высоту 200 мм (зону сгиба на 90° следует нагреть феном), а также приклейку к стенам и перегородкам контактными клеями.

8.19.40 При изготовлении плинтуса из алкидного (натурального) линолеума, учитывая повышенную хрупкость материала, радиус его перегиба должен быть не менее 50 мм, при этом в угол под линолеум необходимо укладывать вкладыш соответствующего профиля.

8.19.41 Покрытия полов из линолеума и синтетических ковров принимают в эксплуатацию не ранее, чем через трое суток после наклейки.

8.19.42 После наклейки алкидный (натуральный) линолеум не нагружают в течение 7 недель для стабилизации материала. После этого необходима натирка алкидного линолеума специальными составами, указанными производителем материала, например средствами фирмы «Dr. Schutz» (ФРГ). Алкидный линолеум требует также натирку специальным составом не реже 1-го раза в месяц.

8.19.43 Технологический регламент изготовления покрытий из рулонов синтетической травы включает их раскатку, склейку по периметру и засыпку кварцевым песком, резиновым гранулятом или смесью кварцевого песка с резиновым гранулятом. Варьирование материала засыпки и изменение толщины слоя засыпки позволяет, сохраняя водопроницаемость покрытия, изменять высоту травы и упругие свойства покрытия.

8.19.44 Склейку полотнищ «искусственной травы» между собой осуществляется встык на специальную ленту клеями марок Uzin KR-430 или Uzin Sport Adgesif (ФРГ).

8.20 Покрытия из синтетических плиток

8.20.1 Покрытия из синтетических плиток являются разновидностью покрытий полов из линолеума. Данный вид покрытий характеризуется как рядом преимуществ по сравнению с покрытием из линолеума - не требуется выдержка материалов перед укладкой в течение 2 суток и прирезка стыков полотнищ, возможно устраивать покрытия с неограниченным количеством вариантов по цвету и рисунку, так и рядом недостатков - большое количеством швов, что приводит к пониженной водостойкости покрытий и повышенному пылеотделению из швов.

8.20.2 Для покрытий полов применяются поливинилхлоридные плитки по ГОСТ 16475-81, получаемые вырубкой из листов безосновного линолеума, изготовленного каландровым или вальцовым способом, и плитки марки «Превинил» по ТУ 400-1-497-77, получаемые методом прессования из смеси, содержащей поливинилхлоридную смолу, наполнители, пигменты, пластификаторы и добавки из измельчённых отходов поливинилхлоридных материалов.

8.20.3 Область применения покрытий полов зависит от типа используемых синтетических плиток. Поливинилхлоридные плитки для полов по ГОСТ 16475-81 применяют в полах на кухнях и в коридорах жилых зданий, в помещениях административных зданий, в коридорах и фойе учебных и зрелищных предприятий, в помещениях лабораторий и др. Не допускается применять их в вестибюлях первых этажей, в торговых залах продовольственных и промтоварных магазинов, в душевых и ванных комнатах и других помещениях, где они подвержены интенсивному воздействию влаги. При использовании плиток марки «Превинил», характеризующихся повышенной толщиной (4,5 - 5 мм), водо- и износостойкостью, покрытия из них могут применяться в вестибюлях жилых домов, фойе зрелищных предприятий, торговых залов магазинов, на предприятиях общественного питания и в ряде промышленных зданий.

8.20.4 Конструкции полов из синтетических плиток аналогичны конструкции полов из безосновного линолеума (см. рис. 54 - 58). При этом:

- в полах на грунте сплошной гидроизоляционный слой необходим во всех случаях, даже если плитки укладываются на полимерный или полимер-битумный клей;

- покрытия из прессованных плиток «Превинил» не допускается выполнять по сборным стяжкам из древесноволокнистых плит, которые не стойки по отношению к увлажнению, а также, если в полах проходят регистры лучевого отопления или разводки систем с горячим теплоносителем.

8.20.5 Синтетические плитки рекомендуется приклеивать к основаниям полимерными клеями, применяемыми для приклейки поливинилхлоридного линолеума (см. п. 8.19.17).

8.20.6 В помещениях, где выполняются полы из синтетических плиток температура воздуха на уровне пола должна быть не ниже 15 °С, влажность не более 60 %. Влажность по массе бетона панелей междуэтажных перекрытий должна быть не более 4 %, стяжек на основе цементного, полимерцементного и гипсового вяжущего - не более 5 %, стяжек из древесноволокнистых плит - не более - 12 %.

8.20.7 Перед устройством покрытия следует произвести разбивку осей. При этом если помещения соединены между собой, разбивочные оси рекомендуется прокладывать во всех помещениях через середины проёмов смежных помещений. В других помещениях разбивочные оси прокладывают через их центр.

8.20.8 Перед наклейкой плиток следует выполнить пробную раскладку плиток насухо. Если целое число плиток не укладывается точно по длине и ширине помещения, разбивочные оси смещаются таким образом, чтобы плитки можно было бы подрезать только у одной или двух взаимно-перпендикулярных стен.

8.20.9 Наклейку плиток следует начинать от пересечения разбивочных осей. В больших помещениях рекомендуется укладывать плитки в двух или четырех направлениях от разбивочных осей. В помещениях небольшой площади укладку плиток на клеях из синтетических смол и каучуков следует начинать от входной двери и вести от себя, находясь на ранее наклеенных плитках, а при использовании дисперсионных и битумно-синтетических клеев в направлении на себя, не наступая на ранее уложенные плитки.

8.20.10 Дисперсионные, битумно-синтетические и синтетические клеи следует наносить толщиной 0,4 - 0,5 мм полосой шириной на 80 - 100 мм шире плитки. При этом укладку плиток производят через 15 - 20 минут после нанесения клея. В случае применения синтетического клея укладку следует завершить через 40 минут после нанесения клея.

8.20.11 При использовании каучуковых клеев типа КН-2 и КН-3 их следует наносить на нижележащий слой и тыльную сторону плитки толщиной 0,2 - 0,3 мм. При этом в небольших помещениях клей рекомендуется наносить на всю площадь помещения, начиная от стены, а при больших площадях - на ширину двух-трех рядов плиток. Укладку плиток осуществляют после выдержки клея до «отлипа».

8.20.12 Зазоры между стенами и покрытием пола перекрывают деревянными или пластмассовыми плинтусами.

8.20.13 Технология крепления плинтусов и условия принятия покрытия в эксплуатацию аналогичны покрытиям полов из линолеума.

8.21 Покрытия из резиновых, резинокордовых и резинокордно-битумных плит

8.21.1 Полы с покрытием из резиновых, резинокордовых и резинокордно-битумных плит рекомендуется применять в производственных и животноводческих зданиях с учётом допустимых эксплуатационных воздействий, приведённых в табл. 1, 2, 3 Приложения 1.

8.21.2 В животноводческих зданиях полы с покрытием из резиновых, резинокордовых и резинокордно-битумных плит рекомендуется применять в стойлах, станках, боксах одноэтажных зданий для крупного рогатого скота, телят, а также в животноводческих зданиях, предназначенных для содержания поросят-отъёмышей до двухмесячного возраста, и в опоросных станках с фиксированным содержанием свиноматок.

8.21.3 В животноводческих зданиях полы должны иметь уклон в сторону навозосборного канала. Величину уклона рекомендуется принимать в зданиях для крупного рогатого скота равной 3 - 5 %, в свинарниках - 5 %.

8.21.4 Не допускается устройство таких полов в проходах и проездах животноводческих зданий, а также в производственных зданиях при весьма значительной и значительной интенсивности механических воздействий и при возможном падении на пол предметов массой более 10 кг с высоты 1 м и более.

8.21.5 Для устройства покрытий полов используют резиновые плиты размером 1500×1000×12 мм (ТУ 2544-459-05011868-2000), а также резинокордовые и резинокордно-битумные плиты размером 1900×1100×(12 - 15) мм (ТУ 38-30-42-81).

8.21.6 Полы с покрытием из резиновых, резинокордовых и резинокордно-битумных плит в производственных зданиях выполняют по бетонному подстилающему слою или по железобетонному перекрытию, а в животноводческих зданиях по подстилающему слою из легких бетонов.

8.21.7 В полах производственных зданий (рис. 61) резиновые плиты могут быть втоплены в свежеприготовленный цементно-песчаный раствор или наклеены клеевым составом на бетонную или цементно-песчаную стяжку.

Рис. 61 Конструктивные схемы полов в производственных зданиях с покрытием из резиновых, резинокордовых и резинокордно-битумных плит, уложенных на свежеприготовленный цементно-песчаный раствор (а) и клеевую прослойку (б)

1 - плиты резиновые с анкерами; 2 - плиты резиновые, резинокордовые и резинокордно-битумные с ровной нижней поверхностью; 3 - клеевая прослойка; 4 - стяжка; 5 - бетонный подстилающий слой; 6 - плита перекрытия; 7 - грунт основания.

8.21.8 В полах животноводческих зданий (рис. 62) резиновые, резинокордовые или резинокордно-битумные плиты могут быть наклеены клеевыми составами на выравнивающий слой толщиной 20 мм из цементно-песчаного раствора M100 или закреплены шиферными гвоздями к деревянным антисептированным брускам, утопленным в подстилающий слой, или уложены насухо (при плитах со шпунтом). Подстилающий слой выполняется толщиной 80 мм из керамзитобетона класса В5 плотностью 1200 кг/м3.

Рис. 62 Конструктивные схемы полов в животноводческих зданиях с покрытием из резиновых, резинокордовых и резинокордно-битумных плит, уложенных на клеевую прослойку (а), насухо (б) и прикрепляемых к деревянным брускам (в)

1 - плиты резиновые, резинокордовые и резинокордно-битумные с ровной нижней поверхностью; 2 - клеевая прослойка; 3 - стяжка; 4 - шиферный гвоздь; 5 - антисептированный деревянный брусок 40×60 мм; 6 - теплоизоляционный слой из легкого бетона; 7 - подстилающий слой - щебень крупностью 40 - 60 мм, пропитанный битумом; 8 - грунт основания.

8.21.9 Для покрытий полов из резиновых плит, укладываемых на свежеприготовленную цементно-песчаную прослойку, следует использовать раствор состава цемент:песок = 1:2 при водоцементном отношении В/Ц = 0,35 - 0,45.

8.21.10 Для приготовления бетонов подстилающего слоя и растворов для цементной стяжки следует применять портландцемент М 400, соответствующий по своим свойствам требованиям ГОСТ 10178-85.

8.21.11 В качестве крупного заполнителя для легкого бетона в полах животноводческих зданий следует применять керамзитовый гравий, удовлетворяющий требованиям ГОСТ 9757-83. Размер фракций крупного заполнителя 10 - 40 мм.

8.21.12 В качестве мелкого заполнителя следует использовать песок керамзитовый, удовлетворяющий требованиям ГОСТ 9759-83.

8.21.13 В качестве крупного заполнителя для тяжелого бетона подстилающего слоя в полах производственных зданий следует применять гравий или щебень крупностью до 15 мм, а в качестве мелкого заполнителя крупно- или среднезернистый песок.

8.21.14 Подбор состава легкого бетона следует производить в соответствии с требованиями ГОСТ 27006-86.

8.21.15 Приготовление цементно-песчаного раствора осуществляют в следующей последовательности: перемешивают в течение 1 - 2 минут цемент и песок, добавляют при перемешивании часть воды затворения, а затем добавляют оставшуюся воду и перемешивают до однородного состояния.

8.21.16 Приготовление бетонных и растворных смесей следует производить в смесителях принудительного действия. Допускается приготовление бетонных смесей в бетономешалках гравитационного действия при условии, что прочность контрольных бетонных кубов из одного замеса не будет отличаться более чем на 10 %. Загрузку работающего смесителя отдозированными материалами следует производить в следующей последовательности: крупный заполнитель, мелкий заполнитель, цемент, вода (подаётся постепенно). Продолжительность перемешивания 2 - 3 минуты. Осадка конуса легкого бетона должна быть в пределах 10 - 20 мм. Удобоукладываемость растворной смеси следует оценивать также по расплыву конуса согласно ГОСТ 310.4-81, который должен составлять 106 - 115 мм.

8.21.17 В животноводческих зданиях выполнение конструктивных слоев пола следует производить после устройства навозосборного каната до установки перегородок и сантехнического оборудования. В местах установки стоек следует устраивать колодцы соответствующих размеров с использованием инвентарных пустотообразователей.

8.21.18 Площадь пола разбивают на отдельные участки, ограниченные рейками с размером по высоте, соответствующим толщине стяжки. Рейки устанавливают параллельно стенам на цементные маяки по уровню, в соответствии с отметками, вынесенными на стену.

8.21.19 Цементно-песчаный раствор следует укладывать на влажное, но без скопления воды основание пола с выравниванием уложенного слоя раствора правилом, передвигаемым по маячным рейкам.

8.21.20 Виброуплотнение свежеуложенных бетонных или растворных смесей следует производить площадочными вибраторами.

8.21.21 В подстилающем слое из легких бетонов должны быть выполнены усадочные швы толщиной 15 - 20 мм, располагаемые с шагом не более 20 м, которые в животноводческих зданиях следует предусматривать под межбоксовыми или межстойловыми перегородками. Полости швов заливаются битумом. В подстилающем слое из тяжелого бетона деформационные швы выполняются в соответствии с требованиями Раздела 1.

8.21.22 Технологические (рабочие) швы в легкобетонном слое следует, как правило, совмещать с температурно-усадочными швами.

8.21.23 Цементно-песчаную стяжку следует устраивать непосредственно после укладки легкобетонного подстилающего слоя. Перед укладкой её по ранее уложенному и затвердевшему бетону подстилающего слоя поверхность последнего следует тщательно очистить от пыли и загрязнения.

8.21.24 Покрытие из плит следует устраивать после достижения раствором выравнивающего слоя 70 %-ной проектной прочности, при этом влажность слоя должна быть не более 5 % (по массе).

8.21.25 Для укладки в свежеприготовленную цементно-песчаную стяжку должны применяться резиновые плиты с анкерами. При этом время от начала приготовления раствора до укладки на него резиновых плит должно составлять не более 40 минут. При укладке резиновые плиты тщательно подгоняются друг к другу, стенам, фризам и другим выступающим над полом конструкциям. Втапливание плит следует производить до полного и плотного контакта с раствором, а раствор, выступивший из швов, удалить с поверхности плит до его затвердевания.

8.21.26 Эксплуатация полов с покрытием из резиновых плит, уложенных на свежеприготовленный цементно-песчаный раствор, возможна для пешеходного движения через 10 суток, а полная эксплуатация через 28 суток после изготовления цементно-песчаной стяжки.

8.21.27 В производственных зданиях при укладке резиновых плит на клеевых составах бетонное основание должно иметь прочность на сжатие не менее 20 МПа. Крепление плит к бетонному основанию следует производить не ранее, чем через 7 - 10 суток с момента изготовления бетонной стяжки.

8.21.28 Для наклейки плит следует применять полимерные клеи: «Перминид» (ТУ 400-1-136-78), двухкомпонентные эластичные эпоксидный UZIN-KR 421 и полиуретановый UZIN-KR 430 (фирма «UZIN», ФРГ), а также резиновые клеи - КН-2 (ГОСТ 24064-80). Возможно также применение резинобитумных мастик «Резапласт» по ТУ 21-27-105-83 и МБРК по ТУ 480-1-96-87 и дивинилстирольного стабилизированного латекса СКС-65 ГП марки «Б» по ТУ 38.103111-83.

8.21.29 Крепление плит к бетонному основанию полимерными клеями осуществляют в следующей последовательности:

- нижняя поверхность и боковые грани плит обезжириваются растворителем, после чего на них наносят тонкий слой клея и выдерживается до полного высыхания;

- клей тонким слоем наносят на бетонное основание, а также (повторно) на плиты и выдерживается «до отлипа»;

- укладывают плиты на поверхность стяжки вплотную друг к другу и плотно прижимают.

8.21.30 Наклейку плит резинобитумной мастикой производят в следующей последовательности:

прирезка плит по месту укладки;

очистка выравнивающего слоя от пыли и загрязнений, промазка выравнивающего слоя раствором битума в керосине (40 кг битума БН-V на 60 кг керосина), очистка наклеиваемой поверхности плит от загрязнений бензином или керосином;

наклейка плит через сутки после промазки выравнивающего слоя.

8.21.31 При наклейке плит резинобитумной мастикой должны промазываться поверхность выравнивающего слоя и приклеиваемой стороны плиты. Плиты следует крепить к выравнивающему слою резинобитумной мастикой плотностью 1100 кг/м3. Мастику следует наносить равномерно, слоем толщиной 1 - 2 мм. Между плитами следует оставить зазоры шириной 10 мм, заполнить их мастикой и сверху посыпать песком.

8.21.32 При укладке резиновых плит на клеевых составах и резинобитумной мастике пешеходное движение допускается через 2 - 3 суток после наклейки (закрепления) резиновых плит к основанию пола, а полная эксплуатация полов с покрытием из резиновых, резинокордовых и резинокордно-битумных плит после выдержки в течение 3 - 5 суток.

8.21.33 При наклейке плит на латексцементной композиции следует применять раствор следующего состава (в расчёте на 1 м3 смеси):

цемент марки 400                                                 800 кг

латекс СКС-65ГП марки «Б»                               400 литр

8.21.34 Латексцементный раствор следует изготавливать в растворомешалке на строительной площадке непосредственно перед наклейкой плит.

8.21.35 Устройство покрытия осуществляют в следующей последовательности:

прирезка плит по месту укладки;

очистка выравнивающего слоя от пыли и загрязнений и огрунтовка его латексом, разбавленным водой в отношении 1:1 по объёму, очистка наклеиваемой поверхности плит от загрязнений бензином или керосином;

промазка поверхности выравнивающего слоя и поверхности плиты латексцементным раствором равномерным слоем толщиной 0,5 - 1,0 мм через 0,5 часа после огрунтовки выравнивающего слоя и наклейка плит.

При необходимости в местах неполного прилегания плит под собственным весом их следует пригрузить. Между плитами следует оставлять зазоры шириной 10 мм и заполнить их латексцементным раствором.

8.21.36 Работы при наклейке плит синтетическими клеями или резинобитумными мастиками следует выполнять при температуре воздуха в помещении не ниже +5 °С, а при наклейке латексцементной композиции при температуре не ниже +15 °С.

8.21.37 К подстилающему слою, в котором предусмотрены деревянные антисептированные бруски сечением 40×60 мм, плиты покрытия крепят шиферными гвоздями. Бруски замоноличиваются в бетон подстилающего слоя вдоль стойл у кормушек, посредине стойла и у навозосборного канала.

8.21.38 Крепление плит шиферными гвоздями к деревянным брускам, заложенным в бетоне подстилающего слоя, следует производить 4 - 5 гвоздями в каждый брусок. При этом зазоры между плитами заполняются цементно-песчаным раствором, используемым для устройства выравнивающего слоя.

8.21.39 Эксплуатация полов с покрытием из резиновых, резинокордовых и резинокордо-битумных плит, уложенных на латексцементном растворе, а также при креплении плит шиферными гвоздями с заделкой швов цементно-песчаным раствором возможна для пешеходного движения через 7 - 10 суток, а полная эксплуатация через 28 суток после укладки.

8.22 Покрытия из керамических плиток

8.22.1 Полы из керамических плиток рекомендуется применять в помещениях с систематическим или периодическим увлажнением пола с учётом допустимых эксплуатационных воздействий, приведённых в табл. 1, 2, 3 Приложения 1.

8.22.2 Для изготовления покрытий полов рекомендуется применять керамические плитки, соответствующие требованиям ГОСТ 6787-2001.

8.22.3 Покрытия из керамических плиток могут быть выполнены по бетонному подстилающему слою, железобетонным перекрытиям или цементно-песчаным или саморазравнивающимся стяжкам с пределом прочности на сжатие последних не менее 15 МПа, а также по сборным стяжкам из спаренных гипсоволокнистых листов (рис. 63).

8.22.4 При средней и большой интенсивности воздействия жидкости на пол конструктивная схема пола должна предусматривать наличие слоя гидроизоляции. Гидроизоляционный слой может располагаться как под выравнивающей стяжкой, так и непосредственно под покрытием. Типы подслоя и рекомендации по их нанесению приведены в главе 7.

8.22.5 Покрытия из керамических плиток относятся к «холодному» типу полов. В помещениях с нормируемыми показателями теплоусвоения покрытие полов рекомендуется выполнять по электро- или водонагреваемым стяжкам.

8.22.6 В покрытиях из керамических плиток, выполняемых по электро- или водонагреваемым стяжкам, должны быть предусмотрены деформационные швы. Швы устраиваются в продольном и поперечном направлении с шагом не более 6 м и должны совпадать с деформационными швами в обогреваемой стяжке (рис. 64).

Рис. 63 Конструктивные схемы полов с покрытием из керамических плиток

1 - керамическая плитка; 2 - прослойка из цементно-песчаного раствора; 3 - клеевая прослойка; 4 - мастика в швах; 5 - гидроизоляция; 6 - цементно-песчаная или бетонная стяжка; 7 - сборная стяжка из гипсоволокнистых листов; 8 - лага регулируемая; 9 - болт-стойка; 10 - пористо-волокнистые маты или пенопластовые плиты; 11 - керамзитовый или кварцевый песок; 12 - полиэтиленовая плёнка; 13 - плита перекрытия; 14 - бетонное основание; 15 - грунт основания.

Рис. 64 Конструктивные схемы полов с покрытием из керамических плиток по обогреваемым стяжкам

1 - керамическая плитка; 2 - мастика в швах; 3 - клеевая прослойка; 4 - деформационный шов, расшитый полиуретановым герметиком; 5 - цементно-песчаная или бетонная стяжка; 6 - электрокабели или трубы; 7 - теплоизоляция из пористоволокнистых матов или пенопластовых плит; 8 - рулонная гидроизоляция; 9 - плита перекрытия, 10 - бетонное основание; 11 - грунт основания.

8.22.7 Выбор клеевой прослойки следует осуществлять с учётом толщины плиток и их пористости. Плитки относятся к не впитывающим влагу при коэффициенте водопоглощения менее 0,5 %, средне впитывающим при коэффициент водопоглощения от 0,5 до 3 % и впитывающим при коэффициенте водопоглощения более 3 %.

8.22.8 Не впитывающие и средне впитывающие керамические плитки рекомендуется укладывать по прослойке из плиточных клеёв на основе минеральных вяжущих, в качестве которых рекомендуются составы на основе портландцемента с модифицирующими добавками - клей плиточный «Глимс-96» по ТУ 5745-010-40397319-2003 или жидкого стекла - строительная мастика «Калан» по ТУ 2384-0003-36537956-00. Рекомендуются к применению также клеевые композиции, выпускаемые фирмой «Хенкель Баутехник»: для полов из керамической плитки (глазурованной, терракота и т.п.) размером до 30×30 см на недеформирующихся основаниях в отапливаемых помещениях Ceresit CM 9 (ТУ 5745-008-58239148-03), для полов из керамической плитки с водопоглощением не менее 1 % и размером до 30×30 см на недеформирующихся основаниях в отапливаемых и неотапливаемых помещениях Ceresit CM 11 (ТУ 5745-008-58239148-03) (при дополнительном введении эластификатора марки Ceresit CC 83 в клеевую композицию Ceresit CM 11 она может применяться и для плиток с водопоглощением менее 1 % и для укладки по деформирующимся основаниям (гипсоволокнистые плиты), для полов из керамической плитки с водопоглощением не менее 1 % и размером до 30×30 см на недеформирующихся основаниях в отапливаемых и неотапливаемых помещениях Ceresit CM 14 (ТУ 5745-008-58239148-03), характеризующийся ускоренным отверждением и возможностью применяться при пониженных температурах (но не ниже +5 °С) (при дополнительном введении эластификатора марки Ceresit CC 83 в клеевую композицию Ceresit CM 14 она может применяться и для плиток с водопоглощением менее 1 % и для укладки по деформирующимся основаниям (гипсоволокнистые плиты, обогреваемые стяжки), для полов из плитки любых видов на сложных и деформирующихся основаниях - гипсоволокнистых плитах, обогреваемых стяжках, на террасах, балконах Ceresit CM 17 (ТУ 5745-008-58239148-03) и для полов из плитки любых видов на недеформирующихся основаниях в отапливаемых и неотапливаемых помещениях Ceresit CM 117 (ТУ 5745-008-58239148-03). Последняя композиция при дополнительном введении эластификатора Ceresit CC 83 может применяться и для укладки по деформирующимся основаниям (гипсоволокнистые плиты, обогреваемые стяжки). Рекомендуемые для устройства полов из керамической плитки полимерцементные клеи, выпускаемые фирмой «UZIN» (ФРГ), приведенные в табл. 8.22.1.

Таблица 8.22.1

Клеи фирмы «UZIN» для керамической плитки по типу материалу и толщине плитки

Тип керамической плитки

Толщина плитки

В отапливаемых помещениях

В не отапливаемых помещениях

Затирка

до 5 мм

5 - 10 мм

10 - 20 мм

30 - 40 мм

Впитывающая

Power Plus

Power Plus

Power Flex

Power Base

Power Plus

Power Flex

Fugen Weiss

Средне впитывающая

Power Plus

Power Plus

Power Flex

Power Extraflex

Power Plus

Power Flex

Fugen Breit

Не впитывающая

Power Flex

Power Flex

Power Flex

Power Extraflex

Power Flex

Power Extraflex

Flex Fuge

8.22.9 Для впитывающих керамических плиток допускается также применение цементно-песчаного раствора (табл. 8.22.2), содержащего в качестве модифицирующей добавки пластифицированную поливинилацетатную дисперсию (ГОСТ 18992-80*) или латекс СКС-65ГП марки «Б» (ТУ 38.103111-80) в количестве 10 - 15 % от массы цемента в пересчёте на сухое вещество полимера.

Таблица 8.22.2

Марка раствора

Соотношение компонентов в масс. частях

Вода

Цемент марки 400

Песок

М150

0,55

1

3,0

М200

0,48

1

2,8

М300

0,40

1

2,4

8.22.10 В целях снижения усадочных деформаций для прослойки из цементно-песчаного раствора рекомендуется применять жесткие смеси с осадкой конуса 2 - 3 см. При этом керамические плитки следует втапливать в раствор прослойки методом вибрации. В противном случае следует использовать раствор с осадкой конуса 5 - 6 см.

8.22.11 Толщина полимерцементных прослоек должна составлять 2 - 3 мм, а прослоек из цементно-песчаного раствора - 10 - 15 мм.

8.22.12 Толщина шва между плитками должна быть не более 6 мм. При устройстве покрытия из керамических плиток по обогреваемым стяжкам толщина шва должна быть не менее 3 мм для мелко- и среднеразмерных штучных материалов, и не менее 5 мм для крупноразмерных.

8.22.13 При использовании полимерцементных клеёв и цементно-песчаного раствора покрытия из керамических плиток рекомендуется выполнять при температуре воздуха не ниже +5 °С.

8.22.14 Перед устройством покрытий плиты следует предварительно разложить насухо для подбора. Цвет и рисунок покрытия пола устанавливается проектом.

8.22.15 До устройства прослойки из цементно-песчаного раствора устанавливают и закрепляют первый ряд маячных реек из деревянных брусков или металлических прокатных изделий высотой, соответствующей требуемой толщине прослойки (10 - 15 мм).

8.22.16 Первый ряд маячных реек следует размещать у стены, противоположной входу в помещение, с таким расчётом, чтобы после укладки всех плиток и удаления маячной рейки в образовавшийся промежуток укладывалось целое число плиток фризового ряда. Последующие ряды маячных реек устанавливают параллельно первому на расстоянии, равном ширине укладываемого ряда плиток.

8.22.17 Для повышения начальной прочности сцепления цементно-песчаного раствора прослойки с плиткой её перед укладкой следует замачивать в воде. При этом плитки, укладываемые на жесткий цементно-песчаный раствор, рекомендуется замачивать путём полного погружения в воду или водный раствор поверхностно-активных веществ (ПАВ) на 15 - 20 минут. В качестве водных растворов ПАВ применяют 1 %-ный раствор хлористого кальция или 0,5 %-ный раствор хлористого алюминия.

8.22.18 При укладке плиток на раствор с осадкой конуса 5 - 6 см их достаточно перед укладкой окунуть в воду или водный раствор ПАВ.

8.22.19 Толщина прослойки из полимерцементных тонкослойных клеев регулируется размером зубцов шпателя, применяемого при нанесении данной композиции.

8.22.20 При укладке керамических плиток на плиточных клеях предварительное увлажнение плиток не требуется.

8.22.21 Перед укладкой плитки поверхность основания должна быть очищена от различного рода загрязнений и веществ, снижающих адгезию клея к основанию - жиров, смазочных масел, битумных мастик и т.п. При необходимости, перед устройством плиточных покрытий основание выравнивают саморазравнивающимися смесями.

8.22.22 Приклейку плитки осуществляют, как правило, без дополнительной обработки очищенной поверхности основания. Сильно впитывающие сухие основания нужно увлажнить или обработать грунтовкой марки UZIN Fliestngrund (фирма «UZIN») или марок Ceresit СТ 17 (ТУ 5745-008-58239148-03) или Ceresit CN 94 (документация фирмы «Хенкель Баутехник») с последующим их высушиванием в течение 4 - 6 часов. Грунтовочные композиции фирмы «UZIN» (ФРГ) приведены в табл. 8.22.1. При укладке штучных материалов на цементно-песчаном растворе возможно применение для грунтовки пластифицированной поливинилацетатной дисперсии, разбавленной водой в соотношении 1:2 - 3.

8.22.23 В больших помещениях плиты рекомендуется укладывать от центра помещения в четырёх или двух направлениях от разбивочных осей по маячным шнурам, проходящим через центральные оси помещения. В остальных случаях укладку плит следует выполнять от стены, противоположной входным дверям, а маячный шнур натягивать вдоль стены.

8.22.24 Плиты укладываются сразу после разравнивания раствора или клея по шнуру в направлении «на себя» с образованием швов, которые затем заполняют окрашенными полимерцементными затирочными композициями марок Ceresit СЕ 33 Super (ТУ 5745-008-58239148-03), Ceresit СЕ 35 Super (ТУ 5745-008-58239148-03), Ceresit СЕ 42 (ТУ 5745-008-58239148-03) и Ceresit СЕ 43 (ТУ 5745-007-58239148-03) или цементно-песчаным раствором состава 1:1. Затирочные композиции фирмы «UZIN» приведены в табл. 8.22.1. В проектное положение плиты устанавливают, осаживая их трамбовкой или молотком через деревянную прокладку, которая должна захватывать не менее 2 плит.

8.22.25 Расшивку швов следует выполнять после укладки керамических плиток или плит из природного камня или керамогранита на клее марки Ceresit CM 14 через 3 часа, Ceresit СМ 11, Ceresit CM 17 и Ceresit CM 117 через 24 часа, а марки Ceresit CM 9 через 48 часов. Если для крепления плитки использовался цементно-песчаный раствор, заполнение межплиточных швов можно производить не ранее чем через 7 суток после укладки плитки.

8.22.26 Цементно-песчаный раствор прослойки должен твердеть во влажных условиях, для чего покрытие пола следует засыпать слоем мокрых опилок или накрыть полиэтиленовой плёнкой на 7 - 10 суток. Поливать покрытия без укрытия его опилками, матами или мешковиной не допускается, так как вода стекает и скапливается в пониженных местах, что в дальнейшем приводит к отслоению покрытия от прослойки.

8.22.27 Смачивание покрытий полов при укладке керамических плиток, плит из природного камня и керамогранита на полимерцементных клеевых композициях не требуется.

8.22.28 Эксплуатация покрытий полов из керамических плиток, уложенных на цементно-песчаном растворе, следует осуществлять после набора материалом прослойки марочной прочности и достижения воздушно-сухого состояния - как правило, после выдержки в течение 3 - 4 недель. При укладке штучных материалов на полимерцементных плиточных клеях выдержка до эксплуатации должна составлять 3 - 5 суток.

8.22.29 Включение подогрева в обогреваемых полах следует производить не ранее, чем через 7 суток, и осуществлять поэтапно по схеме: 1 сутки - нагрев до +25 °С, 2 сутки - до +35 °С, 3 сутки - до +45 °С, 4 сутки - до +55 °С, 5 - 10 сутки - выдержка при температуре +55 °С, 16 сутки - охлаждение до +45 °С, 17 сутки - до +35 °С, 18 сутки - до +25 °С и 19 сутки - до комнатной температуры. После осмотра и устранения возникших дефектов полы нагреваются до нормативной температуры - +23 °С.

8.23 Покрытия из плит природного камня и керамогранита

8.23.1 Покрытия полов из плит природного камня (гранита, лабрадорита, мрамора и др.) и керамогранита рекомендуется применять при устройстве полов в общественных, в том числе уникальных зданиях, где к ним предъявляются повышенные требования по эстетике, гигиене и истираемости, с учётом допустимых эксплуатационных воздействий, приведённых в табл. 1, 2, 3 Приложения 1.

8.23.2 Плиты из природного камня и керамогранита должны соответствовать требованиям ГОСТ 9480-77, а плиты из керамогранита, кроме того, должны соответствовать требованиям технической документации заводов-изготовителей, утверждённой в установленном порядке.

8.23.3 Покрытия из плит природного камня и керамогранита могут быть выполнены по бетонному подстилающему слою, железобетонным перекрытиям или цементно-песчаным стяжкам с пределом прочности на сжатие последних не менее 15 МПа (рис. 65).

8.23.4 Покрытия из плит природного камня и керамогранита относятся к «холодному» типу полов.

8.23.4 Для крепления плит из керамогранита, а также плит из природного камня толщиной до 20 мм рекомендуется применять плиточные клеи на основе минеральных вяжущих, в качестве которых могут быть рекомендованы клеи для крепления керамических плиток, приведенные в главе 8.22. Толщина клеевой прослойки должны составлять 2 - 3 мм для обычных плит и 10 - 15 мм для крупноразмерных плит (более 600 мм).

8.23.5 При применении плит из керамогранита для антикоррозионных покрытий (в частности, покрытий полов на пивзаводах), наклейку их необходимо выполнять полимерными мастиками (как правило, на основе эпоксидных смол), химически стойкими к воздействующим средам, в качестве таких мастик могут быть рекомендованы UZIN Fliesopur и UZIN Epoxiflex Plus (фирма «UZIN») и эпоксидный высокоэластичный клей для кислотоупорной плитки марки Ceresit CU 22 (фирма «Хенкель Баутехник»). При малой интенсивности воздействия агрессивных сред возможна укладка плит на клеевых композициях на основе цемента с расшивкой швов полимерной химически стойкой мастикой - UZIN Epo Tix и UZIN Epo Floor (фирма «UZIN») или Ceresit CE 48 (фирма «Хенкель Баутехник»).

8.23.6 Для крепления мраморных плит светлых оттенков и светлых или полупрозрачных керамогранитных плит рекомендуется применять клей белого цвета марки UZIN Stone Flex или марки Ceresit CM 15 и Ceresit CM 115 (ТУ 5745-008-58239148-03).

8.23.7 При укладке толстослойных плит природного камня толщиной более 20 мм допускается применение цементно-песчаного раствора, содержащего в качестве модифицирующей добавки пластифицированную поливинилацетатную дисперсию (ГОСТ 18992-80*) или латекс СКС-65ГП марки «Б» (ТУ 38-103111-80) в количестве 10-15 % от массы цемента в пересчёте на сухое вещество полимера, с прочностью на сжатие не ниже 15 МПа и с осадкой конуса 3 - 4 см. Толщина прослойки должна составлять 20 - 30 мм.

8.23.8 Для покрытий полов типа «Брекчия» применяются куски плит неправильной формы с размером лицевой поверхности не менее 25 см2.

Рис. 65 Конструктивные схемы полов с покрытием из плиты природного камня и керамогранита по подстилающему слою (а) и по перекрытию (б)

1 - плита природного камня или керамогранитная плита; 2 - прослойка из цементно-песчаного раствора; 3 - клеевая прослойка; 4 - мастика в швах; 5 - гидроизоляция, 6 - цементно-песчаная или бетонная стяжка; 7 - тепло-звукоизоляция; 8 - полиэтиленовая пленка; 9 - бетонное основание; 10 - плита перекрытия; 11 - грунт основания.

8.23.9 При устройстве покрытий типа «Брекчия» рекомендуется использовать обычный или цветной цементно-песчаный раствор, а также мозаичную смесь с щебёночным заполнителем из той же породы, что и куски плит. Марка раствора или смеси должны быть не ниже 200. Площадь каменного материала в покрытии должна составлять не менее 80 %.

8.23.10 Покрытия из плит природного камня и керамогранита следует выполнять при тех же параметрах воздуха, что и из керамических плиток.

8.23.11 Перед устройством покрытий плиты следует предварительно разложить насухо для подбора. Цвет и рисунок покрытия пола устанавливается проектом.

8.23.12 Плиты следует укладывать по маякам, размещаемым через 2 м.

8.23.13 В больших помещениях плиты рекомендуется укладывать от центра помещения в четырёх или двух направлениях от разбивочных осей по маячным шнурам, проходящим через центральные оси помещения. В остальных случаях укладку плит следует выполнять от стены, противоположной входным дверям, а маячный шнур натягивать вдоль стены.

8.23.14 Раствор или клей прослойки следует наносить полосами длиной 1 - 1,5 м вдоль маячного шнура на 20 - 30 мм шире ряда укладываемых плит.

8.23.15 Плиты укладываются сразу после разравнивания раствора или клея по шнуру в направлении «на себя» впритык с возможно более плотным швом. В проектное положение плиты устанавливают, осаживая их трамбовкой или молотком через деревянную прокладку, которая должна захватывать не менее 2 плит.

8.23.16 Через сутки после укладки швы заполняются окрашенными цементными или полимерными затирочными композициями или цементно-песчаным раствором состава 1:1.

8.23.17 Швы между кусками плит в покрытии типа «Брекчия» шириной 2 - 3 мм следует заполнять через сутки после укладки цементным тестом, а более 3 мм - цементно-песчаным раствором или мозаичной смесью.

8.23.18 По аналогии с покрытиями из керамической плитки покрытия из плит природного камня при укладке на цементно-песчаном растворе следует выдерживать во влажном состоянии в течение 7 - 10 суток. Смачивание покрытий полов при укладке плит из природного камня и керамогранита на полимерцементных клеевых композициях не требуется.

8.23.19 Эксплуатация покрытий полов из плит природного камня и керамогранита, уложенных на цементно-песчаном растворе, а также типа «Брекчия» следует осуществлять после набора материалом прослойки марочной прочности и достижения воздушно-сухого состояния - как правило, после выдержки в течение 3 - 4 недель. При укладке штучных материалов на полимерцементных плиточных клеях выдержка до эксплуатации должна составлять 3 - 5 суток.

8.24 Покрытия из плит каменного литья, кислотоупорных плиток и кирпича

8.24.1 Покрытия из плит каменного литья, кислотоупорных плиток и кирпича рекомендуется применять в производственных помещениях или отдельных их зонах при воздействии на полы воды, кислот, щелочей и их растворов с учётом эксплуатационных воздействий, приведенных в табл. 1, 2, 3 Приложения 1. При этом покрытие из кислотоупорного кирпича, уложенного на ребро, рекомендуется использовать только в зонах интенсивного движения автомобилей и автокар.

8.24.2 Покрытия из плит каменного литья, кислотоупорных плиток и кирпича могут быть выполнены по бетонному подстилающему слою, железобетонным перекрытиям или цементно-песчаным стяжкам с пределом прочности на сжатие последних не менее 15 МПа (рис. 66).

8.24.3 Плиты из каменного литья должны соответствовать требованиям ТУ 21-РСФСР-682-76, керамические кислотоупорные и термокислотоупорные плитки - ГОСТ 961-89, кислотоупорный кирпич - ГОСТ 474-90.

8.24.4 Плитки и кирпич следует укладывать по прослойке из химически стойких растворов или мастик, в качестве которых рекомендуется применять кислотоупорные силикатные растворы на основе натриевого или калиевого жидкого стекла, фенолформальдегидную замазку «Арзамит-5» (ТУ 2257-001-58948815-2003), а также полиуретановый и эпоксидный высокоэластичные клеи для кислотоупорной плитки: UZIN Fliesopur и UZIN Epoxiflex Plus (фирма «UZIN», ФРГ) и эпоксидный клей Ceresit CU 22 (фирма «Хенкель Баутехник», ФРГ). Составы и характеристики химически стойких материалов, в том числе стойкость к агрессивным средам, приведены в Справочнике строителя «Защита строительных конструкций и технологического оборудования от коррозии» - М. 1981 г., химическая стойкость полимерных клеёв марки UZIN представлена в табл. 8.24.1, а марки Ceresit - в таблице 8.24.2.

Таблица 8.24.1

Химическая стойкость UZIN Fliesopur и UZIN Epoxiflex Plus

Название

Стойкость к химикатам

Ацетон

-

Универсальный очиститель

++

Старые краски

++

Старое масло

++

Гидроксид алюминия (Al(ОН)3)

++

Муравьиная кислота 1 %

+

Муравьиная кислота 5 %

-

Муравьиная кислота 10 %

-

Аммиак 25 %

+

Кислота из аккумулятора

+

Бензин 60/95

++

Бензин 100/140

++

Бензин неэтилированный

+

Бензол

-

Вода

+

Пиво

++

Борная кислота

+

н-Бутилацетат

-

Гидроксид кальция

++

Хлорный отбеливающий щелок 5 %

+

Хлороформ

-

Хромная кислота 10 %

+

Кола

+

Дистиллированная вода

++

Дибутилфталат

++

Дизтопливо

++

Диоктилфталат

++

Типографская краска

+

Раствор поваренной соли 20 %

++

Газированная вода

++

Лаковый бензин

++

Рыбий жир

++

Льняное масло

++

Лимонад

+

Хлорид магнезии 35 %

++

Морская вода

++

Метанол

-

Метиленхлорид

-

Молоко

+

Молокопродукты

+

Молочная кислота 1 %

-

Молочная кислота 10 %

-

Гидроксид натрия 5 %

++

Гидроксид натрия 20 %

++

Гидроксид натрия 50 %

++

Керосин (Petroleum)

+

Растительное масло (общее)

++

Фосфорная кислота 10 %

-

Фосфорная кислота 30 %

-

Оливковое масло

++

Апельсиновый сок

-

Оксалатовая кислота 10 %

+

Касторовое масло

++

Сырая нефть

++

Азотная кислота 5 %

+

Азотная кислота 30 %

-

Конц. раствор соли

++

Соляная кислота 5 %

+

Соляная кислота 20 %

+

Соляная кислота 30 %

-

Соляная кислота 37 %

-

Санитарный очиститель (содержащий фосфорную кислоту)

-

Топленый жир

++

Смазочное средство

++

Жидкое мыло

++

Шоколад

++

Шампунь

++

Снег

++

Серная кислота 5 %

+

Серная кислота 20 %

-

Серная кислота 40 %

+

Мыло (мыльный раствор 5 %)

++

Силиконовое масло

++

Рассол

++

Скипидарное масло

+

Тест-бензин

++

Тетрахлоруглерод

-

Термическая вода

++

Толуол

-

Виноградный сок

+

Трихлорэтилен

-

Моющие средства и средства для полоскания

+

Дистиллированная вода

++

Перекись водорода 5 %

++

Вино

+

Винная кислота

+

Виски

+

Ксилол (диметилбензол)

-

Лимонная кислота 30 %

+

Раствор сахара 15 %

++

++ устойчив - при длительном воздействии нет размягчения или разрушения материала

+ условно устойчив - при временном воздействии - в т ч повторном - устойчив

- неустойчив - развитие повреждений материала в течение 24 - 72 часов

Рис. 66 Конструктивные схемы полов с покрытием из плит каменного литья, кислотоупорных плитки и кирпича по подстилающему слою (а) и по перекрытию (б)

1 - плита каменного литья, кислотоупорные плитка и кирпич; 2 - прослойка из цементно-песчаного раствора или раствора на основе жидкого стекла; 3 - прослойка на основе полимерных материалов; 4 - непроницаемый подслой; 5 - расшивка швов химически стойкими полимерзамазками; 6 - бетонное основание; 7 - гравий, пропитанный битумом; 8 - цементно-песчаная или бетонная стяжка; 9 - тепло-звукоизоляция; 10 - плита перекрытия; 11 - грунт основания.

Таблица 8.24.2

Химическая стойкость эпоксидного клея для плитки марки Ceresit CU 22 и эпоксидной затирки марки Ceresit СЕ 48

Название

Стойкость

Ацетон

-

Этиловый спирт, 100 %

-

Этиловый спирт, 10 % раствор

О

Сульфат аммония, насыщенный раствор

+

Аммиак, 25 % раствор

+

Аммиак, 10 % раствор

+

Хлорид аммония, 10 % раствор

+

Нитрат аммония, 50 % раствор

+

Фосфат аммония, насыщенный раствор

+

Кока-Кола

+

Дизельное топливо

+

Хлорид железа, насыщенный раствор

+

Сульфат железа, насыщенный раствор

+

Ледяная уксусная кислота

-

Нефть

+

Уксусная кислота, 10 %раствор

+

Фосфорная кислота, 10 %раствор

О

Азотная кислота, 10 % раствор

О

Азотная кислота, 5 % раствор

О

Соляная кислота, 20 % раствор

О

Соляная кислота, 5 % раствор

О

Бассейновая вода

+

Вода

+

Винная кислота 25 % раствор

+

Глицерин

+

Гликоль

+

Мазут

+

Гидроокись калия, 50 % раствор

+

Гидроокись калия, 10 % раствор

+

Карбонат калия, насыщенный раствор

+

Нитрат калия, насыщенный раствор

+

Сульфат калия, насыщенный раствор

+

Известковое молоко, насыщенный раствор

+

Керосин

+

Хлористый натрий, насыщенный раствор

+

Сульфат меди, насыщенный раствор

+

Хлорид магния, насыщенный раствор

+

Сульфат магния, насыщенный раствор

+

Морская вода

+

Моточная кислота, 3 % раствор

О

Минеральное масло

+

Бисульфат натрия, насыщенный раствор

+

Гидроокись натрия, 20 % раствор

+

Гидроокись натрия, 50 % раствор

+

Фосфат натрия, насыщенный раствор

+

Сульфат натрия, насыщенный раствор

+

Нитрорастворитель

-

Карбонат натрия, 50 % раствор

+

Щавелевая кислота, насыщенный раствор

+

Серная кислота, 35 % раствор

О

Серная кислота, 5 % раствор

+

Пищевое масло

+

Шпиндельное масло

+

Уайт-спирит

+

Толуол

О

Ксилол

-

Лимонная кислота 30 %

+

+ стоек

О ограничено стоек

- не стоек

8.24.5. При устройстве покрытий полов на объектах пищевой промышленности для наклейки плиток следует применять полимерзамазки, на которые имеются санитарно-эпидемиологические заключения на допустимость контакта их с пищевыми продуктами. Как правило, в этих случаях используют эпоксидные полимерзамазки.

8.24.6 При укладке кислотостойкой плитки на эпоксидных и полиуретановых клеях рекомендуется применять эпоксидные затирочные композиции для заделки швов - UZIN Еро Tix, UZIN Epo Floor и Ceresit CE 48.

8.24.7 Устройство покрытия пола рекомендуется выполнять по непроницаемому подслою, который одновременно служит и гидроизоляцией. Типы подслоя и рекомендации по нанесению приведены в главе 7 (п. 7.4).

8.24.8 При «малой» интенсивности жидкостных воздействий возможна укладка плиток и кирпича (облицовки) по прослойке из цементно-песчаного раствора с расшивкой швов химически стойкими полимерзамазками. Облицовка может осуществляться непосредственно по подстилающему слою (без непроницаемого подслоя).

8.24.9 Устройство покрытий пола рекомендуется выполнять при температуре воздуха не ниже 10 °С в случаях использования растворов на основе жидкого стекла и не ниже 15 °С при применении полимерзамазок.

8.24.10 Каналы, лотки и приямки, предназначенные для сбора и канализации агрессивных жидкостей, облицовываются до нанесения покрытия пола. Облицовку этих конструкций следует начинать с днища с последующим устройством по ней покрытия пола.

8.24.11 Устройство покрытия пола следует начинать от стен к проездам и дверям. Укладку плит и кирпича производят рядами, параллельными стенам. В больших помещениях плиты и кирпич укладываются полосами (участками) шириной не более 10 м. Кирпич укладывают по шнуру с соблюдением перевязки швов на 1/3 - 1/2 кирпича. В проездах его укладывают в «елку». При наличии большого числа фундаментов под оборудование, которые параллельны между собой, но не параллельны стенам - рядами, параллельными этим фундаментам.

8.24.12 При укладке плит и кирпича полосу разравниваемого кислотоупорного раствора или полимерзамазки следует иметь длиной не менее 1 м и шире укладываемого ряда плиток или кирпича на 40 - 50 мм. Швы между плитками и кирпичами заполняют материалом прослойки, выдавливаемым при их укладке. Ширина швов не должна превышать при кирпиче 5 мм, а при плитках - 3 мм.

8.24.13 Укладка плиток и кирпича по прослойке из цементно-песчаного раствора с расшивкой швов химически стойкими полимерзамазками может осуществляться методом укладки штучных материалов на прослойку впустошовку с последующим заполнением этих швов (расшивкой) химически стойкими растворами или полимерзамазками или комбинированным способом при одновременной укладке и заполнении швов.

8.24.14 При укладке плит или кирпича впустошовку швы должны иметь ширину 6-8 мм. Швы заполняют мастиками, наносимыми при помощи шприцов или вручную выдавливанием из полиэтиленовых мешков со срезанным углом. Глубина заполнения швов при их разделке должна быть не менее: 20 мм - для кирпича и плитки толщиной более 50 мм; 15 мм для плитки толщиной 20 - 30 мм. Укладка впустошовку плиток толщиной менее 20 мм не допускается.

8.24.15 При комбинированном способе на две боковые грани штучного материала наносится химически стойкий раствор или полимерзамазка и осуществляется укладка плитки или кирпича на прослойку из цементно-песчаного раствора с прижиманием их к ранее установленным штучным материалам.

8.24.16 В местах примыкания пола к стенам и колоннам устраивают плинтус, высота которого должна быть не менее 300 мм, для чего используют штучные изделия (плитку или кирпич) и химически стойкие замазки или растворы, применяемые для покрытия пола.

8.24.17 До начала эксплуатации покрытия из плит каменного литья, кислотоупорных плиток и кирпича должны быть выдержаны в течение 20 суток в сухих условиях при температуре воздуха не ниже +10 °С при использовании растворов на основе жидкого стекла и не ниже +15 °С при использовании полимерзамазок.

8.25 Глинобитные покрытия

8.25.1 Глинобитные покрытия полов допускается применять в помещения животноводческих зданий для содержания овец (кошарах) с учётом допустимых эксплуатационных воздействий, приведённых в табл. 1, 2, 3 Приложения 1.

8.25.2 Глинобитные покрытия выполняются непосредственно по грунту основания (рис. 67). Толщина покрытия должна составлять не менее 80 мм.

Рис. 67 Конструктивная схема полов с глинобитным покрытием

1 - глинобитное покрытие; 2 - грунт основания

8.25.3 Глинобитные покрытия выполняются из смеси песка, глины и воды (табл. 8.25.1). Щебень, гравий и маслянистые добавки вводят только при соответствующем указании в проекте. Щебень изготавливают из материалов с пределом прочности при сжатии не менее 10 МПа. Крупность щебня и гравия не должна превышать 60 мм. В качестве масляных добавок используют мазут, крекинг-остаток, жидкие нефтяные битумы, отходы машинного масла и т.п. Применение каменноугольных, торфяных, древесных смол и дёгтя не допускается.

Таблица 8.25.1

Материал

Глинобитная смесь

Глинобитная смесь, улучшенная добавками

Глинобетон

маслянистыми

гравием или щебнем

Песок крупностью, мм:

более 0,075

25 - 40 %

 

 

 

0,075 - 0,005

30 - 60 %

 

 

 

Глина (частицы мельче 0,005 мм)

15 - 30 %

97 - 98 %

60 - 90 %

35 - 45 %

Вода (от веса сухой смеси)

15 - 30 %

 

 

 

Маслянистые нефтяные вещества

-

2 - 3 %

-

-

Щебень или гравий

-

-

10 - 40 %

55 - 65 %

8.25.4 При влажных слежавшихся глинах затворение сухой смеси песка и щебня производят глиняным тестом, полученным путём предварительного замачивания глины.

8.25.5 Подвижность глинобитной смеси должна соответствовать условию погружения стандартного конуса не более чем на 40 мм.

8.25.6 Предел прочности при сжатии высушенной глинобитной смеси должен быть не менее 2,0 МПа.

8.25.7 Глинобитную смесь необходимо уплотнять слоями толщиной не более 100 мм до прекращения осадки и появления влаги на её поверхности. Последующие слои укладывают по смоченной поверхности нижележащего слоя. Выравнивание поверхности покрытия производят после впитывания влаги.

8.25.8 Перед возобновлением укладки глинобитной смеси (после перерыва) вертикальная кромка ранее уложенного покрытия должна быть смочена водой.

8.25.9 Поверхность законченного глинобитного покрытия необходимо слегка смачивать водой в течение 10 - 15 суток.

9. Отделка поверхности покрытий

9.1 При предъявлении к полам с бетонным, мозаично-бетонным, поливинилацетатцементно- и латексцементно-бетонным, ксилолитовым, поливинилацетатцементно-опилочным, дощатым и паркетным покрытиям повышенных требований по степени пылеотделения, водо- и маслостойкости, износостойкости, а также для улучшения эстетических и декоративных качеств покрытий рекомендуется предусматривать дополнительную отделку поверхности.

9.2 Отделка поверхности покрытий на основе цементных и магнезиальных вяжущих предусматривает пропитку её эпоксидными составами марок «Ризопокс-1100» (ТУ 2257-014-43548961-2003) или «Ризопокс-1301 W» (ТУ 2257-027-43548961-2003) или полиуретановым марки «Ризопур-1700» (ТУ 2312-054-43548961-2007) или силикатным марки «Ашфорд Формула» («Curecrete Chemical Company» США) или используют окраску эпоксидными красками марок «Ризопокс-4610» (ТУ 2257-008-43548961-2002), «Ризопокс-5601 W» (ТУ 2257-011-43548961-2002) или полиэфирными композициями марок «Праспан-Эконом», «Праспан-ВД» (ТУ 5772-001-15059795-2002).

9.3 Для отделки поверхности покрытий на основе цементных вяжущих возможно применение флюатирующих состава марки «Литурин» (фирма «Линдекс», Швеция).

9.4 Паркетные полы для защиты от изнашивания и загрязнений, а также выявления естественной фактуры древесины покрывают лаком. Дощатые полы грунтуют натуральной олифой с небольшим (до 2 %) содержанием сиккатива и окрашивают.

9.5 В зависимости от видов эксплуатационного воздействия, оптических свойств покрытия и пород древесины могут быть рекомендованы производимые немецкой фирмой UZIN лаковые отделочные системы: экологически чистые с самым высоким показателем на истирание, минимальным изменением цвета дерева при высокой эластичности и устойчивости к ультрафиолету, а также к воде (при применении средств по уходу) водные лаки UZIN MF-94 и UZIN MF-95 (для жилых зон), UZIN MF-96 и UZIN MF-97 (при высоких нагрузках), UZIN MF-98 и UZIN MF-99 (при очень высоких нагрузках); а для самой высокой водо-химстойкости, быстрого набора окончательной прочности, высокой поверхностной прочности и возможности работы в условиях высокой влажности воздуха полиуретановые лаки: UZIN MF-88 DD (при нормальных нагрузках), UZIN MF-86 DD (при интенсивных нагрузках); при требовании высокой эластичности, низкой истираемости, возможности создания поверхностей с коэффициентом трения 0,5 - 0,7 уретан-алкидные лаки: UZIN MF-76 (при нормальных нагрузках), UZIN MF-77 Sport (для полов в спортзалах), UZIN MF-78 (при интенсивных нагрузках); при требовании быстрого высыхания (при температуре применения от +5 до +30 ºС) и простоты применения лаки на кислотных отвердителях: UZIN MF-68; а также экологически чистые масляно-восковые системы: UZIN МН-84 (искусственное масло) и UZIN MH-86 (натуральное масло), которые применимы при больших интенсивных нагрузках и всех видах паркета. При выборе лаковой системы следует руководствоваться рекомендациями табл. 9.1.

Таблица 9.1

Сравнительные характеристики лаковых систем (баллы)

Свойства лаков

Водные лаки

DD-Полиуретановые лаки

Уретан-алкидные лаки

Лаки на кислотных отвердителях

Масляно-восковые пропитки

1

2

3

4

5

6

Истираемость

5

4 - 5

2 - 3

4

Параметр не определяется

Поверхностная твердость

4

5

2

4 - 5

Параметр не определяется

Экология

5

4

3 - 4

2

5

Эластичность

4 - 5

3 - 4

4 - 5

3 - 4

Параметр не определяется

Устойчивость к ультрафиолету

4 - 5

4 - 5

3 - 4

3

4 - 5

Устойчивость к воде

3

4 - 5

3 - 4

4 - 5

3 - 4

Изменение цвета дерева (минимальное - 5)

5

4 - 5

3 - 4

3 - 4

3

Требования к темп./влажности воздуха

3

4 - 5

4

5

4

Легкость нанесения

3

3 - 4

4

5

4

Время высыхания после нанесения

3 - 4

5

2

4 - 5

3 - 4

Набор прочности после нанесения

4

5

2

4 - 5

3 - 4

Поднятие ворса дерева

Есть

Нет

Нет

Нет

Нет

Легкость при шлифовке

2

3

4

3

Параметр не определяется

Доступность по цене

2

3

4

5

3 - 5

Устойчивость к химикалиям

4

5

3

5

4

9.6 Отделочные составы, как правило, наносятся на воздушно-сухие покрытия - влажность покрытий на основе цемента и магнезиального вяжущего должна быть не более 4 %, а паркетных и деревянных покрытий - не более - 12 %. Водно-дисперсионные пропитка марки «Ризопокс-1301 W», водно-дисперсионные краски марок «Ризопокс-5601 W» и «Праспан-ВД» и силикатная пропитка марки «Ашфорд Формула» могут наноситься и на влажные цементные и магнезиальные покрытия.

9.7 Поверхность покрытий полов на основе цемента и магнезиального вяжущего (кроме бетонных покрытий полов с упрочнённым верхним слоем) должна быть отшлифована, деревянные полы остроганы, а паркетные - отциклёваны. Непосредственно перед нанесением отделочных покрытий поверхность пола должна быть обеспылена.

9.8 Работы по отделке поверхности покрытий полов следует производить при температуре воздуха не ниже 10 °С.

9.9 Отделочные составы на основе эпоксидных и полиуретановых композиций следует наносить на покрытия полов на базе цемента и магнезиального вяжущего в 2 - 3 приёма. Каждый последующий слой должен наноситься после отверждения предыдущего. Вязкость 1-го, 2-го и 3-го слоев пропиточных составов должна составлять соответственно 8 - 12, 14 - 17 и 16 - 20 секунд.

9.10 Технология нанесения пропитки «Ашфорд Формула» включает следующие технологические стадии:

- перемешивание пропитывающей композиции;

- нанесение с избытком пропитывающей композиции на поверхность бетонного покрытия при помощи распылителя низкого давления или путём разлива её по поверхности из пластмассовой ёмкости;

- равномерное распределение материала по всей поверхности чистой мягкой щеткой до тех пор, пока пропитка «Ашфорд Формула» не станет гелеобразной, клейкой на ощупь, а поверхность бетонного покрытия скользкой (но не менее 45 минут). В течение этого времени нельзя допускать, чтобы даже небольшие участки поверхности высохли. Во избежание этого необходимо щеткой перераспределять материал на участки с повышенной адсорбцией или нанести на них дополнительное количество материала из расчёта 50 мл./м2. Следует обратить особое внимание на края покрытия, так как именно эти участки высыхают быстрее всего;

- после того, как поверхность стала скользкой, слегка сбрызнуть её водой, благодаря чему материал растворяется и поверхность перестаёт быть скользкой. Провести дополнительное распределение материала мягкой щеткой для улучшения его проникновения в бетон. Данный технологический процесс следует продолжать до тех пор пока поверхность опять не станет скользкой, но не более 15 минут;

- удаление остатков материала с поверхности производят тщательной промывкой поверхности чистой холодной водой без напора с дополнительной обработкой поверхности щеткой и с последующим осушением резиновой раклей.

9.11 Нанесение флюатирующих композиций марки «Литурин» осуществляется в два этапа. На первом этапе при помощи мягкой щётки или из специальной разливочной ёмкости наносится пропиточная композиция марки «Литурин I». После отверждения первого слоя наносится отделочная композиция марки «Литурин II».

9.12 Лаковые отделочные системы для полов из паркета предусматривают ведение отделочных работ в 3 этапа: шпаклевка швов, нанесение грунтовки и не менее 2-х слоев лака на покрытие пола в жилых помещениях или 3-х слоев в общественных зданиях.

9.13 Шпаклёвки и грунтовки должны соответствовать по химической природе лаковым системам. При выборе шпаклёвок и грунтовок следует руководствоваться рекомендациями табл. 9.2.

Таблица 9.2

Грунтовки и шпаклёвки для лаковых систем

Породы дерева

Лаковые системы

Водные лаки

DD-Полиуретановые лаки

Уретан-алкидные лаки

Лаки на кислотной основе

Масляно-восковые

Шпаклёвки

Все виды пород

UZIN MG-3021

UZIN MG-3052

UZIN MG-305

UZIN MG-305

UZIN MG-305

UZIN MG-302

UZIN MG-305

Грунтовки

Обычные породы дерева (дуб, ясень, орех и т.д.)

UZIN MG-3152

UZIN MG-3201

UZIN MG-337DD2,3

UZIN MG-315

UZIN MG-337DD2,4

UZIN MG-315

UZIN MG-315

UZIN MG-365

UZIN MG-375

 

Сильно впитывающие породы дерева (бук, канадский клён, чёрная вишня и т.д.)

UZIN MG-315

UZIN MG-3251

UZIN MG-315

UZIN MG-315

UZIN MG-3752,5

UZIN MG-315

UZIN MG-365

UZIN MG-375

 

Экзотические породы дерева

UZIN MG-3211

UZIN MG-315

 

UZIN MG-315

UZIN MG-315

 

1 - водо-дисперсионная композиция

2 - полимерная композиция на органическом растворителе

3 - для светлых пород дерева

4 - в системах с лаком UZIN MF-78

5 - в системах с лаком UZIN MF-76 позволяет в 2 раза сократить время нанесения уретан-алкидных лаков

9.14 До начала работы по покрытию паркета лаком должна быть закончена отделка стен, потолков и установка навесного оборудования. При нанесении лаков должны быть приняты меры по исключению попадания пыли на пол, а также воздействия сквозняков и прямых солнечных лучей.

9.15 Шпаклёвка швов между паркетными планками осуществляется плоскими шпателями. Для придания шпаклёвочным композициям необходимой вязкости и тиксотропных свойств в них в качестве наполнителя используется древесная мука, образующаяся при шлифовке паркета.

9.16 Грунтовки и лаковые композиции наносятся на покрытие пола при помощи шпателя, валика или распылителя. Каждый последующий слой следует наносить после отверждения предыдущего.

8.17 Перед нанесением последнего слоя лака покрытие следует прошлифовать мелкозернистой наждачной шкуркой.

8.18 Начало эксплуатации паркета, покрытого лаком, зависит от применённой лаковой системы и составляет при использовании однокомпонентных масляно-восковых пропиток UZIN МН-84 и UZIN МН-86 не ранее чем через 8 суток, двухкомпонентной масляно-восковой пропитки UZIN MH-88 - через 12 часов, уретан-алкидных лаков UZIN MF-96 Sport и UZIN MF-77 - через 21 сутки и полиуретановых лаков UZIN MF-88 DD и UZIN MF-86 DD - через 4 суток.

10. Основные правила техники безопасности

10.1 Работы по устройству полов должны выполняться специализированными бригадами под техническим руководством и контролем инженерно-технических работников организаций, имеющих лицензию на право производства таких работ. К производству работ допускаются рабочие, прошедшие медицинский осмотр, обученные правилам техники безопасности, методам ведения этих работ и мерам пожарной безопасности.

10.2 О проведении инструктажа рабочих должна быть отметка в специальном журнале под роспись. Журнал должен храниться у ответственного за проведение работ на объекте лица или в строительной (ремонтной) организации. При этом необходимо руководствоваться указаниями СНиП III-4-80 «Техника безопасности в строительстве» издания 1993 г., «Правилами технической эксплуатации электроустановок-потребителей», а также «Правилами техники безопасности при эксплуатации электроустановок-потребителей», утверждёнными Госэнергонадзором.

10.3 При организации работ с использованием механизмов и аппаратов, работающих под давлением, необходимо соблюдать меры безопасности, предусмотренные в «Правилах устройства и безопасной эксплуатации сосудов, работающих под давлением», утверждённых Госгортехнадзором.

10.4 Лица, выполняющие работы по разогреву битума, приготовлению битумных мастик и работающие с оборудованием для подогрева изоляционных материалов, должны проходить обучение по программам пожарно-технического минимума в обязательном порядке со сдачей зачётов (экзаменов).

10.5 У мест выполнения работ по устройству полов, а также около оборудования, имеющего повышенную пожарную опасность (котлы для варки битума и у мест приготовления битумной мастики, при производстве работ по укладке горючего утеплителя), следует вывешивать стандартные знаки (аншлаги, таблички) безопасности.

10.6 Перед началом ремонтных или строительных работ территория объекта должна быть подготовлена, с определением мест установки бытовых вагончиков, мест складирования материалов, баллонов с горючими газами, ёмкостей с легковоспламеняющимися жидкостями, размещения битумоварочных котлов и мест приготовления битумных мастик.

10.7 Бытовые вагончики и склады материалов, включая баллоны, следует размещать на территории согласно требованиям действующих норм и правил. Размещение их в противопожарных разрывах между зданиями и сооружениями, а также загромождение ими проездов (подъездов) к зданиям не допускается.

10.8 Временные строения должны располагаться от других зданий и сооружений на расстоянии не менее 15 м (кроме случаев, когда по другим нормам требуется больший противопожарный разрыв) или у противопожарных стен.

10.9 Отдельные блок-контейнерные здания допускается располагать группами не более 10 в группе и площадью не более 800 м. Расстояние между группами этих зданий и от них до других строений следует принимать не менее 15 м.

10.10 При ремонтах полов снимаемый горючий материал должен удаляться на специально подготовленную площадку. Устраивать свалки горючих отходов на территории объектов не разрешается. Горючие отходы должны своевременно вывозиться в места, определённые местной администрацией.

10.11 Выполнение работ по устройству полов одновременно с другими строительно-монтажными работами, связанными с применением открытого огня (сварка и т.п.), не допускается.

10.12 По окончании рабочей смены не разрешается оставлять неиспользованный горючий утеплитель и мастики, газовые баллоны и другие горючие и взрывоопасные вещества и материалы в помещении, где производятся работы по устройству полов.

10.13 Котлы для плавления битумов должны быть исправными.

10.14 Котлы допускается устанавливать группами с количеством в группе не более трёх. Расстояние между группами котлов должно быть не менее 9 м. Место варки и разогрева битумов должно размещаться на специально отведённых площадках и располагаться на расстоянии:

от зданий и сооружений I и II степеней огнестойкости и класса конструктивной пожарной опасности СО не менее 10 м;

от зданий и сооружений II степени огнестойкости и класса конструктивной пожарной опасности С1, а также от зданий и сооружений III и IV степеней огнестойкости и классов конструктивной пожарной опасности СО и С1 не менее 20 м;

от зданий и сооружений III степени огнестойкости и классов конструктивной пожарной опасности С2 и С3, а также от зданий и сооружений и V степеней огнестойкости и классов конструктивной пожарной опасности C1, C2 и С3 не менее 30 м.

10.15 Каждый котёл должен быть снабжён плотно закрывающейся крышкой из негорючих материалов. Заполнение котлов допускается не более чем на 3/4 их вместимости. Загружаемый в котёл битум должен быть сухим.

10.16 Во избежание перелива битума, его попадания в топку и загорания, котёл необходимо устанавливать наклонно так, чтобы его край, расположенный над топкой, был на 5  -6 см выше противоположного. Газовый баллон должен размещаться на расстоянии не менее 20 м от котла.

10.17 При работе передвижных котлов на сжиженном газе газовые баллоны в количестве не более двух должны находиться в вентилируемых шкафах из негорючих материалов, устанавливаемых на расстоянии не менее 20 м от работающих котлов. Указанные шкафы следует держать постоянно закрытыми на замки.

10.18 Установленный на открытом воздухе битумный котёл должен быть оборудован навесом из негорючих материалов. Место установки котлов должно быть обваловано (или устроены бортики из негорючих материалов) высотой не менее 0,3 м.

10.19 В процессе варки и разогрева битумных составов не разрешается оставлять котлы без присмотра.

10.20 При приготовлении битумной мастики разогрев растворителей не допускается. При смешивании разогретый битум следует вливать в растворитель (бензин, керосин), постоянно перемешивая мастику деревянной мешалкой.

10.21 Не разрешается пользоваться открытым огнём в радиусе 50 м от места смешивания битума с растворителем.

10.22 доставку горячей битумной мастики на рабочие места необходимо осуществлять:

- в специальных металлических бочках, имеющих форму усечённого конуса, обращенного широкой стороной вниз с плотно закрывающимися крышками. Крышки должны иметь запорные устройства, исключающие открывание при падении бачка переносить мастики в открытой таре не разрешается;

- насосом по стальному трубопроводу, закреплённому на вертикальных участках к строительной конструкции, не допуская протечек. На горизонтальных участках допускается подача мастики по термостойкому шлангу. В месте соединения шланга со стальной трубой должен надеваться предохранительный футляр длиной 40 - 50 см (из брезента или других материалов). После наполнения ёмкости установки для нанесения мастики следует откачать мастику из трубопровода.

10.23 После окончания работ топки котлов должны быть потушены и залиты водой.

10.24 Для целей пожаротушения места установки котла (группы котлов) для варки битума необходимо обеспечить ящиком объёмом 0,5 м3 с сухим песком, лопатами и пенными огнетушителями.

10.25 Для производства работ с использованием растворителей и битумных мастик должен применяться инструмент, изготовленный из материалов, не дающих искр - алюминий, медь, бронза, пластмассы и т.п. Промывать инструмент и оборудование, применяемое при производстве работ с горючими веществами, необходимо на открытой площадке или в помещении, имеющем вентиляцию.

10.26 Лица, участвующие в приготовлении составов холодного отверждения и их применении должны быть обеспечены спецодеждой и средствами индивидуальной защиты. Для защиты органов дыхания - респираторами марок Ф-62Ш, РУ-60М и типа «Лепесток». Для защиты кожи - пастами и мазями типа силиконовых, ПМ-1, ХИОТ БГ и другими, перчатками резиновыми. На местах проведения работ должны быть вода и аптечка с медикаментами для оказания первой помощи.

10.27 Для безопасного ведения процесса приготовления мастики, окрасочного состава и их нанесения необходимо обеспечить максимальную механизацию всех технологических операций и надлежащую герметизацию, заземление оборудования и коммуникаций, а также исправность электропусковой и контрольно-измерительной аппаратуры.

10.28 Ёмкости с растворителем и мастикой холодного отверждения должны подноситься к рабочему месту в специальной герметично закрытой таре в количестве, не превышающем однодневного запаса.

10.29 В помещениях для хранения и местах применения растворителей и мастик запрещается обращаться с открытым огнём и производить работы с искрообразованием.

10.30 Переливать и транспортировать растворители и мастику на растворителях следует при хорошем естественном освещении. Электрическое освещение в таких помещениях должно быть выполнено во взрывобезопасном исполнении.

10.31 Растворители и мастики должны храниться в специально оборудованных помещениях в соответствии со СНиП III-4-80 изд. 1993 г. «Техника безопасности в строительстве». Каждая ёмкость должна иметь бирку с наименованием содержимого. Порожнюю тару из-под растворителей следует складировать в закрытых помещениях.

10.32 Запрещается ремонтировать (производить сварку, пайку и другие работы) металлическую тару из-под горючих жидкостей до её промывки водой.

10.33 Помещения, связанные с подготовкой мастик, их разбавлением растворителями и нанесением защитных покрытий. Должны быть изолированы от смежных помещений и оборудованы принудительной приточно-вытяжной вентиляцией во взрыво-безопасном исполнении.

10.34 Содержание вредных веществ в рабочей зоне не должно превышать предельно допустимых концентраций.

10.35 Контроль за содержанием вредных веществ в рабочей зоне должен проводиться производственными лабораториями в объёме, согласованном с территориальными органами Государственного санитарного надзора.

10.36 Хранение и транспортирование баллонов с газами должны осуществляться только с навинченными на их горловины предохранительными колпаками. При транспортировании баллонов нельзя допускать толчков и ударов. Переноска баллонов на плечах и руках не разрешается.

10.37 Баллоны с газом при их хранении, транспортировании и эксплуатации должны быть защищены от действия солнечных лучей и других источников тепла.

10.38 При обращении с порожними баллонами из-под горючих газов должны соблюдаться такие же меры безопасности, как и с наполненными баллонами.

10.39 При перерывах в работе, а также в конце рабочей смены оборудование для нагрева должно отключаться, шланги должны быть отсоединены и освобождены от газов и паров горючих жидкостей. По окончании работ вся аппаратура и оборудование должны быть убраны в специально отведённые помещения (места).

10.40 Горючий утеплитель и другие вещества и материалы, используемые при работе, необходимо хранить вне строящегося или ремонтируемого здания в отдельно стоящем сооружении или на специальной площадке на расстоянии не менее 18 м от строящихся и временных зданий, сооружений и складов.

10.41 У мест проведения работ допускается размещение только баллонов с горючими газами, непосредственно используемые при работе. Создавать запас баллонов или хранить пустые баллоны у мест проведения работ не допускается.

10.42 Складирование материалов и установка баллонов в помещениях ближе 5 м от эвакуационных выходов (в том числе подходов к наружным пожарным лестницам) не допускается.

10.43 Ёмкости с горючими жидкостями следует открывать только перед использованием, а по окончании работы закрывать и сдавать на склад.

10.44 Тара из-под горючих жидкостей должна храниться в специально отведённом месте вне мест проведения работ.

10.45 Баллоны с горючими газами и ёмкости с легковоспламеняющимися жидкостями должны храниться раздельно в специально приспособленных вентилируемых вагончиках (помещениях) или под навесами за сетчатым ограждением, недоступных для посторонних лиц. Хранение в одном помещении баллонов с газовыми горелками, а также битума, растворителей и других горючих жидкостей не допускается.

10.46 При хранении на открытых площадках рулонного гидроизоляционного материала, битума, горючих утеплителей и других строительных материалов, а также оборудования и грузов в горючей упаковке должны размещаться в штабелях или группами площадью не более 100 м2. Разрывы между штабелями (группами) и от них до строящихся или подсобных зданий и сооружений должны быть не менее 24 м.

10.47 В местах приготовления и хранения приклеивающих составов и исходных материалов не допускается курение и применения открытого огня. В случае загорания этих материалов необходимо использовать при тушении углекислотные огнетушители, песок. Использование воды для тушения битумов и растворителей не допускается.

10.48 При обнаружении пожара или признаков горения (задымление, запах гари, повышение температуры и т.п.) необходимо:

- немедленно сообщить об этом в пожарную охрану,

- принять по возможности меры эвакуации людей, тушению пожара и обеспечению сохранности материальных ценностей.

10.49 Для обеспечения успешного тушения пожара необходимо обучить работников правилам и способам работы с первичными средствами пожаротушения.

10.50 По окончании работ необходимо провести осмотр рабочих мест и привести их в пожаро-взрывобезопасное состояние.

10.51 На объекте должно быть определено лицо, ответственное за сохранность и готовность к действию первичных средств пожаротушения.

10.52 Огнетушители должны всегда содержаться в исправном состоянии, периодически осматриваться, проверяться и своевременно перезаряжаться.

10.53 Использование первичных средств пожаротушения для хозяйственных и прочих нужд, не связанных с тушением пожара, не допускается.

10.54 При расстановке огнетушителей необходимо выполнять условие, чтобы расстояние от возможного очага пожара до места размещения огнетушителей не превышало 20 м.

10.55 В зимнее время (при температуре ниже 1 °С) огнетушители необходимо хранить в отапливаемых помещениях, на дверях которых должна быть надпись «Огнетушители».

10.56 Все работники должны уметь пользоваться первичными средствами пожаротушения.

10.57 Монтаж, демонтаж и ремонт трубопроводов для подачи растворных и бетонных смесей, а также удаление из них пробок допускается только после снижения в них давления до атмосферного. Рабочие, непосредственно не занятые в выполнении этих работ, должны быть удалены на расстояние не менее 10 м.

10.58 Растворо- и бетонопроводы должны быть уложены с минимальным числом поворотов. Повороты рукава под углом менее 90° не допускаются.

10.59 При механизированной окраске покрытий полов красками и лаками с использованием составов, содержащих вредные вещества, следует соблюдать «Санитарные правила при окрасочных работах с применением ручных краскораспылителей», утверждённые Главным санитарным врачом РФ.

10.60 При устройстве гидроизоляции из рулонных и других материалов с применением битумных мастик в закрытых помещениях должно быть обеспечено проветривание этих помещений.

10.61 При работе с цементом, гипсом и сухими растворными смесями необходимо защищать глаза очками. Подколку и подтёску плиток следует производить в рукавицах и защитных очках.

10.62 Рабочие, занятые приготовлением кислотоупорных растворов должны быть обеспечены защитной одеждой и очками, респираторами и брезентовыми рукавицами.

10.63 При применении ручных машин следует соблюдать правила безопасности эксплуатации, предусмотренные ГОСТ 12.1.013-78 и ГОСТ 12.2.010-75, а также инструкциями заводов-изготовителей.

10.64 Работающие с машинами для шлифования, заглаживания и затирки поверхностей должны иметь диэлектрическую обувь, а также диэлектрические перчатки. Запрещается работать с такими машинами при снятом ограждении траверс-лопастей и ременной передачи. Не разрешается переносить машины, подключенные к сети, включать и выключать вилку питающего кабеля под нагрузкой.

10.65 При работе с вибраторами, виброрейками и виброкатками необходимо соблюдать меры безопасности, предусмотренные в «Санитарных нормах и правилах при работе с инструментами, механизмами и оборудованием, создающим вибрации, передаваемые на руки работающих».

10.66 Помещения, где производятся работы по устройству полов из синтетических материалов, должны быть обеспечены вентиляцией.

11. Правила приёмки полов

11.1 При приёмке полов рекомендуется осуществлять поэтапный проёмочный контроль качества устройства основания, подстилающего слоя, гидроизоляции, тепло-звукоизоляции, стяжки и покрытия с записью в журнал работ и составлением актов на скрытые работы.

11.2 На каждом этапе приёмки Исполнитель (подрядная организация) должен по требованию Заказчика представить ГОСТы, ТУ или Технические свидетельства, содержащие технические характеристики используемых материалов, а также паспорта заводов-изготовителей, Гигиенические заключения и (при устройстве покрытий полов на основе полимерных материалов) Пожарные сертификаты. Заказчик также имеет право запросить Сертификат соответствия и провести входной контроль используемых материалов на соответствие их физико-механических показателей данным, представленным в вышеуказанных документах путем испытания этих материалов в аккредитованных испытательных лабораториях.

11.3 Безыскровые (взрывобезопасные) покрытия полов должны быть дополнительно проверены на отсутствие образование искр при ударах стальными и каменными предметами испытанием их в соответствии с рекомендациями стандарта организации СО 004-02495342-2006 «ПОЛЫ. Метод оценки безыскровости при ударных воздействиях» на наждачном точильном круге диаметром 150 мм при скорости вращения - 1200, 1440 и 2500 об/мин, а у полимерных антистатических покрытий полов, кроме того, проверяется удельное поверхностное электросопротивление.

11.4 Приемка полов, элементы которых выполнены из материалов, твердеющих после укладки, допускается не ранее срока достижения ими проектной прочности. Прочность этих материалов необходимо определять испытанием контрольных образцов в количестве не менее трех на каждые 500 м пола. При отсутствии контрольных образцов допускается производить испытание на сжатие не менее трех кернов с неразрушенной структурой диаметром не менее 70 мм, высверленных из слоя пола или определять прочностные характеристики методами неразрушающего контроля.

11.5 При приёмке основания, подстилающего слоя, гидроизоляции, тепло-звукоизоляционного слоя, стяжки Исполнитель составляет акты на скрытые работы по соблюдению требований, изложенных в Разделе I настоящих Правил.

11.6 Приемка готового пола должна оформляться актом с обязательной оценкой качества выполненных работ и выдачей Заказчику гарантийного паспорта, в котором указывается наименование объекта, объем работ по устройству полов, их качество и гарантийный срок эксплуатации.

11.7 Испытания полов на устойчивость к деформациям под действием сосредоточенных и распределённых нагрузок предусматривает:

а). Для полов с тонкослойным полимерным покрытием (линолеум, наливные полимерные покрытия) определение величины просадки полов под действием сосредоточенной нагрузки в 50 кг, которая не должна превышать 1 мм. Нагрузка на покрытие пола передаётся роликом диаметром 30 мм, шириной 15 мм в течение 24 часов. При этом в материале покрытия под роликом не должно появляться трещин или происходить разрушение других элементов пола.

б). Для полов с паркетным покрытием и покрытием из штучных материалов (керамическая плитка, керамогранит, плиты природного камня), просадка полов под действием сосредоточенной нагрузки в 200 кг не должна превышать 1,5 мм. Нагрузка на покрытие пола передаётся штампом размером 30×30 мм в течение 2 суток. При этом в материале покрытия под штампом не должно появляться трещин или происходить разрушение других элементов пола, а также выдавливания мастики из швов.

в). Для полов с покрытием дощатым и из паркетных досок по лагам просадка полов под действием сосредоточенной нагрузки в 200 кг не должна превышать 1 мм. Нагрузка на покрытие пола передаётся штампом размером 30×30 мм в течение 2 суток.

11.8 При проведении испытаний штамп или ролик должны устанавливаться в углу помещения и на угол паркетной планки или керамической плитки.

11.9 Спортивные поля и площадки, на которых предусмотрено проведение международных соревнований, следует проверять на соответствие международным требованиям (DIN 18032:11), по которым полы должны быть испытаны на соответствие следующих параметров:

1). Ударопоглощение

Данный параметр характеризует долю энергии, поглощаемой покрытием пола при ударных воздействиях. Для испытаний используется установка марки «Kunstlichen Sportier 95», схема которой приведена на рис. 68.

Рис. 68 Установка марки «Kunstlichen Sportier 95»

1 - направляющие; 2 - электромагнит; 3 - падающий груз; 4 - ударяемая головка, 5 - пружина; 6 - направляющая гильза; 7 - силоприёмник; 8 - боёк.

Сущность метода заключается в регистрации силы, сжимающей пружину при падении груза массой 20 кг. Проводятся параллельные испытания на исследуемом покрытии пола и на абсолютно жестком полу, в качестве которого используется стальная пластина толщиной не менее 10 мм, наклеенная на бетонное основание толщиной не менее 200 мм из бетона класса на не ниже В25. Расчет ударопоглощения производится по формуле 9.1

                                              (9.1)

где КА55 - ударопоглощение, %;

Fис - сила, сжимающая пружину на исследуемых покрытиях, Н;

Fжесткие - сила, сжимающая пружину на жестком полу Н;

2). Стандартная деформация.

Данный параметр характеризует величину прогиба покрытия пола при ударных нагрузках тел массой 1500 Н. Испытания проводятся на установке марки «Kunstlichen Sportier 95» после замены пружины на пружину повышенной жесткости с использованием бойка с небольшим радиусом закругления. Деформации оцениваются при помощи специального прибора, располагаемого на отдельно стоящем штативе на расстоянии не менее 1 м от места деформирования. Стандартная деформация рассчитывается по формуле 9.2

                                                    (9.2)

где StVn - стандартная деформация, мм;

Fmax, n - сила, действующая на боёк при проведении испытания, Н;

f0, max, n - вертикальное деформирование поверхности пола при испытании, мм.

3).Фактор W 500

Данный параметр оценивает величину вертикальной деформации пола в связи с тем, что при спортивных играх могут иметь место случаи, когда происходят параллельные прыжки спортсменов и это приводит к сложению деформаций пола. При испытании измеряется величина вертикального деформирования пола на расстоянии 500 мм от точки ударного воздействия с определением Wx,M,n по формуле 9.3

                                                       (9.3)

где Wx, M, n - величина фактора W 500, %;

f0, max, n - величина вертикального деформирования поверхности пола при испытании в точке удара, мм;

fx, max, n - величина вертикального деформирования поверхности пола при испытании в точке на расстоянии 500 мм от точки удара, мм.

4). Давление при прокатке роликом.

Данный параметр характеризует стойкость покрытия пола к нагрузкам, возникающим при движении по ним тележек на резиновом ходу, установке передвижных зрительских кресел и т.д. При испытании осуществляют многократное движение по поверхности покрытия тележки с колесом шириной 30 мм и диаметром 100 мм, нагруженной грузом 1500 Н. Длина пути должна составлять не менее 1 м, а движение осуществляться в обоих направлениях. После 150 циклов испытаний на поверхности покрытия не должно быть видимых разрушений.

5). Отскок мяча.

Характеристика, являющаяся важной в игровых видах спорта, таких как волейбол и баскетбол. Испытания предусматривают установление высоты отскока стандартного баскетбольного мяча с окружностью от 750 мм до 780 мм и весом от 600 до 650 г от исследуемой поверхности пола при падении мяча с высоты 1,8 м. Параллельно проводятся испытания с определением аналогичного показателя при падении мяча на жесткое бетонное покрытие. Высота отскока измеряется при помощи оптического или акустического прибора. Расчёт отскока осуществляется по формуле 9.4

                                                          (9.4)

где BR - отскок мяча, %;

hис, hжесткие - высота отскока мяча соответственно от исследуемого покрытия пола и жесткого покрытия, м.

6). Коэффициент трения

Характеристика, являющаяся важной для полов помещений для игровых видов спорта. При коэффициенте трения менее 0,4 возможно проскальзывание ноги и падение, при значении более 0,6 нога «залипает», что снижает скорость передвижения. При испытании используется установка марки «Gleimessgerat Stuttgart», схема которой приведена на рис. 69. Схема образца, имитирующего подошву спортивной обуви, представлена на рис 70.

Сущность метода заключается в регистрации электрическим измерительным прибором (6) крутящего момента, прикладываемого к рукоятке (17) при скольжении эталонного образца подошвы обуви (3) по исследуемому образцу покрытия пола (2). Расчет коэффициента трения производится по формуле 9.5

                                                                   (9.5)

где GW - коэффициент трения;

Dw - крутящий момент, Н · м;

F - прижимающая сила, Н.

Рис. 69 Установка марки «Gleimessgerat Stuttgart»

1 - плита основания испытательного стенда; 2 - покрытие пола; 3 - образец, имитирующий подошву; 4 - нижняя часть испытывающей ноги; 5 - верхняя часть испытывающей ноги; 6 - электрический измерительный прибор; 7 - мягкие резиновые шайбы; 8 - качающий шарнир с косой остью; 9 - держатель шарикоподшипника; 10 - шарикоподшипник; 11 - ходовой винт; 12 - опорный фланец; 13 - станина; 14 - прижимной груз; 15 - блок; 16 - рычаг стопора; 17 - рукоятка; 18 - подшипник скольжения; 19 - свободновисящий груз.

Рис. 70 Схема образца, имитирующего подошву спортивной обуви

1 - подошва; 2 - держатель.

11.10 Оценку скользкости покрытий полов в зданиях различного назначения могут быть осуществлены на экспериментальном испытательном стенде, разработанном ОАО ЦНИИПромзданий, принципиальная схема которого приведена на рис. 71. Испытательный стенд позволяет определять статический трстатический) и динамический (Ктрдинамический) коэффициенты трения скольжения.

Рис. 71 Принципиальная схема испытательного стенда

1 - двухконсольная платформа; 2 - винтовой домкрат; 3а и 3б - упорные ребра; 4 - уровнемер; 5 - индикатор часового типа; 6 - подвижная грузовая платформа, 7 - образец покрытия пола; 8 - эталонный образец подошвы обуви или эталонного образца подошвы ноги человека; 9 - гири; 10 - трос; 11а и 11б - система блоков; 12 - разрывная машина.

11.10.1 В соответствии с разработанным ОАО ЦНИИПромзданий стандартом организации СО 003-02495342-2006 «ПОЛЫ. Методы оценки скользкости покрытий пола» определение статического коэффициента трения на испытательном стенде включает следующие этапы:

- исследуемый образец покрытия пола размещают на расположенной горизонтально платформе таким образом, чтобы он упирался в неподвижное упорное ребро (3а).

- подвижная грузовая платформа (6) с прикреплённым на ней эталонным образцом подошвы обуви или эталонным образцом, имитирующим подошву ноги человека, (8) устанавливается на образец покрытия пола так, чтобы её продольная ось совпадала с направлением скольжения и затем загружается прижимающим грузом (9).

- после перемещения подвижного упорного ребра (3б) с размещенным на нем индикатором часового типа (5) до контакта его с подвижной грузовой платформой (6), оно закрепляется.

- при помощи винтового домкрата (2) осуществляется наклон двухконсольной платформы испытательного стенда со скоростью не более 10 град./мин, фиксируя при этом часовым индикатором начало перемещения подвижной грузовой платформы, за которое принимается значение перемещения, равное 2 мм.

- угол наклона двухконсольной платформы испытательного стенда, определённый по уровнемеру (4), соответствующий началу перемещения грузовой платформы на 2 мм, определяет величину угла скольжения эталонного образца подошвы обуви или эталонного образца подошвы ноги человека по эталонному образцу покрытия пола (Ускзт).

Расчет статического коэффициента трения производится по формуле 9.6

                                                         (9.6)

где Уск - значение угла скольжения эталонного образца подошвы обуви или эталонного образца, имитирующего подошву ноги человека, по эталонному образцу покрытия пола.

11.10.2 Определение динамического коэффициента трения включает следующие этапы:

- исследуемый образец покрытия пола размещают на расположенной горизонтально платформе таким образом, чтобы он упирался в неподвижное упорное ребро (3а).

- подвижная грузовая платформа (6) с прикреплённым на ней эталонным образцом подошвы обуви или эталонного образца подошвы ноги человека (8) устанавливается на образец покрытия пола так, чтобы её продольная ось совпадала с направлением скольжения и затем загружается прижимающим грузом (9).

- к платформе закрепляется трос (10), который через систему блоков (11) подсоединяется к измерительной части разрывной машины (12).

- включается разрывная машина, устанавливается заданная скорость передвижения эталонного образца подошвы и на регистрирующем приборе разрывной машины получают величину сдвигающей силы.

Расчет динамического коэффициента трения производится по формуле 9.7

                                                           (9.7)

где Fтр - сила трения при скольжении эталонного образца подошвы обуви или эталонного образца подошвы ноги человека по исследуемому образцу покрытия пола;

FN - прижимная сила от прижимного груза и массы платформы, равная 430 ± 0,5 Н.

11.10.3 Допускаемые коэффициенты трения для различных областей применения покрытия пола из условия безопасности передвижения по нему людей приведены в Разделе I п. 11.21. Покрытие считается безопасным для перемещения человека при условии, что величина статического и динамического коэффициентов трения выше величины допускаемого значения коэффициента трения в конкретной области применения покрытия пола.

12. Техническое обслуживание и ремонт полов

12.1 Техническое обслуживание полов промышленных зданий представляет собой комплекс мероприятий, направленных на поддержание или восстановление их работоспособности. Техническое обслуживание включает в себя надзор за состоянием полов с оценкой их состояния и установлением причин возникновения дефектов с последующей разработкой мероприятий по проведению ремонтно-восстановительных работ.

12.2 Надзор за состоянием полов рекомендуется осуществлять в зависимости от конструкции и режима эксплуатации по утверждённому графику, но не реже одного раза в год. Для ряда типов покрытий, в частности для полимерных монолитных покрытий, целесообразно более частое проведение обследований.

12.3 В процессе обследований регистрируются все возникшие дефекты и условия эксплуатации покрытий, как на период обследований, так и за предыдущий период.

12.4 При анализе полученных результатов основное внимание следует уделить соответствию принятого покрытия пола условиям эксплуатации и выявлению причин возникновения дефектов. Основные виды и наиболее частые причины возникновения дефектов и повреждения полов следующие:

- Механические разрушения (выбоины, выколы, вмятины и т.д.) - обусловлены воздействиями при движении транспортных средств, ударов складируемых грузов и т.п., превышающими допустимые для данного типа покрытий.

- Образование трещин в бетонных полах с поднятием кромок на 3 - 5 мм в течение первых 2 - 3 месяцев после изготовления - чаще всего обусловлено усадочными напряжениями в результате нарушения либо состава бетона, либо технологии изготовления полов - преждевременное высушивание (отсутствие смачивания полов в первые 7 - 10 суток после изготовления).

- Вспучивание бетонных полов по грунту в неотапливаемых помещениях, произошедшее в зимний период - как правило, вызвано пучением грунта.

- Просадка полов является следствием недостаточного уплотнения насыпного грунта основания и образования под полом воздушных полостей.

- Коробление деревянных, в частности торцовых покрытий, вызывается замачиванием полов.

- Образование трещин на плиточных покрытиях при звёздчатом характере обусловлено ударными воздействиями.

- Отслоение плиток вызвано неправильным подбором материалов клеевой прослойки, в частности, применением для крепления керамических плиток, выпускаемых по технической документации заводов-изготовителей и характеризующихся большей плотностью, чем керамические плитки по ГОСТ 6787-2001, цементно-песчаных растворов вместо клеевых композиций или нарушением технологии укладки плиток.

- Образование на полимерных монолитных покрытиях пузырей, при прокалывании которых обнаруживается наличие воды, обусловлено поступлением её к покрытию снизу, через бетонную стяжку. Причиной отслоения покрытий без образования пузырей и сухом подстилающем слое, как правило, является недостаточная прочность данного слоя (марка цементно-песчаного раствора ниже М200) или нарушение технологии изготовления покрытия, в частности недостаточное удаление с поверхности стяжки слоя цементного молока.

- Растрескивание и коробление паркетных полов объясняется нарушением температурно-влажностного режима в помещении как в период укладки покрытия, так и в период эксплуатации.

- Отслоение и вспучивание линолеума вызывается механическими нагрузками, не соответствующими данному типу покрытия, в частности движением по покрытию пола из линолеума тележек или электрокаров, ошибочный подбор клеевых композиций или нарушение технологии изготовления покрытия.

- Истирание покрытия связано с несоответствием условий эксплуатации данному типу пола.

- Застаивание жидкости на поверхности пола вызвано, как правило, неисправностью лотков, трапов или других элементов систем отвода жидкостей.

- Причиной наличия пустых или частично заполненных швов между штучными материалами является недостаточная стойкость к жидкостным средам, воздействующим на покрытие пола, мастик, применённых для крепления штучных материалов, или несоблюдение технологии.

12.5 При невозможности выявить причину образования дефектов в полу при визуальном обследовании для установления физико-технических качеств отдельных слоев необходимо проведение инструментальных обследований и лабораторных испытаний. Полученные данные позволяют установить истинную причину разрушения.

12.6 На основе проведённого анализа могут быть сформулированы следующие основные направления восстановления эксплуатационной надёжности покрытий полов и устранения причин, вызывающих их повреждение:

а). Выбранное покрытие пола не соответствует условиям эксплуатации. При данной схеме следует не только устранить возникшие дефекты, но и усилить существующее покрытие пола. При истирании бетонных покрытий полов рекомендуется провести его упрочнение пропиткой полимерными композициям или заменить лакокрасочное отделочное покрытие на более толстослойное полимерное покрытие пола. В случае невозможности усиления покрытия следует принять решение о капитальной реконструкции с заменой покрытия на более соответствующее фактическим воздействиям.

б). Выбранное бетонное покрытие пола соответствует условиям эксплуатации, но разрушение вызвано усадочными напряжениями. Восстановление работоспособности полов возможно после проведения ремонтно-восстановительных работ.

в). Причиной, вызвавшей образование дефектов в покрытии полов по грунту, является воздействии воды, поступающей через слой стяжки. Восстановление работоспособности полов связано не только с проведением ремонтно-восстановительных работ, но и, в первую очередь, с выполнением мероприятий по устранению причин разрушений, в том числе устройства вокруг здания дренажа с целью снижения уровня подпочвенных вод, устранение протечек в системах водоснабжения и т.д.

г). Причиной образования дефектов являются разрушение покрытия пола из-за недостаточной несущей способности подстилающего слоя. В данном случае необходима капитальная реконструкция с устройством пола, соответствующего условиям эксплуатации.

12.7 Технология ремонтно-восстановительных работ покрытий полов зависит как от типа покрытий, так и от вида возникших дефектов.

12.7.1 Усадочные трещины в бетонных покрытиях полов

Технология заделки данных трещин предусматривает их расшивку при помощи углошлифовальной машинки, оснащенной алмазным диском шириной 3 - 4 мм, на глубину до 5 мм, очистку их щетками от мусора и обеспылевание. Концы трещин целесообразно засверлить сверлом диаметром 8 - 10 мм, что позволяет ликвидировать наиболее опасный очаг концентрации напряжений. Для заполнения трещин, как правило, применяются либо ремонтные составы на основе безусадочного или напрягаемого цемента, либо составы на основе полимеров, в качестве которых достаточно часто используются эпоксидные составы для монолитных покрытий полов, в частности, компаунд марки «Диапол-320» (ТУ 2257-003-27576372-2000). После отверждения ремонтных составов (прежде всего составов на основе полимеров) следует провести шлифование полученного шва «заподлицо» с соседними поверхностями.

12.7.2 Выбоины в бетонных покрытиях полов

Технология ремонта выбоин предусматривает удаление загрязненного (замасленного) бетона на всю глубину замасливания, очистку от мусора и пыли, промывку и, непосредственно перед укладкой ремонтного состава, грунтовку выбоины раствором латекса или поливинилацетатной дисперсии при соотношении латекс или дисперсия:вода = 1:1 - 2. Для заделки выбоин рекомендуется применять либо состав, совпадающий с составом ремонтируемого покрытия (выбоины глубиной более 1 см и небольшими линейными размерами), либо цементные составы для изготовления самонивелирующихся покрытий полов (неглубокие, но длинные и широкие выбоины). Отремонтированные участки должны быть предохранены от механических воздействий, в частности от хождения людей и передвижения безрельсового транспорта, и выдержаны в течение 7 - 10 суток во влажных условиях - под слоем плёнки или влажных опилок.

12.7.3 Восстановление плиточных покрытий.

Технология ремонтных работ предусматривает удаление отставших или разбитых плиток, расчистку швов, простукивание прилегающих к выбоине плиток с целью определения отслоившихся, но не отпавших плиток, о чем свидетельствует глухой звук, и удаление данных плиток, подбор новых плиток того же рисунка и размера. Выбор клея необходимо производить с учётом ранее применённых клеёв и вида отслоения. Если ранее плитки были уложены на цементно-песчаной прослойке и данная прослойка также разрушилась, то целесообразно её удалить и уложить плитки на цементно-песчаном растворе при соотношении цемент:песок = 1:1. Если состояние существующей цементной клеевой прослойки хорошее и отслоение плиток произошло по адгезионному слою плитка-прослойка, то удаление данной прослойки нецелесообразно. В данном случае рекомендуется применять полимерные клеи, в качестве которых может быть рекомендован эпоксидный компаунд марки «Диапол-320». Применение полимерных клеёв позволяет не только получить хорошее сцепление плитки с нижележащими слоями, но и достичь данного результата при очень небольшой (до 1 мм) толщине клеевой прослойки, благодаря чему поверхность отремонтированного участка практически будет располагаться на одном уровне с соседними участками. При восстановлении покрытий полов, которые должны отвечать требованиям коррозионностойкости, штучные материалы должны были уложены на тех же химически стойких мастиках, что и ранее использованные.

12.7.4 Восстановление монолитных полимерных покрытий

Особенностью технологии ремонта данного типа покрытий является необходимость устранения не только трещин и разрушенных участков, но и восстановление отслоившихся участков покрытий, являющихся потенциальными зонами разрушений. В процессе обследований простукиваются как зоны, примыкающие к трещинам и разрушенным участкам, так и все подозрительные участки покрытия, прежде всего зоны, подвергающиеся максимальной нагрузке - проезды, проходы и т.д. Дефектные места вырезаются при помощи углошлифовальной машинки, отслоившийся участок удаляют до стяжки, стяжку обеспыливают, грунтуют и выполняют новое полимерное покрытие из компаунда такого же состава, что и основное.

12.7.5 Восстановление покрытий полов из паркета

При выполнении ремонта паркетных полов необходимо все повреждённые планки заменить новыми той же формы и того же вида. Вновь укладываемые планки должны быть толщиной на 0,5-1 мм больше, чем остальные. После окончания ремонта пола новые планки следует острогать и всё покрытие полностью отциклевать.

12.7.6 Восстановление покрытий полов из линолеума

При вспучивании линолеума, если оно не вызвано нарушением гидроизоляции, необходимо снять его и просушить, очистить основание и вновь наклеить с учётом требований технологии изготовления данного типа покрытий. Изношенные участки линолеума заменить. Местные вздутия линолеумного покрытия при его укладке на резинобитумных мастиках могут быть устранены проколом шилом с последующей укладкой мешка с горячим песком или проглаживанием горячим утюгом через бумагу. В случае повреждения гидроизоляции необходимо предварительно её восстановить.

12.7.7 Восстановление покрытий полов из торцовой шашки

Для ремонта полов из торцевой шашки следует применять антисептированную деревянную шашку, порода которой идентична породе заменяемой шашки. При ремонте вспучившиеся места торцовых полов разбираются, а шашки, пораженные грибком или насекомыми, а также соседние с ними удаляются, подстилающий слой очищается и, при необходимости, восстанавливается. Укладку шашек осуществляют с учётом требований технологии.

12.8 При ремонте покрытий полов, разрушение которых обусловлены дефектами в нижележащих слоях, следует руководствоваться следующими рекомендациями:

- полы вскрываются вплоть до дефектного слоя, причём каждый вышележащий слой вскрывается на длину и ширину на 5 - 10 см больше размера дефектного участка;

- все разрушенные участки вырубаются с образованием вертикальных кромок в каждом слое, при этом границы разрушения в результате потери сцепления слоев устанавливаются простукиванием;

- после восстановления подсыпки и уплотнения грунта основания, заделки дефектов в гидроизоляционном слое и т.д. ремонт пола осуществляется слоями той же толщины и материалом того же состава, что и ранее использованные.

ПРИЛОЖЕНИЯ


Приложение 1

Таблица 1

Покрытие

Предельные значения интенсивности воздействия на пол

Интенсивность движения, ед./сутки, на 1 полосу движения

Волочение твёрдых предметов с острыми углами и рёбрами, работа на полу с лопатами, ломами и т.п. острым инструментом

Массы предметов, кг, падающих с высоты 1 м

Удельного давления от сосредоточенных нагрузок, Н/см2 (кгс/см2)

Нагревания пола до температуры °С

Пешеходов и тележек на резиновых шинах

Тележек на металлических шинах и перекатывания круглых металлических предметов (бочек и т.п.)

Транспортных средств на резиновом ходу

Транспортных средств на гусеничном ходу

Более 500

Менее 500

Коэф. «С1»

Более 50

30 - 50

Менее 30

Более 200

100 - 200

Менее 100

Более 10

Менее 10

1

2

3

4

5

6

7

8

9

10

11

12

13

14

15

16

17

1.

Цементно-бетонное

а). толщиной 30 мм, класса В22,5

Допускается

100

Не допускается

Допускается

Не допускается

Допускается

Не допускается

Не допускается

5

1000 (100)

100

б). толщиной 30 мм, класса В30

Допускается

100

Не допускается

Допускается

Не допускается

Допускается

Не допускается

Допускается

Допускается

10

1000 (100)

100

в). толщиной 50 мм, класса В40

Допускается

100

Допускается

Допускается

Допускается

Допускается

15

1000 (100)

100

2.

Сталефибробетонное толщиной 40 мм, класса В30

Допускается

500

Допускается

Допускается

Допускается

Допускается

15

1000 (100)

100

3.

Бетонное с упрочнённым верхним слоем толщиной 70 мм из бетона прочностью 300 кг/см2, упрочнённое

 

 

 

 

 

 

 

 

 

:елезом

Допускается

500

Допускается

Допускается

Допускается

Допускается

20

1000 (100)

100

Корундом

Допускается

500

Допускается

Допускается

Допускается

Допускается

20

1000 (100)

100

Кварцем

Допускается

500

Допускается

Допускается

Допускается

Допускается

15

1000 (100)

100

Известняком

Допускается

100

Не допускается

Допускается

Не допускается

Допускается

Не допускается

Допускается

Допускается

10

1000 (100)

100

4.

Асфальтобетонное

 

 

 

 

 

 

 

 

 

а). толщиной 25 мм

Допускается

-

Не допускается

Не допускается

Не допускается

Не допускается

2

20 (2)

50

б). толщиной 40 мм

Допускается

50

Не допускается

Допускается

Не допускается

Допускается

Не допускается

Не допускается

5

20 (2)

50

в). толщиной 50 мм

Допускается

50

Не допускается

Допускается

Не допускается

Допускается

Не допускается

Допускается

Допускается

10

20 (2)

50

5.

Мозаично-бетонное (террацо)

 

 

 

 

 

 

 

 

 

 

 

 

а). толщиной 20 мм, прочностью 20 МПа (200 кг/см2)

Допускается

-

Не допускается

Не допускается

Не допускается

Не допускается

2

500 (50)

100

б). толщиной 25 мм, прочностью 30 МПа (300 кг/см2)

Допускается

60

Не допускается

Допускается

Не допускается

Допускается

Не допускается

Не допускается

5

500 (50)

100

в). толщиной 25 мм, прочностью 40 МПа (400 кг/см2)

Допускается

60

Не допускается

Допускается

Не допускается

Допускается

Не допускается

Допускается

Допускается

10

500 (50)

100

6.

Поливинилацетатцементно-бетонное

 

 

 

 

 

 

 

 

 

 

 

 

а). толщиной 20 мм, прочностью 20 МПа (200 кг/см2)

Допускается

-

Не допускается

Не допускается

 

 

Не допускается

Не допускается

2

1000 (100)

50

б). толщиной 20 мм, прочностью 30 МПа (300 кг/см2)

Допускается

60

Не допускается

Допускается

Не допускается

Допускается

Не допускается

Не допускается

5

1000 (100)

50

в). толщиной 30 мм, прочностью 40 МПа (400 кг/см2)

Допускается

60

Не допускается

Допускается

Не допускается

Допускается

Не допускается

Допускается

Допускается

10

1000 (100)

50

7.

Латексцементно-бетонное

 

 

 

 

 

 

 

 

 

 

 

 

а). толщиной 20 мм, прочностью 20 МПа (200 кг/см2)

Допускается

-

Не допускается

Не допускается

 

 

Не допускается

Не допускается

2

1000 (100)

50

б). толщиной 20 мм, прочностью 30 МПа (300 кг/см2)

Допускается

60

Не допускается

Допускается

Не допускается

Допускается

Не допускается

Не допускается

5

1000 (100)

50

в). толщиной 30 мм, прочностью 40 МПа (400 кг/см2)

Допускается

60

Не допускается

Допускается

Не допускается

Допускается

Не допускается

Допускается

Допускается

10

1000 (100)

50

8.

Кислотостойкий бетон на жидком стекле с уплотняющей добавкой

 

 

 

 

 

 

 

 

 

 

 

 

а). толщиной 20 мм, прочностью 20 МПа (200 кг/см2)

Допускается

-

Не допускается

Не допускается

Не допускается

Не допускается

2

500 (50)

100

б). толщиной 20 мм, прочностью 30 МПа (300 кг/см2)

Допускается

60

Не допускается

Допускается

Не допускается

Допускается

Не допускается

Допускается

5

500 (50)

100

в). толщиной 30 мм, прочностью 40 МПа (400 кг/см2)

Допускается

60

Не допускается

Допускается

Не допускается

Допускается

Не допускается

Допускается

Допускается

10

500 (50)

100

9.

Жаростойкий бетон на портландцементе с хромитом и заполнителем из шлака

Допускается

100

Не допускается

Допускается

Допускается

Не допускается

Допускается

Допускается

10

500 (50)

600

10.

Легкобетонное с латексцементным покрытием

Допускается

-

Не допускается

Не допускается

Не допускается

Не допускается

2

200 (20)

50

11.

Известняково-керамзитовое

Допускается

-

Не допускается

Не допускается

Не допускается

Не допускается

2

200 (20)

100

12.

Ксилолитовое

Допускается

60

Не допускается

Допускается

Не допускается

Допускается

Не допускается

Не допускается

3

200 (20)

50

13.

Поливинилацетатцементно-опилочное

Допускается

60

Не допускается

Допускается

Не допускается

Допускается

Не допускается

Не допускается

3

200 (20)

50

14.

Эпоксидное или полиуретановое мастичное наливное (в том числе и антистатическое)

Допускается

-

Не допускается

Не допускается

Допускается

Не допускается

Не допускается

5

500 (50)

50

15.

Полиэфирное мастичное наливное (в том числе и антистатическое)

Допускается

-

Не допускается

Не допускается

Допускается

Не допускается

Не допускается

5

500 (50)

50

16.

Стальные плиты по прослойке из мелкозернистого бетона

Допускается

500

Допускается

Допускается

Допускается

Допускается условно с ограничением интенсивности

50

500 (50)

100

17.

Чугунные дырчатые плиты по прослойке из мелкозернистого бетона

Допускается

500

Допускается

Допускается

Не допускается

Допускается

10

500 (50)

100

18.

Чугунные плиты с опорными выступами по прослойке из песка

Допускается

300

Допускается

Допускается

Не допускается

Допускается

10

3 т на плиту

1400

19.

Торцовое на битумной мастике

Допускается

100

Допускается

Допускается

Не допускается

Не допускается

50

50 (5)

50

20.

Цементно-бетонные плиты по прослойке из цементно-песчаного раствора

Допускается

60

Не допускается

Допускается

Не допускается

Допускается

Не допускается

Не допускается

7

500 (50)

100

21.

Мозаично-бетонные плиты по прослойке из цементно-песчаного раствора

Допускается

60

Не допускается

Допускается

Не допускается

Допускается

Не допускается

Не допускается

5

500 (50)

100

22.

Плиты из жаростойкого бетона на портландцементе с хромитом и заполнителем из шлака по прослойке из песка

Допускается

100

Не допускается

Допускается

Допускается

Не допускается

Допускается

Допускается

10

500 (50)

600

23.

Плиты природного камня изверженных пород (гранита и т.д.) толщиной более 20 мм по прослойке из цементно-песчаного раствора

Допускается

60

Не допускается

Допускается

Допускается

Не допускается

Допускается

10

500 (50)

100

24.

Плиты из керамогранита

 

 

 

 

 

 

 

 

 

 

а). толщиной до 9 мм

Не допускается

Допускается

-

Не допускается

Не допускается

Не допускается

Не допускается

-

500 (50)

100

б). толщиной более 9 мм

Допускается

-

Не допускается

Не допускается

Не допускается

Не допускается

2

500 (50)

100

25.

Керамические плитки толщиной 10 - 13 мм

Допускается

-

Не допускается

Не допускается

Не допускается

Не допускается

2

200 (20)

100

26.

Керамические кислотоупорные плитки толщиной

 

 

 

 

 

 

 

 

 

а). 15 - 20 мм

Допускается

-

Не допускается

Не допускается

Не допускается

Не допускается

3

200 (20)

100

б). 30 - 35 мм

Допускается

60

Не допускается

Допускается

Не допускается

Допускается

Не допускается

Не допускается

5

200 (20)

100

в). 50 мм

Допускается

60

Не допускается

Допускается

Не допускается

Допускается

Не допускается

Допускается

Допускается

7

300 (30)

100

27.

Кислотоупорный кирпич плашмя

Допускается

60

Не допускается

Допускается

Допускается

Не допускается

Допускается

Допускается

7

300 (30)

100

28.

Кислотоупорный кирпич на ребро

Допускается

60

Не допускается

Допускается

Допускается

Не допускается

Допускается

Допускается

10

300 (30)

100

29.

Дощатое (окрашенное)

Допускается

-

Не допускается

Не допускается

Не допускается

Не допускается

2

200 кг в точку

50

30.

Паркетные доски и щиты

Допускается

-

Не допускается

Не допускается

Не допускается

Не допускается

Не допускается

200 кг в точку

50

31.

Штучный и наборный паркет

Допускается

-

Не допускается

Не допускается

Не допускается

Не допускается

Не допускается

200 кг в точку

50

32.

Линолеум (в том числе антистатический)

Не допускается

Допускается

-

Не допускается

Не допускается

Не допускается

Не допускается

Не допускается

500 (50)

50

33.

Плитки поливинилхлоридные

Не допускается

Допускается

-

Не допускается

Не допускается

Не допускается

Не допускается

Не допускается

500 (50)

50

34.

Плиты резиновые, резинокордовые и резинокордо-битумные

Допускается

60

Не допускается

Допускается

Не допускается

Допускается

Не допускается

Не допускается

10

500 (50)

34

35.

Рулонное на основе синтетических волокон

Не допускается

Допускается

-

Не допускается

Не допускается

Не допускается

Не допускается

Не допускается

100 (10)

50

36.

Ламинат

Не допускается

Допускается

-

Не допускается

Не допускается

Не допускается

Не допускается

Не допускается

500 (50)

50

37.

Глинобитное

Допускается при нерегулярном (эпизодическом) движении пешеходов, а также транспорта на резиновом ходу числом не более 10 ед./сут.

-

Не допускается

Не допускается

Не допускается

Не допускается

5

50 (5)

500

1). Коэффициент С давления на пол металлических шин и круглых предметов определяют по формуле:  где

Р - наибольшее давление колеса или обода на пол в кг;

D - диаметр колеса или обода в м;

b - ширина шины колеса или обода в см.

Таблица 2

№ п/п

Покрытие

Предельные значения интенсивности воздействия на пол

Воды и растворов нейтральной реакции

Минеральных масел и эмульсий из них

Органических растворителей

Веществ животного происхождения

Растворов кислот

Растворов щелочей

Сырой нефти и нефтепродуктов (мазут, дизтопливо, керосин, бензин)

На ароматических углеводородах

Кетонов

фтористоводородной, кремнефтористоводородной и т.п.

Окисляющих (азотная, хлорноватистая, хромовая и др.)

Неокисляющих неорганических (серная, соляная и др.)

Органических

Концентрация, %

Интенсивность

Концентрация %

Интенсивность

Концентрация %

Интенсивность

Концентрация %

Интенсивность

Концентрация %

Интенсивность

1

2

3

4

5

6

7

8

9

10

11

12

13

14

15

16

17

18

1.

Цементно-бетонное

большая

большая

средняя

большая

средняя

большая

не допускается

20

средняя

8(121)

средняя

2.

Сталефибробетонное

малая

большая

средняя

большая

средняя

большая

не допускается

 

 

8(121)

средняя

3.

Бетонное с упрочненным верхним слоем, упрочненное:

 

 

 

 

 

 

 

 

 

 

Железом

малая

большая

средняя

большая

средняя

большая

не допускается

8

малая

 

корундом, кварцем или известняком

большая

большая

средняя

большая

средняя

большая

не допускается

8

малая

4.

Асфальтобетонное

большая

не допускается

не допускается

10

средняя

20

средняя

8(121)

средняя

5.

Мозаично-бетонное (терраццо)

большая

большая

средняя

большая

средняя

малая

не допускается

8

средняя

6.

Поливинилацетатцементно-бетонное

малая

малая

большая

большая

большая

большая

не допускается

8

малая

7.

Латексцементно-бетонное

большая

малая

малая

средняя

средняя

большая

Не допускается

10

малая

8

малая

8.

Кислотостойкий бетон на жидком стекле с уплотняющей добавкой

средняя

большая

большая

большая

большая

малая

не допускается

100

большая

100

большая

100

большая

-

не допускается

9.

Жаростойкий бетон на портландцементе с хромитом и заполнителем из шлака

малая

большая

средняя

большая

средняя

не допускается

не допускается

8

малая

10.

Легкобетонное с латексцементным покрытием

большая

малая

малая

средняя

средняя

малая

Не допускается

10

малая

8

малая

11.

Известняково-керамзитовое

большая

большая

средняя

большая

средняя

малая

не допускается

8

средняя

12.

Ксилолитовое

не допускается

малая

малая

малая

малая

не допускается

не допускается

-

не допускается

13.

Поливинилацетатцементно-опилочное

не допускается

малая

малая

малая

малая

не допускается

не допускается

-

не допускается

14.

Эпоксидное или полиуретановое мастичное наливное (в том числе антистатическое)

средняя

средняя

средняя

средняя

малая

средняя

не допускается

152

малая

302

малая

152

малая

15.

Полиэфирное мастичное наливное (в том числе антистатическое)

средняя

средняя

средняя

средняя

малая

средняя

не допускается

152

малая

302

малая

-

не допускается

16.

Стальные плиты по прослойке из мелкозернистого бетона

малая

большая

средняя

большая

средняя

малая

не допускается

8(121)

средняя

17.

Чугунные дырчатые плиты по прослойке из мелкозернистого бетона

большая

большая

средняя

большая

средняя

малая

не допускается

8(121)

средняя

18.

Чугунные плиты с опорными выступами по прослойке из песка

малая

мала я

малая

малая

малая

не допускается

не допускается

-

не допускается

19.

Торцовое на битумной мастике

не допускается

большая

не допускается

малая

не допускается

не допускается

не допускается

-

не допускается

20.

Цементно-бетонные плиты по прослойке из цементно-песчаного раствора

большая

большая

средняя

большая

средняя

малая

не допускается

8

средняя

21.

Мозаично-бетонные плиты по прослойке из цементно-песчаного раствора

большая

большая

средняя

большая

средняя

малая

не допускается

8

средняя

22.

Плиты из жаростойкого бетона на портландцементе с хромитом и заполнителем из шлака по прослойке из песка

малая

малая

малая

малая

малая

не допускается

не допускается

8

малая

23.

Плиты природного камня изверженных пород (гранита и т.д.) по прослойке из цементно-песчаного раствора

большая

большая

средняя

большая

средняя

большая

не допускается

8

средняя

24.

Плиты из керамогранита

В зависимости от типа прослойки и материала расшивки швов

25.

Керамические плитки

26.

Керамические кислотоупорные плитки

27.

Кислотоупорный кирпич плашмя

28.

То же на ребро

29.

Дощатое (окрашенное)

Не допускается

30.

Паркетные доски и щиты

31.

Штучный и наборный паркет

32.

Линолеум (в том числе антистатический)

33.

Плитки поливинилхлоридные

34.

Плиты резиновые, резинокордовые и резинокордо-битумные

большая

малая

малая

средняя

средняя

большая

не допускается

20

средняя

8

средняя

35.

Рулонное на основе химических волокон

Не допускается

36.

Ламинат

37.

Глинобитное

1 - при использовании в качестве заполнителей вместо песка и щебня, дроби (чугунной, стальной) или порфирита

2 - возможно изменение цвета покрытия

Таблица 3

№ п/п

Покрытие

Характеристика покрытия пола по специальным требованиями

Беспыльность (пылеотделение)

Электропроводность в сухом состоянии4)

Способности накапливать на поверхности заряды статического электричества в сухом состоянии

Безыскровость при ударных воздействиях

Легкости очистки от производственных загрязнений

соответствие количественным показателям по классам беспыльности помещений в соответствии с ОСТ 11.14.3308-87 и стандартом СЭВ 3783-82

по визуальной оценке

пылевидных

жидкостных

Кл. 1000

Кл. 10000

Кл. 100000

1

2

3

4

5

6

7

8

9

10

11

1.

Цементно-бетонное

не соответствует

среднее

условно электропроводное2)

не накапливает

безыскровое1)

практически не очищаемое

трудноочищаемое

2.

Сталефибробетонное

не соответствует

среднее

условно электропроводное2)

не накапливает

искрящее

трудноочищаемое

среднеочищаемое

3.

Бетонное с упрочненным верхним слоем, упрочненное:

 

 

 

 

 

 

 

Железом, корундом или кварцем

не соответствует

малое

условно электропроводное2)

не накапливает

искрящее

трудноочищаемое

среднеочищаемое

известняком

не соответствует

среднее

условно электропроводное2)

не накапливает

безыскровое

трудноочищаемое

среднеочищаемое

4.

Асфальтобетонное

не соответствует

среднее

не электропроводное

не накапливает

безыскровое1)

трудноочищаемое

трудноочищаемое

5.

Мозаично-бетонное (терраццо)

не соответствует

малое

условно электропроводное2)

не накапливает

безыскровое1)

среднеочищаемое

среднеочищаемое

6.

Поливинилацетатцементно-бетонное

не соответствует

малое

условно электропроводное2)

не накапливает

безыскровое1)

среднеочищаемое

среднеочищаемое

7.

Латексцементно-бетонное

не соответствует

малое

условно электропроводное

не накапливает

безыскровое1)

среднеочищаемое

среднеочищаемое

8.

Кислотостойкий бетон на жидком стекле с уплотняющей добавкой

не соответствует

среднее

электропроводное

не накапливает

искрящее

среднеочищаемое

среднеочищаемое

9.

Жаростойкий бетон на портландцементе с хромитом и заполнителем из шлака

не соответствует

среднее

электропроводное

не накапливает

искрящее

трудноочищаемое

среднеочищаемое

10.

Легкобетонное с латексцементным покрытием

не соответствует

малое

условно электропроводное2)

не накапливает

безыскровое1)

среднеочищаемое

среднеочищаемое

11.

Известняково-керамзитовое

не соответствует

среднее

условно электропроводное2)

не накапливает

безыскровое

практически не очищаемое

трудноочищаемое

12.

Ксилолитовое

не соответствует

среднее

электропроводное

не накапливает

безыскровое

трудноочищаемое

трудноочищаемое

13.

Поливинилацетатцементно-опилочное

не соответствует

среднее

условно электропроводное2)

не накапливает

безыскровое

трудноочищаемое

трудноочищаемое

14.

а). Эпоксидное, полиуретановое и полиэфирное мастичное наливное

не соответствует

соответствует

беспыльное

не электропроводное

накапливает

безыскровое3)

легкоочищаемое

легкоочищаемое

15.

б). Эпоксидное, полиуретановое и полиэфирное мастичное наливное (антистатическое)

соответствует

беспыльное

не электропроводное (антистатическое)

не накапливает

безыскровое3)

легкоочищаемое

легкоочищаемое

16.

Стальные плиты по прослойке из мелкозернистого бетона

не соответствует

среднее

электропроводное

не накапливает

искрящее

трудноочищаемое

среднеочищаемое

17.

Чугунные дырчатые плиты по прослойке из мелкозернистого бетона

не соответствует

среднее

электропроводное

не накапливает

искрящее

трудноочищаемое

трудноочищаемое

18.

Чугунные плиты с опорными выступами по прослойке из песка

не соответствует

среднее

электропроводное

не накапливает

искрящее

трудноочищаемое

трудноочищаемое

19.

Торцовое на битумной мастике

не соответствует

Среднее

не электропроводное

не накапливает

безыскровое

практически не очищаемое

практически не очищаемое

20.

Цементно-бетонные плиты по прослойке из цементно-песчаного раствора

не соответствует

Среднее

условно электропроводное2)

не накапливает

безыскровое1)

практически не очищаемое

трудноочищаемое

21.

Мозаично-бетонные плиты по прослойке из цементно-песчаного раствора

не соответствует

малое

условно электропроводное2)

не накапливает

безыскровое

среднеочищаемое

трудноочищаемое

22.

Плиты из жаростойкого бетона на портландцементе с хромитом и заполнителем из шлака по прослойке из песка

не соответствует

среднее

условно электропроводное2)

не накапливает

искрящее

трудноочищаемое

трудноочищаемое

23.

Плиты природного камня изверженных пород (гранита и т.д.) по прослойке из цементно-песчаного раствора

не соответствует

малое

электропроводное

накапливает

искрящее

легкоочищаемое

среднеочищаемое

24.

Плиты из керамогранита

не соответствует

беспыльное

условно электропроводное2)

не накапливает

искрящее

легкоочищаемое

легкоочищаемое

25.

Керамические плитки

не соответствует

малое

условно электропроводное2)

не накапливает

искрящее

легкоочищаемое

среднеочищаемое

26.

Керамические кислотоупорные плитки

не соответствует

малое

условно электропроводное2)

не накапливает

искрящее

легкоочищаемое

среднеочищаемое

27.

Кислотоупорный кирпич плашмя

не соответствует

малое

условно электропроводное2)

не накапливает

искрящее

легкоочищаемое

среднеочищаемое

28.

Кислотоупорный кирпич на ребро

не соответствует

малое

условно электропроводное2)

не накапливает

искрящее

легкоочищаемое

среднеочищаемое

29.

Дощатое (окрашенное)

не соответствует

малое

не электропроводное

не накапливает

безыскровое

легкоочищаемое

среднеочищаемое

30.

Паркетные доски и щиты

не соответствует

малое

не электропроводное

не накапливает

безыскровое

легкоочищаемое

среднеочищаемое

31.

Штучный и наборный паркет

не соответствует

малое

не электропроводное

не накапливает

безыскровое

легкоочищаемое

среднеочищаемое

32.

а). Линолеум

не соответствует

соответствует

беспыльное

не электропроводное

накапливает

безыскровое

легкоочищаемое

легкоочищаемое

б). Линолеум антистатический

соответствует

беспыльное

не электропроводное (антистатическое)

не накапливает

безыскровое

легкоочищаемое

легкоочищаемое

33.

Плитки поливинилхлоридные

не соответствует

соответствует

беспыльное

не электропроводное

накапливает

безыскровое

легкоочищаемое

легкоочищаемое

34.

Плиты резиновые, резинокордовые и резинокордо-битумные

не соответствует

малое

не электропроводное5) (антистатическое)

не накапливает5)

безыскровое

среднеочищаемое

среднеочищаемое

35.

Рулонное на основе химических волокон

не соответствует

среднее

не электропроводное

накапливает

безыскровое

среднеочищаемое

трудноочищаемое

36.

Ламинат

не соответствует

соответствует

беспыльное

не электропроводное

накапливает

безыскровое

легкоочищаемое

трудноочищаемое

37.

Глинобитное

не соответствует

большое

электропроводное

не накапливает

безыскровое1)

неочищаемое

неочищаемое

1). В случае применения безыскровых наполнителей (заполнителей) и песка

2). Приобретает способность проводить электрический ток при увлажнении

3). Является неискрящими при использовании мелкодисперсных (порошкообразных) наполнителей

4). Электропроводное - удельное поверхностное электросопротивление менее 104 Ом, условно электропроводное - 106 - 104 Ом, антистатическое - 106 - 109 Ом, неэлектропроводное - более 109 Ом

5). При применении при изготовлении плит электропроводной или антистатической резины


Приложение 2

Физико-технические свойства битумно-полимерных наплавляемых рулонных материалов

Таблица 1

Материал, ТУ

Изготовитель

Масса 1 м2 битуминозного вяжущего, г

Масса 1 м2 основы, г

Разрывная сила при растяжении, кг/см

Относительное удлинение, %

Теплостойкость, °С

Водопоглощение через 24 ч, %

Гибкость при температуре, °С

Филизол (ТУ 400-1-409-5-92)

ОАО «Фили-кровля»

2500 - 3000

210

50

12,8

80

0,7

-15

Филизол-супер (ТУ 5770-002-05108038-94)

4500 - 5500

150

50

9

80

0,8

-15

Бикроэласт (ТУ 5770-541-00284718-94)

Учалинское АП «Кровля»

3500

295

50

36

85

0,5

-15

Люберит (ТУ 5770-001-18060333-95)

АОЗТ «Люберит»

3500 ± 500

170

75

8

80

1,0

-10

Днепрофлекс (ТУ 5770-531-00284718-93)

АО «Полимеркровля»

3200

580

80

-

80

1,5

-15

Изопласт К,

Изопласт П

(ТУ 5774-005-05766480-95)

АООТ «Киришинефтеоргсинтез»

3400

250

200

60

36

-

120

120

1,0

1,0

-25

-25

Стекломаст (ТУ 21-5744710-519-92)

Рязанский КРЗ

3200

790

85

-

85

1,5

0

Полимаст (ТУ 5770-537-0287718-93)

АП «Выборгский РЗ»

3000

190

75

-

80

1,5

-10

Рубитекс (ТУ 5774-003-00289973-95) стеклоткань

АО «Оргкровля»

3000 - 5000

≤ 460

≥ 50

-

80 ± 2

-

-15

Рулонный материал марки МК-ПК и МГ-ПМ (ТУ РБ 14738548.002-42-94

АО «Кровля» г. Осиповичи

3600 - 3800

-

61,2

60

70 ± 2

2,0

-15

Физико-технические свойства вулканизованных эластомерных рулонных материалов

Таблица 2

Материал

Условная прочность при растяжении, МПа

Относительное удлинение, %

Гибкость на брусе с радиусом 5 мм при t, °C

Водопоглощение через 24 ч, %

Остаточное удлинение, %

Модуль пластичности при 100 % растяжении, МПа

Кровлен ТУ 8725-011-00302480-95

6,6

4,0

550

200

-55

-35

1,0

1,3

58

36

2,0

2,1

Элон* ТУ 21-5744710-514-92

7,0

250

-60

1,5

-

-

Бикапол «Гермопласт»

1,0 - 1,6

150 - 300

-50

0,2

-

-

Изолен «Атомэнергомаш» ТУ 5774-001-04-678851-95

7,0 - 10,0

250

-50

1,0

-

-

Кровлелон ТУ 95-25048396-054-93

12,0

200

-50

1,0

-

-

Бутилон ТУ 21-5744710-504-91

4,5

350

-55

2,0

-

-

Поликров АР** ТУ 5775-002-11313564-96

3-5

300

-50

0,2

-

-

* Материал с армирующей подложкой

** Применяется в сочетании с приклеивающей мастикой «Поликров-М» (ТУ 5775-003-11313564-96) и защитным покрытием «Поликров-П» (ТУ 5775-001-11313564-96)

Физико-технические свойства гидроизоляционных мастик

Таблица 3

Наименование, марка, фирма

Наименование показателей

условная прочность при растяжении, МПа (кг/см2)

относительное удлинение, %

теплостойкость, °С

водопоглощение через 24 ч, %

гибкость на стержне мм/°С

адгезия к цементно-песчаному раствору МПа (кг/см2)

Вента-V

АПО «Вента»

0,7 (7,0)

400

130

0,5

10

-65

0,5

(5,0)

Полимерная кровельная

-

300

120

-

-

0,2 - 0,4

(2 - 4)

УНИКС

1(10)

600

130

0,5

5

-70

0,6

(6,0)

Битурел

1,0

500

120

1,5

-50

0,5

Гермокров-2

1,2

200

120

2,0

-50

0,4

Гермокров-3

1,5

250

120

2,0

-50

0,4

Кровлелит

2,0 - 2,4

500 - 1000

100 - 150

0,1 - 1,0

-60

0,5 - 2,0

Приложение 3

Рекомендации по расчёту подстилающих слоев пола

Расчёт полов с нежестким подстилающим слоем

1. Расчёт распространяется на полы с песчаными, шлаковыми, гравийными и щебёночными подстилающими слоями.

2. Полы с нежестким подстилающим слоем рассчитывают на нагрузки неподвижные, а также подвижные от безрельсового транспорта.

Нагрузки от тележек, тачек и других транспортных средств, передвигаемых вручную, собственный вес пола, а также нагрузки, равномерно распределённые по площади пола, при расчёте не учитывают.

3. При расчёте определяют:

а) величину нагрузки Р в Н;

б) форму и площадь F в см2 следа приложения нагрузки к поверхности пола;

в) удельную нагрузку на пол р в Н/см2;

г) диаметр D в см круга, равновеликого площади следа F = a · b.

Для площади следа прямоугольной формы с отношением сторон а/b от 1 до 3

                                                      (1)

4. Воздействия на пол с нежёстким подстилающим слоем безрельсовых транспортных средств одной или нескольких марок следует привести к эквивалентным воздействиям от условных автомобилей с расчётной нагрузкой «В».

Для этого сначала определяем значение

Ni = K1Nк,                                                                    (2)

где Nк - число транспортных средств данной марки, проходящих в одном направлении за одни сутки;

К1 - коэффициент, учитывающий воздействия на пол транспортных средств в зависимости от количества осей и них; принимают по табл. 1

Таблица 1

Значения K1

Транспортные средства

Значения K1 при количестве осей у транспортных средств

2

3

4

Автомобили, автопогрузчики, электрокары

1

1,8

-

Трейлеры

1,8

2,4

3

Для каждого значения Ni определяют эквивалентное, по воздействию на пол, количество условных автомобилей с расчётной нагрузкой «В» (Niв) следующим образом:

- для конкретного транспортного средства на рис. 1 проводят специальную для него наклонную прямую, ординаты точек которой равны ординатам точек наклонной линии «В», умноженным на коэффициент η = p · D/1666 данного транспортного средства;

- из точки на оси «n», отвечающей значению Ni, восстанавливают перпендикуляр до пересечения с полученной наклонной линией;

- из полученной точки пересечения проводят линию, параллельную оси «n» до пересечения с наклонной линией «В»;

- из точки пересечения опускают перпендикуляр на ось «n». Полученное значение на оси n соответствует значению Niв.

5. Расчётную интенсивность движения определяют по формуле:

Np = γΣNiв,                                                                   (3)

где ΣNiв - определяется суммированием значений Niв для каждой марки транспортного средства;

γ - коэффициент распределения движения по ширине проезда, принимаемый равным при количестве полос движения 1, 2 и 3 соответственно 2, 1 и 0,75.

Рис. 1 График для приведения интенсивности движения транспортных средств к интенсивности движения условного автомобиля с расчетной нагрузкой «А» и для определения требуемого модуля деформации Етр пола

6. За критерий несущей способности нежестких подстилающих слоев принимают относительную деформацию δ = S/D (S - осадка в см покрытия пола под действием нагрузки). Допустимые значения δ приведены в табл. 2.

Прочность покрытия, подстилающего слоя и грунта основания характеризуется соответствующим модулем деформации Е в Н/см2, зависящим от прочности материала, а для грунтов, кроме того, от их влажности и возможности промерзания.

Значения модуля деформации принимают: для покрытий и подстилающих слоев - по таблице 2, а для грунтов основания - по таблице 3.

Таблица 2

Допускаемые значения относительной деформации δ и значения модуля деформации Е для покрытий и подстилающих слоев

Покрытия, подстилающие слои и характеристики применяемых материалов

Допустимые значения относительной деформации δ

Модуль деформации Е в Н/см2 при расположении низа подстилающего слоя

в зоне опасного капиллярного поднятия грунтовых вод

выше зоны опасного капиллярного поднятия грунтовых вод

1

2

3

4

Земляные из песчаных смесей оптимального гранулометрического состава

0,06

2450

2940

Шлаковые с применением шлака из высококалорийных углей с содержанием зёрен мельче 2 мм не свыше 20 %

0,06

4410

5880

Шлаковые с применением шлака из бурых углей с содержанием зёрен мельче 2 мм не свыше 30 %

0,06

1860

2940

Гравийные с применением гравия из каменных материалов прочностью при сжатии не менее 500 кгс/см2, с содержанием зёрен крупностью 2 мм:

 

 

 

85 % и более

0,06

7840

8820

70 - 85 %

0,06

5880

6860

50 - 70 %

0,06

3920

4900

Щебёночные из сортированного щебня из каменных материалов или доменных шлаков прочностью при сжатии в кгс/см2:

 

 

 

800 и более

0,05

12740

12740

500 - 800

0,05

10780

10780

То же, пропитанные битумом, при прочности щебня в кгс/см2:

 

 

 

800 и более

0,04

17640

17640

500 - 800

0,04

14700

14700

Асфальтобетонные

0,035

23520

23520

Из брусчатки и кирпича всех видов на ребро по прослойке из раствора или из мастики

0,035

24500

24500

Торцовые

0,04

11760

11760

Примечание: Значения модуля деформации песчаного подстилающего слоя принимают по табл. 3, как для песчаных грунтов.

Таблица 3

Значения модуля деформации грунта основания

Грунт

Содержание (по массе) зёрен крупнее

Модуль деформации Е в Н/см2 при расположения низа подстилающего слоя

выше зоны опасного капиллярного поднятия грунтовых вод

В зоне опасного капиллярного поднятия грунтовых вод

отапливаемые здания

неотапливаемые здания

отапливаемые здания

неотапливаемые здания

Песок крупный и гравелистый

0,5 мм, более 50 %

4410

4116

3626

3430

Песок средней крупности

0,25 мм, более 50 %

3920

3626

2940

2450

Песок мелкий

0,1 мм, более 75 %

3430

2940

1960

1470

Супесь

0,05 мм, более 50 %

2744

2352

1568

1176

Песок пылеватый

0,1 мм, менее 75 %

2156

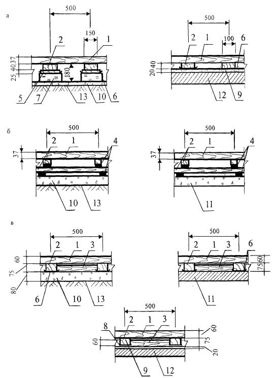
1960

1372

-

Суглинок, глина

0,05 мм, более 40 %

2156

1862

1274

-

Супесь, суглинок и глина пылеватые

0,05 мм, более 40 %

1862

1568

1176

-

7. Необходимую прочность пола, характеризуемую требуемым модулем деформации Етр в Н/см2 определяют:

а) для нагрузок от безрельсового транспорта по формуле

                                                 (4)

где δ - допускаемая относительная деформация покрытия, принимаемая по табл. 2;

К3 = 0,5 + 0,65lg Np - коэффициент, учитывающий повторность воздействий нагрузок при движении транспортных средств;

Np - расчётная интенсивность движения;

μ = 1,2 - коэффициент запаса на неоднородность условий работы пола.

Значение Етр можно также определить по рис. 1. Для этого из точки на оси «n», соответствующей расчётной интенсивности движения Np условных автомобилей с расчётной нагрузкой «В» проводят перпендикуляр к оси «n» до пересечения с наклонной линией «В». Полученную точку пересечения переносят параллельно оси «n» на ординату со значением d, допускаемой для данного типа покрытия (см. табл. 2), затем по наклонной линии, проходящей через полученную точку, на ординате определяют требуемый модуль деформации Eтр.

б) для неподвижных нагрузок по формуле

                                                           (5)

где р - удельное давление на пол в Н/см2;

δ - допускаемая относительная деформация покрытия, принимаемая по табл. 2;

μ = 1,2.

8. При расчёте прочности пола составляют расчётную схему конструкции пола в соответствии с рис. 2 и материалом каждого его слоя. На схеме указывают расчётные модули деформации Е материала каждого слоя пола и грунта основания, а также толщину «h» каждого слоя пола, за исключением нижнего слоя, устраиваемого непосредственно на грунте, толщина которого определяется расчётом.


Рис. 2. Расчетные схемы полов с нежестким подстилающим слоем

а - покрытие на грунте основания; б - покрытие на однослойном подстилающем слое; в - покрытие на двухслойном подстилающем слое или однослойном подстилающем слое по искусственному основанию; г - покрытие на двухслойном подстилающем слое по искусственному основанию; 1 - грунт основания; 2 - слой пола; 3 - нагрузка на пол


Модули деформации материала отдельных слоев принимают по табл. 2, а грунта основания по табл. 3. Толщину отдельных слоев пола принимают по Разделу I. Толщину прослоек и мастик, а также гидроизоляционных слоев от сточных вод и других жидкостей включают в толщину покрытия. Толщину прослоек, расположенных на подстилающем слое, не учитывают.

Материалы для подстилающего слоя следует выбирать так, чтобы расчётный модуль деформации материала каждого вышележащего слоя превышал в 1,5 - 3,5 раза расчётный модуль деформации материала нижележащего слоя пола или грунта основания.

9. Расчёт прочности пола производят следующим образом:

- По значению D и Еэn = Етр, а также Еn и hn для n-го верхнего слоя (рис. 2) вычисляют отношения hn/D и Еэnn;

- По рис. 3 определяют эквивалентный модуль деформации E3n-1 всех слоев пола и основания, расположенных ниже верхнего слоя. Для этого из точки на оси h/D, соответствующей конкретному значению h/D, проводят перпендикуляр до пересечения с кривой со значением, равным Eэn/En. Полученная точка пересечения переносится параллельно оси h/D влево на ось (Еi-1/Ei). Полученное значение на этой оси соответствует отношению Eэn-1/En = Кэn, откуда определяют Еэn-1 = КэnЕn.

- Зная Eэn-1; En-1; hn-1; D, аналогичным путём определяют Eэn-2 и т.д. В итоге определяют эквивалентный модуль деформации Eэ0+1 на поверхности первого снизу слоя пола;

- По значениям Eэ0+1; E0+1; Е0 вычисляют отношения Eэ0+1/E0+1 и Е0/E0+1; здесь Е0 - модуль деформации грунта основания, принимаемая по таблице 3, a E0+1 - модуль деформации нижнего слоя пола.

- Точку на оси (h/D = 0), соответствующую значению Е00+1, переносят параллельно оси h/D на кривую со значением Eэ0+1/E0+1. Из полученной точки на этой кривой опускают перпендикуляр на ось h/D. Значение на этой оси соответствует отношению hэ0+1/D = a1, откуда hэ0+1 = a1D.

Если толщина подстилающего слоя получается меньше величин, приведённых в Разделе I, или если Eэ0+1 больше, чем Е0+1, то толщина подстилающего слоя принимается согласно указаниям Раздела I.

10. Полученная по расчёту толщина подстилающего слоя может быть уменьшена путём повышения прочности основания, например путём устройства искусственного основания (песчаного и др.) или путём понижения уровня грунтовых вод и др.

Примеры расчёта прочности пола с нежёстким подстилающим слоем

Пример 1

Требуется определить толщину нежесткого подстилающего слоя в неотапливаемом складе. По полу склада при ширине проезда 3,5 м за сутки проходит следующее количество транспортных средств:

электрокары (двухосные) - 30 машин;

автопогрузчики (двухосные) - 20 машин;

автомобили ЗИЛ-130 (двухосные) - 20 автомобилей;

автомобили ЯАЗ-210 (трехосные) - 5 автомобилей.

Покрытие пола из асфальтобетона толщиной 4 см.

Подстилающий слой из щебня прочностью при сжатии 9000 Н/см2.

Грунт основания супесчаный.

Горизонт грунтовых вод находится на глубине 0,4 - 0,5 м.

Расчёт. При покрытии из асфальтобетона величина относительной деформации δ = 0,035 (табл. 2). По формуле (2) приведём количество трёхосных автомобилей ЯАЗ-210 к двухосным:

Ni = 1,8 · 5 = 9 автомобилей.

Определим эквивалентное, по воздействию на пол, количество условных автомобилей с расчётной нагрузкой «В». Для этого вычисляем значение коэффициента «h». Расчётные характеристики транспортных средств (предоставляемые заказчиком) заносим в таблицу.

Вид транспортного средства

Нагрузка на колесо, Р, Н

Площадь следа колеса, F, см2

Количество осей, шт.

Условный автомобиль с расчётной нагрузкой «В»

44590

910

2

Электрокары

8450

56

2

Автопогрузчики

35670

490

2

Автомобили ЗИЛ-130

34300

600

2

Автомобили ЯАЗ-210

44100

750

3

hi/D

Рис. 3 График для расчёта пола с нежестким подстилающим слоем

1 - Электрокары: р = Р/F = 8450/56 = 150,8 Н/см2; D = 1,13√F = 1,13√56 = 8,4 см;

η = p · D/1666 = 150,8 · 8,4/1666 = 0,76

2 - Автопогрузчики: р = Р/F = 35670/490 = 72,8 Н/см2; D = 1,13√F = 1,13√490 = 25 см;

η = p · D/1666 = 72,8 · 25/1666 = 1,1

3 - Автомобили ЗИЛ-130: р = Р/F = 34300/600 = 57,1 Н/см2;

D = 1,13√F = 1,13√600 = 28 см; η = p · D/1666 = 57,1 · 27/1666 = 0,95

4 - Автомобили ЯАЗ-210: р = Р/F = 44100/750 = 58,8 Н/см2;

D = 1,13√F = 1,13√750 = 31 см; η = p · D/1666 = 58,8 · 31/1666 = 1,1

Условный автомобиль с расчётной нагрузкой «В»: р = Р/F = 44590/910 = 49 Н/см2;

D = 1,13√F = 1,13√910 = 34 см; η = p · D/1666 = 49 · 34/1666 = 1

В соответствии с указаниями п. 4 наносим на график (рис. 1) наклонные линии для каждого транспортного средства, ординаты точек которых получаем умножением ординат точек линии «В» на коэффициент «η», вычисленный для каждого указанного выше транспортного средства. В результате получаем графики для определения эквивалентного, по воздействию на пол, количества условных автомобилей с расчётной нагрузкой «В» (рис. 4). По полученным графикам определяем значения Niв:

30 электрокаров соответствуют 9 условным автомобилям;

20 автопогрузчиков 4000 соответствуют 32 условным автомобилям;

20 автомобилей ЗИЛ-130 соответствуют 17 условным автомобилям;

9 автомобилей ЯАЗ-210 (в двухосном исполнении) соответствуют 15 условным автомобилям.

Всего ΣNiв = 73 условных автомобилей с расчётной нагрузкой «В».

Вычисляем расчётную интенсивность движения Np при ширине проезда 3,5 м (одна полоса движения) и γ = 2 (п. 5). Np = γΣNiв = 2 · 73 = 146 условных автомобилей в сутки.

Используя рис. 4, находим на оси «n» цифру 146, восстанавливаем от этой точки перпендикуляр до линии «В» и из точки пересечения проводим прямую, параллельную оси «n» до пересечения с прямой, перпендикулярной оси «n», соответствующей допустимой относительной деформации покрытий из асфальтобетона δ = 0,035. По наклонной прямой, проходящей через полученную точку, определяем требуемый модуль деформации пола Етр = 5098 Н/см2.

Грунт основания находится в зоне опасного капиллярного поднятия грунтовых вод (см. п. 7.7 Раздела I). При этом по табл. 3 расчётный модуль деформации грунта основания Е0 = 1176 Н/см2.

Принимаем расчётную схему «б» по рис. 2. Расчётный модуль деформации (табл. 2) асфальтобетонного покрытия Е2 = 23520 Н/см2, щебёночного подстилающего слоя E1 = 12740 Н/см2, толщина покрытия h2 = 4 см; Еэ2 = Етр = 5098 Н/см2.

Для условного автомобиля диаметр приведённого круга следа D = 34 см.

Для определения Еэ1 сначала вычислим значения отношений h2/D = 4/34 = 0,1175 и Еэ22 = 5098/23520 = 0,216.

По рис. 3 определяем Еэ12 = 0,184, откуда Еэ1 = 0,184 · 23520 = 4327 Н/см2. Определим h1, для чего сначала вычислим отношения Eэ1/E1 = 4327/12740 = 0,34 и E0/E1 = 1176/12740 = 0,0923, по которым, пользуясь рис. 3, определяем h1/D = 0,97, откуда h1 = 0,97 · 34 = 33 см.

Согласно п. 10 полученная толщина h1 подстилающего слоя может быть уменьшена, например, путём понижения уровня грунтовых вод ниже их опасного капиллярного поднятия. В этом случае Е0 = 2156 Н/см2 (табл. 3).

Определяем вновь: Eэ1/E1 = 4327/12740 = 0,34 и E0/E1 = 2156/12740 = 0,169, h1/D = 0,55, откуда h1 = 0,55 · 34 = 18,7 см.

Уменьшение толщины подстилающего слоя может быть также достигнуто устройством искусственного основания, например из крупного песка, уложенного на грунте основания. Для этого случая принимаем расчётную схему «в» по рис. 2.

Рис. 4 График для приведения интенсивности движения транспортных средств к интенсивности движения условного автомобиля с расчетной нагрузкой «А» и для определения требуемого модуля деформации Етр пола

Задаёмся толщиной щебёночного подстилающего слоя, равной 15 см, расчётные модули деформации: покрытия Е3 = 23520 Н/см2, подстилающего слоя Е2 = 12740 Н/см2, искусственного основания E1 = 3430 Н/см2, грунт основания Е0 = 1176 Н/см2.

Толщина асфальтобетонного покрытия h3 = 4 см.

Толщина подстилающего слоя из щебня h2 = 15 см.

Еэ3 = 5098 Н/см2; D = 34 см; Еэ23 = 0,184 и Еэ2 = 0,184 · 23520 = 4327 Н/см2.

Определим Еэ1, для чего сначала вычислим отношения h2/D = 15/34 = 0,441 и Еэ22 = 4327/12740 = 0,34.

По рис. 3 определяем Eэ1/E2 = 0,203, откуда Eэ1 = 0,203 · 12740 = 2586 Н/см2.

Определим h1, для чего сначала вычислим отношения Eэ1/E1 = 2586/3430 = 0,754 и Е01 = 1176/3430 = 0,3430.

По рис. 3 определим h1/D = 1,28, откуда h1 = 1,28 · 34 = 43,5 см.

Таким же путём определяется толщина искусственного основания, если задаться иными толщинами подстилающего слоя (например, 12 см, 18 см и т.д.). Из рассмотренных вариантов толщины подстилающего слоя наиболее целесообразный определяют по технико-экономическим соображениям.

Пример 2

Требуется определить толщину нежесткого подстилающего слоя пола. Нагрузка Р = 10 т. Форма следа опирания на пол - прямоугольник размером 50×40 см, площадь F1 = 2000 см2. Удельное давление р = 49 Н/см2. Помещение неотапливаемое.

Покрытие пола из торцевой шашки толщиной 8 см. Подстилающий слой гравийный, с содержанием зёрен крупнее 2 мм 75 %. Грунт основания - пылеватый суглинок. Грунтовые воды находятся на глубине 3 м.

Расчёт. Определим расчётные параметры по формуле (1):

При покрытии пола из торцевой шашки δ = 0,04 (табл. 2)

Примем расчётную схему «б» по рис. 2.

Расчётные модули деформации: покрытия Е2 = 11760 Н/см2 (табл. 2); подстилающего слоя E1 = 6860 Н/см2 (табл. 2); грунта основания Е0 = 1568 Н/см2 (табл. 3).

Толщина покрытия h1 = 8 см.

По формуле (5) определяем требуемый модуль деформации пола

Эквивалентный модуль деформации пола Еэ2 = Етр = 2313 Н/см2.

Определим Еэ1, для чего сначала вычислим отношения h2/D = 8/50 = 0,16 и Еэ22 = 2313/11760 = 0,197.

По рис. 3 определяем Еэ12 = 0,163, откуда Еэ1 = 0,163 · 11760 = 1917 Н/см2.

Определим h1, для чего сначала вычислим отношения Eэ1/E1 = 1917/6860 = 0,28 и E0/E1 = 1568/6860 = 0,228.

По рис. 3 определим h1/D = 0,21, откуда h1 = 0,21 · 50 = 10,5 см. Принимаем толщину подстилающего слоя h1 = 11 см.

Расчёт полов с жестким подстилающим слоем

Расчёт распространяется на сплошные подстилающие слои бетонные и из жаростойкого бетона на грунте и на теплоизоляционном слое из сыпучих материалов (шлак и др.), уложенных на плите перекрытия, а также из кислотоупорного бетона на грунте.

2. Полы производственных зданий условно разделяются на нижеследующие группы:

I - полы, на которые не устанавливается стационарное технологическое оборудование (для технологического оборудования устанавливаются специальные фундаменты, а полы воспринимают нагрузки от людей, транспортных средств, складируемых материалов);

II - полы, на которые устанавливается стационарное оборудование без особых требований к деформации основания (возникновение остаточных деформаций или трещин в подстилающем слое пола не приводит к нарушению нормальной эксплуатации стационарного оборудования, а при необходимости ремонта пола допускается перемещение этого оборудования на другой участок);

III - полы, на которые устанавливаются станки, насосы и другое не связанное в единые комплексные линии оборудование с особыми требованиями к основанию;

IV - полы, на которые устанавливаются автоматизированные линии, гибкие системы и т.д.;

V - полы, в которых предусмотрено устройство гидроизоляции.

3. На схеме нагрузок в плане должна быть указана их наибольшая величина, размеры и форма следов опирания на пол и наименьшие расстояния между этими следами.

Собственный вес пола, а также нагрузки, равномерно распределённые по всей площади, при расчёте не учитываются.

4. В зависимости от формы и величины площади следа опирания различают следующие нагрузки:

а) Простого вида - равномерно распределённые по площади следа, расположенного в плане так, что наименьшие расстояния от центра следа одной нагрузки до следа другой нагрузки превышает 6l, где l - характеристика гибкости плиты бетонного подстилающего слоя, принимаемая по табл. 3 или вычисляемая по формуле (см. п. 10).

При подстилающем слое на грунте основания различают следующие виды следа:

след в виде круга радиусом rр ≤ 6l (в том числе от колёс безрельсовых транспортных средств);

след в виде прямоугольника длиной ар и шириной bр при ар ≥ bр;

след, ограниченный с одной стороны прямой и имеющий размеры, при которых квадрат со стороной ар = 12,2l вписывается в этот след, в этом случае расчёт ведут на нагрузку, равномерно распределённую по условному квадратному следу со стороной ар = 12,2l;

след, ограниченный с двух сторон параллельными прямыми и имеющий размеры, при которых прямоугольник длиной ар = 12,2l и шириной bр < 12,2l вписывается в этот след, в этом случае расчёт ведут на нагрузку, равномерно распределённую по условному прямоугольному следу длиной ар = 12,2l и шириной bр.

При подстилающем слое на теплоизоляционном слое из сыпучих материалов, уложенных по плите перекрытия различают следующие виды следа:

след в виде прямоугольника с отношением сторон от 1 до 1,5, равновеликий следу в виде круга радиусом rр ≤ 2l;

след в виде прямоугольника длиной ар ≤ 0,6l, шириной bр < ар;

след в виде круга радиусом rр < 2l (в том числе от колёс безрельсовых транспортных средств).

б) Сложного вида (рис. 1 и 2) - при подстилающем слое на грунте основания: равномерно распределённые по площади следа, отличающегося по величине или по форме следа от указанных в подпункте «а»;

неравномерно распределённые по площади следа;

расположенные так, что наименьшее расстояние от центра следа одной нагрузки до следа другой нагрузки менее 6l.

5. Для нагрузок простого вида расчётные размеры следа ар, bр и rр определяются по формулам:

ap = a + 2h1                                                                           (1)

bp = b + 2h1                                                                           (2)

rP = r + 2h1                                                                            (3)

где «а» и «b» - длина и ширина прямоугольного следа на поверхности покрытия в см; при опирании предметов на пол по образующей цилиндрической поверхности или ребром след условно принимают прямоугольным, у которого b = 0,1l;

h1 - толщина слоев пола, расположенных выше подстилающего слоя, в см;

r - радиус круга, равновеликого площади следа опирания на поверхности покрытия, в см;

- при прямоугольном следе:

                                                      (4)

- для следа колёс безрельсовых транспортных средств r = D/2. Величину «D» рассчитывают по формуле:

 где                                                                      (5)

F - площадь следа колеса в см2 для конкретного транспортного средства.

- при опирании предметов на пол углом, след условно принимают круглым, у которого r = 0,1l, в см.

Если бетонный подстилающий слой используется в качестве покрытия, то принимают ар = а, bр = b, rр = r.

6. Расчётную нагрузку Рр от колеса транспортных средств определяют по формуле:

Рр = К · Р, где                                                                      (6)

Р - нагрузка на колесо, кН;

К - коэффициент, учитывающий влияние нагрузки от других колёс; для транспортных средств с двумя осями К = 1,2, с тремя и четырьмя осями К = 1,8.

7. Проектирование и устройство подстилающих слоев в полах производственных зданий выполняется в соответствии с требованиями СНиП 2.03.13-88 «Полы», а также раздела I настоящих Технических требований и правил.

Расчёт прочности пола

8. Расчёт прочности пола с бетонным подстилающим слоем производят на изгиб. При нескольких нагрузках простого или сложного вида расчёт ведут на каждую из них в отдельности.

9. Напряжение растяжения при изгибе σр, МПа, в плите бетонного подстилающего слоя определяют по формуле

                                                          (7)

Толщину h, см, бетонного подстилающего слоя определяют по формуле:

                                                                (8)

В формулах (7) и (8):

Мр - расчётный изгибающий момент, Н · см/см, отнесённый к одному сантиметру ширины сечения плиты;

Rδt - расчётное сопротивление растяжению. МПа, принимаемое по табл. 1.

Толщина подстилающего слоя в производственных помещениях должна быть не менее 100 мм (см. СНиП 2.03.13-88 «Полы»).

Расчёт полов при нагрузках простого вида.

10. Расчётный изгибающий момент Мр в плите бетонного подстилающего слоя, расположенного на грунте основания, при действии на пол нагрузки простого вида, равномерно распределённой по площади следа в виде прямоугольника (см. п. 4), определяют по формуле:

МР = К1 · Рp,                                                                     (9)

где Рр - расчётная нагрузка на всю площадь следа, кН, принимаемая в соответствии с п. 6; для следа, условно принятого прямоугольным (см. п.п. 4 и 5) Рр равняется нагрузке на площади этого условного следа;

K1 - коэффициент, принимаемый по таблице 4 в зависимости от отношения ар/l = α; bр/l = β

где ар и bр - расчётные длина и ширина прямоугольного следа (арbр) в см, определяемые по п. 5.

l - характеристика гибкости плиты бетонного подстилающего слоя в см, принимаемая по табл. 3 или определяемая по формуле:

                                                                  (10)

где Еб - начальный модуль упругости при сжатии и растяжении бетона в МПа, принимаемый по табл. 1;

h - толщина бетонного подстилающего слоя в см;

K0 - коэффициент постели грунта основания в Н/см2, принимаемый по табл. 2.

11. Расчётный изгибающий момент Мр в плите бетонного подстилающего слоя, расположенного на грунте основания, при действии на пол нагрузки простого вида, равномерно распределённой по площади следа в виде круга (см. п.п. 4 и 5) определяют по формуле:

Мр = К3 · Рр,                                                                         (11)

где К3 - коэффициент, принимаемый по табл. 6, в зависимости от отношения rp/l = ρ;

rр - определяется по п. 5;

Рр и l - определяется по п. 10.

12. Расчётный изгибающий момент Мр в плите бетонного подстилающего слоя, расположенного на слое грунта или сыпучего материала толщиной h' в см, уложенного по жесткому основанию (например, на теплоизоляционной засыпке, уложенной по железобетонному перекрытию), при действии на пол нагрузки простого вида (см. п. 4) определяют по формуле:

МР = К2 · Рp,                                                                         (12)

где К2 - коэффициент, принимаемый по табл. 5, в зависимости от отношения rp/l = ρ и h'/l;

rр - определяется по п. 5;

Pp и l - определяется по п. 10.

13. Расчёт плиты бетонного подстилающего слоя на изгиб при нагрузках простого вида производят следующим образом. Вначале устанавливают Рр, К0 и соответственно ар, bр или rр и h; принимают бетон по прочности на сжатие класса В22,5 (марки 300), ориентировочно задаются значением h = 10 см, находят l и соответственно α, β или ρ и h'/l; определяют K1 (табл. 4), К2 (табл. 5) или К3 (табл. 6), Мр и вычисляют σр.

Если полученное значение σр равно или на 1 - 5 % отличается от Rδt, то ориентировочно принятое значение h = 10 см принимают за окончательное, в противном случае расчёт повторяют.

При повторном расчёте надо учитывать следующее:

а) если при ранее произведённом расчёте получилось σр > Rδt, то задаются большим значением h;

б) если при предварительно принятом h = 10 см по расчёту получилось σр < Rδt для бетона марки 300, то, сохраняя h = 10 см, повторным расчётом устанавливают более низкую марку бетона.

Таблица 1

Класс бетона (марка бетона)

Начальные модули упругости при сжатии и растяжении, МПа

Расчётные сопротивления растяжению, Rδt, МПа

Показатель надёжности расчётных сопротивлений t (справочно)

Вероятность отказа подстилающего слоя (справочно)

Рекомендуемая группа пола (см. п. 2)

на статические нагрузки

на динамические, многократно повторяющиеся нагрузки1

В15

(М200)

23000

1,30

0,975

2,05

0,0202

I

1,20

0,9

2,47

0,0068

II

1,05

0,8

3,08

0,0011

III

0,69*

0,52*

4,56

0,000026

IV, V

В20

(М250)

27000

1,56

1,16

2,06

0,0190

I

1,44

1,07

2,51

0,0056

II

1,26

0,95

3,06

0,0012

III

0,83*

0,62*

4,52

0,000032

IV, V

В22,5

(М300)

28500

1,65

1,25

2,09

0,0184

I

1,50

1,13

2,58

0,0050

II

1,35

1,0

3,06

0,0012

III

0,90*

0,675*

4,50

0,000034

IV, V

В25

(М350)

30000

1,77

1,32

2,08

0,0193

I

1,61

1,20

2,54

0,0062

II

1,45

1,07

3,05

0,0013

III

0,97*

0,72*

4,43

0,000047

IV, V

В30

(М400)

32500

1,95

1,46

2,06

0,0197

I

1,80

1,35

2,47

0,0068

II

1,60

1,20

3,01

0,0014

III

1,10*

0,825*

4,40

0,000054

IV, V

* Указанные значения расчётных сопротивлений бетона соответствуют величинам, приведённым в СНиП 2.03.01-84 «Бетонные и железобетонные конструкции»

1 - от безрельсовых транспортных средств, от предметов, устанавливаемых на пол при помощи кранов.

Таблица 2

Значения коэффициента постели грунтов основания и теплоизоляционных засыпок на перекрытиях

Грунт и засыпка

Содержание по массе зёрен, крупнее

Коэффициент постели К0 в H/см3 при расположении грунта основания

выше зоны опасного капиллярного поднятия грунтовых вод1

в зоне опасного капиллярного поднятия грунтовых вод1

Песок крупный и гравелистый

0,5 мм, более 50 %

85

80

Песок средней крупности

0,25 мм, более 50 %

70

65

Песок мелкий

0,1 мм, более 75 %

60

45

Супесь

0,05 мм, более 50 %

40

30

Песок пылеватый

0,1 мм, менее 75 %

50

35

Суглинок, глина

0,05 мм, более 40 %

65

45

Супесь, суглинок и глина пылеватые

0,05 мм, менее 40 %

75

55

Засыпки шлаковые с применением шлака высококалорийных углей

2 мм, более 80 %

70

-

Засыпки шлаковые с применением шлака из бурых углей

2 мм, более 70 %

60

-

1 Высоту опасного капиллярного поднятия грунтовых вод надлежит принимать от горизонта грунтовых вод:

0,3 м - для крупного песка;

0,5 м - для песка средней крупности и мелкого;

1,5 м - для песка пылеватого;

2,0 м - для суглинка, пылеватых суглинка и супеси, глины.

Таблица 3

Характеристика l гибкости плиты бетонного подстилающего слоя

Класс бетона (марка бетона)

h в см

Значение l, см, при К0, Н/см3

30

35

40

45

50

55

60

65

70

75

80

85

В15 (М200)

10

51,2

49,2

47,6

46,2

45,0

44,0

43,0

42,2

41,3

40,7

40,0

39,4

В22,5 (М300)

10

53,6

51,6

49,9

48,5

47,2

46,1

45,1

44,2

43,4

42,7

42,0

41,4

11

57,6

55,5

53,6

52,1

50,7

49,5

48,6

47,5

46,6

45,8

45,1

44,1

12

61,5

58,4

57,2

55,6

54,3

52,9

51,7

50,7

49,6

48,9

48,1

47,4

13

65,2

62,9

60,8

59,0

57,5

56,1

54,9

53,8

52,8

52,0

51,1

50,3

14

69,0

66,4

64,2

62,4

60,8

59,3

58,1

56,9

55,9

55,0

54,0

53,2

15

72,8

70,0

67,7

65,7

63,9

62,4

61,1

59,9

58,8

57,8

56,9

56,0

16

76,3

73,4

71,0

69,0

67,2

65,6

64,2

62,9

61,7

60,7

59,7

58,8

17

81,7

76,8

74,3

72,2

70,3

68,6

67,1

65,9

64,7

63,5

62,5

61,5

18

83,4

80,2

77,6

75,3

73,3

71,6

70,1

68,7

67,4

66,3

65,2

64,2

19

86,8

83,5

80,7

78,5

76,4

74,6

73,0

71,5

70,2

69,0

67,9

67,0

29

90,2

86,8

84,0

81,5

79,4

77,6

75,9

74,3

73,0

71,7

70,6

69,6

21

93,6

90,0

87,1

84,6

82,3

80,5

78,7

77,2

75,6

74,4

73,3

72,1

22

96,9

93,3

90,1

87,6

85,3

83,3

81,5

79,9

78,4

77,0

75,9

75,7

23

100,2

96,4

93,4

90,5

88,2

86,1

84,3

82,6

81,1

79,7

78,4

77,2

24

103,4

99,5

96,3

93,4

91,0

88,9

87,0

85,3

83,7

82,3

80,9

79,7

25

106,7

102,6

99,3

96,4

93,9

91,7

89,6

87,9

86,3

84,8

83,5

82,2

26

109,8

105,7

102,2

99,3

96,7

94,4

92,4

90,5

88,9

87,3

86,0

84,7

27

113,0

108,7

105,1

102,0

99,4

97,1

95,0

93,1

91,4

89,9

88,4

87,1

28

116,1

111,7

108,1

104,9

102,2

99,8

97,6

95,7

93,9

92,3

90,9

89,5

29

119,2

114,7

110,9

107,7

104,9

102,9

102,4

100,2

98,3

94,8

93,3

91,9

30

122,3

117,7

113,8

110,5

107,6

107,6

105,1

102,8

100,8

97,2

95,7

94,3

В30 (М400)

10

55,4

53,3

51,6

50,1

48,8

47,6

46,6

45,7

44,8

44,1

43,3

42,7

11

59,5

57,3

55,4

53,8

52,4

51,1

50,0

49,1

48,2

47,3

46,6

45,9

12

63,5

61,1

59,1

57,4

55,9

54,6

53,4

52,4

51,4

50,5

49,7

49,0

13

67,5

64,9

62,8

61,0

59,4

58,0

56,7

55,6

54,6

53,6

52,8

52,0

14

71,3

68,6

66,4

64,4

62,8

61,3

60,0

58,8

57,7

56,7

55,8

55,0

15

75,1

72,3

69,9

67,9

66,1

64,5

63,2

61,9

60,8

59,7

58,8

57,9

16

78,9

75,8

73,3

71,2

69,4

67,7

66,3

65,0

63,8

62,7

61,7

60,8

17

82,5

79,4

76,8

74,5

72,6

70,9

69,4

68,0

66,7

65,6

64,6

63,6

18

86,1

82,8

80,1

77,8

75,8

74,0

72,4

71,0

69,7

68,5

67,4

66,4

19

89,7

86,3

83,5

81,0

78,9

77,1

75,4

73,9

72,5

71,3

70,2

69,1

29

93,2

89,7

86,7

84,2

82,0

80,1

78,4

76,8

75,4

74,1

72,9

71,8

21

96,6

93,0

89,9

87,3

85,1

83,1

81,3

79,7

78,2

76,9

75,6

74,5

22

100,1

96,3

93,1

90,4

88,1

86,0

84,2

82,5

81,0

79,6

78,3

77,1

23

103,5

99,6

96,3

93,5

91,1

88,9

87,0

85,3

83,7

82,3

81,0

79,8

24

106,8

102,8

99,4

96,5

94,0

91,8

89,8

88,1

86,4

85,0

83,6

82,3

25

110,2

106,0

102,5

99,5

96,9

94,7

92,6

90,8

89,1

87,6

86,2

84,9

26

113,4

109,2

105,6

102,5

99,8

97,5

95,4

93,5

91,8

90,2

88,7

87,4

27

116,7

112,3

108,6

105,4

102,7

100,3

96,2

96,2

94,4

92,8

91,3

89,9

28

119,9

115,4

111,6

108,4

105,4

103,1

98,9

98,9

97,0

95,4

93,8

92,4

29

123,1

118,5

114,6

111,3

108,4

105,8

101,5

101,5

99,6

97,9

96,3

94,9

30

126,3

121,5

117,5

114,1

111,1

108,5

104,1

104,1

102,2

100,4

98,8

97,3


Таблица 4

Коэффициент K1

α

Значение коэффициента К1 при β

0,1

0,2

0,4

0,6

0,8

1,0

1,2

1,4

1,6

1,8

2,0

2,2

2,4

2,6

2,8

3,0

3,2

3,4

3,6

3,8

0,1

140,4

-

-

-

-

-

-

-

-

-

-

-

-

-

-

-

-

-

-

-

0,2

135,7

132,5

-

-

-

-

-

-

-

-

-

-

-

-

-

-

-

-

-

-

0,4

127,1

123,9

118,3

-

-

-

-

-

-

-

-

-

-

-

-

-

-

-

-

-

0,6

119,8

116,2

110,8

105,9

-

-

-

-

-

-

-

-

-

-

-

-

-

-

-

-

0,8

112,2

109,8

103,9

99,2

95,0

-

-

-

-

-

-

-

-

-

-

-

-

-

-

-

1,0

105,7

102,9

97,7

93,1

89,0

85,5

-

-

-

-

-

-

-

-

-

-

-

-

-

-

1,2

99,7

97,0

91,9

87,5

83,5

80,0

76,9

-

-

-

-

-

-

-

-

-

-

-

-

-

1,4

94,3

91,6

86,7

82,4

78,5

75,2

72,1

69,3

-

-

-

-

-

-

-

-

-

-

-

-

1,6

89,4

86,8

82,0

77,8

74,0

70,7

67,7

64,9

62,3

-

-

-

-

-

-

-

-

-

-

-

1,8

84,8

82,3

77,6

73,5

69,9

66,6

63,7

60,9

58,4

56,1

-

-

-

-

-

-

-

-

-

-

2,0

80,6

78,1

73,5

69,5

66,0

62,9

60,0

57,3

54,9

52,6

50,4

-

-

-

-

-

-

-

-

-

2,2

76,7

74,3

69,8

65,9

62,5

59,4

56,6

54,0

51,6

49,3

47,2

45,2

-

-

-

-

-

-

-

-

2,4

73,1

70,7

66,4

62,6

59,3

56,2

53,5

50,9

48,5

46,3

44,3

42,3

40,4

-

-

-

-

-

-

-

2,6

69,7

67,4

63,2

59,6

56,3

53,3

50,6

48,1

45,7

43,5

41,5

39,6

37,8

36,1

-

-

-

-

-

-

2,8

68,7

64,4

60,3

56,8

53,5

50,6

47,9

45,4

43,2

41,0

39,0

37,1

35,4

33,8

32,2

-

-

-

-

-

3,0

66,6

61,5

57,6

54,1

50,9

48,1

45,4

43,0

40,8

38,7

36,7

34,9

33,2

31,6

30,0

28,5

-

-

-

-

3,2

61,0

58,9

55,1

51,6

48,5

45,7

43,2

40,8

38,6

36,6

34,7

32,9

31,2

29,6

28,0

26,6

25,2

-

-

-

3,4

58,5

56,4

52,7

49,3

46,3

43,6

41,1

38,8

36,6

34,6

32,8

31,0

29,4

27,8

26,3

24,9

23,5

22,1

-

-

3,6

56,1

54,1

50,5

47,2

44,3

41,6

39,1

36,9

34,8

32,8

31,0

29,2

27,6

26,1

24,7

23,3

21,9

20,7

19,47

-

3,8

53,9

51,9

48,4

45,3

42,4

39,8

37,3

35,1

33,1

31,2

29,4

27,6

26,0

24,5

23,2

21,9

20,6

19,43

18,23

17,07

4,0

51,9

50,0

46,4

43,5

40,7

38,1

35,7

33,5

31,5

29,7

27,9

26,1

24,5

23,1

21,8

20,6

19,38

18,21

17,08

15,98

4,2

49,9

48,1

44,8

41,7

39,0

36,5

34,2

32,1

30,1

28,3

26,5

24,8

23,5

21,9

20,6

19,4

18,22

17,10

16,03

15,00

4,4

48,0

46,3

43,1

40,1

37,4

35,0

32,7

30,7

28,8

27,0

25,2

23,6

22,1

20,7

19,47

18,29

17,16

16,09

15,08

14,11

4,6

46,3

44,6

41,5

38,6

36,0

33,6

31,4

29,4

27,5

25,7

24,0

22,4

21,0

19,64

18,43

17,28

16,19

15,16

14,22

13,31

4,8

44,7

43,0

40,0

37,2

34,7

32,4

30,2

28,2

26,3

24,5

22,9

21,4

19,96

18,65

17,46

16,35

15,31

14,34

13,44

12,59

5,0

43,2

41,5

38,6

35,9

33,5

31,2

29,0

27,0

25,2

23,5

21,9

20,4

19,00

17,73

16,57

15,50

14,51

13,59

12,74

11,94

5,2

41,8

40,2

37,3

34,7

32,3

30,0

27,9

25,9

24,1

22,5

20,9

19,43

18,11

16,88

15,75

14,72

13,78

12,91

12,10

11,35

5,4

40,4

38,9

36,1

33,5

31,1

28,9

26,9

24,9

23,1

21,5

19,96

18,57

17,28

16,09

15,00

14,00

13,10

12,28

11,52

10,82

5,6

39,1

37,6

34,9

32,4

30,1

27,9

25,9

24,0

22,2

20,6

19,13

17,78

16,51

15,36

14,30

13,34

12,48

11,70

10,99

10,34

5,8

37,9

36,4

33,8

31,3

29,1

26,9

24,9

23,1

21,4

19,82

18,37

17,04

15,81

14,69

13,66

12,74

11,92

11,18

10,50

9,89

6,0

36,7

35,3

32,7

30,3

28,1

26,0

24,1

22,3

20,6

19,08

17,67

16,36

15,16

14,07

13,08

12,12

11,40

10,70

10,06

9,48

6,5

34,0

32,7

30,2

28,0

26,0

24,0

22,1

20,4

18,89

17,43

16,08

14,85

13,72

12,71

11,80

10,99

10,28

9,65

9,08

8,58

7,0

31,7

30,5

28,2

26,1

24,1

22,3

20,5

18,89

17,40

16,02

14,75

13,59

12,53

11,59

10,75

10,01

9,35

8,78

8,27

7,83

7,5

29,7

28,5

26,4

24,4

22,5

20,8

19,15

17,60

16,16

14,84

13,63

12,54

11,55

10,66

9,88

9,19

8,58

8,06

7,60

7,20

8,0

27,8

26,7

24,7

22,9

21,1

19,5

17,95

16,49

15,14

13,87

12,71

11,66

10,72

9,89

9,15

8,50

7,94

7,45

7,03

6,67

9,0

24,7

23,7

21,9

20,3

18,77

17,31

15,93

14,65

13,43

12,29

11,24

10,29

9,43

8,68

8,02

7,44

6,94

6,52

6,15

5,83

10,0

22,2

21,3

19,73

18,23

16,88

15,56

14,32

13,15

12,07

11,05

10,09

9,22

8,44

7,76

7,15

6,63

6,18

5,80

5,48

5,21

11,0

20,2

19,39

17,94

16,59

15,33

14,13

13,01

11,95

10,95

10,03

9,17

8,37

7,66

7,04

6,49

6,01

5,59

5,25

4,95

4,70

12,2

18,18

17,48

16,16

14,95

13,88

12,73

11,72

10,76

9,87

9,04

8,26

7,54

6,91

6,34

5,84

5,40

5,03

4,72

4,46

4,28

Продолжение таблицы 4

Коэффициент K1

α

Значение коэффициента K1 при β

4,0

4,2

4,4

4,6

4,8

5,0

5,2

5,4

5,6

5,8

6,0

6,5

7,0

7,5

8,0

9,0

10,0

11,0

12,2

0,1

-

-

-

-

-

-

-

-

-

-

-

-

-

-

-

-

-

-

-

0,2

-

-

-

-

-

-

-

-

-

-

-

-

-

-

-

-

-

-

-

0,4

-

-

-

-

-

-

-

-

-

-

-

-

-

-

-

-

-

-

-

0,6

-

-

-

-

-

-

-

-

-

-

-

-

-

-

-

-

-

-

-

0,8

-

-

-

-

-

-

-

-

-

-

-

-

-

-

-

-

-

-

-

1,0

-

-

-

-

-

-

-

-

-

-

-

-

-

-

-

-

-

-

-

1,2

-

-

-

-

-

-

-

-

-

-

-

-

-

-

-

-

-

-

-

1,4

-

-

-

-

-

-

-

-

-

-

-

-

-

-

-

-

-

-

-

1,6

-

-

-

-

-

-

-

-

-

-

-

-

-

-

-

-

-

-

-

1,8

-

-

-

-

-

-

-

-

-

-

-

-

-

-

-

-

-

-

-

2,0

-

-

-

-

-

-

-

-

-

-

-

-

-

-

-

-

-

-

-

2,2

-

-

-

-

-

-

-

-

-

-

-

-

-

-

-

-

-

-

-

2,4

-

-

-

-

-

-

-

-

-

-

-

-

-

-

-

-

-

-

-

2,6

-

-

-

-

-

-

-

-

-

-

-

-

-

-

-

-

-

-

-

2,8

-

-

-

-

-

-

-

-

-

-

-

-

-

-

-

-

-

-

-

3,0

-

-

-

-

-

-

-

-

-

-

-

-

-

-

-

-

-

-

-

3,2

-

-

-

-

-

-

-

-

-

-

-

-

-

-

-

-

-

-

-

3,4

-

-

-

-

-

-

-

-

-

-

-

-

-

-

-

-

-

-

-

3,6

-

-

-

-

-

-

-

 

-

-

-

-

-

-

-

-

-

-

-

3,8

-

-

-

-

-

-

-

-

-

-

-

-

-

-

-

-

-

-

-

4,0

14,91

-

-

-

-

-

-

-

-

-

-

-

-

-

-

-

-

-

-

4,2

13,99

13,00

-

-

-

-

-

-

-

-

-

-

-

-

-

-

-

-

-

4,4

13,18

12,25

11,31

-

-

-

-

-

-

-

-

-

-

-

-

-

-

-

-

4,6

12,45

11,60

10,76

9,89

-

-

-

-

-

-

-

-

-

-

-

-

-

-

-

4,8

11,79

11,02

10,28

9,52

8,72

-

-

-

-

-

-

-

-

-

-

-

-

-

-

5,0

11,20

10,50

9,84

9,16

8,38

-

-

-

-

-

4,73

-

-

-

-

-

-

-

-

5,2

10,67

10,08

9,43

8,32

8,06

7,43

6,91

-

-

-

4,32

3,92

-

-

-

-

-

-

-

5,4

10,19

9,60

9,05

8,50

7,76

7,14

6,64

6,23

-

-

4,17

3,63

3,33

-

-

-

-

-

-

5,6

9,75

9,20

8,70

8,19

7,47

6,87

6,38

5,98

5,65

-

3,88

3,40

3,12

2,91

-

-

-

-

-

5,8

9,34

8,83

8,37

7,90

7,20

6,62

6,15

5,76

5,43

5,15

3,65

3,20

2,94

2,74

2,57

-

-

-

-

6,0

8,96

8,49

8,06

7,62

6,94

6,39

5,93

5,55

5,23

4,96

3,26

2,86

2,64

2,46

2,31

2,05

-

-

-

6,5

8,13

7,73

7,36

6,99

6,36

5,84

5,84

5,07

4,77

4,53

2,94

2,58

2,38

2,22

2,09

1,853

1,668

-

-

7,0

7,44

7,08

6,77

6,45

5,85

5,37

5,37

4,65

4,38

4,17

2,67

2,34

2,17

2,02

1,897

1,687

1,518

1,38

-

7,5

6,85

6,54

6,25

5,97

5,42

4,96

4,96

4,29

4,06

3,88

2,41

2,11

1,956

1,825

1,711

1,521

1,368

1,244

1,122

8,0

6,35

6,07

5,81

5,56

5,05

4,62

4,62

3,99

3,80

3,65

6,35

6,07

5,81

5,56

5,05

4,62

4,62

3,99

3,80

9,0

5,56

5,32

5,09

4,88

4,41

4,04

4,04

3,53

3,39

3,26

5,56

5,32

5,09

4,88

4,41

4,04

4,04

3,53

3,39

10,0

4,97

4,75

4,55

4,35

3,93

3,60

3,35

3,18

3,06

2,94

4,97

4,75

4,55

4,35

3,93

3,60

3,35

3,18

3,06

11,0

4,48

4,48

4,29

4,12

3,55

3,25

3,03

2,89

2,77

2,67

4,48

4,48

4,29

4,12

3,55

3,25

3,03

2,89

2,77

12,2

4,03

4,03

3,86

3,70

3,53

2,92

2,73

2,61

2,51

2,41

4,03

4,03

3,86

3,70

3,53

2,92

2,73

2,61

2,51


Таблица 5

Значение коэффициента К2

ρ

Значение коэффициента К2 при h/l

0,1

0,2

0,4

0,6

0,8

1

2

0,1

99

107

115

119

122

124

130

0,2

82

90

99

105

108

111

117

0,3

67

76

86

92

96

99

106

0,4

55

65

75

81

85

88

95

0,5

45

55

65

71

75

78

85

0,6

36

46

56

62

66

69

77

0,7

29

38

48

54

58

62

69

0,8

23

32

42

47

51

55

63

0,9

19

27

36

41

45

49

57

1,0

15

23

31

36

40

43

51

1,1

12

19

27

32

35

38

46

1,2

9

15

23

28

31

34

41

1,3

-

12

19

24

27

30

36

1,4

-

10

16

20

23

26

32

1,5

-

-

13

17

20

22

28

1,6

-

-

11

14

17

19

25

1,7

-

-

-

12

14

16

22

1,8

-

-

-

10

12

14

19

1,9

-

-

-

-

10

12

17

2,0

-

-

-

-

9

10

15

Таблица 6

Значение коэффициента К3

ρ

К3

ρ

К3

ρ

К3

ρ

К3

0,02

145,9

0,42

97,9

2,1

17,88

4,1

2,92

0,04

142,9

0,44

96,0

2,2

15,95

4,2

2,78

0,06

139,9

0,46

94,2

2,3

14,13

4,3

2,65

0,08

137,1

0,48

92,4

2,4

12,50

4,4

2,53

0,10

134,3

0,5

90,7

2,5

11,05

4,5

2,43

0,12

131,6

0,6

82,6

2,6

9,73

4,6

2,34

0,14

128,9

0,7

75,2

2,7

8,55

4,7

2,25

0,16

126,3

0,8

68,6

2,8

7,56

4,8

2,16

0,18

123,8

0,9

62,5

2,9

6,74

4,9

2,08

0,20

121,3

1,0

56,9

3,0

6,08

5,0

2,00

0,22

118,9

1,1

51,7

3,1

5,52

5,1

1,925

0,24

116,6

1,2

47,0

3,2

5,05

5,2

1,856

0,26

114,3

1,3

42,6

3,3

4,65

5,3

1,790

0,28

112,1

1,4

38,6

3,4

4,31

5,4

1,729

0,30

109,9

1,5

34,8

3,5

4,02

5,5

1,671

0,32

107,8

1,6

31,4

3,6

3,77

5,6

1,616

0,34

105,7

1,7

28,2

3,7

3,56

5,7

1,563

0,36

103,7

1,8

25,3

3,8

3,88

5,8

1,511

0,38

101,7

1,9

22,6

3,9

3,21

5,9

1,460

0,40

! 99,8

2,0

20,2

4,0

3,06

6,0

1,410

Расчёт при нагрузках сложного вида

14. При нагрузках сложного вида (см. п. 4) расчётный изгибающий момент в плите бетонного подстилающего слоя, расположенного на грунте основания, определяют как сумму моментов от отдельных нагрузок по формуле:

Mp = M0 + ΣMi,                                                                 (13)

где М0 - изгибающий момент в расчётном центре от нагрузки простого вида, равномерно распределённой по следу, центр тяжести которого совпадает с расчётным центром; при следе в виде круга М0 определяют по формуле (11), а при следе в виде квадрата или прямоугольника, длинная сторона «а» которого расположена параллельно оси ОУ (рис. 1в, 2а), - по формуле (9);

Mi - изгибающий момент в расчётном центре от сосредоточенной нагрузки Рi, приложенной в центре тяжести элементарной площадки, определяют по формуле:

Mi = K4 · Pi,                                                                  (14)

где Pi - кН, определяемый по п. 21;

K4 - коэффициент, принимаемый по табл. 7 в зависимости от отношения xi/l и yi/l, в которых xi и yi - координаты точки приложения нагрузки Pi, определяемые по схеме расположения нагрузок (см. рис. 1 и 2) в соответствии с п. 15.

15. Для всех элементарных площадок определяют координаты xi и yi точек приложения Рi относительно осей ОХ и ОУ и вычисляют приведённые координаты этих точек xi/l и yi/l.

Нагрузки и элементарные площадки с приведёнными координатами точек приложения Pi xi/l > 8 или yi/l > 6 в расчёте не учитывают.

16. Для определения расчётного изгибающего момента при нагрузках сложного вида вычерчивают схему расположения следов опирания нагрузок на пол, расчётного центра О, осей координат и схему разделения следов нагрузок на элементарные площадки с указанием на каждой из них центра тяжести приложения нагрузки (см. рис. 1 и 2). Нагрузки, расположение которых на полу может изменяться, следует располагать по возможности ближе к расчётному центру.

17. Расположение расчётного центра О выбирают из условия получения наибольшего значения изгибающего момента от заданных нагрузок. Для нагрузок, равномерно распределённых по следу, приведённых на рис. 1 и 2, расположение и количество расчётных центров следует принимать по табл. 8.

18. В расчётном центре располагают начало прямоугольных координат и размещают ось ОУ так, чтобы центры тяжести элементарных площадок, на которые разделены площади одного или нескольких следов опирания, расположились возможно ближе к этой оси.

Следы опирания нагрузок разделяют на элементарные площадки простой геометрической формы (квадрат, прямоугольник, круг). Размеры элементарных площадок устанавливают равными 0,3 - 0,5 расстояния от их центра тяжести до расчётного центра. Такой же величины следует принимать длину элементарных площадок следов опирания предметов ребром или по образующей цилиндрической поверхности (см. рис. 2).

Одинаковые элементарные площадки следует располагать симметрично относительно осей координат или, во всяком случае, относительно одной из них.

Следы нагрузок размером менее 0,5l и след колеса безрельсового транспорта на элементарные площадки не разделяют.

19. В тех случаях, когда недостаточно ясно, какое следует установить направление оси ОУ, изгибающий момент определяют вначале для одного направления оси, а затем для другого, перпендикулярного первому направлению (рис. 1в¢, 1в") и из полученных изгибающих моментов принимают наибольший.

Рис. 1 Схема расположения в плане нагрузок сложного вида, расчётного центра О, осей координат и разделения следов нагрузок на элементарные площадки

а - нечётное количество одинаковых нагрузок, расположенных в один ряд; б - то же при четном количестве нагрузок b ≤ 4,4 · l; в (в'; в"; в"') - нагрузка разной величины с различными площадями следов; l - след колеса транспортного средства, след станка, агрегата

Рис. 2 Схема расположения в плане нагрузок сложного вида, расчётного центра О, осей координат и разделения следов нагрузок на элементарные площадки

а, в - нагрузки, равномерно распределённые по длине параллельных следов (от прокладок под тяжёлые предметы, от штабелей цилиндрических валов и др.) при b 4,4 · l; a > b; б; б'; г - то же при b > 4,4 · l; а > b


Таблица 7

Коэффициент K4

yi/l

Значение К4 при xi/l

0

0,05

0,1

0,15

0,2

0,25

0,3

0,35

0,4

0,45

0,5

0,55

0,6

0,65

0,7

0,75

0,8

0,85

0,9

0,95

1,0

1,05

0

-

255,8

191,7

154,4

128,0

107,8

91,6

78,0

66,5

56,6

47,8

40,2

33,4

27,3

21,8

16,95

12,55

8,59

5,02

1,80

-1,1

-3,71

0,05

322,1

257,0

194,6

156,2

129,1

108,6

92,1

78,4

66,8

56,8

48,1

40,4

33,5

-

-

-

-

-

-

-

-

-

0,1

257,7

234,2

192,7

157,8

131,0

110,2

93,4

79,5

67,7

57,5

48,7

40,9

34,0

27,8

22,3

17,38

12,95

8,95

5,34

2,09

-0,83

-3,46

0,15

220,2

208,8

183,1

155,5

131,4

111,4

94,7

80,7

68,8

58,5

49,5

41,6

34,6

-

-

-

-

-

-

-

-

-

0,2

193,8

187,1

170,4

149,8

129,5

111,2

95,3

81,6

69,8

59,6

50,5

42,5

35,5

29,2

23,6

18,53

14,0

9,92

6,24

2,93

-0,07

-2,75

0,25

173,4

169,0

157,6

142,1

125,5

109,5

94,9

82,0

70,5

60,4

51,4

43,4

36,3

-

-

-

-

-

-

-

-

-

0,3

156,7

153,7

145,5

133,6

120,2

106,6

93,5

81,5

70,6

60,8

52,0

44,2

37,1

30,8

25,2

20,0

15,43

11,27

7,52

4,14

1,08

-1,66

0,35

142,8

140,6

134,4

125,2

114,3

102,7

91,2

80,3

70,2

60,9

52,4

44,7

37,8

-

-

-

-

-

-

-

-

-

0,4

130,8

129,1

124,8

117,1

108,2

98,4

88,3

78,5

69,2

60,5

52,4

45,0

38,3

32,1

26,5

21,5

16,88

12,71

8,93

5,51

2,42

-0,37

0,45

120,4

119,1

115,2

109,4

102,0

93,7

84,9

76,2

67,7

59,6

52,0

45,0

38,5

-

-

-

-

-

-

-

-

-

0,5

111,1

110,0

106,9

102,1

96,0

88,9

81,3

73,6

65,9

58,4

51,3

44,7

38,5

32,7

27,4

22,5

18,08

14,0

10,25

6,86

3,78

0,98

0,55

102,8

101,9

99,4

95,4

90,2

84,2

77,6

70,7

63,7

56,9

50,4

44,1

38,2

-

-

-

-

-

-

-

-

-

0,6

95,3

94,6

92,5

89,1

84,7

79,5

73,7

67,6

61,4

55,2

49,2

43,4

37,8

32,6

27,7

23,1

18,85

14,94

11,33

8,03

8,03

2,25

0,65

88,6

88,0

86,2

83,3

79,5

75,0

70,0

64,5

58,9

53,3

47,8

42,4

37,2

-

-

-

-

-

-

-

-

-

0,7

82,4

81,9

80,4

77,9

74,6

70,7

66,3

61,4

56,4

51,3

46,2

41,2

36,4

31,7

27,3

23,1

19,16

15,5

12,09

8,94

6,02

3,34

0,75

76,7

76,3

75,0

72,9

70,0

66,6

62,7

58,4

53,9

49,3

44,6

39,9

35,4

-

-

-

 

-

-

-

-

-

0,8

71,6

71,2

70,0

68,2

65,7

62,7

59,2

55,4

51,3

47,1

42,8

38,6

34,4

30,3

26,4

22,6

19,06

15,66

12,49

9,53

6,77

4,21

0,9

62,3

62,0

61,1

59,7

57,8

55,4

52,7

49,6

46,3

42,8

39,2

35,5

32,0

28,5

25,1

21,7

18,52

15,46

12,55

9,81

7,24

4,83

1,0

54,3

54,1

53,4

52,3

50,8

48,9

46,7

44,2

41,5

38,7

35,7

32,6

29,6

26,5

23,5

20,0

17,71

14,96

12,32

9,82

7,46

5,23

1,1

47,4

47,2

46,7

45,8

44,6

43,1

41,8

39,3

37,1

34,7

32,2

26,7

27,0

24,4

21,8

19,21

16,69

14,24

11,88

9,61

7,46

5,42

1,2

41,5

41,3

40,8

40,1

39,1

37,9

36,4

34,8

33,0

31,0

28,9

24,0

24,5

22,3

20,0

17,75

15,94

13,37

11,27

9,23

7,29

5,43

1,3

36,2

36,1

35,7

35,1

34,8

33,3

32,1

30,7

29,2

27,6

25,8

21,4

22,1

20,1

18,19

16,24

14,31

12,40

10,34

8,72

6,98

5,29

1,4

31,6

31,5

31,2

30,7

30,1

29,2

28,2

27,1

25,8

24,4

22,9

21,4

19,75

18,1

16,42

14,73

13,04

11,37

9,73

8,11

6,55

5,04

1,5

27,6

27,5

27,2

26,8

26,3

25,6

24,7

23,8

22,7

21,5

20,3

18,96

17,57

16,14

14,69

13,23

11,76

10,31

8,86

7,44

6,05

4,71

1,6

24,0

-

23,7

-

22,9

-

21,6

-

19,32

-

17,87

-

15,56

14,33

13,08

11,81

10,53

9,26

7,99

6,75

5,53

4,34

1,7

20,8

-

20,6

-

19,94

-

18,85

-

17,45

-

15,67

-

13,7

12,66

11,58

10,48

9,37

8,26

7,15

6,07

5,0

3,94

1,8

18,06

-

17,87

-

17,3

-

16,38

-

15,17

-

13,69

-

12,01

11,12

10,19

9,24

8,28

7,32

6,35

5,4

4,45

3,51

1,9

15,64

-

15,46

-

14,98

-

14,20

-

13,17

-

11,91

-

10,47

9,71

8,91

8,09

7,26

6,42

5,58

4,74

3,9

3,08

2,0

13,47

-

13,33

-

12,93

-

12,27

-

11,39

-

10,31

-

9,08

8,42

7,74

7,03

6,31

5,58

4,85

4,11

3,38

2,66

2,1

11,57

-

11,45

-

11,11

-

10,56

-

9,81

-

8,89

-

7,83

7,26

6,67

6,06

5,44

4,81

4,17

3,53

2,89

2,26

2,2

9,91

-

9,81

-

9,52

-

9,05

-

8,41

-

7,63

-

6,72

6,22

5,71

5,19

4,65

4,1

3,55

2,99

2,43

1,83

2,3

8,45

-

8,37

-

8,12

-

7,71

-

7,17

-

6,51

-

5,73

-

-

-

3,94

-

-

-

2,43

-

2,4

7,17

-

7,10

-

6,89

-

6,54

-

6,08

-

5,51

-

4,84

-

-

-

3,3

-

-

-

2,01

-

2,5

6,05

-

5,99

-

5,81

-

5,51

-

5,12

-

4,63

-

4,05

-

-

3,06

2,73

-

-

-

1,63

-

2,6

5,07

-

5,02

-

4,87

-

4,61

-

4,27

-

3,85

-

3,36

-

-

2,50

2,22

-

-

-

1,29

-

2,7

4,22

-

4,18

-

4,05

-

3,82

-

3,53

-

3,17

-

2,75

-

-

2,02

1,78

-

-

-

0,98

-

2,8

3,48

-

3,44

-

3,33

-

3,14

-

2,89

-

2,58

-

2,22

-

-

1,58

1,39

-

-

-

0,7

-

2,9

2,83

-

2,8

-

2,71

-

2,55

-

2,34

-

2,07

-

1,70

-

-

1,21

1,05

-

-

-

0,46

-

3,0

2,28

-

2,25

-

2,17

-

2,04

-

1,86

-

1,63

-

1,36

-

-

0,90

0,75

-

-

-

0,25

-

3,2

1,4

-

1,38

-

1,33

-

1,23

-

1,1

-

0,94

-

0,74

-

-

-

0,30

-

-

-

0,07

-

3,4

0,77

-

0,76

-

0,72

-

0,65

-

0,56

-

0,44

-

0,3

-

-

-

-0,02

-

-

-

-0,21

-

3,6

0,33

-

0,32

-

0,29

-

0,25

-

0,19

-

0,1

-

-0,01

-

-

-

-0,24

-

-

-

-0,39

-

3,8

0,03

-

0,03

-

0,01

-

-0,02

-

-0,07

-

-0,13

-

-0,21

-

-

-

-0,37

-

-

-

-0,49

-

4,0

-0,16

-

-0,16

-

-0,18

-

-0,21

-

-0,24

-

-0,28

-

-0,33

-

-

-

-0,43

-

-

-

-0,55

-

4,2

-

-

-

-

-

-

-

-

-

-

-

-

-0,38

-

-

-

-0,45

-

-

-

-0,57

-

4,4

-

-

-

-

-

-

-

-

-

-

-

-

-0,41

-

-

-

-0,45

-

-

-

-0,56

-

4,5

-0,36

-

-0,36

-

-0,36

-

-0,37

-

-0,39

-

-0,4

-

-0,41

-

-

-

-0,44

-

-

-

-0,52

-

4,6

-

-

-

-

-

-

-

-

-

-

-

-

-0,41

-

-

-

-0,43

-

-

-

-0,47

-

4,8

-

-

-

-

-

-

-

-

-

-

-

-

-0,38

-

-

-

-0,39

-

-

-

-0,4

-

5,0

-0,31

-

-0,31

-

-0,32

-

-0,32

-

-0,33

-

-0,33

-

-0,33

-0,33

-0,33

-0,33

-0,33

-

-

-

-0,34

-

5,5

-0,21

-

-0,21

-

-0,21

-

-0,21

-

-0,21

-

-0,21

-

-0,21

-0,21

-0,21

-0,21

-0,21

-0,21

-0,21

-0,21

-0,21

-

6,0

-0,13

-

-0,13

-

-0,13

-

-0,12

-

-0,12

-

-0,12

-

-0,12

-0,12

-0,12

-0,12

-0,12

-

-

-

-0,11

-0,11

Продолжение таблицы 7

Коэффициент K4

yi/l

Значение К4 при xi/l

1,1

1,15

1,2

1,3

1,4

1,5

1,6

1,7

1,8

2,0

2,2

2,4

2,6

2,8

3,0

3,2

3,4

3,6

3,8

4,0

4,2

4,4

0

-6,07

-8,19

-10,07

-13,26

-15,78

-17,72

-19,15

-20,15

-20,78

-21,81

-20,72

-19,67

-18,21

-16,51

-14,71

-12,90

-11,15

-9,50

-7,96

-6,56

-5,30

-4,21

0,05

-

-

-

-

-

-

-

-

-

-

-

-

-

-

-

-

-

-

-

-

-

-

0,1

-5,84

-7,97

-9,86

-13,08

-15,62

-17,57

-19,01

-20,03

-20,67

-

-

-

-

-

-

-

-

-

-

-

-

-

0,15

-

-

-

-

-

-

-

-

-

-

-

-

-

-

-

-

-

-

-

-

-

-

0,2

-5,16

-7,33

-9,27

-12,55

-15,15

-17,14

-18,63

-19,68

-20,35

-20,83

-20,43

-19,43

-18,01

-16,35

-14,57

-12,79

-11,06

-9,42

-7,90

-6,50

-5,26

-4,18

0,25

-

-

-

-

-

-

-

-

-

-

-

-

-

-

-

-

-

-

-

-

-

-

0,3

-4,13

-6,35

-8,35

-11,73

-14,41

-16,46

-18,02

-19,12

-19,85

-

-

-

-

-

-

-

-

-

-

-

-

-

0,35

-

-

-

-

-

-

-

-

-

-

-

-

-

-

-

-

-

-

-

-

-

-

0,4

-2,89

-5,16

-7,2

-10,69

-13,45

-15,59

-17,21

-18,38

-19,17

-19,84

-19,61

-18,74

-17,43

-15,87

-14,17

-12,46

-10,79

-9,20

-7,72

-6,35

-5,14

-4,09

0,45

-

-

-

-

-

-

-

-

-

-

-

-

-

-

-

-

-

-

-

-

-

-

0,5

-1,56

-3,86

-5,94

-9,51

-12,34

-14,55

-16,24

-17,49

-18,35

-

-

-

-

-

-

-

-

-

-

-

-

-

0,55

-

-

-

-

-

-

-

-

-

-

-

-

-

-

-

-

-

-

-

-

-

-

0,6

-0,28

-2,58

-4,67

-8,26

-11,14

-13,41

-15,17

-16,50

-17,42

-18,35

-18,35

-17,67

-16,53

-15,11

-13,54

-11,94

-10,36

-8,85

-7,43

-6,12

-4,96

-3,94

0,65

-

-

-

-

-

-

-

-

-

-

-

-

-

-

-

-

-

-

-

-

-

-

0,7

0,87

-1,4

-3,46

-7,02

-9,92

-12,24

-14,05

-15,44

-16,42

-

-

-

-

-

-

-

-

-

-

-

-

-

0,75

-

-

-

-

-

-

-

-

-

-

-

-

-

-

-

-

-

-

-

-

-

-

0,8

1,84

-0,34

-2,36

-5,85

-8,73

-11,08

-12,91

-14,34

-15,37

-16,54

-16,77

-16,31

-15,37

-14,13

-12,72

-11,26

-9,80

-8,39

-7,05

-5,81

-4,71

-3,14

0,9

2,59

0,51

-1,41

-4,80

-7,62

-9,95

-11,77

-13,22

-14,29

-

-

-

-

-

-

-

-

-

-

-

-

-

1,0

3,19

1,17

-0,64

-3,88

-6,61

-8,87

-10,68

-12,12

-13,23

-14,58

-15,02

-14,77

-14,04

-12,99

-11,76

-10,45

-9,12

-7,83

-6,59

-5,44

-4,41

-3,50

1,1

3,48

1,66

-0,04

-3,10

-5,71

-7,87

-9,66

-11,08

-12,20

-

-

-

-

-

-

-

-

-

-

-

-

-

1,2

3,65

1,98

0,41

-2,45

-4,91

-6,97

-8,71

-10,11

-11,21

-12,64

-13,22

-13,15

-12,61

-11,75

-10,71

-9,56

-8,37

-7,20

-6,07

-5,02

-4,07

-3,23

1,3

3,68

2,15

0,71

-1,93

-4,22

-6,18

-7,84

-9,20

-10,27

-

-

-

-

-

-

-

-

-

-

-

-

-

1,4

3,6

2,22

0,89

-1,52

-3,65

-5,49

-7,06

-8,35

-9,39

-10,82

-11,48

-11,54

11,61

-10,48

-9,62

-8,62

-7,57

-6,52

-5,51

-4,56

-3,70

-2,94

1,5

3,43

2,18

0,98

-1,22

-3,18

-4,89

-6,36

-7,57

-8,58

-

-

-

-

-

-

-

-

-

-

-

-

-

1,6

3,19

2,08

1,0

-1,00

-2,79

-4,37

-5,73

-6,88

-7,83

-9,16

-9,85

-10,01

-9,76

-9,24

-8,52

-7,67

-6,75

-5,83

-4,93

-4,09

-3,32

-2,63

1,7

2,9

1,9

0,95

-0,85

-2,48

-3,93

-5,18

-6,26

-7,14

-

-

-

-

-

-

-

-

-

-

-

-

-

1,8

2,59

1,7

0,86

-0,76

-2,23

-3,55

-4,70

-5,70

-6,52

-7,71

-8,38

-8,60

-8,45

-8,04

-7,45

-6,74

-5,95

-5,15

-4,36

-3,62

-2,94

-2,32

1,9

2,27

1,49

0,74

-0,72

-2,04

-3,23

-4,27

-5,20

-5,96

-

-

-

-

-

-

-

-

-

-

-

-

-

2,0

1,95

1,26

0,59

-0,70

-1,88

-2,96

-3,90

-4,74

-5,45

-6,49

-7,09

-7,33

-7,24

-6,93

-6,44

-5,85

-5,18

-4,49

-3,81

-3,16

-2,56

-2,02

2,1

1,63

1,02

0,43

-0,71

-1,75

-2,72

-3,58

-4,33

-4,98

-

-

-

-

-

-

-

-

-

-

-

-

-

2,2

1,33

0,8

0,28

-0,72

-1,66

-2,52

-3,29

-3,97

-4,56

-5,45

-5,97

-6,20

-6,15

-5,91

-5,51

-5,02

-4,15

-3,86

-3,28

-2,72

-2,19

-1,72

2,3

-

-

0,13

3,94

2,01

0,13

-1,58

-3,03

-4,18

-

-

-

-

-

-

-

 

-

-

-

-

-

2,4

-

-

-0,02

3,30

1,63

-0,02

-1,53

-2,81

-3,83

-4,57

-5,00

-5,21

-5,19

-4,99

-4,67

-4,25

-3,78

-3,28

-2,78

-2,30

-1,85

-1,44

2,5

-

-

-0,15

2,73

1,29

-0,15

-1,49

-2,62

-3,52

-

-

-

-

-

-

 

-

-

-

-

-

-

2,6

-

-

-0,28

2,22

0,98

-0,28

-1,45

-2,44

-3,24

-3,83

-4,18

-4,35

-4,35

-4,18

-3,92

-3,57

-3,17

-2,75

-2,33

-1,92

-1,54

-1,18

2,7

-

-

-0,39

1,78

0,70

-0,39

-0,41

-2,28

-2,99

-

-

-

-

-

-

-

-

-

-

-

-

-

2,8

-

-

-0,48

1,39

0,46

-0,48

-1,37

-2,13

-2,76

-3,21

-3,49

-3,62

-3,62

-3,48

-3,26

-2,97

-2,64

-2,28

-1,93

-1,58

-1,26

-0,95

2,9

-

-

-0,56

1,05

0,25

-0,56

-1,33

-1,99

-2,54

-

-

-

-

-

-

-

-

-

-

-

-

-

3,0

-

-

-0,62

0,75

0,07

-0,62

-1,28

-1,86

-2,34

-2,69

-2,90

-2,99

-2,98

-2,87

2,68

-2,45

-2,17

-1,87

-1,57

-1,28

-1,01

-0,75

3,2

-

-

-0,71

0,30

-0,21

-0,71

-1,21

-1,63

-1,99

-2,25

-2,40

-2,44

-2,44

-2,34

-2,18

-1,99

-1,75

-1,51

-1,25

-1,01

-0,78

-0,57

3,4

-

-

-0,75

-0,02

-0,39

-0,75

-1,12

-1,43

-1,68

-1,87

-1,98

-2,01

-1,98

-1,89

-1,76

-1,59

-1,40

-1,19

-0,98

-0,78

-0,59

-0,41

3,6

-

-

-0,76

-0,24

-0,49

-0,76

-1,02

-1,24

-1,42

-1,55

-1,62

-1,64

-1,60

-1,52

-1,40

-1,25

-1,09

-0,92

-0,75

-0,58

-0,43

-0,28

3,8

-

-

-0,74

-0,37

-0,55

-0,74

-0,92

-1,08

-1,19

-1,28

-1,32

-1,33

-1,28

-1,21

-1,10

-0,98

-0,84

-0,90

-0,56

-0,42

-0,29

-0,17

4,0

-

-

-0,70

-0,43

-0,57

-0,70

-0,82

-0,93

-1,00

-1,05

-1,07

-1,06

-1,01

-0,94

-0,85

-0,75

-0,63

-0,52

-0,40

-0,29

-0,18

-0,09

4,2

-

-

-0,64

-0,45

-0,56

-0,64

-0,72

-0,79

-0,83

-

-

-

-

-

-

-

-

-

-

-

-

-

4,4

-

-

-0,57

-0,45

-0,52

-0,57

-0,62

-0,66

-0,68

-

-

-

-

-

-

-

-

-

-

-

-

-

4,5

-

-

-

-

-

-

-

-

-

-0,61

-0,60

-0,57

-0,53

-0,47

-0,40

-0,33

-0,27

-0,20

-0,13

-0,06

0

0,05

4,6

-

-

-0,50

-0,43

-0,47

-0,50

-0,53

-0,54

-0,55

-

-

-

-

-

-

-

-

-

-

-

-

-

4,8

-

-

-0,43

-0,39

-0,40

-0,43

-0,44

-0,43

-0,43

-

-

-

-

-

-

-

-

-

-

-

-

-

5,0

-

-

-0,35

-0,33

-0,34

-0,35

-0,35

-0,34

-0,33

-0,32

-0,30

-0,27

-0,24

-0,20

-0,15

-0,11

-0,07

-

-

-

-

-

5,5

-

-

-0,20

-0,21

-0,21

-0,20

-0,19

-0,18

-0,17

-0,15

-0,13

-0,11

-0,09

-0,06

-0,03

-

-

0,03

0,01

0,05

0,07

0,08

6,0

-0,11

-0,11

-0,11

-0,12

-0,11

-0,11

-0,10

-0,08

-0,07

-0,05

-0,14

-0,03

-0,01

-0,01

0,02

0,03

0,04

0,05

0,06

0,06

0,06

0,06

Продолжение таблицы 7

Коэффициент К4

yi/l

Значение К4 при xi/l

4,6

4,8

5,0

5,2

5,4

5,6

5,8

6,0

6,5

7,0

8,0

0

-3,27

-2,48

-1,81

-1,27

-0,83

-0,48

-0,20

0

0,24

0,25

0,10

0,05

-

-

-

-

-

-

-

-

-

-

-

0,1

-

-

-

-

-

-

-

-

-

-

-

0,15

-

-

-

-

-

-

-

-

-

-

-

0,2

-3,25

-2,46

-1,80

-1,26

-0,82

-0,47

-0,20

0

0,24

0,25

0,10

0,25

-

-

-

-

-

-

-

-

-

-

-

0,3

-

-

-

-

-

-

-

-

-

-

-

0,35

-

-

-

-

-

-

-

-

-

-

-

0,4

-3,18

-2,40

-1,76

-1,22

-0,79

-0,45

-0,19

0,01

0,24

0,25

0,10

0,45

-

-

-

-

-

-

-

-

-

-

-

0,5

-

-

-

-

-

-

-

-

-

-

-

0,55

-

-

-

-

-

-

-

-

-

-

-

0,6

-3,06

-2,31

-1,69

-1,17

-0,75

-0,42

-0,17

0,02

0,24

0,25

0,10

0,65

-

-

-

-

-

-

-

-

-

-

-

0,7

-

-

-

-

-

-

-

-

-

-

-

0,75

-

-

-

-

-

-

-

-

-

-

-

0,8

-2,90

-2,19

-1,60

-1,10

-0,70

-0,38

-0,14

0,04

0,25

0,24

0,09

0,9

-

-

-

-

-

-

-

-

-

-

-

1,0

-2,71

-2,04

-1,49

-1,02

-0,64

-0,34

-0,11

0,06

0,25

0,23

0,09

1,1

-

-

-

-

-

-

-

-

-

-

-

1,2

-2,50

-1,87

-1,36

-0,92

-0,57

-

-

-

-

-

-

1,3

-

-

-

-

-

-

-

-

-

-

-

1,4

-2,27

1,69

-1,22

-0,82

-0,49

-

-

-

-

-

-

1,5

-

-

-

-

-

-0,20

-0,02

0,12

0,25

0,22

0,08

1,6

-2,03

-1,50

-1,07

-0,71

-0,41

-

-

-

-

-

-

1,7

-

-

-

-

-

-

-

-

-

-

-

1,8

-1,78

-1,31

-0,92

-0,59

-0,33

-

-

-

-

-

-

1,9

-

-

-

-

-

-

-

-

-

-

-

2,0

-1,53

-1,12

-0,77

-0,48

-0,24

-0,05

0,08

0,16

0,24

0,19

0,06

2,1

-

-

-

-

-

-

-

-

-

-

-

2,2

-1,29

-0,93

-0,63

-0,37

-0,16

-

-

-

-

-

-

2,3

-

-

-

-

-

-

-

-

-

-

-

2,4

-1,07

-0,76

-0,50

-0,27

-0,09

-

-

-

-

-

-

2,5

-

-

-

-

-

0,07

0,15

0,19

0,22

0,17

0,05

2,6

-0,87

-0,60

-0,37

-0,18

-0,02

-

-

-

-

-

-

2,7

-

-

-

-

-

-

-

-

-

-

-

2,8

-0,69

-0,46

-0,26

-0,10

0,03

-

-

-

-

-

-

2,9

-

-

-

-

-

-

-

-

-

-

-

3,0

-0,52

-0,32

-0,16

-0,03

0,07

0,14

0,19

0,20

0,19

0,14

-

3,2

-0,38

-0,21

-0,08

0,03

0,11

-

-

-

-

-

-

3,4

-0,25

-0,12

-0,02

0,07

0,13

-

-

-

-

-

-

3,6

-0,15

-0,05

0,04

0,10

0,15

-

-

-

-

-

-

3,8

-0,07

0,01

0,08

0,12

0,16

-

-

-

-

-

-

4,0

-0,01

0,05

0,10

0,13

0,16

0,16

0,15

0,15

0,11

0,07

-

4,2

-

-

-

-

-

-

-

-

-

-

-

4,4

-

-

-

-

-

-

-

-

-

-

-

4,5

0,08

0,12

0,13

0,14

0,14

-

-

-

-

-

-

4,6

-

-

-

-

-

-

-

-

-

-

-

4,8

-

-

-

-

-

-

-

-

-

-

-

5,0

-

-

-

-

-

-

-

-

-

-

-

5,5

0,09

0,10

0,11

0,11

0,11

0,09

0,08

0,07

0,05

-

-

6,0

0,06

0,06

0,05

0,04

0,04

0,03

0,02

0,02

-

-

-


Таблица 8

Количество и расположение расчётных центров

Характеристика нагрузок

№ рисунков

Расчётные центры

количество

расположение - в центре тяжести следа

Нечётное количество одинаковых нагрузок, расположенных в одном ряду

1

Средней нагрузки

То же, четное количество нагрузок

1

Одной из двух средних нагрузок

Различные по площади следы опирания

2

Каждой отдельной нагрузки

Нагрузки с удлинёнными следами, расположенными в зоне загружения шириной b ≤ 4,4l, длиной а > b

2а, 2в

1

Нагрузки, ближайшей к центру тяжести зоны загружения

Нагрузки с удлинёнными следами, расположенными параллельно оси ОУ в зоне загружения шириной b > 4,41, длиной а > b

2а, 2в

2 - 3

Каждой отдельной нагрузки, кроме крайних

То же, перпендикулярно оси ОУ

1

Средней нагрузки на расстоянии L от края её следа (см. табл. 9)

Таблица 9

Значение L в зависимости от b (по рис. 2г)

В, см

4,4l

4,5l

4,6l

4,8l

5l

5,5l

6l

6,5l

7l и более

L, см

2,2l

1,84l

1,67l

1,52l

1,40l

1,26l

1,18l

1,13l

1,10l

20. С расчётным центром совмещают центр тяжести элементарной площадки, по форме и размерам соответствующей нагрузке простого вида со следами круглой (рис. 1в") или квадратной (рис. 1а, 1б, 1в") формы, а также прямоугольной формы (рис. 1в', 2а, 2б), если ось ОУ располагается параллельно длинной стороне прямоугольника; при расположении длинной стороны прямоугольника перпендикулярно оси ОУ длину этой стороны прямоугольника следует принимать не более 0,6l (рис. 2в, 2г) и для него определять радиус равновеликого круга r, rр (см. п. 5).

Для элементарной площадки определяют нагрузку Р0, кН, передаваемую на эту площадку.

21. Нагрузку, приходящуюся на каждую элементарную площадку, расположенную вне расчётного центра, заменяют эквивалентной сосредоточенной нагрузкой Pi, с точкой приложения в центре тяжести элементарной площадки.

Значение Pi, кН, определяют по формуле:

Pi = (fi/F)Pp,                                                                 (15)

где fi - площадь элементарной площадки в см2;

F - вся площадь следа нагрузки в см2;

Рр - расчётная нагрузка на всю площадь следа, кН.

22. Расчёт плиты бетонного подстилающего слоя на изгиб при нагрузках сложного вида производят следующим образом:

- устанавливают К0;

- принимают бетон по прочности на сжатие класса В22,5 (марки 300);

- ориентировочно задаются значением h = 10 см;

- находят значение l;

- для каждой схемы нагрузок, каждого расчётного центра и направления осей координат определяют Р0, Pi, M0, xi, yi, xi/l, yi/l, Mi, ΣMi, Mp и по формуле (7) вычисляют σр;

- если наибольшее из полученных значений σр равно или на 1 - 5 % отличается от Rδt, то ориентировочно принятое значение h = 10 см принимают за окончательное. В противном случае расчёт повторяют;

- повторный расчёт производится только по схеме загружения, при которой получен наибольший Мр; при повторном расчёте следует выполнять указания, приведённые в п. 13.

Примеры расчёта прочности пола с бетонным подстилающим слоем

Пример 1

Требуется определить толщину бетонного подстилающего слоя в проезде складского помещения. Покрытие пола бетонное, толщиной h1 = 2,5 см. Нагрузка на пол - от автомобилей МАЗ-205; грунт основания - суглинок. Грунтовые воды отсутствуют.

1. Определим расчётные параметры.

Для автомобиля МАЗ-205, имеющего две оси с нагрузкой на колесо 42 кН, расчётная нагрузка на колесо по формуле (6):

Рр = 1,2 · 42 = 50,4 кН

Площадь следа колеса у автомобиля МАЗ-205 равна 700 см2.

Согласно формуле (5) вычисляем:

r = D/2 = 30/2 = 15 см

По формуле (3) rр = 15 + 2,5 = 17,5 см.

2. Для суглинистого грунта основания при отсутствии грунтовых вод по табл. 2

К0 = 65 Н/см3

Для подстилающего слоя примем бетон по прочности при сжатии В22,5. Тогда в зоне проезда в складском помещении, где на полы не устанавливается стационарное технологическое оборудование (согласно п. 2 группа I), при нагрузке от безрельсовых транспортных средств по табл. 1 Rδt = 1,25 МПа, Еб = 28500 МПа.

3. Определим напряжение растяжения в бетоне плиты при изгибе σр. Нагрузка от автомобиля, согласно п. 4, является нагрузкой простого вида и передаётся по следу круглой формы. Поэтому расчётный изгибающий момент определим по формуле (11). Согласно п. 13 зададимся ориентировочно h = 10 см. Тогда по п. 10 принимаем l = 44,2 см. При ρ = rр/l = 17,5/44,2 = 0,395 по табл. 6 найдём К3 = 103,12. По формуле (11): Мр = К3 · Рр = 103,12 · 50,4 = 5197 Н · см/см. По формуле (7) вычисляем напряжения в плите:

Напряжение в плите толщиной h = 10 см превышает расчётное сопротивление Rδt = 1,25 МПа. В соответствии с п. 13 расчёт повторим, задавшись большим значением h = 12 см, тогда l = 50,7 см; ρ = rр/l = 17,5/50,7 = 0,345; К3 = 105,2; Мр = 105,2 · 50,4 = 5302 Н · см/см

Полученное σр = 1,29 МПа отличается от расчётного сопротивления Rδt = 1,25 МПа (см. табл. 1) менее чем на 5 %, поэтому принимаем подстилающий слой из бетона по прочности при сжатии класса В22,5 толщиной 12 см.

Пример 2

Требуется определить для механических мастерских толщину бетонного подстилающего слоя, используемого в качестве пола без устройства покрытия (h1 = 0 см). Нагрузка на пол - от станка весом Рр = 180 кН, стоящего непосредственно на подстилающем слое, равномерно распределяется по следу в виде прямоугольника размером 220×120 см. Особых требований к деформации основания не предъявляются. Грунт основания - мелкий песок, находится в зоне капиллярного поднятия грунтовых вод.

1. Определим расчётные параметры.

Расчётная длина следа согласно п. 5 и по формуле (1) ар = а = 220 см. Расчётная ширина следа по формуле (2) bp = b = 120 см. Для грунта основания из мелкого песка, находящегося в зоне капиллярного поднятия грунтовых вод, согласно табл. 2 К0 = 45 Н/см3. Для подстилающего слоя примем бетон по прочности при сжатии класса В22,5. Тогда в механических мастерских, где на полы устанавливается стационарное технологическое оборудование без особых требований к деформации основания (согласно п. 2 группа II), при неподвижной нагрузке по табл. 1 Rδt = 1,5 МПа, Еб = 28500 МПа.

2. Определим напряжение растяжения в бетоне плиты при изгибе σр. Нагрузка передаётся по следу прямоугольной формы и, согласно п. 5, является нагрузкой простого вида.

Поэтому расчётный изгибающий момент определим по формуле (9). Согласно п. 13 зададимся ориентировочно h = 10 см. Тогда по п. 10 принимаем l = 48,5 см.

С учётом α = ар/l = 220/48,5 = 4,53 и β = bр/l = 120/48,5 = 2,47 по табл. 4 найдём К1 = 20,92.

По формуле (9): Мр = K1 · Pp = 20,92 · 5180 = 3765,6 Н · см/см.

По формуле (7) вычисляем напряжение в плите:

Напряжение в плите толщиной h = 10 см значительно меньше Rδt = 1,5 МПа. В соответствии с п. 13 проведём повторный расчёт и, сохраняя h = 10 см, найдём более низкую марку бетона плиты подстилающего слоя, при которой σр Rδt. Примем бетон класса по прочности на сжатие В15, для которого Rδt = 1,2 МПа, Еб = 23000 МПа.

Тогда l = 46,2 см; α = ар/l = 220/46,2 = 4,76 и β = bр/l = 120/46,2 = 2,60; по табл. 4 К1 = 18,63; Мр = 18,63 · 180 = 3353,4 Н · см/см.

Полученное напряжение растяжения в плите из бетона класса по прочности при сжатии В15 меньше Rδt = 1,2 МПа. Примем подстилающий слой из бетона класса по прочности при сжатии В15 толщиной h = 10 см.

Пример 3

Требуется определить толщину бетонного подстилающего слоя пола в машиностроительном цехе при нагрузках от станков автоматизированной линии и автомобилей ЗИЛ-164. Схема расположения нагрузок приведена на рис. 2вI, 2вII, 2вIII. Центр следа колеса автомобиля находится на расстоянии 50 см от края следа станка. Вес станка в рабочем состоянии Рр = 150 кН распределяется равномерно по площади следа прямоугольной формы длиной 260 см и шириной 140 см.

Покрытием пола является упрочнённая смесью поверхность подстилающего слоя. Грунт основания - супесь. Основание находится в зоне капиллярного поднятия грунтовых вод

Определим расчётные параметры.

Для автомобиля ЗИЛ-164, имеющего две оси с нагрузкой на колесо 30,8 кН, расчётная нагрузка на колесо по формуле (6):

Рр = 1,2 · 30,8 = 36,96 кН

Площадь следа колеса у автомобиля ЗИЛ-164 равна 720 см2.

Согласно п. 5

rp = r = D/2 = 30/2 = 15 см.

Для супесчаного грунта основания, находящегося в зоне капиллярного поднятия грунтовых вод, по табл. 2 К0 = 30 Н/см3. Для подстилающего слоя примем бетон класса по прочности при сжатии В22,5. Тогда для машиностроительного цеха, где на полы установлена автоматизированная линия (согласно п. 2 группа IV), при одновременном действии неподвижных и динамических нагрузок по табл. 1 Rδt = 0,675 МПа, Еб = 28500 МПа.

Зададимся ориентировочно h = 10 см, тогда по п. 10 принимаем l = 53,6 см. В этом случае расстояние от центра тяжести следа колеса автомобиля до края следа станка равное 50 см < 6l = 321,6 см, т.е. согласно п. 4 действующие на пол нагрузки относятся к нагрузкам сложного вида.

В соответствии с п. 17 установим положение расчётных центров в центрах тяжести следа станка (O1) и колеса автомобиля (О2). Из схемы расположения нагрузок (рис. 1вI) следует, что для расчётного центра O1 неясно, какое следует установить направление оси ОУ. Поэтому изгибающий момент определим как при направлении оси ОУ, параллельном длинной стороне следа станка (рис. 1вI), так и перпендикулярном этой стороне (рис. 1вII). Для расчётного центра О2 примем направление ОУ через центры тяжести следов станка и колеса автомобиля (рис. 1вIII).

Расчёт 1 Определим напряжение растяжения в бетоне плиты при изгибе σр для расчётного центра О1 при направлении ОУ параллельно длинной стороне следа станка (рис. 1вI). При этом нагрузка от станка при следе прямоугольной формы относится к нагрузке простого вида. Для следа станка по п. 5 при отсутствии покрытия пола (h1 = 0 см) ар = а = 260 см; bр = b = 140 см.

С учётом значений α = ар/l = 260/53,6 = 4,85 и β = bр/l = 140/53,6 = 2,61 по табл. 4 найдём К1 = 18,37.

Для станка Р0 = Рр = 150 кН в соответствии с п. 14 определяем по формуле (9): Мр = K1 · Pp = 18,37 · 150 = 27555,5 Н · см/см.

Координаты центра тяжести следа колеса автомобиля: xi = 120 см и yi = 0 см.

С учётом отношений xi/l = 120/53,6 = 2,24 и yi/l = 0/53,6 = 0 по табл. 7 найдём К4 = -20,51.

Изгибающий момент в расчётном центре O1 от колеса автомобиля по формуле (14): Мi = -20,51 · 36,96 = -758,05 Н · см/см.

Расчётный изгибающий момент от колеса автомобиля и станка по формуле (13):

МрI = M0 + ΣMi = 2755,5 - 758,05 = 1997,45 Н · см/см

Напряжение растяжения в плите при изгибе по формуле (7):

Расчёт 2 Определим напряжение растяжения в бетоне плиты при изгибе σpII для расчётного центра O1 при направлении ОУ перпендикулярно длинной стороне следа станка (рис. 1вII). Разделим площадь следа станка на элементарные площадки согласно п. 18. Совместим с расчётным центром O1 центр тяжести элементарной площадки квадратной формы с длиной стороны ар = bр = 140 см.

Определим нагрузки Рi, приходящиеся на каждую элементарную площадку по формуле (15), для чего сначала определим площадь следа станка F = 260 · 140 = 36400 см2;

 Р1 = 36,96 кН;

Для определения изгибающего момента М0 от нагрузки Р0 вычислим для элементарной площадки квадратной формы с центром тяжести в расчётном центре O1 значения α = β = ар/l = bр/l = 140/53,6 = 2,61 и с их учётом по табл. 4 найдём К1 = 36,0; исходя из указаний п. 14 и формуле (9) вычисляем:

M0 = K1 · Р0 = 36,0 · 80,8 = 2908,8 Н · см/см.

Определим суммарный изгибающий момент ΣМi от нагрузок, расположенных вне расчётного центра О1. Расчётные данные приведены в табл. 10.

Таблица 10

Расчётные данные при расчётном центре O1 и направлении оси ОУ, перпендикулярном длинной стороне следа станка

I

xi

yi

хi/l

yi/l

К4 по табл. 7

Рi

кН

ni

кол-во нагрузок

Mi = ni · К4 · Pi

1

0

120

0

2,24

9,33

36,96

1

363,3

2

120

35

1,86

0,65

-17,22

17,31

4

-1192,3

ΣMi = -829,0 Н · см/см.

Расчётный изгибающий момент от колеса автомобиля и станка по формуле (13):

МрII = М0 + ΣMi = 2908,8 - 829,0 = 2079,8 Н · см/см

Напряжение растяжения в плите при изгибе по формуле (7):

Расчёт 3 Определим напряжение растяжения в бетоне плиты при изгибе σрIII для расчётного центра О2 (рис. 1вIII). Разделим площадь следа станка на элементарные площадки согласно п. 18. Определим нагрузки Pi, приходящиеся на каждую элементарную площадку, по формуле (15).

 

 

 

Определим изгибающий момент от нагрузки, создающейся давлением колеса автомобиля, для чего найдём ρ = rр/l = 15/53,6 = 0,28; по табл. 6 найдём К3 = 112,1. По формуле (11): М0 = К3 · Рр = 112,1 · 36,96 = 4143,22 Н · см/см.

Определим суммарный изгибающий момент ΣМi от нагрузок, расположенных вне расчётного центра О2. Расчётные данные приведены в табл. 11.

Таблица 11

Расчетные данные при расчетном центре O2

I

xi

yi

хi/l

yi/l

К4 по табл. 7

Рi

кН

ni

кол-во нагрузок

Mi = ni · К4 · Pi

1

2

3

4

5

6

7

8

9

1

0

65

0

1,21

40,97

4,9

1

200,75

2

0

100

0

1,87

16,36

6,6

1

107,98

3

0

155

0

2,89

2,89

11,5

1

33,24

4

40

65

0,75

1,21

19,1

4,9

2

187,18

5

40

100

0,75

1,87

8,44

6,6

2

111,41

6

40

155

0,75

2,89

1,25

11,5

2

28,75

7

95

65

1,77

1,21

-10,78

8,7

2

-187,57

8

95

100

1,77

1,87

-5,89

11,5

2

-135,47

9

95

155

1,77

2,89

-2,39

20,2

2

-96,56

ΣМi = 249,7 Н · см/см.

Расчётный изгибающий момент от колеса автомобиля и станка по формуле (13):

МрIII = М0 + ΣМi = 4143,22 + 249,7 = 4392,92 Н · см/см

Напряжение растяжения в плите при изгибе по формуле (7):

более Rδt = 0,675 МПа, вследствие чего повторим расчёт, задавшись большим значением h. Расчёт проведём только по схеме загружения с расчётным центром О2, для которой значение σрIII в первом расчёте получилось наибольшим.

Для повторного расчёта ориентировочно зададимся h = 19 см, тогда по п. 10 принимаем l = 86,8 см; ρ = rр/l = 15/86,8 = 0,1728; К3 = 124,7; М0 = К3 · Рp = 124,7 · 36,96 = 4608,9 Н · см/см.

Определим суммарный изгибающий момент от нагрузок, расположенных вне расчётного центра О2. Расчётные данные приведены в табл. 12.

Таблица 12

Расчётные данные при повторном расчёте

I

xi

yi

хi/l

yi/l

К4 по табл. 7

Рi

кН

ni

кол-во нагрузок

Mi = ni · К4 · Pi

1

0

65

0

0,75

76,17

4,9

1

373,23

2

0

100

0

1,15

44,45

6,6

1

293,37

3

0

155

0

1,79

18,33

11,5

1

210,79

4

40

65

0,46

0,75

48,36

4,9

2

473,93

5

40

100

0,46

1,15

32,39

6,6

2

427,55

6

40

155

0,46

1,79

14,49

11,5

2

333,27

7

95

65

1,09

0,75

1,84

8,7

2

32,02

8

95

100

1,09

1,15

3,92

11,5

2

90,16

9

95

155

1,09

1,79

2,81

20,2

2

113,52

ΣМi = 2347,84 Н · см/см.

Мр = М0 + ΣМi = 4608,9 + 2347,84 = 6956, 82 Н · см/см

Напряжение растяжения в плите при изгибе по формуле (7):

Полученное значение σр = 0,67 МПа отличается от Rδt = 0,675 МПа менее чем на 5 %. Принимаем подстилающий слой из бетона класса по прочности на сжатие В22,5 толщиной h = 19 см.

Пример 4

Требуется определить толщину бетонного подстилающего слоя пола при нагрузке от валов, укладываемых на пол краном. Длина вала 7 м, диаметр 40 см, вес 1 м вала 9,8 кН (0,98 т). Валы могут располагаться по отдельности или в штабелях в два ряда по высоте. Покрытие пола отсутствует, бетонный подстилающий слой является покрытием.

Грунт основания - суглинок. Уровень грунтовых вод на отметке «-1,5 м», следовательно, пол находится в зоне опасного капиллярного поднятия грунтовых вод и в связи с этим требуется устройство наливной гидроизоляции из слоя щебня с пропиткой битума.

Определим расчётные параметры.

Нагрузка от одного вала со следом прямоугольной формы, согласно п. 4, относится к нагрузкам простого вида, а от нескольких рядом лежащих валов - к нагрузкам сложного вида.

Для грунта основания из суглинка, расположенного в зоне опасного капиллярного поднятия вод, находим по табл. 2 К0 = 45 Н/см3.

Для подстилающего слоя примем бетон класса по прочности при сжатии В22,5. Тогда для помещения, где выполняются полы с устройством гидроизоляции (согласно п. 2 группа V) и укладка валов осуществляется кранами, примем по табл. 1 Rδt = 0,675 МПа, Еб = 28500 МПа. Согласно п. 15 рассмотрим расчётные схемы нагрузок (рис. 3). Расчётные центры О, согласно табл. 8, поместим в центре тяжести следов валов, а ось ОУ расположим параллельно следам валов.

Рис. 3 Схема расположения в плане нагрузок от валов, расчётных центров О, осей координат и разделения следов нагрузок на элементарные площадки P1 = 14,7 кН/м вала; Р2 = 19,6 кН/м вала;

а, б, в, г - разновидности нагрузок и количество следов опирания

Зададимся ориентировочно согласно п. 22 h = 10 см. Тогда по п. 10 принимаем l = 48,5 см. Длина следа вала а > 12,2l = 592 см. Согласно п. 4 ар = 12,2l = 592 см. Расчётная ширина следа вала по п. 5 bр = b = 0,1l = 4,9 см.

Расчёт 1 Определим напряжение растяжения в бетоне плиты при изгибе σрI для нагрузки от одного вала расчётной длиной ар = 12,2l = 592 см. Расчётная нагрузка Рр = 5,92 · 9,8 = 58 кН.

При значениях α = ар/l = 12,2 и β = bр/l = 0,1 по табл. 4 найдём K1 = 18,18.

По формуле (9): МрI = К1 · Рp = 18,18 · 58 = 1054,4 Н · см/см.

По формуле (7):

Расчёт 2 Определим напряжение растяжения в бетоне плиты при изгибе σрII для нагрузки, приведённой на рис. 3а.

Изгибающий момент от нагрузки по следу, для которого x = 0, определим как от нагрузки простого вида со следом прямоугольной формы. Расчётная нагрузка Р0 = 5,92(9,8 + 9,8/2) = 5,92 · 14,7 = 87 кН.

По величинам α = ар/l = 12,2 и β = bр/l = 0,1 по табл. 4 найдём K1 = 18,18.

По формуле (9): М0 = K1 · P0 = 18,18 · 87 = 1635,6 Н · см/см.

Для определения изгибающего момента в расчётном центре О от нагрузок по следу, для которого x = 40 см, разделим этот след на элементарные площадки согласно п. 18. Нагрузки, приходящиеся на каждую элементарную площадку, определяем по формуле (15):

Определим суммарный изгибающий момент ΣMi от нагрузок, расположенных вне расчётного центра О1. Расчётные данные приведены в табл. 13.

Таблица 13

Расчётные данные при нагрузке с двумя следами опирания

I

xi

yi

хi/l

yi/l

К4 по табл. 7

Рi

кН

ni

кол-во нагрузок

Mi = ni · К4 · Pi

1

40

12,25

0,82

0,25

13,07

3,6

2

94,1

2

40

36,75

0,82

0,76

17,69

3,6

2

127,4

3

40

61,25

0,82

1,26

14,00

3,6

2

100,8

4

40

85,75

0,82

1,77

8,21

3,6

2

59,1

5

40

122,5

0,82

2,53

2,44

7,2

2

35,1

6

40

171,5

0,82

3,54

-0,20

7,2

2

-2,9

7

40

220,5

0,82

4,55

-0,44

7,2

2

-6,3

8

40

269,5

0,82

5,57

-0,20

7,2

2

-2,9

9

40

295,0

0,82

6,08

-0,12

0,29

2

0

ΣМi = 404,4 Н · см/см.

Расчётный изгибающий момент от колеса автомобиля и станка по формуле (13):

МрII = М0 + ΣMi = 1635,6 + 404,4 = 2040 Н · см/см

Напряжение растяжения в плите при изгибе по формуле (7):

Расчёт 3 Определим напряжение растяжения в бетоне плиты при изгибе σрIII для нагрузки, приведённой на рис. 3б.

Изгибающий момент от нагрузки по следу, для которого x = 0, так же, как и в предыдущем расчёте, определим как от нагрузки простого вида со следом прямоугольной формы. Тогда расчётная нагрузка Р0 = 5,92(9,8 + 9,8) = 5,92 · 19,6 = 116 кН; К1 = 18,18; М0 = К1 · Р0 = 18,18 · 116 = 2108,9 Н · см/см.

Определим суммарный изгибающий момент ΣMi от нагрузок, расположенных вне расчётного центра О2. Расчётные данные приведены в табл. 14.

Таблица 14

Расчётные данные при нагрузке с двумя следами опирания

I

xi

yi

хi/l

yi/l

К4 по табл. 7

Рi

кН

ni

кол-во нагрузок

Mi = ni · К4 · Pi

1

40

12,25

0,82

0,25

13,07

3,6

4

188,2

2

40

36,75

0,82

0,76

17,69

3,6

4

254,8

3

40

61,25

0,82

1,26

14,00

3,6

4

201,6

4

40

85,75

0,82

1,77

8,21

3,6

4

118,2

5

40

122,5

0,82

2,53

2,44

7,2

4

70,2

6

40

171,5

0,82

3,54

-0,20

7,2

4

-5,8

7

40

220,5

0,82

4,55

-0,44

7,2

4

-12,6

8

40

269,5

0,82

5,57

-0,20

7,2

4

-5,8

9

40

295,0

0,82

6,08

-0,12

0,29

4

0,1

ΣMi = 808,7 Н · см/см.

Расчётный изгибающий момент от колеса автомобиля и станка по формуле (13):

МрIII = М0 + ΣМi = 2108,9 + 808,7 = 2917,6 Н · см/см

Напряжение растяжения в плите при изгибе по формуле (7):

Расчёт 4 Аналогично определим напряжение растяжения в бетоне плиты при изгибе σpIV для нагрузки согласно рис. 3в. Расчётная нагрузка Р0 = 116 кН; K1 = 18,18; М0 = 2108,9 Н · см/см. Расчётные данные приведены в табл. 15.

Таблица 15

Расчётные данные при нагрузке с четырьмя следами опирания

I

xi

yi

хi/l

yi/l

К4 по табл. 7

Рi

кН

ni

кол-во нагрузок

Mi = ni · К4 · Pi

1

2

3

4

5

6

7

8

9

1

40

12,25

0,82

0,25

13,07

3,6

2

94,1

2

40

36,75

0,82

0,76

17,69

3,6

2

127,4

3

40

61,25

0,82

1,26

14,00

3,6

2

100,8

4

40

85,75

0,82

1,77

8,21

3,6

2

59,1

5

40

122,5

0,82

2,53

2,44

7,2

2

35,1

6

40

171,5

0,82

3,54

-0,20

7,2

2

-2,9

7

40

220,5

0,82

4,55

-0,44

7,2

2

-6,3

8

40

269,5

0,82

5,57

-0,20

7,2

2

-2,9

9

40

295,0

0,82

6,08

-0,12

0,29

2

0

10

40

12,25

0,82

0,25

13,07

4,8

2

125,5

11

40

36,75

0,82

0,76

17,69

4,8

2

169,8

12

40

61,25

0,82

1,26

14,00

4,8

2

134,4

13

40

85,75

0,82

1,77

8,21

4,8

2

78,8

14

40

122,5

0,82

2,53

2,44

9,6

2

46,8

15

40

171,5

0,82

3,54

-0,20

9,6

2

-3,8

16

40

220,5

0,82

4,55

-0,44

9,6

2

-8,4

17

40

269,5

0,82

5,57

-0,20

9,6

2

-3,8

18

40

295,0

0,82

6,08

-0,12

0,4

2

-0,1

19

80

12,25

1,65

0,25

-18,86

3,6

2

-135,8

20

80

36,75

1,65

0,76

-14,07

3,6

2

-101,3

21

80

61,25

1,65

1,26

-8,88

3,6

2

-63,9

22

80

85,75

1,65

1,77

-5,36

3,6

2

-38,6

23

80

122,5

1,65

2,53

-2,78

7,2

2

-40,0

24

80

171,5

1,65

3,54

-1,35

7,2

2

-19,4

25

80

220,5

1,65

4,55

-0,57

7,2

2

-8,2

26

80

269,5

1,65

5,57

-0,08

7,2

2

-1,2

27

80

295,0

1,65

6,08

-0,07

0,29

2

0

ΣMi = 534,8 Н · см/см

MPIV = M0 + ΣMi = 2108,9 + 534,8 = 2643,7 Н · см/см

Таким образом, наибольшее напряжение растяжения в бетоне плиты при изгибе σрIII = 1,02 МПа получилось для нагрузке согласно рис. 3б. Полученное значение σрIII = 1,02 МПа более Rδt = 0,675 МПа, вследствие чего согласно п. 22 повторим расчёт, задавшись большим значением h.

Расчёт 5 Для повторного расчёта ориентировочно зададимся h = 18 см. Определим напряжение растяжения в бетоне плиты при изгибе σpV для нагрузки согласно рис. 3г, на котором показано, как следует из предыдущего расчёта, наиневыгоднейшее расположение валов.

По п. 10 l = 75,3 см.

Длина следа вала 700 см = 9,3l < 12,2l. Поэтому согласно п. 4 примем расчётную длину следа вала ар = 9,3l = 700 см. Расчётная ширина следа вала по п. 5 bp = b = 0,1l = 7 см. Расчётная нагрузка от вала длиной 700 см Рр = 7 · 19,6 = 136,2 кН.

При значениях α = ар/l = 9,3 и β = bр/l = 0,1 по табл. 4 найдём K1 = 23,95.

По формуле (9) определим: М0 = К1 · Р0 = 23,95 · 136,2 = 3261,99 Н · см/см.

Нагрузки, приходящиеся на каждую элементарную площадку, определяем по формуле (15):

 

Определим суммарный изгибающий момент ΣMi от нагрузок, расположенных вне расчётного центра О. Расчётные данные приведены в табл. 16.

Таблица 16

Расчётные данные при повторном расчёте

I

xi

yi

хi/l

yi/l

К4 по табл. 7

Рi

кН

ni

кол-во нагрузок

Mi = ni · К4 · Pi

1

40

10

0,53

0,13

45,41

2,94

4

534,03

2

40

30

0,53

0,40

47,96

2,94

4

564,01

3

40

50

0,53

0,66

43,47

2,94

4

511,21

4

40

70

0,53

0,93

36,08

2,94

4

424,30

5

40

100

0,53

1,33

24,20

5,88

4

569,18

6

40

140

0,53

1,86

12,16

5,88

4

286,00

7

40

220

0,53

2,66

3,28

11,76

4

154,29

8

40

295

0,53

5,92

-0,23

16,20

4

-14,90

ΣMi = 3028,12 Н · см/см.

Расчётный изгибающий момент по формуле (13):

MpV = M0 + ΣMi = 3261,99 + 3028,12 = 6299 Н · см/см

Напряжение растяжения в плите при изгибе по формуле (7):

что меньше Rδt = 0,675 МПа менее чем на 5 %.

Принимаем подстилающий слой из бетона класса по прочности при сжатии В22,5 толщиной 18 см.

Приложение 4

Определение показателя теплоусвоения пола

В соответствии со СП 23-101-2000 «Проектирование тепловой защиты зданий» показатель теплоусвоения поверхности пола Уп, Вт/(м2 · °С), определяют в следующей последовательности:

- если покрытие пола имеет тепловую инерцию Dl = Rl · Sl ≥ 0,5, то показатель теплоусвоения поверхности пола вычисляют по формуле:

Уп = 2Sl, где

Sl - расчётные коэффициент теплоусвоения материала 1-го слоя, Вт/(м2 · °С);

Rl - термическое сопротивление 1-го слоя, (м2 · °С)/Вт, определяемое по формуле:

Rl = δl/λl, где

δl - толщина первого слоя;

λl - теплопроводность материала первого слоя.

- если первые «n» слоев конструкции пола (n > 1) имеют суммарную тепловую инерцию D1 + D2 +... + Dn < 0,5, но тепловая инерция (n + 1)-го слоев D1 + D2 +... + Dn+1 ≥ 0,5, то показатель теплоусвоения поверхности пола Уп определяется последовательно расчётом показателей теплоусвоения поверхностей слоев конструкции, начиная с «n»-го до l-го.

Для «n»-го слоя по формуле:

Для «i»-го слоя (i = n - 1; n - 2;..., l) по формуле:

Показатель теплоусвоения поверхности пола принимается равным показателю теплоусвоения поверхности 1-го слоя У1

Ri, Rn - термические сопротивления, (м2 · °С)/Вт, «i»-го и «n»-го слоев конструкции пола, определяемые по формуле:

R = δ/λ, где

δ - толщина слоя;

λ - коэффициент теплопроводность материала слоя, принимаемая по приложению 3* СНиП II-3-73* издания 2002 г. или по ГОСТу или ТУ на используемые материалы.

Si, Sn, Sn+1 - расчётные коэффициенты теплоусвоения материалов отдельных слоев, принимаемые по приложению 3* СНиП II-3-73* издания 2002 г., при этом для зданий жилых, больничных учреждений (больниц, клиник, стационаров и госпиталей), диспансеров, амбулаторно-поликлинических учреждений, родильных домов, домов ребёнка, домов-интернатов для престарелых и инвалидов, общеобразовательных детских школ, детских садов, яслей, яслей-садов (комбинатов), детских домов и детских приёмников-распределителей, общеобразовательных зданий, вспомогательных зданий и помещений промышленных предприятий, участков с постоянными рабочими местами в отапливаемых помещениях производственных зданий, в которых выполняются легкие физические работы - во всех случаях при условии эксплуатации А или по нормативной документации на используемые материалы.

Пример 1: Пол жилого дома с покрытием из поливинилхлоридного линолеума на тепло-звукоизолирующей подоснове, наклеенного холодной битумной мастикой на железобетонную плиту перекрытия.

Номер слоя

Материал

Толщина слоя δ, м

Плотность материала в сухом состоянии γ0, кг/м3

Коэффициенты при условии эксплуатации А

Термическое сопротивление R, (м2 · °С)/Вт

Теплопроводности λ, Вт/(м · °С)

Теплоусвоения S, Вт/(м2 · °C)

1.

Лицевой слой линолеума

0,0015

1600

0,33

7,52

0,0045

2.

Подоснова

0,002

150

0,047

0,92

0,043

3.

Холодная битумная мастика

0,001

1000

0,18

4,56

0,0056

4.

Плита перекрытия

0,14

2400

1,74

16,77

0,08

1. Тепловая инерция слоев

D1 = R1 · S1 = 0,0045 · 7,52 = 0,034

D2 = R2 · S2 = 0,043 · 0,92 = 0,04

D3 = R3 · S3 = 0,0056 · 4,56 = 0,026

D4 = R4 · S4 = 0,08 · 16,77 = 1,34

2. Так как D2 + D2 + D3 = 0,034 + 0,04 + 0,026 = 0,1 < 0,5, но D1 + D2 + D3 + D4 = 0,034 + 0,04 + 0,026 + 1,34 = 1,44 > 0,5

показатель теплоусвоения поверхности пола определяем последовательно с учётом четырёх слоев пола, начиная с третьего:

3. Так как Уп = 13,2 Вт/(м2 · °С) > Унп = 12 Вт/(м2 · °С) (см. требования Раздела I) пол не удовлетворяет требованиям теплоусвоения. В связи с чем вносим изменения в конструкцию пола. Предусматриваем по плите перекрытия стяжку из легкого бетона (δ = 0,02 м, γ0 = 1200 кг/м3, λ = 0,37 Вт/(м · °С), S = 5,83 Вт/(м2 · °С), R = 0,054 (м2 · °С)/Вт, D = R · S = 0,054 · 5,83 = 0,315).

4. Так как D1 + D2 + D3 + D4 = 0,034 + 0,04 + 0,026 + 0,315 = 0,415 < 0,5, но

D1 + D2 + D3 + D4 + D5 = 0,034 + 0,04 + 0,026 + 0,315 + 1,34 = 1,76 > 0,5

показатель теплоусвоения поверхности пола определяем последовательно с учётом пяти слоев пола, начиная с четвёртого:

5. Так как Уп = 9,4 Вт/(м2 · °С) < Унп = 12 Вт/(м2 · °С) пол удовлетворяет требованиям теплоусвоения.

Пример 2: Пол животноводческого здания в местах отдыха животных - коров молочного направления, состоящий из резиновых плит, наклеенных резинобитумной мастикой по слою гидрофобизированного керамзитобетона, уложенного по грунту. Теплотехнические характеристики отдельных слоев конструкции пола приведены в таблице.

Номер слоя

Материал

Толщина слоя δ, м

Плотность материала в сухом состоянии γ0, кг/м3

Влажность материала по массе ωi, %

Коэффициенты при условии эксплуатации А

Термическое сопротивление R, (м2 · °С)/Вт

Теплопроводности λ, Вт/(м · °С)

Теплоусвоения S, Вт/(м2 · °С)

1.

Резиновая плита

0,016

1200

0

0,35

6,4

0,043

2.

Резинобитумная мастика

0,003

1400

0

0,27

6,8

0,011

3.

Гидрофобизированный керамзитобетон

0,08

1000

5

0,33

5,03

0,242

1. Тепловая инерция слоев

D1 = R1 · S1 = 0,043 · 6,4 = 0,274

D1-2 = D1 + D2 = 0,274 + 0,011 · 6,8 = 0,35

D1-3 = D1-2 + D3 = 0,35 + 0,242 · 5,03 = 1,569

2. Так как D1-2 = 0,35 < 0,5, но D1-3 = 1,569 > 0,5 определяем последовательно снизу вверх показатели теплоусвоения поверхности слоев пола, начиная со второго:

3. Так как Уп = 12,21 Вт/(м2 · °С) < Унп = 12,3 Вт/(м2 · °С) данная конструкция пола удовлетворяет требованиям по теплоусвоению.

Приложение 5

Расчёт звукоизоляции

В соответствии с рекомендациями СП 23-103-2003 «Проектирование звукоизоляции ограждающих конструкций жилых и общественных зданий». Расчёт звукоизоляции перекрытий с конструкцией пола от воздушного и ударного шума рекомендуется выполнять в следующей последовательности:

А. Воздушный шум

1. Вычисляем индекс изоляции воздушного шума перекрытий по формулам:

Для железобетонных и бетонных беспустотных плит:

Jво = 23lg m - 8 дБ при m ≥ 200 кг/м2

Jво = 13lg mэ + 15 дБ при m < 200 кг/м2

Для бетонных плит с круглыми пустотами:

Jво = 23lg m + 13,3lg h/hпр - 8 дБ

где: m - поверхностная плотность перекрытия, кг/м (для ребристых плит без учёта рёбер);

h - толщина плиты;

hпр - приведённая толщина плиты (за вычетом пустот).

Расчёты дают достоверные результаты при отношении толщины плиты перекрытия к средней толщине примыкающей к ней стены в пределах 0,5 < h/hст < 1,5. При других отношениях толщин необходимо учитывать изменение звукоизоляции ΔJ за счёт увеличения или уменьшения косвенной передачи звука через примыкающие конструкции. Для крупнопанельных зданий, в которых ограждающие конструкции выполнены из бетона, железобетона, бетона на лёгких заполнителях поправка ΔJ имеет следующие значения:

при 0,3 < h/hст < 0,5                                     ΔJ = +1 дБ;

при 1,5 < h/hст < 2                                        ΔJ = -1 дБ;

при 2 < h/hст < 3                                           ΔJ = -2 дБ.

В каркасно-панельных зданиях, где элементы каркаса (колонны и ригели) выполняют роль виброзадерживающих масс в стыках панелей, вводится дополнительно поправка к результатам расчёта ΔJ = +2 дБ.

2. Вычисляем частоту резонанса по формуле:

 где

Ед - динамический модуль упругости материала звукоизоляционного слоя, принимаемый по табл. 1;

m1 - поверхностная плотность плиты перекрытия, кг/м2,

m2 - поверхностная плотность конструкции пола выше звукоизоляционного слоя (без звукоизоляционного слоя), кг/м,

hз - толщина звукоизоляционного слоя в обжатом состоянии, м, определяемая по формуле:

hз = h0(1 - εд),

h0 - толщина звукоизоляционного слоя в необжатом состоянии, м;

eд - относительное сжатие материала звукоизоляционного слоя под нагрузкой, принимаемое по таблице 1.

Таблица 1

Материал

Плотность в кг/м2

Динамический модуль упругости Ед в Па и относительном сжатии материала звукоизоляционного слоя при нагрузке на звукоизоляционный слой, Па

2000

5000

10000

Ед

εд

Ед

εд

Ед

εд

1. Плиты минераловатные на синтетическом связующем

 

 

 

 

 

 

 

полужесткие

70 - 90

3,6 · 105

0,5

4,5 · 105

0,55

5,6 · 105

0,7

95 - 100

4 · 105

0,5

5 · 105

0,55

6 · 105

0,65

жесткие

110 - 125

4,5 · 105

0,5

5,5 · 105

0,5

7 · 105

0,6

130 - 150

5 · 105

0,4

6 · 105

0,45

8 · 105

0,55

2. Маты минераловатные прошивные по ГОСТ 21880-94

75 - 125

4 · 105

0,65

5 · 105

0,7

-

-

126 - 175

5 · 105

0,5

6,5 · 105

0,55

-

-

3. Пенополиэтиленовый материал «Вилатерм»

 

2,7 · 105

0,03

3,6 · 105

0,15

4,2 · 105

0,25

4. Плиты древесноволокнистые мягкие по ГОСТ 4598-86*

250

10 · 105

0,1

11 · 105

0,1

12 · 105

0,15

5. Шлак крупностью до 15 мм

500 - 800

80 · 105

0,08

90 · 105

0,09

-

-

6. Песок прокаленный

1300 - 1500

120 · 105

0,03

130 · 105

0,04

-

-

Примечание: Для нагрузок на звукоизоляционный слой, не указанных в настоящей таблице, следует величины Ед и εд принимать по линейной интерполяции в зависимости от фактической нагрузки.

3. По таблице 2 с учётом Jво и fрп находим величину индекса изоляции перекрытия с конструкцией пола, которая должна быть больше нормируемого значения Jвн, принятого по таблице 2 Раздел I.

4. Если Jв < Jвн изменяем конструкцию перекрытия или увеличиваем толщину звукоизоляционного слоя и повторяем расчёт.

Таблица 2

Конструкция пола

fрп в Гц

Индекс изоляции воздушного шума перекрытием Jв в дБ при индексе изоляции воздушного шума плитой перекрытия Jво в дБ

43

46

49

52

55

1. Деревянные полы по лагам, уложенным на звукоизоляционный слой в виде ленточных прокладок с динамическим модулем упругости 5 · 105 - 12 · 105 Па, при расстоянии между полом и плитой перекрытия 60 - 70 мм

160

53

54

55

56

57

200

50

52

53

54

56

250

49

51

52

53

55

320

48

49

51

53

55

400

47

48

50

52

55

500

46

48

50

52

55

2. Покрытие пола на монолитной стяжке или сборных плитах с поверхностной плотностью 60-120 кг/м2 по звукоизоляционному слою с динамическим модулем упругости 3 · 105 - 10 · 105 Па толщиной 20 - 25 мм в обжатом состоянии1)

100

52

53

54

55

56

125

51

52

53

54

55

160

50

51

53

54

55

200

47

49

51

53

55

3. То же, по звукоизоляционному слою из песка или шлака с динамическим модулем упругости 8 · 106 - 13 · 106 кгс/м2, толщиной 50 - 60 мм

200

52

53

54

55

56

250

50

52

53

54

55

320

49

51

52

54

55

400

48

50

51

53

55

500

47

49

51

53

55

Примечания: 1. При увеличении толщины прокладки до 40 мм в обжатом состоянии следует к величине Jв прибавлять 1 дБ.

2. При увеличении толщины засыпки до 90 мм следует к величине Jв прибавлять 1 дБ.

5. Индекс изоляции воздушного шума Jв междуэтажным перекрытием без звукоизоляционного слоя с полом из рулонных материалов следует определять в соответствии с п. 1, принимая при этом величину m равной поверхностной плотности плиты перекрытий (без рулонного покрытия).

Если в качестве покрытия пола принят поливинилхлоридный линолеум на волокнистой теплозвукоизоляционной подоснове (ГОСТ 18108-80), то рассчитанную величину индекса изоляции воздушного шума междуэтажным перекрытием следует уменьшить на 1 дБ.

Б. Ударный шум

1. Вычисляем частоту колебаний пола, расположенного на звукоизоляционном слое:

 где

Ед, hз и m2 - то же, что и при воздушном шуме.

2. По значениям f0 и индекса приведенного уровня ударного шума плиты перекрытия Jyо, принимаемого по таблице 3, находим по таблице 4 значение приведённого уровня ударного шума под перекрытием при наличии теплозвукоизоляционного слоя под покрытием пола.

Таблица 3

Поверхностная плотность плиты перекрытия, кг/м2

Значение Jy0, дБ

150

86

200

84

250

82

300

80

350

78

450

76

Таблица 4

Конструкция пола

fрп в Гц

Индекс приведённого уровня ударного шума изоляции под перекрытием Jу в дБ при индексе изоляции воздушного шума плитой перекрытия Jvо в дБ

86

84

82

80

78

76

1

2

3

4

5

6

7

8

1. Деревянные полы по лагам, уложенным на звукоизоляционный слой в виде ленточных прокладок с динамическим модулем упругости 5 · 105 - 12 · 105 Па, при расстоянии между полом и плитой перекрытия 60 - 70 мм

160

59

58

56

55

55

54

200

61

60

58

57

55

54

250

62

61

59

58

56

55

315

64

62

60

59

57

56

2. Покрытие пола на монолитной стяжке или сборных плитах с поверхностной плотностью 60 кг/м3 по звукоизоляционному слою с динамическим модулем упругости 3 · 105 - 10 · 105 Па

60

61

58

56

54

51

49

80

62

59

57

56

53

52

100

63

60

58

57

56

55

125

66

63

61

59

58

57

160

68

65

63

61

60

58

200

70

68

66

66

62

60

3. То же, по звукоизоляционному слою из песка или шлака с динамическим модулем упругости 8 · 106 - 13 · 106 кгс/м2

160

62

60

58

57

55

54

200

65

63

61

59

58

57

250

67

65

63

61

60

59

315

71

69

67

66

64

63

4. Покрытие пола на монолитной стяжке или сборных плитах с поверхностной плотностью 120 кг/м2 по звукоизоляционному слою с динамическим модулем упругости 3 · 105 - 10 · 105 Па

60

59

56

54

52

50

48

80

61

58

56

54

52

50

100

63

60

58

57

55

53

125

65

62

60

58

56

54

160

67

64

62

60

58

56

200

68

65

64

62

60

58

5. То же, по звукоизоляционному слою из песка или шлака с динамическим модулем упругости 8 · 106 - 13 · 106 кгс/м2

160

61

58

56

55

53

52

200

63

60

68

57

55

54

250

65

63

61

59

58

57

315

69

67

65

64

62

61

Примечания: 1. При поверхностной плотности стяжки (сборных плит) между 60 кг/м2 и 120 кг/м2 индексы определяются по интерполяции, округляя до целого числа дБ.

3. Индекс приведённого уровня ударного шума Jy под перекрытием без звукоизоляционного слоя с покрытием пола из рулонных материалов следует определять по формуле:

Jy = Jy0 - ΔJy, где

Jy0 - индекс приведённого уровня ударного шума для плиты перекрытия в дБ, принимаемый по таблице 3;

ΔJy - индекс снижения приведённого уровня ударного шума, дБ, принимаемый в соответствии с паспортными данными для рулонного материала.

4. Для обеспечения требуемой звукоизоляции необходимо соблюдать условие:

Jy < Jyн

Пример 1 Определить индекс изоляции воздушного шума междуэтажным перекрытием жилого дома. Перекрытие состоит из железобетонной плиты γ = 2400 кг/м3 толщиной 14 см, звукоизоляционного слоя из минераловатной плиты плотностью 100 кг/м3 толщиной 3,0 см, сборной стяжки из гипсоволокнистых листов (ГВЛ) плотностью 1150 кг/м3 толщиной 2,0 см и линолеума плотностью 1100 кг/м3 толщиной 0,3 см.

1. Поверхностная плотность элементов перекрытия

m1 = 2400 · 0,14 = 336 кг/м2

m2 = 1100 · 0,003 + 1150 · 0,02 = 3,3 + 23 = 26 кг/м2

2. Вычисляем величину Jво для несущей плиты перекрытия при m1 = 336 кг/м2 > 200 кг/м3 по формуле:

Jво = 23lg mэ - 8 дБ = 23lg 336 - 8 дБ = 58 - 8 = 50 дБ

3. Находим по таблице 1 для минплиты γ = 100 кг/м2 и нагрузке на пол в жилом доме до 2000 Па

Ед = 4 · 105 Па и εд = 0,5

4. Вычисляем

hз = h0(1 - εд) = 0,03(1 - 0,5) = 0,015 м

5. Определяем частоту резонанса конструкции

6. По таблице 2 находим Jв = 53 дБ (по интерполяции)

7. Так как Jв = 53 дБ > Jвн = 52 дБ (Раздел I таблица 2) данная конструкция перекрытия с покрытием пола из линолеума удовлетворяет нормативным требованиям домах категории Б и В.

Пример 2 Определить индекс изоляции воздушного шума междуэтажным перекрытием жилого дома. Перекрытие состоит из железобетонной плиты γ = 2500 кг/м3 толщиной 10 см, звукоизоляционных прокладок из древесноволокнистых мягких плит толщиной 3,0 см и дощатого пола толщиной 4,0 см на лагах толщиной 5,0 см и шириной 10,0 см, уложенных с шагом 50 мм.

1. Поверхностная плотность элементов перекрытия

m1 = 2500 · 0,1 = 250 кг/м2

m2 = 600 · 0,04 (доски) + 600 · 0,05 · 0,1 · 2(лаги) = 24 + 6 = 30 кг/м2

2. Вычисляем величину Jво для несущей плиты перекрытия при m1 = 336 кг/м2 > 200 кг/м3 по формуле:

Jво = 23lg mэ - 8 дБ = 23lg 250 - 10 дБ = 47 дБ

3. Находим по таблице 1 для древесно-волокнистых прокладок γ = 250 кг/м2 и нагрузке на пол в жилом доме до 200 кг/м2

Ед = 10 · 105 Па и εд = 0,1

4. Вычисляем

hз = h0(1 - εд) = 0,03(1 - 0,1) = 0,027 м

5. Определяем частоту резонанса конструкции

6. По таблице 2 находим Jв = 52,8 дБ (по интерполяции).

7. Так как Jв = 52,8 дБ > Jвн = 52 дБ (Раздел I таблица 2) данная конструкция перекрытия с покрытием пола из линолеума удовлетворяет нормативным требованиям домах категории Б и В.

Пример 3 Определить индекс приведённого уровня ударного шума под железобетонным перекрытием жилого дома. Конструкция перекрытия аналогична приведённой в примере 1 за исключением того, что покрытие пола выполнено из паркета толщиной 1,8 см.

1. Вычисляем m1 = 2400 · 0,14 = 336 кг/м2

m2 = 700 · 0,018 + 1150 · 0,02 = 12,6 + 23,0 = 35,6 кг/м2

По табл. 3 при m1 = 336 кг/м2 находим Jуо = 79 дБ.

2. Находим по таблице 1 для минплиты γ = 100 кг/м2 и нагрузке на пол в жилом доме до 200 кг/м2

Ед = 4 · 105 Па и εд = 0,5

3. Определяем:

hз = h0(1 - εд) = 0,03(1 - 0,5) = 0,015 м

4. Определяем частоту колебаний:

5. По табл. 4 при значениях Jyo = 79 дБ и f0 @ 138 Гц находим Jy = 67,5 дБ (по интерполяции).

6. Так как Jy = 67,5 дБ > Jyн = 67 дБ (табл. 1) данная конструкция перекрытия с покрытием пола из паркета не удовлетворяет нормативным требованиям. Следует изменить конструкцию пола. Уложим плиты минераловатные в два слоя, то есть увеличим толщину звукоизоляции до 6 см.

7. Определяем:

hз = h0(1 - εд) = 0,06(1 - 0,5) = 0,03 м

8. Определяем частоту колебаний:

9. По табл. 4 при значениях Jyo = 83 дБ и f0 = 102 Гц находим Jy = 59 дБ (по интерполяции).

Так как Jy = 59 дБ < Jyн = 60 дБ (Раздел I таблица 2) данная конструкция перекрытия с покрытием пола из линолеума удовлетворяет нормативным требованиям домов категории В.

Пример 4 Определить индекс приведённого уровня ударного шума под железобетонным перекрытием жилого дома. Перекрытие состоит из железобетонной плиты γ = 2500 кг/м3 толщиной 14 см, стяжки из цементно-песчаного раствора γ = 2000 кг/м3 толщиной 2,5 см, линолеума на теплозвукоизолирующей подоснове толщиной 0,36 см.

1. Поверхностная плотность элементов перекрытия

m1 = 2500 · 0,14 + 2000 · 0,025 = 400 кг/м2

3. Индекс приведённого уровня ударного шума Jу = Jyo - ΔJy, где

Jуо - индекс приведённого уровня ударного шума для плиты перекрытия в дБ, принимаемый по таблице 3;

По табл. 3 при m1 = 400 кг/м2 находим Jуо = 77 дБ

ΔJy - величина в дБ, принимаемая по нормативной документации на используемое покрытие пола.

В соответствии с ГОСТ 18108-80 ΔJу у линолеума на теплозвукоизолирующей подоснове не менее 18 дБ

Jy = Jуо - ΔJy = 77 - 18 = 59 дБ

4. Так как Jy = 59 дБ < Jyн = 60 дБ (Раздел I таблица 2) данная конструкция перекрытия с покрытием пола из линолеума удовлетворяет нормативным требованиям домов категории В.

Приложение 6

Деформационные швы, примыкания полов, сточные лотки, каналы и трапы в полах

Рис. 1 Деформационные швы

а). в полах на грунте с покрытиями: бетонными, мозаичными, поливинилацетатцементно-бетонными, ксилолитовыми и из чугунных дырчатых плит в зонах умеренных и значительных механических воздействий на пол; б). то же, в полах на перекрытиях; в). то же, в полах на грунте и перекрытиях при наличии оклеечной гидроизоляции; г). в полах на грунте с покрытиями, указанными для а)., при слабых механических воздействиях на пол, а также в полах с покрытиями других типов; д). то же, в полах на перекрытиях; е). то же, в полах на грунте и перекрытиях при наличии оклеечной гидроизоляции;

1 - окаймление из угловой стали; 2 - анкеры из полосовой стали 4×40 мм, через 0,5 м; 3 - анкеры из полосовой стали 4×40 мм, через 0,5 м; 4 - компенсатор из оцинкованной кровельной стали; 5 - компенсатор из полиизобутилена либо нержавеющей листовой стали толщиной 0,8 - 1 мм; 6 - заполнение деформационного шва; 7 - покрытие; 8 - бетонный подстилающий слой; 9 - грунт основания; 10 - плита перекрытия; 11 - оклеечная гидроизоляция; 12 - сварной шов; 13 - кругла сталь диаметром 12 - 14 мм.


Рис. 2 Примыкание полов к стенам и трубопроводам при отсутствии воздействия на пол жидкостей (а - е) и при воздействии на пол жидкостей (ж - п)

1 - деревянный плинтус; 2 - сборная стяжка из ГВЛ; 3 - деревянная галтель; 4 - деревянные пробки через 0,5 м; 5 - плинтус из полимерных материалов; 6 - мастика; 7 - плинтус из цементно-песчаного раствора марки 150; 8 - стена, перегородка, колонна и т.п.; 9 - покрытие; 10 - подстилающий слой или плита перекрытия; 11 - покрытие из чугунных плит; 12 - крючки из круглой стали Æ 10 мм через 0,5 м; 13 - бетон в местах нагревания пола более 100 °С - жароупорный бетон; 14 - песчаная прослойка; 15 - грунт основания; 16 - тепло-звукоизоляция; 17 - прокладка из ППУ или ДВП; 18 - деревянный брусок; 19 - гидроизоляция; 20 - полоска из кровельной стали; 21 - плитка; 22 - мастика клеящая; 23 - клинкерный или кислотоупорный кирпич; 24 - хомут и зонт из нержавеющей стали; 25 - сварной шов; 26 - трубопровод; 27 - обмотка изоляционной лентой или проволокой; 28 - покрытие из резиновых плит; 29 - резиновая плита, срезанная под углом 60° с последующей обмазкой клеящим составом срезанной поверхности; 30 - прослойка; 31 - стальной патрубок; 32 - опорное кольцо; 33 - цементно-песчаный раствор; 34 - сетка металлическая; 35 - подстилающий слой; 36 - стяжное кольцо; 37 - бетонный бортик; 38 - окраска химстойкими красками.


Рис. 3 Примыкания полов к каналам и приямкам при отсутствии воздействия на пол жидкостей (а - ж) и наличии жидкостей, содержащих кислоты и щелочи (з)

а - канал или приямок, перекрытый железобетонными, стальными плитами или деревянными щитами; б - то же, перекрытый чугунными плитами; в - открытый приямок или канал; съемные плиты перекрытия каналов и приямков; г - железобетонные; д - деревянные; е - чугунные; ж - стальные сварные; з - сточный канал в полах на грунте для жидкостей, содержащих кислоты и щелочи, облицованный плитами или кирпичом.

1 - окаймление из угловой стали; 2 - анкеры из полосовой стали 20×4 мм, через 0,5 м; 3 - сварная сетка с ячейками размером 100×100 мм из круглой стали диаметром 8 - 10 мм; 4 - покрытие; 5 - подстилающий слой; 6 - стенки и днище канала или приямка из бетона или кирпича; 7 - грунт основания; 8 - сварной шов; 9 - бетон кл. В12,5; 10 - монтажные отверстия; 11 - покрытие сплошное или из штучных материалов с прослойкой; 12 - прослойка; 13 - керамические, шлакоситалловые и тому подобные плиты; 14 - оклеечная гидроизоляция 1 - 2 слойная; 15 - оклеенная гидроизоляция 2 - 4 слойная; 16 - подстилающий слой; 17 - деревянная или чугунная съемная решетка; 18 - облицовка канала керамическими, шлакоситалловыми и тому подобными плитами; 19 - то же, кислотоупорным кирпичом; 20 - стенки и днище из бетона кл. В12,5 или кирпича.

Рис. 4 Сточные лотки

а). в полах на грунте, без гидроизоляции; б). в полах на грунте и перекрытиях, с гидроизоляцией; в). из плит с бортиками из кирпича в полах на грунте, без гидроизоляции; г). то же, в полах на грунте и перекрытиях, с гидроизоляцией; д). из керамической трубы, разрезанной вдоль, в полах на грунте, без гидроизоляции; е). то же, в полах на грунте, с гидроизоляцией.

1 - покрытие сплошное или из штучных материалов с прослойкой; 2 - прослойка; 3 - оклеечная гидроизоляция 1 - 2 слойная; 4 - оклеечная гидроизоляция 2 - 4 слойная; 5 - покрытие лотка из плиток; 6 - бортовой кирпич; 7 - керамическая труба, разрезанная вдоль, 8 - подстилающий слой; 9 - плита перекрытия со стяжкой; 10 - грунт основания.

Рис. 5 Трапы и каналы в полах для стока воды и растворов нейтральной реакции (а - е) и для стока воды, содержащей кислоты и щелочи (з - л)

1 - чугунный трап; 2 - съемная чугунная решетка; 3 - съемная стальная решетка с приваренным колпаком; 4 - съемная деревянная решетка; 5 - окаймление из угловой стали; 6 - анкер; 7 - водоотводящая труба (чугунная, стальная, керамическая и др.); 8 - покрытие сплошное или из штучных материалов с прослойкой; 9 - оклеечная гидроизоляция; 10 - подстилающий слой; 11 - сварная сетка с ячейками размером 100×100 мм из круглой стали диаметром 8 - 10 мм; 12 - стяжка; 13 - плита перекрытия; 14 - стенки и днище канала из бетона В12,5 (марка 150) или кирпича; 15 - цементно-песчаный раствор состава 1:1, с железнением поверхности; 16 - грунт основания; 17 - трап из листовой нержавеющей (кислотоупорной, щелочестойкой) стали; 18 - покрытие сплошное или из штучных материалов с прослойкой; 19 - прослойка; 20 - керамические шлакоситалловые и тому подобные плиты; 21 - оклеечная гидроизоляция 1 - 2 слойная; 22 - оклеечная гидроизоляция 2 - 4 слойная; 23 - стяжка; 24 - перекрытие; 25 - керамическая труба; 26 - хомут из полосовой нержавеющей стали 30×4 мм; 27 - подвеска из полосовой нержавеющей стали 30×4 мм; 28 - подстилающий слой; 29 - грунт основания.

Рис. 6 Полы в зоне железнодорожных путей

а). колеи 1524 мм с покрытием из железобетонных плит; б). то же, с покрытием из штучных материалов; в). узкой колеи в полах на перекрытии при отсутствии оклеечной гидроизоляции; г). то же, при наличии оклеечной гидроизоляции; д). узкой колеи в полах на грунте при отсутствии оклеечной гидроизоляции; е). то же, при наличии оклеечной гидроизоляции.

1 - разборное покрытие из железобетонных плит размером 1400×700 мм; 2 - то же, из брусчатки, клинкерного кирпича, торцовой шашки; 3 - покрытие пола; 4 - железобетонные шпалы; 5 - металлические шпалы; 6 - песчаный балласт; 7 - оклеечная гидроизоляция; 8 - бетонный подстилающий слой; 9 - плита перекрытия; 10 - грунт основания; 11 - окаймление из угловой стали.

Приложение 7

ПЕРЕЧЕНЬ стандартов и ТУ на материалы, применяемые при устройстве полов

ГОСТ 125-79**

Вяжущие гипсовые. Технические условия

ГОСТ 474-90

Кирпич кислотоупорный. Технические условия

ГОСТ 530-95

Кирпич и камни керамические. Технические условия

ГОСТ 862.1-85

Изделия паркетные. Паркет штучный. Технические условия

ГОСТ 862.3-86

Изделия паркетные. Доски паркетные. Технические условия

ГОСТ 862.4-87

Изделия паркетные. Щиты паркетные. Технические условия

ГОСТ 961-89

Плитки кислотоупорные и термокислотоупорные керамические. Технические условия

ГОСТ 965-89

Портландцемента белые. Технические условия

ГОСТ 1216-87*

Порошки магнезитовые каустические. Технические условия

ГОСТ 2695-83*

Пиломатериалы лиственных пород. Технические условия

ГОСТ 2697-83

Пергамин кровельный. Технические условия

ГОСТ 3118-77

Кислота соляная. Технические условия

ГОСТ 4598-86*

Плиты древесно-волокнистые. Технические условия

ГОСТ 6787-2001

Плитки керамические для полов. Технические условия

ГОСТ 7251-77*

Линолеум поливинилхлоридный на тканой и нетканой подоснове. Технические условия

ГОСТ 7473-94

Смеси бетонные. Технические условия

ГОСТ 7484-78

Кирпич и камни керамические лицевые. Технические условия

ГОСТ 7759-73*

Магний хлористый технический (бишофит). Технические условия

ГОСТ 8242-88

Детали профильные из древесины и древесных материалов для строительства. Технические условия

ГОСТ 8267-93*

Щебень и гравий из плотных горных пород для строительных работ. Технические условия

ГОСТ 8486-86*Е

Пиломатериалы хвойных пород. Технические условия

ГОСТ 8736-93*

Песок для строительных работ. Технические условия

ГОСТ 9480-89

Плиты облицовочные пиленные из природного камня. Технические условия

ГОСТ 9569-79

Бумага парафинированная. Технические условия

ГОСТ 9573-96

Плиты из минеральной ваты на синтетическом связующем, теплоизоляционные. Технические условия

ГОСТ 9757-90

Гравий, щебень и песок искусственные пористые. Технические условия

ГОСТ 10146-74

Ткани фильтровальные из стеклянных кручёных комплексных нитей. Технические условия.

ГОСТ 10178-85*

Портландцемент и шлакопортландцемент. Технические условия

ГОСТ 10354-82*

Плёнка полиэтиленовая. Технические условия

ГОСТ 13078-81*

Стекло натриевое жидкое. Технические условия

ГОСТ 15588-86

Плиты пенополистирольные. Технические условия

ГОСТ 15825-80

Портландцемент цветной. Технические условия

ГОСТ 16475-81

Плитки поливинилхлоридные для полов. Технические условия

ГОСТ 17608-91

Плиты бетонные тротуарные. Технические условия

ГОСТ 18108-80

Линолеум поливинилхлоридный на теплозвукоизолирующей подоснове. Технические условия

ГОСТ 18992-80*

Дисперсия поливинилацетатная гомополимерная грубодисперсная. Технические условия

ГОСТ 19111-2001

Изделия погонажные профильные поливинилхлоридные для внутренней отделки. Технические условия

ГОСТ 19170-73

Ткани конструкционные из стеклянных кручёных комплексных нитей. Технические условия.

ГОСТ 19907-73

Ткани электроизоляционные из стеклянных кручёных комплексных нитей. Технические условия.

ГОСТ 20910-90

Бетоны жаростойкие. Технические условия

ГОСТ 24064-80

Мастики клеящие каучуковые. Технические условия

ГОСТ 24099-80*

Плиты декоративные на основе природного камня. Технические условия

ГОСТ 25246-82

Бетоны химически стойкие. Технические условия

ГОСТ 25485-89

Бетоны ячеистые. Технические условия

ГОСТ 25820-2000

Бетоны лёгкие. Технические условия

ГОСТ 26149-84*

Покрытие для полов рулонное на основе химических волокон. Технические условия

ГОСТ 26633-91

Бетоны тяжёлые и мелкозернистые. Технические условия

ГОСТ 27023-86*

Ковры сварные из поливинилхлоридного линолеума на тепло-звукоизолирующей подоснове. Технические условия

ГОСТ 28013-98

Растворы строительные. Общие технические условия

ГОСТ 28379-89

Шпаклёвки ЭП-0010 и ЭП-0020. Технические условия

ГОСТ 30307-95

Мастики строительные полимерные клеящие латексные. Технические условия.

ГОСТ Р 51263-99

Полистиролбетон. Технические условия

ГОСТ Р 51829-2001

Листы гипсоволокнистые. Технические условия

ОСТ 13-226-86

Шашки деревянные для торцевых полов

ОСТ 59-127-73

Спирт фуриловый

ТУ 21-24-51-73

Маты минераловатные прошивные

ТУ 21-27-105-83

Битумно-резиновые мастики Резапласт РК и РГ

ТУ 21-29-35-75

Покрытие для полов рулонное на основе синтетических волокон «Ворсолин»

ТУ 21-5744710-504-91

Материал рулонный полимерный кровельный вулканизованный «Бутилон»

ТУ 21-5744710-514-92

Материал рулонный полимерный кровельный «Элон»

ТУ 21-5744710-519-92

Материал рулонный кровельный и гидроизоляционный наплавляемый «Стекломаст»

ТУ 21-РСФСР-682-76

Плита камнелитая (диабазовая)

ТУ 38.30-42-81

Плиты резинокордо-битумные на основе отходов резинорегеративных и шиноремонтных производств

ТУ 38.103111-83

Латекс синтетический бутадиен-стирольный СКС-65 ГП

ТУ 38.105540-85

Клей резиновый 88-НП

ТУ 400-1-51-83

Гидростеклоизол гидроизоляционный

ТУ 400-1-136-78

Клеящая мастика «Перминид»

ТУ 400-1-177-79

Клей дисперсионный АДМ-К

ТУ 400-1-184-70

Ковровые синтетические материалы с печатным рисунком на нетканой основе «Ковроплен»

ТУ 400-1-367-83

Ковровые синтетические материалы на вспененной латексной подоснове

ТУ 400-1-409-5-92

Материал рулонный кровельный и гидроизоляционный наплавляемый «Филизол»

ТУ 400-1-497-77

Плитки поливинилхлоридные прессованные «Превинил»

ТУ 400-2-50-93

Клей «Бустилат»

ТУ 400-2-85-76

Битумно-скипидарная мастика «Биски»

ТУ 400-2-171-93

Плиты бетонные мозаичные для полов

ТУ 400-2-262-77

Битумно-синтетическая холодная мастика

ТУ 480-1-96-87

Мастика битумно-резиновая кровельная МБРК

ТУ 2216-012-04831040-2005

Клеи водно-дисперсионные

ТУ 2241-027-00203521-96

Дисперсия поливинилацетатная гомополимерная грубодисперсная (пластифицированная)

ТУ 2244-069-04696843-00

Энергофлекс. Изделия из пенополиэтилена. Технические условия

ТУ 2245-001-1263867-95

Лента герметизирующая самоклеющаяся «ЛИПС»

ТУ 2257-001-58948815-2003

Замазка Арзамит

ТУ 2257-001-06085062-97

Покрытие полимерное монолитное марки «ФЕАС»

ТУ 2257-003-27576372-2000

Покрытие полимерное монолитное марки «ДИАПОЛ-320»

ТУ 2257-008-43548961-2002

Эпоксидная краски марки «РИЗОПОКС-4610»

ТУ 2257-011-43548961-2002

Водно-дисперсионная эпоксидная краска марки «РИЗОПОКС-5601W»

ТУ 2257-014-43548961-2003

Эпоксидная грунтовка-пропитка марки «РИЗОПОКС-1100»

ТУ 2257-027-43548961-2003

Водно-дисперсионная эпоксидная грунтовка-пропитка марки «РИЗОПОКС-1301W»

ТУ 2257-048-43548961-2007

Герметик полиуретановый однокомпонентный «РИЗОФЛЕКС-62»

ТУ 2291-009-02989419-2006

Шнуры для заделки швов «Вилатерм»

ТУ 2312-054-43548961-2007

Однокомпонентная полиуретановая грунтовка-пропитка «РИЗОПУР-1700»

ТУ 2384-003-36537956-00

Строительная мастика «Калан»

ТУ 2543-428-05011868-98

Пластина полиизобутиленовая ПСГ

ТУ 2544-459-05011868-2000

Покрытие напольное с рельефным рисунком

ТУ 5075-001-03989419-93

Битумная мастика «Универсальная»

ТУ 5361-001-42950773-99

Деревянные регулируемые лаги

ТУ 5742-004-05800968-04

Элементы пола

ТУ 5742-007-03515377-97

Элементы пола

ТУ 5744-008-03515377-02

Смеси гипсовые строительные

ТУ 5745-001-58239148-2004

Строительные растворы ремонтные и выравнивающие торговой марки «Tromsit»

ТУ 5745-003-05800969-02

Сухие гипсовые смеси

ТУ 5745-005-15059795-2007

Топинг, сухая упрочняющая смесь «ТопХард» (TopHard)

ТУ 5745-007-58239148-03

Строительные растворы штукатурные и выравнивающие торговой марки «Ceresit»

ТУ 5745-008-58239148-03

Клеи для крепления отделочных материалов, шпаклёвочные и грунтовочные составы торговой марки «Ceresit»

ТУ 5745-010-40397319-2003

Сухие строительные смеси «Глимс»

ТУ 5745-032-43548961-2004

Смесь сухая напольная несущая затирочная марок «РИЗОТОП-10» и «РИЗОТОП-20»

ТУ 5763-003-50646256-2002

Материал рулонный звукоизоляционный прокладочный «Фибиол»

ТУ 5770-001-18060333-95

Материал рулонный кровельный наплавляемый битумно-полимерный «Люберит»

ТУ 5770-020-05108038-2005

Материал рулонный кровельный наплавляемый битумно-полимерный «Фелизол супер»

ТУ 5770-531-00284718-93

Рулонный кровельный и гидроизоляционный наплавляемый битумно-полимерный материал «Днепрофлекс»

ТУ 5770-537-00284718-93

Материалы рулонные кровельные и гидроизоляционные «Полимаст»

ТУ 5770-541-00284718-94

Рулонный битумно-полимерный наплавляемый материал «Бикроэласт»

ТУ 5771-014-54031669-2005

Покрытие напольное поливинилхлоридные гетерогенные «ACCZENT»

ТУ 5772-001-15059795-2002

Покрытие полимерное для пола «ПРАСПАН»

ТУ 5772-031-04001508-2004

Составы грунтовочные для предварительной подготовки поверхности стен, потолков и полов

ТУ 5774-001-04618851-95

Вулканизованный эластомерный рулонный материал «Изолен Атомэнергомаш»

ТУ 5774-003-00289973-95

Материалы рулонные кровельные и гидроизоляционные «Рубитекс»

ТУ 5774-005-05766480-95

Материалы рулонные кровельные и гидроизоляционные «Изоэласт К, Изоэласт Н»

ТУ 5775-002-11313564-96

Вулканизованный рулонный эластомерный материал «Поликров АР»

ТУ 5775-007-40397319-2004

Полимерные жидкости «Глимс»

ТУ 5775-009-58239148-03

Составы строительные для устройства гидроизоляции торговой марки «Ceresit»

ТУ 5775-010-42788835-01

Мастика гидроизоляционная эмульсионная битумно-полимерная «ГидроМЭБ»

ТУ 8725-011-00302480-95

Вулканизованный эластомерный рулонный материал «Кровлен»

ТУ 95-25048396-054-93

Материал рулонный кровельный на основе поливинилхлорида «Кровлелон»

ТУ РБ 14738548.002-42-94

Материалы рулонные кровельные и гидроизоляционные марки МК-ПК и МГ-ПМ

ЛИТЕРАТУРА

1. СНиП III-4-80* «Техника безопасности в строительстве»

2. СНиП 2.01.07-85* «Нагрузки и воздействия» с изм. № 2

3. СНиП 2.02.01-83* «Основание зданий и сооружений»

4. СНиП 2.03.01-84* «Бетонные и железобетонные конструкции»

5. СНиП 2.03.11-85 «Защита от коррозии. Нормы проектирования»

6. СНиП 2.03.13-88 «Полы»

7. СНиП 2.05.02-85 «Автомобильные дороги»

8. СНиП 2.05.08-85 «Аэродромы»

9. СНиП 2.06.03-85 «Мелиоративные системы и сооружения»

10. СНиП 2.08.02-89* «Общественные здания и сооружения» (Издание 2003 года)

11. СНиП 2.10.03-84 «Животноводческие здания. Нормы проектирования»

12. СНиП 3.02.01-87 «Земляные сооружения, основания и фундаменты»

13. СНиП 3.04.01-87 «Изоляционные и отделочные покрытия»

14. СНиП 3.07.03-85 «Мелиоративные системы и сооружения»

15. СНиП 21-01-97* «Пожарная безопасность зданий и сооружений»

16. СНиП 23-02-2003 «Тепловая защита зданий».

17. СНиП 23-03-2003 «Защита от шума. Нормы проектирования».

18. СНиП 31-01-2003 «Здания жилые многоквартирные»

19. СНиП 31-05-2003 «Общественные здания административного назначения»

20. НПБ 105-95 «Определение категорий помещений и зданий по взрывопожарной и пожарной безопасности»

21. СП 23-101-2000 «Проектирование тепловой защиты зданий»

22. СП 23-103-2003 «Проектирование звукоизоляции ограждающих конструкций жилых и общественных зданий»

23. СП 31-112-2004 «Физкультурно-спортивные залы. Часть 1»

24. СП 31-112-2005 «Физкультурно-спортивные залы. Часть 2»

25. «Проектирование бассейнов» Справочное пособие к СНиП

26. Справочное пособие к СНиП 2.08.02-89 «Проектирование спортивных залов, помещений для физкультурно-оздоровительных занятий и крытых катков с искусственным льдом» - М., изд. ЦНИИЭП, 1991 г. - 119 с.

27. ТСН 23-315-2000 «Допустимые уровни шума, вибрации и требования к звукоизоляции в жилых и общественных зданиях»

28. ВСН 9-94 «Инструкция по устройству полов в жилых и общественных зданиях»

29. ВСН 214-89 (Минмонтажспецстрой СССР) «Сборник инструкций по защите от коррозии»

30. РСН 41-88 (Госстрой БССР) «Устройство монолитных полов из лёгких бетонов с латексцементным покрытием в животноводческих зданиях»

31. РСН 42-88 (Госстрой БССР) «Устройство монолитных полов из лёгких бетонов с покрытием из резинокордных и резинокордо-битумных плит в животноводческих зданиях»

32. Приказ № 320 МЧС РФ от 8 июля 2002 г. «Об утверждении перечня продукции, подлежащей обязательной сертификации в области пожарной безопасности»

33. RT 361.2-35477 ru «Строительные плиты. Древесностружечные плиты» - Карта-инструкция фирмы «PUHOS BOARD OY»

34. DIN 18032-2 «Sporthallen. Hallen fur Turnen, Spielen und Mehrzwecknutzung. Teil 2: Sportboden, Anforderungten, Prufungen».

35. Энциклопедия «Стройиндустрия и промышленность строительных материалов» - М., Стройиздат, 1996 г. - 295 с.

36. «Строительные материалы, изделия и конструкции» Справочник под редакцией Наназашвили И.Х. - М., Высшая школа, 1990 г. - 495 с.

37. «Отделочные работы в строительстве» Справочник строителя под редакцией Кокина А.Д. - М., Стройиздат, 1987 г. - 656 с.

38. Защита строительных конструкций и технологического оборудования от коррозии. Справочник строителя под редакцией Орлова A.M. - М., Стройиздат, 1981 г. - 256 с.

39. Устройство полов. Справочник строителя под редакцией Анзигитова В.А. - М., Стройиздат, 1986 г. - 253 с.

40. Альбом «Конструкции полов общего назначения (без воздействия агрессивных сред)» серия 2.444-5.93, изд. ЦНИИпромзданий, 1991 г. - 30 с.

41. Альбом «Полы животноводческих зданий (технические решения)», Шифр 19-221 - М., изд. Гипрониисельхоз, 1988 г. - 19 с.

42. Альбом «Полы жилых и общественных зданий со сборными стяжками из гипсоволокнистых листов» - М., изд. ЦНИИпромзданий, 1999 г. - 53 с.

43. Альбом «Полы жилых, общественных, производственных и спортивных зданий с применением материалов немецкой фирмы «UZIN» Материалы для проектирования и рабочие чертежи узлов» шифр М 28.16/03 - М., изд. ЦНИИпромзданий, 2004 г. - 169 с.

44. Альбом «Комплектные системы КНАУФ. Полы по железобетонным перекрытиям со сборной стяжкой из гипсоволокнистых листов для жилых и общественных зданий. Материалы для проектирования и рабочие чертежи узлов» шифр М 28.06/04 - М., изд. ЦНИИпромзданий, 2004 г. - 47 с.

45. Альбом «Комплексные системы ПухосПол. Сборные полы из плит ПухосПОЛ для жилых и общественных зданий. Материалы для проектирования и рабочие чертежи узлов» шифр М 28.03/06 - М., изд. ЦНИИпромзданий, 2006 г. - 161 с.

46. Альбом «Полы спортивных сооружений с применением материалов немецкой фирмы «UZIN» Материалы для проектирования» шифр М 28.06/06 - М., изд. ЦНИИпромзданий, 2004 г. - 170 с.

47. Альбом «Полы жилых, общественных и производственных зданий с применением материалов фирмы «Хенкель Баутехник». Материалы для проектирования и рабочие чертежи узлов» шифр М 28.06/06 - М., изд. ЦНИИпромзданий, 2007 г. - 264 с.

48. Альбом «Полы с полимерным покрытием марки «ПРАСПАН». Материалы для проектирования» шифр М 28.02/07 - М., изд. ЦНИИпромзданий, 2007 г. - 125 с.

49. Альбом «Крупноразмерные комплексные плиты для полов производственных зданий промышленных предприятий» серия 1.444.9-5, М., изд. ЦНИИпромзданий, 1991 г. - 30 с.

50. Рекомендации по применению монолитных бетонных полов с упрочнённым верхним слоем / ЦНИИпромзданий - М., изд. ВНИИИСа, 1987 г. - 17 с.

51. Рекомендаций по применению монолитных бетонных покрытий полов с уплотнённой пропиткой «Ашфорд Формула» верхним слоем - М., изд. ЦНИИпромзданий, 2005 г. - 23 с.

52. Методические рекомендации по технологии устройства мозаичных полов с вибровтапливанием мраморной крошки - М., изд. ЦНИИМТП, 1986 г. - 20 с.

53. Рекомендации по расчёту бетонных подстилающих слоев полов производственных зданий с учётом экономической ответственности - М., изд. ЦНИИпромзданий, 1987 г. - 50 с.

54. Рекомендации по проектированию полов (в развитие СНиП 2.03.13-88 «Полы») МДС 31-1,98/АО ЦНИИпромзданий - М., ГУП ЦПП, 1998 г. - 68 с.

55. Рекомендации по устройству полов (в развитие СНиП 3.04.01-87 «Изоляционные и отделочные покрытия»)/АО ЦНИИпромзданий - М., ГУП ЦПП, 1998 г. - 53 с.

56. Руководство «Полы. Технические требования, предъявляемые к полам. Проектирование, устройство и правила приёмки полов» - М., ОАО «ЦНИИпромзданий», изд. ФГУП «ПНИИИС», 2004 г., 201 с.

57. Руководство по эксплуатации конструкций производственных зданий промышленных предприятий / ОАО «ЦНИИпромзданий» - М., изд. Информрекламиздат, 1995 год. - 90 с.

58. Кровли. Руководство по проектированию, устройству, правилам приёмки и методам оценки качества / ОАО ЦНИИпромзданий - М., изд. ФГУП ЦНИИИС, 2002 г. - 57 с.

59. Альбом «Устройство полов жилых и общественных зданий с помощью материалов немецкой фирмы «UZIN» по современным технологиям» - Днепропетровск, 2003 г. - 110 с.

60. Рекомендации по подбору толщины и армировании бетонной стяжки, устроенной по теплоизоляционным плитам ФЛОР БАТТС и ФЛОР АТТС И - М., изд. ОАО ЦНИИпромзданий, шифр М.34.61/06, 2003 г., 23 с.

61. Стандарт ОАО ЦНИИПромзданий СО 003-02495342-2006 «Полы. Метод оценки скользкости покрытий пола»

62. Стандарт ОАО ЦНИИПромзданий СО 004-02495342-2006 «Полы. Метод испытаний на безыскровость при ударных воздействиях»

63. Стандарт ОАО ЦНИИПромзданий СО 005-02495342-2007 «Полы. Метод оценки зыбкости полов»

СОДЕРЖАНИЕ

Раздел I 1 Технические требования, предъявляемые к полам.. 1

1. Область применения. 1

2. Нормативные ссылки. 1

3. Основные термины и определения. 2

4. Основные положения. 4

5. Грунт основания под полы.. 6

6. Подстилающий слой. 6

7. Гидроизоляция. 7

8. Тепло-звукоизоляционный слой. 8

9. Прослойка. 10

10. Стяжка. 10

11. Покрытия полов. 12

Раздел II 16 Правила проектирования, устройства, приёмки, эксплуатации и ремонта полов. 16

1. Общие положения. 16

2. Грунт основания. 17

3. Подстилающий слой. 17

4. Прослойка. 19

5. Стяжки. 19

6. Тепло-звукоизоляционный и эластичный слои. 43

7. Гидроизоляция. 45

8. Покрытия полов. 48

8.1 Общие положения. 48

8.2 Бетонные покрытия. 49

8.3 Мозаично-бетонные покрытия. 56

8.4 Покрытия из бетонных и мозаичных плит. 59

8.5 Покрытия из жаростойкого бетона и из крупноразмерных плит жаростойкого бетона. 61

8.6 Покрытия из кислотостойкого монолитного бетона и из плит кислотостойкого бетона. 63

8.7 Асфальтобетонные покрытия. 66

8.8 Поливинилацетатцементно- и латексцементно-бетонные покрытия. 68

8.9 Монолитные полы из лёгких бетонов с латексцементным покрытием.. 70

8.10 Известняково-керамзитовые полы.. 72

8.11 Ксилолитовое и поливинилацетатцементно-опилочное покрытия. 76

8.12 Эпоксидные, полиуретановые и полиэфирные мастичные покрытия. 80

8.13 Покрытия из чугунных и стальных плит на бетонной прослойке. 87

8.14 Покрытия из чугунных плит на песчаной прослойке. 89

8.15 Покрытия из торцовых деревянных шашек. 91

8.16 Покрытия дощатые. 93

8.17 Покрытия из штучного и наборного паркета. 99

8.18 Покрытия из паркетных и массивных досок, паркетных щитов и ламината. 109

8.19 Покрытия из линолеума и ковров на основе синтетических волокон. 115

8.20 Покрытия из синтетических плиток. 125

8.21 Покрытия из резиновых, резинокордовых и резинокордно-битумных плит. 127

8.22 Покрытия из керамических плиток. 131

8.23 Покрытия из плит природного камня и керамогранита. 136

8.24 Покрытия из плит каменного литья, кислотоупорных плиток и кирпича. 138

8.25 Глинобитные покрытия. 143

9. Отделка поверхности покрытий. 144

10. Основные правила техники безопасности. 148

11. Правила приёмки полов. 152

12. Техническое обслуживание и ремонт полов. 158

Приложения. 162

Приложение 1. Рекомендуемые области применения покрытий полов. 163

Приложение 2. Физико-технические свойства битумно-полимерных наплавляемых рулонных материалов. 180

Приложение 3. Рекомендации по расчёту подстилающих слоев пола. 181

Приложение 4. Определение показателя теплоусвоения пола. 219

Приложение 5. Расчёт звукоизоляции. 221

Приложение 6. Деформационные швы, примыкания полов, сточные лотки, каналы и трапы в полах. 228

Приложение 7. Перечень стандартов и ту на материалы, применяемые при устройстве полов. 234

Литература. 237

 



© 2013 Ёшкин Кот :-)