Информационная система
«Ёшкин Кот»

XXXecatmenu

ЗАО Научно-производственный центр «Путь К»

 

Рекомендации
по устройству и безопасной эксплуатации
надземных крановых путей

 

РД 50:48:0075.03.05

 

 

Москва 2005

 

Редакционная комиссия:

В.С. Котельников (председатель)

Г.М. Банных (зам. председателя)

В.Г. Жуков, Л.Р. Кудряшов

Исполнители:

Г.М. Банных (ответственный исполнитель).

Л.Р. Кудряшов, И.А. Козловский, Л.В. Стоцкая, А.И. Бедов, К.А. Мотунов, А.И. Скляднев, В.В. Сердюк

«Рекомендации по устройству и безопасной эксплуатации надземных крановых путей» разработаны в развитие ПБ-10-382-00, РД 10-138-97 с изм. 1.

При подготовке рекомендаций учтены замечания и предложения территориальных органов Ростехнадзора, заинтересованных организаций и ведомств, промышленных предприятий.

В документе изложены рекомендации по проектированию, изготовлению, устройству (монтажу) и эксплуатации надземных крановых путей.

«Рекомендации по устройству и безопасной эксплуатации надземных крановых путей» утверждены научно-техническим советом ЗАО «НПЦ «Путь К» 25.09.2002 г.

«Рекомендации по устройству и безопасной эксплуатации надземных крановых путей» согласованы с Федеральной службой по экологическому, технологическому и атомному надзору письмом № 09-03/897 от 06.05.2005 г.

 

СОДЕРЖАНИЕ

1. Общие положения. 2

2. Рекомендации по проектированию надземных крановых путей. 2

3. Конструкции и основные характеристики элементов надземных крановых путей. 4

4. Рекомендации по изготовлению элементов и конструкций надземных крановых путей. 14

5. Рекомендации по устройству (монтажу) надземных крановых путей. 15

6. Подготовка и проведение приемо-сдаточных испытаний надземных крановых путей. 18

7. Рекомендации по эксплуатации надземных крановых путей. 19

8. Дефекты и повреждения элементов и конструкций зданий и сооружений с крановыми нагрузками. 28

9. Рекомендации по оценке технического состояния зданий и сооружений опасных производственных объектов с крановыми нагрузками. 35

10. Рекомендации по контролю качества зданий и сооружений с крановыми нагрузками. 41

11. Рекомендации по охране труда и технике безопасности при экспертизе промышленной безопасности зданий и сооружений опасных производственных объектов с крановыми нагрузками. 47

Приложение 1 Основные термины и определения. 50

Приложение 2 Перечень нормативных документов, используемых в данных рекомендациях. 53

Приложение 3 Предельные величины отклонений от проектного положения при устройстве и эксплуатации надземных крановых путей. 55

Приложение 5 Конструкции и основные характеристики элементов надземных крановых путей. 60

Приложение 6 Паспорт надземного кранового пути. 77

Приложение 7 Дефекты и повреждения элементов и конструкций надземных крановых путей. 89

Приложение 8 Методы контроля качества, нормы периодичности ремонта и сроки эксплуатации элементов и конструкции надземных крановых путей. 119

Приложение 9 Перечень форм рабочей и отчетной документации организации обслуживания, ремонта и экспертизы промышленной безопасности надземных крановых путей. 124

Приложение 10 Методика прогнозирования повреждаемости и долговечности верхней зоны стенки сварных балок крановых путей интенсивной нагруженности. 131

1. Общие положения

1.1. «Рекомендации по устройству и безопасной эксплуатации надземных крановых путей» (далее по тексту «Рекомендации»), распространяются на здания и сооружения опасных производственных объектов со стальными, железобетонными и другими несущими конструкциями опорных и подвесных грузоподъемных кранов режимов работы 1А - 8А по ГОСТ 25546 для сейсмических и несейсмических районов.

1.2. Настоящие Рекомендации предназначены для организаций, занимающихся проектированием, изготовлением, устройством (монтажом), эксплуатацией, надзором, контролем качества и экспертизой промышленной безопасности, эксплуатацией зданий и сооружений с крановыми нагрузками*.

* Инженерно-технический работник по надзору за безопасной эксплуатацией зданий и сооружений с крановыми нагрузками (п. 7.3)

Инженерно-технический работник, ответственный за содержание в исправном состоянии зданий и сооружений с крановыми нагрузками (п. 7.3.)

1.3. Рекомендации разработаны в соответствии с утвержденными Госгортехнадзором России «Правилами устройства и безопасной эксплуатации грузоподъемных кранов» (ПБ 10-382-00) (Утверждены Постановлением Госгортехнадзора России от 31.12.1999 г. № 98) и Федеральным законом «О промышленной безопасности опасных производственных объектов» № 116-ФЗ от 21.07.1997 г. РД 10-528-03 от 04.03.2003 г.

1.4. В данных рекомендациях надземные крановые пути рассматриваются как составная неотъемлемая часть здания или сооружения, в которых они эксплуатируются.

1.5. Рекомендации могут использовать все организации независимо от форм собственности и ведомственной принадлежности, а также индивидуальные предприниматели, осуществляющие деятельность в области промышленной безопасности опасных производственных объектов на территории России.

1.6. Основные термины и определения, используемые в рекомендациях, приведены в приложении 1.

1.7. Перечень нормативной документации, на которую даны ссылки в рекомендациях, приведены в приложении 2.

2. Рекомендации по проектированию надземных крановых путей

2.1. Проект на крановые пути разрабатывает специализированная организация, имеющая аттестованных специалистов.

2.2. В соответствии с ГОСТ 2.103 проект включает следующие этапы разработки конструкторской документации:

разработка технического задания;

разработка технического предложения или эскизного проекта;

разработка технического проекта;

разработка рабочей конструкторской документации.

При разработке этапов, содержание входящих в них разделов при необходимости допускается объединять между собой, или вводить новые разделы.

2.3. Проект разрабатывается с учетом требований Закона «О промышленной безопасности опасных производственных объектов» (№ 116-ФЗ от 21 июня 1997 г.), «Правил по кранам» (ПБ-10-382-00), настоящих Рекомендаций, а также требований нормативно-технической документации, согласованной и утвержденной в установленном порядке.

2.4. Проект на крановый путь содержит:

рабочие чертежи (планы, разрезы, узлы и детали элементов и конструкций кранового пути, чертежи на комплектующие, а при необходимости, на установку путевого оборудования);

технические условия (ТУ) по устройству и эксплуатации;

прочностной расчет пути и его элементов;

расчет устойчивости элементов с учетом сложного сопротивления (вертикальный, горизонтальный изгиб и кручение);

расчет тупиковых упоров;

рабочие чертежи устройства заземления.

В проекте путей приводятся предельно допустимые отклонения, как при устройстве, так и при эксплуатации пути с указанием базы отсчета: грань, ребро, поверхность и т.д. (приложение 3, табл. П3.1 - П3.2).

2.5. Расчетные сопротивления материалов проектируемых элементов конструкций зданий и сооружений с крановыми нагрузками следует принимать по соответствующим нормативным документам.

2.6. Принимаемые в расчетах нагрузки элементов конструкций, определяются с учетом:

массы крана;

массы грузовой тележки с грузозахватным органом;

массы груза;

положения грузовой тележки в пролете;

сил инерции;

скорости передвижения крана и грузовой тележки;

сил перекоса и горизонтальных поперечных нагрузок;

ветровой нагрузки.

2.7. В соответствии со ст. 5 Федерального закона «О промышленной безопасности опасных производственных объектов» все проекты надземных крановых путей проходят экспертизу и согласование в федеральных органах исполнительной власти, специально уполномоченных в области промышленной безопасности.

2.8. Экспертизе также подлежат основные технические решения и проектная документация, разработанные специализированными организациями (институтами), проектно-конструкторскими подразделениями организаций владельцев крановых путей.

Экспертиза промышленной безопасности проектной документации проводится для определения соответствия принятых технических и технологических решений действующим нормам и правилам безопасности.

2.9. Экспертиза промышленной безопасности осуществляется:

по комплексным проектам;

по отдельным частям проектов;

по отдельным техническим решениям.

2.10. Для проведения экспертизы промышленной безопасности проектной документации представляются следующие материалы:

задание на разработку проектной документации на устройство, реконструкцию или ремонт надземного кранового пути;

пояснительная записка с описанием технологических решений, мероприятий по механизации трудоемких работ, по охране труда и технике безопасности;

решения по отдельным частям проекта, обеспечивающим проектный (заданный) режим работы надземных крановых путей, а также соблюдение требований действующих норм и правил безопасности при их эксплуатации;

паспорт проекта (при его наличии).

Перечень представляемых на экспертизу материалов может уточняться в каждом отдельном случае в зависимости от сложности объекта, о чем заказчик информируется дополнительно.

2.11. При проведении экспертизы промышленной безопасности проектной документации на строительство, реконструкцию или ремонт зданий и сооружений с крановыми нагрузками проверяется:

соответствие разработанных проектов требованиям промышленной безопасности;

обеспечение мер по предупреждению и локализации аварий, создание условий для максимально возможной механизации трудоемких работ;

обеспечение комфортных условий труда за счет обеспечения норм по уровню шума, вибрации, освещенности, электробезопасности, санитарно-гигиеническим и другим требованиям, предъявляемым к рабочим местам;

наличие установленных сроков эксплуатации зданий и сооружений с крановыми нагрузками, периодичность проведения экспертизы промышленной безопасности и методики оценки их технического состояния.

2.12. При регистрации крана, установленного на новые крановые пути, согласно п. 9.1 (ПБ-10-382-00) в органы Ростехнадзора необходимо представлять согласованный и утвержденный проект надземного кранового пути, а при установке крана на старые пути, необходимо представить справку о соответствии путей устанавливаемому крану.

2.13. Все отступления от проекта и настоящих Рекомендаций согласовываются владельцем путей с разработчиком проекта.

2.14. В технических условиях на изготовление элементов кранового пути наряду с другими указаниями, необходимо включать требования по контролю качества сварки и браковочные показатели с учетом настоящих Рекомендаций, порядок приемки отдельных элементов, а также сведения о применяемых для изготовления материалах (сталь, железобетон и др.) и сварочных материалах.

2.15. В состав технического проекта включаются мероприятия по созданию безопасных условий производства работ, обслуживания, эксплуатации и экспертизы промышленной безопасности зданий и сооружений с крановыми нагрузками.

2.16. Размещение пути и крана в пролете здания (цеха) определяется конструктивной схемой здания и технологией производства. Соотношение между пролетами мостовых и подвесных кранов и пролетами здания по ГОСТ 534 приведено в приложении 4.

3. Конструкции и основные характеристики элементов надземных крановых путей

3.1. Надземный крановый путь включает следующие основные конструктивные элементы, графическое изображение которых приведено в приложении 5:

направляющие;

стыковые и промежуточные скрепления;

балки кранового пути и колонны - для мостовых кранов;

стропильные фермы, балки перекрытия - для подвесных кранов;

путевое оборудование (тупики, троллеи, отключающие линейки и пр.);

знаки безопасности.

3.2. Направляющие

3.2.1. В качестве направляющих для опорных кранов применяются:

новые железнодорожные рельсы типа Р43 - ГОСТ 7173, Р50 - ГОСТ 7174, Р65 - ГОСТ 8161, Р75 - ГОСТ 16210, поперечные профиль и основные размеры которых приведены на рис. П.5.1, табл. П.5.1 приложения 5;

старогодные рельсы I и II групп годности, прошедшие проверку и ремонт, удовлетворяющие требованиям и имеющие сопроводительную документацию в соответствии с классификацией «Технические указания об использовании старогодных рельсов на железных дорогах широкой колеи»;

рельсы типа КР 70 ГОСТ 4121, КР 80 ГОСТ 7464, КР 100 ГОСТ 3332, КР 120 ГОСТ 6711, КР 140 ГОСТ 20287, поперечные профиль и основные размеры которых приведены на рис. П.5.1 табл. П.5.1 приложения 5;

прокат стальной горячекатаный квадратного или прямоугольного сечения ГОСТ 2591.

3.2.2. Рекомендуемый тип направляющих в зависимости от давления ходового колеса и режима работы крана приведен в табл. П.4.4 приложения 4.

3.2.3. В качестве направляющих для подвесных кранов применяются двутавры общего ГОСТ 8239 или специального назначения ГОСТ 19425.

По специальным проектам допускается применять усиленные двутавры и комбинированные сварные профили.

Направляющие для подвесных кранов изготавливают из углеродистых сталей, марка которых принимается в зависимости от температуры окружающего воздуха:

Углеродистая +20 °С до -20 °С В Ст 3 сп 5, В Ст 3 пс 6 ГОСТ 380;

Низкоуглеродистая +40 °С до -40 °С 09Г2С, 09Г2-12 ГОСТ 19281.

Если направляющие путей подвесных кранов выполняются по неразрезной схеме, сваренными в стык, при этом концы балок необходимо фрезеровать.

3.3. Стыковые и промежуточные скрепления

3.3.1. Для исключения боковых и продольных смещений направляющие крепят с помощью стыковых и промежуточных скреплений.

3.3.2. Стыковые скрепления бывают неразъемного и разъемного типа:

разъемные стыковые скрепления выполняются с помощью стыковых накладок, общий вид и размеры которых приведены на рис. П.5.2 - П.5.3 табл. П.5.2 приложения 5;

неразъемные стыковые скрепления выполняются с помощью сварки по техническим условиям, разработанным на данный вид сварки.

3.3.3. В стыковых скреплениях применяют двухголовые четырех- или шестидырные железнодорожные накладки для соответствующих типов направляющих по ГОСТ Р38 ГОСТ 4133, Р43 ГОСТ 19127, Р50 ГОСТ 19129, Р65 и Р75 ГОСТ 8193, пружинные шайбы по ГОСТ 19115, 8196, 7529, путевые болты по ГОСТ 11530, 7633 и гайки по ГОСТ 11532.

3.3.4. Для разъемных стыковых скреплений направляющих типа КР70, КР80, КР100, КР120, КР140 применяют специальные накладки (рис. П.5.4, П.5.5, табл. П.5.3 приложения 5) с комплектом болтов (ГОСТ 7798), гаек (ГОСТ 5915) и шайб (ГОСТ 11371). Накладки для КР70, КР80, КР100 необходимо изготавливать из стали марок ВСт.3пс6-1 по ТУ 14-1-3032, а для КР120 и КР140 из стали марок 09Г2С-12 по ГОСТ 19281.

Болты следует применять по ГОСТ 7798 в соответствии со СНиП II-23 «Стальные конструкции, применительно к конструкциям, не рассчитываемым на выносливость».

3.3.5. Направляющие из стального горячекатаного проката квадратного или прямоугольного сечения (ГОСТ 2591) стыкуются специальными скреплениями или планками на сварке или болтах.

3.3.6. Количество стыковых скреплений определяется длиной кранового пути и количеством направляющих.

3.3.7. Для крепления направляющих к балкам кранового пути применяются промежуточные скрепления, состоящие из стальных регулировочных подкладок и прикрепителей.

3.3.8. Промежуточные скрепления бывают разъемными и неразъемными (сварными), жесткими, упругими или комбинированными.

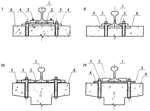
3.3.9. На рис. П.5.6 - П.5.11 приложения 5 показаны различные конструкции промежуточных скреплений для стальных и железобетонных балок кранового пути.

3.3.10. Тип и конструкция промежуточного скрепления для опорных кранов выбирается в зависимости от вида балки кранового пути (стальная или железобетонная) и режима работы крана.

3.3.11. Для обеспечения рихтовки кранового пути промежуточные скрепления целесообразно выполнять разъемными.

3.3.12. Перед сборкой направляющие, промежуточные скрепления, стыковые накладки проверяются по паспортам и сертификатам на соответствие их качества требованиям ГОСТ и ТУ.

3.3.13. Для снижения напряжения в элементах кранового пути рекомендуется устанавливать эластичные регулируемые крепления направляющих на стальных и железобетонных опорных конструкциях типа «GANTREX» приведенных на рис. П.5.11.

3.3.14. Под направляющие на железобетонных и стальных балках рекомендуется устанавливать упругую прокладку типа «GANTREX» или - конструкции МГСУ.

3.3.15. Предельные величины отклонений от проектного положения надземных крановых путей при устройстве и эксплуатации приведены в приложении 3 табл. П.3.1 - П.3.2.

3.3.16. Для подвесных кранов крепление направляющих к конструкциям покрытия (перекрытия) стальным или железобетонным балкам, фермам, крупноразмерным плитам выполняется непосредственно через промежуточные элементы подвески и монтажные столики (рис. П.5.12 - П.5.13 приложения 5).

3.3.17. При стальных фермах элементы подвески крепятся к фасонкам верхних узлов и дополнительным фасонкам в нижнем поясе.

3.3.18. При железобетонных фермах подвеска выполняется парной из двух стержней, охватывающих нижний пояс фермы.

3.3.19. Подвески в узлах верхнего пояса крепят к заранее предусмотренным закладным деталям с помощью сварки.

3.4. Балки и колонны кранового пути

3.4.1. Для надземных крановых путей опорных кранов применяются стальные и железобетонные балки крановых путей.

3.4.2. Тип балки выбирается в зависимости от нагрузки, величины пролета, режима работы крана, а также требований п. 1.8 ТП 101 «Технические правила по экономному расходованию основных строительных материалов».

3.4.3. Для опорных кранов с режимом работы А7 - А8 при больших пролетах следует применять стальные балки крановых путей, которые занимают особое место в числе конструктивных элементов, определяющих надежность, эксплуатационную пригодность и долговечность промышленных зданий и сооружений с крановыми нагрузками.

3.4.4. По своему конструктивному решению, способу соединения элементов и расчетной схеме стальные балки подразделяются на следующие типы:

по расчетным схемам - на разрезные и неразрезные;

по конструктивному решению - на сплошностенчатые и сквозные (решетчатые);

по способу соединения элементов - на сварные, клепаные, на высокопрочных болтах и комбинированные;

по способу приложения нагрузок - с ездой поверху и с ездой понизу.

Особый вид стальных балок надземных крановых путей представляют конструкции балок многофункционального назначения, например, подкраново-подстропильные фермы.

Все перечисленные конструктивные формы стальных балок крановых путей показаны в приложении 5 рис. П.5.14.

3.4.5. Для надземных крановых путей могут применяться разрезные или неразрезные балки.

Преимуществом разрезных балок является простота конструкции и монтажа, нечувствительность к осадкам опор, меньшее, по сравнению с неразрезными, давление на колонны.

3.4.6. Неразрезные балки по сравнению с разрезными легче на 12 - 15 %, т.е. экономичнее в изготовлении.

3.4.7. В случаях, когда по техническим требованиям невозможно применять вертикальные связи вдоль рядов колонн, следует применять рамные конструкции в виде эстакад.

3.4.8. Стальные балки надземных крановых путей следует изготавливать в соответствии со СНиП II-23 «Стальные конструкции. Нормы проектирования».

3.4.9. Стальные балки по типу сечения могут быть сплошными или решетчатыми (сквозными).

Балки сплошного сечения рекомендуется применять для кранов грузоподъемностью 5 - 12,5 т с пролетами до 6 м.

Изготавливают сплошные балки из прокатных двутавров и сварных двутавров несимметричного сечения. При этом, для восприятия горизонтальных нагрузок верхний пояс прокатных двутавров следует усиливать листовой или прокатной сталью (уголок, швеллер).

3.4.10. Для кранов грузоподъемностью 50 - 80 т рекомендуется применять сквозные (решетчатые) балки в виде ферм или шпренгельных балок с жестким верхним поясом. Они экономичнее сплошных по весу на 15 - 20 %, причем экономия возрастает с увеличением длины балки.

3.4.11. Для тяжелых кранов грузоподъемностью 80 - 380 т и больших пролетах, сквозные балки применять не рекомендуется, так как эксплуатационные свойства таких балок ниже, чем у сплошных, особенно при сварном варианте исполнения.

3.4.12. Для тяжелых кранов, как для разрезных, так и неразрезных балок, рекомендуется применять сварные двутавры с горизонтальной тормозной балкой или фермой, которые одновременно служит площадкой для обслуживания крановых путей.

3.4.13. Балки надземных крановых путей могут быть сварными и клепаными. Сварные применяются во всех случаях, клепаные - только для тяжелых кранов большой грузоподъемности.

3.4.14. Типы и сечения стальных балок для надземных крановых путей для кранов грузоподъемностью до 50 т необходимо подбирать по ГОСТ 23121.

3.4.15. Железобетонные балки кранового пути применяются для легких и средних кранов, общий вид приведен в приложении 5 рис. П.5.16 (I, II) таб. П.5.4.

3.4.16. Железобетонные балки бывают сборными и монолитными из обычного и предварительно напряженного железобетона и изготавливаются в соответствии с ГОСТ 13015.0.

3.4.17. Железобетонные балки рекомендуется выполнять предварительно напряженными, что повышает их трещиностойкость и выносливость и снижает расход стали по сравнению с балками с обычным армированием.

3.4.18. Балки кранового пути из обычного железобетона следует применять при пролетах не более 6 м.

3.4.19. Железобетонные балки пролетом 6 - 12 м для кранов общего назначения следует выполнять сборными.

3.4.20. Железобетонные балки следует выполнять разрезными, так как применение неразрезных балок при небольшой экономии материала значительно усложняет их стыковку.

3.4.21. Железобетонные балки выбирают по расчетным усилиям, по виду напрягаемой арматуры и расположению их по длине цеха или температурного блока.

3.4.22. К опорным элементам надземных крановых путей также относятся стальные, железобетонные или комбинированные колонны различных конструкций (сплошные, решетчатые, двухветвевые, полуколонны-пилястры).

3.4.23. Для одноэтажных производственных зданий и сооружений с крановыми нагрузками рекомендуется применять стальные колонны трех типов:

постоянного сечения;

ступенчатые;

раздельные.

Типы стальных опорных колонн надземных крановых путей для одноэтажных производственных зданий и сооружений показаны в приложении 5 рис. П.5.15 (I - III).

3.4.24. Колонны постоянного сечения рекомендуется использовать для крановых путей в зданиях с подвесными или мостовыми электрическими кранами общего назначения грузоподъемностью до 20 т.

3.4.25. Стальная колонна постоянного сечения (рис. П.5.15 (I) состоит из стержня, оголовка, консоли и базы.

3.4.26. Стержень стальной колонны может выполняться как сплошным, так и решетчатым. Решетчатый стержень более экономичен по расходу металла, но более трудоемок в изготовлении.

3.4.27. Общая длина колонны складывается из высоты здания (Н), величины заглубления базы и высоты опорной части фермы. Высота здания (Н), от уровня пола до низа стропильной фермы, зависит от уровня головки направляющей кранового пути в соответствии ППРК и габарита мостового крана.

3.4.28. Габарит мостового крана (обычно кратный 200 мм) включает в себя:

высоту крана (расстояние от головки направляющей до крайней верхней точки тележки крана);

безопасный зазор между краном и стропильными конструкциями - 100 мм;

возможный прогиб конструкций покрытия, принимаемый равным 200 - 400 мм.

3.4.29. Размер Н назначается кратным 1,2 м до высоты 10,8 м и кратным 1,8 м при большей высоте. В отдельных случаях, при соответствующем обосновании, допускается принимать этот размер кратным 0,6 м.

3.4.30. Сечение колонны по условиям жесткости следует принимать не менее 1/20 высоты здания (Н) с увязкой размеров стального проката и учетом привязки наружных граней колонн к профильным разбивочным осям здания.

3.4.31. Стальные ступенчатые колонны (рис. П.5.15 (II) также могут широко использоваться как несущие элементы надземных крановых путей для одноэтажных производственных зданий и сооружений с крановыми нагрузками.

3.4.32. При двухъярусном расположении кранов, колонны имеют дополнительную консоль в верхней части колонны, либо два уступа (двухступенчатые колонны).

3.4.33. Согласно ПБ 10-382-00 при необходимости для обслуживания и ремонта крановых путей и крана следует предусмотреть проходы между краном и внутренней гранью верха колонны, либо предусмотреть проход в теле колонны.

3.4.34. Поперечное сечение верха колонны, исходя из условий жесткости, необходимо принимать не менее 1/12 ее длины от верха уступа до низа стропильной фермы.

3.4.35. Поперечное сечение нижней части колонны, исходя из условий жесткости, необходимо принимать не менее 1/20 Н, а в цехах с интенсивной работой кранов (А7 - А8) - не менее 1/15 Н, где Н - расстояние от верха фундамента до низа стропильной фермы.

3.4.36. При определении размеров сечения нижней части колонны необходимо обеспечить зазор между краном и верхней частью колонны не менее 75 мм.

3.4.37. При устройстве прохода следует добавить еще 450 мм (400 мм на габарит прохода и 50 мм на ограждение).

3.4.38. Если требуемая по условиям жесткости поперечное сечение верхней части колонны не позволяет обеспечить проход вне колонны, то его необходимо предусмотреть в виде проема шириной 400 мм и высотой 1800 мм в верхней части колонны, сечение которой в этом случае необходимо принять не менее 1000 мм.

3.4.39. Окончательные размеры сечений верхней и нижней частей колонны необходимо увязать с модулем пролетов кранов 500 мм и привязками наружных граней колонн к координационным осям здания 250 мм или 500 мм.

3.4.40. Колонны раздельного типа (рис. П.5.15 (III) имеют шатровую ветвь и гибко связанную с ней подкрановую ветвь.

Шатровая ветвь работает в системе поперечной рамы и воспринимает все нагрузки, кроме вертикального давления мостового крана, поддерживаемого подкрановой ветвью, которая связана с шатровой гибкими в вертикальной плоскости горизонтальными планками, поэтому она воспринимает только вертикальные усилия от мостовых кранов.

Применение колонн раздельного типа рационально в случаях низкого расположения кранов большой грузоподъемности.

3.4.41. Общий вид типовых железобетонных колонн представлен на рис. П.5.17, размеры колонн в зависимости от грузоподъемности кранов выполняются в соответствии с ГОСТ 25628.

3.4.42. В зданиях высотой до 10,8 м с опорными кранами грузоподъемностью до 20 т необходимо применять железобетонные колонны прямоугольного сечения серия КЭ-01-49 (рис. П.5.17 (I - II).

3.4.43. В зданиях высотой до 18 м с опорными кранами грузоподъемностью 30 - 50 т необходимо использовать железобетонные колонны с двухветвевой подкрановой частью серия КЭ-01-52 (рис. П.5.17 (III, IV, V, VI).

3.4.44. Ветви необходимо связывать горизонтальными распорками через интервал 1,5 - 3 м.

3.4.45. Для постоянного наблюдения за состоянием крановых путей, в случае необходимости устройства прохода, при высоте здания до 14,4 м и пролете до 36 м, шаге по крайним колоннам 6 и 12 м, по средним - 12 м, для опорных кранов грузоподъемностью до 30 т, необходимо применять железобетонные двухветвевые колонны с проходом на уровне крановых путей.

3.4.46. На поверхности железобетонных колонн необходимо предусмотреть риски, совмещающиеся при установке с соответствующими разбивочными осями.

3.4.47. Узлы опирания балок надземного кранового пути на колоннах необходимо выполнять из расчета максимально возможных воздействий вертикальных и горизонтальных усилий, возникающих при работе крана, допуская при этом свободу поворота опорного сечения балки.

3.4.48. Опорный узел должен обеспечивать жесткую передачу вертикальных и горизонтальных усилий на колонну, допуская при этом свободу поворота опорного сечения балки.

3.4.49. Конструкция опорного узла должна через жесткие или упругие подкладки допускать возможность регулировать планово-высотное положение балок и быть доступна для надзора и удобна для обслуживания.

3.4.50. Узлы опирания балок на колонны показаны в приложении 5 (рис. П.5.18 - П.5.19). Не допускается выполнять узлы опирания балок на колоннах неразъемными (с применением сварки).

3.4.51. Узлы опирания балок надземных крановых путей необходимо выполнять с центрированной передачей опорного давления на стальные или железобетонные колонны.

3.4.52. Центрированная передача опорного давления на колонны может передаваться через опорные ребра, имеющие строганные поверхности или через опорные прокладки, прикрепляемые к нижнему поясу балки. В этих случаях ребрам балки должно отвечать ребро в колонне.

3.4.53. Узлы опирания и восстановление проектного положения балок кранового пути на колоннах следует располагать по оси симметрии колонн. Крепление балок кранового пути на колоннах с помощью сварки не рекомендуется.

3.4.54. Узел опирания балок на колонне и соединения балок между собой должен допускать свободный поворот опорного сечения. Во избежание повреждений балок кранового пути в зоне соединения балок между собой, болты необходимо размещать на расстоянии не более 0,6 высоты балки от нижнего пояса.

3.4.55. Конструкция крайних опор неразрезных балок выполняется аналогично разрезным, но при этом опорные крепления рекомендуется выполнять с учетом отрывающих сил балки от колонны. Для этого могут быть использованы анкерные болты или специальные конструктивные элементы.

3.4.56. Стальные балки на железобетонные колонны опираются через распределительную опорную плиту и крепятся к колонне предусмотренными в ней анкерными болтами. Размер распределительной плиты определяется в зависимости от марки бетона колонны и давления балки кранового пути на колонну.

3.4.57. При опирании стальных балок на колонны в связевых панелях для передачи горизонтальных усилий на связи необходимо предусмотреть дополнительные крепления балок к колоннам.

Размер монтажных швов или количество болтов этих креплений определяют из условия:

резьбовое соединение болтов работающих:

на срез РГ/Fcp £ Rсp · γ;

на смятие Рг/FCm £ Rcm · γ,

где Рг - горизонтальная сила, возникающая от остановки крана (торможение или наезд на тупики);

FCP - площадь среза болтов;

FCM - площадь смятия болтов;

Rcp - расчетное сопротивление срезу;

RcM - расчетное сопротивление смятию;

γ - коэффициент условия работы соединения.

Сварное соединение:

Pг/βhшLш £ Rсв/у γ,

где Rсв - расчетное сопротивление срезу углового шва;

Lш - расчетная длина шва;

hш - толщина углового шва;

β - коэффициент вида сварки.

3.4.58. Опирание смежных балок разной высоты можно выполнять либо установкой опорных столиков на торце более высокой балки, либо путем развития опорного сечения низкой балки.

3.4.59. Температурные швы балок следует предусматривать на парных колоннах. В местах расположения температурных швов балки необходимо выполнять консольными.

3.4.60. Пространственная жесткость эстакад зданий и сооружений с крановыми нагрузками обеспечивается вертикальными и горизонтальными связями, в качестве которых применяются элементы фахверка, навесные, самонесущие и несущие стены.

3.5. Путевое оборудование

3.5.1. В состав путевого оборудования входят:

четыре тупиковых упора;

два ограничителя передвижения;

проходные галереи, площадки, лестницы, ограждения и т.п.;

система заземления;

комплект знаков безопасности.

3.5.2. Тупиковые упоры обеспечивают гашение остаточной скорости крана и предотвращают его сход с крановых путей в аварийных ситуациях. Параметры тупиковых упоров определяются в соответствии с РД 50:48:0075.02.05

3.5.3. В зависимости от типа, грузоподъемности и конструкции крана применяют тупиковые упоры ударного и безударного типа (рис. П.5.20, П.5.21 приложения 5).

3.5.4. Тупиковые упоры устанавливают на направляющих в сечении, перпендикулярном оси кранового пути, на расстоянии не менее 500 мм от концов направляющих или балки кранового пути.

3.5.5. При подходе к тупиковым упорам кран должен одновременно касаться двух тупиковых упоров.

3.5.6. При ограничении зоны действия крана могут устанавливаться дополнительные тупиковые упоры.

3.5.7. В комплект тупиковых упоров (4 шт.) входит паспорт, в котором указывается завод-изготовитель, заводской номер, год выпуска и тип кранов, для которых рекомендуется применять тупиковые упоры данной конструкции.

3.5.8. После аварийного наезда тупиковые упоры подвергаются полному техническому освидетельствованию, о чем делается запись в паспорте тупиковых упоров.

3.5.9. Помимо тупиковых упоров, для своевременного отключения механизма передвижения крана на конечных участках кранового пути устанавливаются ограничители передвижения, которые устанавливается таким образом, чтобы отключение двигателей механизма передвижения крана происходило на расстоянии не менее половины пути торможения крана до тупиковых упоров.

3.5.10. Если в паспорте крана отсутствует указание о расстоянии пути торможения крана, то его определяют на основании расчетов.

3.5.11. Тупиковые упоры и ограничители передвижения крана необходимо окрашивать в отличительный (красный) цвет, хорошо видимый из кабины крановщика.

3.5.12 Тупиковые упоры и ограничители передвижения изготавливаются по рабочим чертежам и техническим условиям в соответствии с маркой крана, эксплуатирующегося на данном крановом пути.

3.5.13. Тупиковые упоры и ограничители передвижения могут изготавливать заводы-изготовители подъемных сооружений, специализированная организация, имеющая разрешение на изготовление подъемных сооружений, их узлов, механизмов, устройств, станций управления, систем защиты приборов безопасности и сменных грузозахватных органов, с обязательным авторским надзором.

3.5.14. Проходные галереи, площадки, лестницы обеспечивают безопасный доступ при техническом обслуживании и обследовании кранов и крановых путей.

3.5.15. Для мостовых кранов с группой классификации (режима) А 6 и выше, галереи для прохода вдоль крановых путей устраиваются с обеих сторон пролета.

3.5.16. Галереи снабжаются перилами со стороны пролета и с противоположной его стороны при отсутствии стены. Галерея на открытой эстакаде может снабжаться перилами только с наружной стороны (противоположной пролету).

3.5.17. Ширина прохода (в свету) по галерее должна быть не менее 500 мм, а высота - не менее 1800 мм.

3.5.18. В местах расположения колонн обеспечивается проход сбоку или в теле колонны шириной не менее 500 мм и высотой не менее 1800 мм. Оставлять у колонн не огражденный участок галереи не разрешается.

3.5.19. При устройстве прохода внутри колонны за 1000 мм до подхода к ней ширина прохода по галерее уменьшается до ширины прохода в колонне.

3.5.20. Каждая галерея должна иметь выходы на лестницы не реже, чем через каждые 200 м.

3.5.21. Ограждение кранового пути следует выполнять по ГОСТ 23407.

3.5.22. Дверь для выхода на ремонтную площадку оборудуется запором и автоматической электроблокировкой, снимающей напряжение с главных троллеев ремонтного участка.

3.5.23. Размеры люка для выхода в настиле галереи ремонтной площадки принимают не менее 500´500 мм, люк оборудуется легко и удобно открывающейся крышкой, угол между которой в открытом положении и настилом составляет не более 75°.

3.5.24. Устройство галерей, площадок, проходов и лестниц выполняется по проектам с учетом настоящих Рекомендаций.

3.5.25. По всей длине и ширине галерей, площадок и проходов устраиваются настилы из рифленых или стальных дырчатых или других прочных материалов, исключающих возможность скольжения ног. При применении дырчатых настилов диаметр отверстия в них не должен превышать 20 мм.

3.5.26. Галереи, площадки, проходы и лестницы, устроенные в местах расположения троллей или неизолированных проводов, находящихся под напряжением, независимо от наличия блокировок входа оборудуются ограждением, исключающим случайное прикосновение к троллеям и проводам.

3.5.27. Доступ с пола на площадки обеспечивается с помощью наклонных и вертикальных лестниц, расположенных таким образом, чтобы исключить возможность зажатия находящихся на них людей движущимся краном или его кабиной.

3.5.28. Ширина лестниц должна быть не менее 600 мм, расстояние между ступенями - для наклонных лестниц не более 250 мм, для вертикальных - не более 300 мм. Шаг ступеней необходимо выдерживать по всей высоте.

У вертикальных лестниц ступени должны отстоять от металлоконструкций не менее чем на 150 мм.

3.5.29. Наклонные лестницы имеют угол наклона к горизонту не более 60°. С двух сторон на них необходимо предусмотреть перила высотой не менее 1000 мм от ступеней. Ступени выполняются плоскими шириной не менее 150 мм из металла, исключающего возможность скольжения.

3.5.30. На вертикальных лестницах, начиная с высоты 2500 мм от основания, устраиваются ограждения в виде дуг, располагаемых друг от друга на расстоянии не менее 800 мм и соединяемых между собой не менее чем тремя продольными полосами.

Расстояние от лестницы до дуги - не менее 700 мм и не более 800 мм при радиусе дуги 350 - 400 мм.

3.5.31. Ограждение в виде дуг не требуется, если лестница проходит внутри решетчатой колонны сечением не более 900´900 мм.

3.5.32 Устройство вертикальных лестниц над люками не допускается. Входы на галереи крановых путей мостовых и подвесных кранов закрываются на замок.

3.5.33 Надземный крановый путь обязательно оборудуется системой заземления, которая выполняется в соответствии с требованиями ПУЭ и настоящими Рекомендациями.

3.5.34. Общий вид системы заземления надземных крановых путей представлен на рис. П.5.22 приложения 5.

3.5.35. Если крановые пути установлены на заземленные металлоконструкции, обеспечивающие электрический контакт, то дополнительного заземления не требуется.

3.5.36. При длине кранового пути более 100 м, поперечные перемычки заземления между направляющими устанавливаются через каждые 50 м.

3.5.37. При выполнении заземления необходимо обеспечить непрерывность электрической цепи, для чего направляющие в начале и конце кранового пути надежно соединяют перемычками, а стыки направляющих соединяются сталью круглой диаметром 6 - 9 мм, или полосовой толщиной не менее 4 мм с площадью сечения не менее 48 мм2, закрепленной с помощью сварки. Перемычки приваривают к штифту, устанавливаемому на нейтральной оси направляющей.

3.5.38. Заземление выполняется либо подсоединением путей к заземляющему контуру питающей подстанции, либо устройством местного очага заземления. В качестве последнего допускается использовать проложенные в земле стальные трубы или металлоконструкции зданий и сооружений. Не допускается использовать в качестве заземлителя чугунные и временные трубопроводы, а также трубопроводы с горючими жидкостями и газами.

3.5.39. При отсутствии указанных заземлителей применяют инвентарные или искусственные заземлители, которые выполняются из расположенных в виде треугольника или по прямой линии трех стержней из стальных труб диаметром 50 - 70 мм или угловой стали размером 50´50 мм и 60´60 мм или круглой стали диаметром 10 - 20 мм и длиной 2 - 3 м.

3.5.40. Заземлители забивают или завинчивают в предварительно вырытую траншею глубиной от 300 мм до 700 мм таким образом, чтобы выступающие концы, к которым приваривают соединительные проводники, имели длину 100 - 200 мм.

3.5.41. Перед засыпкой траншей составляется акт (см. приложение 6. Паспорт кранового пути) освидетельствования скрытых работ, а выступающие концы заземлителей и приваренные к ним проводники окрашивают в черный цвет.

3.5.42. Соединение путей с заземлителем выполняют двумя проводниками с помощью сварки внахлест. Качество сварки проверяют ударами молотка.

3.5.43. После устройства заземления проверяют сопротивление растеканию тока заземляющей системы, оно должно быть для питающей электросети 3-х фазного тока напряжением 380 В с глухозаземленной нейтралью - не более 10 Ом, с изолированной нейтралью - не более 4 Ом.

3.5.44. Сопротивление заземления и удельное сопротивление грунта можно измерять любым современным прибором типа М 416. Результаты проверки необходимо занести в акт сдачи заземления в эксплуатацию (приложение 6).

3.5.45. В процессе эксплуатации, владелец не реже одного раза в три года проверяет состояние элементов заземления путем осмотра с выборочным вскрытием грунта, при разрушении 50 % сечения заземлителей их заменяют (оформляется актом).

3.5.46. В процессе эксплуатации, владелец ежегодно, а также после монтажа путей и каждого ремонта заземлителей, проводит проверку наличия электрической цепи между заземлителями и заземляющими элементами (оформляется актом).

3.5.47. После устройства и ремонта заземлителей, а также в процессе эксплуатации владелец не реже одного раза в 6 лет, должен проводить проверку цепи фаза-нуль в электросетях с глухозаземленной нейтралью (оформляется актом).

3.5.48. Вдоль кранового пути необходимо выставлять знаки безопасности с поясняющими табличками «Входить на крановый путь посторонним запрещается», «Место стоянки крана», выполненными по ГОСТ 12.4.026. Места расположения знаков безопасности следует выбирать согласно ППРк.

3.5.49. Сведения об установленном путевом оборудовании заносят в паспорт кранового пути (приложение 6).

4. Рекомендации по изготовлению элементов и конструкций надземных крановых путей

4.1. Элементы надземного кранового пути изготавливают в соответствии с ГОСТ, ТУ и настоящими Рекомендациями на предприятиях, располагающих техническими средствами, квалифицированными специалистами. Изготовленная продукция должна иметь сертификат качества.

4.2. В технических условиях (ТУ) на изготовление элементов кранового пути приводятся требования по контролю качества сварки и браковочные показатели с учетом настоящих Рекомендаций, порядок приемки отдельных элементов, сведения о применяемых для изготовления материалах.

4.3. Руководящие работники, специалисты и рабочие основных профессий, связанные с изготовлением путей, проходят проверку знаний настоящих Рекомендаций в соответствии с Положением о порядке проверки знаний Правил, норм и инструкций Ростехнадзора и других нормативных документов.

4.4. Разрешение неспециализированному предприятию на изготовление элементов крановых путей для собственных нужд, выдается ведущей организацией, для чего предприятие обязано представить:

сборочные чертежи на элементы путей и их основных узлов;

ТУ на изготовление, утвержденные в установленном порядке;

справку о наличии сварщиков, выдержавших испытание в соответствии с Правилами аттестации сварщиков.

4.5. Разрешение на изготовление элементов крановых путей выдается ведущей организацией по результатам проверки предприятия-изготовителя, рассмотрения представленной им документации и проведения приемо-сдаточных испытаний элементов кранового пути. Отступления от проекта и другой нормативной документации допускаются по согласованию с утвердившей их организацией.

Копию согласования предприятие-изготовитель прилагает к паспорту путей.

4.6. При контроле качества изготовления крановых путей необходимо выполнять требования п.п. 10.1.3 - 10.1.8 раздела 10.

4.7. Требования к изготовлению железобетонных балок крановых путей:

железобетонные балки крановых путей изготавливаются по рабочим чертежам на протяжных стендах заводов сборного железобетона с натяжением напрягаемой арматуры на упоры стенда;

отпуск натяжения арматуры производится при достижении бетоном прочности не ниже 70 % от проектной;

отпуск натяжения арматуры производится плавно, в два-три этапа;

в случае невозможности отпуска натяжения допускается производить разрезку проволок, соблюдая симметричность относительно оси поперечного сечения балки;

не допускается передача на напрягаемую арматуру какой-либо дополнительной нагрузки (от опалубки, арматурных каркасов и т.д.);

геометрические размеры балок должны соответствовать указанным в рабочих чертежах;

допускаемые отклонения от геометрических размеров не должны превышать следующих величин:

а) по длине:

для балок пролетом 6 м ± 6 мм;

для балок пролетом 12 м ± 10 мм;

б) по размерам поперечных сечений ±5 мм.

непрямолинейность поверхностей балок в горизонтальной плоскости, характеризуемая величиной наибольшего зазора между проверяемой поверхностью и прилегающей прямой, соответствующей ребру контрольной металлической рейки длиной 2 м, не должна превышать 3 мм. Искривление балки в горизонтальной плоскости на всю длину не должно превышать 10 мм;

непрямолинейность верхней поверхности балок в вертикальной плоскости не допускается.

4.8. Действительные отклонения размеров железобетонных колонн при изготовлении не должны превышать предельных значений согласно ГОСТ 25628 - Ф. 4, 5, 6.

4.9. Маркировку и качество отделки железобетонных колонн для надземных крановых путей необходимо выполнять в соответствии с ГОСТ 13015 и ГОСТ 23009.

4.10. Концы напрягаемой арматуры не должны выступать за торцевые поверхности колонн более чем на 10 мм и должны защищаться слоем цементно-песчаного раствора.

4.11. Форму, размеры и положения арматуры и закладных изделий в колоннах необходимо выполнять в соответствии с указаниями рабочих чертежей, сварные, арматурные и закладные изделия - в соответствии с ГОСТ 10922.

5. Рекомендации по устройству (монтажу) надземных крановых путей

5.1.1. Устройство крановых путей выполняется специализированной организацией, имеющей аттестованных специалистов.

5.1.2. Устройство пути осуществляется в соответствии с нормами, регламентируемыми Правилами по кранам. Правилами устройства электроустановок (ПУЭ), настоящими Рекомендациями, нормативно-технической и конструкторской документацией, согласованной и утвержденной в установленном порядке.

5.1.3. До начала работ заказчик оформляет и передает исполнителю разрешение на устройство путей, которое ведется в технологической последовательности в соответствии с календарным планом (графиком) выполнения работ.

5.1.4. К устройству путей можно приступить только после установки необходимых ограждений и создания разбивочных геодезических осей.

5.1.5. Окончание подготовительных работ оформляется актом, составленным заказчиком и генподрядчиком с участием исполнителя работ. Рекомендуемая форма акта приведена в приложение 3 к Паспорту кранового пути приложения 6.

5.2. Организационно-техническая подготовка по устройству путей включает:

оформление финансирования, разрешений и допусков на производство работ;

обеспечение проектно-сметной документацией, в том числе документацией по результатам обследования конструкций зданий, где монтируются пути;

обеспечение поставки элементов и конструкций пути и устройство площадок и помещений для их хранения;

обеспечение противопожарным инвентарем, освещением, средствами сигнализации, помещениями бытового обслуживания монтажников;

передачу и приемку закрепленных знаков геодезической разбивки;

обеспечение монтажников картами трудовых процессов и необходимыми средствами малой механизации, ручным инструментом, средствами измерений и контроля, средствами подмащивания, ограждениями и монтажной оснасткой в необходимой номенклатуре и количестве;

оборудование площадки укрупненной сборки узлов и конструкций путей.

5.3. Сопроводительная документация при устройстве крановых путей:

журнал учета выполненных работ;

журнал авторского надзора проектных организаций;

акты освидетельствования скрытых работ и промежуточной приемки ответственных конструкций;

производственную и исполнительскую документацию, которая включает:

комплект рабочих чертежей с надписями о соответствии выполненных работ этим чертежам или внесенным в них, по согласованию с проектной организацией, изменениям, сделанным за время производства работ;

проекты организации работ (ПОР) и производства работ (ППР), которые являются обязательными документами, без которых производство работ по устройству путей запрещается.

Все отступления от этих документов согласовываются с организациями их разработавшими и утвердившими.

Разработка этих документов осуществляется специализированной организацией, отдельные решения могут разрабатываться с привлечением ведущих проектно-технологических институтов.

Состав и содержание ПОР и ППР утверждаются главным инженером организации-исполнителя и согласовываются с заказчиком - владельцем путей.

5.4. Рекомендации по устройству и монтажу отдельных элементов и конструкций кранового пути

5.4.1. Направляющие любых типов, кроме горячекатаного квадрата, не допускается приваривать к опорным подкладкам и другим конструкциям, а также производить резку и прожигать в них отверстия с помощью сварки и других способов, которые могут вызвать деформации, изменение структуры материала и несущей способности конструктивных элементов.

5.4.2. Направляющие в виде стального горячекатаного квадрата (ГОСТ 2591) применяют только со стальными балками крановых путей, использование таких направляющих на железобетонных балках крановых путей допускается только с разработкой специального проекта промежуточных скреплений.

5.4.3. В нейтральной зоне направляющей из горячекатаного квадрата разрешается приваривать вертикальные полки промежуточных скреплений, а к нижнему основанию допускается приварка стальной продольной полосы толщиной не менее 15 мм.

5.4.4. Направляющие в виде двутавра любого типа и размера допускают сварочные и другие огневые работы, не снижающие равнопрочности и обеспечивающие свободное передвижение колес грузоподъемного крана.

5.4.5. Сварной шов неразъемных стыковых скреплений направляющих в виде рельса или горячекатаного квадрата, выполненный в соответствии с ТУ, обрабатывается и зачищается механическим способом заподлицо с плоскостью катания.

5.4.6. Сварные соединения направляющих типа двутавра могут выполняться встык с накладками или под углом 45° без накладок.

5.4.7. Стыки направляющих для опорных кранов следует размещать на расстоянии 1/4 пролета от колонны, а подвесных - под опорами. Количество стыков должно быть минимальным.

5.4.8. Расстояние между стыками должно быть не менее 6 м. Конструкция стыка должна обеспечивать плавный переход ходовых колес крана на стыкуемых участках пути.

5.4.9. Величина допускаемого зазора в стыках и взаимное смещение торцов в плане и по высоте не должны превышать значений приведенных в приложении 3.

5.4.10. Места опирания балок крановых путей на колонны выполняются в виде площадок:

на верхнем торце стойки или одной ветви двухветвевой колонны;

на утолщении колонны (вуте);

на консоли, закрепленной на ветвях колонны;

на пилястре.

5.4.11. Конструкция промежуточных скреплений (в соответствии с проектом) должна обеспечивать возможность регулирования направляющих в вертикальной и горизонтальной плоскостях для компенсации неравномерных просадок и перекосов фундаментов и колонн, а также исключить боковые и продольные смещения направляющих при работе крана.

5.4.12. Расстояние между осями промежуточных скреплений должно соответствовать принятому в проекте. Допускается отклонение между осями промежуточных скреплений от проектного до ±50 мм.

5.4.13. При сплошном опирании направляющих на металлические балки кранового пути для опорных кранов разъемное промежуточное скрепление выполняется согласно ГОСТ 24741, или конструкции типа «GANTREX».

Допускается применение разъемного промежуточного скрепления на крюках (рис. П.5.8 приложения 5) для кранов грузоподъемностью до 5 т.

Для снижения износа рельса и ходовых колес крана рекомендуется применять разъемные, раздельные и нераздельные промежуточные скрепления с применением упругих прокладок ГОСТ 7378 или «GANTREX».

Применение неразъемных промежуточных скреплений, выполненных на планках или фасонках (рис. П.5.7 приложения 5) рекомендуется применять при регулируемых узлах опирания балок на колонну.

5.4.14. При опирании направляющих на опорные элементы через отдельные подкладки может применяться раздельное, разъемное, неразъемное промежуточное скрепление с установкой упругих элементов между направляющей и подкладкой и между подкладкой и опорным элементом (рис. П.5.6 приложения 5)

Допускается устанавливать железнодорожные подкладки раздельного скрепления ГОСТ 16278 и ГОСТ 16279 или ГОСТ 12135 (с дополнительным фрезерованием уклона).

5.4.15. Если путь выполнен с отклонениями, превышающими допуски, то по каждому отклонению необходимо согласование с проектной организацией.

5.4.16. Промежуточные акты на выполненные этапы работ согласовываются и подписываются представителями Заказчика, производителя работ и представителя проектной организации и заносятся в паспорт кранового пути.

5.4.17. Разность отметок опорных поверхностей железобетонных и стальных колонн допускается выравнивать до проектного положения с помощью набора прокладок, общая высота которых не должна превышать 80 мм, а количество прокладок (пластин) не более 5 шт. (рис. П.5.19 приложение 5).

Размеры прокладок в плане должны обеспечивать опирание по всей площади конструкции.

То же при эксплуатации в случае неравномерной просадки колонн.

5.4.18. Все разъемные стыковые скрепления должны иметь полное количество болтовых соединений, смазанных и поставленных поочередно внутрь и наружу колеи.

5.4.19. Не допускается стыковать направляющие неполным количеством болтов, предусмотренных проектом.

5.4.20. Все болтовые соединения затягивают и контрят исправными гаечными ключами, резьба должна выступать над гайкой не менее, чем на 1 - 2 нитки, соединение необходимо регулярно смазывать.

5.4.21. Неразъемные стыковые скрепления направляющих любых типов выполняются с помощью сварки по ГОСТ 5264; 11534 и ТУ.

5.4.22. Сварка осуществляется встык контактной электросваркой (машинный способ) или методом многослойной сварки (ручной способ).

Перед сваркой торцы направляющих тщательно обрабатывают фрезерованием, зазор между ними должен отсутствовать.

5.4.23. При устройстве крановых путей необходимо выполнять требования по контролю качества монтажных работ, ТУ на сварку стыков.

5.4.24. При устройстве (монтаже) надземного кранового пути необходимо учитывать фактическое расстояние пролета крана. Если расстояние между осями направляющих L менее 20 м, то рекомендуется принимать допуск Δ = ±5 мм. Если L более 20 м, то рекомендуется допуск Δ = ±8 мм.

5.4.25. При эксплуатации крановых путей в горячих цехах за счет перепада температур наружного воздуха и внутри цеха, опорные колонны крановых путей испытывают значительные изгибные деформации, что вызывает смещение осей направляющих и отрицательно сказывается на эксплуатации крана.

5.4.26. Если в пролете цеха крановый путь используется для двух и более кранов, а также при температурных и других деформациях колонн, рекомендуется принимать допуск Δ = ±15 мм, который обеспечивается установкой промежуточных скреплений с боковым смещением направляющих в пределах заданного допуск.

5.4.27. Готовность кранового пути (или его части) под монтаж крана оформляется актом, в котором отражаются все отступления от проекта и действующих нормативных документов, а также дефекты и нарушения, допущенные в процессе монтажа.

5.4.28. После окончания работ по устройству (монтажу) кранового пути, его готовят к приемо-сдаточным испытаниям.

6. Подготовка и проведение приемо-сдаточных испытаний надземных крановых путей

6.1. Подготовка к приемо-сдаточным испытаниям включает полное комплексное обследование кранового пути с определением упругой податливости, допускаемые значения величины которой указаны в проекте паспорта кранового пути.

6.2. В случае превышения указанных значений величины упругой просадки производят дополнительную рихтовку и выправку пути.

После чего не менее 20 раз обкатывают путь краном без груза и производят планово-высотную съемку (нивелировку) кранового пути по головке направляющей. При необходимости производят рихтовку-выправку пути и не менее 5 раз обкатывают путь краном с максимальным рабочим грузом и вновь производят нивелировку, а затем рихтовку-выправку просевших участков пути, если они выявлены.

6.3. Контроль планово-высотного положения с записью в паспорт кранового пути, производит организация, имеющая разрешение на проведение данного вида работ.

6.4. После обкатки крановый путь, снабженный комплектом технической документации, предъявляется к приемо-сдаточным испытаниям, которые предназначены для оценки качества выполненных работ по устройству кранового пути, его соответствия технической документации и принятию решения о вводе пути в эксплуатацию.

6.5. Приемо-сдаточные испытания производятся приемочной комиссией, в состав которой входят представители заказчика (основного потребителя), разработчика проекта пути и исполнителя работ, а также эксперты сторонних организаций и органов, осуществляющих надзор за безопасной эксплуатацией крановых путей.

6.6. Председателем комиссии назначается представитель заказчика, состав комиссии формирует и утверждает разработчик проекта.

6.7. При приемке кранового пути приемочной комиссии представляется комплект технической документации:

проект и паспорт кранового пути;

паспорта или сертификаты, инструкции по эксплуатации, описания, рабочие чертежи и другая документация на поставленные материалы и комплектующие изделия, требующие совместного рассмотрения;

проект производства работ краном (ППРК);

акт комплексного обследования;

разрешение Ростехнадзора на эксплуатацию подъемных сооружений.

6.8. При приемке кранового пути комиссия проверяет систему организации на предприятии службы надзора и содержания крановых путей.

6.9. В процессе приемки определяют упругую просадку кранового пути с использованием номинального груза, который необходимо располагать в крайнем положении со стороны проверяемой направляющей.

6.10. Выполняется геодезическая съемка планово-высотного положения крановых путей.

6.11. Результаты рассмотрения технической документации, испытаний и обследований крановых путей заносят в паспорт кранового пути, который окончательно заполняется владельцем сразу же после сдачи кранового пути в эксплуатацию (приложение 6).

6.12. Решение о вводе кранового пути в эксплуатацию утверждается председателем комиссии и оформляется в паспорте (приложение 6)

6.13. Подписанный и утвержденный паспорт кранового пути является неотъемлемой частью документации на крановый путь.

6.14. Приемо-сдаточные испытания кранового пути рекомендуется совмещать со статическими и динамическими испытаниями крана при его полном техническом освидетельствовании.

7. Рекомендации по эксплуатации надземных крановых путей

7.1. Общие положения

7.1.1. Эксплуатация надземных крановых путей осуществляется в соответствии с Правилами по кранам ПБ-10-382-00 и настоящими Рекомендациями.

7.1.2. Организация, а также индивидуальные предприниматели, осуществляющие эксплуатацию путей должны иметь:

комплект эксплуатационной документации;

специально организованную Службу технического надзора;

аттестованных ИТр по надзору за безопасной эксплуатацией зданий и сооружений с крановыми нагрузками и ИТР, ответственных за содержание в исправном состоянии зданий и сооружений с крановыми нагрузками.

7.1.3. Комплект эксплуатационной документации включает:

проектно-конструкторскую, приемо-сдаточную и нормативную документацию;

справку о фактическом нагружении кранового пути;

журналы наблюдений за техническим состоянием путей;

предписания органов Ростехнадзора и состояние их выполнения;

аттестационные документы у обслуживающего персонала (состав и квалификация);

необходимое оборудование, приборы и инструменты для наблюдений за техническим состоянием путей и выполнения ремонтных работ.

7.2. Служба технического надзора

7.2.1. Для обеспечения безопасной эксплуатации зданий и сооружений с крановыми нагрузками организацией-владельцем создается специальная Служба технического надзора.

Основная задача Службы технического надзора - осуществление систематического контроля за состоянием элементов и конструкций здания или сооружения с целью своевременного выявления дефектов и повреждений и оценки их влияния на несущую способность и эксплуатационные свойства - обеспечить соответствие параметров нагрузок и воздействий величинам, принятым при проектировании и оговоренных нормативными документами.

7.2.2. Структура и численность Службы технического надзора определяется владельцем с учетом условий эксплуатации и в соответствии с Типовыми нормами периодичности, трудоемкости и продолжительности технического обслуживания и ремонта зданий и сооружений с крановыми нагрузками и согласовывается с органами Ростехнадзора.

7.2.3. Служба технического надзора обязана:

знакомиться с технической документацией (проектной, архитектурно-строительной и конструкторской; с актами передачи зданий и сооружений в эксплуатацию и на скрытые работы; с журналами производства работ; с материалами о проведенных ремонтах, реконструкциях, обследованиях, длительных наблюдениях, контрольных измерениях или испытаниях). При этом следует обращать внимание на отступления от проектной и нормативной документации, а также на важную информацию, содержащуюся в актах на скрытые работы и других дополнительных материалах;

вести паспорт на крановые пути, который составляется сразу же после сдачи крановых путей в эксплуатацию на основании следующих документов:

рабочих чертежей на крановый путь;

актов освидетельствования скрытых работ;

актов промежуточной приемки ответственных конструкций;

сертификатов и паспортов на материалы и изделия;

паспортов сварщиков и др.;

заключения о правильности выполненных в натуре конструкций, справки организации, принимающей сооружение в эксплуатацию, об устранении недоделок, выявленных комиссией по технической приемке объекта;

разрабатывать ПОР и ППР, технологические карты, ТУ, должностные инструкции для специалистов и обслуживающего персонала;

обеспечивать специалистов правилами, должностными инструкциями и руководящими материалами, а обслуживающий персонал производственными инструкциями по безопасной эксплуатации путей. Обеспечивать выполнение указанных документов специалистами и обслуживающим персоналом;

производить текущий планово-предупредительный и выборочный (внеплановый) ремонт путей и осуществлять контроль за восстановлением элементов и конструкций путей, а также за их своевременной очисткой;

фиксировать деформации конструкций, размеры их смещений, условия опирания элементов, качество сопряжения и стыков, нарушение сплошности, а при необходимости прочность материала конструкции;

производить периодические инструментальные обследования путей с целью контролирования расчетных параметров, геометрических размеров пролетов и поперечных сечений элементов и конструкций путей, просадок и наклона колонн, прогибов опорных балок, глубины и ширины раскрытия трещин.

7.2.4. Для проведения инструментальных обследований Служба технического надзора должна знать методы контроля, браковочные показатели и иметь комплект соответствующих приборов, инструментов и оборудования (приложение 8).

7.3. Ответственные специалисты по надзору за безопасной эксплуатацией и содержанием в исправном состоянии зданий и сооружений с крановыми нагрузками

7.3.1. Для надзора за безопасной эксплуатацией и содержанием зданий и сооружений с крановыми нагрузками в исправном состоянии владелец назначает ИТР по надзору за безопасной эксплуатацией зданий и сооружений с крановыми нагрузками и ИТР ответственного за содержание в исправном состоянии зданий и сооружений с крановыми нагрузками.

7.3.2. Ответственные специалисты назначаются после обучения и проверки знания ими «Правил по кранам» и настоящих Рекомендаций, соответствующих должностных, а также производственных инструкций для обслуживающего персонала экзаменационной комиссией с участием инспектора Ростехнадзора и выдачей им соответствующего удостоверения.

7.3.3. Периодическая проверка знаний ИТР по надзору за безопасной эксплуатацией зданий и сооружений с крановыми нагрузками и ИТР, ответственных за содержание в исправном состоянии зданий и сооружений с крановыми нагрузками, проводится один раз в три года.

7.3.4. Номер и дата приказа о назначении ответственных лиц по надзору за безопасной эксплуатацией и содержание в исправном состоянии зданий и сооружений с крановыми нагрузками, а также их должность, фамилия, имя, отчество, номер удостоверения и заносят в паспорт крановых путей.

7.3.5. Эти сведения заносят каждый раз в паспорт крановых путей после назначения новых ответственных лиц по надзору за безопасной эксплуатацией и содержанием в исправном состоянии зданий и сооружений с крановыми нагрузками.

7.3.6. На время отпуска, командировки, болезни или в других случаях отсутствия ответственного лица по надзору за безопасной эксплуатацией и содержанием в исправном состоянии зданий и сооружений с крановыми нагрузками, выполнение его обязанностей возлагается приказом на работника, заменившего его по должности, имеющего соответствующую квалификацию и прошедшего проверку знаний настоящих Рекомендаций без занесения его фамилии в паспорт крановых путей.

7.3.7. Инженерно-технический работник по надзору за безопасной эксплуатацией зданий и сооружений с крановыми нагрузками обязан:

осуществлять надзор за техническим состоянием и безопасной эксплуатацией зданий и сооружений с крановыми нагрузками и принимать меры по предупреждению нарушений правил безопасности;

участвовать при освидетельствовании крановых путей и выдавать разрешение на их эксплуатацию, в случаях, предусмотренных настоящими Рекомендациями;

контролировать выполнение выданных органами Ростехнадзора предписаний, а так же соблюдение графиков периодического осмотра и ремонта крановых путей и здания или сооружения в целом;

проверять соблюдение установленного настоящими Рекомендациями порядка допуска рабочих к обслуживанию крановых путей, а также участвовать в комиссиях по аттестации и периодической проверке знаний обслуживающего и ремонтного персонала, а также по проверке знаний ИТР, ответственных за содержание в исправном состоянии зданий и сооружений с крановыми нагрузками;

контролировать наличие и выполнение производственных инструкций обслуживающим персоналом и ИТР, ответственным за содержание в исправном состоянии зданий и сооружений с крановыми нагрузками;

проверять выполнение правил безопасности, планово-предупредительных ремонтов и технологических регламентов при производстве работ, обращая особое внимание на применение работающими правильных приемов работы и мер личной безопасности, соблюдение системы нарядов-допусков при выполнении работ.

7.3.8. При выявлении неисправностей, а также нарушений настоящих Рекомендаций обслуживания крановых путей, ИТР по надзору за безопасной эксплуатацией зданий и сооружений с крановыми нагрузками принимает меры по устранению неисправностей и нарушений, а в случае необходимости останавливает работу грузоподъемного крана.

7.3.9. Инженерно-технический работник по надзору за безопасной эксплуатацией зданий и сооружений с крановыми нагрузками не допускает эксплуатацию путей при:

выявлении неисправностей, изложенных в приложении 7;

истечении срока технического освидетельствования;

обслуживании крановых путей не аттестованными рабочими и специалистами, а также, если не назначены ИТР, ответственные за содержание в исправном состоянии зданий и сооружений с крановыми нагрузками;

отсутствии паспорта и эксплуатационной документации (паспорт) на крановые пути;

не выполнении выданных Ростехнадзором предписаний;

неисправности тупиковых упоров, ограничителей передвижения, системы заземления.

7.3.10. Инженерно-технический работник, ответственный за содержание в исправном состоянии зданий и сооружений с крановыми нагрузками, обязан обеспечить:

содержание в исправном состоянии здания и сооружения с крановыми нагрузками, включая крановые пути (если содержание последних в исправном состоянии не возложено на другие службы), проведением периодических осмотров, технического обслуживания и ремонтов в установленные графиком сроки, систематического контроля за правильным ведением журнала периодических осмотров и своевременного устранения выявленных неисправностей, а также личного осмотра крановых путей в установленные сроки;

обслуживание и ремонт крановых путей выполняются обученным и аттестованным персоналом, имеющим необходимые знания и достаточные навыки для выполнения возложенных на него обязанностей, а также осуществляющим периодическую проверку знаний обслуживающего персонала;

выполнение обслуживающим персоналом производственных инструкций по обслуживанию крановых путей;

своевременную подготовку крановых путей к техническому освидетельствованию и обследованию;

составление графиков технических обслуживаний и осмотров, планово-предупредительных ремонтов, а также должностных инструкций для обслуживающего персонала;

выполнение установленного порядка допуска обслуживающего персонала на крановые пути для производства ремонтных и других работ;

вывод в ремонт крановых путей согласно графику;

хранение паспорта и другой технической документации на крановые пути, а также ведение журналов периодической проверки знаний обслуживающего персонала (слесарей, электромонтеров и др.);

выполнение предписаний органов Ростехнадзора и ИТР по надзору за безопасной эксплуатацией крановых путей.

7.3.11. Для предприятий, на которых не могут быть назначены все ответственные лица, предусмотренные настоящими Рекомендациями, по согласованию с органом Ростехнадзора выполнение обязанностей ИТР, ответственного за содержание в исправном состоянии зданий и сооружений с крановыми нагрузками, может возлагаться по договору на работников специализированной организации инженерного центра.

7.3.12. Повторная проверка знаний обслуживающего персонала (слесарей, электромонтеров и др.) квалификационной комиссией проводится:

периодически, не реже одного раза в 12 мес.;

при переходе работника на другое рабочее место (цех, участок и т.д.);

по требованию ИТР по надзору за безопасной эксплуатацией зданий и сооружений с крановыми нагрузками или инспектора Ростехнадзора.

Повторная проверка знаний проводится в объеме должностных инструкций.

Участие инспектора в повторной проверке знаний обслуживающего персонала не обязательно.

В необходимых случаях орган Ростехнадзора может потребовать проведения аттестации с участием своего представителя.

О дате проведения экзаменов орган Ростехнадзора (инспектор) уведомляется не позднее, чем за 10 дней.

7.3.13. Результаты аттестации и периодической проверки знаний обслуживающего персонала оформляются протоколом с отметкой в удостоверении.

7.3.14. Эксплуатационная документация по крановым путям включает:

паспорт на крановый путь;

документы аттестации ответственных специалистов и обслуживающего персонала (состав и квалификация);

проект и акты монтажа.

7.4. Надзор и содержание

7.4.1. Надзор и содержание находящихся в эксплуатации надземных крановых путей включает ежесменные, текущие и периодические осмотры, технические освидетельствования и экспертизу промышленной безопасности зданий и сооружений с крановыми нагрузками.

7.4.2. Ежесменно крановщик визуально оценивает состояние пути, путевого оборудования и несущих строительных конструкций.

7.4.3. При текущих и периодических осмотрах визуально оценивается состояние несущих строительных конструкций, стыков, соединений, ограждающих конструкций, узлов крепления и т.п.

7.4.4. Периодичность текущих осмотров путей зависит от режима эксплуатации крана, вида нагружения, физического состояния среды и степени ее воздействия на железобетонные и стальные конструкции путей (табл. П.9.3 приложения 9)

Периодичность текущих осмотров окончательно устанавливается стандартом предприятия, принимая во внимание особенности эксплуатации пути на конкретном объекте. Перечень и формы рабочей и отчетной документации для содержания, ремонта и обследования надземных крановых путей приведены в приложении 9, табл. П.9.1 - П.9.2.

7.4.5. Годовой график текущих осмотров составляет Служба технического надзора и утверждает главный инженер предприятия.

7.4.6. Результаты текущих осмотров с указанием выявленных дефектов и повреждений (прогибы, отклонения, ширина и длина раскрытия трещин, их направление, отслоение защитного слоя бетона и пр.) фиксируют в паспорте кранового пути.

7.4.7. В случае выявления грубых нарушений правил технической эксплуатации помимо фиксирования в журнале, следует составлять акты, содержащие перечень выявленных нарушений и повреждений с указанием предписываемых мероприятий и сроков их исполнения. В составлении актов принимает участие Служба технического надзора.

7.4.8. Контроль за устранением выявленных дефектов и повреждений осуществляет ИТР по надзору за безопасной эксплуатацией зданий и сооружений с крановыми нагрузками.

7.4.9. Периодические осмотры проводятся Службой технического надзора два раза в год - весной и осенью их желательно совмещать с текущими осмотрами.

7.4.10. Весной осмотры следует проводить после таяния снега с целью проверки состояния путей и выявления появившихся за зимний период повреждений и дефектов, определения работ по текущему ремонту путей, в летний период и капитальному ремонту путей для включения в план следующего года.

Осенние осмотры проводят с целью проверки готовности путей к работе в зимних условиях и проверки выполнения работ, намеченных при весеннем осмотре.

7.4.11. Результаты работ по общим осмотрам оформляются актами и заносятся в паспорт кранового пути, в актах указываются все недостатки и неисправности, выявленные при эксплуатации путей, а также мероприятия и сроки по их устранению.

7.4.12. Контроль по устранению выявленных дефектов и повреждений возлагается на ИТР по надзору за безопасной эксплуатацией зданий и сооружений с крановыми нагрузками.

7.4.13. Внеплановые (дополнительные) осмотры крановых путей проводятся при особо неблагоприятных метеорологических условиях (ливнях, таянии снега и т.п.), а также при наличии неустойчивых участков пути. При необходимости проводят инструментальную проверку и выверку элементов кранового пути.

7.4.14. При обнаружении дефектов и повреждений аварийного характера в процессе проведения плановых (текущих) и внеплановых (дополнительных) осмотров немедленно уведомляется руководство организации, предписанием запрещается работа крана и ограждается аварийный участок.

7.4.15. При проведении осмотров устанавливается техническое состояние конструкции путей в соответствии с классификацией.

7.4.16. Интенсивность воздействий на несущие строительные конструкции путей определяется с учетом грузоподъемности, режимом и группы нагружения кранов, приведенных в утвержденных Госгортехнадзором «Правилах устройства и безопасной эксплуатации грузоподъемных кранов» (ПБ 10-382-00).

Отраслевые сроки эксплуатации строительных конструкций до капитального ремонта или полной замены даны в табл. П.8.5 - П.8.8 приложения 8.

Периодические осмотры, техническое обслуживание, а также ремонт и рихтовка путей проводятся в сроки, установленные графиком ППР, составленным с учетом технического состояния путей.

7.4.17. В случае обнаружения опасных дефектов и повреждений проводят ежедневные наблюдения за элементами и конструкциями с признаками опасных разрушений и постоянные длительные наблюдения за состоянием конструкций с привлечением специализированных организаций и специальных методов измерения параметров.

7.4.18. Владелец путей обеспечивает проведение указанных работ согласно графику и своевременное устранение неисправностей.

7.4.19. Результаты осмотров, технических обслуживаний, сведения о ремонтах путей заносятся в паспорт путей.

7.4.20. Сведения о выявленных повреждениях, вызывающих необходимость внеочередного освидетельствования пути заносят в паспорт пути.

7.4.21. Находящиеся в эксплуатации пути подвергаются частичному освидетельствованию, которое проводится не реже одного раза в год.

Полное и внеочередное техническое освидетельствование проводится при экспертизе промышленной безопасности зданий и сооружений с крановыми нагрузками.

Полное техническое освидетельствование путей проводится не реже одного раз в 3 года, для путей редко используемых кранов - (путей класса точности Т 4) - не реже одного раза в 5 лет. Отнесение путей к категории редко используемых производится владельцем путей по согласованию с органами Ростехнадзора.

7.4.22. Внеочередное (внеплановое) техническое освидетельствование крановых путей проводиться вне зависимости от срока ранее проведенного или повторного обследования в следующих случаях:

по требованию органов Ростехнадзора при обнаружении повреждений и дефектов, угрожающих безопасной эксплуатации крана;

после землетрясений, наводнений, пожаров и других стихийных бедствий, повлекших за собой изменение свойств и параметров конструкций;

по запросу владельца крановых путей или грузоподъемного механизма.

7.4.23. Частичное техническое освидетельствование проводится владельцем путей с записью в паспорте крановых путей. Полное техническое освидетельствование крановых путей проводится специализированной организацией с занесением результатов в журнал освидетельствования и составлением акта и дефектной ведомости.

7.4.24. При техническом освидетельствовании крановых путей проводят:

осмотр элементов кранового пути и путевого оборудования;

инструментальную выверку положения направляющих и элементов путевого оборудования;

приборно-инструментальную диагностику состояния и положения элементов кранового пути.

7.4.25. При полном техническом освидетельствовании проверяется наличие, оценивается фактическое состояние и проводится инструментальная выверка положения элементов кранового пути и путевого оборудования, проводятся испытания тупиковых упоров, ограничителей передвижения и элементов заземления пути.

7.4.26. При внеочередном техническом освидетельствовании приказом по организации-владельцу путей, назначается комиссия, в которую кроме представителей службы технического надзора входят представители службы охраны труда и техники безопасности и других подразделений организации.

7.4.27. При полном техническом освидетельствовании, кроме статических и динамических испытаний и полного контроля состояния пути, и путевого оборудования проводится проверка всей технической и аттестационной документации ИТР, ответственных за содержание в исправном состоянии зданий и сооружений с крановыми нагрузками.

Записью в паспорте путей, подвергнутых полному техническому освидетельствованию, подтверждается, что пути отвечают настоящим Рекомендациям, находятся в исправном состоянии и выдержали испытания. Разрешение на дальнейшую работу путей в этом случае выдает ИТР по надзору за безопасной эксплуатацией зданий и сооружений с крановыми нагрузками.

7.4.28. В процессе эксплуатации надземных крановых путей, кроме осмотров и освидетельствований, они периодически подвергаются экспертизе промышленной безопасности, которая одновременно проводится для зданий и сооружений с крановыми нагрузками.

7.4.29. Основная цель комплексного обследования:

определить техническое состояние путей, их узлов и соединений для объективной оценки степени пригодности путей к дальнейшей эксплуатации;

установить фактическое качественное состояние элементов и конструкций кранового пути и путевого оборудования;

выявить наличие соответствующих разрешений и сертификатов качества;

проверить систему организации эксплуатации крановых путей: наличие приказов о назначении лиц, ИТР по надзору и за безопасной эксплуатацией и ИТР, ответственных за содержание в исправном состоянии зданий и сооружений с крановыми нагрузками, наличие у них соответствующих удостоверений о подготовке и аттестации в Учебных центрах согласно требованиям ПБ-10-382-00 в объеме учебных программ, утвержденных Ростехнадзором, наличие Службы технического надзора и аттестационных удостоверений у обслуживающего персонала;

выявить наличие и проверить комплектность технической, проектно-конструкторской и нормативной документации на устройство и эксплуатацию крановых путей;

проверить наличие и порядок заполнения паспорта крановых путей, а также наличие необходимых приборов, приспособлений и инструмента для контроля параметров и геометрических размеров элементов крановых путей при их эксплуатации;

установить соответствие выполненных монтажных работ и технического обслуживания путей требованиям ПБ-10-382-00, ГОСТам и другой нормативной документации;

проверить соответствие параметров эксплуатационных сред, климатических воздействий и динамических нагрузок величинам, принятым при проектировании или установленным нормативными документами;

провести оценку качества и полноту выполнения профилактических работ по эксплуатации путей;

проверить устранение ранее выявленных дефектов и повреждений крановых путей и замечаний инспектора Ростехнадзора.

7.4.30. Периодичность обследования для надземных крановых путей принимается равной 3 годам. В соответствии с отраслевыми нормами (приложение 9) обследования зданий, сооружений с крановыми нагрузками при односменном режиме работы проводятся: первичное обследование через 10 лет, повторное обследование через 5 лет.

Двухсменный режим работы учитывается коэффициентом - 0,8; трехсменный - 0,6.

7.4.31. Обследование строительных элементов и конструкций крановых путей проводится при следующих ситуациях:

при регистрации вновь устанавливаемого крана на вновь смонтированные или ранее эксплуатировавшиеся пути;

аварийном состоянии путей;

реконструкции путей;

необходимости увеличения нагрузок;

длительной эксплуатации путей в сложных условиях;

отсутствии технической документации;

истечении срока эксплуатации крановых путей более 3-х лет или установленного предыдущим обследованием;

реконструкции и техническом перевооружении, связанными с изменением условий эксплуатации.

7.4.32. Внеочередное обследование путей проводится:

по требованию органов Ростехнадзора при обнаружении дефектов и повреждений угрожающих безопасной эксплуатации крана;

после стихийных бедствий (наводнений, землетрясений, пожаров и т.п.), повлекших за собой изменение свойств и параметров элементов кранового пути;

по запросу владельца крановых путей.

7.4.33. Специализированная организация, проводящая экспертизу промышленной безопасности зданий и сооружений с крановыми нагрузками должна:

иметь разрешение на данный вид деятельности и аттестованных специалистов;

обладать необходимыми техническими средствами для проведения экспертизы и оценки технического состояния зданий и сооружений с крановыми нагрузками;

иметь необходимые нормативные документы по экспертизе промышленной безопасности зданий и сооружений с крановыми нагрузками издать приказ о назначении комиссии с указанием ее персонального состава и председателя комиссии, который является одновременно ответственным за технику безопасности при проведении работ (см. раздел 11 настоящих Рекомендаций);

ввести в состав комиссии по экспертизе промышленной безопасности не менее трех человек с инженерно-строительным образованием;

иметь членов комиссии, аттестованных Учебным центром, имеющим соответствующее разрешение в объеме учебных программ утвержденных Ростехнадзором;

иметь председателя комиссии аттестованного как специалиста по экспертизе промышленной безопасности не ниже второй категории и квалификации с объемом знаний и опытом практической работы по проектированию, устройству, эксплуатации и обследованию зданий и сооружений с крановыми нагрузками не менее одного года.

7.4.34. Требования к специалистам по экспертизе промышленной безопасности зданий и сооружений с крановыми нагрузками:

специалист III-ей категории (I-го уровня) должен знать конструктивные особенности и уметь определять дефекты элементов и конструкций зданий и сооружений с крановыми нагрузками в объеме своей специализации и требований нормативной документации;

специалист II-ой категории (II-го уровня) должен обладать знаниями и навыками специалиста III-ей категории (I-го уровня) и принимать решения о возможности дальнейшей эксплуатации зданий и сооружений с крановыми нагрузками;

специалист I-ой категории (III-го уровня) должен обладать знаниями и навыками специалиста II-ой категории (II-го уровня), устанавливать причины несоответствия состояния зданий и сооружений с крановыми нагрузками требованиям нормативной документации и давать рекомендации по их устранению.

7.4.35. Организации и индивидуальные предприниматели - владельцы опасных производственных объектов с крановыми нагрузками перед проведением экспертизы промышленной безопасности обязаны:

издать приказ о проведении экспертизы опасного производственного объекта;

подготовить опасный производственный объект (здание или сооружение) для выполнения работ по экспертизе промышленной безопасности;

подготовить проектно-эксплуатационную документацию (включая паспорт опасного производственного объекта), расчеты по элементам конструкций кранового пути и т.п.

7.4.36. При проведении экспертизы промышленной безопасности опасного производственного объекта (здания или сооружения) с крановыми нагрузками подлежат рассмотрению:

проектно-конструкторская и эксплуатационная документация;

сертификаты, паспорта, удостоверяющие качество конструкций и материалов;

заключения ранее проводимых экспертиз;

определяется пространственное положение строительных конструкций, их фактические сечения и соединения;

проверяется соответствие строительных конструкций проектной документации;

выявляются дефекты и повреждения элементов и узлов конструкций;

определяются фактические свойства материалов конструкций;

выполняется проверочный расчет конструкций с учетом выявленных при обследовании дефектов и повреждений, фактических или прогнозируемых нагрузок.

7.4.37. Заключение экспертизы промышленной безопасности опасного производственного объекта с крановыми нагрузками, выполненное по результатам работы, содержит:

вводную часть;

данные о заказчике;

цель экспертизы;

сведения о рассмотренных в процессе экспертизы документах;

краткая характеристика и назначение объекта экспертизы;

результаты проведения экспертизы;

заключительную часть.

В приложении 9 приведен перечень форм отчетности документации к экспертному заключению.

7.4.38. Заключение экспертизы промышленной безопасности опасного производственного объекта с крановыми нагрузками составляется в 2-х экземплярах, которые подписываются руководителем экспертной организации, прошиваются с указанием количества сшитых страниц и заверяется печатью экспертной организации.

Первые экземпляры заключения экспертизы передаются владельцу, как документы постоянного хранения, вторые экземпляры хранятся 3 года в организации, проводившей экспертизу.

Результаты экспертизы используются инспекторами Ростехнадзора при выдаче предписаний и принятия решения о возможности дальнейшей эксплуатации опасного производственного объекта с крановыми нагрузками.

7.4.39. Заключение экспертизы по вопросам промышленной безопасности не подлежит утверждению Ростехнадзором, если оно подготовлено экспертной организацией, которой не предоставлено право проведения экспертизы.

Экспертиза промышленной безопасности считается не выполненной, если представленные документы по ней возвращены на доработку или заключение экспертизы не представлено на утверждение в течение 1 (одного) месяца с момента его подписания руководителем экспертной организации.

7.4.40. По результатам экспертизы при необходимости следует:

произвести рихтовку и выправку крановых путей по уровню;

заменить дефектные направляющие, опорные элементы, промежуточные и стыковые скрепления;

подтянуть ослабленные болтовые соединения;

обеспечить правильность установки и закрепления тупиковых упоров и ограничителей передвижения, а при необходимости произвести их окраску.

7.4.41. Ответственность сторон.

Организации и индивидуальные предприниматели - владельцы опасных производственных объектов с крановыми нагрузками несут ответственность за соблюдением требований правильной эксплуатации, а специализированная организация - исполнитель работ по экспертизе промышленной безопасности, несет ответственность за допущенные нарушения настоящих Рекомендаций.

8. Дефекты и повреждения элементов и конструкций зданий и сооружений с крановыми нагрузками

8.1. При эксплуатации зданий и сооружений с крановыми нагрузками имеют место различные виды дефектов и повреждений, основные из которых даны в приложениях 3 и 7.

8.2. Появление дефектов и повреждений объясняются нарушением правил эксплуатации зданий и сооружений и ошибками, допущенными при их проектировании, изготовлении, монтаже и ремонте.

8.3. В нормативной литературе существуют различные подходы к классификации дефектов и повреждений, поэтому в настоящих Рекомендациях не выдержана терминологическая строгость, а дефекты и повреждения называются дефектами.

8.4. Все дефекты и повреждения можно условно разделить на две группы:

дефекты и повреждения общего характера;

дефекты и повреждения элементов и конструкций зданий и сооружений опасных производственных объектов с крановыми нагрузками.

8.5. К первой группе дефектов и повреждений относятся:

отклонение элементов и конструкций от проектного положения (в плане, по высоте, крены и наклоны осей);

прогибы и смещение элементов и конструкций, превышающие проектные и нормативные величины;

смещения в узлах, сопряжениях и несоответствие размеров опорных площадок проектным;

отсутствие связей, креплений в узлах, стыках и соединениях;

неравномерные осадки фундаментов;

отсутствие свободы перемещений в деформационных и температурных швах;

повышенные по сравнению с требованиями санитарных норм, амплитуды колебаний конструкций.

8.6. Ко второй группе относятся дефекты и повреждения железобетонных, стальных и каменных элементов и конструкций зданий и сооружений опасных производственных объектов с крановыми нагрузками.

8.7. Для железобетонных элементов и конструкций кранового пути характерны следующие дефекты и повреждения:

трещины;

раковины;

сколы;

выпучивание бетона;

коррозия бетона и арматуры;

нарушение сцепления арматуры с бетоном;

деформации отдельных элементов и конструкций;

расстройство основных соединений и прикрепляемых элементов;

уменьшение площади сечения бетона;

отслоение защитного слоя;

выколы;

повреждение гидроизоляции;

изменение механических (прочность, модуль) и коррозионных характеристик бетона в процессе эксплуатации от агрессивных, температурно-влажностных и циклических нагрузок и воздействий (части сечений, длины, или по всему сечению, длине элемента);

механические и коррозионные повреждения арматуры, приводящие к уменьшению ее площади (разрезы, надрезы, коррозия) и к изменению механических характеристик;

выход арматуры из работы вследствие выпучивания;

отклонение размеров от предусмотренных проектом и нормами (расположение стержней арматуры в сечении, длина зоны анкеровки, толщина защитного слоя и пр.).

8.8. Наиболее распространенным видом дефектов и повреждений железобетонных элементов и конструкций являются трещины.

8.9. Трещины могут свидетельствовать о нормальной работе конструкции, или являться признаком ее неблагополучного состояния.

8.10. Трещины являются дефектами в следующих случаях:

когда ширина их раскрытия превышает допустимую по нормам;

когда они расположены в местах, где их появление недопустимо, либо когда они влияют на снижение несущей способности конструкции (например, продольные или косые трещины в зоне анкеровки предварительно напряженной арматуры, косые трещины, пересекающие все сечение колонны, продольные трещины в плитах между ребрами и полкой и пр.);

когда они образовались в предварительно напряженных конструкциях, для которых появление трещин не допускается по условиям эксплуатации.

8.11. Трещины, как правило, выявляются путем визуального осмотра. При этом необходимо фиксировать характер и расположение трещин, а также установить величину их раскрытия, степень опасности и причины их появления.

8.12. В зависимости от причин появления, трещины можно разделить на:

технологические;

коррозионные;

температурно-усадочные;

трещины, вызванные растягивающими напряжениями от силовых воздействий.

8.13. Основные причины появления трещин в железобетонных элементах и конструкциях:

трещины в защитном слое бетона вдоль стержней арматуры (продольной и поперечной) могут образовываться вследствие образования продуктов коррозии металла;

вертикальные трещины на гранях колонн, при отсутствии коррозии арматуры, могут появляться в результате чрезмерного выгиба стержней рабочей арматуры вследствие увеличенного, по отношению к нормам, шага хомутов, либо вследствие перегрузки колонны;

наклонные трещины на приопорных участках изгибаемых конструкций (балок, опорных узлов ферм, прогонов, продольных ребер плит), раскрытие свыше допустимых пределов для соответствующих категорий трещиностойкости, а для многих не оговоренных случаев - свыше 0,5 мм, свидетельствуют, в основном, о перегрузке конструкции или о ее недостаточной несущей способности по поперечной силе;

вертикальные трещины в продольных участках изгибаемых, в т.ч. преднапряженных конструкций, раскрытые выше допустимых пределов для соответствующих категорий трещиностойкости, а для большинства не оговоренных случаев - 0,3 - 0,5 мм, могут служить признаками перегрузки конструкции или недостаточной ее несущей способности по изгибаемому моменту или ее повышенной деформативности;

продольные некоррозионные и неусадочные трещины в сжатых зонах изгибаемых элементов (балки, прогоны и пр.) и в сжатых и внецентренно сжатых элементах (колонны, верхние пояса ферм и пр.), особенно в сочетании с откалывающимися частями, могут служить признаками разрушения сжатого бетона и возможностью обрушения конструкции;

раскрытие трещин в изгибаемых конструкциях до 0,5 - 1,0 мм может свидетельствовать о перегрузке конструкций, а раскрытие трещин до величины в несколько миллиметров является признаком аварийного состояния;

наличие на приопорном участке наклонной трещины, пересекающей зону расположения продольной напряженной рабочей арматуры и, восходящей на нижнюю грань края опоры, свидетельствует о нарушении анкеровки предварительно напряженной арматуры;

наличие у торца конструкции горизонтальных трещин вдоль предварительно напряженной арматуры, иногда со скалыванием бетона по боковым плоскостям, также может свидетельствовать о нарушении анкеровки и проскальзывании арматуры на торцах;

величина раскрытия нормальных и наклонных трещин в растянутой зоне балок с обычной арматурой не должна превышать 0,3 мм;

трещины, перпендикулярные растянутой арматуре, с величиной раскрытия более 0,5 мм в элементах с арматурой периодического профиля и более 0,7 мм с гладкой арматурой, могут свидетельствовать о текучести растянутой арматуры с бетоном и об исчерпании несущей способности элемента;

одиночные трещины в изгибаемых или внецентренных элементах с раскрытием 0,5 - 1 мм при не агрессивных окружающих средах являются безопасными и не требуют срочных мер по ремонту и защите арматуры от коррозии;

для железобетонных колонн наиболее опасно появление продольных трещин, направленных вдоль арматуры, что свидетельствует о разрушениях, связанных с потерей устойчивости (выпучиванием) продольной сжатой арматуры, например, из-за недостаточного количества поперечной арматуры.

В колоннах также могут возникать наклонные и перпендикулярные продольной оси трещины, сколы бетона (во внутренне сжатых колоннах) и выпучиванием арматуры.

8.14. При эксплуатации железобетонных элементов и конструкций широкое распространение получил такой дефект как уменьшение площади сечения бетона, причины появления которого могут быть следующие:

коррозия бетона части сечения;

действие внутренних усилий (распор, продукты коррозии арматуры) и воздействие сил сжатия - выколы;

образование при изготовлении конструкций внутренних пустот размером более среднего размера крупного заполнителя - каверна;

образование при изготовлении конструкций крупной пустоты, выходящей на поверхность - раковины;

образование в результате случайных ударных воздействий пустоты, примыкающей к грани сечения.

8.15. Дефекты бетонирования (раковины, пустоты, каверны, места с малым защитным слоем бетона и др.), а также сколы и отслоение бетона следует оценивать как нарушение сплошности конструкции, ухудшение защиты арматуры от коррозии, снижение долговечности, а в отдельных случаях и несущей способности конструкции.

Выколы на бетонной поверхности свидетельствуют о протечках воды и начале коррозионных процессов в бетоне.

8.16. Ржавые пятна на поверхности бетона, потеки на стенках балок, а также трещины с раскрытием 1 - 6 мм, сколы и отслоение бетона, направленные вдоль арматуры, свидетельствуют о коррозии арматуры в конструкции.

8.17. Для металлоконструкций зданий и сооружений опасных производственных объектов с крановыми нагрузками характерны дефекты и повреждения металлургического, технологического или эксплуатационного происхождения:

дефекты проката металла (флакены, газовые пузырьки, ликвация, светлые и темные пятна и т.п.);

механические повреждения (трещины, вмятины, разрывы, погнутости, искривления сжатых элементов - стенок балок, диафрагм, ребер, фасонок, поперечных связей, раскосов и т.п.);

различные виды коррозии (общая или язвенная);

узлы с неудачной конструкцией сварного соединения;

резкие изменения сечений элементов;

вырезы и отверстия с необработанными кромками;

при креплении элементов с большим эксцентриситетом относительно их центра тяжести;

стыковые соединения;

подрезы металла;

выбоины;

вмятины;

и др. локальные повреждения.

8.18. Также как и в железобетонных, так и в металлоконструкциях одним из наиболее распространенных дефектов являются трещины, причины возникновения которых могут быть самыми различными.

8.19. Усталостные трещины возникают в элементах, воспринимающих большое количество циклов нагружения, в местах прикрепления раскосов, стоек и подвесок к фасонкам главных ферм, крепления связей к ребрам жесткости и др.

8.20. Для выявления усталостных трещин, необходимо тщательно осматривать элементы конструкций, которые воспринимают циклические нагрузки (места прикреплений знакопеременных раскосов, стоек и подвесок к фасонкам).

8.21. Трещины в сварных элементах создают потенциальную опасность хрупкого разрушения всего сечения конструкции, особенно при отрицательных температурах окружающего воздуха.

8.22. На образование трещин могут оказывать влияние сразу несколько причин. Наиболее часто трещины образуются в местах концентрации напряжений - это места с резким изменением сечения, обрывы листов, неплавное изменение длины и ширины элементов, места примыкания накладок, ребер, диафрагм, дефекты сварных швов, отверстия ослабленных заклепок.

8.23. После образования трещин, их рост и развитие могут продолжаться и появляться в смежных элементах из-за концентрации напряжений от сварки, усталостных явлений, повышенной хладноломкости металла.

8.24. Для предотвращения развития трещин, они должны быть срочно нейтрализованы либо путем сверления по концам трещин, либо местным усилением перекрытия трещин металлическими накладками на высокопрочных болтах.

8.25. При обследовании металлоконструкций особое внимание следует обращать на:

узлы и детали с высоким напряжением от сосредоточенных нагрузок, с концентраторами напряжений, которыми являются места с резким изменением сечения элементов, обрывы листов, места примыкания накладок, ребер, диафрагм, места с резким изменением сварных швов;

на трещины, которые могут возникнуть в стыковых накладках и узловых фасонках поясов, особенно растянутых;

на опорные узлы, в которых необходимо проверять состояние опорных столиков и плоскость опирания опорных фланцев.

8.26. Значительные искривления сжатых элементов стенок балок, диафрагм, ребер, фасонок, поперечных связей, раскосов и др. элементов могут служить признаком недостаточной устойчивости элементов и конструкций зданий и сооружений с крановыми нагрузками.

8.27. Наиболее ответственными элементами металлических опорных конструкций являются узловые соединения, детали и стыки, при осмотре которых необходимо обращать внимание на прямолинейность стержней, наличие соединительных планок, трещин и разрывов фасонок, на качество сварных, заклепочных и резьбовых соединений, на состояние анкерных закреплений колонн в фундаментах и узла опирания балки на колонну.

8.28. В металлических балках необходимо осматривать места прикреплений стенок к поясам, ребер жесткости к стенкам, швы крепления ребер к верхнему поясу, а также производить замеры прогибов и поперечных трещин верхнего пояса балки.

8.29. Тщательно осматривать заклепочные, болтовые и сварные соединения с целью выявления трещин, поверхностной пористости, незаполненных кратеров несплавления по кромкам, подрезов, наплывов, прожогов.

8.30. Основными дефектами заклепочных соединений являются заклепки, которые дрожат при простукивании молотком, с неоформленными, сбитыми или пережженными головками, плохо притянутые к месту, поставленные с зарубками основного металла и в отверстия неправильной формы.

8.31. Для стальных балок, независимо от их конструктивного исполнения, марки стали и вида соединений, характерны следующие виды дефектов:

различные виды трещин;

расстройство промежуточных и стыковых скреплений;

расшатывание опорных узлов крепления балок на колоннах.

8.32. Как показывают наблюдения, усталостные трещины в большей степени характерны для верхней части балок, в меньшей степени - для узлов крепления балок на колоннах. Меньше всего усталостные трещины образуются в нижней части балок и то, в основном в неразрезных балках.

8.33. Дефекты и повреждения стальных сварных и клепаных балок крановых путей даны в приложении 7.

8.34. В зданиях с железобетонным каркасом и стальными балками, трещины образуются в местах приварки опорного ребра к нижней полке балки. Причиной образования таких трещин может служить неопределенность передачи опорного давления балки при плоском опирании ее на закладную деталь и ее перекосе. Поэтому необходимо выполнять опору в виде ребра.

8.35. При опирании стальной балки на металлическую колонну трещины образуются в зоне прикрепления опорного ребра к балке.

Причиной появления данного дефекта может служить некачественное изготовление опорного ребра или некачественная его приварка к балке.

8.36. Локальные разрушения стальных балок в зоне соединения верхнего пояса со стенкой, а также в местах стыков направляющих. Причиной появления таких дефектов может быть ударное воздействие катков тележки крана при различном износе концов направляющих, а также резкое ослабление крепежных элементов.

8.37. Направляющая занимает эксцентричное положение по отношению к вертикальной оси стенки балки, что вызывает дополнительные напряжения от местного кручения, значения которых могут превышать расчетное сопротивление стали.

Причина появления данного повреждения - расстройство креплений направляющих на балке.

8.38. Деформация верхнего пояса балки и снижение ее долговечности.

Причина появления данного повреждения - ослабление промежуточных скреплений и дефекты проката («пятнистость») подошвы направляющей (рельс, стальной горячекатаный квадрат) не позволяют обеспечить надежное прилегание подошвы направляющей к опорной поверхности верхнего пояса балки.

8.39. Наблюдаются смещения направляющей на 30 - 40 мм и смещение на 30 - 40 % центра приложения давления на ободе колеса крана в поперечном направлении по отношению к оси опорной поверхности направляющей.

Причина появления данного дефекта - воздействие на балку различных нагрузок:

детерменированных - вес крана и груза, поперечное и продольное торможение крана и тележки;

случайных - воздействия, связанные с боковым давлением колеса крана на головку направляющей (забеги пары колес, вызывающие перекос крана в режиме пуска и торможения моста крана), эксцентриситетом давления колеса, определяемым смещением направляющей;

«пятнистостью» опирания направляющей, обусловленной искажениями поверхности контакта верхнего пояса и подошвы направляющей;

ударными, возникающими в результате износа стыков направляющей.

8.40. В верхней части стальной балки наблюдается зарождение и ускоренное развитие микротрещин, причинами которых могут быть внецентренная передача вертикального давления из-за эксцентриситета оси направляющей, который всегда имеет место в реальных условиях, боковые воздействия при движении крана и тележки создающих весьма сложное напряженно-деформированное состояние верхней области балки, обусловленное деформациями смятия, кручением пояса и изгибом стенки.

8.41. Наблюдается разрушение сварных швов, соединяющих верхний пояс балки со стенкой, которое происходит по причине развития микротрещин при воздействии на них переменных напряжений сжатия и растяжения возникающих в момент прохождения над ними колес тележки крана. Процесс развития микротрещин значительно ускоряется при наличии дефектов сварных швов, являющихся острыми концентраторами остаточных сварочных напряжений от термического воздействия сварки, которые изменяют свойства материала околошовной зоны в худшую сторону (приложение 10).

8.42. Для клепаных балок также характерны повреждения в виде продольных трещин, возникающих у выкружек уголков и поперечных трещин - в поясных уголках, идущих от заклепочных отверстий.

Причины появления повреждений - поперечные трещины у отверстий развиваются из микротрещин, возникших в процессе изготовления элементов балок.

8.43. Таким образом, проведя анализ дефектов и повреждений стальных балок, можно установить основные причины их возникновения:

неудачные проектные решения из-за несовершенства методов расчета, неполного учета действующих нагрузок и их вероятного изменения при эксплуатации;

дефекты изготовления (заклепки со смещенными головками, неплотное сжатие пакета, непровары, подрезы и другие дефекты сварных соединений, игнорирование специальных технологий выполнения и обработки поясных сварных швов и др.);

дефекты монтажа (некачественные монтажные болтовые и сварные соединения, смещение направляющих относительно стенки балки, отсутствие контроля за надежностью стыковых и промежуточных креплений перед сдачей в эксплуатацию и др.);

недостатки эксплуатации: отсутствие контроля за состоянием ходовой части мостового крана и степенью износа катков тележки и крана, а также несоблюдением сроков профилактического осмотра и ремонта направляющих и несущих строительных конструкций.

8.44. Основными дефектами болтовых соединений являются: нарушение целостности болтов и гаек, недостаточная степень натяжения или плотность прилегания болта и гайки к соединительному элементу, отсутствие клиновидной шайбы в болтах, установленных под углом.

8.45. Основными дефектами сварных соединений являются трещины, незаполненные кратеры, несплавления по кромкам, подрезы, наплывы, прожоги (рис. П.7.1 - П.7.3 приложения 7).

8.46. Для стыковых соединений характерны следующие дефекты и повреждения:

нарушение прямолинейности стержней;

отсутствие соединительных планок;

трещины и разрывы фасонок;

низкое качество сварных, заклепочных и резьбовых соединений;

ослабление анкерных закреплений колонны в фундаментах;

расстройство основных соединений опирания балки на колонну;

трещины, раковины, сколы, погнутости, в стыковых накладках и узловых фасовках поясов;

плохое состояние опорных столиков и плоскости опирания опорных фланцев.

8.47. Для кирпичных столбов-опор характерными дефектами являются трещины, которые могут возникать при сжатии кладки под нагрузкой или в результате возведения ее в зимнее время, а также могут быть вызваны усадочными или температурными деформациями.

8.48. Общими дефектами опор и фундаментов являются:

осадки и общие деформации опор;

отклонение опор от проектного положения;

нарушение целостности опор;

расстройство облицовки;

дефекты заполнения швов между блоками;

трещины и сколы в местах опирания конструкций;

трещины в стаканной части из-за недостаточного армирования;

коррозия бетона и арматуры от агрессивных вод;

трещины вдоль анкерных болтов;

разрушение защитного слоя бетона.

8.49. Осмотр оснований и фундаментов необходимо производить выборочно с помощью открытых шурфов при наличии неравномерных осадок колонн.

При наличии сильноагрессивных сред (кислоты, щелочи, хорошо растворимые твердые агрессивные к бетону компоненты, повышенное содержание в воде сульфидов, хлоридов и т.п.), осмотр фундаментов следует производить не реже 1 раза в год.

8.50. Текущую оценку состояния оснований и фундаментов выполняют косвенным путем на основании анализа общих деформаций опор - их просадкам и наклонам, размерам зазоров в деформационных швах, смещением подвижных и неподвижных опорных частей кранового пути.

8.51. Полное обследование оснований и фундаментов необходимо проводить в случае, если величина осадок и отклонений колонн от вертикальной оси значительно превышает предельно допустимые нормы (приложение 3).

8.52. Основания и фундаменты должны быть защищены от проникновения подземных сточных атмосферных и производственных вод, скапливание воды у фундаментов опор не допускается.

8.53. Для предупреждения появления дефектов и повреждений элементов и конструкций зданий и сооружений с крановыми нагрузками необходимо выполнять следующее:

не допускать перегрузок опорных элементов установкой, подвеской и креплением на них технологического оборудования и других устройств, не предусмотренных проектом;

не разрешать складирование на обрезах фундаментов, колоннах и пролетных строениях различных материалов, мусора и отходов производства;

не допускать выброса у колонн и пролетных строений воды, пара, конденсата и продуктов производства;

не ослаблять опорные элементы путем вырезки в них части элементов, пробивки в них отверстий, выполнения надрезов, оголения арматуры, уменьшения поперечного сечения, а также переделывания конструкций;

постоянно производить ремонт и возобновлять антикоррозионную защиту опорных элементов кранового пути;

периодически, один раз в 8 лет, производить окраску стальных конструкций и закладных деталей в железобетонных конструкциях, работающих в неагрессивных и слабоагрессивных средах, на открытом воздухе;

при агрессивных средах стальные конструкции и закладные детали следует окрашивать не реже одного раза в 5 лет;

для окраски стальных конструкций, необходимо применять грунтовки, краски, эмали, лаки I, II групп по СНиП 2.03.11;

особое внимание следует обращать на такие дефекты, как трещины, раковины, сколы, погнутости и выпучивание, расстройства основных соединений и прикрепляемых элементов, коррозионные повреждения, а также повреждения водоотвода, гидроизоляции и деформационных швов;

выявлять места интенсивного развития увлажнений, размораживаний;

периодически проверять правильность положения фундаментов, опор, пролетных строений и связей в плане и по вертикали;

фиксировать деформации конструкций, размеры их смещений, условия опирания элементов, качество сопряжений и стыков, нарушение сплошности, а при необходимости прочность материала конструкции.

8.54. При осмотрах железобетонных балок особое внимание необходимо уделить:

общему состоянию балок;

состоянию зоны и узлов крепления балок к колоннам;

отклонениям осей балок от проектного положения;

узлам крепления направляющих к балкам;

положениям направляющих на балках.

8.55. При осмотрах колонн и связей между ними особое внимание необходимо уделить:

местам крепления тормозных и балок крановых путей;

местам крепления связей;

зонам возможных ударов при движении напольного транспорта;

выявлению мест увлажнения и мест воздействия высоких температур с установлением повреждений в этих местах.

8.56. При осмотре сварных швов, и прилегающих к нему участков основного металла шириной не менее 20 мм по обе стороны от шва, необходимо очищать от шлака, брызг, натеков металла и других загрязнений.

8.57. Осмотр стыковых сварных соединений производится с двух сторон по всей длине соединения. В случае недоступности для осмотра внутренней поверхности сварного соединения, осмотр его производится только с наружной стороны.

8.58. Наименование, места расположения и графическое изображение наиболее характерных дефектов и повреждений конструктивных элементов надземных крановых путей даны в приложениях 3 и 7.

9. Рекомендации по оценке технического состояния зданий и сооружений опасных производственных объектов с крановыми нагрузками

9.1. Общие положения

9.1.1. Оценку технического состояния зданий и сооружений с крановыми нагрузками производит специализированная организация, имеющая соответствующее разрешение Ростехнадзора, на основании анализа дефектов и повреждений, выявленных при экспертизе промышленной безопасности.

9.1.2. Режим дальнейшей эксплуатации, плановой замены или ремонта дефектных элементов, решается в зависимости от конкретных условий эксплуатации с учетом рекомендаций, данных в приложениях 3 и 7, где даны значения предельно допустимых величин при устройстве и эксплуатации зданий и сооружений с крановыми нагрузками.

9.1.3. При анализе дефектов и повреждений необходимо различать дефекты и повреждения, которые не оказывают существенного влияния на техническое состояние зданий и сооружений с крановыми нагрузками и опасные, снижающие прочностные и деформативные свойства элементов и конструкций здания или сооружения.

9.1.4. В настоящее время не существует единой методики по оценке влияния тех или иных дефектов на техническое состояние зданий и сооружений с крановыми нагрузками.

9.1.5. Чаще всего оценка технического состояния производится по результатам экспертизы промышленной безопасности здания или сооружения с уточнением критериев состояния его стальных или железобетонных элементов и конструкций.

9.1.6. Приближенная оценка надежности эксплуатируемых металлоконструкций или железобетонных элементов оценивается посредством уменьшения общего нормируемого коэффициента надежности (запаса) прочности элементов и конструкций в процессе эксплуатации.

9.1.7. Оценка технического состояния зданий и сооружений с крановыми нагрузками производится на основании расчета по фактическим прочностным показателям элементов из железобетона или металла с учетом их положения: величины прогибов, ширины раскрытия и характера трещин, толщины слоя коррозии, вмятин, разрушений и т.п.

9.1.8. При составлении заключения экспертизы промышленной безопасности зданий и сооружений с крановыми нагрузками, необходимо учитывать результаты отчетных документов технической диагностики, выполненной специализированной организацией, а также учитывать выполненные предприятием мероприятия по выполнению ремонтных работ, текущих ремонтов, необходимых наблюдений за состоянием конструкций и др.

9.2. Оценка технического состояния направляющих

9.2.1. Наиболее характерные дефекты и повреждения направляющих приводятся в табл. П.7.1 приложения 7.

9.2.2. В табл. П.7.1 приложения 7 дается:

краткая характеристика дефекта;

наименование и место расположения дефекта;

схематическое изображение дефекта;

причины появления и способ выявления дефекта.

9.2.3. На основании анализа дефектов производится оценка технического состояния направляющих по трем основным категориям:

удовлетворительное;

неудовлетворительное;

аварийное.

9.2.4. Удовлетворительное состояние направляющих характеризуется отсутствием видимых дефектов и повреждений. Могут иметь место отдельные незначительные повреждения, которые не оказывают существенного значения на эксплуатационные свойства направляющей.

9.2.5. Неудовлетворительное состояние направляющей характеризуется следующими дефектами и повреждениями:

превышение нормированного, бокового или вертикального износа головки направляющей;

превышение нормированной деформации поверхности катания головки направляющей более 1 мм;

направляющие для кранов с режимом работы (А6 - А8), имеющие выкрашивание на поверхности катания головки или ее выкружки глубиной более 3 мм при длине более 25 мм, а также выкрашивание глубиной более 4 мм и длине более 35 мм;

направляющие, имеющие выкрашивание закаленного слоя в стыке на длине более 25 мм при глубине более 3 мм или при глубине более 3 мм на остальной части рельса, а также имеющие выкрашивание закаленного слоя на длине более 25 мм или глубину более 3 мм;

направляющие с продольной горизонтальной трещиной под головкой длиной до 30 мм, не выходящей в торец или краснотой под головкой как признаком этой трещины;

направляющие, пораженные коррозией шейки на глубину более 4 мм, а также имеющие местный износ или коррозию подошвы на глубину более 8 мм.

9.2.6. Аварийное состояние направляющих характеризуется следующими дефектами и повреждениями:

поперечный излом;

поперечные продольные и наклонные трещины любого размера с одной или двух сторон шейки, вызывающие выколы металла в местах перехода головки в шейку;

выколы головки или трещины, аналогичные указанным выше, длиной более 30 мм, расположенные вне торцов направляющих;

трещины любых размеров в шейке от болтовых соединений маркировочных знаков, ударов и других механических повреждений;

местный износ или коррозия кромки подошвы глубиной более 8 мм;

продольные и поперечные трещины любых размеров в подошве, в том числе коррозийно-усталостные;

выколы в подошве направляющей.

9.2.7. Оценка технического состояния направляющих, имеющих неудовлетворительное или аварийное состояние:

аварийные направляющие подлежат немедленной замене и маркировке;

неудовлетворительные направляющие должны заменяться в плановом порядке, режим их эксплуатации и плановой замены зависит от конкретных условий с учетом рекомендаций приложения 7;

при замене дефектных направляющих особое внимание следует обращать на точность подгонки стыков;

запрещается использовать направляющие, изъятые из эксплуатации из-за излома по всему сечению или поперечных трещин в головке и изломов, вызванных внутренними надрывами, недостаточной контактно-усталостной прочностью металла, проходом колес с ползунами, трещинами в закаленном слое металла;

запрещается укладывать направляющие на изношенные или разрушенные опорные элементы, а также использовать в качестве направляющих рельсы разных типов.

9.2.8. При эксплуатации надземных крановых путей необходимо, чтобы траектория движения крана приближалась к прямолинейному проектному направлению оси кранового пути. Несоблюдение этого требования может привести к преждевременному износу боковых граней направляющих. Если отклонение направляющих от прямой линии на участке 10 м превышает 20 мм, то эксплуатация таких путей запрещается.

9.2.9. Несоответствие колеи кранового пути пролету крана может вызвать сход последнего с направляющих, поэтому предельно допустимые отклонения элементов кранового пути не должны превышать значений, указанных в приложении 3.

9.2.10. Взаимное смещение торцов стыкуемых направляющих в плане и по высоте не должно превышать 2 мм.

9.2.11. Величина износа поверхности катания направляющих не должна превышать 15 %.

9.2.12. Кривизна (стрела изгиба) направляющей в горизонтальной плоскости не должна превышать 0,002.

9.2.13. Смятие головки и погнутость концов направляющих в сумме не должно быть более 2,5 мм, седловины за зоной заковки - более 1,5 мм при измерении просвета между направляющими и линейкой длиной 1 м, укладываемой на головку.

9.2.14. Допускаемые величины поверхностных повреждений направляющих приведены в табл. П.7.1 приложения 7.

9.2.15. Не допускается эксплуатация направляющих крановых путей, имеющих следующие дефекты:

боковой или вертикальной износ головки более 15 %;

деформации поверхности катания головки в просвете более 1,5 мм (на длине 2 м);

на поверхности катания головки или в закаленном слое, не допускается выкрашивание металла на глубину более 3 мм и длине более 25 мм;

выкрашивание стыка глубиной более 3 мм, а длиной более 25 мм;

с продольной горизонтальной трещиной под головкой длиной до 30 мм, невыходящую в торец, или красноту под головкой как признак этой трещины;

с коррозией шейки на глубину более 4 мм, а также износ или коррозию подошвы на глубину более 8 мм.

9.3. Оценка технического состояния железобетонных элементов и конструкций зданий и сооружений опасных производственных объектов с крановыми нагрузками

9.3.1. Наиболее характерные дефекты и повреждения железобетонных элементов и конструкций, а также общие допуски на отклонения железобетонных колонн и балок от проектного положения приводятся в приложении 7.

9.3.2. Оценка технического состояния железобетонных элементов и конструкций проводится по пяти категориям:

1-ая - исправное состояние;

2-ая - работоспособное состояние;

3-ая - ограниченно работоспособное состояние;

4-ая - недопустимое;

5-ая - аварийное.

9.3.3. 1-ая категория - исправное состояние характеризуется следующим:

на поверхности бетона нет видимых дефектов и повреждений (могут иметь место отдельные раковины, выбоины, волосяные трещины);

антикоррозионная защита закладных деталей не нарушена, арматурная поверхность при вскрытии - чистая;

глубина нейтрализации бетона не превышает половины толщины защитного слоя;

ориентировочная прочность бетона не ниже проектной.

Оценка технического состояния:

выполняются требования действующих норм и проектной документации;

нет необходимости в ремонте, восстановительных работах.

9.3.4. 2-ая категория - работоспособное состояние характеризуется следующими дефектами и повреждениями:

антикоррозионная защита железобетонных элементов имеет частичные повреждения, на отдельных участках мокрые или масляные пятна, выколы;

на отдельных участках защитного слоя бетона проступает коррозия распределительной или рабочей арматуры;

антикоррозионная защита закладных деталей не нарушена;

глубина нейтрализации бетона не превышает толщины защитного слоя;

изменен цвет бетона вследствие пересушивания, при простукивании местами происходит отслоение бетона;

ориентировочная прочность бетона ниже проектной не более чем на 10 %.

Оценка технического состояния:

защитные свойства бетона по отношению к арматуре на отдельных участках исчерпаны, требуется их восстановление;

требуется устройство или восстановление антикоррозийной защиты.

9.3.5. 3-я категория - ограниченно работоспособное состояние характеризуется следующими дефектами и повреждениями:

пластинчатая или язвенная коррозия на стержнях оголенной рабочей арматуры в зоне продольных трещин или на закладных деталях, вызывающая уменьшение площади сечения стержней до 15 %;

трещины в растянутой зоне бетона, превышающие их допустимое раскрытие;

бетон в растянутой зоне на глубине защитного слоя между стержнями арматуры легко крошится;

снижение ориентировочной прочности бетона в сжатой зоне изгибаемых элементов до 30 %;

провисание отдельных стержней распределительной арматуры, выпучивание и разрыв хомутов;

уменьшение, против требований норм и проекта, площади опирания сборных элементов.

Оценка технического состояния:

нарушены требования действующих норм, но отсутствует опасность обрушения и угроза безопасности для работающих;

требуется усиление и восстановление эксплуатационных свойств элементов и конструкций.

9.3.6. 4-ая категория - недопустимое состояние характеризуется следующими дефектами и повреждениями:

дефекты в средних пролетах балок кранового пути;

разрывы хомутов в зоне наклонной трещины;

язвенная или слоистая коррозия, вызывающая уменьшение площади сечения арматуры более чем на 15 %;

выпучивание арматуры в сжатой зоне;

раздробление бетона и выкрашивание крупного заполнителя в сжатой зоне;

уменьшенная против требований норм и проекта площадь опирания балок кранового пути.

Оценка технического состояния:

существующие дефекты и повреждения свидетельствуют об опасности пребывания людей в зоне обследуемых элементов и конструкций;

требуется немедленное ограничение грузоподъемности кранов и их сближения.

9.3.7. 5-ая категория - аварийное состояние характеризуется следующими дефектами и повреждениями:

трещины, пересекающие опорную зону анкеровки растянутой арматуры;

«хлопающие» трещины в конструкциях, испытывающих знакопеременные воздействия (вызывающие сминание бетона);

отходы анкеров от пластин закладных деталей из-за коррозии стали в сварных швах или других причин;

деформация закладных и соединительных элементов;

расстройство стыков сборных элементов с взаимным смещением последних;

смещение опор;

значительные (более 1/500 пролета) прогибы изгибаемых элементов при наличии трещин в растянутой зоне с раскрытием более 0,5 мм;

разрыв хомутов сжатых элементов ферм или в зоне наклонной трещины;

разрыв отдельных стержней рабочей арматуры в растянутой зоне;

смещение арматурных выпусков в зоне жесткого соединения балок ригелей с колоннами и последующие дефекты при их соединении;

плохая анкеровка предварительно напряженной арматуры в опорной зоне;

значительная коррозия арматуры от агрессивно-влажностных воздействий и, вследствие этого, уменьшение ее площади и разрушение бетона распором от продуктов ее коррозии;

использование опорных строительных элементов не по назначению:

крепление к конструкциям не предусмотренных проектом такелажных приспособлений при ремонтах и замене оборудования, устройство в конструкциях различного рода пазов и отверстий для крепления и пропуска коммуникаций, оголение арматуры и крепление к ней различных элементов, пр.

Оценка технического состояния:

существующие повреждения свидетельствуют о возможности обрушения конструкции;

требуется немедленная разгрузка конструкции и устройство временных креплений (стоек, подпорок, накладок и др.).

9.3.8. Если при оценке технического состояния железобетонных конструкций были выявлены опасные дефекты и повреждения в виде трещин повышенных деформаций и перемещений, то Служба технического надзора организовывает дополнительные наблюдения за данными конструкциями.

9.3.9. Работы по оценке технического состояния дефектных элементов и конструкций для сложных и ответственных случаев, а также работы по определению нагрузок, агрессивных и температурно-влажностных воздействий, нарушения условий эксплуатации или случайных аварийных воздействий (проливы, выбросы и др.) выполняются специализированной организацией.

9.3.10. Разрушение защитных покрытий, раковины, скопление пыли, отколы, смещение закладных деталей, несоответствие проекту площадей опирания и глубин заделки элементов, отверстия и пр. аналогичного типа дефекты и повреждения в бетонных и железобетонных конструкциях, также и трещины при осмотрах, следует устанавливать визуально, а там, где это необходимо и допустимо по условиям сохранения несущей способности, визуальным осмотром со вскрытием.

При решении вопроса о допустимости вскрытия следует учесть интенсивность напряженного состояния, зону конструкций (сжатая, растянутая, зона анкеровки арматуры, наличие предварительного обжатия и пр.). Поэтому решение о вскрытии может приниматься специалистами соответствующей квалификации, осуществляющих экспертизу промышленной безопасности.

9.3.11. Определение внутренних дефектов и повреждений железобетонных конструкций (недостаточная прочность или плотность, толщина защитного слоя, смещение арматуры при бетонировании, внутренние трещины в бетоне, каверны и т.п.) производится специализированными организациями.

9.3.12. Окончательно степень опасности (после осуществления в необходимых случаях страховочных мероприятий) и меры по устранению прогибов, отклонений от проектного положения, трещин, дефектов и повреждений металлических соединительных элементов и закладных деталей, коррозионных повреждений арматуры и бетона, внутренних повреждений и дефектов и т.п. (если это возможно) определяются на основании поверочных расчетов с привлечением специализированной организации.

9.3.13. Для учета снижения прочности нормальных сечений изгибаемых, у внецентренно сжатых и внецентренно растянутых элементов железобетонных конструкций с обычным армированием, вследствие нарушения сцепления пораженной коррозией арматуры с бетоном, при повреждении (наличии продольных трещин в бетоне вдоль арматуры) и отслоение защитного слоя на длине более удвоенной высоты сечения, в расчетах следует вводить понижающий коэффициент работы арматуры, равный 0,7.

Сечение арматуры в расчетах принимается с учетом ослабления ее коррозией в месте максимального поражения.

Расчетное сопротивление бетона принимается в соответствии с его классом, установленным при осмотре или обследовании на основе неразрушающих (или разрушающих) методов определения прочности путем разрушения малых объемов.

9.3.14. При определении степени опасности трещин в бетоне, а также повреждений защитных покрытий, следует учитывать степень агрессивности среды.

Допускаемая величина раскрытия трещин (если они допускаются по условиям работы конструкции, например, нормальные трещины в растянутой зоне изгибаемых элементов) принимается в соответствии с требованиями норм и отраслевых нормативных документов.

Допускаемая величина повреждений защитных покрытий в агрессивных средах также принимается в аналогичном порядке.

9.3.15. Меры по защите железобетонных конструкций при коррозии бетона в защитном слое определяются в соответствии с требованиями норм по защите строительных конструкций от коррозии с привлечением специализированных организаций.

9.3.16. Для оценки влияния дефектов и повреждений в предварительно напряженных железобетонных конструкциях и разработки мер по их устранению следует привлекать специализированные организации.

9.4. Требования к оценке технического состояния элементов металлоконструкций зданий и сооружений опасных производственных объектов с крановыми нагрузками

9.4.1. Наиболее характерные дефекты и повреждения элементов металлоконструкций даны в разделе 8 П. 8.31 - П. 8.41 и в приложении 7.

9.4.2. Оценка технического состояния элементов металлоконструкций по трем основным категориям (исправное, неудовлетворительное и аварийное) дана в приложении 7.

10. Рекомендации по контролю качества зданий и сооружений с крановыми нагрузками

10.1. Общие требования

10.1.1. Контроль качества зданий и сооружений с крановыми нагрузками осуществляется на всех этапах:

при изготовлении элементов и конструкций;

при строительстве;

при эксплуатации.

10.1.2. При изготовлении элементов и конструкций, наряду с другими указаниями, предусматривается контроль качества сварки и браковочные показатели с учетом настоящих Рекомендаций.

10.1.3. Ответственность за качество изготовления элементов несет организация-изготовитель.

10.1.4. Вновь изготовленные железобетонные и металлические элементы имеют на видном месте клеймо с указанием предприятия-изготовителя или его товарного знака, даты выпуска и других сведений в соответствии с нормативной документацией.

Клеймо сохраняется на протяжении всего срока службы элемента.

10.1.5. Владелец, обнаруживший в процессе монтажа или эксплуатации недостатки в конструкции, или ее несоответствие настоящим Рекомендациям и требованиям конструкторской документации, направляет рекламацию предприятию-изготовителю, которое обязано устранить выявленные недостатки.

Предприятие-изготовитель ведет специальный журнал учета поступивших рекламаций, в который заносят сведения о предъявителе рекламаций, маркировку элемента, краткое содержание рекламации и другие данные о недостатках конструкции и ее изготовления.

10.1.6. В тех случаях, когда выявленные недостатки могут отразиться на безопасной эксплуатации крана, его владелец обязан остановить кран до устранения обнаруженных недостатков.

10.1.7. Для изготовления элементов и конструкций применяются материалы в соответствии с ГОСТ и нормативной документацией.

10.1.8. Качество применяемых материалов подтверждается сертификатом или паспортом предприятия-поставщика и входным контролем.

При отсутствии сертификата материал допускается применять после проведения испытаний в соответствии с нормативной документацией. Выбор материалов производится с учетом нижних предельных значений температур и агрессивности окружающей среды.

Указанные данные вместе с маркой материала заносятся в паспорт здания или сооружения. Материалы, ранее не применявшиеся для изготовления элементов, могут быть применены по рекомендации ведущей организации при согласовании с органами Ростехнадзора.

10.1.9. При монтаже также предъявляются определённые требования к контролю качества выполняемых работ.

10.1.10. Контроль качества работ при монтаже осуществляется специальными службами, оснащенными техническими средствами, обеспечивающими необходимую достоверность и полноту контроля.

10.1.11. Производственный контроль качества выполняемых работ включает входной, операционный и приемочный контроль.

10.1.12. При входном контроле проверяется комплектность рабочей и другой сопроводительной документации, достаточность содержащейся в ней информации для производства работ.

При входном контроле проверяется соответствие элементов кранового пути ТУ, ГОСТ, настоящим Рекомендациям, другим нормативным документам и рабочей документации, а также наличие и содержание паспортов, сертификатов.

10.1.13. Операционный контроль осуществляется в ходе монтажных работ и обеспечивает своевременное выявление дефектов и принятие мер по их предупреждению. При операционном контроле проверяется соблюдение технологии выполнения работ и соответствие выполняемых операций рабочим чертежам, СНиП и ГОСТ.

Результаты операционного контроля должны фиксироваться в журнале работ, актах на скрытые работы.

Основными документами при операционном контроле являются нормативные документы, технические карты со схемами операционного контроля качества.

Последние содержат эскизы элементов с указанием отклонений размеров, перечни операций, контролируемые производителем работ, геодезической и другими службами специального контроля, данные о составе, сроках и способах контроля.

10.1.14. Приемочный контроль проводится в соответствии с требованиями настоящих Рекомендаций.

10.1.15. Скрытые работы подлежат освидетельствованию с составлением актов по форме (приложение 6).

10.1.16. При устройстве на сложных и уникальных объектах акты приемки ответственных элементов и освидетельствования скрытых работ составляются с учетом особых указаний и ТУ проекта.

10.1.17. На всех стадиях монтажа специальными службами или специально созданной комиссией осуществляется выборочный инспекционный контроль.

10.1.18. По результатам операционного и инспекционного контроля разрабатываются мероприятия по устранению выявленных недостатков, при этом также учитываются требования и замечания авторского надзора проектных организаций и органов Ростехнадзора.

10.1.19 Контроль за состоянием зданий и сооружений с крановыми нагрузками при их эксплуатации возлагается на Службу технического надзора организации - владельца здания или сооружения.

Служба технического надзора обязана осуществлять постоянный надзор, проводить освидетельствование, контролировать выполнение предписаний, выданных органами Ростехнадзора, систематически контролировать состояние элементов здания или сооружения.

Основные задачи и структура Службы технического надзора, а также виды осмотров и освидетельствований, их периодичность, подробно рассматриваются в разделе 7 настоящих Рекомендаций.

10.1.20. При проведении контроля качества зданий и сооружений с крановыми нагрузками и отдельных их элементов могут использоваться различные методы контроля:

визуальный;

приборно-инструментальный;

лабораторные испытания и исследования.

10.1.21. При визуальном контроле проверяется:

наличие и полнота конструкторской и эксплуатационной документации;

общее состояние здания или сооружения, его узлов и соединений мест опирания;

места соединений и примыканий стыковых и промежуточных скреплений, наличие и состояние болтовых соединений;

наличие и размеры коррозии, трещин, вмятин, изгибов, сколов и других механических повреждений элементов крановых путей сварных швов.

10.1.22. Приборно-инструментальный контроль включает проведение следующих измерений:

планово-высотную съёмку;

измерение геометрических размеров;

замеры прогибов, просадок, уклонов;

смещение направляющих от продольной разбивочной оси;

взаимное смещение торцов направляющих в стыке;

замеры ширины и глубины раскрытия трещины;

замеры величины коррозии стальных и железобетонных элементов.

10.1.23. При проведении приборно-инструментального контроля рекомендуется применять следующие средства измерений:

планово-высотная съемка выполняется с помощью нивелира и теодолита;

ширина колеи кранового пути на всем протяжении пути проверяется с помощью компарированной стальной рулетки с ценой деления 1 мм;

прямолинейность кранового пути проверяют струной или теодолитом;

горизонтальность пути на всем протяжении проверяется нивелировкой по головке направляющей в средней части и в зоне опирания балок кранового пути на колонне.

Для геодезической съемки путей, замеров прогибов, уклонов, просадок применяют:

теодолиты 2Т5к; 2ТЗО ГОСТ 10529;

нивелиры НЗ, НЗК, 2Н-10КЛ, 2Н-ЗК ГОСТ 10528;

прогибомеры типа 6 - ПАО.

Для измерения геометрических размеров применяют:

металлические рулетки (ГОСТ 7502 класс точности не ниже 3) тип РЗ-10; РЗ-20, РЗ-50; ЗПКЗ-20АУТ/1; ОП23-10БУТ/1; ОПКЗ-20БУТ; ЗПКЗ-5АУТ/1; ЗПКЗ-10АУТ/1;

линейки измерительные металлические 150 и 300 с пределом измерений 0 - 1000 мм (ГОСТ 427);

линейки поверочные типа ЛЧ-1-200, ЛЧ-1-320 (ГОСТ 8026);

угольник поверочный 250´160 мм (ГОСТ 3749 класс точности 2);

штангенциркуль с пределом измерений 0 - 150 (ГОСТ 166 класс точности 4);

приспособления, индикаторы и шаблоны для контроля геометрических параметров по ГОСТ 10629;

метр складной типа - МСМ-82; МСД-1.

10.1.24. Для замеров ширины и глубины раскрытия трещин применяют иглы проверочные и щупы плоские, лупы с 10´ с ценой деления 0,05 мм (ГОСТ 25706) и другие приборы для неразрушающих методов контроля.

Величина коррозии стальных элементов определяется методом сравнения размеров элементов, очищенных от коррозии, с проектными размерами; в случае язвенной коррозии проводится тщательная обработка поверхности механическим или химическим способом с удалением ржавчины из язв.

Глубина язвенного участка измеряется с помощью индикатора с игольчатым наконечником.

Стыковые и промежуточные скрепления проверяются методом простукивания, глухой звук свидетельствует о наличии трещин или ослаблении крепления.

Средства измерений, которые не указаны в п. 10.1.23 и допуски, которые не установлены, не должны иметь погрешности более 2,5 %.

Номенклатура средств измерений для проведения контроля строительных элементов и конструкций приводится в приложении 8.

Лабораторные испытания и исследования включают: испытания материалов (сталь, бетон) с целью определения их физико-механических показателей.

Сталь, бетон испытываются в стационарных лабораториях.

Анализ и оценку контрольных измерений выполняют в соответствии с требованиями «Правил по кранам».

10.1.25. Приборы, аппаратура, применяемые при проведении контроля и испытаний, должны иметь документ об их поверке по ГОСТ 8.002 и ГОСТ 8.513.

10.1.26. Средства нагружения в виде контрольных грузов, предназначенных для испытания кранового пути, применяются с динамометром растяжения.

10.1.27. Перечень инструментов, приборов и средств измерений, а также допустимую погрешность измерений следует устанавливать в программе и методике испытаний для каждого элемента конструкции в зависимости от вида испытаний (контроля).

10.1.28. Контроль за качеством сварных соединений согласно СНиП 3.03.01 осуществляют методами, указанными в приложении 8 (табл. П.8.1 - П.8.3).

10.1.29. Оценка качества сварных соединений по результатам внешнего осмотра и неразрушающего контроля производится в соответствии с ТУ на изготовление, монтаж, ремонт или реконструкцию путей, которые содержат нормы оценки качества сварных соединений, исключающие выпуск изделий с дефектами, снижающими их прочность и эксплуатационную надежность.

10.1.30. Контроль сварных соединений расчетных элементов металлоконструкций проводится только после установления дефектов, выявленных внешним осмотром. При этом обязательному контролю подвергают начало и окончание сварных швов стыковых соединений поясов и стенок коробчатых металлоконструкций.

10.1.31. Суммарная длина контролируемых участков сварных соединений устанавливается нормативной документацией и составляет не менее:

50 % от длины стыка на каждом стыке растянутого пояса коробчатой или решетчатой металлоконструкции;

25 % от длины стыка или сжатого участка стенки на каждом стыке сжатого пояса или на сжатых участках стенок;

25 % от длины стыка для всех остальных стыковых соединений и сварных соединений, контролируемых ультразвуковым методом.

10.1.32. Сварные соединения, качество которых согласно проекту следует проверять при монтаже физическими методами, надлежит контролировать радиографическим или ультразвуковым методом в объеме 5 % при ручной или механизированной сварке и 2 % - при автоматизированной сварке.

Места обязательного контроля указывают в проекте.

10.1.33. Контроль сварных соединений просвечиванием производится в соответствии с ГОСТ 7512, ультразвуковой контроль - ГОСТ 14782.

Перед проведением рентгено- и гамма-контроля соответствующие участки сварного соединения маркируются так, чтобы их можно было легко обнаружить на контрольных рентгено- или гамма-снимках.

10.1.34. При выявлении во время неразрушающего контроля недопустимых дефектов в сварных соединениях контролю подвергается все соединение. Дефектные участки сварных швов, выявленных при контроле, удаляются механическим способом и перевариваются.

10.1.35. Контроль швов сварных соединений конструкций неразрушающими методами следует проверять после испытания недопустимых дефектов, обнаруженных внешним осмотром.

10.1.36. Механические испытания проводятся с целью проверки соответствия прочностным и пластическим характеристикам сварного соединения на контрольных образцах, сваренных в условиях, полностью отвечающим условиям изготовления элементов металлоконструкций (те же основные и присадочные материалы, сварочные режимы, положение сварки).

10.1.37. На предприятиях по изготовлению элементов и конструкций механические испытания проводятся периодически в соответствии с ТУ на контрольных образцах, свариваемых каждым сварщиком, принимавшим участие в сварке металлоконструкций в количестве не менее двух для каждого вида испытаний (растяжение, изгиб).

10.1.38. Проверка механических свойств свариваемого соединения на контрольных образцах производится вне зависимости от вида сварного соединения изделия путем испытания на растяжение и на изгиб образцов свариваемых встык.

10.1.39. Величина предельных отклонений при механических испытаниях стальных образцов не должна превышать величин, указанных в табл. П.8.2 приложения 8.

10.1.40. Результаты механических испытаний считаются удовлетворительными, если:

временное сопротивление не ниже предельного показателя временного сопротивления металла, установленного для данной марки стали ГОСТ и ТУ;

угол изгиба для углеродистых сталей - не менее 120°, для низколегированных при толщине элемента до 20 мм не менее 80°, более 20 мм - не менее 60°.

10.1.41. Качество сварных соединений считается неудовлетворительным, если в них при любом виде контроля будут обнаружены внутренние или наружные дефекты, выходящие за пределы норм, установленных настоящими Рекомендациями и нормативной документацией на изготовление, монтаж, реконструкцию и ремонт.

10.1.42. В швах сварных соединений конструкций, возводимых или эксплуатируемых в районах с расчетной температурой ниже -40 °С до -65 °С включительно, а также конструкций, рассчитанных на выносливость, допускаются внутренние дефекты, эквивалентная площадь которых не превышает половины значений допустимой оценочной площади (табл. П.8.3 приложения 8). При этом наименьшую поисковую площадь необходимо уменьшить в 2 раза. Расстояния между дефектами должны быть не менее удвоенной длины оценочного участка.

10.2. Рекомендации по методике проведения контроля.

10.2.1. При приемо-сдаточных или периодических испытаниях следует проверять:

наличие и состояние эксплуатационной технической и конструкторской документации;

организацию эксплуатации зданий и сооружений с крановыми нагрузками;

проводить поэлементное обследование на наличие внешних дефектов, защитных покрытий и т.п.

10.2.2. Поэлементное обследование проводят визуальным осмотром, а при необходимости инструментальными измерениями.

10.2.3. Присоединительные размеры проверяют с помощью мерительного инструмента.

10.2.4. Качество сварных соединений элементов проверяют визуально (при этом можно использовать лупу с увеличением 10´).

При необходимости сварные соединения проверяют неразрушающими методами контроля.

10.2.5. Комплектность определяется проверкой наличия элементов по комплектовочной ведомости.

10.2.6. При периодическом контроле кранового пути проверяется его соответствие разделам 2, 3, 5 настоящих Рекомендаций.

10.2.7. Планово-высотное положение элементов зданий, сооружений проверяются с использованием геодезических или механических методов контроля (приложение 8).

10.2.8. Смещение направляющих с продольной разбивочной оси кранового пути измеряется линейкой с миллиметровыми делениями в местах опор и в середине пролета пути. Линейка прикладывается к низу полки направляющей. Отсчет производится с помощью теодолита, установленного над ниткой пути, так, чтобы его оптическая ось располагались параллельно продольной разбивочной оси (рис. П.8.1 приложения 8)

10.2.9. Положение осей направляющих и опорной балки кранового пути замеряют в местах опор на колонне и в середине балки с помощью стальной геодезической рулетки, имеющей натяжение 10 кгс.

Замеры проводятся между краями путей, одновременно в том же сечении замеряют ширину ездовых полок путей (рис. П.8.2 приложения 8)

10.2.10. Взаимное смещение торцов направляющих измеряется штангенциркулем с глубиномером или штангенглубиномером.

Для выявления скрытых дефектов (особенно в промежуточных скреплениях), а также определения упругой податливости следует проводить только геодезическим методом под нагрузкой и без нагрузки.

10.2.11. Полученные при осмотрах и контрольных измерениях данные сравнивают с проектными и допускаемыми отклонениями на изготовление и монтаж конструкций, которые разрешены нормативными документами, а также сопоставляют с результатами выполненных ранее диагностических работ (обследований).

10.2.12. Анализ и оценку контрольных измерений и выявления дефектов и повреждений следует выполнять с использованием рекомендаций данных в «Правилах устройства и безопасной эксплуатации грузоподъемных кранов» (ПБ-10-382-00) и СНиП 3.03.01 (приложение 2).

10.2.13. Приемка колонн при изготовлении согласно ГОСТ 13015.1 осуществляется по результатам лабораторных испытаний и исследований:

по результатам периодических испытаний - по показателям морозостойкости, а также по водонепроницаемости бетона колонн, предназначенных для эксплуатации в условиях воздействия агрессивной газообразной среды;

по результатам приемо-сдаточных испытаний, по показателям прочности бетона (классу или марке бетона по прочности на сжатие, передаточной и отпускной прочности), соответствию арматурных и закладных изделий рабочим чертежам, прочности сварных соединений, точности геометрических параметров, толщины защитного слоя бетона до арматуры, ширины раскрытия поверхностных технологических трещин, категории бетонной поверхности, правильности нанесения установочных рисок.

Приемку колонн по прочности, жесткости и трещиностойкости осуществляют по комплексу нормируемых и проектных показателей в соответствии с требованиями ГОСТ 13015.1.

10.2.14. Колонны длинной до 12 м включительно принимают по показателям точности геометрических параметров, толщины защитного слоя бетона до арматуры, категории бетонной поверхности и ширины раскрытия поверхностных технологических трещин принимают по результатам выборочного контроля. Колонны длинной более 12 м по указанным показателям принимают по результатам сплошного контроля.

10.2.15. Правильность нанесения установочных рисок на колонны проверяют по результатам сплошного контроля.

10.2.16. В документе о качестве колонн по ГОСТ 13015.3 дополнительно приводится марка бетона по морозостойкости, а для колонн, предназначенных для эксплуатации в условиях воздействия агрессивной газообразной среды - марка бетона по водонепроницаемости (если эти показатели оговорены в заказе на изготовление колонн).

10.2.17. Прочность бетона колонн определяется по ГОСТ 10180 на серии образцов, изготовленных из бетонной смеси рабочего состава и хранившихся в условиях, установленных ГОСТ 18105.

10.2.18. При проверке прочности бетона методами неразрушающего контроля фактическую передаточную и отпускную прочность бетона на сжатие определяют ультразвуковым методом по ГОСТ 17624 или приборами механического действия по ГОСТ 22690.

Допускается применение других методов неразрушающего контроля, предусмотренных стандартами на методы испытания бетона.

10.2.19. Морозостойкость бетона колонн определяют по ГОСТ 10060 или ультразвуковым методом по ГОСТ 26134 на серии образцов, изготовленных из бетонной смеси рабочего состава.

10.2.20. Водонепроницаемость бетона колонн определяется по ГОСТ 12730.0 и ГОСТ 12730.5.

10.2.21. Контроль сварных арматурных и закладных изделий осуществляют по ГОСТ 10922 и ГОСТ 23858.

10.2.22. Силу натяжения арматуры, контролируемую по окончании натяжения, измеряют по ГОСТ 22362.

10.2.23. Размеры и отклонения от прямолинейности, перпендикулярности поверхностей колонн, ширину раскрытия поверхностных технологических трещин, размеры раковин, наплывов и сколов бетона колонн проверяют методами, установленными ГОСТ 26433.0 и ГОСТ 26433.1.

10.2.24. Размеры и положение арматурных и закладных изделий, а также толщину защитного слоя бетона до арматуры определяют по ГОСТ 17625 и ГОСТ 22904.

10.2.25. Результаты проверки качества элементов конструкции зданий и сооружений с крановыми нагрузками заносятся в журнал учета результатов входного контроля материалов, полуфабрикатов.

11. Рекомендации по охране труда и технике безопасности при экспертизе промышленной безопасности зданий и сооружений опасных производственных объектов с крановыми нагрузками

11.1. Общие положения

11.1.1. При экспертизе промышленной безопасности зданий и сооружений опасных производственных объектов с крановыми нагрузками необходимо соблюдать требования «Правил по кранам ПБ-10-382-00 СНиП 12-03-99 «Техника безопасности в строительстве».

11.1.2. Инструкции предприятий и организаций, занимающихся эксплуатацией, обслуживанием, устройством, ремонтом зданий и сооружений опасных производственных объектов с крановыми нагрузками должны содержать конкретные указания по технике безопасности и производственной санитарии по каждому виду работ в соответствии с «Порядком разработки и согласования требований безопасности в стандартах и технических условиях» ГОСТ 1.26.

11.1.3. Ответственность за соблюдением норм и правил техники безопасности ремонтным персоналом несут ИТР, связанные с обслуживанием, эксплуатацией и ремонтом зданий и сооружений опасных производственных объектов с крановыми нагрузками.

11.1.4. Допуск обслуживающего персонала, производящего ремонт или экспертизу промышленной безопасности, разрешается только по наряду-допуску (приложение 9).

11.1.5. Лицо, выдавшее наряд-допуск, отвечает за необходимость и возможность выполнения работ, указанных в наряде, правильность и полноту мер безопасности труда, уровень квалификации лиц, назначенных ответственными руководителями и производителями работ.

К работе по нарядам допускаются бригады в составе не менее двух человек.

11.1.6. При ремонте крановых путей руководителем, ответственным за ведение работ и соблюдение мер безопасности, назначается ИТР организации, выполняющей эти работы.

Он отвечает за правильное выполнение мер безопасности в наряде-допуске, и обязан лично проинструктировать бригаду, осуществлять периодический надзор за выполнением работ и соблюдением правил безопасности.

11.1.7. Производитель работ отвечает за техническое руководство и соблюдение работающими правил техники безопасности и указаний наряда-допуска.

Он постоянно наблюдает за ходом работ и находится на месте их выполнения.

11.1.8. Администрация организации, которая эксплуатирует пути, обязана создать безопасные условия для технических осмотров, очистки и ремонта крановых путей, ремонтному и обслуживающему персоналу, а также рабочим-ремонтникам подрядной организации.

11.1.9. При обслуживании и ремонте надземных крановых путей необходимо учитывать, что работы по монтажу и демонтажу элементов пути зачастую осуществляются вручную при отсутствии инвентарных передвижных подъемных средств.

11.2. Требования по технике безопасности до начала работ

11.2.1. Исполнители работ (специалисты, осуществляющие экспертизу промышленной безопасности, ремонтники, обслуживающий персонал) проходят вводный инструктаж на рабочем месте, по программе, разработанной владельцем путей, о чем делается запись в журнале вводного инструктажа.

11.2.2. Перед началом работ, указанных в наряде-допуске, необходимо выполнить следующие меры безопасности:

отключить токоподводящий кабель на ремонтируемом участке;

выключить и закрыть на замок рубильник вводного устройства, повесить плакат:

«Не включать - работают люди»;

место работы оградить тупиковыми упорами с установкой красных сигнальных флажков;

указать места подсоединения предохранительных приспособлений;

участок, где ведутся работы, оградить и вывесить плакаты «Проход запрещен»;

при необходимости принимать и другие меры безопасности, исходя из конкретных условий производства работ;

администрация, поручая работу, обязана обеспечить ремонтный персонал доброкачественной спецодеждой, спецобувью, отвечающей требованиям стандартов, в соответствии с отраслевыми нормами выдачи, установленными нормами и сроками носки, предохранительными приспособлениями, исправным и доброкачественным инструментом, соответствующим выполняемой работе;

к работе на крановых путях допускаются лица не моложе 18 лет и прошедшие медицинское освидетельствование, прошедшие курс обучения по технике безопасности, сдавшие экзамены, а также получившие инструктаж по технике безопасности непосредственно на рабочем месте.

Штатные рабочие, ранее сдавшие экзамен, проходят ежегодно проверку знаний правил техники безопасности с отметкой об этом в удостоверении;

участки крановых путей, на которых будут вестись работы, должны быть освещены согласно нормам (20 - 30 лк.). При недостаточном общем освещении используются переносные лампы напряжением не выше 12 В.

11.2.3. Владельцем должны быть разработаны способы обвязки элементов пути, перемещаемого кранами во время монтажа, демонтажа и ремонта, с указанием применяемых при этом приспособлений.

11.2.4. Графическое изображение способов строповки элементов пути и перечень применяемых при этом грузозахватных приспособлений должны быть приведены в технологических регламентах.

11.2.5. Перемещение элементов кранового пути, на который не разработаны схемы строповки, производится в присутствии и под руководством лица, ответственного за безопасную эксплуатацию путей, обученных по программе ИТР, ответственного за безопасное производство работ кранами.

11.2.6. Строительно-монтажные работы выполняются по проекту производства работ кранами, в котором предусматриваются условия безопасной работы нескольких кранов на одном пути и на параллельных путях.

11.2.7. Вывод крановых путей в ремонт производится ИТР, ответственным за содержание крановых путей в исправном состоянии, в соответствии с графиком ремонта, утвержденным владельцем.

11.2.8. Дата и время вывода кранового пути в ремонт, а также фамилия лица, ответственного за его проведение, указываются в наряде-допуске.

11.2.9. Без наряда-допуска можно производить профилактический осмотр и техническое обслуживание путей.

11.2.10. При выполнении ремонтных работ на путях несколькими бригадами наряд-допуск выдается каждой бригаде.

11.2.11. Разрешение на эксплуатацию путей после ремонта выдается ИТР, ответственным за содержание кранового пути в исправном состоянии, с записью в паспорт кранового пути.

11.2.12. Перемещение груза на одном крановом пути несколькими кранами производится в соответствии с проектом или технологической картой, в которых содержатся требования к состоянию пути и другие указания по безопасному перемещению груза.

11.3. Требования по технике безопасности во время работы

11.3.1. Все ремонтные работы, осмотры и чистка крановых путей производятся при бездействующих кранах, выведенных в ремонтную зону с соблюдением норм безопасности, указанных в наряде-допуске.

11.3.2. Ремонтный персонал, выполняющий осмотры, ревизии и ремонты крановых путей, может выходить на пути только в местах, имеющих специальные ремонтные площадки, предназначенные для этих целей, с надежным ограждением.

11.3.3. Администрация участка обязана требовать от ремонтного персонала, чтобы в работе использовался только исправный ручной и электрифицированный инструмент.

11.3.4. При газовой резке и электросварке на путях ремонтный персонал обязан соблюдать противопожарные мероприятия.

При обслуживании крановых путей запрещается:

увеличивать длину ключа путем наращивания его другим ключом или трубой;

вставлять прокладки между гранями гайки и губками ключа;

сбивать гайки ударами молотка;

забивать болты в отверстия накладок и направляющих.

11.3.5. Не разрешается хождение по путям посторонним лицам, для чего необходимо использовать предупреждающие знаки, имеющие надписи: «Входить на крановый путь посторонним лицам запрещается». Необходимость установки ограждений кранового пути определяется организацией, эксплуатирующей путь.

11.4. Требования техники безопасности по окончании работ

11.4.1. После окончания работ следует проверить, чтобы на крановых путях не оставалось посторонних предметов.

11.4.2. Произвести уборку всех материалов и предметов, ограждений для обеспечения безопасного складирования грузов, перемещаемых кранами.

11.4.3. По окончании всех работ наряд-допуск необходимо закрыть с оформлением подписей ответственного руководителя и производителя работ. Закрытый наряд-допуск возвращается лицу, выдавшему его, и хранится в течение трех месяцев.

11.5. Требования техники безопасности при экспертизе промышленной безопасности зданий и сооружений опасных производственных объектов с крановыми нагрузками.

11.5.1. Для проведения экспертизы промышленной безопасности издаются приказы по организации-владельцу о проведении экспертизы специализированной организацией или созданной комиссией (формы приказов даны в приложении 9).

11.5.2. Бригада специалистов, осуществляющих экспертизу промышленной безопасности, проходит инструктаж по технике безопасности у себя в организации, и вводный, и на рабочем месте инструктаж по охране труда в организации, где будут проводиться работы.

11.5.3. Форма учетного листа прохождения инструктажа по охране труда и технике безопасности дана в приложении 9.

11.5.4. Инструктаж проводится непосредственно перед началом работ.

11.5.5. Перед каждым членом бригады ставится конкретная задача и определяется зона его нахождения до окончания работ.

11.5.6. При проведении экспертизы в условиях недостаточной освещенности запрещается начинать или продолжать работы до включения дополнительных источников освещения.

11.5.7. Прекратить выполнение работ по экспертизе на открытом воздухе, при появлении атмосферных осадков или усилении ветра до 9 м/с (6 баллов).

11.5.8. После завершения работ старший комиссии обязан лично проконтролировать наличие членов комиссии и сообщить об окончании работ.

ПРИЛОЖЕНИЯ

Приложение 1

Основные термины и определения

Аварийное состояние кранового пути - состояние, когда путь имеет дефекты и повреждения, которые могут вызывать аварию крана, поэтому работа его должна быть немедленно остановлена, а дефекты устранены в срочном порядке.

Авария - разрушение кранового пути или элементов его конструкции.

Аттестация - официальное определение соответствия специалистов установленным квалификационным требованиям.

Аттестованный специалист - специалист, прошедший аттестацию и получивший квалификационное удостоверение.

База крана - расстояние между опорами крана по его продольной оси.

Владелец крановых путей - предприятие и частные лица независимо от форм собственности, на балансе которых находятся крановые пути.

Внеочередное обследование крановых путей - обследование, проводящееся при возникновении повреждений, создающих угрозу дальнейшей эксплуатации грузоподъемного крана.

Габарит приближения - это расстояние по горизонтали и вертикали между выступающими частями крана и строениями, штабелями грузов и другими предметами.

Геодезическая съемка кранового пути - определение фактического положения элементов кранового пути в вертикальной плоскости, параллельности осям в плане прямолинейности.

Дефекты крановых путей - устройство кранового пути с отступлением от требований ТУ и нормативной документации на стадии изготовления или монтажа.

Деформация конструкции элементов кранового пути - изменение формы и размеров конструкции элемента или его части под влиянием внешних воздействий или нагрузок.

Документы нормативные - законы, ГОСТы, СНиПы, другие действующие нормативные документы (правила, РД и т.д.), содержащие требования, правила, общие принципы, характеристики, касающиеся безопасности определенных видов деятельности в части крановых путей.

Жесткость опорного элемента кранового пути - способность элемента сопротивляться деформациям.

Заворот корки - поверхностная неоднородность металла слитка.

Заказчик - организация, обратившаяся с заявкой на проведение экспертизы.

Заключение экспертизы - документ, содержащий обоснованные выводы о соответствии или несоответствии крановых путей требованиям нормативной документации.

Исправное состояние кранового пути - состояние, при котором все нормируемые свойства и параметры пути соответствуют требованиям нормативной и проектной документации.

Квалификационные требования - требования к подготовке, профессиональным знаниям, мастерству и опыту, а также соответствующему состоянию здоровья, которые дают специалисту возможность надлежащим образом осуществлять свои функции.

Колея кранового пути - расстояние по горизонтали между осями направляющих или колес ходовой части крана.

Комплексное обследование крановых путей - комплекс мер по анализу и оценке технического состояния и качеству обслуживания крановых путей.

Контроль технического состояния - система надзора за техническим состоянием пути и его элементов в процессе эксплуатации с целью поддержания их в работоспособном состоянии.

Крановый путь - инженерно-строительное сооружение, состоящее из направляющих, стыковых и промежуточных скреплений, путевого оборудования, опорных элементов, воспринимающих крановые нагрузки и, обеспечивающих передвижение крана в заданном направлении.

Ликвация - неравномерное распределение входящих в состав стали химических элементов по сечению слитка.

Лицензия - разрешение (право) на осуществление лицензируемого вида деятельности при обязательном соблюдении лицензионных требований и условий, выданное лицензирующим органом юридическому или индивидуальному предпринимателю (в соответствии со ст. 2 Федерального Закона «О лицензировании отдельных видов деятельности» от 25.09.1998 г. 158-ФЗ).

Местное шлифование направляющей - это обработка сварных швов стыковых соединений направляющей с помощью ручных шлифовальных машин.

Надземный крановый путь - крановый путь, опорные элементы которого опираются или подвешиваются на несущие строительные конструкции (стены, колонны, балки, фермы и т.п.).

Направляющие - элемент кранового пути, обеспечивающий опору и направление движения колес крана.

Неудовлетворительное состояние кранового пути - состояние кранового пути, при котором имеющиеся дефекты и повреждения оказывают значительное влияние на работу крана, эксплуатация последнего допускается в ограниченном режиме или может быть приостановлена до устранения указанных дефектов.

Нити кранового пути - состыкованные торцами направляющие, определяющие направление движения крана.

Нормальное состояние кранового пути - состояние, при котором параметры пути соответствуют установленным нормам и кран может эксплуатироваться в заданном режиме.

Нормативный срок службы - срок, в течение которого балансовая стоимость полностью переносится на издержки производства и обращения.

Обследование крановых путей - сбор данных с целью оценки технического состояния крановых путей.

Объекты экспертизы - проектная документация, технические устройства, здания и сооружения на опасном производственном объекте, декларации промышленной безопасности и иные документы, связанные с эксплуатацией опасного производственного объекта.

Опасные производственные объекты - объекты, на которых получаются, используются, перерабатываются, образуются, хранятся, транспортируются, уничтожаются опасные вещества, применяется оборудование, работающее под давлением более 0,07 МПа; используются грузоподъемные механизмы; получаются расплавы черных и цветных металлов; ведутся горные работы.

Опорные элементы - элементы конструкции кранового пути, обеспечивающие опору и восприятие крановых нагрузок от направляющих кранового пути.

Оценка технического состояния кранового пути - заключение, составленное по результатам обследования с учетом проверочного расчета конструкций элементов пути, выявленных дефектов и повреждений, свойств материалов, фактических и прогнозируемых нагрузок и воздействий, а также условий эксплуатации.

Первичное обследование крановых путей - обследование, проводящееся при приемо-сдаточных испытаниях крановых путей.

Повреждение кранового пути - отклонение качества формы и фактических размеров пути и его элементов от требований нормативной документации или проекта, возникающие в процессе эксплуатации.

Повторное обследование крановых путей - обследование, проводящееся по истечении срока, установленного результатами предыдущего обследования.

Пролетные строения - это железобетонные и металлические балки и фермы, на которых устанавливают направляющие кранового пути.

Промежуточное скрепление - элемент кранового пути, обеспечивающий соединение направляющих с опорными элементами (балки, фермы и т.п.) и исключающий возможность продольного и поперечного смещения направляющей.

Путевое оборудование - элементы кранового пути, обеспечивающие безопасность эксплуатации крана (тупиковые упоры, ограничители передвижения, ограждения, предупредительные знаки, заземление).

Работоспособное состояние кранового пути - состояние, при котором путь может использоваться для заданных функций и удовлетворяет правилам безопасности, хотя может не полностью соответствовать нормативной и проектной документации.

Реконструкция кранового пути - изменение конструкции пути, вызывающее необходимость корректировки его паспорта.

Ремонт кранового пути (плановый, текущий, капитальной и внеплановый) - ремонт, обеспечивающий восстановление работоспособности пути заменой или восстановлением отдельных повреждений или дефектов его элементов.

Светлое пятно (сталь не окислена) и темное пятно - пятно, которое образуется в месте излома при выходе поперечной трещины на поверхность головки.

Специализированная организация - организация, имеющая соответствующее разрешение Ростехнадзора (Госгортехнадзора России) и аттестованных специалистов по экспертизе промышленной безопасности опасных производственных объектов.

Средний срок службы - математическое ожидание срока службы (ГОСТ 13337).

Срок службы - календарная продолжительность эксплуатации крановых путей от начала или возобновления после капитального и/или среднего ремонта до наступления предельного состояния.

Стыковые скрепления - элемент кранового пути, обеспечивающий соединение стыков направляющих.

Удовлетворительное состояние кранового пути - состояние, при котором путь имеет дефекты и повреждения, позволяющие эксплуатировать кран в заданном режиме, но имеющиеся дефекты и повреждения должны быть устранены в заданные сроки.

Уклон пути - отношение разности уровней двух точек кранового пути к расстоянию между ними.

Усиление опорных элементов кранового пути - комплекс работ, обеспечивающий повышение несущей способности, трещиностойкости и увеличение жесткости элементов кранового пути.

Флокен - зернистый надрыв (на глубине > 10 мм), от которого под действием нагрузки от колеса крана радиально развиваются усталостные трещины.

Эксперт - специалист, осуществляющий проведение экспертизы промышленной безопасности.

Экспертиза промышленной безопасности - оценка соответствия объекта экспертизы предъявляемым к нему требованиям промышленной безопасности, результатом которой является заключение.

Экспертная организация - организация, имеющая лицензии Ростехнадзора (Госгортехнадзора России) на проведение экспертизы промышленной безопасности в соответствии с действующим законодательством.

Экспертное обследование зданий и сооружений с крановыми нагрузками - комплекс мер по техническому диагностированию зданий и сооружений с крановыми нагрузками с целью выдачи заключения о возможности, условиях и сроках их дальнейшей эксплуатации.

Эксплуатационная документация - часть общей проектно-конструкторской документации, включающая паспорт, техническое описание инструкции по монтажу, эксплуатации и безопасности, регламентирующие порядок эксплуатации, а также работу службы надзора по обеспечению работоспособности крановых путей.

Эксплуатация крановых путей - стадия жизненного цикла путей до их списания, на которой реализуются, поддерживаются и восстанавливаются их качества и которая включает использование крановых путей по назначению: транспортирование, хранение, техническое обслуживание, монтаж (демонтаж) и ремонт.

Приложение 2

Перечень нормативных документов, используемых в данных рекомендациях

Нормативный документ, на который дана ссылка

Название нормативных документов

Номер пункта рекомендаций

1

2

3

ГОСТ 25546

Краны грузоподъемные. Режим работы.

П. 1.1

ПБ-10-382-00

Правила устройства и безопасной эксплуатации кранов

Все разделы

№ 116-ФЗ

Федеральный закон «О промышленной безопасности опасных производственных объектов»

Все разделы (п. 1.5, п. 2.7 и т.д.)

ГОСТ 2.103

ЕСКД. Стадии разработки.

П. 2.2

ГОСТ 2.701

ЕСКД. Схемы, виды и типы. Общие требования к выполнению.

П. 2.2

ГОСТ 534-78*

Краны мостовые. Опорные пролеты

П. 2.12, Приложение 4

ГОСТ 7173

Рельсы железнодорожные типа Р43 для путей промышленного транспорта. Размеры.

П. 5.4.23, П. 3.2.1, Приложение 5

ГОСТ 7174

Рельсы железнодорожные типа Р50 для путей промышленного транспорта. Конструкция и размеры

П. 3.2.1, П. 5.4.23, Приложение 5

ГОСТ 8161

Рельсы железнодорожные типа Р65 для путей промышленного транспорта. Конструкция и размеры.

П. 3.2.1, Приложение 5

ГОСТ 16210

Рельсы железнодорожные типа Р75 для путей промышленного транспорта. Конструкция и размеры

П. 3.2.1, Приложение 5

ГОСТ 4121-76*

Рельсы крановые

П. 3.2.1, Приложение 5

ГОСТ 2591

Прокат стальной горячекатаный квадратный. Сортамент

П. 3.2.1, П. 5.4.2

ГОСТ 8239

Двутавры стальные горячекатаные. Сортамент.

П. 3.2.3

ГОСТ 19425

Балки двутавровые и швелерные стальные. Сортамент

П. 3.2.3

ГОСТ 380

Сталь углеродистая обыкновенные качества. Марки.

П. 3.2.5

ГОСТ 4133

Накладки двухголовые к рельсам типа Р38. Конструкция и размеры.

П. 3.3.3, Приложение 5

ГОСТ 19127

Накладки двухголовые к рельсам типа Р43. Конструкция и размеры.

П. 3.3.3, Приложение 5

ГОСТ 19129

Накладки двухголовые к рельсам типа Р50. Конструкция и размеры

П. 3.3.3, Приложение 5

ГОСТ 8193

Накладки двухголовые к рельсам типа Р65 и Р75.

П. 3.3.3, Приложение 5

ГОСТ 19115

Шайбы пружинные путевые. Технические условия.

П. 3.3.3, Приложение 5

ГОСТ 7529

Шайбы одновитковые путевые. Технические условия.

П. 3.3.3, Приложение 5

ГОСТ 8196

Шайбы одновитковые путевые. Технические условия.

П. 3.3.3, Приложение 5

ГОСТ 11530

Болты для рельсовых стыков железнодорожного пути. Технические условия.

П. 3.3.3, Приложение 5

ГОСТ 7633

Болты для рельсовых стыков железнодорожного пути.

П. 3.3.3, Приложение 5

ГОСТ 11532

Гайки для болтов рельсовых стыков железнодорожного пути. Технические условия.

П. 3.3.3, Приложение 5

ГОСТ 59-15

Гайки шестигранные, класса точности В. Конструкция и размеры.

П. 3.3.4, Приложение 5

ГОСТ 11371

Шайбы для болтов рельсовых стыков железнодорожного пути.

П. 3.3.4, Приложение 5

ТУ 14-1-3032

Стали специальные. Марки

П. 3.3.4

ГОСТ 19282

Стали специальные. Марки

П. 3.3.4

ГОСТ 7798

Болты шестигранные, класса точности В. Конструкция и размеры.

П. 3.3.4

СНиП II-23-81

Стыковые конструкции, применительно к конструкциям, не рассчитываемым на выносливость.

П. 3.3.4

ГОСТ 7378

Лист ОМБ-С1-10

П. 3.3.13

ГОСТ 20

Ленты конвейерные резинотканевые. Технические условия.

П. 3.3.13

ГОСТ 23831

Ремни плоские приводные. Технические условия.

П. 3.3.13

ТП 101

Технические правила по экономному расходованию основных строительных материалов

П. 3.4.2

СНиП II-А3-72

Стальные конструкции. Нормы проектирования.

П. 3.4.6

СНиП III-18-75

Металлические конструкции.

П. 3.4.6

ГОСТ 23121

Типы и сечения опорных балок.

 

ГОСТ 24741

Узел крепления крановых рельсов к стальной подкрановой балке.

П. 5.4.13

ГОСТ 25628

Колонны железобетонные для одноэтажных зданий и предприятий. Технические условия.

П. 3.4.21

ГОСТ 13015.2

Конструкции и изделия бетонные и железобетонные сборные. Маркировка.

П. 3.4.22

ГОСТ 23407

Ограждения инвентарные строительных площадок и участков производства строительно-монтажных работ. Технические условия.

П. 3.5.29

ПУЭ

Правила устройства электроустановок.

П. 3.5.41, П. 5.1.2

ГОСТ 12.4.026

ССБТ. Цвета сигнальные и знаки безопасности.

П. 3.5.58

ГОСТ 10922

Арматурные и закладные изделия сварные, соединения.

П. 7.1.3, П. 3.4.24

ПБ 03-246-98

Правила проведения экспертизы промышленной безопасности.

 

СНиП 3.03.01-87

Несущие ограждающие конструкции.

П. 10.1.28, П. 10.2.12

ВМУ 50:48:0075:02:02

Тупиковые упоры. Общие требования к проектированию, изготовлению и эксплуатации.

П. 3.5.17

Приложение 3

ПРЕДЕЛЬНЫЕ ВЕЛИЧИНЫ ОТКЛОНЕНИЙ ОТ ПРОЕКТНОГО ПОЛОЖЕНИЯ ПРИ УСТРОЙСТВЕ И ЭКСПЛУАТАЦИИ НАДЗЕМНЫХ КРАНОВЫХ ПУТЕЙ

Таблица П.3.1

Предельные величины отклонений от проектного положения при устройстве и эксплуатации крановых путей опорных кранов

№ п/п

Наименование отклонения

Буквенное обозначение

Графическое изображение отклонения

Предельные величины отклонений, мм

Устройство

Эксплуатация

1

Разность отметок верха направляющих в одном поперечном сечении кранового пути:

Р1

0,001S, но не более

0,005S, но не более

На колоннах

15

40

В пролете

 

20

40

2

Отклонения от осей симметрии направляющих кранового пути

Р2

10

15

3

Наибольшее отклонение направляющих от прямой линии по высоте в вертикальной плоскости

Р3

0,0015L, но не более

8 при L £ 10

16 при L > 10

0,0015L, но не более

10 при L £ 10

20 при L > 10

Отклонение от прямой линии на базе 2000 мм в вертикальной плоскости в любой точке

b

2

3

4

Наибольшее отклонение направляющих от прямой линии в горизонтальной плоскости

Р4

15

30

Отклонение от прямой линии на базе 2000 мм в горизонтальной плоскости в любой точке

b

2

3

5

Взаимное смещение торцов стыкуемых направляющих

Р5

 

 

В плане

 

1

2

По высоте

 

1

2

6

Зазоры в стыках направляющих, не более

Р6

6

12

7

Смещение направляющих с оси балок кранового пути

Р7

 

 

При стальных балках

15

30

При железобетонных балках

 

20

60

8

Расстояние от выступающих частей крана до колонн, стен и т.п., не менее

Р8

80

60

9

Расстояние от верхней точки грузоподъемной машины до нижней точки строения, не менее

Р9

120

100

10

Расстояние от настила площадки до нижней точки строения, не менее

Р10

1820

1800

Примечание:

S - пролет или колея кранового пути, мм

L - расстояние между точками замера вдоль кранового пути, мм

b - кривизна, мм

М - расстояние от оси симметрии колес крана до максимально выступающих частей крана, мм

К - расстояние от оси симметрии направляющих до выступающих конструкций строений, мм

Таблица П.3.2

Предельные величины отклонений от проектного положения при устройстве и эксплуатации крановых путей подвесных кранов

п/п

Наименование отклонения

Буквенное обозначение отклонения

Графическое изображение отклонения

Предельные величины отклонений, мм

Устройство

Эксплуатация

1

Разность отметок направляющих в одном поперечном сечении кранового пути

P1

P1 = 0,001L или Р1 = 0,002К

P1 = 0,003L или Р1 = 0,003К

2

Отклонение полки направляющей (двутавра) от вертикальной оси, град

Р2

3

5

3

Взаимное смещение торцов стыкуемых направляющих (двутавров)

В плане

По высоте

Р3

1

2

4

Отклонение между осями симметрии направляющих одно и двух пролетных крановых путей

Р4

±10

±15

5

Уменьшение ширины пояса двутавра (направляющей) вследствие износа

Р5 (ΔВ)

-

ΔВ £ 0,05В

6

Уменьшение толщины полки двутавра (направляющей) вследствие износа

Р6 (Δδ)

-

Δδ ³ 0,2δ при одновременном отгибе полки f £ 0,15δ

7

Отгиб полки двутавра (направляющей)

Р7 (f)

-

f ³ 0,25δ при одновременном износе полки Δδ £ 0,

Примечание:

К - ширина колеи

f - отгиб полки

L - расстояние между подвесками

S - первоначальная толщина полки на расстоянии (В - t)/4 от края

В - первоначальная ширина пояса

t - толщина стенки

ΔВ - износ полки

Δδ - уменьшение толщины полки вследствие износа

Таблица П.3.3

Допускаемые величины поверхностных повреждений направляющих

Наименование (вид) повреждений направляющих

Величина повреждений, мм

при укладке

при эксплуатации

Плавные вмятины и забоины

2

4

Плавный местный износ кромки подошвы

3

5

Уменьшение толщины подошвы от коррозии

2

4

Равномерный наплыв металла на боковой грани головки без признаков трещин и расслоений

1

2

Приложение 4

РАЗМЕЩЕНИЕ НАДЗЕМНЫХ КРАНОВЫХ ПУТЕЙ ОПОРНЫХ И ПОДВЕСНЫХ КРАНОВ МОСТОВОГО ТИПА В ПРОЛЕТЕ ЗДАНИЯ (ЦЕХА)

Рис. П.4.1. Схема расположения элементов кранового пути опорного крана относительно разбивочных осей.

1 - оси направляющих; 2 - оси опорных колонн; М - расстояние между осями здания и балками кранового пути; Lк - пролет крана; Lц - пролет здания (цеха); а - расстояние от оси направляющей до края моста крана

Таблица П.4.1

Соотношение между пролетами опорных кранов и пролетами здания

Пролеты здания, м

Пролеты для мостовых кранов

1 группы

2 группы

3 группы

При отсутствии проходов вдоль крановых путей

При наличии проходов вдоль крановых путей

 

 

6

4,5

-

-

-

9

7,5

-

-

-

12

10,5

10

10

9,5

(15)

(13,5)

13

(13)

(12,5)

18

16,5

16

16

15,5

(21)

(19,5)

(19)

(19)

(18,5)

24

22,5

22

22

21,5

(27)

(25,5)

(25)

(25)

(24,5)

30

28,5

28

28

27,5

(33)

(31,5)

(31)

(31)

(30,5)

36

34,5

34

34

33,5

Таблица П.4.2

Определение группы опорного крана в зависимости от грузоподъемности

Группа крана

Грузоподъемность крана (Q), т

Расстояние от оси направляющей до края моста крана (а), мм

1

50

300

2

63 - 125

300 - 400

3

125

400

Таблица П.4.3

Значение величины проходов в зависимости от группы и грузоподъемности опорного крана

Группы крана

Проходы (м), мм

Имеются

Отсутствуют

1

1000

750

2

1000

-

3

1250

-

Таблица П.4.4

Рекомендуемые типы направляющих крановых путей опорных кранов в зависимости от давления ходового колеса крана на направляющую

Группа режима работы кранов

Давление ходового колеса на направляющую, кН

Тип направляющей

Железнодорожный рельс

Специальный крановый рельс

А1 - А3

До 50 включит.

Р43

квадрат 50

А4 - А6

До 300 включит.

Р43

КР70

Св. 300 до 400 включит.

Р50

КР70

Св. 400

-

КР80

А7 - А8

До 200 включит.

Р43

КР70

Св. 200 до 350 включ.

Р50

КР80

Св. 350 до 500 включ.

-

КР100

Св. 500 до 800 включ.

-

КР120

Св. 800

-

КР140

Рис. П.4.2. Схема расположения элементов кранового пути подвесных кранов для различных пролетов здания (цеха).

I - для пролетов 12 и 18 м; II - для пролетов 18 и 24 м; III - для пролетов 30 и 36 м; IV - для пролетов 30 м для двух подвесных кранов; а - расстояние от оси направляющей до края моста крана; В - расстояние от оси направляющей до оси здания; L1, L2, С - расстояние между осями направляющих; Lк, L3 - пролеты соответственно крана и здания

Таблица П.4.5

Значения величин и буквенные обозначения схемы расположения подвесных кранов для различных пролетов здания

Пролеты здания (L3), м

Грузоподъемность крана, т

Lк

а

В

L1

L2

12

1; 2; 3,2; 5

9

1,2; 0,9; 0,6

1,5

-

-

18

2; 3,2; 5

15

0,9; 0,6

1,5

7,5

-

24

2; 3,2; 5

21

0,9; 0,6

1,5

10,5

-

30

2; 3,2; 5

27

0,9; 0,6

1,5

9

9

36

2; 3,2; 5

33

0,9; 0,6

1,5

10,5

12

Приложение 5

КОНСТРУКЦИИ И ОСНОВНЫЕ ХАРАКТЕРИСТИКИ ЭЛЕМЕНТОВ НАДЗЕМНЫХ КРАНОВЫХ ПУТЕЙ

Рис. П.5.1. Поперечный профиль направляющих

I - типа Р, II - типа КР

H1 - высота рельса; Н2 - высота изношенного рельса; hr - высота изношенной головки; b1 - ширина головки; b2 - ширина изношенной головки; bп - ширина подошвы

Таблица П.5.1

Основные размеры и масса направляющих типа Р и КР

Тип направляющей

bп, мм

b1, мм

b2, мм

H1, мм

н2, мм

hr, мм

Масса, кг/м

Приведенный износ**, мм

Р38*

114

68

57,8

135

129

40

38,4

10

Р43*

114

70

59,5

140

133,7

42

44,6

10,5

Р50

132

72

61,2

152

145,7

42

51,67

11

Р65

150

75

63,75

180

173,25

45

64,72

11,5

Р75

150

71,8

61,3

192

183,75

55

74,41

12

КР70

120

76,5

66,35

120

116,1

32,5

52,77

9,5

КР80

130

87

73,95

130

124,75

35

64,24

10,5

КР100

150

108

91,8

150

140

40

89,05

12

КР120

170

129

109,65

170

163,25

45

118,29

14,5

КР140

170

150

127,5

170

162,5

50

146,92

16,5

* - отменены, эксплуатируются в существующих крановых путях

** - Приведенный износ головки рельса - это вертикальный износ плюс половина горизонтального

Рис. П.5.2. Стыковое разъемное скрепление для направляющих типа Р

1 - накладка двухголовая; 2 - болт; 3 - гайка; 4 - шайба

Рис. П.5.3. Стыковые двухголовые накладки для направляющих типа Р

I - шестидырные; II - четырехдырные

Таблица П.5.2

Размеры стыковых двухголовых накладок, мм*

Тип рельса

А

Б

В

Г

Д

Е

Ж

З

И

Л

Число отверстий

Масса 1 шт., кг

овальных

круглых

Р43

65

160

110

120

24

32

94

-

-

790

3

3

16

Р43

65

-

-

-

24

-

94

110

120

470

-

4

16

Р50

50

140

150

140

26

34

104

-

-

820

3

3

18,8

Р50

50

-

-

-

26

-

104

150

140

540

-

4

18,8

Р65

49

130

220

202

30

40

127

-

-

1000

3

3

29,1

Р65

79

-

-

-

28

-

127

220

202

800

-

4

29,1

Р75

70

-

-

-

32

-

127

165

435

900

-

4

29,1

* - допускаемый износ стыковых накладок не более 7 %

Рис. П.5.4. Разъемное стыковое скрепление для направляющих типа КР

1 - специальная накладка; 2 - болт; 3 - гайка; 4 - шайба пружинная.

Рис. П.5.5. Накладка специальная для направляющих типа КР

Таблица П.5.3

Размеры специальных накладок для направляющих типа КР, мм*

Тип направляющей

h

a1

а2

а3

а4

a5

S

КР70

48

30

5

8

8

7

16

КР80

51

КР100

58

35

6

9

9

9

20

КР120

66

40

7

11

12

12

25

КР140

70

45

11

17

15

12

30

* - допускаемый износ стыковых накладок не более 7 %

Рис. П.5.6. Промежуточные скрепления для направляющих типа Р и КР

I - раздельно-разъемное жесткое; II - нераздельно-разъемное жесткое; III - нераздельно-разъемное упругое; IV - раздельно-неразъемное упругое

1 - направляющая (рельс); 2 - прижим; 3 - болтовое соединение; 4 - подкладка; 5 - упругая неметаллическая прокладка; 6 - ж/б балка кранового пути

Рис. П.5.7. Промежуточные скрепления для прикрепления направляющих к стальной балке кранового пути

I, II - нераздельно-разъемное, жесткое; III - нераздельно-разъемное, упругое; IV - нераздельно-неразъемное, жесткое

1 - направляющая-рельс; 2 - прижим; 3 - болтовое соединение; 4 - подкладка; 5 - упругая прокладка; 6 - стальная балка кранового пути

Рис. П.5.8. Промежуточные скрепления для направляющей, установленной на стальной (I, V, VII) и железобетонной (II, III, IV, VI) балке кранового пути

I, VI, VII - нераздельно-разъемное упругое; II - раздельно-разъемное жестко-упругое; III - нераздельно-разъемное жестко-упругое; IV - раздельно-разъемное жесткое; V - нераздельно-разъемное жесткое.

1 - направляющая (рельс); 2 - прокладка; 3 - резьбовое соединение; 4 - крюк-прижим; 5 - упругая неметаллическая прокладка; 6 - опорная балка кранового пути; 7 - жестко-упругая постель; 8 - регулировочная металлическая прокладка

Рис. П.5.9. Промежуточные скрепления для крепления направляющей - стального горячекатаного квадрата к стальной и железобетонной балке кранового пути

I - раздельно-разъемное жесткое; II, III, IV - нераздельно-разъемное жесткое.

1 - направляющая - стальной квадрат; 2, 3, 4, 5 - прикрепитель; 6 - стальная или ж/б балка кранового пути; 7 - подкладка

Рис. П.5.10. Упругое регулируемое промежуточное скрепление для направляющих типа Р и КР

а) общий вид скрепления; б) конструкция узла скрепления; в, г) скрепление, установленное соответственно на железобетонной и стальной балке

1 - упругая прокладка; 2 - упругий прижим; 3 - прижимная пластина; 4 - упор; 5, 6, 7 - болт, шайба, гайка; 8, 9 - регулировочный элемент

Рис. П.5.11. Промежуточные скрепления с эластичным элементом (типа GANTREX):

I - на стальном или железобетонном основании; II - на опорных балках; III - на железобетонных опорных элементах

Rh - максимально воспринимаемое боковое усилие в кН; е - диапазон регулирования направляющей в горизонтальной плоскости; 1 - направляющая; 2, 3, 4 - болт, шайба, гайка (анкер); 5 - прижим; 6 - опора из синтетического эластомера; 7 - упругая подкладка из синтетического эластомера; 8 - опорный элемент; 9 - мелкозернистый бетон; 10 - железобетон; 11 - регулятор высоты при необходимости; 12 - отверстие для установки анкера; 13 - стальная опорная плита.

Рис. П.5.12. Крепление направляющих подвесных крановых путей к стальным стропильным фермам

1 - направляющая; 2 - подвеска; 3 - стропильная ферма; 4, 5 - болт, гайка; 6 - прокладка для выверки; 7 - крепежная пластина; 8 - прижимные лапки

Рис. П.5.13. Крепление направляющей подвесных крановых путей к железобетонным стропильным фермам и балкам

1 - железобетонная стропильная ферма (балка); 2 - подвеска; 3 - направляющая; 4, 5 - болт (шпилька), гайка.

Рис. П.5.14. Сечения (I) и схемы (II) стальных балок кранового пути

I) а - сплошное из прокатного двутавра, усиленного листом двутаврового сечения; б - сплошное из прокатного двутавра, усиленного уголками; в - сплошное, сварное из двутаврового сечения; г, д - сплошное, клепанное из листов и уголков; е - сквозное с верхним поясом из прокатного двутавра, усиленного листом; ж - сквозное с верхним поясом из прокатного двутавра, усиленного уголками.

II, IV - рядовые балки кранового пути; III, V - концевые балки кранового пути;

1 - верхний пояс; 2 - нижний пояс; 3 - стенка балки; 4 - ребро жесткости; 5 - опорное ребро

Рис. П.5.15. Типовые стальные опорные колонны надземных крановых путей

I - постоянного сечения; II - ступенчатая; III - раздельная

1 - колонна; 2 - балка кранового пути; 3 - грузоподъемный механизм; 4 - проходная галерея; 5 - стропильные конструкции; 6 - траверса.

Рис. П.5.16. Типовые конструкции железобетонных балок надземных крановых путей

I - Для кранов Q = 10 т, пролет до 24 м, шаг колонн 6 м, высота здания 8,4 м;

II - Для кранов Q = 10 - 30 т, пролет до 30 м, шаг колонн 6 м, высота здания 9,6 - 18,0 м;

III - Для кранов Q = 10 - 30 т, пролет до 30 м, шаг колонн 12 м, высота здания 9,6 - 18,0 м.

Таблица П.5.4

Основные размеры типовых конструкций ж/б балок кранового пути

№ п/п рис.

Основные размеры типовых ж/б балок кранового пути, мм

L

Lбкп

В1

B2

b1

b2

a1

а2

а3

c1

c2

h1

h2

I

6000

5950

550

-

160

-

120

-

-

-

-

800

-

II

6000

5950

600

-

200

-

120

-

-

-

-

1000

-

III

6000

5950

-

650

-

340

-

180

300

40

90

-

1400

Рис. П.5.17. Типовые конструкции железобетонных колонн для надземных крановых путей

I - сплошного сечения крайнего ряда; II - сплошного сечения среднего ряда; III, V - сквозные, двухветвевые крайнего ряда; IV, VI - сквозные, двухветвевые среднего ряда

Н - высота колонны; h - высота подкрановой части; а - ширина надкрановой части; b - толщина надкрановой и подкрановой части; с - ширина подкрановой части; d - ширина одной ветви подкрановой части; е - ширина одной ветви надкрановой части.

Рис. П.5.18. Узлы опирания балок кранового пути на колоннах

а - стальной балки на стальной колонне; б - железобетонной балки на железобетонной колонне; в - стальной балки на железобетонной колонне

1 - колонна; 2 - балка кранового пути; 3 - соединительные элементы узла опирания балки; 4 - соединительные элементы узла верхнего пояса балки на колонне

Рис. П.5.19. Узлы опирания и восстановление проектного положения балки кранового пути

1 - колонна; 2 - направляющая; 3 - стыковая двухголовая накладка; 4 - балка; 5 - набор регулировочных металлических пластин; 6 - элементы крепления верхнего пояса балки к колонне

Рис. П.5.20. Тупиковый упор ударного типа на железобетонной (I) и металлической (II) балке кранового пути

1 - стойка; 2 - ограничитель механизма передвижения крана; 3 - упругий амортизатор; 4 - ребра жесткости с фиксирующей плитой; 5 - направляющая; 6 - железобетонная балка; 7 - металлическая балка; 8 - крепежные болты; 9 - ребра жесткости; 10 - фиксирующая плита.

Рис. П.5.21. Тупиковый упор безударного типа

1 - башмак; 2 - прижим; 3 - шайба сферическая; 4, 5 - гайка и болт М24; 6 - направляющая

Рис. П.5.22. Система заземления надземных крановых путей.

I - общий вид; II - схема соединения вертикальных заземлителей; III - прикрепление соединительных проводников и перемычек к направляющим; IV - схема замера сопротивления заземления прибором М416.

1 - промежуточная пластина; 2 - соединительный проводник; 3 - накладка; 4 - направляющая (рельс); 5 - заземлитель; 6 - прибор М416

Приложение 6

(обязательное)

УТВЕРЖДАЮ

_____________________________

(должность)

_____________________________

(организация)

_____________________________

(подпись, ФИО)

«___»_______________200__ г.

ПАСПОРТ НАДЗЕМНОГО КРАНОВОГО ПУТИ

пс-хххх-ххх-хххххххх-хх*

(регистрационный номер паспорта)

__________________________________________________________________________

(адрес организации - владельца кранового пути)

__________________________________________________________________________

* ПС - паспорт,

первая группа знаков - код ОКП;

вторая группа знаков - регистрационный номер паспорта;

третья группа знаков - регистрационный номер предприятия-разработчика паспорта;

четвертая группа знаков - год.

ОБЩАЯ ЧАСТЬ

Место нахождения (адрес) кранового пути:

_________________________________________________________________________

_________________________________________________________________________

После окончания строительно-монтажных работ и приемо-сдаточных испытаний составляется акт по форме согласно приложению 3 к паспорту.

Комиссии, при проведении приемо-сдаточных испытаний должны быть представлены акты освидетельствования скрытых работ и промежуточных приемок ответственных конструкций (приложения 1 и 2 к Паспорту)

Тип и основные характеристики крана приведены в табл. п.6.1.

Таблица П.6.1

Характеристика крана, установленного на крановом пути

1

Тип

 

 

2

Заводской номер

 

 

3

Регистрационный номер (инвентарный номер)

 

 

4

Грузоподъемность, т

 

 

5

Высота подъема груза, м

 

 

6

Скорость подъема груза, м/с (м/мин)

 

 

7

Скорость передвижения, м/с (м/мин)

 

 

8

Режим работы

 

 

9

Масса, т

 

 

10

Дата изготовления (установки)

 

 

11

Дата демонтажа

 

 

1. ТЕХНИЧЕСКИЕ ДАННЫЕ

1.1. Строительная часть

1.1.1. Колонны ___________________________________________________________

(количество, серия, марка бетона, ссылка на чертеж)

1.1.2. Балки кранового пути ________________________________________________

(количество, серия, марка бетона, металл, ссылка на чертеж)

1.1.3. Вертикальная связь __________________________________________________

1.1.4. Уровень отметки относительно пола: ___________________________________

1.1.4.1 Верха балки кранового пути, мм ______________________________________

1.1.4.2. Низа балки кранового пути, мм ______________________________________

1.1.5. Узел опирания крановой балки на колонну ______________________________

(количество, серия, марка бетона, ссылка на чертеж)

1.2. Характеристика кранового пути

1.2.1. Длина, мм __________________________________________________________

1.2.2. Пролет, мм __________________________________________________________

1.2.3. Тип направляющих ___________________________________________________

1.2.4. Стыковые скрепления ________________________________________________

1.2.5. Промежуточные скрепления ___________________________________________

1.2.6. Расстояние по осям промежуточных скреплений, мм ______________________

1.3. Путевое оборудование

1.3.1. Тупиковый упор _____________________________________________________

(тип, № проекта, паспорт)

1.3.2. Ограничитель передвижения __________________________________________

(наименование, № проекта, паспорт)

2. ПЛАНОВО-ВЫСОТНОЕ ПОЛОЖЕНИЕ ЭЛЕМЕНТОВ И ПОДАТЛИВОСТЬ КРАНОВОГО ПУТИ

Перед сдачей и приемкой в эксплуатацию, и периодически не менее одного раза в год в процессе эксплуатации кранового пути необходимо определять планово-высотное положение элементов и податливость кранового пути.

Результаты планово-высотной съемки и податливости кранового пути заносятся в табл. П.6.2. (в паспорте должно быть не менее 15 листов заполняемых форм-таблиц).


Таблица П.6.2

Планово-высотное положение элементов кранового пути

Наименование параметра (обозначение параметра)

Значение величин для номеров точек наблюдения

1

2

3

4

5

6

7

8

9

10

11

12

13

14

15

16

17

18

19

20

21

22

23

24

25

26

27

28

29

Разность отметок верха направляющей в одном поперечном сечении (Р1), мм

а) б/н

 

 

 

 

 

 

 

 

 

 

 

 

 

 

 

 

 

 

 

 

 

 

 

 

 

 

 

 

 

б) п/н

 

 

 

 

 

 

 

 

 

 

 

 

 

 

 

 

 

 

 

 

 

 

 

 

 

 

 

 

 

Разность отметок верха направляющей вдоль пути (Р2), мм

а) б/н

Направляющая А

 

 

 

 

 

 

 

 

 

 

 

 

 

 

 

 

 

 

 

 

 

 

 

 

 

 

 

 

 

Направляющая Б

 

 

 

 

 

 

 

 

 

 

 

 

 

 

 

 

 

 

 

 

 

 

 

 

 

 

 

 

 

б) п/н

Направляющая А

 

 

 

 

 

 

 

 

 

 

 

 

 

 

 

 

 

 

 

 

 

 

 

 

 

 

 

 

 

Направляющая Б

 

 

 

 

 

 

 

 

 

 

 

 

 

 

 

 

 

 

 

 

 

 

 

 

 

 

 

 

 

Величина упругой податливости, мм/т

Направляющая А

 

 

 

 

 

 

 

 

 

 

 

 

 

 

 

 

 

 

 

 

 

 

 

 

 

 

 

 

 

Направляющая Б

 

 

 

 

 

 

 

 

 

 

 

 

 

 

 

 

 

 

 

 

 

 

 

 

 

 

 

 

 

Отклонение направляющей от проектного положения в плане (Р3), мм (колея)

 

 

 

 

 

 

 

 

 

 

 

 

 

 

 

 

 

 

 

 

 

 

 

 

 

 

 

 

 

 

 

 

 

 

 

 

 

 

 

 

 

 

 

 

 

 

 

 

 

 

 

 

 

 

 

 

 

 

 

 

Отклонение направляющей от прямой линии (Р4), мм

Направляющая А

 

 

 

 

 

 

 

 

 

 

 

 

 

 

 

 

 

 

 

 

 

 

 

 

 

 

 

 

 

Направляющая Б

 

 

 

 

 

 

 

 

 

 

 

 

 

 

 

 

 

 

 

 

 

 

 

 

 

 

 

 

 

Смещение торцов направляющих в стыке (Р5), мм

Направляющая А

 

 

 

 

 

 

 

 

 

 

 

 

 

 

 

 

 

 

 

 

 

 

 

 

 

 

 

 

 

Направляющая Б

 

 

 

 

 

 

 

 

 

 

 

 

 

 

 

 

 

 

 

 

 

 

 

 

 

 

 

 

 

Зазор в стыке (Р6), мм

Направляющая А

 

 

 

 

 

 

 

 

 

 

 

 

 

 

 

 

 

 

 

 

 

 

 

 

 

 

 

 

 

Направляющая Б

 

 

 

 

 

 

 

 

 

 

 

 

 

 

 

 

 

 

 

 

 

 

 

 

 

 

 

 

 

Расстояние от конструкций здания (колонны) до оси, мм

 

Направляющая А

 

 

 

 

 

 

 

 

 

 

 

 

 

 

 

 

 

 

 

 

 

 

 

 

 

 

 

 

 

Балки

 

 

 

 

 

 

 

 

 

 

 

 

 

 

 

 

 

 

 

 

 

 

 

 

 

 

 

 

 

 

Направляющая Б

 

 

 

 

 

 

 

 

 

 

 

 

 

 

 

 

 

 

 

 

 

 

 

 

 

 

 

 

 

Балки

 

 

 

 

 

 

 

 

 

 

 

 

 

 

 

 

 

 

 

 

 

 

 

 

 

 

 

 

 

Несоосность направляющей с крановой балкой, мм

Направляющая А

 

 

 

 

 

 

 

 

 

 

 

 

 

 

 

 

 

 

 

 

 

 

 

 

 

 

 

 

 

Направляющая Б

 

 

 

 

 

 

 

 

 

 

 

 

 

 

 

 

 

 

 

 

 

 

 

 

 

 

 

 

 

Расстояние от торца крана до конструкции здания, мм

Направляющая А

 

 

 

 

 

 

 

 

 

 

 

 

 

 

 

 

 

 

 

 

 

 

 

 

 

 

 

 

 

Направляющая Б

 

 

 

 

 

 

 

 

 

 

 

 

 

 

 

 

 

 

 

 

 

 

 

 

 

 

 

 

 

Отклонение осей колонн по вертикали в верхнем сечении (Р-22)

Направляющая А

 

 

 

 

 

 

 

 

 

 

 

 

 

 

 

 

 

 

 

 

 

 

 

 

 

 

 

 

 

Направляющая Б

 

 

 

 

 

 

 

 

 

 

 

 

 

 

 

 

 

 

 

 

 

 

 

 

 

 

 

 

 

Разность отметок верха колонн (Р-23)

Направляющая А

 

 

 

 

 

 

 

 

 

 

 

 

 

 

 

 

 

 

 

 

 

 

 

 

 

 

 

 

 

Направляющая Б

 

 

 

 

 

 

 

 

 

 

 

 

 

 

 

 

 

 

 

 

 

 

 

 

 

 

 

 

 

Отклонение от симметричности крановых балок (Р-24)

Направляющая А

 

 

 

 

 

 

 

 

 

 

 

 

 

 

 

 

 

 

 

 

 

 

 

 

 

 

 

 

 

Направляющая Б

 

 

 

 

 

 

 

 

 

 

 

 

 

 

 

 

 

 

 

 

 

 

 

 

 

 

 

 

 

Отклонение балки от вертикали в верхнем сечении (Р-25)

Направляющая А

 

 

 

 

 

 

 

 

 

 

 

 

 

 

 

 

 

 

 

 

 

 

 

 

 

 

 

 

 

Направляющая Б

 

 

 

 

 

 

 

 

 

 

 

 

 

 

 

 

 

 

 

 

 

 

 

 

 

 

 

 

Разность отметок балок направляющих в одном поперечном разрезе пролета (Р-27)

Направляющая А

 

 

 

 

 

 

 

 

 

 

 

 

 

 

 

 

 

 

 

 

 

 

 

 

 

 

 

 

 

Направляющая Б

 

 

 

 

 

 

 

 

 

 

 

 

 

 

 

 

 

 

 

 

 

 

 

 

 

 

 

 

 

Угол наклона направляющей, %

Направляющая А

 

 

 

 

 

 

 

 

 

 

 

 

 

 

 

 

 

 

 

 

 

 

 

 

 

 

 

 

 

Направляющая Б

 

 

 

 

 

 

 

 

 

 

 

 

 

 

 

 

 

 

 

 

 

 

 

 

 

 

 

 

 

Разрешение (лицензии) на геодезические работы

Торцевой вылет крана, ММ _________________   № ________ от «____» ___________ 200__ г. Вывод __________________________________

______________________________________                                                                                     ______________________________________

(должность)

А - левая направляющая

В - правая направляющая                                                                                     ______________________________________                                                                         Геодезическую съемку выполнил __________

Вид нагружения: _____________________                                  (подпись, Ф. И. О.)                                                                                                          (подпись, Ф. И. О.)

«___»__________ 200__ г.                                                                                                                                                     Удостоверение № ____ от «__» ______ 200_ г.


3. ЗАЗЕМЛЕНИЕ КРАНОВОГО ПУТИ

3.1. Конструкция заземления и № проекта ____________________________________

_________________________________________________________________________

3.2. Место расположения и длина заземления _________________________________

3.3. По результатам работ по заземлению составляется акт сдачи-приемки заземления пути (форма акта представлена в приложении 5 к Паспорту).

В процессе эксплуатации кранового пути необходимо производить периодические проверки заземления.

Результаты проверок должны заноситься в табл. П.6.3. Количество таблиц должно достаточное на весь срок эксплуатации кранового пути.

Таблица П.6.3

Результаты проверки заземления

Сведения о погоде*

Места измерения

Сопротивление растеканию тока заземляющей системы, Ом

Заключение

Дата и подпись выполнившего измерения (фамилия, и.о.)

1

2

3

4

5

 

 

 

 

 

 

 

 

 

 

*) Сведения о погоде в течение последних трех дней и в день производства испытаний.

4. СВЕДЕНИЯ О РЕМОНТЕ КРАНОВОГО ПУТИ

В процессе эксплуатации кранового пути могут производиться ремонтные работы с усилением или заменой отдельных элементов пути.

Сведения о ремонте кранового пути должны заносится в табл. П.6.4. Количество таблиц определяет владелец пути.

Таблица П.6.4

Сведения о ремонте кранового пути

Дата отказа элемента кранового пути

Характер неисправности

Принятые меры по устранению неисправности. Дата начала и окончания работ

Должность, фамилия и подпись лица, ответственного за проведение работ

1

2

3

4

 

 

 

 

 

 

 

 

5. СВЕДЕНИЯ О ЛИЦАХ, ОТВЕТСТВЕННЫХ ЗА ЭКСПЛУАТАЦИЮ И СОДЕРЖАНИЕ КРАНОВОГО ПУТИ

Перед сдачей кранового пути в эксплуатацию организация-владелец обязана назначить приказом лицо ответственное за эксплуатацию и содержание кранового пути в исправном состоянии.

Сведения о лицах, ответственных за эксплуатацию и содержание кранового пути в исправном состоянии заносятся в табл. П.6.5.

Таблица П.6.5

Сведения о лицах, ответственных за эксплуатацию и содержание кранового пути в исправном состоянии

Ф. И. О.

Номер и дата приказа

Подпись ответственного лица

Назначение

Освобождение

1

2

3

4

 

 

 

 

 

 

 

 

6. СВЕДЕНИЯ О ПЛАНОВЫХ ТЕХНИЧЕСКИХ ОБСЛУЖИВАНИЯХ КРАНОВОГО ПУТИ.

Плановое (техническое) обслуживание кранового пути проводится по графику планово-предупредительных работ предприятия-владельца пути.

Сведения о техническом состоянии кранового пути, полученные в результате планового (технического) обслуживания заносятся в ведомость плановых (технических) обслуживаний кранового пути (см. табл. П.6.6.). Количество таблиц определяется владельцем пути.

Таблица П.6.6

Ведомость плановых (технических) обслуживаний

Вид и дата технического обслуживания

Выявленные неисправности

Принятые меры по устранению неисправности

Подпись лица, ответственного за обеспечение исправного состояния кранового пути

1

2

3

4

 

 

 

 

 

 

 

 

7. СВЕДЕНИЯ О ЧАСТИЧНЫХ И ПОЛНЫХ ТЕХНИЧЕСКИХ ОСВИДЕТЕЛЬСТВОВАНИЯХ КРАНОВОГО ПУТИ

Частичное техническое освидетельствование проводится один раз в год владельцем крана. Полное техническое освидетельствование проводится специализированной организацией при комплексном обследовании.

Сведения о результатах частичных и полных технических освидетельствованиях заносятся в ведомость (см. табл. П.6.7)

Таблица П.6.7

Ведомость частичных и полных технических свидетельствований кранового пути

Дата и вид освидетельствования

Выявленные неисправности

Принятые меры по устранению неисправности

Подпись ответственного лица

1

2

3

4

 

 

 

 

 

 

 

 

Примечание. Табл. П.6.2 - П.6.7 формируются в отдельное приложение к паспорту.

8. ПРОЕКТ КРАНОВОГО ПУТИ

Проектная документация кранового пути является обязательной составляющей паспорта. Состав документации определяется перечнем чертежей проекта, составленным организацией-разработчиком на основании раздела 2 настоящего Документа.

- Проект кранового пути должен содержать. Технические условия (ТУ) по устройству и эксплуатации пути;

- Прочностной расчет пути и его элементов с пояснительной запиской;

- Расчет устойчивости и упругой податливости элементов с учетом сложного сопротивления (вертикальный, горизонтальный изгиб и кручение);

- Расчет тупиковых упоров и путевого оборудования;

- Проект заземления;

- В проекте путей должны быть приведены предельно допустимые отклонения, как при устройстве, так и при эксплуатации путей с указанием базы отсчета (грань, ребро, поверхность и др.).

- План, разрезы, узлы и детали элементов конструкций кранового пути, при необходимости - чертежи на комплектующие.

8.1. ТЕХНИЧЕСКИЕ УСЛОВИЯ (ТУ)

Технические условия (ТУ) являются обязательным документом паспорта. Состав ТУ определяется по ГОСТ 2.106.

8.2. СВЕДЕНИЯ ОБ ИЗМЕНЕНИЯХ В ПРОЕКТЕ КРАНОВОГО ПУТИ

Сведения об изменениях в проекте кранового пути, возникающие в процессе эксплуатации, заносят в лист регистрации изменений (см. табл. П.6.8), а в паспорт кранового пути подшивается дополнительная техническая документация.

Таблица П.6.8

Лист регистрации изменений

Изм.

 

Всего листов (страниц) в докум.

№ докум.

Входящий номер сопровод. докум.

Подпись

Дата

Измененных

Замененных

Новых

Аннулированных

 

 

 

 

 

 

 

 

 

 

 

 

 

 

 

 

 

 

 

 

Примечание: табл. П.6.2 - П.6.8 формируются в отдельное приложение к паспорту.

Приложения к паспорту

Приложение 1 к Паспорту

УТВЕРЖДАЮ

________________________

________________________

«___»_________ 20___ г.

АКТ ОСВИДЕТЕЛЬСТВОВАНИЯ СКРЫТЫХ РАБОТ

___________________________________________________________________________

(наименование работ)

выполненных в _____________________________________________________________

(наименование и расположение объекта)

г. ______________________                                                «____» ___________20__ г.

Комиссия в составе

представителя строительно-монтажной организации _____________________________

(фамилия, инициалы, должность)

представителя технического надзора ___________________________________________

(фамилия, инициалы, должность)

представителя проектной организации (в случаях осуществления авторского надзора проектной организации в соответствии с требованиями п. 1.5 СНиП 1.06.03-85)

___________________________________________________________________________

(фамилия, инициалы, должность)

произвела осмотр работ, выполненных _________________________________________

(наименование строительно-монтажной организации)

и cocmaвила настоящий акт о нижеследующем:

1. К освидетельствованию предъявлены следующие работы _______________________

___________________________________________________________________________

(наименование скрытых работ)

2. Работы выполнены по проектно-сметной документации ________________________

___________________________________________________________________________

(Наименование проектной организации, № чертежей и дата их составления)

3. При выполнении работ применены __________________________________________

___________________________________________________________________________

(наименование материалов конструкций, изделий со ссылкой на сертификаты или другие документы, подтверждающие качество)

4. При выполнении работ отсутствуют (или допущены) отклонения от проектно-сметной документации ______________________________________________________

(при наличии отклонений указывается, кем согласованы, № чертежей и дата согласования)

5. Дата начала работ ____________________ окончания работ _____________________

Решение комиссии

Работы выполнены в соответствии с проектно-сметной документацией, стандартами, строительными нормами и правилами и отвечают требованиям их приемки. На основании изложенного разрешается производство последующих работ по устройству (монтажу) _________________________________________________________________

(наименование работ и конструкций)

Представитель строительно-монтажной организации _____________________________

(подпись)

Представитель технического надзора заказчика _________________________________

(подпись)

Представитель проектной организации ________________________________________

(подпись)

Приложение 2 к Паспорту

УТВЕРЖДАЮ

_______________________

_______________________

«__» ______ 20__ г.

АКТ

ПРОМЕЖУТОЧНОЙ ПРИЕМКИ ОТВЕТСТВЕННЫХ КОНСТРУКЦИЙ (ФУНДАМЕНТОВ, ЭТАЖЕЙ, ПРОЛЕТОВ И ДР.)

___________________________________________________________________________

(наименование работ)

выполненных в _____________________________________________________________

(наименование и расположение объекта)

г.______________                                                               «___»___________20__ г.

Комиссия в составе представителей:

Указать организацию, Генерального подрядчика ________________________________

должность, фамилию, инициалы

___________________________________________________________________________

(производитель работ, давший обязательство в Управлении Госархстройконтроля)

Субподрядной организации __________________________________________________

___________________________________________________________________________

(производитель работ, давший обязательство в Управлении Госархстройконтроля)

Технического надзора застройщика (заказчика)

___________________________________________________________________________

Авторского надзора _________________________________________________________

___________________________________________________________________________

Произвела осмотр конструкций и проверку качества работ, выполненных ___________

___________________________________________________________________________

(наименование строительно-монтажной организации)

и составила настоящий акт о нижеследующем:

___________________________________________________________________________

(район застройки, квартал - улица, № дома и корпуса)

1. К приемке предъявлены следующие конструкции _____________________________

___________________________________________________________________________

(перечень готовых конструкций)

2. Работы выполнены по проекту ______________________________________________

___________________________________________________________________________

(наименование проектной организации, серия проекта, №№ чертежей и даты их составления)

3. При приемке рассмотрены следующие документы:

исполнительные рабочие чертежи;

журналы производства работ, сварочных работ, антикоррозийной защиты, герметизации стыков;

исполнительные схемы геодезической проверки;

акты на скрытые работы;

паспорта и сертификаты на детали, конструкции, материалы и электроды;

документы лабораторных анализов и испытаний.

4. Дата начала работ ______________ окончания работ ____________.

Решение комиссии

Работы выполнены в соответствии с проектами, стандартами, строительными нормами и правилами. Предъявленные к приемке конструкции, указанные в п. 1 настоящего акта, приняты с оценкой качества выполненных работ ____________________________

Разрешается производство последующих работ по устройству (монтажу):____________

Представители           Генеральной подрядной организации ________________________

(подписи)                   Субподрядной организации ________________________________

                                     Технического надзора _____________________________________

                                     Авторского надзора _______________________________________

Приложение 3 к Паспорту

УТВЕРЖДАЮ

__________________________

__________________________

«___»___________20___ г.

АКТ № _____

ПРИЕМКИ КРАНОВОГО ПУТИ ПОД МОНТАЖ КРАНА

Гор. _________________                                                                 «___»_________ 20__ г.

Настоящий акт составлен в том, что крановый путь в осях _____________________ ряд.

_______________________, выполненный по проекту ____________________________

___________________________________________________________________________

(наименование проектной организации)

№ чертежей _______________________________________________________________

соответствует указанным чертежам и требованиям главы СНиП III-Г.10.1-69

___________________________________________________________________________

(сдается под монтаж крана)

Особые замечания. Крановый путь оснащен тупиковыми упорами, посадочными площадками, выполнено, проверено и сдано заземление.

Приложение. Исполнительная схема кранового пути.

Приложение. Для монтажа крана крановый путь может быть принят отдельным выверенным участком длиной не менее трех без крана с установленными упорами на границах участка.

К моменту окончания монтажа крана должны быть полностью закончены устройство, геодезическая проверка и заземление кранового пути (СНиП III-Г.10.1-69 П. 3.5).

________________________________        ________________             ________________

(наименование организации-заказчика)                               (должность)                                     (подпись)

________________________________        ________________             ________________

(наименование организации, смонтировавшей               (должность)                             (подпись)

крановый путь)

________________________________        ________________             ________________

(наименование организации-проектировщика                (должность)                             (подпись)

нового пути)

Приложение 4 к Паспорту

УТВЕРЖДАЮ

__________________________

__________________________

«___»__________ 20__ г.

АКТ

СДАЧИ-ПРИЕМКИ КРАНОВОГО ПУТИ В ЭКСПЛУАТАЦИЮ

___________________________________________________________________________

(организация)

г._________________                                                                       «____»________200__ г.

Адрес объекта ______________________________________________________________

Тип, заводской и регистрационный номер крана _________________________________

Крановый путь

Разработчик проекта ________________________________________________________

(организация, № лицензии)

Проектная документация ____________________________________________________

(№, соответствует, не соответствует ЕСКД)

Конструкция кранового пути _________________________________________________

(соответствует, не соответствует проектной документации)

Наличие акта сдачи-приемки заземления пути __________________________________

Тупиковые упоры ___________________________________________________________

(тип и №, прошли, не прошли испытания)

Ограничители передвижения крана ____________________________________________

(отвечают, не отвечают требованиям эксплуатации)

Произведена обкатка пути проходами крана:

без груза __________________________________________________________

с максимальным рабочим грузом _____________________________________

Результаты измерений планово-высотного положения элементов кранового пути приведены в таблице, прилагаемой к паспорту.

ВЫВОДЫ И ЗАКЛЮЧЕНИЯ

___________________________________________________________________________

(крановый путь в целом соответствует или не соответствует)

требованиям правил Ростехнадзора и __________________________________________

(допускается или не допускается к эксплуатации)

Работу по устройству кранового пути выполнил и сдал ___________________________

(организация, должность, фамилия, подпись)

Крановый путь принял в эксплуатацию ________________________________________

(организация, должность, фамилия, подпись)

Приложение 5 к Паспорту

УТВЕРЖДАЮ

____________________________

____________________________

«___»__________ 20___ г.

АКТ

СДАЧИ-ПРИЕМКИ ЗАЗЕМЛЕНИЯ ПУТИ

гор. _________________                                                               «___»_________ 200__ г.

Проектная документация ____________________________________________________

Конструкция заземления _____________________________________________________

(соответствует, не соответствует проекту)

Место расположения и длина заземления _______________________________________

Наименование, тип и номер прибора для измерения сопротивления заземления ______

___________________________________________________________________________

Место измерения ___________________________________________________________

Погода в течение последних трех дней и в день производства измерений ____________

Сопротивление заземления, Ом _______________________________________________

Заземление пути:

удовлетворяет нормам _______________________________________________________

не удовлетворяет нормам ____________________________________________________

Заземление кранового пути выполнил и сдал ___________________________________

(организация, должность, фамилия, подпись)

___________________________________________________________________________

Измерение сопротивления заземления выполнил ________________________________

(организация, должность, фамилия, подпись)

Заземление пути принял _____________________________________________________

(организация, должность, фамилия, подпись)

___________________________________________________________________________

УТВЕРЖДАЮ:

____________________________

____________________________

«___»___________ 200__ г.

АКТ

Обследования тупиковых упоров

г. ____________                                                                           «___»__________ 200___ г.

Комиссия _________________________________________________________ в составе:

(название специализированной организации)

Председатель ______________________________________________________________

Члены комиссии ____________________________________________________________

___________________________________________________________________________

___________________________________________________________________________

действующая на основании договора № ________________________________________

лицензии Ростехнадзора (Госгортехнадзора России) _____________________________

приказа № _________________________________________________________________

(по организации)

провела обследование тупиковых упоров _______________________________________

___________________________________________________________________________

(цех, площадка, регистрационный № крана)

___________________________________________________________________________

(полное наименование и адрес организации-владельца тупиковых упоров)

РЕЗУЛЬТАТЫ ОБСЛЕДОВАНИЯ ТУПИКОВЫХ УПОРОВ.

1. Общее количество тупиковых упоров, находящихся в эксплуатации комплектов (шт.) ______:

в т.ч. - ударных - ____________ комплект (шт.), инв. №№ _______________________

2. Общее количество тупиковых упоров, выбракованных по результатам обследований - (шт.) ______: в т.ч. - ударных - __________ комплект (шт.), инв. №№ ______________

3. На основании результатов проведенного обследования установлено, что тупиковые упоры _____________________________________________________________________

___________________________________________________________________________

4. Настоящий акт является основанием для заполнения журнала учета эксплуатирующихся тупиковых упоров.

5. Следующее обследование тупиковых упоров провести не позднее ________________

(месяц, год)

Председатель комиссии                                 Члены комиссии:

по обследованию:                                            ___________________________________

                                                                             ___________________________________

_______________________________               ___________________________________

(Подпись, ф. и. о.)                                   ___________________________________

Приложение 7

Таблица П.7.1

ДЕФЕКТЫ И ПОВРЕЖДЕНИЯ ЭЛЕМЕНТОВ И КОНСТРУКЦИЙ НАДЗЕМНЫХ КРАНОВЫХ ПУТЕЙ.

Дефекты и повреждения направляющих типа рельсы Р*

* Аналогичные дефекты характерны для направляющих типа рельсы - КР и горячекатаный квадрат.

№ п/п

ХАРАКТЕРИСТИКА ДЕФЕКТА

Допускаемая величина отклонения

Оценка технического состояния направляющей

Рекомендации по устранению и предупреждению дефекта

Наименование и месторасположения

Схематическое изображение

Причина появления

Способ выявления

1

2

3

4

5

6

7

8

1.

Выкрашивание металла на боковой рабочей выкружке головки

Недостаточная контактно-усталостная прочность металла из-за металлургического качества стали

Внешний осмотр, проверка ультразвуковым дефектоскопом

Глубина выкрашивания более 4 мм длиной более 35 мм

Удовлетворительное

Подлежит замене в плановом порядке. Для предупреждения дефекта проводится профилактическая шлифовка направляющей.**

2.

Отслаивание и выкрашивание металла на поверхности катания в закаленном слое головки (при отсутствии наплавки)

Из-за нарушения технологии закалки образовываются мартенсит или неравномерный переход по твердости от закаленного к незакаленному слою

Внешний осмотр, проверка измерительными приборами

Выкрашивание глубиной > 3 мм длиной ³ 25 мм на концах или глубиной ³ 3 мм на остальной части направляющей независимо от длины выкрашивания.

Удовлетворительное

Произвести наплавку концов направляющей или ее замену в плановом порядке

При глубине выкрашивания более 6 мм

Неудовлетворительное

Подлежит замене в первоочередном порядке

3.

Выкрашивание направленного слоя на поверхности катания головки.

Из-за нарушения технологии наплавки неравномерно соединятся наплавленный слой с основным металлом

Внешний осмотр, дефектоскопия

Выкрашивание наплавленного слоя длиной более 25 мм и глубиной более 3 мм на концах.

При глубине выкрашивания более 6 мм.

Неудовлетворительное

Удалить ранее наплавленный металл и повторить наплавку или заменить направляющую в плановом порядке

В первоочередном порядке.

4.

Поперечные трещины в головке в виде светлых и темных пятен, вызывающих изломы направляющей.

Пороки изготовления (флокены, газовые пузыри). Недостаточная контактно-усталостная прочность металла.

Дефектоскопия.

 

Аварийное.

Подлежит немедленной замене.

5.

Поперечные трещины в головке в месте контактной стыковой сварки

Из-за механических повреждения прохода колес с ползунами или выбоинами, ударов по направляющей инструментом и др.

Внешний осмотр, дефектоскопия

 

Аварийное

Подлежит немедленной замене.

6.

Поперечные трещины в головке в месте контактной стыковой сварки

Нарушение режима сварки, наличие неметаллических включений, трещин или зарубов в месте сварки

Внешний осмотр, дефектоскопия

 

Аварийное

Произвести немедленную замену. Вырезать участок направляющей с трещинами для вварки вставки

7.

Трещины в закаленном слое металла головки.

Нарушение технологии закалки (неравномерный нагрев и охлаждение в процессе закалки)

Дефектоскопия

 

Аварийное

Подлежит немедленной замене.**

8.

Вертикальное расслоение головки.

Наличие усадочных раковин, резко выраженная ликвидация. Заворот корки.

Внешний осмотр, дефектоскопия

 

Аварийное

Подлежит немедленной замене.**

9.

Горизонтальное расслоение головки в стыке, вне стыка

Наличие крупных металлических включений на глубине более 8 мм, вытянутых вдоль прокатки

Внешний осмотр, дефектоскопия

 

Аварийное

Подлежит немедленной замене.**

10.

Волнообразные деформации головки направляющей (длинные волны) по всей длине

Волнообразные деформации головки (длиной 25 - 150 см). Возникают при прокатке и правке направляющей на комбинатах, а при эксплуатации происходит дальнейшее развитие дефектов и образование волнообразных неровностей.

Внешний осмотр, измерение приборами

Глубиной волны более 1 мм на базе 1 м

При глубине волны более 3 мм

Неудовлетворительное

Подлежит шлифовке или замене в плановом порядке**

Подлежит шлифовке или замене в первоочередном порядке.

11.

Смятие и вертикальный износ головки в стыке, вне стыка

 

Из-за недостаточной прочности металла головки направляющей, условий ее нагружения колесами крана

Внешний осмотр, проверка измерительными приборами

При глубине неровностей более 6 мм

Неудовлетворительное

Подлежит замене в плановом порядке.**

12.

Смятие головки в месте контактной стыковой сварки

Из-за неоднородности механических свойств металла при сварке образуется местное одиночное (одна седловина) или двойное (две седловины) смятие головки

Внешний осмотр, проверка измерительными приборами

Смятие глубиной более 1 мм на базе 1 м.

Удовлетворительное

Подлежат выравниванию уклонов в зоне сварного стыка местным шлифованием.**

13.

Расслоение шейки в стыке. Вне стыка

Дефекты изготовления, остатки усадочной раковины, резко выраженная ликвация в шейке. Недостаточная обрезка при прокате направляющей или наличие скоплений неметаллических включений

Внешний осмотр, дефектоскопия

 

Аварийное

Подлежит немедленной замене.**

14.

Продольные трещины; вызывающие выколы в местах перехода головки в шейку в стыке, вне стыка.

Высокие местные напряжения из-за некачественной обработки кромок торцов, а также чрезмерные усилия затяжки стыковых болтов, изношенные накладки, просадки в стыках, нарушение подуколонки, односторонняя перегрузка головки направляющей.

Внешний осмотр, дефектоскопия

Продольные торцевые трещины любой длины, а также трещины L ³ 30 мм вне стыка Краснота, а также продольные горизонтальные трещины под головкой вне стыка L < 30 мм

Аварийное

Подлежит немедленной замене.**

Подлежат замене в плановом порядке

15.

Трещины в шейке от болтовых или других отверстий в стыке, вне стыка

Концентрация напряжений на кромках болтовых отверстий, отсутствие или некачественное исполнение фасок, надрывы на кромках, неровности на поверхности отверстий из-за некачественного сверления и коррозии, неудовлетворительное содержание стыков (ослабление болтов, смятие и провисание концов направляющих, просадки, большие растянутые зазоры).

Внешний осмотр со снятием скреплений, дефектоскопия

 

Аварийное

Подлежит немедленной замене.**

16.

Трещины на шейке от маркировочных знаков, ударов и других механических повреждений, вызывающих выходы металла в любом месте.

В шейке в местах маркировочных знаков или повреждении от ударов концентрируются напряжения, которые приводят к образованию трещин или излому направляющей

Внешний осмотр, дефектоскопия

 

Аварийное

Подлежит немедленной замене.**

17.

Трещины в шейке в месте сварного шва, в месте контактной стыковой сварки.

Горизонтальные трещины из-за неудовлетворительной обработки сварного шва, а вертикальные из-за нарушения режима сварки.

Внешний осмотр, дефектоскопия

 

Аварийное

Подлежит немедленной замене. Необходимо вырезать участок с трещинами и вварить новую вставку.***

18.

Коррозия шейки направляющей в любом месте.

Атмосферное влияние и воздействие химических веществ.

Внешний осмотр

Коррозия шейки на глубину от 2 до 4 мм и более.

Неудовлетворительное

Подлежит замене в плановом порядке.

19.

Выколы и изломы в подошве направляющей в стыке, вне стыка

Из-за нарушения технологии изготовления в подошве образуются волосовины, закаты и другие, которые при эксплуатации приводят к образованию трещин, выколов или излому направляющей.

Внешний осмотр, дефектоскопия.

 

Аварийное

Подлежит немедленной замене.

20.

Выколы в подошве без видимых дефектов в изломе, в стыке, вне стыка

Некачественная обработка подошвы. Из-за неравномерного опирания подошвы на подкладку может образоваться трещина и произойти выкол в подошве. Несоответствие типа направляющей эксплуатационным нагрузкам.

Внешний осмотр, дефектоскопия

 

Аварийное

Подлежит немедленной замене.

21.

Трещины и выколы подошвы из-за ударов и механических повреждений в любом месте.

Из-за механических повреждений подошвы возникает концентрация напряжений, что может привести к образованию трещин, выколу подошвы или излому направляющей

Внешний осмотр

 

Аварийное

Подлежит немедленной замене.

22.

Трещины в подошве из-за нарушения технологии сварки в местах контактной стыковой сварки.

Непровары, трещины и другие дефекты из-за нарушения режима сварки.

Внешний осмотр, дефектоскопия

 

Аварийное

Подлежит немедленной замене.***

23.

Коррозия подошвы и коррозионно-усталостные трещины в любом месте

Коррозия возникает в результате атмосферного влияния и контакта с материалами, аккумулирующими влагу (деревянными, резиновыми и резинокордовыми прокладками). При повышенных динамических воздействиях на направляющую возможны появления поперечных трещин

Дефектоскопия, внешний осмотр, рекомендуется периодически сменять направляющую для осмотра подошвы в бесстыковом пути. Наличие коррозии можно обнаружить наснятых прокладках или осмотром с зеркалом на вывешенной плети

Коррозия подошвы глубиной 6 - 8 мм

Неудовлетворительное

Подлежит замене в плановом порядке

Глубина коррозии превышает указанные величины.

Аварийное

Подлежит немедленной замене

24.

Поперечные изломы направляющих в стыке, вне стыка

Наличие шлаковых включений, попадающих в направляющие при изготовлении или другие дефекты микроструктуры

Дефектоскопия

 

Аварийное

Подлежит немедленной замене.**

25.

Поперечные изломы направляющих без видимых пороков в изломе в любом месте.

Из-за превышения допускаемой нагрузки, особенно с неудовлетворительным состоянием пути, большие растягивающие напряжения в бесстыковых плетях, а также вследствие хрупкости и хладноломкости стали, могут происходить поперечные изломы направляющих без видимых дефектов. При обнаружении изломов причины их образования должны определяться при необходимости с проведением экспертных исследований

Внешний осмотр

 

Аварийное

Подлежит немедленной замене

26.

Нарушение прямолинейности направляющих, допущенное при сварке в месте контактной стыковой сварки

Использование направляющих с изогнутыми концами, неправильная стыковка или изгиб направляющей в горячем состоянии после сварки

Внешний осмотр, проверка измерительными приборами

 

Аварийное

Изогнутые сварные стыки следует вырезать и вварить новую вставку или заменить направляющую.**

** - предъявить рекламацию заводу-изготовителю

*** - предъявить рекламацию предприятию, производившему сварку направляющей

Таблица П.7.2

Классификация дефектов и допуски на устройство и эксплуатацию железобетонных и стальных опорных колонн

п/п

Наименование дефекта

Графическое изображение дефекта

Предельные величины допуска, мм

на устройство

на эксплуатацию

1

2

3

4

5

ЖЕЛЕЗОБЕТОННЫЕ КОЛОННЫ

1.

Местное повреждение защитного слоя от ударов транспортных средств; с оголением арматуры, Р, см2

 

не более 30

2.

Образование трещин поперек рабочей арматуры с шириной раскрытия, Р, мм

 

не более 0,4

3.

Образование продольных трещин вдоль арматуры, Р, мм

 

не более 1,0

4.

Отслоение защитного слоя арматуры

 

не допускается

5.

Расстройство крепления колонн с балками кранового пути и тормозными площадками

 

 

не допускается

6

Смещение колонн относительно продольной оси, Р, мм

не более 8

не более 10

7.

Отклонение осей колонн одноэтажных зданий в верхнем сечении от вертикали при длине колонн, м

 

 

до 4

не более 20

не более 25

4 - 8

не более 25

не более 30

8 - 16

не более 30

не более 35

16 - 25

не более 40

не более 50

8.

Разность отметок верха колонн (Р) или опорных площадок одноэтажных зданий и сооружений при длине колонны, м

 

 

до 4

не более 14

не более 20

4 - 6

не более 16

не более 25

8 - 16

не более 20

не более 30

16 - 25

не более 24

не более 35

9.

Разность отметок верхних полок подкрановых балок и направляющих: на двух соседних колоннах вдоль ряда при расстоянии между колоннами, м

 

 

 

L £ 10

10

0,001L, но не более

 

L > 10

0,001L, но не более 15

20

 

в одном поперечном разрезе пролета:

 

 

 

на колоннах

15

0,001S

 

в пролете

20

0,002S, но не более 40

10.

Горизонтальные прогибы колони от горизонтальных нагрузок. Группы режимов работы кранов:

 

 

 

1А-3А

 

h/500* h/1500**

 

4А-6А

 

h/1000 h/2000

 

7А-8А

 

h/2000 h/2500

11.

Горизонтальные предельные сближения крановых путей открытых эстакад от горизонтальных и внецентроприложенных вертикальных нагрузок от одного крана (без учета крена фундаментов).

 

20

* Предельные прогибы колонн для закрытых крановых эстакад

** Предельные прогибы колонн для открытых крановых эстакад

СТАЛЬНЫЕ КОЛОННЫ

12.

Смещение осей колонн и опор (Р) относительно разбивочных осей в опорном сечении, Р, мм

5

15

13.

Разность отметок опорных поверхностей соседних колонн в ряду и пролете, Р1, мм

3

10

14.

Стрелка прогиба (кривизна) колонны, опоры, связей по колоннам РММ

0,0013 расстояние между точками закрепления, но не более 15

Не более 20

15.

Отклонение колонн от вертикали, РММ

15

1/500 высоты колонны

16.

Ослабление крепления анкерных болтов

 

Не допускается

 

17.

Разрушение сварных твои крепления элементов решетки, вырезы элементов решетки, наличие трещин в основном металле ветвей

 

Не допускается

 

18.

Стальная опорная колонна.

 

 

 

1 - вырез в стенке колонны

 

2 - искривление раскоса в плоскости

 

2) f = 40

 

3 - искривление стойки в плоскости колонны

 

3) f = 30

 

4 - искривление стойки из плоскости колонны

 

4) f = 40

 

5 - отсутствует сварной шов крепления стойки к ветви колонны

 

6 - ослабление гайки анкерного болта

 

 

 

7 - местная погнутость подкрановой ветви колонны

 

7) IBM = 200 f = 20

Таблица П.7.3

Классификаций дефектов и допуски на эксплуатацию железобетонных и стальных опорных балок

№ п/п

Наименование дефекта

Графическое изображение дефекта

Предельные величины допуска, мм

на устройство

на эксплуатацию

1

2

3

4

5

ЖЕЛЕЗОБЕТОННЫЕ БАЛКИ

1.

Поперечные трещины в растянутой зоне, Р, мм

 

Не более 0,4

2.

Продольные трещины вдоль арматуры, Р, мм

 

Не более 1,0

3.

Отслоение защитного слоя арматуры (от размораживания или коррозии бетона и арматуры т.п.)

 

Не допускается

4.

Расстройство опор балок, разрушение сварных швов в местах крепления балок к колоннам, ослабление болтов крепления

 

 

Не допускается

5.

Смещение балки кранового пути относительно продольной оси (Р, мм)

не более 8

не более 10

6.

Отклонение от симметричности (Р, мм) при длине элемента, м:

 

 

до 4

не более 5

не более 6

4 - 8

не более 6

не более 8

8 - 16

не более 8

не более 10

16 - 25

не более 10

не более 12

7.

Отклонение от вертикальной оси (Р, мм) в верхнем сечении при высоте балки, м:

 

 

до 1

не более 6

не более 8

1 - 1,6

не более 8

не более 10

1,6 - 2,5

не более 10

не более 12

8.

Предельные прогибы балок кранового пути для мостовых и подвесных кранов, управляемых с пола, в т.ч. тельферы - из кабины*

Для металлических балок Р - 0,0013 длины закрепления, но не более 15 мм

 

СТАЛЬНЫЕ БАЛКИ

9.

Наличие трещин в верхних поясных швах и околошовной зоне, трещин в местах крепления ребер, погнутостей поясов и стенки, вырезов

 

 

Не допускается

10.

Наличие трещин в фасонках и швах крепления элементов решетки решетчатых балок кранового пути (ферм)

 

 

Не допускается

11.

Наличие трещин и ослабление болтов в местах крепления тормозного листа к верхнему поясу балок, а также крепления балок к колоннам

 

 

Не допускается

* - Предельные прогибы балок кранового пути для мостовых и подвесных кранов для групп режима работы:

1А - 6А                      

Вертикальные прогибы              L/400          L/500          L/600

Горизонтальные прогибы             L/500          L/1000        L/2000

12.

Смятие опорных ребер, расстройство стыков

 

 

не допускается

13.

Коррозия с уменьшением площади сечения элементов

 

 

не более 10 % сечения

14.

Смещение оси крановой балки с продольной разбивочной оси, Р, мм

не более 5

не более 10

15.

Смещение опорного ребра балки с оси колонны, Р, мм

не более 20

не более 25

16.

Относительные прогибы балок в вертикальной плоскости, Р, мм

 

не более L/400

17.

Относительные горизонтальные прогибы балок.

 

не более L/500

18.

Разность отметок верхних полок и направляющих на двух соседних колоннах вдоль ряда при расстоянии между колоннами, м:

 

 

 

До 10

 

 

0,001L не более 10

более 10

 

 

0,001L, но не более 20

19.

Расстройство крепления колонн с подкрановыми балками и связями

 

 

не допускается

20.

А. Трещины:

 

 

1) в верхнем поясном шве;

1) 1тр = 30

2) в стенке балки в околошовной зоне;

2) 1тр = 200

3) в верхнем поясном шве с переходом на стенку

3) 1тр = 120

Б. Трещины:

 

1) в стенке балки в околошовной зоне;

1) 1тр = 100

2) местная погнутость верхнего пояса;

2) 1вм = 200 f = 20

3) в верхнем поясном шве

3) 1тр = 70

21.

Стропильные фермы:

 

 

1) отсутствуют соединительные прокладки в панели верхнего пояса;

 

2) искривление стойки из плоскости фермы;

2) f = 40

3) искривление раскоса в плоскости фермы;

3) f = 20

4) трещина в шве крепления раскоса к фасонке;

4) f = 50

5) местная погнутость панели нижнего пояса.

5) 1вм = 150 f = 20

22.

Б.

 

 

1) ослабление болта крепления опорного фланца к колонне;

1) 4 и 8 шт.

2) искривление раскоса из плоскости фермы;

2) f = 30

 

3) искривление стойки в плоскости фермы;

3) f = 20

4) искривление стойки из плоскости фермы;

4) f = 30

5) местная коррозия панели верхнего пояса

5) f = 50 см2 ΔК = 0,1 мм

23.

В.

г = 20

 

1) отсутствуют болты крепления фасонки к нижнему поясу фермы;

 

 

2) искривление раскоса из плоскости связей;

2) f = 50

3) трещина в шве крепления распорки к фасонке

3) f = 40

4) искривление распорки в плоскости связей;

4) f = 30

5) местная погнутость распорки;

5) 1вм = 100

6) отсутствие распорки;

6) f = 20

7) искривление связевого раскоса в плоскости фермы.

7) f = 20

Таблица П.7.4

Характерные дефекты и повреждения элементов металлоконструкций

Номер

Наименование дефекта или повреждения

Эскиз дефекта или повреждения

Допускаемая величина предельных отклонений, мм

При приемке работ

При эксплуатации

1

2

3

4

5

1.

Вырез в элементе конструкции

Не допускается

Проверятся расчетом

2.

Вырыв в элементе конструкции

Не допускается

Проверятся расчетом

3.

Отсутствие элемента

 

Не допускается

Не допускается

4.

Разрыв элемента (излом)

Не допускается

Не допускается

 

 

Трещина в металле фасонок стержневых конструкций

Не допускаются

Не допускаются

5.

Трещина в основном металле элемента конструкции

Трещина в стенках балок под ребрами жесткости

Не допускаются

Не допускаются

 

 

Прочие трещины в стенках балок

Не допускаются

Не допускаются

6.

Выгиб конструкции из плоскости рамы

fy £ l*/750 но не > 15 мм

Определяется расчетом

7.

То же в плоскости рамы

fx £ l*/750 но не > 15 мм

Определяется расчетом

То же в двух плоскостях

fx £ l*/750 но не > 15 мм

Определяется расчетом

8.

Выгиб отдельного элемента из плоскости конструкции

fy £ l*/750 но не > 15 мм

Определяется расчетом

9.

Выгиб отдельного элемента в плоскости конструкции

fx £ l*/750 но не > 15 мм

Определяется расчетом

10.

То же в двух плоскостях

 

f £ l*/750 но не > 15 мм

Определяется расчетом

l* - длина элемента (колонны, балки, ригеля)

11.

Винтообразность элемента (длина элемента l)

а < 0,001l

а < 10 мм

а < 0,005l

а < 20 мм

12.

Погнутость элементов

f £ ldf

f £ 10 мм

Проверяется расчетом

13.

Погнутость полок элементов

f £ 0,1t

f £ 0,2t

14.

Вмятина

f £ 0,1t

f £ 0,2t

15.

Перекос полок элементов таврового и двутаврового сечения в местах примыкания

а £ 0,005bf

a £ 0,01bf

16.

Выгнутость стенки сплошной балки без вертикальных ребер жесткости

f £ 0,003hw

f £ 0,01hw

17.

То же с вертикальными ребрами жесткости

f £ 0,006hw

f £ 0,01hw

18.

Погнутость угловых фасонок. К фасонке примыкает сжатый элемент с напряжением в нем более половины расчетного сопротивления

tga £ 0,01

tga £ 0,01

19.

Грибовидность полок элементов таврового и двутаврового сечения в местах примыканий и стыков

а £ 0,005bf

a £ 0,01bf

20.

То же в остальных местах

 

a £ 0,005bf

a £ 0,01bf

21.

Смятие ребер жесткости в местах примыкания к полкам

Не допускается

Не допускается

22.

Смещение отметок опорных узлов ферм и ригелей для бескрановых зданий

a £ ±20 мм

а £ ±40 мм

23.

То же для зданий с мостовыми кранами

 

а £ ±15 мм

а £ ±30 мм

24.

Смещение верхнего пояса фермы в горизонтальной плоскости на опоре

а £ ±5 мм

а £ ±10 мм

25.

То же в середине пролета

 

а £ ±10 мм

а £ ±15 мм

26.

Смещение оси колонны от вертикали в верхнем сечении при высоте колонн до 15 м

с £ ±15 мм

с £ ±20 мм

27.

То же при высоте колонн более 15 м

 

с £ ±0,001l

с £ ±0,0015l

28.

Смещение оси колонны относительно разбивочной оси в нижнем сечении, в, мм

b £ ±5 мм

b £ ±10 мм

29.

Смещение разбивочных осей стержней в элементах решетчатых конструкций от проектных (для сквозных колонн)

δ = bpr - b

δ £ ±3 мм

b £ ±4 мм

30.

Взаимное смещение верхних поясов ферм в горизонтальной плоскости

δ = a - b

δ £ ±5 мм

δ £ ±20 мм

31.

Зазор между базой колонны и фундаментом

δ £ ±5 мм

δ £ ±733 мм

32.

Сплошная коррозия. Равномерная коррозия.

Не допускается

Не допускается

33.

Неравномерная коррозия

Не допускается

Не допускается

34.

Коррозия язвами

hя £ 0,5 мм

dя £ 2 мм

Не допускается

35.

Точечная (литтинговая) коррозия

d £ 0,1 мм

Не допускается

36.

Межкристаллическая коррозия

Не допускается

Не допускается

37.

Щелевая коррозия

То же

а £ 2 мм

38.

Разрушение и выветривание слоя краски

 

То же

До 20 % площади окраски

39

Несоответствие марки стали проектной, замена сечений, вида соединений

 

То же

Проверяется расчетом

Таблица П.7.5

Характерные дефекты и повреждения соединений

1

2

3

4

5

1.

Трещина в сварном шве

Продольная трещина в сварном шве или околошовной зоне.

Не допускается

 

Продольная трещина в сварном шве с выходом на основной металл.

Не допускается

 

Поперечная трещина в сварном шве.

Не допускается

 

2.

Неполномерность угловых швов при ручной и полуавтоматической сварке

Kfpr - Kf

Не допускается

 

3.

То же для стыковых швов

Не допускается

 

4.

Наплывы при ручной и полуавтоматической сварке угловых швов

При t = 3 ÷ 15 мм

a £ 2 мм;

При t = 16 ÷ 40 мм

a £ 3 мм

 

5.

То же для стыковых швов

При t = 3 ÷ 14 мм

a £ ±1 мм;

При t = 15 ÷ 40 мм

£ ±3 мм;

 

6.

Непровары, шлаковые включения и поры, расположенные отдельно цепочкой при двусторонней сварке

Не более 10 % толщины свариваемого металла и не > 2 мм

 

7.

То же при односторонней сварке без подкладок

Не более 15 % толщины свариваемого металла и не > 3 мм

 

8.

Резкие переходы от основного к наплавленному металлу, наплывы, натеки, сужения, кратеры, свищи

Не допускается

 

9.

Прожог сварного шва

Не допускается

 

10.

Прерывистость сварного шва

Не допускается

 

11.

Трещиноватость головки заклепки

Не допускается

 

12.

Зарубка головки заклепки

а £ 2 мм

 

13.

Маломерная и неоформленная головка

a < 0,05d

b < 0,05d

 

14.

Венчик вокруг головки

b £ 3 мм

3 мм ³ а ³ 1,5 мм

 

15.

Зарубка металла обжимкой

Не допускается

 

16.

Смещение головки заклепки с оси стержня

a £ 0,1d

 

17.

Неполное заполнение потайной заклепки по диаметру

a £ 0,1d

 

18.

Избыток или недостаток по высоте потайной заклепки

а £ 0,5 мм

b £ 0,5 мм, если не мешают плотности прилегания другого элемента

 

19.

Смещение осей заклепочных рисок в конструкциях от проектного положения

а £ 3 мм

 

20.

Зазор между головкой заклепки и склепываемым пакетом

Щуп толщиной 0,2 мм не должен проходить вглубь под головку более чем на 3 мм

 

21.

Зазор между элементами склепываемого пакета

Щуп δ = 0,5 мм не должен проходить вглубь между склепанными деталями более чем на 50 мм (вне зоны расположения заклепок)

δ £ 2 мм

22.

Дрожание или перемещение головки заклепки под ударом молотка массой 300 - 400 г

 

Не допускается

Допускается при количестве подвижных заклепок не более 10 %

Таблица П.7.6

Значения оценочных показателей технического состояния металлоконструкций.

№ п/п

Наименование дефекта или повреждения

Предельное значение величины допуска

Техническое состояние металлоконструкций

неудовлетворительное

аварийное

1

2

3

4

5

А. Стальные опорные колонны.

1.

Искривление раскоса в плоскости колонны, мм

f £ 40

f > 40, но не более 60

f > 60

2.

Искривление стойки в плоскости колонны, мм

f £ 30

f > 30, но не более 50

f > 50

3.

Ослабление затяжки и отсутствие анкерных болтов

100 % наличие затянутых болтов

отсутствует до 20 % болтов.

отсутствует свыше 50 % болтов.

4.

Местная погнутость подкрановых ветвей колонны.

J в м до 200 f < 20

J в м до 300

f > 30, но не более 40

J > 400

f > 40

 

Б. Стальные балки кранового пути

1.

Коррозия с уменьшением площади сечения элемента.

не превышает 8 % сечения

от 8 % до 10 %

свыше 10 %

2.

Смещение оси опорной балки продольной разбивочной оси, мм

f < 8

f > 8, но не более 10

f > 10

3.

Смещение опорного ребра балки с оси колонны, мм

до 20

от 20 до 25

свыше 25

4.

Относительные прогибы балки в вертикальной плоскости.

менее L/400

не более L/400

свыше L/400

5.

Относительные прогибы балки в горизонтальной плоскости.

Менее L/500

не более L/500

Свыше L/500

6.

Разность отметок верхних полок и направляющих на двух соседних колоннах вдоль ряда при расстоянии между колоннами:

 

 

 

 

менее 10 м.

0,001L, но не более 10 мм

0,001L, но не более 15*

-

 

более 10 м

0,001L, но не более 20

0,001L, но не более 25*

-

7.

Трещины:

 

 

 

 

в верхнем поясном шве мм;

1 тр. £ 30

1 тр. от 30 до 40

1 тр. > 40

 

в стенке балки в околошовной зоне;

 

1 тр. £ 200

1 тр. от 200 до 210

1 тр. > 210

 

в верхнем поясном шве с переходом на стенку;

1 тр. £ 120

1 тр. от 120 до 130

1 тр. > 130

 

в стенке балки в околошовной зоне;

1 тр. £ 100

1 тр. от 100 до 110

1 тр. > 110

 

местная погнутость верхнего пояса балки;

1 вм. £ 200

1 вм. от 200 до 210

1 вм. > 210

 

в верхнем поясном шве

f £ 20

f от 20 до 30

f > 30

 

 

1 тр. £ 70

1 тр. от 70 до 80

1 тр. > 80

В. Стропильные фермы

1.

Искривление стойки в плоскости фермы

f £ 40

f > 40, но не более 50

f > 50

2.

Искривление раскоса в плоскости фермы.

f £ 20

f > 20, но не более 30

f > 30

3.

Трещина в шве крепления раскоса к фасонке.

f £ 50

f > 50, но не более 60

f > 60

4.

Местная погнутость панели нижнего пояса.

1 вм. £ 150

f £ 20

1 вм. от 150 до 200

f от 20 до 30

1 вм. 200

f > 30

5.

Ослабление крепления или отсутствие болтов крепления опорного фланца к колонне.

4 и 8 шт.

менее 4 и 8 шт.

отсутствие 80 % болтов

6.

Искривление раскоса из плоскости фермы.

f £ 30

f > 30, но не более 40

f > 40

7.

Искривление стойки в плоскости фермы.

f £ 20

f > 20, но не более 30

f >30

8.

Местная коррозия панели верхнего пояса.

f £ 20 см2, ΔК = 0,1 мм

f > 50 см2, но не более 60 см2, ΔК = 0,1 мм

f > 60 см2, ΔК = 0,1 мм

9.

Отсутствие болтов крепления фасонки к нижнему поясу фермы.

наличие 100 %

отсутствует до 20 % болтов

отсутствует от 20 % до 50 % болтов

10.

Искривление раскоса из плоскости связи.

f £ 50

f > 50, но не более 60

f > 60

11.

Трещина в шве крепления распорки к фасонке

f £ 40

f > 40, но не более 50

f > 50

12.

Искривление распорки в плоскости связей

f £ 30

f > 30, но не более 40

f > 40

13.

Распорка отсутствует или имеет местную погнутость.

1 вм. £ 100

1 вм. > 100, но не более 120

1 вм. > 120

14.

Искривление связевого раскоса в плоскости фермы.

f £ 20

f > 20, но не более 30

f > 30

* свыше 15 и 25 необходимо производить ремонт путей.

Таблица П.7.7

ВЕЛИЧИНЫ ПРЕДЕЛЬНЫХ ОТКЛОНЕНИЙ ДОПУСКАЕМЫХ ПРИ МОНТАЖЕ ЖЕЛЕЗОБЕТОННЫХ И СТАЛЬНЫХ ЭЛЕМЕНТОВ НАДЗЕМНОГО КРАНОВОГО ПУТИ (СНиП 3.03.01-87)

Требования, предъявляемые к бетонным и железобетонным конструкциям

Пункт СНиП

Параметры

Величина предельных отклонений

Контрольный вид регистрации

Средства измерения

1

2

3

4

5

А. Бетонные и железобетонные конструкции*

2.113

1. Отклонение линий плоскостей пересечения от вертикали или проектного наклона на всю высоту конструкций для:

 

Каждый конструктивный элемент

Журнал работ

Теодолит 2Т5К, 2ТЗО Лазерный прибор приставка РЛ-1

 

фундаментов

20

 

 

 

стен и колонн, поддерживающих монолитные покрытия и перекрытия

 

 

 

 

стен и колонн, поддерживающих сборные балочные конструкции

15

10

1/500 высоты сооружения, но не более 100 мм

Всех стен и линий их пересечения

Журнал работ

 

 

стен зданий и сооружений, возводимых в скользящей опалубке при отсутствии промежуточных перекрытий

 

 

стен зданий и сооружений, возводимых в скользящей опалубке при наличии промежуточных перекрытий.

1/1000 высоты сооружения, но не более 50 мм

 

 

 

2. Отклонение горизонтальных плоскостей на всю длину выверяемого участка

20

Не менее 5 измерений на каждые 50 - 100 м; Журнал работ

Нивелиры Н3, Н3К 2Н-10КЛ, 2Н3Л

 

3. Местные неровности поверхности бетона при проверке 2-метровой рейкой, кроме опорных поверхностей

5

То же

Рейка контрольная КРТ-2, щуп для контроля зазоров 5257/4ПС

 

4. Длина или пролет элементов

+20

Каждый элемент, журнал работ

Линейка 150 ГОСТ 427-75; Метр складной МС01-82, МСД-1, Рулетки типов Р3-2, Р3-10, ЗПКЗ-10АУТ, ЗПКЗ-5АУТ/1, 20АУТ/1 и др.

 

5 Размер поперечного сечения элементов

+6

-7

То же

То же

 

6. Отметки поверхностей и закладных изделий, служащих опорами для стальных или сборных ж/б колонн и др. сборных элементов

-5

Каждый опорный элемент; исполнительная схема

Нивелиры Н3, Н3К, 2Н-10КЛ, 2НЗЛ

 

7. Уклон опорных поверхностей фундаментов при опирании стальных колонн без подливки

0,0007

Каждый фундамент и исполнительная схема

Нивелир Н3, Н№К, 2Н-10КЛ, 2НЗЛ. Уровень типа 1 и 2. 200 УС электро типа 128

 

8. Расположение анкерных болтов в плане внутри контура опоры в плане вне контура опоры по высоте

5

10

+20

Каждый фундаментный болт, исполнительная схема

Линейка ГОСТ 427-75, метр складной МСЛ1-82, МСД-1; рулетки типов Р3-2, Р3-10

 

9. Разница отметок по высоте, на стыке двух смежных поверхностей

3

Каждый стык; исполнительная схема

Глубиномеры ГМ-100, ГМ-150; штангенглубиномер МГ стрелочный.

3.7.

1. Отклонение от совмещения установочных ориентиров фундаментных блоков и стаканов фундаментов с рисками разбивочных осей

12

Каждый элемент, геодезическая исполнительная схема

Теодолиты 2Т5К, 2ТЗО; линейка, метр складной

 

2. Отклонение отметок опорной поверхности дна стаканов фундаментов от проектного до устройства выравнивающего слоя по дну стакана

-20

±5

То же

Метр складной

 

3. Отклонения от совмещения ориентиров (рисок, геометрических осей, граней) в нижнем сечении установленных элементов с установочными ориентирами (рисками геометрических осей или гранями нижележащих элементов, рисками разбивочных осей): колонн, панелей и крупных блоков несущих стен, объемных блоков; панелей навесных стен ригелей прогонов, балок, подкрановых балок, подстропильных ферм, стропильных балок и ферм

 

 

Теодолит 2Т5К, 2ТЗО; линейка, метр складной

 

8

То же

 

 

10

То же

То же

 

8

То же

То же

 

4. Отклонение осей колонн одноэтажных зданий в верхнем сечении от вертикали при длине колонн, м:

 

Каждый элемент; геодезическая исполнительная схема

Теодолит 2Т5К, 2ТЗО

 

до 4

20

 

 

 

4 - 8

25

 

 

 

8 - 16

30

 

 

 

16 - 25

40

 

 

 

5. Отклонения от совмещения ориентиров (рисок геометрических осей) в верхнем сечении колонн многоэтажных зданий с рисками разбивочных осей при длине колонн, м:

 

То же

Теодолит 2Т5К, 2ТЗО; линейка: метр складной

 

до 4

12

 

 

 

4 - 8

15

 

 

 

8 - 16

20

 

 

 

16 - 25

25

 

 

 

6. Разность отметок верха колонн или их опорных площадок (кронштейнов, консолей) одноэтажных зданий и сооружений при длине колонн, м;

 

 

Нивелиры НЗ, НЗК, 2Н-10Л

 

До 4

14

 

 

 

4 - 8

16

 

 

 

8 - 16

20

 

 

 

16 - 25

24

 

 

 

7. Разность отметок верха колонн каждого яруса многоэтажного здания и сооружения, а также верха стеновых панелей каркасных зданий в пределах выверяемого участка при:

 

 

То же

То же

контактной установке

12 + 2п

 

 

установке по маякам

10

 

 

 

8. Отклонения от совмещения ориентиров (рисок геометрических осей, граней) в верхнем сечении установленных элементов (ригелей, прогонов, балок подстропильных ферм, стропильных ферм и балок) на опоре с установочными ориентирами (рисками геометрических осей или граней нижестоящих элементов, рисками разбивочных осей) при высоте элемента на опоре, м:

 

Каждый элемент, журнал работ

Теодолит 2Т5К, 2ТЗО; линейка, метр складной

 

до 1

6

 

 

 

1 - 1,6

8

 

 

 

1,6 - 2,5

10

 

 

 

2,5 - 4

12

 

 

 

9. Отклонения от симметричности (половина разности глубины опирания концов элемента) при установке ригелей, прогонов, балок, подкрановых балок, подстропильных ферм, стропильных ферм (балок), плит покрытий и перекрытий в направлении перекрываемого пролета при длине элемента, м:

 

 

Линейка, метр складной

 

до 4

5

 

 

 

4 - 8

6

То же

 

 

8 - 16

8

 

 

 

16 - 25

10

 

 

 

10. Расстояние между осями верхних поясов ферм и балок в середине пролета

60

 

Рулетки различных типов

 

11. Отклонение от вертикали верха плоскостей:

 

Каждый элемент, геодезическая исполнительная схема

Теодолит 2Т5К, 2ТЗО, отвесы по ГОСТ 7943-80, рейка-отвес РОД-1

 

панелей несущих стен и объемных блоков:

10

 

крупных блоков несущих стен,

12

Каждый элемент, журнал работ

 

 

перегородок, навесных стеновых панелей

12

 

 

12. Разность отметок лицевых поверхностей двух смежных непреднапряженных панелей (плит) перекрытий в шве при длине плит, м:

 

 

Нивелиры НЗ, НЗК, 2Н-10Л; рейка контрольная КРТ-1, КРД-1,6; линейка 150; метр складной; штангенглубиномеры, штангенциркули, глубиномеры

 

до 4

8

 

 

4 - 8

10

 

 

8 - 16

12

 

 

13. Разность отметок верхних подкрановых балок и рельсов: на двух соседних колоннах вдоль ряда при расстоянии между колоннами, м:

 

Каждая опора, геодезическая исполнительная схема

Нивелиры НЗ, НЗК, 2Н-10КЛ

 

I < 10

10

 

 

 

I > 10

0,001, но не более 15

 

 

 

в одном поперечном разрезе

пролете;

 

 

 

 

на колоннах

15

 

 

 

в пролете

20

 

 

 

14. Отклонения по высоте порога дверного проема объемного элемента шахты лифта относительно посадочной площадки

±10

Каждый элемент, геодезическая исполнительная схема

Нивелиры НЗ, НЗК, 2Н-10Л; рейка контрольная КРТ-1, КРД, линейка, метр складной

 

15. Отклонение от перпендикулярности внутренней поверхности стен ствола шахты лифта относительно горизонтальной плоскости (пола приямка)

30

То же

Теодолиты 2ТПК, 2ТЗО: прибор вертикального проектирования; лазерный; прибор-приставка ПЛ; отвесы, линейка, метр складной

Б. Стальные конструкции**

 

Интервалы номинальных размеров, мм

Равенство размеров линейных диагоналей

Каждый конструктивный элемент и блок; журнал работ

Рулетки измерительные

 

от 2500 до 4000

±5 ± 12

 

4000 - 8000

±6 ± 15

 

8000 - 16000

±8 ± 20

 

16000 - 25000

±10 ± 25

 

25000 - 40000

±12 ± 30

Монтажные соединения на болтах без контролируемого натяжения

4.12

В собранном пакете болты заданного в проекте диаметра должны пройти в 100 % отверстий. Допускается прочистка 20 % отверстий сверлом, диаметр которого равен диаметру отверстия, указанному в чертежах. При этом в соединениях с работой болтов на срез и соединенных элементов на смятие допускается чернота (несовпадение отверстий в смежных деталях собранного пакета) до 1 мм - в 50 % отверстий, до 1,5 мм - в 10 % отверстий

Несовпадение отверстий

до 1 мм 50 %

до 1,5 мм 10 %

 

Штангенциркули различных типов

4.18

Плотность стяжки собранного пакета надлежит проверить щупом толщиной 0,3 мм, который в пределах зоны, ограниченной шайбой не должен проходить между собранными деталями на глубину более 20 мм

Зазор не более 0,3 мм

Глубина прохода не более 20 мм

 

Набор щупов № 2 и № 4, линейка, метр складной

4.19

Качество затяжки постоянных болтов следует проверять остукиванием их молотком массой 0,4 кг, при этом болты не должны смещаться

Не допускается смещение

 

Линейка, штангенциркуль

Монтаж соединений на высокопрочных болтах с контролируемым натяжением

4.22.

Перепад поверхностей (деплакация) стыкуемых деталей свыше 0,5 и до 3 мм должен быть ликвидирован механической обработкой путем образования плавного скоса с уклоном не круче 1:10

Перепад 0,5 - 3 мм

Уклон не круче 1:10

 

Угольники поперечные типа УП, щупы № 2 и № 4, линейка, уровень 2 мод. 120

4.26

Заданное проектом натяжение болтов следует обеспечивать затяжкой гайки или вращением головки болта до расчетного момента закручивания, либо поворотом гайки на определенный угол, либо другим способом, гарантирующим получение заданного усилия натяжения

По проекту

 

Динамометрические ключи: для натяжения и контроля, натяжения высокопрочных болтов

4.33

... щуп толщиной 0,3 мм не должен входить в зазоры между деталями соединения

Зазор 0,3 мм исключается

 

Набор щупов № 2 и № 4

4.36

Болты на фланцевых соединениях должны быть натянуты на усилия, указанные в рабочих чертежах, вращением гайки до расчетного момента закручивания

По проекту

 

Динамометрические ключи: для натяжения и контроля, натяжения высокопрочных болтов

 

... щуп толщиной 0,1 мм не должен проникать в зону радиусом 40 мм от оси болта

Не более 0,1 мм

Не более 40 мм

 

Набор щупов № 2 и № 4, линейка, метр складной

Требования при приемочном контроле

4.65

Колонны и опоры

 

 

 

1. Отклонение отметок опорных поверхностей колонны и опор проектных

5

То же

Нивелиры: НЗ, НЗК; 2Н-10КЛ, 2Н-Зл

2. Разность отметок опорных поверхностей соседних колонн о опор по ряду и в пролете

3

То же

То же

3. Смещение осей колонн и опор относительно разбивочных осей в опорном сечении

5

То же

Теодолиты 2Т5К, 2ТЗО, линейка, метр складной

То же

 

4. Отклонение осей колонн от вертикали в верхнем сечении при длине колонн, мм

 

То же

 

 

4000 - 8000

10

Каждый элемент, Журнал работ

Прогибомер 6-ПАО, шнур разметочный, линейка, метр складной, нивелиры НЗ, НЗК, 2Н-10КЛ

 

8000 - 16000

12

 

16000 - 25000

15

 

25000 - 40000

20

 

 

5. Стрела прогиба (кривизна) колонны, опоры и связей по колоннам

0,0013 расстояния между точками закрепления, но не более 15 мм

То же

Щупы № 3 и 4

 

6. Односторонний зазор между фрезерованными поверхностями в стыках колонн

0,0007 поперечного размера колонны. Площадь контакта должна составлять не менее 65 % площади поперечного сечения

Каждый узел, Журнал работ

Нивелиры НЗ, НЗК, 2Н-10КЛ, 2Н-3Л

 

Фермы, ригели, балки.

Прогоны

 

Каждый элемент, геодезическая исполнительная схема

Теодолиты 2Т5К, 2ТЗО, линейка, метр складной

7. Отметки опорных узлов

10

 

8. Смещение ферм, балок, ригелей с осей на оголовках колонн из плоскости рамы

15

 

 

 

9. Стрела прогиба (кривизны) между точками закрепления сжатых участков пояса фермы и балки ригеля

0,0013 длины закрепления, но не более 15 мм

Каждый элемент, журнал работ

Прогибомер 6-ПАБ, шнур разметочный, линейка, метр складной, нивелиры НЗ, НЗК, 2Н-10КЛ

 

10. Расстояние между осями ферм, балок, ригелей, по верхним поясам между точками закрепления

15

То же

рулетки РЗ-10; РЗ-20; РЗ-50 и др.

 

11. Совмещение осей нижнего и верхнего поясов ферм относительно друг друга (в плане)

0,004 высоты фермы

То же

Теодолиты 2Т5К, 2ТЗО отвесы ОТ100; ОТ200 линейка метр складной

 

12. Отклонения стоек фонаря и фонарных панелей от вертикали

8

То же

отвесы, линейка, метр складной

 

13. Расстояние между прогонами

5

То же

 

 

Подкрановые банки

14. Смещение оси подкрановой балки с продольной разбивочной оси

5

На каждой опоре, журнал работ

Теодолиты: 2Т5К, 2ТЗО, линейка 150 ГОСТ 427-75 метр складной типа МСМ-82 и типа МСД-1

 

15. Смещение опорного ребра балки с оси колонны

20

То же

Линейка 150 и 300 ГОСТ 427-75, метр складной типа МСМ-82 и МСД-1

 

16. Перегиб стенки в сварном стыке (измеряют просвет между шаблоном длиной 200 мм и вогнутой стороной стенки)

5

То же

Прогибомер типа 6ПАО, угольник УМ-1-400 ГОСТ 3749-77, линейка 150 ГОСТ 427-75

 

Крановые пути

а) Мостовых кранов

17. Расстояние между осями рельсов одного пролета (по осям колонн, но не реже, чем через 6 м)

10

На каждой опоре, геодезическая исполнительная схема

Рулетки типов РЗ-10, РЗ-20, РЗ-50, ЗПКЗ-200АУТ/1, ОП23-10БУТ/1, ОПКЗ-20БУТ/1

 

18. Смещение оси рельса с оси подкрановой балки

15

То же

Теодолиты: 2Т5К, 2ТЗО; линейка 150 ГОСТ 427-75, метр складной МСМ-82, МСД-1

 

19. Отклонение оси рельса от прямой по длине 40 м

15

То же

Теодолиты: 2Т5К, 2ТЗО, линейка 150 ГОСТ 427-75 рулетки типов РЗ-50, ОПКЗ-50АУТ/1

 

20. Разность отметок головок рельсов в одном поперечном разрезе пролета здания:

 

То же

Нивелиры: НЗ; НЗК; 2Н-10КЛ, 2Н-ЗЛ

на опорах

15

в пролете

20

 

21. Разность отметок подкрановых рельсов на соседних колоннах, при расстоянии между колоннами, м:

 

 

 

менее 10

10

10 и более

0,001 и, но не более 15

 

22. Взаимное смещение торцов стыкуемых рельсов в плане и по высоте

2

Каждый стык, журнал работ

Линейка 150 ГОСТ 427-75, линейка поверочная типа ЛЧ-1-200, ЛЧ-1-320 ГОСТ 8026-75, набор щупов № 3, № 4

 

23. Зазор в стыках рельсов (при t = 0 °С и длине рельса 12,5 м); при изменении температуры на 10 °С допуск на зазор изменяется на 1,5 см

4

То же

Линейка 150 ГОСТ 427-75

 

б) Подвесных кранов

24. Разность отметок нижнего ездового пояса на смежных опорах (вдоль пути) независимо от типа крана (расстояние между опорами l)

0,0007

На каждой опоре, геодезическая исполнительная схема

Нивелиры: НЗ, НЗК, 2Н-10КЛ, 2Н-3Л

 

25. Разность отметок нижних ездовых поясов соседних балок в пролетах в одном поперечном сечении двух- и многоопорных подвесных кранов:

 

Каждая балка, геодезическая исполнительная схема

То же

на опорах

6

в пролете

10

 

26. То же, но со стыковыми замками на опорах и в пролете

2

То же

Линейка 150 ГОСТ 427-75, Линейка поверочная типа ЛЧ-1-200, ЛЧ-1-320 ГОСТ 8026-75, набор щупов № 3 и № 4

 

27. Смещение оси балки с продольной разбивочной оси пути (для талей ручных и электрических не ограничивается)

3

То же

Теодолиты: 2Т5К, 2ТЗО, линейка 150 ГОСТ 427-75, метр складной типа МСМ-82, МСД-1

 

Стальной оцинкованный профилированный настил

28. Отклонение длины описания настила на прогоны в местах попе речных стыков

0; -5

Каждый стык, журнал работ

Линейка 150 и 300 ГОСТ 427-75, метр складной тип МСД-1 и МСМ-82

 

29. Отклонение положения дюбелей, самонарезных болтов и винтов, комбинированных заклепок:

5

Выборочный 5 %, журнал работ

 

вдоль настила

20

 

 

 

поперек настила

5

 

 

 

Примечание:

Отклонение симметричности установки ферм, балки, ригеля, щита перекрытия и покрытия (при длине опирания 50 мм и более) - 10 мм

Не более 10 мм

 

Линейка 150 и 300 ГОСТ 427-75, метр складной типа МСД-1, МСМ-82

Дополнительные правила монтажа конструкции многоэтажных зданий

4.70

1. Отклонение отметок опорной поверхности колонн от проектной отметки

5

Каждый элемент, геодезическая исполнительная схема

Нивелиры: НЗ, НЗК, 2Н-10КЛ, 2Н-3Л

 

2. Разность отметок опорных поверхностей соседних колонн

3

То же

То же

 

3. Смещение осей колонн в нижнем сечении с разбивочных осей при опирании на фундамент

5

То же

Теодолиты: 2Т5К, 2ТЗО, линейка 150 ГОСТ 427-75; метр складной МСМ-82, МСД-1

 

4. Отклонение от совмещения рисок геометрических осей колонн в верхнем сечении с рисками разбивочных осей при длине колонн, мм:

 

То же

Теодолиты: 2Т5К, 2ТЗО, линейка 150 ГОСТ 427-75

до 4000

12

4000 - 8000

15

8000 - 16000

20

16000 - 25000

25

 

5. Разность отметок верха колонн каждого яруса

0,5П + 9, где п - порядковый номер яруса

Каждая колонна, геодезическая исполнительная схема

Нивелиры: НЗ, НЗК, 2Н-10КЛ, 2Н-3Л

 

6. Смещение оси ригеля, балки с оси колонн

8

То же

Теодолиты: 2Т5Л, 2ТЗО; линейка 150 ГОСТ 427-75; метр складной МСМ-82, МСД-1

 

7. Отклонение расстояния между осями ригелей и балок в середине пролета

10

Каждый ригель и балка, журнал работ

Рулетки типов РЗ-10, РЗ-20, РЗ-50, ЗПЗК-5АУТ/1

 

8. Разность отметок верха двух смежных ригелей

15

Каждый ригель, геодезическая исполнительная схема

Нивелиры: НЗ, НЗК, 2Н-10КЛ, 2Н-3Л

 

9. Разность отметок ригеля по его концам

0,001L, но не более 15 мм, L - длина ригеля

То же

То же

 

10. Односторонний зазор между фрезерованными поверхностями в стыке колонн

0,0007 поперечного размера сечения колонны, площадь контакта должна составлять не менее 65 % площади поперечного сечения

Стык каждой колонны, журнал работ

Щупы № 3, № 4

* Монтаж конструкций каждого вышележащего этажа (яруса) многоэтажного здания следует производить после проектного закрепления всех монтажных элементов и достижения необходимой прочности бетоном раствором замоноличенных стыков несущих конструкций.

** При отсутствии в рабочих чертежах специальных требований предельные отклонения размеров, определяющих собираемость конструкций (длина элементов, расстояние между группами монтажных отверстий), при сборке отдельных конструктивных элементов и блоков не должны превышать величин, приведенных в таблице П.7.9 и дополнительных правилах.

Рис. П.7.1. Дефекты повреждения сварных соединений стальных элементов и конструкций кранового пути

а - трещины в фасонке и сварном шве; б - неравномерное сечение шва, кратеры; в - прожоги; г - резкий переход от металла шва к основному металлу; д - неполномерность шва; е - трещины; ж - непровары; з - шлаковые включения; и - подрезы основного металла; к - наплывы; 1 - трещины.

Рис. П.7.2. Места зарождения усталостных трещин в сварных соединениях элементов стальных конструкций кранового пути

а - в соединениях крепления ребер жесткости балок к сплошной стене; б, в - в нахлесточных соединениях; г - в стыковых соединениях.

Рис. П.7.3. Основные типы трещин в верхних участках стальных опорных балок крановых путей

а - схема расположения трещин; Т1 - по сварному шву; Т2 - под сварным швом; Т3 - вблизи ребер жесткости.

Приложение 8

МЕТОДЫ КОНТРОЛЯ КАЧЕСТВА, НОРМЫ ПЕРИОДИЧНОСТИ РЕМОНТА И СРОКИ ЭКСПЛУАТАЦИИ ЭЛЕМЕНТОВ И КОНСТРУКЦИИ НАДЗЕМНЫХ КРАНОВЫХ ПУТЕЙ

Рис. П.8.1. Измерение смещения оси балки кранового пути с продольной разбивочной оси

Рис. П.8.2. Замеры отклонения между осями соседних путей

Рис. П.8.3. Определение расстояния от грани рельса до верхнего пояса балки кранового пути. Стальной угольник устанавливается по уровню

Рис. П.8.4. Измерение расстояния от головки направляющей до базисной линии с помощью визирной линейки

1 - подвижная визирная марка; 2 - вертикальная мин. трубы теодолита.

Таблица П.8.1

Методы контроля качества сварных соединений (СНиП 3.03.01-87)

Пункт СНиП

Параметры

Величина предельных отклонений

Контроль, вид регистрации

Средства измерений

1

2

3

4

5

8.56

Внешний осмотр с проверкой геометрических размеров и форм швов. Контроль швов неразрушающими методами (радиографическим, ультразвуковым и др.) в соответствии с ГОСТ 3242-79.

Испытания на непроницаемость и герметичность.

 

Осмотр Испытания

Радиографические приборы, ультразвуковые: УЗД МВТУ, арматура-1, арматура-2, ДУМ-1

По чертежам КН

 

Механические испытания контрольных образцов.

 

 

Универсальные испытательные машины Р-50, Р-100. Р-20, Р-10, Р-5, Р-05

 

Металлографические исследования макрошлифов на торцах швов контрольных образцов или на торцах стыковых швов сварных соединений

 

Лабораторные испытания

 

8.58

Подрезы.

Глубина до 5 % толщины свариваемого проката, но не более 1 мм.

 

Линейка 150 ГОСТ 427-75

Дефекты удлиненные и сферические одиночные

Глубина до 10 % толщины свариваемого проката, но не более 3 мм. Длина до 20 % длины оценочного участка. Длина цепочки или скопления не более удвоенной длины оценочного участка.

 

То же

Дефекты (непровары, цепочки и скопления пор), соседние по длине шва.

Расстояние между близлежащими концами менее 200 мм

 

То же

 

Швы сварных соединений конструкций, возводимых или эксплуатируемых в районах с расчетной температурой ниже минус 40 °С и до минус 65 °С включительно. Подрезы вдоль усилия.

Глубина не более 0,5 мм при толщине свариваемого проката до 20 мм и не более 1 мм при большой толщине.

Длина - не более удвоенной длины оценочного участка.

 

Штангенциркуль ШЦ-1, штангенглубиномер МГ, глубиномер типа ГМ

 

Местные поперечные усилия

 

 

Линейка 150 ГОСТ 427-75, метр складной МСД-1, МСМ-82.

Таблица П.8.2

Допускаемые величины предельных отклонений при механических испытаниях стальных образцов

Пункт СНиП

Параметры

Величина предельных отклонений

Контроль, вид регистрации

Средства измерений

1

2

3

4

5

8.6

Стальные конструкции

1. Статическое растяжение

Временное сопротивление разрыву не менее нижнего предела временного сопротивления основного металла, регламентируемого государственным стандартом, число образцов - 2

 

Измерительный

Универсальные измерительные машины Р-50, Р-100, Р-20, Р-10, Р-5, Р-05

 

2. Статический изгиб. Число образцов - 2. Угол статического изгиба для сталей толщиной (мм):

 

То же

 

 

углеродистых

Не менее 100°

 

 

 

до 20

Не менее 80°

 

 

 

св. 20

 

 

 

 

низкоуглеродистых

 

 

 

до 20

Не менее 80°

св. 20

Не менее 60°

8.6

3 Ударный прогиб металла шва, число образцов - 3.

4. ударная вязкость - не менее величины, указанной в технической документации на машинную сварку данной конструкции.

 

 

Универсальные измерительные

 

Арматура ж/б конструкций.

Растяжение до разрушения, число образцов - 3

Оценка результатов по ГОСТ 10922-75

 

машины Р-50, Р-100, Р-20, Р-10, Р-5, Р-05

Таблица П.8.3

Допускаемая оценочная площадь дефектов сварных соединений

Пункт СНиП

Параметры

Величина предельных отклонений

Контроль, вид регистрации

Средства измерений

8.61

Сварные соединения стыковые, угловые, тавровые, нахлесточные при наименьшей толщине элемента конструкции в сварном соединении.

Фиксированная эквивалентная площадь оценочного дефекта, мм2

Измерительный

Ультразвуковые УЗД МВТУ арматура-1 арматура-2 ДУМ-1 Линейка 150 ГОСТ 427-75

 

Св. 6 до 10 мм при длине оценочного участка 20 мм.

Наименьшая поисковая - 5,

допускаемая оценочная - 7

 

 

Св. 10 до 20 мм при длине оценочного участка 25 мм.

То же

 

 

Св. 20 до 30 мм при длине оценочного участка 25 мм.

То же

 

 

Св. 30 до 60 мм при длине оценочного участка 25 мм

То же

 

Таблица П.8.4

Перечень рекомендуемых приборов и инструментов для контроля расчетных параметров, геометрических размеров, просадок пути

Наименование средств измерений

Тип, марка 1

Теодолит

2Т5К, 2ТЗО

Линейка

150, ГОСТ 427-75

Линейка

300, ГОСТ 427-75

Метр складной

МСД-1

Метр складной

МСД-82

Нивелир

НЗ, НЗК, 2Н-10Л, Н-0,5 ГОСТ 1058

Рулетка

РЗ-10, РЗ-20, РЗ-50, ЗПКЗ-10 АУТ/1, ЗПКЗ-20АУТ/1, 0ПКЗ-10 ^ БУТ/1, ОПЗ-20 БУТ/1 ЗПКЗ-5 АУТ/1

Отвес

От 100, от 200, от 400, от 600, ГОСТ 7943-80

Рейка-отвес

РОД-1 № 4296/15; БПС СКВ-Мосстрой

Рейка контрольная

КРТ-1; КРД-1; КРД-1,6; СКВ-Мосстрой

Штангенглубиномер

М2

Штангенциркуль

ШЦ

Глубиномер

ГИ 100

Динамометр

ГОСТ 13837

Омметр

М 416

Рейка геодезическая

РН-0,5 ГОСТ 11158

Таблица П.8.5

Отраслевые сроки эксплуатации железобетонных конструкций до капитального ремонта или полной замены

Конструкции

Режим работы кранов

Отраслевой срок эксплуатации до капитального ремонта или замены, лет, при среде

 

неагрессивная

слабоагрессивная

среднеагрессивная

сильноагрессивная

 

1

2

3

4

5

6

 

фундаменты

 

 

 

 

 

 

Железобетонные и

А1-А6

60

50

30

25

 

бетонные

А7-А8

50

45

25

20

 

Бутовые и кирпичные

А1-А6

50

40

25

20

 

 

А7-А8

40

35

20

15

 

Стены

 

 

 

 

 

 

Железобетонные и

А1-А6

25

20

18

15

 

бетонные

А7-А8

20

18

15

12

 

Каменные из штучных

A1-A6

25

20

18

15

 

материалов.

А7-А8

20

18

15

12

 

Каменные облегченной

А1-А6

18

15

12

8

 

кладки

А7-А8

15

12

10

6

 

Колонны

А1-А6

60

50

45

40

 

Железобетонные

А7

55

45

40

35

 

 

А8

45

40

35

30

 

Фермы

А1-А6

30

25

20

15

 

Железобетонные

А7-А8

25

20

15

15

 

Балки крановых путей

А1-А6

30

25

20

17

 

Железобетонные

А7

20

15

12

12

 

 

А8

15

12

10

8

 

Покрытия

Все режимы

25

20

18

15

 

Железобетонные

 

 

 

 

 

 

Перекрытия

Все режимы

25

20

18

15

 

Железобетонные

 

 

 

 

 

 

Эстакады крановых путей

Нормальные условия

Условия сурового климата и агрессивных воздействий

 

15

15

10

10

 

Таблица П.8.6

Сроки эксплуатации зданий с крановыми нагрузками, после которых рекомендуется проводить их обследование

Конструкции, подлежащие обследованию

Тип зданий и режим работы крана

Срок эксплуатации, после которого рекомендуется проведение обследования, лет

Среда

неагрессивная и слабоагрессивная

среднеагрессивная

сильноагрессивная

1

2

3

4

5

Фундаменты монолитные

Все виды зданий и все режимы А1-А8

20

10

5

Фундаменты со сборными элементами, сваями, фундаментные блоки

То же А1-А8

15

8

5

Стеновые панели и блоки

То же А1-А8

7

6

5

Колонны и стойки

Бескрановые здания и здания с режимом А1-А6

15

8

5

С режимом А-7

10

6

4

С режимом А-8

5

4

3

Балки, консоли

С режимом А1-А6

10

6

4

С режимом А7

8

6

3

С режимом А8

5

4

3

Стропильные и подстропильные фермы, балки, ригели

Бескрановые здания и здания с режимом А1-А6

10

6

4

С режимом А7-А8

5

4

3

Плиты покрытия и перекрытия

Все типы зданий и все режимы А1-А8

10

6

4

Таблица П.8.7

Срок службы стальных конструкций зданий, сооружений с крановыми нагрузками до капитального ремонта или их полной замены

Конструкции

Группа режима работы крана

Срок эксплуатации, лет

среда

Неагрессивная

Слабоагрессивная

Среднеагрессивная

Сильноагрессивная

Стальные конструкции и элементы надземных крановых путей

А1-А6

30

25

20

20

А7

25

20

15

15

А8

20

15

10

10

Таблица П.8.8

Срок службы стальных конструкций зданий, сооружений с крановыми нагрузками после которых рекомендуется производить их экспертизу

Конструкции

Группа режима работы крана

срок эксплуатации, лет

среда

Неагрессивная и слабоагрессивная

среднеагрессивная

сильноагрессивная

Стальные конструкции и элементы надземных крановых путей

А1-А6

18

12

12

А7

12

8

8

А8

8

5

5

Приложение 9

ПЕРЕЧЕНЬ ФОРМ РАБОЧЕЙ И ОТЧЕТНОЙ ДОКУМЕНТАЦИИ ОРГАНИЗАЦИИ ОБСЛУЖИВАНИЯ, РЕМОНТА И ЭКСПЕРТИЗЫ ПРОМЫШЛЕННОЙ БЕЗОПАСНОСТИ НАДЗЕМНЫХ КРАНОВЫХ ПУТЕЙ

Таблица П.9.1

ПЛАН

Технического обслуживания и ремонта крановых путей на 2__ г.

Наименование организации

Место расположения путей

Количество ТО и ремонтов в планируемом году

К

Т

Т

О

2

3

4

 

 

 

 

 

 

 

 

Таблица П.9.2

ПЛАН-ГРАФИК

технического обслуживания и ремонта крановых путей ______ месяц 2___ г.

Наименование организации

Место расположения путей

Числа месяца и виды ТО и ремонта

 

 

 

 

 

 

 

 

 

 

 

 

 

 

 

 

 

 

 

 

 

 

Таблица П.9.3

Нормы периодичности, трудоемкости и продолжительности технического обслуживания и ремонта надземных крановых путей (на 100 п. м. пути)

Вид технического обслуживания и ремонта

Периодичность выполнения технического обслуживания и ремонта (час.)

Трудоемкость выполнения одного тех. обслуживания и ремонта (чел. час)

Продолжительность выполнения (час)

Всего

В том числе по видам работ

диагностические

слесарные

прочие

ТО-1

200

2

0,5

0,5

1

2

ТО-2

1000

24

14

7

3

8

Т

6000

60

20

30

10

8

Форма П.9.1

ПРИКАЗ № ___________

по ________________________________________________________________________

(наименование организации-владельца оборудования)

____________________                                                               «___» ___________ 20__ г.

(город)

с _________________________________________________________________________

проводится

___________________________________________________________________________

(вид работ)

___________________________________________________________________________

на нашем предприятии.

Для обеспечения выполнения указанных работ ПРИКАЗЫВАЮ:

1. Вывести из эксплуатации на время проведения работ следующее оборудование:

Тип

Марка

Завод. №

Peг. №

Срок проведения работ

Ответственный

 

 

 

 

 

 

 

 

 

 

 

 

2. Возложить на ____________________________________ обязанности по подготовке

(должность, Ф. И. О.)

технической документации и необходимых справок для работы комиссии, обеспечению условий проведения работ, обеспечению обслуживающим персоналом, оказанию помощи комиссии в ее работе, выделению помещения для комиссии и обеспечению охраны имущества комиссии.

3. Возложить ответственность и надзор за соблюдением правил техники безопасности при проведении работ на _____________________________________________________

(Ф. И. О., должность сотрудника организации - владельца оборудования)

и _________________________________________________________________________

(Ф. И. О., должность сотрудника)

4. Техническую документацию по результатам проведения работ после ее утверждения представить мне на рассмотрение.

___________________________________                              ________________________

(должность руководителя организации-владельца                                                     (подпись, Ф. И. О.)

оборудования)

М.П.

Форма П.9.2

ПРИКАЗ № ___________

По

___________________________________________________________________________

(наименование организации, выполняющей вид работ по

крановым путям в соответствии с договором №____ от «____» ___________ 20__ г.)

___________________________________________________________________________

Для выполнения указанных работ

ПРИКАЗЫВАЮ:

1. Назначить комиссию по (вид работ) обследованию в составе:

Председатель комиссии: _____________________________________________________

Члены комиссии: ___________________________________________________________

2. Комиссии провести обследование ___________________________________________

(вид работ)

в период с «___»___________ 20__ года по «___»____________ 20__ года

3. По результатам (вид работ) комиссии составить акт и представить мне на утверждение.

___________________________________                              ________________________

(должность руководителя организации)                                                (подпись Ф. И. О.)

М.П.

Форма П.9.3

___________________________________________________________________________

(наименование вышестоящей организации, ведомства, к которому они относятся)

УТВЕРЖДАЮ:

__________________________

подпись (Ф. И. О.)

«___» _____________ 20__ г.

НАРЯД-ДОПУСК

на выполнение работ, относительно которых предъявляются повышенные требования по технике безопасности

___________________________________________________________________________

(полное наименование цеха, участка или объекта)

___________________________________________________________________________

___________________________________________________________________________

1. Наряд

Ответственному исполнителю работ ___________________________________________

(должность, фамилия, имя, отчество)

с бригадой в составе ________________ человек поручается _______________________

___________________________________________________________________________

(указывается точное наименование и содержание работ)

Меры безопасности при подготовке к выполнению работ _________________________

___________________________________________________________________________

(установка заземлений и ограждений, экранов, дополнительного

___________________________________________________________________________

вентиляционного и пылегазоулавливающего оборудования,

___________________________________________________________________________

дополнительного освещения, вывеска дополнительных плакатов и т.д.)

___________________________________________________________________________

Приложения к наряду _______________________________________________________

(схема отключения оборудования или иного объекта производственного

___________________________________________________________________________

назначения от питающей сети с указанием мест разъема, установки заглушек и т.д.)

___________________________________________________________________________

Работы начать в ___________ час. «____» ______________ 20___ г.

Работы окончить в ___________ час. «____» ______________ 20___ г.

Наряд выдал, ответственный руководитель _____________________________________

___________________________________________________________________________

(должность, фамилия, имя, отчество)

_____________________________                                             «___» __________ 20___ г.

(подпись)

С условием работы ознакомлен, наряд получил

Ответственный исполнитель работ ____________________________________________

(должность, подпись)

«____» ____________________ 20___ г.

2. Допуск

Инструктаж на рабочем месте по технике безопасности проведен по инструкции

___________________________________________________________________________

___________________________________________________________________________

___________________________________________________________________________

(указать номер и название инструкции по охране труда)

___________________________________________________________________________

Инструктаж получили члены бригады

Фамилия, имя, отчество

Профессия, разряд

Дата проведения инструктажа

Подпись получившего инструктаж

Подпись инструктирующего

 

 

 

 

 

 

 

 

 

 

 

 

 

 

 

Рабочее место и условия труда проверены.

Необходимые меры безопасности при выполнении работ обеспечены.

Разрешаю приступить к работе.

Ответственный руководитель работ _________________________

(подпись)

______ час. ______ мин.                                                           «___» ___________ 20__ г.

Работы начать в _______ час. _______ мин.

Ответственный исполнитель работ _________________________

(подпись)

Работы окончены (материал, оборудование, инструмент и приспособления убраны, весь работающий персонал выведен).

Наряд закрыт в _______ час. ________ мин.

Ответственный исполнитель работ _________________________

(подпись)

Работы, предусмотренные нарядом-допуском, выполнены.

Ответственный руководитель работ ________________________

(подпись)

Форма П.9.4

УЧЕТНЫЙ ЛИСТ

прохождения инструктажа по охране труда и технике безопасности

на _____________________________________________________________________

(наименование объекта)

при выполнении работ по _________________________________________________

(вид работ)

Дата инструктажа

Фамилия и.о. инструктируемого

Год рождения

Профессия и должность инструктируемого

Инструктаж

Фамилия и.о. инструктирующего

Подпись

инструктирующего

инструктируемого

 

 

 

 

По должностной инструкции

 

 

 

 

 

 

 

На рабочем месте владельца оборудования

 

 

 

Форма П.9.5

СОГЛАСОВАНО:

______________________________

______________________________

«___»____________ 200___ г.

УТВЕРЖДАЮ:

______________________________

______________________________

«___»____________ 200___ г.

АКТ

КОМПЛЕКСНОГО ОБСЛЕДОВАНИЯ КРАНОВОГО ПУТИ ГРУЗОПОДЪЕМНЫХ МАШИН

гор. _______________                                                            «___» ____________ 200__ г.

Комиссия _________________________________________________________ в составе:

(название специализированной организации)

Председатель ______________________________________________________________

Члены комиссии: ___________________________________________________________

___________________________________________________________________________

___________________________________________________________________________

действующая на основании договора

по лицензии Ростехнадзора (Госгортехнадзора России) № _______ от ___________

и приказа __________________________________________________________________

(по организации)

провела комплексное обследование кранового пути ______________________________

___________________________________________________________________________

(цех, площадка, регистрационный № крана)

ХАРАКТЕРИСТИКА ОБЪЕКТА

1. Основные конструктивные элементы ________________________________________

___________________________________________________________________________

___________________________________________________________________________

2. Режим эксплуатации ______________________________________________________

3. Дата ввода в эксплуатацию _________________________________________________

РЕЗУЛЬТАТЫ КОМПЛЕКСНОГО ОБСЛЕДОВАНИЯ КРАНОВОГО ПУТИ.*

1. Проверка системы организации эксплуатации кранового пути.

1.1. Организована служба надзора за эксплуатацией грузоподъемных машин

___________________________________________________________________________

(приказ №, от       )

1.2. Наличие аттестованных ИТР ______________________________________________

(должность, № удостоверения)

2. Комплектность и состояние проектно-конструкторской документации: ___________

___________________________________________________________________________

(соответствие ЕСКД, да - нет; комплектность)

2.1. Наличие паспорта кранового пути: _________________________________________

(да - нет, заполняется)

2.2. Эксплуатационная документация (при отсутствии паспорта): __________________

___________________________________________________________________________

(журналы крановщика, тех. освидетельствований кранового пути)

3. Поэлементное обследование кранового пути.

3.1. Соответствие кранового пути проектной документации _______________________

___________________________________________________________________________

(да - нет, указывается несоответствие)

3.2. Направляющие - ________________________________________________________

(тип, состояние)

Стыковые скрепления - ______________________________________________________

(тип, состояние)

3.3. Промежуточные скрепления - _____________________________________________

(тип, состояние)

3.5: Опорные элементы направляющих - _______________________________________

(тип - серия, состояние)

3.6. Путевое оборудование:

тупиковые упоры - __________________________________________________________

(тип, состояние)

ограничитель передвижения - ________________________________________________

(тип, состояние)

предупредительные знаки - __________________________________________________

(состояние)

заземление ________________________________________________________________

(состояние и сведения)

конструкция электроподвода _________________________________________________.

(состояние)

4. Планово-высотное положение элементов кранового пути приведено в таблице № 1 приложения к акту.

5. Все выявленные отклонения приведены в дефектной ведомости приложения к акту.

ЗАКЛЮЧЕНИЕ КОМИССИИ.

По результатам проведенного обследования комиссия считает:

а) эксплуатация кранового пути _______________________________________________

(пригодно, непригодно)

б) дополнительные условия __________________________________________________

___________________________________________________________________________

___________________________________________________________________________

в) сроки устранения дефектов и повреждений ___________________________________

___________________________________________________________________________

Следующее обследование провести не позднее __________________________________

(месяц, год)

Председатель комиссии по                                   Члены комиссии: __________________

обследованию: _______________                         __________________________________

(Подпись, ф. и. о.)                            __________________________________

                                                                                 __________________________________

* ПРИЛОЖЕНИЯ:

1. Ведомость дефектов.

2. Результаты проверки положения элементов кранового пути, здания и сооружения.

ВЕДОМОСТЬ ДЕФЕКТОВ

Крановый путь ______________________________________ длиной ____________ п.м.,

(указать наземный или надземный)

смонтирован и сдан в эксплуатацию ___________________________________________

(дата сдачи)

на основании Акта сдачи-приемки № __________________________________________

Организация-владелец кранового пути _________________________________________

___________________________________________________________________________

В ходе проведенного комплексного обследования кранового пути, комиссией выявлены следующие дефекты:

Наименование узла элемента кранового пути

Описание дефекта

Заключение о необходимости и сроках устранения дефекта

1

2

3

 

 

 

Председатель комиссии: ___________________________________________

(Ф. И. О., подпись)

Члены комиссии: _________________________________________________

(Ф. И. О., подпись)

___________________________________________

(Ф. И. О., подпись)

___________________________________________

(Ф. И. О., подпись)

___________________________________________

(Ф. И. О., подпись)

Форма П.9.6

УТВЕРЖДАЮ:

_____________________________

_____________________________

«___»______________200__ г.

ТЕХНИЧЕСКОЕ ЗАКЛЮЧЕНИЕ О СОСТОЯНИИ СТРОИТЕЛЬНЫХ КОНСТРУКЦИЙ

Объект: ___________________________________________________________________

Организация (предприятие): __________________________________________________

Специализированная организация: ____________________________________________

Лицензия

№ ______________________ выдана ___________________________________________

Срок действия до: ___________________________________________________________

Произвела: _________________________________________________________________

___________________________________________________________________________

(вид обследования)

Причина обследования: ______________________________________________________

Строительные конструкции __________________________________________________

Находятся

___________________________________________________________________________

(работоспособном, ограниченно-работоспособном, аварийном)

Условия дальнейшей эксплуатации: ___________________________________________

Срок следующего обследования: ______________________________________________

Информация о состоянии объекта дана _________________________________________

(в случае аварийного состояния)

Председатель комиссии                                 Члены комиссии:

по обследованию:                                           ____________________________________

                                                                          ____________________________________

_________________________                        ____________________________________

(подпись, ф. и. о.)                                       ____________________________________

Форма П.9.7

УТВЕРЖДАЮ:

____________________________

____________________________

«___»____________200__ г.

АКТ

Обследования тупиковых упоров грузоподъемных машин

г. _______________                                                                     «___»___________200__ г.

Комиссия _________________________________________________________ в составе:

(название специализированной организации)

Председатель: ______________________________________________________________

Члены комиссии: ___________________________________________________________

___________________________________________________________________________

___________________________________________________________________________

действующая на основании договора № ________________________________________

лицензии Ростехнадзора (Госгортехнадзора России) _____________________________

приказа № _________________________________________________________________

(по организации)

провела обследование тупиковых упоров _______________________________________

___________________________________________________________________________

(цех, площадка, регистрационный № крана)

___________________________________________________________________________

(полное наименование и адрес организации-владельца тупиковых упоров)

РЕЗУЛЬТАТЫ ОБСЛЕДОВАНИЯ ТУПИКОВЫХ УПОРОВ.

1. Общее количество тупиковых упоров, находящихся в эксплуатации комплектов (шт.) _____:

в т.ч. - ударных - ________ комплект (шт.), инв. №№ ________________________

2. Общее количество тупиковых упоров, выбракованных по результатам обследований - (шт.) _____: в т.ч. - ударных - _______ комплект (шт.), инв. №№ _____________

3. На основании результатов проведенного обследования установлено, что тупиковые упоры _____________________________________________________________________

___________________________________________________________________________

4. Настоящий акт является основанием для заполнения журнала учета эксплуатирующихся тупиковых упоров.

5. Следующее обследование тупиковых упоров провести не позднее _______________

(месяц, год)

Председатель комиссии                               Члены комиссии:

по обследованию:                                          ____________________________________

                                                                          ____________________________________

_________________________                        ____________________________________

(подпись, ф. и. о.)                                    ____________________________________

ПРИЛОЖЕНИЕ 10

МЕТОДИКА ПРОГНОЗИРОВАНИЯ ПОВРЕЖДАЕМОСТИ И ДОЛГОВЕЧНОСТИ ВЕРХНЕЙ ЗОНЫ СТЕНКИ СВАРНЫХ БАЛОК КРАНОВЫХ ПУТЕЙ ИНТЕНСИВНОЙ НАГРУЖЕННОСТИ

1. Общие положения

1.1. Методика расчёта распространяется на сварные балки кранового пути для кранов групп режима работы «А7» и «А8», эксплуатируемые на всех промышленных производствах, в том числе поднадзорных Ростехнадзору, отвечающих следующим требованиям:

- конструктивная форма: сплошностенчатый двутавр симметричного и несимметричного сечений;

- схема опирания: разрезные и неразрезные;

- пролёт: 12 м;

- марки стали: малоуглеродистые и низколегированные;

- время эксплуатации: запроектированные не ранее 1972 г.;

- среда эксплуатации: неагрессивная, слабоагрессивная, среднеагрессивная и сильноагрессивная.

1.2. Расчёт повреждаемости и долговечности дополняет и развивает основные положения СНиП II-23-81* в части определения предельных состояний балок кранового пути.

1.3. Представленная методика позволяет, в зависимости от условий эксплуатации и собственных параметров конструкции, с заданной степенью точности прогнозировать:

- количество повреждённых балок кранового пути на технологическом участке пролёта;

- среднюю суммарную длину, среднее количество, рост максимальной длины усталостных трещин в верхней зоне стенки повреждённой балки кранового пути;

- суммарную длину усталостных трещин в ВЗС балок кранового пути по длине технологического участка пролёта;

- общее количество усталостных трещин в ВЗС балок кранового пути по длине технологического участка пролета;

- среднюю длину УТ в верхней зоне стенки балок;

- определять предельно допустимую длину усталостной трещины в верхней зоне стенки;

- прогнозировать время до наступления предельного состояния верхней зоны стенки ПБ.

1.4. Методика расчёта повреждаемости и долговечности верхней зоны стенки может быть использована как на стадии проектирования БКП, так и в период их эксплуатации.

1.5. При разработке модели повреждаемости ВЗС использовались классические методы теории надёжности, теории вероятности и математической статистики, а также методика планирования эксперимента, опирающаяся на многофакторный анализ. В основу определения предельно-допустимой трещины положены силовые критерии механики разрушения.

2. Прогнозирование повреждаемости верхней зоны стенки балок кранового пути

2.1. Для прогнозирования повреждаемости БКП, пролёт должен быть предварительно разбит на технологические участки, в соответствии с принятой в цехе технологией производства. Все последующие расчёты осуществляется отдельно по каждому технологическому участку пролёта.

2.2. Исходными данными для прогнозирования являются:

- геометрические характеристики БКП;

- схема опирания (разрезность балок);

- тип и геометрические характеристики применённой направляющей рельса;

- характеристики применённой при изготовлении БКП стали;

- значения величин отклонения крановых путей в плане от проектного положения, по длине технологического участка пролёта;

- значения величин эксцентриситетов кранового рельса относительно оси БКП, по длине технологического участка пролёта;

- группа режима работы крана(ов) в соответствии с ГОСТ 25546-82 или ИСО 4301-80;

- максимальное нормативное давление колеса крана, количество колес на концевой балке крана и расстояние между ними;

- агрессивность среды на технологическом участке пролёта;

- продолжительность эксплуатации БКП.

2.3. Параметры, позволяющие контролировать общее техническое состояние БКП, на технологическом участке пролёта прогнозируются с помощью формул:

- для расчёта количества повреждённых подкрановых балок, в %:

               (1)

где Т - время эксплуатации БКП (лет);

R - группа режима работы крана(ов) в соответствии с ГОСТ 25546-82 или ИСО 4301-80;

Р - максимальное нормативное давление колеса крана (кН);

Z - агрессивность среды;

N - количество колёс на концевой балке крана (шт.);

е - оценка математического ожидания эксцентриситета рельса, взятая по модулю (мм);

J - суммарный момент инерции кручения верхнего пояса и рельса (см4);

U - оценка математического ожидания отклонения фактического расстояния между осями симметрии кранового пути от проектного расстояния, взятая по модулю (мм).

Группа режима работы крана (R) и агрессивность среды (Z) являются качественными показателями, поэтому при подсчёте прогнозируемых параметров следует пользоваться таблицей 1.

Таблица П.10.1

Вспомогательная таблица для расчёта прогнозируемых параметров

Агрессивность среды

Группа режима работы крана

Значение подставляемого в формулу фактора

Неагрессивная и слабоагрессивная

А7

-1

Среднеагрессивная и сильноагрессивная

А8

+1

- для расчёта средней суммарной длины усталостных трещин в верхней зоне стенки повреждённой БКП, в мм:

               (2)

- для расчёта среднего количества усталостных трещин в верхней зоне стенки повреждённой БКП, шт.:

              (3)

2.4. Спрогнозировав параметры χ, μ, ψ, можно дополнительно рассчитать:

- суммарную длину УТ в ВЗС БКП на технологическом участке пролёта, в мм:

                                                               (4)

где Qб - общее количество БКП на технологическом участке пролёта, шт.

- общее количество УТ в ВЗС БКП на технологическом участке пролёта, шт.:

                                                               (5)

- средняя длина УТ в ВЗС БКП на технологическом участке пролёта, в мм:

                                                                    (6)

2.5. Для прогнозирования роста максимальной длины усталостной трещины в верхней зоне стенки БКП по длине технологического участка пролёта, следует пользоваться формулой:

                (7)

2.6. Линейные зависимости (1, 2, 3, 7) имеют вид полинома первой степени. Коэффициенты полинома являются частными производными функции отклика к соответствующим переменным. Их геометрический смысл - тангенсы углов наклона гиперплоскости к соответствующей оси. Больший по абсолютной величине коэффициент соответствует большему углу наклона и, следовательно, более существенному изменению прогнозируемого параметра при изменении данного фактора. Чем больше коэффициент, тем сильнее влияет фактор.

2.7. О характере влияния факторов говорят знаки коэффициентов.

Знак плюс свидетельствует о том, что с увеличением значения фактора растёт величина прогнозируемого параметра, а при знаке минус убывает.

2.8. С помощью полученных формул можно подсчитать влияние каждого фактора, на величину прогнозируемого параметра.

3. Характеристики трещиностойкости и предельное состояние БКП с усталостной трещиной в верхней зоне стенки

3.1. Характеристики трещиностойкости и предельное состояние БКП с трещинами в ВЗС определяется по кинетической диаграмме усталостного разрушения в координатах  (см. рис. 1). КДУР состоит из низко- (1), средне- (2) и высокоамплитудного (3) участков, разделённых характерными точками.

Основными характеристиками, определяющими предельное состояние конструкций, являются KthKth) и KfcKfc), соответствующие вертикальным асимптотам, между которыми заключена КДУР. Дополнительными характеристиками сопротивления развитию трещин в материале являются К1-2 К1-2) и К2-3 К2-3), определяющие начало и конец второго среднеамплитудного участка КДУР.

3.2. Кth является пороговым коэффициентом интенсивности напряжений, соответствующий максимальному значению КИН, при котором трещина в балке не развивается на протяжении 107 циклов нагружения и более.

Кfc является критическим коэффициентом интенсивности напряжений и соответствует значению КИН, при котором наступает полное разрушение балки.

Kth и Kfc являются константами материала, зависящими от температуры, агрессивности среды и других условий испытаний, при этом для многих марок стали их количественные данные приведены в справочниках [2, 3, 4] и других источниках.

3.3. К1-2 и К2-3 соответствуют началу и концу второго среднеамплитудного участка, и могут быть определены по формуле [7]:

                                                   (8)

где A = 0,5 · (Kth + Kfc) - (Kfc - Kth) · 1,65/(3 · n);

n = 3 ... 4 - коэффициент уравнения Париса (по справочнику [6]).

Рис. П.10.1. Типичная кинетическая диаграмма усталостного разрушения

1, 2, 3 - участки диаграммы.

3.4. Долговечность верхней зоны стенки наиболее нагруженной балки технологического участка пролёта определяется временем Т из формулы (7), после достижения которого:

lmax = lg                                                                           (9)

где lmax - прогнозируемая максимальная длина усталостной трещины в верхней зоне стенки БКП технологического участка пролёта (7); lg - предельно-допустимая длина усталостной трещины.

                                                        (10)

где ; J - момент инерции сечения балки; J1 - собственный момент инерции верхней полки; J2 - момент инерции таврового сечения, состоящего из нижней полки и стенки; tw - толщина стенки балки; Q - максимальная поперечная сила, возникающая при проезде крана; ;  - относительный безразмерный момент инерции верхнего пояса и рельса при свободном кручении; G - модуль сдвига; D - цилиндрическая жёсткость пластины толщиной t; Мt - местный крутящий момент, приложенный к верхнему поясу балки.

ТЕРМИНЫ И ОПРЕДЕЛЕНИЯ

Верхняя зона стенки балки кранового пути - участок стенки, на напряжённое состояние которого существенное влияние оказывают местные воздействия катков крана: локальное давление и местный крутящий момент. Высота верхней зоны стенки составляет (10 ... 15) толщин стенки и включает непосредственно стенку, верхний поясной шов, швы приварки рёбер жёсткости, опорных рёбер и прочих сварных швов приварки дополнительных усиливающих и вспомогательных элементов.

Предельно допустимая длина усталостной трещины - длина усталостной трещины, после достижения которой расчётом прогнозируется наступление предельного состояния балки кранового пути.

Предельное состояние - состояние конструкции, при котором конструкция перестаёт удовлетворять предъявляемым к ней требованиям.

Повреждённая балка кранового пути - балка, в верхней зоне стенки которой в процессе эксплуатации появилась усталостная трещина.

ПРИНЯТЫЕ СОКРАЩЕНИЯ

БКП - балка кранового пути;

ВЗС - верхняя зона стенки;

УТ - усталостная трещина;

КДУР - кинетическая диаграмма усталостного разрушения;

КИН - коэффициент интенсивности напряжений.

 

ФЕДЕРАЛЬНАЯ СЛУЖБА ПО ЭКОЛОГИЧЕСКОМУ, ТЕХНОЛОГИЧЕСКОМУ И АТОМНОМУ НАДЗОРУ

109147, Москва, ул. Таганская, д. 34

Телефон: 912-39-11

Телетайп: 111633 «БРИДЕР»

Телефакс: (095) 912-40-41

E-mail: atomnadzor@gan.ru

06.05.2005 № 09-09/897

На № ___________ от _______________

Генеральному директору

ЗАО НПЦ «Путь К»

Банных Г.М.

Управление технического надзора рассмотрело окончательную редакцию рекомендательного документа «Рекомендации по устройству и безопасной эксплуатации надземных крановых путей» (РД 50:48:0075.03.05) и согласовывает их.

Начальник управления                                                     В.С. Котельников

 

 



© 2013 Ёшкин Кот :-)