ОТРАСЛЕВОЙ СТАНДАРТ
КОМПЕНСАТОР УГЛОВОЙ ЧЕТЫРЕХЛИНЗОВЫЙ
НА Ру ≤ 1,6 МПа (16 кгс/см2)
Конструкция и размеры
|
ОСТ
34-10-576-93
|
Дата введения 01.01.94
Настоящий стандарт распространяется на
четырдхлинзовые угловые компенсаторы Dу от 100 до 2200 мм,
предназначенные для компенсации температурных изменений длины трубопроводов в
П-образной, Г-образной, Z-образной и
других шарнирных схемах компенсаций, работающих в условиях неагрессивных и
малоагрессивных сред, с условным давлением Ру до 1,6 MПa (16 кгс/см2)
и температурой до 300 °С и для Dу ≤
400 мм температурой до 425 °С.
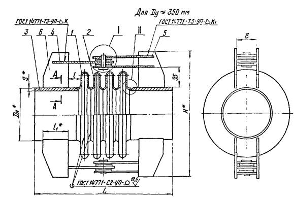
1. Конструкция и размеры угловых. четырехлинзовых компенсаторов
1.1. Конструкция и размеры угловых
четырехлинзовых компенсаторов должны соответствовать указанным на черт. 1 и в табл. 1
и 2.
1.2. Сварка автоматическая или полуавтоматическая в
углекислом газе.
Проволока СВ-08ГС или СВ-08Г2С по ГОСТ 2246.
1.3. Неуказанные предельные отклонения размеров 
1.4. Остальные технические требования по ОСТ
34-10-581.

____________
* Размеры для справок
Черт.
1

____________
* Размеры для справок
Черт.
1

____________
* Размеры для справок
** К3 - по наименьшей толщине свариваемых деталей.
Черт.
1


____________
* Размеры для справок
Черт.
1
Таблица 1
Размеры в мм
Обозначение компенсатора
|
Давление
условное Ру МПа (кгс/см2)
|
Проход условный Dy
|
Dн
|
L
|
H
|
В
|
d (пред. откл. Н12)
|
L
|
L1
|
L2
|
L3
|
L4
|
S
|
S1
|
К
|
К1
|
К2
|
Техническая характеристика
|
Масса, кг
|
Угол изгиба компенсатора γ, град
|
Жесткость
линзы на изгиб (н·м)/град
|
01
ОСТ 34-10-576
|
0,6 (6)
|
100
|
108
|
596
|
360
|
40
|
8
|
45
|
100
|
20
|
-
|
-
|
4
|
2,5
|
4
|
4
|
4
|
10°48'
|
79
|
16
|
02
|
125
|
133
|
385
|
9°50'
|
121
|
18
|
03
|
150
|
159
|
415
|
12
|
5
|
5
|
9°0'
|
178
|
20
|
04
|
200
|
219
|
656
|
515
|
150
|
7
|
7
|
7°29'
|
367
|
34
|
05
|
250
|
273
|
565
|
60
|
16
|
30
|
8
|
9
|
6°29'
|
621
|
44
|
06
|
300
|
325
|
620
|
5°47'
|
955
|
54
|
07
|
350
|
377
|
756
|
670
|
20
|
200
|
9
|
6
|
5°12'
|
1390
|
78
|
08
|
400
|
426
|
720
|
80
|
25
|
40
|
6
|
4°44'
|
1910
|
89
|
09
|
450
|
478
|
856
|
810
|
250
|
7
|
8
|
4°20'
|
2550
|
102
|
10
|
500
|
530
|
865
|
32
|
8
|
8
|
3°56'
|
3390
|
120
|
11
|
600
|
630
|
976
|
1020
|
100
|
40
|
50
|
300
|
50
|
3°28'
|
5390
|
173
|
12
|
700
|
720
|
1110
|
120
|
60
|
10
|
10
|
8
|
3°04'
|
7770
|
226
|
13
|
800
|
820
|
1205
|
150
|
11
|
10
|
2°40'
|
11000
|
270
|
14
|
900
|
920
|
1136
|
1310
|
50
|
65
|
360
|
75
|
12
|
2°32'
|
15300
|
365
|
15
ОСТ 34-10-576
|
1000
|
1020
|
1410
|
14
|
12
|
12
|
2°08'
|
20500
|
439
|
16
|
1200
|
1220
|
1256
|
1665
|
200
|
60
|
85
|
400
|
95
|
3
|
10
|
1°48'
|
59800
|
651
|
17
|
1400
|
1420
|
1496
|
1900
|
250
|
70
|
100
|
500
|
115
|
14
|
1°36'
|
92200
|
892
|
18
|
1600
|
1620
|
2090
|
300
|
80
|
20
|
16
|
14
|
1°24'
|
134523
|
1327
|
19
|
1800
|
1820
|
2295
|
25
|
18
|
1°16'
|
188451
|
1768
|
20
|
2000
|
2040
|
1706
|
2520
|
90
|
110
|
900
|
120
|
20
|
12
|
1°08'
|
262236
|
2272
|
21
|
2200
|
2240
|
2710
|
350
|
1°0'
|
344017
|
2490
|
22
|
1,0 (10)
|
100
|
108
|
596
|
360
|
40
|
12
|
45
|
100
|
20
|
4
|
4
|
4
|
5
|
8°16'
|
139
|
17
|
23
|
125
|
133
|
385
|
6
|
7°26'
|
213
|
19
|
24
|
150
|
159
|
415
|
5
|
7
|
6°46'
|
313
|
22
|
25
|
200
|
219
|
656
|
510
|
60
|
16
|
150
|
30
|
7
|
9
|
5°44'
|
645
|
39
|
26
|
250
|
273
|
565
|
20
|
8
|
6
|
10
|
5°0'
|
1092
|
49
|
27
|
300
|
325
|
756
|
620
|
200
|
4°28'
|
1679
|
68
|
28
|
350
|
377
|
670
|
80
|
25
|
40
|
9
|
4°0'
|
2445
|
85
|
29
|
400
|
426
|
856
|
760
|
32
|
250
|
8
|
6
|
8
|
3°40'
|
3350
|
112
|
30
ОСТ 34-10-576
|
450
|
478
|
810
|
10
|
3°20'
|
4530
|
130
|
31
|
500
|
530
|
860
|
100
|
40
|
250
|
50
|
11
|
10
|
3°04'
|
5960
|
157
|
32
|
600
|
630
|
976
|
1020
|
120
|
50
|
300
|
60
|
12
|
10
|
10
|
2°40'
|
9490
|
237
|
33
|
700
|
720
|
1110
|
50
|
14
|
4
|
12
|
12
|
2°10'
|
33500
|
316
|
34
|
800
|
820
|
1156
|
1195
|
200
|
80
|
360
|
95
|
16
|
1°56'
|
48000
|
488
|
35
|
900
|
920
|
1300
|
60
|
18
|
14
|
14
|
1°44'
|
66200
|
578
|
36
|
1000
|
1020
|
1460
|
70
|
20
|
16
|
1°36'
|
88400
|
695
|
37
|
1200
|
1220
|
1356
|
1665
|
80
|
450
|
16
|
12
|
18
|
1°20'
|
147000
|
957
|
38
|
1400
|
1420
|
1536
|
1900
|
250
|
90
|
115
|
500
|
125
|
25
|
18
|
14
|
20
|
1°08'
|
226000
|
1512
|
39
|
1,6 (16)
|
100
|
108
|
596
|
360
|
40
|
12
|
45
|
100
|
20
|
4
|
4
|
4
|
6
|
6°24'
|
344
|
20
|
40
|
125
|
133
|
385
|
16
|
5°52'
|
526
|
23
|
41
|
150
|
159
|
656
|
445
|
60
|
150
|
30
|
5
|
6
|
7
|
5°20'
|
771
|
35
|
42
|
200
|
219
|
510
|
20
|
7
|
8
|
4°28'
|
1588
|
45
|
43
|
250
|
273
|
756
|
560
|
80
|
200
|
40
|
8
|
6
|
10
|
3°54'
|
2685
|
68
|
44
|
300
|
325
|
615
|
25
|
3°22'
|
4127
|
80
|
45
ОСТ 34-10-576
|
350
|
377
|
665
|
100
|
32
|
50
|
9
|
8
|
3°04'
|
6007
|
98
|
46
|
400
|
426
|
976
|
815
|
40
|
300
|
8
|
2°48'
|
8230
|
149
|
47
|
450
|
478
|
865
|
10
|
10
|
8
|
2°36'
|
11100
|
174
|
48
|
500
|
530
|
1096
|
915
|
120
|
50
|
50
|
360
|
60
|
11
|
10
|
10
|
2°22'
|
14630
|
236
|
49
|
600
|
630
|
1020
|
14
|
12
|
2°04'
|
23300
|
307
|
50
|
700
|
720
|
1156
|
1090
|
200
|
60
|
80
|
95
|
16
|
12
|
1°52'
|
33500
|
453
|
51
|
800
|
820
|
1255
|
18
|
16
|
12
|
16
|
1°40'
|
48000
|
563
|
52
|
900
|
920
|
1256
|
1360
|
70
|
400
|
20
|
1°30'
|
66200
|
714
|
53
|
1000
|
1020
|
1456
|
1500
|
80
|
500
|
1°4'
|
88400
|
905
|
54
|
1200
|
1220
|
1736
|
1700
|
220
|
90
|
115
|
600
|
110
|
25
|
20
|
14
|
20
|
1°08'
|
147000
|
1549
|
55
|
1400
|
1420
|
1936
|
1940
|
250
|
100
|
700
|
125
|
0°58'
|
226000
|
2012
|
С усиливающей подушкой
|
56
ОСТ 34-10-576
|
1,0 (10)
|
700
|
720
|
1256
|
1125
|
120
|
50
|
80
|
360
|
60
|
450
|
25
|
10
|
4
|
12
|
10
|
10
|
2°10'
|
33500
|
372
|
57
|
800
|
820
|
1215
|
200
|
100
|
11
|
1°56'
|
48000
|
490
|
58
|
900
|
920
|
1316
|
1320
|
60
|
100
|
40
|
12
|
12
|
1°44'
|
66200
|
568
|
59
|
1000
|
1020
|
1480
|
70
|
14
|
1°36'
|
88400
|
709
|
60
ОСТ 34-10-576
|
1200
|
1220
|
1815
|
1730
|
80
|
120
|
500
|
700
|
16
|
12
|
1°20'
|
147000
|
1182
|
61
|
1400
|
1420
|
2156
|
1955
|
250
|
90
|
160
|
600
|
125
|
85
|
50
|
20
|
14
|
1°08'
|
226000
|
1669
|
62
|
1,6 (16)
|
600
|
630
|
1256
|
1040
|
120
|
50
|
80
|
360
|
50
|
450
|
25
|
8
|
12
|
10
|
10
|
2°04'
|
23300
|
349
|
63
|
700
|
720
|
1456
|
1110
|
200
|
60
|
120
|
100
|
550
|
10
|
12
|
1°52'
|
33500
|
509
|
64
|
800
|
820
|
1556
|
1280
|
400
|
600
|
11
|
16
|
12
|
14
|
1°40'
|
48000
|
686
|
65
|
900
|
920
|
1816
|
1420
|
70
|
500
|
700
|
40
|
12
|
1°30'
|
66200
|
922
|
66
|
1000
|
1020
|
1530
|
80
|
14
|
1°21'
|
88400
|
1091
|
67
|
1200
|
1220
|
2216
|
1730
|
220
|
90
|
700
|
110
|
900
|
20
|
14
|
1°08'
|
147000
|
1695
|
68
ОСТ 34-10-576
|
1400
|
1420
|
2656
|
1965
|
250
|
100
|
150
|
850
|
125
|
1100
|
50
|
25
|
0°58'
|
226000
|
2330
|
Пример условного обозначения компенсатора углового
четырехлинзового Ру ≤ 0,6 (6 кгс/см2) и Dу = 200мм:
Компенсатор
0,6 (6)-200 04 ОСТ 34-10-576
Таблица 2
Продолжение таблицы 2
Продолжение таблицы 2
ИНФОРМАЦИОННЫЕ ДАННЫЕ
УТВЕРЖДЕН ПРИКАЗОМ Министерства
топлива и энергетики Российской Федерации от 12 июля 1993 г.
ИСПОЛНИТЕЛИ
В.И. Есарев, В.В. Горбачев, О.В.
Стрельников (руководитель темы), Н.В. Паутов, И.П. Горяинова
ВЗАМЕН ОСТ 34-42-576-82
ССЫЛОЧНЫЕ НОРМАТИВНО-ТЕХНИЧЕСКИЕ ДОКУМЕНТЫ