Информационная система
«Ёшкин Кот»

XXXecatmenu

Корпорация «Трансстрой»

СТАНДАРТ ПРЕДПРИЯТИЯ

СТП 012-2000*

ЗАВОДСКОЕ
ИЗГОТОВЛЕНИЕ
СТАЛЬНЫХ КОНСТРУКЦИЙ
МОСТОВ

Москва

ПРЕДИСЛОВИЕ

1. РАЗРАБОТАН Корпорацией «Трансстрой», Научно-технической ассоциацией ученых и специалистов транспортного строительства, Научно-исследовательским центром «Мосты» ОАО ЦНИИС (инж. А.В. Кручинкин, кандидаты техн. наук А.С. Платонов и В.Г. Гребенчук) с участием Научно-исследовательского института мостов и дефектоскопии МПС России (доктор техн. наук А.К. Гурвич, кандидат техн. наук В.С. Агеев) и ОАО «Институт Гипростроймост» (кандидат техн. наук Г.А. Мамлин). При разработке учтены материалы исследований в области изготовления стальных конструкций мостов, выполненных К.П. Большаковым, В.Ю. Шишкиным, Б.М. Передереевым, В.И. Звирем, Э.М. Гитманом, В.М. Душницким.

2. ВНЕСЕН Техническим управлением Корпорации «Трансстрой».

3. ПРИНЯТ И ВВЕДЕН в действие Корпорацией «Трансстрой» с 01 июля 2003 г. письмом от 23.06.2003 г. № ПН-51 взамен СТП 012-2000.

4. СОГЛАСОВАН Управлением по строительству мостов «Мостострой» Корпорации «Трансстрой», (№ Т-01-21-2/10 от 25.02.2003 г.) ОАО «Мостостройиндустрия» (№ 5052-81 от 16.04.2003 г.), Департаментом пути и сооружений Министерства путей сообщения РФ (№ ЦПИ-6/16 от 28.05.2003 г.)

5. ОДОБРЕН Секцией сварки и родственных технологий Научно-технического совета Госстроя России (№ 12/с от 19.03.2003 г.).

СОДЕРЖАНИЕ

1. Область применения. 2

2. Нормативные ссылки. 3

3. Общие указания. 4

4. Конструктивные особенности стальных мостов. 5

5. Изготовление деталей и монтажных элементов. 11

Правка, очистка и консервация металлопроката. 11

Разметка, резка, штамповка стали. 13

Строгание, фрезерование, обработка кромок. 16

Образование отверстий. 18

Правка и гибка деталей. 19

Приемка деталей и монтажных элементов. 20

6. Сборка отправочных марок и подготовка заводских соединений под сварку. 22

7. Требования к сварочным материалам и оборудованию.. 27

8. Технология заводской сварки мостовых конструкций. 32

Способы сварки. 32

Технология и режимы автоматической, полуавтоматической и ручной сварки. 32

9. Требования к качеству сварки и сварных соединений. Контроль качества. 46

Входной контроль. 46

Пооперационный контроль. 50

Приемочный контроль. 50

10. Исправление дефектов сварки и правка конструкций. 54

Исправление дефектных участков сварных швов. 54

Правка конструкций, деформированных при сборке и сварке. 55

11. Механическая обработка сварных соединений. 57

12. Приемка отправочных марок. 66

13. Контрольная заводская сборка. 70

14. Отгрузка конструкций. 72

15. Обеспечение безопасности труда. 73

Приложение а. Порядок и режимы механической правки стального листа. 74

Приложение б. Ориентировочная эффективная мощность пламени для термической правки металла. 75

Приложение в. Ориентировочные режимы дробеметной очистки стального проката на поточных линиях. 76

Приложение г. Режимы резания фрезерно-отрезными станками сталей с временным сопротивлением 520 - 600 мпа. 76

Приложение д. Режимы машинной кислородной и плазменно-дуговой резки стали. Контроль качества кромок. Технология ремонта кромок сваркой. 76

Приложение е. Припуски при разметке деталей. 79

Приложение ж. Режимы строгания, фрезерования и сверления сталей. 80

Приложение и. Режимы холодной гибки стали с пределом текучести 400 мпа с учетом пружинения. 83

Приложение к. Типы и условные обозначения швов сварных соединений. 84

Приложение л. Таблица перевода твердости металла. 86

Приложение м. Средства измерений и контроля. 87

Приложение н. Методы и объемы испытаний сварных соединений. Организация неразрушающего контроля качества сварки. 96

Приложение о. Форма сертификата на стальные конструкции. 107

Приложение п. Перечень вопросов, входящих в компетенцию мостовой инспекции при контроле качества и приемке мостовых конструкций. 109

СТП 012-2000*

СТАНДАРТ ПРЕДПРИЯТИЯ

Утвержден и введен в действие распоряжением Корпорации «Трансстрой» от 23.06.2003 г.

Дата введения - 01 июля 2003 г.

1. ОБЛАСТЬ ПРИМЕНЕНИЯ

Настоящий стандарт необходимо соблюдать при проектировании, изготовлении и приемке стальных конструкций железнодорожных, автодорожных, городских, совмещенных и пешеходных мостов (включая путепроводы, виадуки, эстакады), предназначенных для эксплуатации в любых климатических условиях, а также в районах с расчетной сейсмичностью до 9 баллов включительно.

Нормы распространяются на изготовление и приемку стальных конструкций:

- пролетных строений, опор и пилонов постоянных, временных и краткосрочных мостов;

- элементов реконструкции и усиления существующих мостов;

- несущих конструкций разводных пролетов мостов;

- мостостроительного инвентаря и специальных вспомогательных сооружений и устройств для возведения мостов (кроме плавучих средств).

Нормы не распространяются на изготовление:

- опорных частей, катков, шарниров, механизмов разводных пролетов и других элементов мостов машиностроительной специфики;

- конструкций стальных гофрированных водопропускных труб;

- канатов, пучков, гибких подвесок и вант висячих и вантовых мостов;

- закладных деталей для железобетонных мостов.

При изготовлении и приемке:

- гибких элементов висячих и вантовых мостов:

- мостов специального назначения, включая временные и краткосрочные;

- мостовых конструкций из сталей с пределом текучести 450 МПа и выше, а также сталей, применяемых в опытном порядке, необходимо руководствоваться специальными техническими указаниями. В таких указаниях допускаются ссылки на пункты данного СТП, общие для любых конструкций.

Стандарт распространяется на конструкции из низколегированных сталей для мостостроения марок 15ХСНД и 10ХСНД ГОСТ 6713-91 с требованиями к ним по СНиП 2.05.03-84*, 15ХСНДА и 10ХСНДА 2 и 3 категорий 1 и 2 классов ТУ 14-1-5120-92, 09Г2С + 12Х18Н10Т ГОСТ 10885-85, 14ХГНДЦ ТУ 14-1-5355-98, 12Г2СД и 12Г2СБД ТУ 14-1-5455-2002 (опытная партия). По согласованию со специализированными научно-исследовательскими организациями данный СТП распространяется также на сварные конструкции мостов из низколегированных сталей марок 15ХСНД, 10ХСНД, 09Г2СД (09Г2С) ГОСТ 19281-89 с дополнительными требованиями к ним по ГОСТ 6713-91 и СНиП 2.05.03-84*.

2. НОРМАТИВНЫЕ ССЫЛКИ

ГОСТ 2246-70*.

Проволока стальная сварочная.

ГОСТ 3242-79.

Соединения сварные. Методы контроля качества.

ГОСТ 5264-80*.

Ручная дуговая сварка.

ГОСТ 6713-91.

Сталь для мостостроения.

ГОСТ 6996-66**.

Сварные соединения. Методы определения механических свойств.

ГОСТ 8050-85.

Двуокись углерода газообразная и жидкая.

ГОСТ 8713-79*.

Сварка под флюсом.

ГОСТ 9087-81.

Флюсы сварочные плавленые.

ГОСТ 9466-9467.

Электроды покрытые металлические для ручной дуговой сварки.

ГОСТ 10157-79.

Аргон газообразный и жидкий. Технические условия.

ГОСТ 11533-75.

Автоматическая и полуавтоматическая дуговая сварка под флюсом. Соединения сварные под острыми и тупыми углами.

ГОСТ 11534-75.

Ручная дуговая сварка. Соединения сварные под острыми и тупыми углами.

ГОСТ 14771-76.

Дуговая сварка в защитном газе.

ГОСТ 14782-86.

Контроль неразрушающий. Соединения сварные. Методы ультразвуковые.

ГОСТ 14792-80.

Детали и заготовки, вырезаемые кислородной и плазменно-дуговой резкой.

ГОСТ 19281-89.

Прокат из стали повышенной прочности.

ГОСТ 22353-77* - ГОСТ 22356-77*.

Высокопрочные болты.

ГОСТ 23518-79.

Дуговая сварка в защитных газах. Соединения сварные под острыми и тупыми углами.

ГОСТ 30489: ЕN473

Определение уровня квалификации и сертификация персонала в области неразрушающего контроля. Общие принципы.

ПМГ 15-96.

Правила по межгосударственной стандартизации. Требования к компетентности лабораторий неразрушающего контроля и технической диагностики

ПР 32.113-98.

Правила сертификации персонала по неразрушающему контролю технических объектов железнодорожного транспорта.

Сборник нормативных документов системы аттестации сварщиков и специалистов сварочного производства.

ТУ 14-1-5120-92.

Прокат листовой высокого качества для мостостроения из низколегированной стали.

ТУ 14-1-5355-98.

Прокат толстолистовой атмосферостойкий из стали марки 14ХГНДЦ для мостостроения.

ТУ 14-1-5455-02.

Прокат толстолистовой из стали марок 12Г2СД и 12Г2СБД для мостостроения.

СНиП II-23-81*.

Стальные конструкции. Нормы проектирования.

СНиП 2.03.11-85.

Защита строительных конструкций от коррозии. Нормы проектирования.

СНиП 2.05.03-84*.

Мосты и трубы. Нормы проектирования. Изд. 1996 г.

СНиП 3.03.01-87.

Несущие и ограждающие конструкции. Правила производства и приемки работ.

СНиП 3.06.04-91.

Мосты и трубы. Правила производства и приемки работ.

Стандарты ISO серии 9000 (ГОСТ Р-ISO-9000).

3. ОБЩИЕ УКАЗАНИЯ

3.1.* Стальные конструкции мостов надлежит изготовлять на специализированных заводах, имеющих:

- организованную приемку конструкций Инспекцией по контролю качества изготовления и монтажа мостовых конструкций (приложение П);

- действующую нормативную общегосударственную и отраслевую (ведомственную) нормативную документацию на изготовление мостовых конструкций;

- подготовленные кадры ИТР и рабочих;

- соответствующие условия для производства мостовых конструкций - закрытые отапливаемые цехи, оборудование, оснастку, средства контроля качества конструкций, в том числе неразрушающий контроль сварных соединений ультразвуковой дефектоскопией или проникающим излучением; заводскую лабораторию по контролю качества исходных материалов и сварных соединений.

* Звездочкой помечены измененные пункты, таблицы и рисунки

3.2. Основанием для изготовления стальных мостовых конструкций служит рабочая документация на стадии КМ, разработанная специализированной проектной организацией и утвержденная заказчиком к производству работ. Заказчик представляет заводу-изготовителю один экземпляр чертежей КМ, как приложение к договору на изготовление конструкций. Завод-изготовитель осуществляет входной контроль поступившей документации.

При заказе типовых пролетных строений или повторно применяемых мостовых конструкций без каких-либо изменений, если производство их освоено на заводе, документация КМ заводу-изготовителю не предоставляется.

3.3. В документации КМ должны быть указаны марки сталей и требования к ним в соответствии с действующими нормативными документами, типы и размеры заводских и монтажных сварных швов, участки сварных швов с полным проплавлением толщины детали, угловые швы с роспусками, способы защиты от коррозии.

Документация КМ должна содержать все данные для заказа металлопроката и метизов.

3.4. При разработке документации КМД завод-изготовитель обязан соблюдать проектно-технологические требования чертежей КМ, СНиП 2.05.03-84* и настоящего стандарта. Отступления от чертежей КМ должны быть согласованы с проектной организацией, разработавшей их. Отступления от настоящего СТП согласовываются с проектной организацией и разработчиком СТП.

В состав документации КМД, кроме деталировочных чертежей конструкций, должны входить монтажно-маркировочные схемы, схемы общих сборок с индивидуальной заводской маркировкой стыков, листы готовых элементов, ведомости метизов и карты размещения заводских сварных стыков. Положение сварных стыков завод вправе назначать из условия рационального и экономичного раскроя металлопроката, с соблюдением конструктивных требований СНиП 2.05.03-84* и разд. 4 настоящего СТП.

3.5. При изготовлении стальных мостовых конструкций должен быть обеспечен пооперационный контроль за выполнением требований рабочей конструкторско-технологической документации и настоящего стандарта со стороны отдела технического контроля завода и независимой контролирующей организации.

Отступления от чертежей КМД, не противоречащие чертежам КМ; отступления от карт технологического процесса, касающиеся замены профилей проката (с соответствующим пересчетом); перенос или добавление сварных стыков из условия рационального раскроя или наличия проката определенной длины и ширины; изменение способов сварки или разделки кромок в пределах требований настоящих норм должны в процессе изготовления конструкций утверждаться главным инженером завода-изготовителя через карту разрешения или внесением соответствующих изменений в заводскую конструкторско-технологическую документацию.

3.6. По окончании всего заказа или отдельных его этапов завод-изготовитель выдает заказчику соответственно сертификат качества или акт приемки стальных конструкций с подписями контролирующей организации и ОТК завода (см. Приложение О).

4. КОНСТРУКТИВНЫЕ ОСОБЕННОСТИ СТАЛЬНЫХ МОСТОВ

4.1. При проектировании любых конструкций рекомендуется применять монтажные блоки максимальной заводской готовности с минимальными объемами работ по образованию соединений на монтажной площадке.

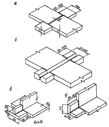
Конструкции, отгружаемые с заводов, должны иметь, как правило, полную готовность для осуществления на монтаже фрикционно-болтовых, сварных и комбинированных болтосварных соединений. На рис. 1 приведены наиболее характерные схемы заводской подготовки монтажных стыков - цельносварного (а) и комбинированного болтосварного (б) сплошностенчатых конструкций.

При назначении в проекте или в нормативных документах допусков на линейные размеры и геометрическую форму отправочных марок необходимо исходить в первую очередь из обеспечения беспрепятственной и нетрудоемкой собираемости конструкций на монтаже мостов.

4.2. При разработке чертежей КМ металлических пролетных строений со сварными и комбинированными болто-сварными монтажными соединениями проектная организация с учетом технологии производства сварочных работ назначает роспуски (недовары) угловых швов для обеспечения собираемости конструкций и предотвращения трещин в швах в зонах монтажной сварки:

а) в цельносварных стыках главных балок, коробок, ребристых плит - во всех угловых швах. Длина роспусков не менее 200 мм;

б) в стыках двухлистовых пакетных поясов со вставкой - в нахлесточных швах прикрепления наружного листа к внутреннему. Длина роспусков не менее 50 мм;

в) в главных балках - на концах верхних и нижних поясных швов у технологических проемов (отверстий). Длина роспуска 150 мм для однолистовых поясов и 250 мм для пакетных поясов с совмещенным стыком;

г) в стенках главных балок - в угловых швах прикрепления продольных ребер, стыкуемых впоследствии сваркой со вставкой. Длина роспуска 200 мм;

Описание: Без имени-1копирование

Рис. 1. Схемы подготовки монтажных стыков спошностенчатых балок при заводском изготовлении:

а - цельносварного; б - комбинированного болто-сварного; в - вариант проема стенки для сварки верхнего пояса; 1 - вставка верхнего пояса

д) в ортотропных плитах - в угловых швах на концах стенок поперечных балок вблизи продольных стыковых швов настильных листов с поясами главных балок или плит между собой. Длина роспуска не более 100 мм;

е) в ортотропных плитах, подлежащих укрупнению в монтажные блоки не менее чем из трех (по ширине) заводских отправочных марок - в угловых швах на концах продольных ребер с двух торцов плиты (длина роспуска 100 мм); в одиночных плитах - роспуск 100 мм на концах продольных ребер с одного торца плиты (со стороны припуска листа настила).

В зоне продольного монтажного стыкового сварного соединения главной балки с ортотропной плитой рекомендуется не приваривать на заводе к поясному листу торцы вертикальных ребер с выкружками, к которым впоследствии прикрепляются стенки поперечных балок ортотропных плит. После стыковки плит с балками приварка этих торцов ребер к поясам обязательна (п. 4.133 СНиП 2.05.03-84*).

4.3.* При разработке чертежей КМ проектной организации рекомендуется назначать припуски по 50 мм на подрезку кромок под сварные монтажные соединения:

а) в стыках однолистовых поясов главных балок или вставок;

б) по продольным кромкам настильных листов средних ортотропных плит (находящихся в замкнутом контуре), если их количество по ширине более двух;

в) по торцам настильных листов средних и консольных ортотропных плит (тыловые по направлению монтажа кромки);

г) по торцам вставок сварных стыков продольных ребер нижних ребристых плит;

д) по кромкам вставок стенок главных балок в цельносварных стыках.

4.4. Изменение сечений элементов, соответствующее изменению усилий в них, должно быть плавным с уклонами 1:81 (рис. 2). Уширение поясных листов предусматривают, как правило, симметричным (рис. 2, а); утолщение поясных листов выполняют с одной стороны - снаружи или изнутри (со стороны стенки для конструкций, монтируемых способом продольной надвижки по элементам скольжения, рис. 2, б); изменение толщины стенок балочных конструкций делают симметричным, причем в зонах монтажных стыков предусматривают прямолинейный участок длиной не менее 800 мм (рис. 2, в).

1 В элементах конструкций, воспринимающих усилия сжатия от эксплуатационных и монтажных нагрузок, допускаются уклоны 1:4.

Описание: Без имени-1копирование

Рис. 2. Изменение ширины и толщины элементов балок:

а - уширение пояса; б - утолщение поясов наружу (верх) и внутрь (низ); в - утолщение стенки сплошностенчатой балки; 1 - монтажные сварные стыки стенки

4.5. Пакетные пояса главных балок предпочтительно проектировать из двух листов разной ширины со свесами не более 120 и не менее 50 мм. Изменение ширины или толщины листов в пакете должно быть плавным, с уклонами 1:8 в растянутых и 1:4 в сжатых зонах. В монтажных стыках пакетных поясов уширение узкого листа до размера широкого необязательно.

Монтажные стыки двухлистовых пакетов нижних поясов балок во всех случаях, а верхних поясов, как правило, проектируют совмещенными в одном сечении (рис. 3, а). Торцы листов объединяют сваркой в разделку при заводском изготовлении. Усиление шва обрабатывают заподлицо с основным металлом.

Допускаются монтажные стыки верхних пакетных поясов балок вразбежку со вставкой (рис. 3, б). Длину вставки следует принимать равной 20 толщинам стыкуемого листа.

Для монтажных стыков пакетных поясов рекомендуется применение ручной многопроходной сварки и автоматической сварки по ручной подварке толщиной не менее 10 мм.

Описание: Без имени-1копирование

Рис. 3. Заводская подготовка стыков пакетных поясов под монтажную сварку:

а - нижнего пояса; б - верхнего пояса; 1 - монтажная вставка

4.6. Вертикальные (или поперечные) промежуточные ребра жесткости сплошностенчатых изгибаемых балок и коробок железнодорожных, автодорожных, городских и пешеходных мостов рекомендуется приваривать к стенке и поясам непрерывными угловыми швами (рис. 4, а) или проектировать их с устройством скругленных вырезов номинальными размерами 50´50 мм (рис. 4, б). Вырезы обязательны, если по технологии сборки и сварки (преимущественно коробчатых и П-образных сечений) поясные швы проваривают полуавтоматом после постановки и приварки поперечных ребер или диафрагм.

4.7. Длину угловых швов на торцах ребер следует принимать не менее 80 мм (п. 4.147 СНиП 2.05.03-84*). Расстояние от свободной кромки растянутого пояса балки до свободной кромки ребра должно быть не менее 40 мм (см. рис. 4, а, б снизу). Для опорных ребер это расстояние можно уменьшить до 20 мм (рис. 5, сеч. 1-1).

В местах: примыкания ребер к поясам, фасонкам и другим ребрам; пересечения продольных и поперечных ребер плит; обрыва стенок балок в монтажных соединениях; обрыва продольных ребер ортотропных плит; в технологических проемах (отверстиях) и т.д. - необходима обварка угловыми швами по кромкам и торцам стыкуемых деталей по контуру.

Описание: Без имени-1копирование

Рис. 4.* Ребра жесткости сплошностенчатых балок:

а - привариваемые к стенке и поясам непрерывными швами; б - то же со скругленными вырезами 50´50 мм в углах

4.8. Катеты угловых швов в местах приварки торцов вертикальных ребер к горизонтальным элементам балок, а также в местах пересечений продольных и поперечных ребер должны иметь отношение 1:1, если иное соотношение катетов не требуется по расчету на выносливость в сечении по границе перехода шва к основному металлу.

4.9. При назначении в чертежах КМ и КМД мест расположения поперечных стыковых швов полотнищ стенок, поясов и ортотропных плит необходимо обеспечивать следующие расстояния между этими швами и ребрами жесткости (в ортотропных плитах - поперечными балками):

для конструкций в обычном исполнении - номинально 200 мм, но не менее трех толщин стыкуемых листов;

для конструкций в северном исполнении А и Б соответственно - номинально 250 мм, но не менее шести толщин стыкуемых листов.

Расстояние от продольных стыковых швов полотнищ стенок, ортотропных и ребристых плит до продольных ребер жесткости, привариваемых в тавр, должно быть не менее 100 мм (см. рис. 5) при любом исполнении.

Описание: Без имени-1копирование

Рис. 5.* Схема взаимного расположения ребер жесткости и стыковых швов сплошностенчатой балки:

1 - опорное ребро; 2 - продольное ребро; 3 - поперечное ребро

4.10. Распорки и диагонали продольных связей, распорки поперечных связей не допускается приваривать непосредственно к поясам балок пролетных строений всех назначений. Связи непосредственно к поясам можно прикреплять только на высокопрочных болтах. При невозможности такого решения в автодорожных мостах элементы связей к главным балкам допускается присоединять через фасонки, привариваемые встык к поясам (рис. 6, а) или в тавр к стенкам балок (рис. 6, б). В первом случае должно обеспечиваться сплошное проплавление сварного соединения и механическая обработка концов швов для получения плавных переходов к поясу радиусом не менее 60 мм (см. рис. 6, а справа). Во втором случае сплошное проплавление не требуется, а механическую обработку на концах швов выполняют только на фасовках, к которым примыкают диагонали продольных связей.

В железнодорожных мостах фасонки связей приваривают встык к поясным листам балок с обеспечением сплошного проплавления и плавных переходов к основному металлу с механической обработкой концевых участков швов. Длина стыкового шва (т.е. длина фасонки) должна быть не менее 800 мм. Если верхний пояс балки выполнен в виде двухлистового пакета, то фасонки приваривают встык к нижнему листу пакета.

Описание: Без имени-1копирование

Рис. 6. Крепление фасонок продольных связей к главным балкам:

а - к поясу; б - к стенке

4.11.* При разработке чертежей КМД и изготовлении сплошностенчатых балочных и коробчатых конструкций необходимо соблюдать следующие правила:

а) в сварных полотнищах стенок балок избегать пересечений продольных и поперечных стыковых швов в крайних, наиболее напряженных зонах, равных 0,25hст;

б) предусматривать не более одного продольного стыкового шва;

в) поперечные стыковые швы полотнищ стенок, поясов, ортотропных и ребристых плит удалять от ближайших к шву осей ряда отверстий монтажных стыков и технологических отверстий не менее чем 100 мм. При расстояниях меньше 100 мм требуется обработка усиления шва заподлицо с основным металлом и снятие внутренних напряжений в сварном шве и околошовной зоне по технологии, приведенной в п. 10.14 настоящего СТП;

г) при заводском формировании цельноперевозимых балочных и коробчатых элементов поперечные стыковые швы стенок, поясов, настильных листов и продольных ребер ортотропных и ребристых плит располагать вразбежку, с расстоянием между их осями не менее 200 мм (см. рис. 5);

д) минимальная длина пристыковки в любых элементах определяется заводом при разработке чертежей КМД. Как правило, она должна быть не менее 20S для коробчатых и не менее 10S для балочных конструкций, где S - толщина пристыкуемого проката, причем должны соблюдаться другие требования п. 4.11 и 4.12.

4.12. В сварных элементах решетчатых ферм необходимо предусматривать: число стыкуемых в одном поперечном сечении листов не более двух; поперечные стыки смежных листов располагать вразбежку, с расстоянием между ними не менее 200 мм; расстояние от крайнего ряда монтажных отверстий до поперечного стыка элемента не менее 100 мм. В элементах решетчатых пролетных строений следует назначать количество поперечных стыков в листах раскосов и поясов - не более двух; в листах подвесок, стоек и продольных балок - не более одного.

4.13. В зонах фрикционно-болтовых монтажных соединений продольные стыковые швы должны подвергаться механической обработке до полного снятия усиления сварных швов заподлицо с основным металлом на ширину полунакладки плюс 40 мм до начала сверления отверстий.

4.14. В зонах сварных монтажных соединений поясов балок с изменением их толщины снизу необходимо предусматривать горизонтальную площадку длиной не менее 70 мм для размещения подкладки, формирующей сварной шов (рис. 7).

Описание: Без имени-1копирование

Рис. 7. Подготовка элементов нижних поясов разной толщины под монтажную сварку:

1 - медная подкладка; 2 - стальная прижимная обойма

4.15. В комбинированных фрикционно-сварных стыках главных балок монтажные сварные соединения верхних поясов из одиночных листов или двухлистовых пакетов следует проектировать, как правило, без вставки, с обеспечением проектного зазора при заводском изготовлении см. (рис. 1, б) и скругленными вырезами в стенке под верхним поясом симметрично нижним вырезам.

Для цельнометаллических пролетных строений с ортотропными плитами верхние вырезы допускаются упрощенной формы с размерами не менее 50´50 мм, если они удовлетворяют требованиям расчета конструкции на выносливость (см. рис. 1, в).

4.16. Количество стыков поясов назначается из условия рационального заводского раскроя листового металлопроката.

4.17.* В составе проекта производства работ (ППР) должны быть разработаны строповочные приспособления и устройства для монтажа блоков главных балок, ортотропных и ребристых плит. По согласованию с проектной организацией - разработчиком чертежей КМ допускается сверление монтажных отверстий диаметром 25 мм в настильных листах ортотропных и ребристых плит. Отверстия рекомендуется указывать в чертежах КМД и сверлить на заводе.

5. ИЗГОТОВЛЕНИЕ ДЕТАЛЕЙ И МОНТАЖНЫХ ЭЛЕМЕНТОВ

Правка, очистка и консервация металлопроката

5.1. Листовой прокат, подаваемый в обработку, должен быть выправлен на листоправильной машине с количеством валков не менее семи независимо от исходного состояния проката. Зазор между поверхностью выправленного листа, уложенного на ровную горизонтальную плоскость, и ребром стальной линейки длиной 1 м не должен превышать 1,5 мм для любой толщины листа.

При настройке листоправильной машины следует соблюдать пределы допустимости правки в холодном состоянии - минимально допустимый радиус кривизны r ³ 50 ´ S и максимально допустимый прогиб f £ i2/400S, где S - толщина листа, i - длина деформируемой (или деформированной в неправленом листе) части (табл. 2, приложение А).

На листоправильной машине должны быть указатели величины зазора между рядами средних валков (С) и превышения крайних нижних валков над средними (l). Рекомендуемый порядок и режимы правки листового проката приведены в приложении А.

При правильно подобранном режиме лист выправляется за один проход. Количество проходов (при необходимости) не должно превышать шести.

На листоправильных машинах запрещается править волнистость кромок и саблевидность листа или полосы с помощью прокладок.

5.2. Волнистость универсального и полосового проката правят на листоправильных машинах, а саблевидность и винтообразность - на горизонтальных правильно-гибочных прессах. Волнистость полосовых заготовок из листа толщиной больше 40 мм допускается править на горизонтальных правильно-гибочных прессах с установкой металлических прокладок на выпуклостях деформированных участков.

5.3. Для правки фасонного углового проката рекомендуется применять сортоправильные машины открытого типа с консольным расположением роликов, а также с возможностью их замены и изменения шага.

Входящий угол роликов и, соответственно, угол прижимных роликов рекомендуется принимать равным 90°20¢. На сортоправильных машинах при применении роликов соответствующей формы допускается правка двутавров, швеллеров, квадрата и круга.

На сортоправильных машинах допускается править общую волнистость и, частично, местные деформации вдоль оси уголка, за исключением концевых участков, равных примерно расстоянию между осями роликов по горизонтали.

Пределы допустимости правки углового проката в холодном состоянии: r ³ 90в; f £ i2/720В, где В - ширина полки; остальные обозначения - по п. 5.1.

5.4.* Деформации листового, фасонного и сортового проката, превышающие пределы допустимости холодной правки, или деформации, не поддающиеся правке на машинах, выправляют термическим или термомеханическим способами.

Основные правила термической и термомеханической правки:

- температура нагрева металла в намеченных зонах должна быть в пределах 650 - 700 °С (от темно-вишнево-красного до вишнево-красного цвета каления);

- интенсивность нагрева должна быть максимально возможной. Горючий газ - ацетилен или пропан-бутан, номер сопла (наконечника) не ниже 5. Для проката толщиной 20 мм и больше использовать одновременно две горелки (нагрев с обеих сторон);

- нагревать более двух раз одну и ту же зону не допускается;

- приложение статических усилий домкратами, струбцинами или иной нагрузкой при термомеханической правке разрешается при достижении металлом температуры нагрева 450 - 500 °С с последующим нагревом его в зонах деформаций до 650 - 700 °С. Механическую нагрузку можно снимать после устранения деформации независимо от температуры металла;

- правку при отрицательных температурах воздуха и стали не ниже -10 °С применять в порядке исключения, если на предприятии металлопрокат хранится на открытом воздухе;

- о результатах правки можно судить только после полного естественного остывания зон нагрева до температуры 20 - 30 °С. Охлаждать нагретый металл водой или обдувом сжатым воздухом запрещается.

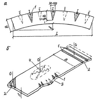
5.5 Саблевидность листа или полосы правят термическим способом с нагревом «клиньев» с выпуклой стороны элемента по схеме на рис. 8, а. Высоту клиновидных зон нагрева принимают равной 2/3 ширины листа (полосы), при этом ширина зон нагрева должна быть 30 - 100 мм в основании. Нагрев клина производят от вершины к основанию. Лист толщиной более 20 мм нагревают одновременно с двух сторон. В первую очередь зоны нагрева намечают в местах наибольших деформаций. После остывания листа замеряют уменьшение выгиба и, при необходимости, намечают зоны II очереди (см. рис. в, а).

Описание: Без имени-1копирование

Рис. 8. Правка деформированных листов:

а - термическая, саблевидности; б - термомеханическая, волнистости, «бахромы» по кромке, выпуклости («хлопуна»), G - статическая нагрузка (пригруз), 1 - зоны нагрева; 2 - волнистость; 3 - «бахрома» по кромке; 4 - выпуклость («хлопун»)

5.6. Волнистость толстого листа (20 мм и более), «бахрому» по кромке и выпучивания («хлопуны») выправляют преимущественно термомеханическим способом с приложением статических усилий и наметкой зон нагрева по схемам, приведенным на рис. 8, б. Металл во всех случаях предпочтительно нагревать с выпуклой стороны, однако при выправке «хлопуна» плоский пригруз ставят на выпуклость, а нагрев производят снизу.

Принципы термической и термомеханической правки, изложенные в п.п. 5.4 - 5.6, справедливы также для правки сортового и фасонного проката.

5.7. Термическую и термомеханическую правку должны выполнять специально обученные и аттестованные рабочие-газоправильщики. В процессе обучения они должны приобрести опыт визуального определения температуры нагрева стали по цвету каления и с помощью специального устройства (рис. 9). Периодически, по графику, утвержденному главным инженером завода, но не реже чем через 6 месяцев, газоправильщики должны проходить проверку приобретенного навыка определения температуры на данном приборе. Для контроля температуры нагрева металла рекомендуется использовать оптические пирометры излучения и цифровые термометры ТЦ-1000.

Описание: Без имени-1копирование

Рис. 9. Схема устройства для контроля температуры нагрева:

1 - горелка; 2 - притертый медный «пятачок»; 3 - стальная пластина; 4 - прибор, регистрирующий температуру; 5 - прижим; 6 - термопара, заключенная в трубку с двумя отверстиями

5.8. Данные по расходу материалов и эффективной мощности пламени горелки приведены в приложении Б. В этом же приложении есть таблица цветов каления и побежалости при нагреве и охлаждении стали.

5.9. Весь предназначенный для изготовления мостовых конструкций металлопрокат должен быть перед запуском в производство очищен от прокатной окалины и ржавчины на поточных линиях очистки и консервации.

Разрешается производить очистку металла переносными дробеструйными или пескоструйными установками и ручным механизированным инструментом (иглофрезами, шарошками и т.п.). Степень очистки металлопроката - 2 по ГОСТ 9.402-80.

5.10. Очистку стального проката на поточных линиях выполняют колотой дробью, закаленной с низкотемпературным отпуском, марки ДСК ГОСТ 1964-81* размером 0,6 - 0,9 мм для углеродистых и 0,8 - 1,2 мм для низколегированных сталей. Допускается применение литой дроби марки ДСП по тому же стандарту и тех же размеров, что и колотой.

Жировые загрязнения и консервационные смазки, имеющиеся на прокате, должны быть удалены растворителями или моющими средствами до дробеметной очисткой.

Ориентировочные режимы очистки проката на поточных линиях приведены в приложении В.

Разметка, резка, штамповка стали

5.11. Для разметки деталей используют рулетки 1 - 2-го классов точности по ГОСТ 7502-89, линейки измерительные металлические со штриховыми шкалами длиной 300, 500, 1000 мм ГОСТ 427-75, штангенциркули ГОСТ 166-80, штангенрейсмасы ГОСТ 164-80, угольники поверочные ГОСТ 3749-77, угломеры с нониусом ГОСТ 5378-66 (Приложение М).

Контроль измерительного инструмента в соответствии с требованиями соответствующих стандартов должен производиться заводской лабораторией или отделом технического контроля.

При разметке и контроле деталей длиной более 10 м рулетками РЗ-20, РЗ-30 и РЗ-50 следует пользоваться одной и той же рулеткой, прошедшей лабораторный контроль.

5.12. Предельные отклонения при разметке не должны превышать величин, приведенных в табл. 1.

Таблица 1. Точность разметки деталей

Наименование размера

Интервал размеров, м

1,5

1,5 ... 9

9 ... 21

Предельные отклонения, ± мм, от проектных линейных размеров

Длина и ширина детали

1

1,5

2

Расстояние от кромки до разметочной риски

1

1

1

Расстояние между смежными рисками

0,5

0,5

0,5

Расстояние между крайними рисками

1

1,5

2

Смещение центров отверстий

0,5

0,5

0,5

Расстояние между центрами смежных отверстий

1

1,5

2

5.13. При разметке необходимо учитывать припуски на резку, механическую обработку и усадку от сварки по указаниям заводской конструкторско-технологической документации (Приложение П).

5.14. На размеченные детали основных несущих конструкций по указаниям чертежей КМД необходимо клеймением переносить номера плавок по сертификатам. Места постановки номеров плавок на деталях отправочных марок и монтажных элементов следует указывать в чертежах КМД. Они не должны попадать в зоны сверления отверстий и наложения сварных швов, а также не закрываться при дальнейшем изготовлении и монтаже конструкций.

Номера плавок необходимо переносить также на деловые отходы.

Для металлоконструкций в северном исполнении клеймения металлургических заводов, если их расположение не удовлетворяет указаниям чертежей КМД, подлежат зачистке до полного удаления следов клейм.

5.15. Механическую резку низколегированного стального проката на ножницах допускается производить только при положительной температуре воздуха и металла. Кромки после резки на ножницах, должны быть ровными, без трещин, заусенцев и завалов, превышающих 0,3 мм (см. табл. 4).

При механической резке сортового и фасонного проката на фрезерно-отрезных станках скорость резки, подачу и число оборотов дисковой фрезы следует устанавливать в зависимости от класса стали, стойкости и размера отрезного инструмента (см. приложение Г).

5.16. Для раскроя стального листа и вырезки деталей любой формы допускается применять термическую резку:

- кислородную (газокислородную) машинную и ручную;

- плазменно-дуговую машинную (кислородно-плазменную и воздушно-плазменную).

При газокислородной резке толщина разрезаемого проката не ограничивается; плазменно-дуговой резкой при изготовлении мостовых конструкций допускается резать лист толщиной до 40 мм включительно.

5.17.* Термическую резку стального проката надлежит производить в закрытых отапливаемых цехах при положительной температуре металла и окружающего воздуха. Рабочие, занятые на термической резке, должны быть обучены и иметь соответствующие удостоверения на право выполнения данных работ. Допускается газокислородная резка при отрицательной температуре воздуха, с предварительным подогревом зоны реза шириной не менее 100 мм до температуры +100 °С посредством прохода газорежущей машины по металлу, с подогревающим пламенем горелок без режущей струи кислорода.

5.18. При кислородной резке в качестве горючего газа подогревающего пламени следует применять ацетилен ГОСТ 5457-75, пропан-бутан ГОСТ 10196-62* или природный газ. Чистота кислорода должна быть не ниже 99,5 %, что соответствует 2-му сорту по ГОСТ 5583-78.

5.19. При машинной термической резке неперпендикулярность кромок, шероховатость поверхности реза и точность вырезаемых деталей должны соответствовать требованиям настоящих норм (см. табл. 2, 3, 6).

5.20. Наибольшие значения неперпендикулярности D (рис. 10) для несвободных кромок не должны превышать норм, указанных в табл. 2. Неперпендикулярность поверхности реза для свободных кромок не регламентируется.

5.21. Шероховатость поверхности реза определяют высотой неровностей Rz и измеряют на базовой длине i = 8 мм по 10 точкам. Наибольшие значения шероховатости в зависимости от толщины разрезаемого металла не должны превышать норм, указанных в табл. 3.

Радиус оплавления верхних кромок не должен превышать 2 мм.

Точность вырезаемых заготовок и деталей принимают по табл. 6.

Описание: Без имени-1копирование

Рис. 10. Неперпендикулярность поверхности реза:

D - величина неперпендикулярности; а - охватываемый размер заготовки, детали; в - охватывающий размер заготовки, детали

Таблица 2. Допускаемая неперпендикулярность несвободных кромок при машинной термической резке

Толщина металла, мм

Значения D, мм

Значения угла косины a, град

при горизонтальном зазоре в соединении

при вертикальном зазоре в соединении

при горизонтальном зазоре в соединении

при вертикальном зазоре в соединении

8 ...12

2

1

11 ... 9

6 ... 4

14 ... 30

2

1

7 ... 4

3 ... 2

32 ... 40

2

1

3

1

Таблица 3. Допускаемая шероховатость поверхности реза при машинной термической резке

Класс шероховатости по ГОСТ 14792-80

Категория кромок по табл. 4 СТП

Способ резки

Значения шероховатости, Rz, мкм, при толщине разрезаемого металла, мм

8 ... 12

14 ... 30

32 ... 60*

1

I

Кислородная и плазменно-дуговая

50

80

160

2

II

Кислородная

80

160

320

Плазменно-дуговая

100

200

-

3

III

Кислородная

160

320

500

Плазменно-дуговая

200

400

-

* Для плазменно-дуговой резки толщина разрезаемого металла S = 32 ... 40 мм.

5.22. Рекомендуемые режимы машинной газокислородной, кислородно-плазменной и воздушно-плазменной резки приведены в приложениях Д и Е. Указанные режимы могут уточняться в зависимости от применяемого оборудования с учетом заводских условий производства работ.

5.23. Качество поверхности реза после машинной термической резки проверяют внешним осмотром и замерами. Неперпендикулярность реза замеряют угломером с нониусом или с помощью поверочного угольника и линейки.

Шероховатость поверхности реза контролируют визуально, сравнением с эталонными образцами, которые должны храниться в ОТК завода, а также с помощью контактных щуповых приборов (профилометров и профилографов).

5.24. Кромки деталей мостовых конструкций разделяют на три вида:

1) свободные;

2) несвободные не полностью проплавляемые при сварке;

3) несвободные полностью проплавляемые при сварке.

5.25. Отдельные выхваты на кромках после термической резки допускается устранять механической обработкой с соблюдением требований п. 11.7, при этом на свободных (не подлежащих сварке) кромках уменьшение ширины детали В не должно превышать 0,02В, но не более 8 мм с каждой стороны, или не более 12 мм с одной стороны. На несвободных не полностью проплавляемых кромках угловых и тавровых сварных соединений глубина механической обработки выхватов не должна превышать 2 мм. На кромках со сплошным проплавлением в стыковых соединениях глубина механической обработки выхватов должна быть в пределах допусков на зазоры в зависимости от способа сварки в соответствии с требованиями раздела 8 настоящего СТП, а также ГОСТ 8713-79 (сварка под флюсом), ГОСТ 14771-76 (сварка в защитных газах) и ГОСТ 5264-80 (ручная дуговая сварка).

Допускается исправлять кромки заваркой дефектных мест в соответствии с требованиями раздела 8 с последующей механической обработкой.

Строгание, фрезерование, обработка кромок

5.26. Строгание и фрезерование деталей мостовых конструкций следует производить для: обеспечения точности геометрических размеров в пределах заданных допусков; удаления зон с измененной структурой кромок после механической или термической резки; подготовки кромок под сварку; обеспечения передачи усилий сжатия плотным касанием деталей; устранения отдельных выхватов или других дефектов резки. Строгание и фрезерование по плоскости выполняют для обеспечения: плавного перехода от одной толщины деталей к другой при дальнейшем стыковании их сваркой, плавного перехода по толщине в накладных компенсаторах, плотного касания рабочих плоскостей, передающих усилия сжатия.

5.27. В зависимости от требований к качеству кромок с учетом характера работы элементов конструкций на стадии эксплуатации кромки разделены на четыре категории (табл. 4). В чертежах КМ следует указывать элементы, работающие на растяжение, и границы зон растяжения при изгибе. Соответственно в чертежах КМД необходимо указывать категории кромок и способы их обработки согласно указаниям табл. 4 и п. 5.28 настоящего СТП.

5.28. Механическую обработку кромок после резки на ножницах или ручной газокислородной резки надлежит выполнять строганием или фрезерованием на глубину, обеспечивающую удаление дефектов поверхности, но не менее 2 мм. Поверхности кромок не должны иметь надрывов и трещин.

Шероховатость поверхности после строгания, фрезерования и обработки абразивным инструментом должна быть не грубее 3-го класса ГОСТ 2789 при высоте неровностей по 10 точкам на базовой длине i = 8 мм в пределах Rz = 40 ... 80.

Рекомендуемые параметры резцов и фрез, режимы и приемы строгания и фрезерования кромок приведены в приложении Ж.

5.29. Прокатные (продольные) кромки полосовой и универсальной стали, поставляемой по ГОСТ 103 и ГОСТ 82, допускается не подвергать механической обработке, если они удовлетворяют требованиям табл. 4 настоящего СТП.

5.30. Скругленные вырезы по торцам продольных ребер в растянутых зонах балок (рис. 11, а) следует выполнять со сверлением у вершины входящего угла отверстия диаметром не менее 25 мм. Допускается штамповка вырезов с последующей механической обработкой. При машинной газокислородной или плазменно-дуговой резке обработка кромок выреза не требуется, если качество реза удовлетворяет требованиям категории I по табл. 4.

Для остальных элементов и деталей кромки скругленных вырезов, образованные штамповкой, машинной термической резкой без сверления отверстий, допускается не подвергать механической обработке, если они не имеют неровностей вдоль кромок, трещин, заусенцев и завалов более 0,3 мм (рис. 11, б).

Таблица 4. Категории и типы кромок. Требования к качеству

Категория кромок

Тип кромок, входящих в данную категорию

Требования к обработке и качеству кромок:

после термической резки вручную

после резки на ножницах и штамповки

после машинной газокислородной и кислородно-плазменной резки

после машинной воздушно-плазменной резки

I

Свободные кромки: продольные и косых концевых резов деталей, работающих на растяжение; растянутые у изгибаемых элементов, в том числе у продольных ребер жесткости в растянутой зоне балок

Механическая обработка по требованиям п. 5.28 настоящего СТП

Допускаются без механической обработки при обеспечении точности деталей по табл. 6 и шероховатости поверхности реза 1-го класса для конструкций северного исполнения и 2-го класса - обычного исполнения по табл. 3 СТП

II

Свободные кромки монтажных элементов (фасонок, стыковых накладок, рыбок, соединительных планок)

То же

Допускаются без механической обработки при обеспечении точности по табл. 6 и шероховатости поверхности реза 2-го класса по табл. 3 СТП

III

1. Свободные кромки: продольные и косых концевых резов деталей, работающих на сжатие; сжатые у деталей изгибаемых элементов, в том числе у продольных ребер в сжатых зонах балок

То же

Допускаются без механической обработки при обеспечении точности деталей по табл. 6 и шероховатости поверхности реза 2-го класса для конструкций северного исполнения и 3-го класса - обычного исполнения по табл. 3 СТП

2. Свободные кромки поперечных (вертикальных) ребер жесткости. Все кромки нерасчетных элементов. Торцевые кромки всех деталей, за исключением деталей, относящихся ко II категории

Механическая обработка по требованиям п. 5.28 настоящего СТП

Допускаются без механической обработки при обеспечении требуемой точности по табл. 6 и качества кромок по п. 5.15 настоящего СТП

Допускаются без механической обработки при обеспечении точности деталей по табл. 6 и шероховатости поверхности реза 3-го класса по табл. 3 СТП

 

2. Несвободные кромки, неполностью проплавляемые при сварке, в том числе поперечных (вертикальных) ребер жесткости и деформационных швов

Механическая обработка по требованиям п. 5.28 настоящего СТП

Допускаются без механической обработки при обеспечении требуемой точности деталей и проектной разделки кромок под сварку

Механическая обработка по требованиям п. 5.28 настоящего СТП

Описание: Без имени-1копирование

Рис. 11. Вырезы в углах деталей:

а - образованные сверлением и штамповкой, а также сверлением и машинной кислородной или плазменно-дуговой резкой; D = 2 ... 4 мм; б - образованные штамповкой, а также машинной кислородной или плазменно-дуговой резкой

Образование отверстий

5.31. Отверстия в мостовых конструкциях с болтовыми и фрикционными соединениями образуют сверлением. Допускается расточка и термическая резка отверстий иного назначения диаметром 50 мм и более с обеспечением точности и чистоты поверхности в соответствии с табл. 3 и 5.

5.32. Детали под сверление и расточку должны устанавливаться перпендикулярно оси шпинделя. Не допускается прогиб деталей во время сверления. Сверлить отверстия следует с минимальным удалением оси шпинделя от оси колонны станка и с минимальным расстоянием от режущей части сверла до сверлильной головки.

5.33. Номинальные диаметры отверстий под высокопрочные болты фрикционных соединений и под болты нормальной точности должны быть указаны в чертежах КМ и КМД в соответствии с табл. 5, если нет особых указаний проектной организации, разработавшей чертежи КМ.

5.34. Просверленные или рассверленные отверстия должны иметь цилиндрическую форму. Шероховатость поверхности должна соответствовать 3-му классу ГОСТ 2789-73 (Rz = 40 ... 80). Отклонения по диаметру, овальности, глубине зенкования и косине отверстий не должны превышать допусков, приведенных в табл. 5.

Таблица 5. Требования к отверстиям болтовых и фрикционных соединений

Наименование соединений и отклонений

Номинальные диаметры отверстий и допуски, мм, под болты с резьбой

М18

М22

М24

М27

Стыки и прикрепления основных несущих элементов и связей, определяющие проектное положение конструкций с фрикционными соединениями

21

25

28

30

Прикрепления: связей, не определяющих проектного положения конструкций; стыковых накладок (рыбок) поясов продольных балок; тормозных связей и горизонтальных диафрагм проезжей части с фрикционными соединениями

23

28

30

33

Соединения на болтах нормальной точности

19

23

25

28

Отклонения диаметра отверстия

+0,5

+0,5

+0,6

+0,6

-0,2

-0,2

-0,2

-0,2

Овальность в пределах отклонения по диаметру

0,4

0,5

0,5

0,6

Косина

До 3 % толщины листа или пакета, но не более 2 мм

Отклонение заданной глубины зенкерования

±0,4

±0,4

±0,4

±0,4

Заусенцы на краях отверстий необходимо удалять.

Допускается удаление заусенцев зенкерованием не более чем на 1 мм по глубине и радиусу.

Рекомендуемые режимы сверления отверстий приведены в приложении Ж, табл. 4.

5.35. Продавливание отверстий в основных несущих конструкциях мостов и в контруголках мостового железнодорожного полотна не допускается.

Допускается продавливание отверстий на полный диаметр при толщине проката до 16 мм из малоуглеродистой стали и до 12 мм из низколегированной стали в деталях следующих конструкций мостов:

барьерных ограждений;

кабельных коробов с крышками;

лестниц, сходов на опоры, смотровых ходов по связям;

охранных уголков мостового полотна и их стыковых накладок.

Диаметр продавленного отверстия не должен быть меньше толщины металла. Разность диаметров продавленного отверстия на входе и выходе пуансона не должна превышать 0,7 мм. Кромки продавленного отверстия не должны иметь неровностей, заусенцев, трещин и завалов, превышающих 0,3 мм.

Правка и гибка деталей

5.36. Детали, получившие в процессе обработки недопустимые деформации, подлежат правке. Правку выполняют теми же способами, что и листового проката, за исключением сварных полотнищ.

5.37. Полотнища с поперечными стыковыми швами допускается править на листоправильных машинах при условии, что толщина листа не превышает 40 мм, а величина усиления швов g £ 2 мм. После правки сварные швы подвергают УЗД-контролю в объеме 100 % с обязательным фиксированием результатов контроля. Рекомендуется многопроходная правка (но не более шести проходов) с постепенным уменьшением зазора между рядами валков до верхнего предела номинальной величины.

Полотнища с переломами («домиками») в поперечных сварных стыках, превышающими 2 мм на базе 400 мм, править в холодном состоянии на вальцах не допускается. Переломы надлежит выправлять термическим или термомеханическим способами.

5.38. Полотнища с продольными стыковыми швами допускается править после снятия усиления швов с обеих сторон. Раскатка швов валками запрещается.

5.39. Холодную гибку деталей разделяют на два вида - по радиусу и в угол. Гибку металлопроката и деталей мостовых конструкций по радиусу допускается выполнять до положения, при котором величина допускаемого минимального радиуса r не превышает значений, указанных в табл. 2 Приложения А.

Величина пружинения при гибке деталей в зависимости от толщины заготовок для стали с sт = 400 МПа приведена в приложении И. Разрешается величину пружинения определять опытным путем на первых деталях.

5.40. При гибке в угол на кромкогибочных прессах и в штампах деталей из листового проката для сталей с нормативным пределом текучести до 350 МПа внутренний радиус должен быть не менее 1,2S для конструкций, воспринимающих статические нагрузки, и 2,5S - динамические (S - толщина листа).

При гибке в угол деталей из низколегированных сталей с пределом текучести 275 - 350 МПа после резки их на ножницах кромки, пересекающие линию гиба, необходимо подвергнуть механической обработке, а углы скруглить радиусом или фаской 1 - 2 мм. Линию гиба рекомендуется располагать поперек прокатных волокон листа.

5.41. Гибку деталей в угол мостовых конструкций, эксплуатируемых в районах с расчетной температурой ниже минус 40 °С и до минус 65 °С включительно, а также конструкций из сталей с нормативным пределом текучести более 350 МПа разрешается выполнять только в горячем состоянии. Минимальные радиусы гибки должны отвечать нормам табл. 2 Приложения А.

5.42. Высадка деталей из термически упрочненной стали (в том числе из стали с пределом текучести ³ 400 МПа) не допускается. Гибка и правка указанных деталей в горячем состоянии выполняется в диапазоне температур от 650 до 700 °С. Температуру нагрева допускается определять визуально по цвету каления (от темно-вишнево-красного до вишнево-красного). Газоправильщики должны быть обучены и иметь соответствующее удостоверение.

Приемка деталей и монтажных элементов

5.43. Приемку деталей, поступающих на сборку, осуществляет ОТК завода. Приемку монтажных элементов, не участвующих в заводской сборке (относящихся к готовой продукции), осуществляет ОТК, мостовая инспекция или другая независимая контролирующая организация. Приемке подлежат 100 % элементов.

5.44. Не подлежат исправлению и должны заменяться участки листов и других прокатных профилей на которых обнаружены трещины в основном металле и трещины в сварном шве, переходящие или не переходящие в основной металл. Длину удаляемого участка принимают равной длине дефекта плюс запас бездефектного металла по 50 мм в каждую сторону.

5.45. Расслой на свободных кромках глубиной до 8 мм допускается удалять механической обработкой (см. разд. 11).

Ремонт участков кромок проката с расслоем глубиной более 8 мм производят вырезкой по плавной кривой дефектного участка с запасом бездефектного проката не менее 50 мм и заменой на новый прокат с приваркой его в соответствии с требованиями разд. 8 по согласованию с контролирующей организацией, а, при необходимости, с проектной организацией, разработавшей чертежи КМ и заказчиком.

5.46.* Качество кромок деталей и монтажных элементов должно соответствовать требованиям п.п. 5.25; 5.27 - 5.30 и табл. 4.

Острые свободные кромки, подлежащие грунтованию и окраске, следует скруглять радиусом не менее 2 мм; допускается притуплять указанные кромки фаской 2´2 мм со округлением углов.

5.47. Предельные отклонения от проектных линейных размеров деталей, монтажных элементов и расположения отверстий не должны превышать указанных в табл. 6, если в чертежах КМ и КМД не оговорены дополнительные ограничения.

5.48. Предельные отклонения от геометрической формы деталей и монтажных элементов должны соответствовать требованиям табл. 7, если в чертежах КМ и КМД не оговорены дополнительные ограничения.

Таблица 6. Предельные отклонения от проектных линейных размеров деталей, монтажных элементов1 и отверстий после обработки

Размеры и способы выполнения операций

Интервалы размеров, м

до 1,5

1,5 ... 2,5

2,5 ... 4,5

4,5 ... 9,0

9,0 ... 15,0

15,0 ... 21,0

Предельные отклонения, ± мм

А. Длина и ширина детали, отрезанной:

 

1. Термической резкой вручную по наметке

2,5

3,0

3,5

4,0

4,5

5,0

2. Термической резкой полуавтоматом или автоматом

1,5

2,0

2,5

3,0

3,5

4,0

3. На ножницах или пилой по наметке

1,5

2,0

2,5

3,0

3,5

4,0

4. То же, по упору

1,0

1,5

2,0

2,5

3,0

3,5

5. Обработанной на кромкострогальном или фрезерном станках

1,0

1,0

1,5

2,0

2,5

3,0

Б. Разность длин диагоналей листовых деталей, подлежащих сварке встык

-

-

4,0

5,0

6,0

-

То же внахлестку

-

-

6,0

8,0

10,0

-

В. Расстояние между центрами отверстий:

 

Образованных по наметке, крайних

2,0

2,0

2,5

3,0

3,5

4,0

То же. Смежных

1,5

-

-

-

-

-

По кондукторам или на станках с ПУ, крайних

1,0

1,0

1,5

2,0

2,5

3,0

То же смежных

1,0

-

-

-

-

-

Примечание: Для свободных кромок по п.п. 1 - 5 допускается отклонение до + 5 мм.

1 К монтажным элементам относится готовая продукция, отправляемая на монтаж (фасонки, стыковые накладки, связи и т.д.), в отличие от деталей, поступающих на заводскую сборку и сварку отправочных марок.

Таблица 7. Предельные отклонения от геометрической формы деталей и монтажных элементов1 после обработки

Наименование отклонения

Значения предельного отклонения, мм

Искривление деталей

 

1. Зазор между поверхностью листа и ребром стальной линейки длиной 1 м:

в зоне монтажных отверстий

1

в остальных местах

1,5

2. Зазор между натянутой струной и обушком уголка, полкой или стенкой швеллера и двутавра длиной i

0,001i, но не более 10

3. Зазор между поверхностью листа закладной детали сталежелезобетонного пролетного строения и ребром стальной линейки длиной 1 м

1,0

4. Отклонение линий кромок листовых деталей от теоретического очертания:

 

при сварке встык

1,5

при сварке внахлестку

5

5. Отклонение при гибке:

 

просвет между шаблоном длиной 1,5 м по дуге и поверхностью вальцованного листа или обушком профиля:

 

согнутого в холодном состоянии

2

согнутого в горячем состоянии

3

6. Остаточные угловые деформации («домики») в стыковых сварных соединениях деталей, определяемые стрелой прогиба на базе 400 мм 2 при толщине S стыкуемых деталей, мм:

 

до 20 включительно

0,1S

свыше 20

2

7. Эллиптичность (разность диаметров окружностей в сечении) в габаритных листовых конструкциях - преимущественно трубчатых сваях (диаметр окружности D):

 

вне стыков

0,005D

в монтажных стыках

0,003D

1 К монтажным элементам относятся детали, отгружаемые заказчику без сборки и сварки.

2 В пакетных поясах сварных балок железнодорожных пролетных строений базу следует принимать равной 1000 мм.

6. СБОРКА ОТПРАВОЧНЫХ МАРОК И ПОДГОТОВКА ЗАВОДСКИХ СОЕДИНЕНИЙ ПОД СВАРКУ

6.1. Сборочная оснастка должна обеспечивать плотное прижатие деталей при сборке и сохранение заданной геометрической формы при перемещении и кантовке элементов.

Конструкции с болтовыми и фрикционными соединениями собирают на пробках и болтах с плотной стяжкой пакетов.

В сборочной оснастке должны беспрепятственно выполняться электроприхватки, а в сборо-сварочной - наложение сварных швов. При сборке-сварке элементов с несимметричными сечениями рекомендуется использовать оснастку, позволяющую жестко фиксировать обратные выгибы деталей для компенсации деформаций от сварки.

6.2. Детали, поступающие на сборку, должны быть приняты в соответствии с требованиями п.п. 5.43 - 5.48 настоящих норм. Если номера плавок проката, проставленные на деталях, закрываются при сборке, их переносят на наружную поверхность, с постановкой рядом клейм работников ОТК.

6.3. При сборке полотнищ под стыковую автоматическую сварку под флюсом на флюсовой подушке зазоры b в стыках для проката толщиной 10 - 16 мм (рис. 12, а, б) из сталей по ГОСТ 6713-91 должны быть в пределах 0 ... 3 мм; из сталей по ТУ 14-1-5120-92 - дифференцированно в зависимости от толщины листа S:

S, мм             10 ... 12            14 ... 16

b, мм              1 ... 3                2 ... 4

Для листа толщиной 20 - 50 мм с Х-образной разделкой кромок (рис. 12, в) номинальные размеры зазоров должны быть в пределах 2 - 4 мм независимо от марок стали.

Подлежащие сварке кромки листов должны быть прямолинейными. Уступы из плоскости соединения (депланация d) не должны превышать 0,1 толщины стыкуемых листов, но не более 2 мм (см. рис. 12, а).

Уступы в плоскости соединения по торцам листов для свободных кромок, например, поясов двутавровых и коробчатых балок (кроме коробчатых элементов решетчатых ферм) без примыкания к ним ребристых и ортотропных плит D £ 3 мм - для поясов шириной до 400 мм и D £ 4 мм - для поясов шириной более 400 мм (см. рис. 12, а).

Описание: Без имени-1копирование

Рис. 12. Допуски при сборке соединений под сварку:

а - стыковое; б - стыковое с неперпендикулярными кромками; в - стыковое с Х-образной разделкой кромок; г - угловое, тавровое, нахлесточное; d - депланация; D - уступ по торцам кромок; b - зазор; p - притупление; В - ширина пояса

Уступы кромок по торцам листов в соединениях, входящих в замкнутый контур, например, поясов балок и коробок, примыкающих встык к ребристым и ортотропным плитам D - £ 2 мм (см. рис. 12, а).

При сборке стыковых соединений с кромками, имеющими отклонения (в пределах допусков) от перпендикуляра к плоскости листа (например, после термической резки), детали следует размещать таким образом, чтобы зазор в корне шва соответствовал номинальному значению (0 - 3 мм), а плоскость симметрии была вертикальна (см. рис. 12, б).

6.4. При сборке угловых, тавровых и нахлестанных соединений под автоматическую и полуавтоматическую сварку зазоры в стыках должны быть в пределах 0 - 2 мм независимо от толщины стыкуемых деталей (рис. 12, г). Уступы в зонах монтажных стыков при сборке коробчатых элементов ферм должны быть не более 1 мм.

Все неровности и местные уступы, имеющиеся на деталях и препятствующие правильной сборке конструкций, надлежит до сборки устранять повторной правкой или зачисткой абразивным инструментом. При зазорах, превышающих 2 мм, но не более 3 мм на длине до 500 мм, допускается предварительная заварка их полуавтоматом или вручную с соответствующим увеличением катета углового шва.

Переломы («домики») в заваренных стыках плетей и полотнищ должны выправляться до сборки из них пространственных конструкций (балок, коробок и т.д.).

6.5. Торцы и плоскости деталей, передающие опорное давление, должны плотно прилегать друг к другу. Зазор между фрезерованным торцом ребра и листом пояса следует проверять щупом толщиной 0,3 мм, причем щуп не должен проходить более чем на половину толщины ребра между приторцованными поверхностями деталей.

6.6. Обушки парных уголков, лежащих в одной плоскости, не должны быть смещены один относительно другого для связей и прочих элементов более чем на 1 мм на всей их длине.

6.7. Кромки деталей под сварку обрабатывают в зависимости от принятого в чертежах КМ и КМД способа сварки в соответствии с требованиями ГОСТ 8713-79 и 11533-75 (сварка под флюсом), ГОСТ 14771-76 и 23518-79 (дуговая сварка в защитном газе), ГОСТ 5264-80 (ручная дуговая сварка).

6.8. Проплавляемые при сварке поверхности и прилегающие к ним зоны металла шириной не менее 20 мм, а также кромки листов в местах примыкания выводных планок перед сборкой-сваркой должны быть очищены от ржавчины, окалины и масляных загрязнений (рис. 13). Способ очистки определяет завод-изготовитель.

Описание: Без имени-1копирование

Рис. 13. Зачистка кромок и поверхности металла перед сваркой соединений:

а - стыковых; б - тавровых; в - угловых; г - нахлесточных; 1 - зоны зачистки

В целях предотвращения образования конденсационной влаги на кромках в процессе сварки стыковых, тавровых и других типов соединений рекомендуется предварительный подогрев кромок до температуры 60 - 80 °С для всех толщин проката и марок стали.

Для мостовых низколегированных сталей с пределом текучести по данным сертификатов 400 МПа и более при толщине свариваемых элементов S ³ 20 мм в стыковых, тавровых и угловых соединениях необходим предварительный подогрев свариваемых кромок и прилегающих к ним участков шириной по 40 мм до температуры 100 - 120 °С непосредственно перед сваркой или в процессе сварки с опережением ее. В тавровых и угловых соединениях один из элементов толщиной менее 20 мм допускается не подогревать. Для подогрева рекомендуются газокислородные и газовоздушные горелки. При многопроходной сварке в случае перерыва, сопровождающегося охлаждением металла ниже 80 °С, предварительный подогрев повторяют.

6.9. Закрепление деталей при сборке отправочных марок под сварку должно осуществляться посредством прижимных устройств (не препятствующих последующему наложению сварных швов) или с помощью электроприхваток.

Электроприхватки в сварных соединениях должны полностью проплавляться сваркой основных швов проектного сечения.

При сборке основных несущих конструкций мостов и их транспортировке допускается приварка технологических и транспортировочных приспособлений с последующим их удалением газовой резкой. После удаления сборочных и транспортировочных приспособлений производится тщательная зачистка мест сварки на глубину 0,5 мм абразивным инструментом. Риски от абразива должны быть направлены вдоль усилия, действующего в элементе.

Размеры прихваток должны быть:

для стыковых соединений - глубиной 3 - 4 мм, шириной 6 - 8 мм, длиной 50 - 80 мм;

для угловых, тавровых и нахлесточных соединений - катет не более 50 % катета углового шва, но не больше 5 мм, длина 50 - 80 мм.

Максимальные расстояния между прихватками должны быть 300 - 500 мм. Крайние прихватки следует располагать сразу за выводными планками, причем длина прихватки в начале шва должна быть не менее 50 мм, а в конце - не менее 100 мм.

При необходимости более прочного закрепления собираемых деталей допускается увеличение длины и количества прихваток.

При сборке тавровых соединений (например, ребер жесткости сплошно-стенчатых балок) под сварку двухшовным автоматом прихватки следует располагать с обеих сторон ребра: крайние - напротив друг друга, промежуточные - в шахматном порядке. Крайние прихватки должны отстоять от торца ребра на 40 - 50 мм.

При сварке ребер одношовным автоматом или полуавтоматом прихватки ставят со стороны, противоположной первому шву.

При пересечении ребром стыкового шва полотнища (стенки балки или настильного листа плиты) прихватки длиной по 100 мм должны располагаться непосредственно на пересечении стыкового шва с обеих сторон ребра.

К металлу прихваточных швов предъявляются такие же требования, как и к металлу основных швов. Прихватки выполняются вручную: в стыковых соединениях - электродами типа Э50А, в угловых, тавровых и нахлесточных соединениях - Э42А. Диаметр электродов 4 мм, ток постоянный обратной полярности. Допускается постановка прихваток полуавтоматической сваркой в защитных газах проволокой Св-08Г2С диаметром 1,2 ... 2 мм.

Прихватки после постановки должны быть очищены от шлака, брызг и проконтролированы внешним осмотром. Не допускаются трещины, наплывы, подрезы, поры, несплавления по кромкам. Дефектные прихватки удаляют либо воздушно-дуговой строжкой с последующей абразивной зачисткой металла на глубину не менее 1 мм, либо абразивным инструментом.

6.10. При сборке под автоматическую и полуавтоматическую сварку по концам соединений к деталям необходимо прикреплять выводные планки.

В стыковых соединениях без разделки кромок, с нормальным зазором b = 0 ... 3 мм, свариваемых двухсторонними автоматными швами, допускается применение сплошных выводных планок из листа той же толщины, что и у стыкуемых деталей (рис. 14, а). При сварке стыковых соединений с металлохимической присадкой выводные планки должны повторять конструкцию собранного стыкового соединения.

В стыковых соединениях с разделкой кромок, а также в угловых, тавровых и нахлесточных соединениях следует применять разъемные (сборные) выводные планки (рис. 14, б, в, г). Тип разделки кромок на свариваемых листах и выводных планках должен быть одинаковым.

Длину выводных планок всех вышеперечисленных типов принимают равной 80 - 150 мм, ширину сплошных - 100 мм, разъемных - не менее 50 мм.

Приварку выводных планок к свариваемым деталям производят по одной (верхней) плоскости. Сварка ручная, электродами типа Э42А, Э50А или полуавтоматическая в среде защитных газов. Допуски на точность установки планок такие же, как для свариваемых деталей.

Выводные планки должны изготавливаться из стали марок, примененных в основных конструкциях. После сварки и контроля качества соединения планки срезают газом с последующей зачисткой кромок абразивным инструментом. Не допускается отбивать планки ударами кувалды или отламывать посредством механических усилий.

6.11. При разметке монтажных отверстий, установке ребер жесткости, фасонок продольных связей и других деталей в случае, когда после этих операций производится сварка, необходимо учитывать укорочение отправочной марки от усадки в продольных и поперечных сварных швах.

Припуски по длине деталей на усадку от сварки определяют расчетом либо принимают по таблицам, составленным на основании расчетов и опытно-статистических данных1.

1 В.Ю. Шишкин, П.А. Храмов. Приближенный метод расчета укорочения элементов металлоконструкций при сварке. Ленинград, 1968.

6.12. Сборку и приварку перекрещивающихся между собой ребер жесткости рекомендуется производить в такой последовательности:

- установка и приварка к листу ребер жесткости, не прерывающихся в местах пересечения (как правило, продольных);

- установка на электроприхватках перекрестных ребер жесткости;

- приварка ребер жесткости друг к другу в местах пересечения;

- приварка к листу перекрестных ребер жесткости.

Описание: Без имени-1копирование

Рис. 14. Выводные планки:

а - сплошные; б, в, г - разъемные (сборные) для стыковых, тавровых и угловых соединений

6.13. При перекантовке и транспортировании собранных, но не сваренных отправочных марок не допускается изменение их формы и остаточное деформирование. Перенос и перекантовка марок тяжелых и крупногабаритных конструкций, собранных только на прихватках, без применения приспособлений, обеспечивающих неизменяемость их формы, не допускается.

6.14. Пооперационный контроль качества сборочных операций и окончательная приемка собранной конструкции производится отделом технического контроля завода. Отправочные марки, собранные под сварку и не сваренные после этого в течение 24 часов, должны быть повторно предъявлены ОТК и, в необходимых случаях, подвергнуты дополнительной очистке от ржавчины и загрязнений. Запрещается производить зачистку собранных под сварку стыковых соединений непосредственно над флюсовой подушкой, а также при положении элемента, когда все загрязнения могут попадать в зазоры.

7. ТРЕБОВАНИЯ К СВАРОЧНЫМ МАТЕРИАЛАМ И ОБОРУДОВАНИЮ

7.1. Для сварных заводских соединений мостовых конструкций надлежит применять сварочные материалы, перечень которых приведен в табл. 8, а, б. Сварочные материалы следует выбирать с учетом класса прочности и марки применяемой стали, способа сварки, типа сварного соединения и исполнения конструкции (обычного или северного). Применение других сварочных материалов, в том числе зарубежных, допускается только после проверки их качества по сертификатам и проведения комплексных испытаний контрольных сварных соединений в специализированной лаборатории, занимающейся вопросами технологии сварки мостовых конструкций. Применение зарубежных материалов после их испытаний должно быть согласовано с Заказчиком и проектной организацией. Кроме того, зарубежные сварочные материалы должны иметь Техническое свидетельство Госстроя Российской Федерации1.

1 См. Постановление Правительства Российской Федерации от 27.12.1997 г. № 1836.

7.2. Качество сплошной холоднотянутой сварочной проволоки должно соответствовать требованиям ГОСТ 2246-70* и Техническим условиям (ТУ) предприятий-изготовителей на отдельные марки сварочной проволоки, которые должны быть согласованы со специализированной организацией, занимающейся разработкой технологии сварки мостовых конструкций. Поверхность проволоки перед намоткой в кассеты необходимо очищать от ржавчины, жиров, технологической смазки и других загрязнений посредством пропуска через специальные устройства. При наличии смазки проволоку перед очисткой рекомендуется прокалить в печи при температуре 150 - 200 °С в течение 1,5 - 2 ч.


Таблица 8а СВАРОЧНЫЕ МАТЕРИАЛЫ ДЛЯ АВТОМАТИЧЕСКОЙ СВАРКИ

Марка стали

Стыковые соединения

Тавровые, угловые и нахлесточные соединения

класс прочности

под флюсом на флюсовой подушке

с металлохимической присадкой

вертикальная с принудительным формированием шва

без МХП

с применением МХП

 

проволока

флюс

проволока

флюс

гранулят (крупка)

химическая добавка

проволока (самозащитн. порошковая)

проволока

флюс

проволока

флюс

гранулят

Химическая добавка

15ХСНД 15ХСНДА 09Г2СД (09Г2С)

СВ-10Г2*

АН-47*

СВ-10Г2*

АН-47*

Св-08Г2С

NaF или TiO2

ПП АН-19Н

ПП АН-19С

ПП АН-32

Æ 2,4 ¸ 3 мм

Св-08ГА

ОСЦ-45

АН-348-А

АНЦ-1

Св-08ГА

АН-60

АН-348-А***

АНЦ-1М***

Св-08ГА (2´2)

NaF

Св-10НМА

АН-22

Св-10НМА*

смесь* АН-47 (50 %) + АН-348-А (50 %)

Св-10НМА (2´2)

345

Св-10НМА

АН-47

Св-08А**

АН-348-АМ

ОСЦ-45

АНЦ-1

Св-10Г2

АНК-561

Св-10НМА

АН-22

СВ-10Г2*

АН-43*

Св-10НМА

АН-47

Св-10ГН

АНК-561

Св-10ГН

АНК-561

 

 

 

 

 

 

 

10ХСНД 10ХСНДА

Св-10НМА

АН-22

Св-10НМА

АН-47

 

NaF или (NaF + TiO2

ПП АН-19Н

ПП АН-19С

ПП АН-32

Æ 2,4 ¸ 3 мм

Св-08ГА

АН-348-А

ОСЦ-45

АНЦ-1

Св-08ГА

АН-60

АН-348-А***

АНЦ-1М***

Св-08ГА (2´2)

NaF

390

Св-10НМА

АН-47

 

 

Св-10НМА (2´2)

Св-10НМА

АНК-561

Св-10НМА

АН-22

Св-08А**

АН-348-АМ

ОСЦ-45

АНЦ-1М

Св-10НМА*

АН-43*

Св-10НМА

48АНК-54

Св-10НМА

48АНК-54

 

 

Св-10ГН

АНК-561

Св-10ГН

АНК-561

 

 

 

 

 

 

 

 

 

* Эти материалы следует применять только для конструкций обычного исполнения.

** При катетах до 7 мм включительно.

*** При катетах 12 мм и более.

Таблица 8б. СВАРОЧНЫЕ МАТЕРИАЛЫ ДЛЯ ПОЛУАВТОМАТИЧЕСКОЙ И РУЧНОЙ ДУГОВОЙ СВАРКИ

Марка стали

Полуавтоматическая сварка под флюсом

Полуавтоматическая сварка в защитных газах***

Тип и марка электрода для ручной дуговой сварки

класс прочности

Стыковые соединения

Тавровые, угловые и нахлесточные соединения

Стыковые соединения

Тавровые, угловые и нахлесточные соединения

Сварочная проволока

Флюс

Сварочная проволока

Флюс

Сплошная проволока

Порошковая проволока

Сплошная проволока

Порошковая проволока

Стыковые соединения

Тавровые, угловые и нахлесточные соединения

15ХСНД 15ХСНДА 09Г2СД (09Г2С)

Св-10Г2*

АН-47*

 

АНЦ-1М

Св-08Г2Н2Т

Св-08Г2С

Св-08Г2С-0

ПП-АН8

ПП-АН9

ПП-АН32

Св-08Г2С

Св-08Г2С-0

ПП-АН8

ПП-АН9

ПП-АН32

Э50А

Э46А Э50А

Св-10НМА

АН-22

Св-08ГА

АН-348-АМ

Св-10НМА

АН-47

Св-08А**

 

Св-10Г2

АНК-561

АНЦ-1М

УОНИ 13/55

УОНИ 13/45

Св-10Г2*

АН-43*

АН-348-АМ

УОНИ 13/55

345

Св-10ГН

АНК-561

 

 

 

 

 

 

 

 

10ХСНД 10ХСНДА

Св-10НМА

АН-22

Св-08ГА

АН-348-АМ

Св-08Г2Н2Т

Св-08Г2С

Св-08Г2С-0

ПП-АН9

ПП-АН32

Св-08Г2С

Св-08Г2С-0

ПП-АН9

ПП-АН32

Э50А

Э46А Э50А

Св-10НМА

АН-47

Св-10НМА

АНК-561

390

Св-10НМА*

АН-43*

Св-08А**

АНЦ-1М

УОНИ 13/55

УОНИ 13/45

Св-10НМА

48АНК-54

АН-348АМ

УОНИ 13/55

Св-10ГН

АНК-561

 

 

 

 

 

 

 

 

* - Эти материалы следует применять только для конструкций обычного исполнения.

** - При катетах до 7 мм включительно.

*** Защитные газы: 1) 80 % Аr + 20 % СО2; 2) (95 - 97) % Аr + (3 - 5) % О2; 3) 85 % Аr + (10 - 12) % СО2 + (3-5) % О2; 4) СО2.


Для автоматической сварки стыковых соединений и угловых швов в положении «в лодочку» рекомендуется применять сварочную проволоку диаметром 4 и 5 мм. Для автоматической сварки угловых швов в положении «в угол» и полуавтоматической сварки любых соединений рекомендуется проволока диаметром 1,6 - 2 мм (возможно применение проволоки и меньшего диаметра для угловых швов с катетом 4 - 5 мм).

Очищенную и намотанную в кассеты сварочную проволоку необходимо хранить в сухом помещении при положительной температуре. Корпуса кассет рекомендуется окрашивать в различные цвета в зависимости от марки проволоки, а на видимой стороне корпуса кассеты делают соответствующие надписи несмываемой краской. Проволока, намотанная в кассеты, не должна иметь резких перегибов.

7.3.* Флюсы должны поставляться по ГОСТ 9087-81 или техническим условиям заводов-изготовителей (при условии, что качество поставляемых по ТУ флюсов отвечает требованиям ГОСТ 9087), храниться в упаковке поставщика в сухом отапливаемом помещении или в специальной закрытой таре. В сертификате на флюс должен быть указан гарантийный срок хранения. Если флюс хранится свыше указанного срока, необходимо проверить его технологические свойства при сварке на оптимальном режиме с испытанием сварных соединений согласно указаниям раздела 9. Не допускаются засорения флюса окалиной, шлаком и прочими инородными включениями.

Перед употреблением флюсы прокаливают по режимам, указанным в сертификатах или ТУ заводов-изготовителей. После прокалки флюсы хранят в сушильных шкафах при температуре 80 - 100 °С. На рабочее место флюс следует подавать в количестве, необходимом для работы в течение одной смены.

Флюс для флюсовой подушки применяют той же марки, что и для сварки соединения. Флюсовую подушку периодически очищают от спекшегося флюса.

Полная замена ее рекомендуется не реже чем через 6 - 7 дней непрерывной работы, т.е. один раз в неделю.

7.4. Самозащитная порошковая проволока для вертикальной сварки с принудительным формированием шва должна соответствовать: ГОСТ 26271-84 для марок ППАН-19С и ППАН-32; ТУ 05.416923.018-96 для марки ППАН-19Н.

7.5. Электроды для ручной дуговой сварки и электроприхваток должны соответствовать по типу и маркам ГОСТ 9466-75 и 9467-75. Прокалку их следует выполнять на режимах, указанных в сертификатах. Сразу же после извлечения из прокаленной печи электроды помещают в резервную печь, имеющую температуру 80 - 100 °С, откуда их используют для сварки. Электроды, не используемые в течение смены после извлечения из резервной печи, прокаливают вновь, но не более трех раз.

7.6. Для воздушно-дуговой резки при исправлении дефектов сварных соединений следует применять угольные электроды диаметром 6 - 10 мм марки ВДК ГОСТ 10720-75 или специальные электроды марок АНР-5, ОЗР-1, ОЗР-2 диаметром 4 - 5 мм.

7.7. При выборе источников питания сварочной дуги и оборудования для производства сварочных работ необходимо руководствоваться в первую очередь обеспечением стабильных режимов сварки с заданными параметрами, гарантирующими высокое качество сварных соединений. Отклонения от установленного режима сварки не должны кратковременно превышать:

- по силе тока ± 5 %;

- по напряжению на дуге ± 2 В;

- по скорости сварки ± 10 %.

Для всех способов сварки мостовых конструкций должны применяться источники питания дуги постоянного тока (выпрямители или преобразователи). Сварочные автоматы и полуавтоматы следует подбирать в зависимости от способов сварки, типов сварных соединений и конкретных условий производства сварочных работ.

Сечение сварочного кабеля при его длине не более 30 м следует назначать в зависимости от силы сварочного тока:

сварочный ток, А

240

300

400

600

800

1000

площадь сечения кабеля, мм2, не менее

35

50

70

95

150

170

Плотность тока в сварочных кабелях не должна превышать 7 - 8 А/мм2.

Обратный провод должен быть того же сечения, что и прямой. В стационарных условиях допускается обратный провод выполнять в виде шин.

7.8. Сварочное оборудование должно иметь приборы (амперметры и вольтметры) для контроля режимов сварки. Указанные приборы устанавливают на сварочных однодуговых автоматах. Двухдуговые автоматы должны быть укомплектованы вольтметрами. Амперметры устанавливают на источниках питания. При полуавтоматической сварке приборы устанавливают на источниках питания дуги. Приборы должны быть проверены и приняты лабораторией Госнадзора. Контроль правильности показаний проверенных и принятых ЛГН приборов следует производить по внутризаводскому графику в соответствии с Правилами по метрологии Госстандарта России Пр50.2.006-94 и СТП, где эксплуатируется данное оборудование.

8. ТЕХНОЛОГИЯ ЗАВОДСКОЙ СВАРКИ МОСТОВЫХ КОНСТРУКЦИЙ

Способы сварки

8.1. При изготовлении сварных мостовых конструкций из сталей, марки которых приведены в разделе 1 настоящих норм, надлежит применять преимущественно электродуговую автоматическую сварку под флюсом. Допускается применение полуавтоматической сварки под флюсом и в защитных газах, а также ручной дуговой сварки. Области применения перечисленных способов сварки для мостовых конструкций приведены в табл. 9. Способ сварки должен быть указан в чертежах КМ, КМД и технологической документации.

Технология и режимы автоматической, полуавтоматической и ручной сварки

8.2. Сварку конструкций следует производить в соответствии с утвержденным технологическим процессом, устанавливающим последовательность сборо-сварочных операций, применяемую оснастку и инструмент, оборудование, сварочные материалы, режим сварки и порядок наложения швов, а также операции по контролю качества.

Основными устанавливаемыми и контролируемыми параметрами режима сварки являются:

- сила сварочного тока Iсв, А;

- напряжение дуги Ud, В;

- скорость сварки Vсв, м/ч.

Дополнительные параметры:

- скорость подачи электродной проволоки Vэл, м/ч;

- диаметр электродной проволоки dэл, мм;

- вылет электродной проволоки i, мм.

8.3.* Режимы сварки должны назначаться по утвержденным в установленном порядке заводским нормалям с учетом требований настоящего СТП в зависимости от класса прочности и марки стали, толщины металла, параметров разделки кромок и способов сварки, указанных в чертежах КМ. При этом необходимо соблюдать следующие условия (рис. 15):

а) коэффициент формы провара должен составлять е/h ³ 1,2 для стыковых и угловых швов, при этом проплавление должно быть симметричным для обеих кромок. При многослойной сварке с разделкой кромок, если выдерживается условие Z £ Р, допускается е/h = 1;

б) глубина проплавления притупления кромок z при проходе первого шва с Х-образными скосами не должна превышать величины притупления Р, т.е. Z £ Р, при этом должно соблюдаться условие Z = (Р/2) + 1 мм для обеспечения проплавления при двухсторонней сварке;

в) в угловых швах должна быть обеспечена расчетная высота сечения по металлу шва tf = bfКf и по металлу границы сплавления tz = bzКf, где Кf - наименьший из катетов углового шва, принимаемый по катету вписанного треугольника; bf и bz - коэффициенты расчетных сечений угловых швов, принимаемые по табл. 9б;

г) оптимальными следует считать угловые швы с прямолинейной поверхностью в поперечном сечении без наплывов и подрезов. Такие швы получаются при сварке «в лодочку» или «в угол» при правильно подобранном режиме сварки и при большом опыте исполнителя. Допускается выпуклость не более 15 % длины катета и не более 2 мм; вогнутость не более 30 % катета, при этом вогнутость не должна приводить к уменьшению значения катета Кf, установленного при проектировании. Отклонения катетов угловых швов не должны превышать указанных в п. 9.20 и табл. 24*; допуски по наплывам и подрезам приведены в табл. 25*;

Таблица 9а*. Способы сварки мостовых конструкций

Способ сварки

Область применения в мостовых конструкциях

Автоматическая под флюсом (АФ) по ГОСТ 8713-79 и ГОСТ 11533-75

Стыковые соединения, свариваемые в нижнем положении:

двусторонней однопроходной сваркой на флюсовой подушке металла толщиной 10 - 16 мм без скоса кромок;

двусторонней многопроходной сваркой на флюсовой подушке металла толщиной 20 - 50 мм с двумя симметричными X-образными скосами кромок

Угловые, тавровые и нахлесточные соединения металла толщиной 10 - 50 мм, свариваемые в нижнем положении:

односторонней сваркой «в угол» или «в лодочку»;

двусторонней двухдуговой сваркой «в угол» (кроме нахлесточных);

односторонней сваркой угловых швов, расположенных вдоль усилия с металлохимической присадкой «в лодочку»

Полуавтоматическая под флюсом (МФ) по ГОСТ 8713-79 и ГОСТ 11533-75

Стыковые соединения с двусторонней сваркой в нижнем положении для деталей из листа толщиной 10 - 20 мм привариваемых к основной конструкции (например, фасонок связей к поясам балок) с односторонним или двусторонним скосом кромок

Угловые, тавровые и нахлесточные соединения металла толщиной 10 - 50 мм, свариваемые в нижнем положении:

односторонней сваркой «в угол» или «в лодочку»;

двусторонней сваркой «в угол» (кроме нахлесточных)

Полуавтоматическая в смеси защитных газов:

1) 80 % Аr + 20 % СО2;

2) (95 - 97) % Аr + (3 - 5) % О2;

3) 85 % Аr + (10 - 12) % СО2 + (3 - 5) % О2;

4) СО2 - ограниченно по согласованию со специализированной организацией, разрабатывающей технологию сварки мостовых конструкций;

5) самозащитной проволокой по ГОСТ 14771-76 и ГОСТ 23518-79

Стыковые соединения, свариваемые в нижнем положении с двух сторон:

без скоса кромок для листа толщиной 6 - 8 мм;

с V-образным скосом двух кромок для металла толщиной 10 - 16 мм;

с двумя симметричными (К-образными) скосами одной кромки для металла толщиной 10 - 16 мм;

двумя симметричными (Х-образными) скосами двух кромок для металла толщиной 10 - 16 мм

Угловые, тавровые и нахлесточные соединения металла толщиной 10 - 50 мм, свариваемые в нижнем, горизонтальном и вертикальном положениях «в угол» и «в лодочку»

Ручная электродуговая (Р) по ГОСТ 5254-80 и ГОСТ 11534-75

Короткие швы (длиной менее 1000 мм) стыковых, угловых, тавровых и нахлесточных соединений металла толщиной 10 - 50 мм без разделки и с разделкой кромок во всех пространственных положениях. Исправление дефектов после автоматической или полуавтоматической сварки

Описание: Без имени-1копирование

Рис. 15. Геометрические параметры подготовки кромок и поперечного сечения шва:

h - глубина проплавления, Р - притупление, z - глубина проплавления притупления, е - ширина шва, g - высота усиления, Кf - катеты угловых швов, в - зазор, D - глубина взаимного проплавления (перехлест)

Таблица 9*б. Коэффициенты расчетных сечений угловых швов bf и bz

Способ сварки

Положение шва

Обозначения

Катеты швов Кf, мм

4 ... 8

9 ...12

14 ... 16

Автоматическая под флюсом при диаметре сварочной проволоки dэл = 3 ... 5 мм

В лодочку

bf

1,1

1,1

1,1

bz

1,15

1,15

1,15

Нижнее

bf

1,1

0,9

0,9

bz

1,15

1,05

1,05

Автоматическая под флюсом, полуавтоматическая под флюсом и в среде защитных газов проволокой dэл = 1,4 ... 2 мм

В лодочку

bf

0,9

0,9

0,8

bz

1,05

1,05

1,0

Нижнее, горизонтальное, вертикальное

bf

0,9

0,8

0,7

bz

1,05

1,0

1,0

Ручная электродами диаметром 3 ... 5 мм; полуавтоматическая dэл = 1,2 мм и порошковой проволокой

В лодочку, нижнее, горизонтальное, вертикальное, потолочное

bf

0,7

0,7

0,7

bz

1,0

1,0

1,0

д) оптимальными следует считать стыковые швы, геометрические параметры которых соответствуют указаниям п. 11.7 настоящего СТП, причем у швов, имеющих выпуклую форму, угол между касательной из точки сплавления к выпуклости и плоскостью свариваемого металла должен быть не менее 120 °С;

е) сварка мостовых конструкций должна выполняться в отапливаемых цехах при положительной температуре стали и окружающего воздуха. При необеспечении данного требования допускается сварка при отрицательной температуре не ниже -10 °С при обеспечении предварительного подогрева кромок и прилегающих к ним участков основного металла шириной по 40 мм до температуры 100 - 120 °С. Подогрев производят перед первым проходом на первой стороне стыкуемых деталей и после каждого перерыва процесса сварки, сопровождающегося снижением температуры кромок ниже 100 °С.

8.4. Режимы сварки и применяемые сварочные материалы должны обеспечивать получение сварных соединений со следующими механическими свойствами:

а) минимальные значения предела текучести и временного сопротивления не должны быть ниже их значений для основного металла по соответствующим ГОСТ или ТУ;

б) максимальные значения твердости металла шва и околошовной зоны должны быть не выше 350 единиц по Виккерсу (НV);

в) минимальное значение относительного удлинения металла шва стыковых соединений на пятикратных образцах d5 должно быть не менее 18 % для сталей с пределом текучести до 345 МПа и не менее 16 % для сталей с пределом текучести 390 МПа;

г) угол статического изгиба сварного соединения с поперечным стыком должен быть не менее 120°;

д) минимальные значения ударной вязкости на образцах КСU при расчетной отрицательной температуре, указанной в чертежах КМ данной конструкции, для стыковых соединений должны быть не менее 29 Дж/см2.

Температура испытания образцов стыковых сварных соединений на ударную вязкость (КСU) должна соответствовать:

- для конструкций автодорожных и пешеходных мостов -40 °С в обычном исполнении, -50 °С в северном «А» и -60 °С в северном «Б» исполнении (СНиП 2.05.03-84, табл. 46 и 47*);

- для конструкций железнодорожных и совмещенных мостов в обычном и северном «А» исполнении -60 °С, а в северном «Б» -70 °С.

Режимы сварки должны рассчитываться и назначаться после их практической проверки, как правило, специализированными организациями с учетом:

- класса прочности, марки стали, толщины проката и параметров разделки кромок;

- скорости охлаждения металла шва и зоны термического влияния (ЗТВ) для сталей с пределом текучести до 350 МПа в пределах 8 ... 15 °С/сек, с пределом текучести до 400 МПа в пределах 15 ... 25 °С/сек.

При многопроходной сварке вышеперечисленных сталей скорость охлаждения может быть увеличена на 25 %, но не более чем до 40 °С/сек.

При однопроходной двусторонней сварке стыковых соединений без скоса кромок листа толщиной 8 - 16 мм скорость охлаждения может быть уменьшена до 4,5 °С/сек при условии, что шов со второй стороны проваривается после полного охлаждения металла от нагрева при сварке первой стороны (до 100 - 120 °С).

8.5. При использовании по согласованию с организацией-разработчиком чертежей КМ марок сталей, соответствующих мостовым ГОСТ 6713-91 по механическим свойствам и химическому составу, но не входящих в табл. 47* СНиП 2.05.03-84* и в настоящий СТП, сварку соединений допускается производить на режимах, разработанных для мостовых сталей после проверки их на контрольных образцах (технологических пробах).

8.6. Если в сварном соединении используются стали различных классов прочности и марок, то следует применять способ сварки, сварочные материалы и режимы сварки, предусмотренные для стали более низкого класса прочности. Сварку сталей 15ХСНД и 10ХСНД ГОСТ 6713-91 со сталями 15ХСНДА и 10ХСНДА ТУ 14-1-5120-92 надлежит выполнять по режимам, рекомендуемым для сталей 15ХСНДА и 10ХСНДА.

8.7. Сварка конструкций должна производиться после приемки ОТК операций сборки отправочных марок. Перед сваркой соединение, особенно в местах наложения швов, должно быть очищено от шлака на электроприхватках и других загрязнений. При наличии в соединении пересекаемого заваренного стыкового шва усиление его в месте пересечения должно быть удалено заподлицо с основным металлом на длину не менее 40 мм в каждую сторону.

При сварке многопроходных швов каждый последующий слой должен накладываться после тщательной очистки шлака предыдущего слоя и остывания его до температуры 150 - 250 °С.

При обрыве дуги в процессе наложения шва кратер и прилегающий к нему участок шва длиной 30 - 50 мм должны быть очищены от шлака и переварены при новом зажигании дуги. Не допускается зажигание дуги и вывод кратера на основной металл за пределами шва.

Начинать и заканчивать сварку следует, как правило, на выводных планках, которые удаляются только после контроля качества сварного шва.

8.8. По окончании сварки необходимо очистить металл шва и прилегающие к нему участки от шлака и брызг, осмотреть шов и проставить номер (клеймо) сварщика в начале и конце шва на расстоянии 100 мм от шва и кромки металла. При длине шва меньше 1 м клеймо ставится один раз.

8.9. Автоматическую и полуавтоматическую сварку под флюсом всех типов соединений надлежит выполнять постоянным током обратной полярности (плюс на электроде), за исключением раздельной сварки двухслойной коррозионно-стойкой стали, где сварку плакирующего слоя рекомендуется выполнять постоянным током прямой полярности (см. табл. 18).

Ориентировочные режимы сварки под флюсом конструкций из мостовых сталей марок 15ХСНД и 10ХСНД ГОСТ 6713-91, 15ХСНДА и 10ХСНДА ТУ 14-1-5120-92 любых категорий приведены в таблицах 10 - 15. Режимы подлежат уточнению при сварке технологических проб и контрольных образцов.

8.10. При двусторонней стыковой сварке полотнищ на флюсовой подушке перекантовка элемента после наложения шва с одной стороны допускается только после остывания этого шва до температуры, не превышающей 100 - 120 °С с принятием мер против динамических нагрузок.

Таблица 10. Режимы автоматической сварки под флюсом стыковых соединений на флюсовой подушке сталей 15ХСНД и 10ХСНД по ГОСТ 6713-91*

Форма поперечного сечения

Толщина металла S, мм

Число проходов

Параметры режима

подготовленных кромок

сварного шва

Сила сварочного тока Iсв, А

Напряжение дуги Uд, В

Скорость сварки Vсв, м/ч

Скорость подачи проволоки Vэл, м/ч

Описание: Без имени-1копирование

S, мм:      10 ... 12   14 ... 16

b, мм:        0 ... 2        0 ... 3

Описание: Без имени-1копирование

10

2

650 ... 700

32 ... 34

29 ... 32

49 ... 55

12

2

700 ... 750

32 ... 34

29 ... 32

55 ... 61

14

1

750 ... 800

32 ... 34

26 ... 29

66,5 ... 61

1

750 ... 800

34 ... 36

26 ... 29

61 ... 66,5

16

1

800 ... 850

34 ... 36

22 ... 26

68 ... 66,5

1

750 ... 800

36 ... 38

22 ... 26

61 ... 66,5

Описание: Без имени-1копирование

Описание: Без имени-1копирование

20

1-я стор. 1-й слой

700 ... 750

32 ... 34

18 ... 20,5

55 ... 61

последующие

750 ... 800

32 ... 34

22 ... 26

61 ... 66,5

25

1-я ст., 1-й сл.

700 ... 750

32 ... 34

18 ... 20,5

55 ... 61

послед.

750 ... 800

32 ... 34

22 ... 26

61 ... 66,5

32

1-я ст., 1 сл.

700 ... 750

34 ... 36

18 ... 20,5

55 ... 61

Послед.

750 ... 800

34 ... 36

22 ... 26

61 ... 66,5

40

1-я ст., 1-й сл.

700 ... 750

36 ... 38

18 ... 20,5

55 ... 61

послед.

750 ... 800

36 ... 38

22 ... 26

61 ... 66,5

Примечания: 1. Диаметр сварочной проволоки dэл = 5 мм. 2. Вылет электрода l = 35 ... 45 мм. 3. Сварочные материалы см. в табл. 8. 4. Прихватки выполнять вручную электродами типа Э50А или полуавтоматом в защитных газах проволокой Св-08Г2С. 5. Первый проход с каждой стороны при сварке сталей 10ХСНД толщиной 32 и 40 мм выполнять под флюсом АН-348А или АНЦ-1. Последующие проходы - флюсами, указанными в табл. 8.

Таблица 11. Режимы автоматической сварки под флюсом стыковых соединений на флюсовой подушке сталей 15ХСНДА и 10ХСНДА по ТУ 14-1-5120-92

Форма поперечного сечения

Толщина металла S, мм

Число проходов

Параметры режима

 

подготовленных кромок

сварного шва

Сила сварочного тока Iсв, А

Напряжение дуги Uд, В

Скорость сварки Vсв, м/ч

Скорость подачи проволоки Vэл, м/ч

 

Описание: Без имени-1копирование

Описание: Без имени-1копирование

10

2

600 ... 650

32 ... 34

29 ... 32

49

 

12

2

650 ... 700

32 ... 34

29 ... 32

49 ... 55

 

14

1

650 ... 700

32 ... 34

26 ... 29

49 ... 55

1 (2-я сторона)

700 ... 750

34 ... 36

26 ... 29

55 ... 61

16

1

700 ... 750

34 ... 36

22 ... 26

55 ... 61

1 (2-я сторона)

700 ... 750

36 ... 38

22 ... 26

55 ... 61

Описание: Без имени-1копирование

Описание: Без имени-1копирование

20 ... 40

1-я стор.

600 ... 650

30 ... 36

18 ... 21

49

1-й слой

последующие проходы

650 ... 700

32 ... 38

21 ... 22

49 ... 55

Примечания: 1. Действительны примечания 1 ... 5 к табл. 10. В прим. 5 иметь в виду сталь 10ХСНДА. 2. При сварке конструкций железнодорожных мостов сила сварочного тока с учетом допустимого отклонения ± 5 % не должна кратковременно превышать 700 А. 3. В стыковых соединениях толщиной 10 ... 16 мм второй (последний) проход автомата выполняется при температуре шва первого прохода не ниже 80 °С и не выше 200 °С. 4. В стыках толщиной 20 ... 40 мм, при выполнении промежуточных и облицовочных слоев шва, каждый проход накладывается только после того, как температура металла-шва предыдущего слоя не превышает 250 °С.

Таблица 12. Режимы автоматической и полуавтоматической сварки под флюсом угловых швов сталей по ГОСТ 6713-91

Форма поперечного сечения

Толщина металла или катета шва К, мм

Способ сварки

Параметры режима

 

подготовленных кромок

сварного шва

Сила сварочного тока Iсв, А

Напряжение дуги Uд, В

Скорость сварки Vсв, м/ч

Скорость подачи проволоки Vэл, м/ч

 

Описание: Без имени-1копирование

Описание: Без имени-1копирование

К = 6

Автоматическая

650 ... 700

26 ... 28

40 ... 47

49 ... 55

 

8

650 ... 700

28 ... 30

29 ... 34

49 ... 55

 

10

700 ... 750

30 ... 32

23 ... 27

55 ... 61

 

12

700 ... 750

32 ... 34

18 ... 22

55 ... 81

 

К = 6

Полуавтоматическая

360 ... 390

30 ... 32

27

200

 

8

420 ... 440

32 ... 34

23,5

260

 

10

420 ... 440

32 ... 34

13,5

260

 

12

420 ... 440

32 ... 34

9

260

 

Описание: Без имени-1копирование

Описание: Без имени-1копирование

ТЗспл-ЛФ-DK

S1 + S2 = 12 + 12

Автоматическая с полным проваром

800 ... 850

С одной стороны

72

34 ... 36

22

850 ... 900

С другой стороны

78

34 ... 36

22

S1 + S2 = 16 + 16

850 ... 900

С одной стороны

78

34 ... 36

18

900 ... 950

С другой стороны

85

34 ... 36

18

S1 + S2 = 16 + 40

850 ... 900

С одной стороны

78

34 ... 36

15

900 ... 950

С другой стороны

85

34 ... 36

15

Описание: Без имени-1копирование

Описание: Без имени-1копирование

К = 6

Автоматическая и полуавтоматическая

250 ... 300

26 ... 28

26 ... 27

135 ... 156

 

350 ... 400

28 ... 30

23 ... 26

170 ... 198

7

Примечания: 1. Диаметр сварочной проволоки для автоматической сварки «в лодочку» dэл = 5 мм; диаметр проволоки для полуавтоматической сварки «в лодочку» и для автоматической и полуавтоматической сварки «в угол» dэл = 2 мм. 2. Сварочные материалы см. табл. 8. 3. Электроприхватки выполнить вручную электродами типа Э42А, Э46А, Э50А или полуавтоматом в защитных газах проволокой Св-08Г2С. 4. При автоматической сварке «в лодочку» проволокой dэл = 4 мм силу тока принимать с коэффициентом 0,65.

Таблица 13. Режимы автоматической и полуавтоматической сварки под флюсом угловых швов сталей 15ХСНДА И 10ХСНДА по ТУ 14-1-5120-92

Форма поперечного сечения

Толщина металла или катета шва К, мм

Способ сварки

Параметры режима

 

подготовленных кромок

сварного шва

Сила сварочного тока Iсв, А

Напряжение дуги Uд, В

Скорость сварки Vсв, м/ч

Скорость подачи проволоки Vэл, м/ч

 

Описание: Без имени-1копирование

Описание: Без имени-1копирование

К = 6

Автоматическая, диаметр проволоки 5 мм

650 ... 700

26 ... 28

40 ... 47

49 ... 55

 

8

650 ... 700

28 ... 30

29 ... 34

49 ... 55

 

10

700 ... 750

30 ... 32

23 ... 27

55 ... 61

 

12

700 ... 750

32 ... 34

18 ... 22

55 ... 61

 

К = 6

Полуавтоматическая, диаметр проволоки 2 мм

360 ... 390

30 ... 32

27

200

 

8

420 ... 440

32 ... 34

23,5

260

 

10

420 ... 440

32 ... 34

13,5

260

 

12

420 ... 440

32 ... 34

9

260

 

Описание: Без имени-1копирование

Описание: Без имени-1копирование

S1 + S2 = 12 (16) + 12 (16) (40)

Автоматическая с полным проваром, диаметр проволоки 5 мм

с одной стороны первый слой

650 ... 700

26 ... 28

29 ... 32

55

последующие

700 ... 750

30 ... 32

23 ... 27

61

с другой стороны

700 ... 750

30 ... 32

23 ... 27

61

Описание: Без имени-1копирование

Описание: Без имени-1копирование

К = 6

Автоматическая и полуавтоматическая, диаметр проволоки 2 мм

250 ... 300

26 ... 28

26 ... 27

135 ... 156

 

7

350 ... 400

28 ... 30

23 ... 26

170 ... 198

Примечания: 1. Диаметр сварочной проволоки для автоматической сварки «в лодочку» dэл = 5 мм; диаметр проволоки для полуавтоматической сварки «в лодочку» и для автоматической и полуавтоматической сварки «в угол» dэл = 2 мм. 2. Сварочные материалы см. табл. 8. 3. Электроприхватки выполнить вручную электродами типа Э42А, Э46А, Э50А или полуавтоматом в защитных газах проволокой Св-08Г2С.

Таблица 14. Режимы полуавтоматической сварки под флюсом тавровых и стыковых соединений с обеспечением сплошного проплавления (фасонок связей и других деталей)

Форма поперечного сечения

Толщина металла S, мм

Число проходов

Параметры режима

подготовленных кромок

сварного шва

Сила сварочного тока Iсв, А

Напряжение дуги Uд, В

Скорость сварки Vсв, м/ч

Скорость подачи проволоки Vэл, м/ч

Описание: Без имени-1копирование

Описание: Без имени-1копирование

10 ... 32

1-й шов

250 ... 300

26 ... 28

26 ... 27

135 ... 156

2-й шов

300 ... 500

30 ... 34

23 ... 27

156 ... 250

Описание: Без имени-1копирование

Описание: Без имени-1копирование

10; 12

1-й проход

350 ... 400

30 ... 34

23 ... 27

170 ... 198

16

последующие

250 ... 300

30 ... 34

23 ... 27

135 ... 156

Описание: Без имени-1копирование

Описание: Без имени-1копирование

10 ... 50

-

400 ... 450

32 ... 34

18 ... 22

198 ... 215

Описание: Без имени-1копирование

Описание: Без имени-1копирование

10 ... 32

1-й проход

350 ... 400

30 ... 32

18 ... 22

170 ... 198

последующие

450 ... 500

32 ... 34

18 ... 22

210 ... 250

Примечания: 1. Диаметр сварочной проволоки dэл = 5 мм, марки проволоки - по табл. 8. 2. В тавровом соединении с односторонним скосом кромки первый проход (корень шва I) с обратной стороны допускается проварить полуавтоматической сваркой в защитном газе, при этом сечение прохода не должно превышать 1/3 сечения шва II.

Таблица 15. Режимы сварки под флюсом угловых соединений двухшовными автоматами

Форма поперечного сечения

Толщина листа S2, катет шва К, мм

Глубина проплавления, мм

Параметры режима

подготовленных кромок

сварного шва

Сила сварочного тока Iсв, А

Напряжение дуги Uд, В

Скорость сварки Vсв, м/ч

Скорость подачи проволоки Vэл, м/ч

Описание: Без имени-1копирование

Описание: Без имени-1копирование

S = 16

3,5

300 ... 350

25 ... 27

29 ... 34

156 ... 184

20

4

350 ... 400

26 ... 28

23 ... 27

170 ... 198

25

5

400 ... 450

28 ... 30

23 ... 27

198 ... 215

32

6

450 ... 500

30 ... 32

23 ... 27

215 ... 250

40

8

550 ... 600

32 ... 34

23 ... 27

250 ... 295

Описание: Без имени-1копирование

Описание: Без имени-1копирование

К = 6

-

250 ... 300

25 ... 27

25 ... 27

135 ... 156

7

-

320 ... 380

27 ... 30

25 ... 27

170 ... 198

Примечания: 1. Для сварки наружных швов применять проволоку Св-08ГА диаметром 2 мм, флюсы АН-348-АМ, АНК-561, АНЦ-1М. Для сварки внутренних швов - проволоку Св-08А или Св-08АА диаметром 2 мм, флюсы АН-348-АМ, АНК-561, АНЦ-1М. 2. Электроприхватки выполнять вручную электродами типа Э42А, Э46А, Э50А диметром 4 мм или полуавтоматической сваркой в защитных газах проволокой Св-08Г2С диаметром 1,2 ... 1,6 мм. 3. При сварке наружных швов герметично закрытых коробчатых элементов решетчатых пролетных строений режимы назначаются в соответствии с данной таблицей.

8.11. Направление оси электродной проволоки при сварке стыковых соединений должно быть по оси симметрии зазора. При многопроходной сварке с Х-образными скосами кромок это требование относится лишь к сварке первых двух слоев с каждой стороны соединения. Последующее заполнение разделки кромок следует производить, как правило, со смещением электродной проволоки в одну и другую сторону с последующим перекрытием швом по центру.

8.12. Двустороннюю автоматическую сварку под флюсом с металлохимической присадкой (МХП) на флюсовой подушке надлежит выполнять с соблюдением нижеследующих условий:

а) стыковые соединения из стали по ГОСТ 6713-91* толщиной 20 мм и по ТУ 14-1-5120-92 толщиной до 16 мм собирать под автоматическую сварку без разделки кромок с зазором 4 ± 1 мм; стыки листов толщиной 25 ... 40 мм (ГОСТ 6713-91*) и толщиной 20 - 40 мм (ТУ 14-1-5120-92) должны иметь V-образную подготовку кромок с общим углом раскрытия 55 ± 5°, притуплением кромок 10 ± 1 мм, шириной зазора - 4 ± 1 мм;

б) сварочные материалы для автоматической сварки стыковых и тавровых соединений с МХП следует применять в соответствии с табл. 8, а;

в) перед наложением первого шва в стыках листов толщиной до 20 мм из стали по ГОСТ 6713-91* без разделки кромок зазор заполнять металлохимической присадкой полностью. В стыках листов толщиной 25 ... 40 мм из стали по ГОСТ 6713-91* и в стыках листов толщиной 20 ... 40 мм из стали по ТУ 14-1-5120-92 с V-образной разделкой кромок МХП перед первым проходом автомата засыпается на высоту h = 12 ... 17 мм (меньшие значения относятся к сталям 15ХСНДА, 10ХСНДА, большие - к сталям 15ХСНД и 10ХСНД). Высота засыпки МХП контролируется специальным шаблоном;

г) после выполнения стыковой сварки с первой стороны изделие перекантовать, не расплавившуюся присадку (МХП) удалить металлической щеткой. Шов с обратной стороны проварить за один проход автомата без МХП;

д) режимы автоматической сварки с МХП стыковых соединений листов толщиной 20 ... 40 мм из сталей по ГОСТ 6713-91* и ТУ 14-1-5120-92 приведены в табл. 16.

Автоматическую сварку угловых швов тавровых соединений с МХП выполняют однодуговым автоматом в положении «в лодочку». МХП дозируют с помощью шаблона, причем номер шаблона должен соответствовать катету треугольника, образуемого засыпаемой присадкой:

катет углового шва, мм

8

10

12

14

16

номер шаблона (катет засыпки), мм

8

12

14

16

18

Автоматическую сварку под флюсом с МХП угловых швов тавровых соединений из сталей по ГОСТ 6713-91* рекомендуется применять для швов с катетами от 8 до 16 мм, из сталей по ТУ 14-1-5120-92 - для швов с катетами от 8 до 10 мм.

Режимы автоматической сварки под флюсом с МХП угловых швов соединений «в лодочку» приведены в табл. 16, 17.

8.13. Автоматическую сварку под флюсом угловых швов элементов коробчатого сечения следует производить двухдуговыми автоматами в последовательности, приведенной на рис. 16. При величине зазора в соединениях листов не более 0,5 мм допускается наложение швов в последовательности 1-4-2-3.

Описание: Без имени-1копирование

Рис. 16. Последовательность наложения швов при сварке коробчатых элементов двухдуговым автоматом

Таблица 16. Режимы автоматической сварки под флюсом с МХП стыковых соединений; диаметр проволоки 5 мм

Форма поперечного сечения

Толщина металла S1, мм

Сторона шва

Слои шва

Параметры режима

подготовленных кромок

сварного шва

Сила сварочного тока Iсв, А

Напряжение дуги Uд, В

Скорость сварки Vсв, м/ч

Описание: Без имени-1копирование

Описание: Без имени-1копирование

20

стали марок 15ХСНД и 10ХСНД

I

первый

800 ... 850

34 ... 36

26 ... 29

II

первый

800 ... 850

34 ... 36

29 ... 32

IОписание: Без имени-1копирование

Описание: Без имени-1копирование

25 - 40

стали марок 15ХСНД и 10ХСНД

I

первый

750 ... 800

32 ... 34

23

последующие

750 ... 800

34 ... 36

23

II

первый

750 ... 800

34 ... 36

23

Описание: Без имени-1копирование

IОписание: Без имени-1копирование

20 - 40

стали марок 15ХСНДА и 10ХСНДА

I

первый

700 ... 750

32 ... 34

23

последующие

600 ... 650

34 ... 36

23

II

первый

700 ... 750

34 ... 36

23

Таблица 17. Режимы автоматической сварки под флюсом с МХП угловых швов тавровых соединений, диаметр проволоки 5 мм

Тип соединения

Нормативный документ стали

Катет шва

Количество проходов

Параметры режима

Сила сварочного тока Iсв, А

Напряжение дуги Uд, В

Скорость сварки Vсв, м/ч

Описание: Без имени-1копирование

По ГОСТ 6713-91*

8

1

650 ... 700

36 ... 38

58,0

10

1

700 ... 750

36 ... 38

50,5

12

1

800 ... 850

37 ... 39

41,0

14

1

850 ... 900

37 ... 39

34,0

16

1

900 ... 950

38 ... 40

27,0

По ТУ 14-1-5120-92

8

1

650 ... 700

36 ... 38

58,0

10

1

700 ... 750

36 ... 38

50,5

8.14. Для односторонней автоматической сварки двухслойной коррозионно-стойкой стали с МХП следует применять медную подкладку, сечение которой приведено на рис. 17. Сохранность подкладки от ожогов электрической дугой рекомендуется обеспечивать обмоткой ее двумя слоями стеклоткани, смазкой специальным составом (ТФС) или подсыпкой измельченного флюса слоем толщиной 1 мм. Длину звеньев подкладки принимают 600 - 800 мм со стыковкой их встык с зазором 1 - 2 мм (см. рис. 17). Медная подкладка толщиной не менее 18 мм должна быть уложена в стальную обойму и плотно поджата к стыкуемым элементам посредством винтовых или пневматических прижимов или скоб с клиньями. Ширину канавки принимают 24 мм.

При сварке стыка должны быть созданы условия свободной поперечной усадки шва.

Допускаются два способа односторонней сварки (см. табл. 18):

а) раздельная, при которой за первый проход сваривается основной слой стали 09Г2С, а за второй - плакирующий слой 12Х18Н10Т;

б) однопроходная на всю толщину свариваемого металла.

Описание: Без имени-1копирование

Рис. 17. Конструкция медной подкладки для односторонней сварки двухслойной коррозионно-стойкой стали с МХП

При раздельной сварке 1-й проход варится на постоянном токе обратной полярности, 2-й проход рекомендуется варить на постоянном токе прямой полярности, в том числе способом сварки расщепленным электродом. При однопроходной сварке применяется постоянный ток обратной полярности.

Таблица 18. Режимы односторонней автоматической сварки под флюсом стыковых соединений двухслойной коррозионно-стойкой стали 09Г2С + 12Х18Н10Т толщиной 12 мм с металлохимической присадкой на медной подкладке

Форма поперечного сечения

Способ сварки

Число проходов

Параметры режима

подготовленных кромок

сварного шва

Сила сварочного тока Iсв, А

Напряжение дуги Uд, В

Скорость сварки Vсв, м/ч

Скорость подачи проволоки Vэл, м/ч

Описание: Без имени-1копирование

Описание: Без имени-1копирование

С3-АФМХП применительно к ГОСТ 16098-80

Раздельная

1

720 ... 750

35 ... 36

18 ... 20

85 ... 90

Основной слой

Плакирующий слой*

2 - 3

450 ... 470

38 ... 40

27 ... 29

85 ... 90

То же расщепленным электродом*

1

750 ... 800

38 ... 40

18 ... 20

60 ... 65

Описание: Без имени-1копирование

Описание: Без имени-1копирование

С1-АФМХП

Однопроходная

1

750 ... 800

36 ... 38

18 ... 20

120 ... 128

Примечания: 1. Диаметр сварочной проволоки dэл = 4 мм. 2. Вылет электрода i = 35 ... 40 мм. 3. Наклон электрода вперед до 5°. 4. Сварочные материалы. 4.1 Основной слой 09Г2С: флюсы АН-348А, АН-47; сварочная проволока для автомата Св-08ГА или Св-10Г2, для МХП - Св-08Г2С, Св-08ГА, Св-10Г2. 4.2. Плакирующий слой 12Х18Н10Т: флюс АН-26С, сварочная проволока Св-06Х25Н12ТЮ. 4.3 Однопроходная сварка; флюс АН-26Н; сварочная проволока для автомата и МХП Св-06Х25Н12ТЮ.

* Сварку производить постоянным током прямой полярности.

Металлохимическую присадку при раздельной сварке засыпают в уровень толщины основного слоя, при однопроходной - на всю толщину заподлицо с плакирующим слоем.

Сварка должна осуществляться беспрерывно на всю длину соединения. При случайном обрыве дуги кратер шва необходимо удалить воздушно-дуговой строжкой, зачистить абразивным инструментом и переварить на 20 мм от места обрыва дуги.

При раздельной сварке полотнищ с пересекающимися швами в первом, по исполнению, шве плакирующий слой при втором проходе не доваривают на 100 - 150 мм до пересечения с последующим наложением его после сварки пересекаемого шва.

8.15. Полуавтоматическую сварку мостовых конструкций в защитных газах (1) 80 % Аr + 20 % СО2; 2) (95 - 97) % Аr + (3 - 5) % O2; 3) 85 % Аr + (10 - 12) % СO2 + (3 - 5) % О2; 4) СО2 - (ограниченно) надлежит выполнять постоянным током обратной полярности (плюс на электроде) по режимам, приведенным в таблицах 19 - 21.

Источники питания дуги при сварке в защитных газах должны иметь жесткие, пологопадающие внешние характеристики, поскольку сварка ведется на больших плотностях тока. Рекомендуется использовать сварочные выпрямители типов ВДГ-602; ВДГ-502; ВС-500; ВС-600; ВДУ-505; ВДУ-506 или сварочные преобразователи ПСГ-500-1; ПСУ-500-2.

Сварочную проволоку сплошного сечения марок Св-08Г2Н2Т или Св-08Г2С ГОСТ 2246-70* рекомендуется применять диаметрами 1,2; 1,4; 1,6 и 2 мм в зависимости от типа сварного соединения, размеров шва, положения его в пространстве, толщины свариваемого металла. Сварку в нижнем положении рекомендуется производить проволокой диаметрами 1,6; 2 мм, сварку в вертикальном, горизонтальном и потолочном положении проволокой диаметрами 1,2; 1,4 мм в импульсном режиме.

Рекомендуемые зависимости между силой сварочного тока, скоростью подачи и диаметром сварочной проволоки даны на графиках рис. 17, а - сплошного сечения и рис. 18, б - порошковой проволоки.

Таблица 19. Режимы полуавтоматической сварки в защитных газах сварочной проволокой сплошного сечения стыковых и угловых швов в нижнем положении

Поперечное сечение кромок и сварного шва по ГОСТ 14771-76*

Толщина металла S или катета шва К, мм

Диаметр сварочной проволоки, мм

Число проходов

Параметры режима

Сила сварочного тока Iсв, А

Напряжение дуги Uд, В

Скорость сварки Vсв, м/ч

Описание: Без имени-1копирование

S = 6 ... 8

1,2

 

200 ... 240

21 ... 24

28 ... 30

1,4

 

220 ... 270

26 ... 28

 

1,6

 

250 ... 300

28 ... 32

20 ... 22

2

 

350 ... 400

32 ... 36

28 ... 30

Описание: Без имени-1копирование

S = 10 ... 16

1,6

1-й проход

220 ... 250

26 ... 28

15 ... 17

Последующий

300 ... 350

28 ... 30

15 ... 17

2

1-й проход

250 ... 300

28 ... 32

18 ... 20

Последующий

350 ... 400

32 ... 34

20 ... 22

Описание: Без имени-1копирование

К = 6

1,6

1

160 ... 200

27 ... 29

12 ... 14

2

1

250 ... 300

28 ... 30

18 ... 20

8

1,6

1

200 ... 250

28 ... 30

10 ... 12

2

1

300 ... 350

30 ... 32

15 ... 17

10

2

2

300 ... 350

30 ... 32

10 ... 12

12

2

2

300 ... 350

30 ... 32

15 ... 17

Примечания: 1. Расход защитного газа для стыковых соединений 16 ... 22 л/мин, для угловых швов - 12 ... 18 л/мин. 2. Вылет электрода i должен быть равен 8 ... 15 и 15 ... 25 мм для диаметров сварочной проволоки dэл соответственно 1,2 ... 1,4 и 1,6 ... 2 мм (см. рис. 25, а)

Таблица 20. Режимы полуавтоматической сварки в защитных газах швов в горизонтальном, вертикальном и потолочном положениях в импульсном режиме проволокой сплошного сечения

Диаметр сварочной проволоки dэл, мм

Сила сварочного тока Iсв, А

Напряжение дуги Uд, В

Скорость сварки Vсв, м/ч

Расход защитного газа, л/мин

Вылет электрода i, мм

1,0

100 ... 180

16 ... 22

5 ... 20

6 ... 15

6 ... 12

1,2

110 ... 230

17 ... 23

6 ... 25

7 ... 18

6 ... 12

1,4

100 ... 260

17 ... 24

6 ... 30

8 ... 20

8 ... 13

Описание: Без имени-1копирование

Рис. 18. Графики зависимости между скоростью подачи сварочной проволоки, диаметра проволоки и силой сварочного тока:

а - для проволоки сплошного сечения, б - для порошковой проволоки

Вылет сварочной проволоки i в зависимости от ее диаметра для неимпульсных режимов рекомендуется принимать по графикам, приведенным на рис. 19, а - для проволоки сплошного сечения и на рис. 19, б - для порошковой проволоки. Вылет свыше 40 мм увеличивает разбрызгивание металла.

Таблица 21. Режимы полуавтоматической сварки в защитных газах порошковой проволокой (в том числе самозащитной)

Поперечное сечение кромок и сварного шва по ГОСТ 14771-76*

Толщина металла S или катета шва, мм

Диаметр сварочной проволоки, мм

Число проходов

Параметры режима

Сила сварочного тока Iсв, А

Напряжение дуги Uд, В

Скорость сварки Vсв, м/ч

Описание: Без имени-1копирование

6 ... 8

2

2

350 ... 400

26 ... 30

13 ... 16

2,5

2

350 ... 400

26 ... 30

13 ... 16

3

2

380 ... 420

28 ... 32

14 ... 18

Описание: Без имени-1копирование

10 ... 16

2

1-й

250 ... 300

24 ... 26

14 ... 16

Последующие

330 ... 380

28 ... 30

12 ... 14

2,5

1-й

250 ... 300

24 ... 26

14 ... 16

Последующие

330 ... 380

28 ... 30

12 ... 14

3

1-й

280 ... 320

26 ... 28

15 ... 17

Последующие

350 ... 400

28 ... 32

12 ... 15

Описание: Без имени-1копирование

6

2

 

260 ... 290

24 ... 26

18 ... 20

2,5

1

290 ... 320

24 ... 26

19 ... 21

3

1

300 ... 320

26 ... 28

20 ... 22

8

2

1

300 ... 350

24 ... 28

14 ... 16

2,5

1

300 ... 350

24 ... 28

14 ... 16

3

1

320 ... 380

28 ... 32

16 ... 18

10

2

1

300 ... 350

24 ... 28

10 ... 12

2,5

1

300 ... 350

24 ... 28

10 ... 12

3

1

320 ... 380

28 ... 32

12 ... 14

12

2

2

300 ... 350

24 ... 28

14 ... 16

2,5

2

300 ... 350

24 ... 28

14 ... 16

3

2

320 ... 380

28 ... 32

16 ... 18

Примечания: 1. Сварочные материалы см. в табл. 8. 2. Вылет электрода i см. рис. 18, б. 3. Расход защитного газа 12 ... 18 л/мин.

Описание: Без имени-1копирование

Рис. 19. Рекомендуемые величины вылета электрода в зависимости от диаметра проволоки:

а - сплошного сечения, б - порошковой

При сварке в нижнем положении угол наклона электродной проволоки по отношению к поверхности изделия рекомендуется 65 ... 70° (сварка углом назад). При сварке тавровых соединений «в угол» наклон электродной проволоки по отношению к вертикальной стенке рекомендуется в пределах 30 ... 40°. Проволоку направляют в вершину угла или со смещением на 1 - 2 мм по горизонтали.

По окончании наложения шва необходимо полностью заварить кратер и обдуть его защитным газом до полного затвердения металла.

Площадь поперечного сечения наплавленного металла за один проход рекомендуется принимать для первого прохода 20 ... 30 мм2, для последующих - 30 ... 80 мм2.

8.16. Ручную электродуговую сварку мостовых конструкций необходимо выполнять постоянным током обратной полярности (плюс на электроде) электродами, типы и марки которых приведены в табл. 8. Диаметр электродов 3, 4, 5 мм, ГОСТ 9466-75*, ГОСТ 9467-75*.

Площадь поперечного сечения наплавленного металла рекомендуется принимать:

для первого прохода (6 ... 8) dэл, но не более 30 мм2;

для последующих проходов (8 ... 12) dэл.

При подборе режимов ручной дуговой сварки необходимо учитывать указания завода-изготовителя электродов, приводимые в сертификатах или на упаковках.

8.17. Автоматическую и полуавтоматическую сварку мостовых конструкций из атмосферостойкой низколегированной стали марки 14ХГНДЦ ТУ 14-1-5355-98 следует производить по указаниям настоящего стандарта с учетом следующих особенностей:

- для автоматической и полуавтоматической сварки применять специальный флюс марки АНК-565 и сварочную проволоку Св-10НМА для всех видов сварных соединений;

- режимы сварки следует принимать как для сталей 15ХСНДА и 10ХСНДА по вышеприведенным таблицам со снижением напряжения дуги на 4 В;

- швы сварных соединений следует выполнять с предварительным подогревом кромок до температуры 120 - 150 °С независимо от толщины деталей;

- постановку электроприхваток при сборке, ручную сварку коротких угловых швов и исправление дефектных участков сварных швов следует выполнять электродами типа Э50А марки Э-138/50Н ГОСТ 9467; ОСТ 5.9224-75;

- полуавтоматическая сварка стали 14ХГНДЦ в защитных газах не допускается;

- сварка стали 14ХГНДЦ со сталями по ГОСТ 6713; ГОСТ 19281 и ТУ 14-1-5120-92 в конструкциях железнодорожных мостов не допускается.

8.18. Автоматическую сварку под флюсом поясных швов блоков главных балок коробчатых трапецеидальных сечений под острыми и тупыми углами необходимо производить в соответствии с требованиями ГОСТ 11533-75 на режимах, указанных в табл. 22 (ориентировочно). Для сварки применяют модернизированные автоматы на базе АДФ-1002, проволоку Св-08ГА диаметром 5 мм, флюсы АН-348А, АНЦ-1, ОСЦ-45.

Сварку швов под острым и тупым углами выполняют, как правило, за один проход со смещением электрода на 2 - 3 мм в сторону наклонной стенки.

Рекомендуемые геометрические параметры шва под острым углом е ³ 4 мм, h ³ 12 мм, коэффициент формы провара е/h = 1,2, или по указанию чертежей КМ.

Рекомендуемые геометрические параметры шва под тупым углом е ³ 24 мм, h ³ 14 мм, е/h @ 1,7, или по указанию чертежей КМ.

Условное обозначение сварного соединения - Т2, способа сварки - Апш.

8.19. Полуавтоматическую сварку в среде защитных газов трапецеидальных коробчатых сечений под острыми и тупыми углами выполняют в соответствии с ГОСТ 23518-79 на ориентировочных режимах по табл. 22.

Для сварки применяют проволоку Св-08Г2Н2Т или Св-08Г2С ГОСТ 2246-70* диаметром 2 мм.

Сварку швов под острым углом выполняют за два прохода по оси шва в специальную лодочку при вертикальном положении электродной проволоки.

Параметры шва: е = 14 ± 2 мм, h = 12 ± 2 мм, е/h @ 1,2.

Сварку швов под тупым углом выполняют за четыре прохода, также в положении в «лодочку».

Параметры шва: е = 22 ± 2 мм, h = 12 ± 2 мм, е/h @ 1,8.

Условное обозначение сварного соединения - Т2, способа сварки - ИП.

8.20. Автоматическую, полуавтоматическую и ручную сварку мостовых конструкций из стали 09Г2СД (09Г2С) ГОСТ 19281-89 при толщине проката до 50 мм включительно следует выполнять на режимах, рекомендуемых для стали 15ХСНД ГОСТ 6713-91* (см. табл. 10, 12 - 17, 19 - 21).

Таблица 22. Рекомендуемые режимы односторонней сварки блоков главных балок коробчатых трапецеидальных сечений

Поперечное сечение кромок и сварного шва

Способ сварки

Число проходов

Параметры режима

Сила сварочного тока Iсв, А

Напряжение дуги Uд, В

Скорость сварки Vсв, м/ч

Скорость подачи проволоки Vэл, м/ч

Описание: Без имени-1копирование

Автоматическая под флюсом

1

-

28 ... 33

19 ... 21

62 ... 68

Полуавтоматическая в среде защитных газов

1-й проход

-

28 ... 32

15 ... 17

258

2-й проход

-

30 ... 32

15 ... 17

258

Описание: Без имени-1копирование

Автоматическая под флюсом

1

-

30 ... 32

15 ... 17

72 ... 78

Полуавтоматическая в среде защитных газов

4 на одинаковых режимах

-

30

15 ... 17

258

Примечание: Силу тока подбирают опытным путем при сварке контрольных образцов и технологических проб.

9. ТРЕБОВАНИЯ К КАЧЕСТВУ СВАРКИ И СВАРНЫХ СОЕДИНЕНИЙ. КОНТРОЛЬ КАЧЕСТВА

9.1. Контроль качества изготовления мостовых конструкций осуществляется на всех стадиях работ инженерно-техническими работниками цехов и технических служб завода, работниками отдела технического контроля, мостовой инспекции и других контролирующих организаций.

Производственный контроль качества осуществляется под руководством главного инженера завода.

Службы технического контроля должны быть оснащены техническими средствами, обеспечивающими необходимую достоверность и полноту контроля. Инженерно-технический персонал должен быть ознакомлен с рабочей документацией и нормативными документами.

Ответственность за качество изготовленных конструкций на всех этапах работ несут исполнители, руководители данного вида работ и работники технического надзора согласно существующим должностным инструкциям.

9.2. Основными задачами производственного контроля являются:

- обеспечение соблюдения технологии изготовления и требований нормативной документации;

- своевременное предупреждение и выявление дефектов;

- повышение ответственности непосредственных исполнителей за качество выполняемых работ.

9.3. При изготовлении мостовых металлоконструкций выполняют следующие виды контроля качества:

- входной контроль качества поступающих в производство материалов, технической документации и оборудования;

- операционный контроль качества при изготовлении деталей и отправочных марок;

- приемочный контроль качества изготовления отправочных марок.

Входной контроль

9.4. Входной контроль охватывает:

- проверку полноты проектно-технологической документации и ее соответствие требованиям норм;

- контроль качества поступающих в производство основных, сварочных и окрасочных материалов;

- проверку состояния оборудования (механообрабатывающего, сварочного, дефектоскопического, контрольно-измерительного);

- проверку режимов сварки и машинной термической резки, а также механических характеристик сварных соединений;

- проверку квалификации электросварщиков, газорезчиков, дефектоскопистов и рабочих выполняющих термомеханическую правку проката и сварных конструкций.

9.5. Передаваемые в производство чертежи КМД должны быть проверены службой главного конструктора и контролирующей организацией на соответствие чертежам КМ и проектным нормам.

Технологические рекомендации по внедряемым в производство технологиям сварки должны пройти предварительную проверку путем испытания технологических проб с определением механических характеристик сварных соединений разрушающими методами.

9.6. Поступающие на завод основные и сварочные материалы перед употреблением должны проходить приемку.

Качество поставляемых материалов должно удостоверяться сертификатами или паспортами заводов-поставщиков. Весь заказываемый металлопрокат должен поставляться по действующим ГОСТ или ТУ, иметь маркировку клеймением или снабжаться бирками с указанием марки стали, номеров плавки, партии, размеров изделий. Применение проката, сварочных материалов и метизов, не имеющих сертификатов (паспортов) и маркировки, не допускается.

В случаях, когда в сертификатах отдельные данные отсутствуют, завод-изготовитель конструкций должен произвести необходимые лабораторные испытания в соответствии с требованиями, установленными стандартами. Если результаты испытаний удовлетворяют требованиям ГОСТ, ТУ, материал может быть использован для изготовления мостовых конструкций.

9.7.* Периодический контроль качества стального проката должен выполняться не менее одного раза в год. Испытания производят по каждой марке стали каждого завода-поставщика для проката толщиной 12; 16; 20; 32 (40; 50 мм).

Объем испытаний назначают в соответствии с требованиями действующей нормативно-технологической документации на прокат.

По требованию заказчика или проектной организации качество металлопроката можно проверить путем проведения стандартных механических испытаний для каждой партии проката.

При изготовлении конструкций железнодорожных мостов в северном исполнении Б механические испытания проката выполняют для каждой партии либо полистно по решению проектной организации или заказчика.

Контролируемыми механическими характеристиками являются:

а) временное сопротивление разрыву, предел текучести, относительное удлинение по ГОСТ 1497-84;

б) величина угла изгиба в холодном состоянии по ГОСТ 14019-80 для конструкций обычного исполнения и по ГОСТ 5521-86 на широком образце для конструкций северного исполнения;

в) ударная вязкость в состоянии поставки по ГОСТ 9454-78 и после механического старения по ГОСТ 7268-82 при температурах, указанных в сертификатах;

г) структура стали в изломе для всех конструкций и определение площади излома с волокнистым строением для конструкций северного исполнения по ГОСТ 5521-86, ГОСТ 6713-91 и ТУ 14-1-5120-92.

Химический анализ стали проводят по ГОСТ 22536.0-87 ... ГОСТ 22356.13-87; ГОСТ 20813-75; ГОСТ 20560-75; ГОСТ 12344-88 ... ГОСТ 12361-82.

К выполнению работ по контролю качества стального проката завод-изготовитель мостовых конструкций может привлекать специализированные организации и лаборатории, имеющие лицензии на выполнение перечисленных выше испытаний.

9.8.* Качество стандартных сварочных материалов должно удовлетворять требованиям: проволока - ГОСТ 2246-70*, флюс - ГОСТ 9087-81* и электроды - ГОСТ 9466-75 и 9467-75.

Заводы-изготовители мостовых конструкций проверяют качество сварочной проволоки и флюса посредством испытания технологических проб на сварных образцах из проката толщиной 16 мм в соответствии с требованиями п. Н.1.11 приложения Н настоящего СТП. Объем испытаний - один раз в год каждого завода-изготовителя проволоки и флюса.

Электроды для ручной сварки стыковых швов должны проходить испытания на технологических пробах от каждой полученной партии.

Флюс и проволока считаются пригодными по технологическим свойствам, если процесс сварки на рекомендуемом режиме протекает спокойно, формирование шва и шлаковой корки равномерное, шлак легко удаляется со шва, а в наплавленном металле отсутствуют поры и трещины.

Электроды считаются годными по технологическим свойствам, если при сварке контрольных соединений дуга горит устойчиво, спокойно, плавление обмазки происходит равномерно, без образования «козырька», шлак легко удаляется со шва и в наплавленном металле отсутствуют поры и трещины.

Партия сварочных материалов считается пригодной, если все механические характеристики технологических проб, выполненных с применением этих материалов и испытанных в соответствии с требованиями приложения Н данного СТП, отвечают требованиям п. 8.4 настоящего СТП или специальным нормативным требованиям.

9.9.* Для проверки применяемых технологий и режимов сварки и сварочных материалов проводят испытания технологических проб сварных соединений всех типов и групп толщины проката, с определением механических характеристик разрушающими методами контроля в соответствии с приложением Н. По результатам испытаний технологических проб оформляют протокол с указанием основных и сварочных материалов, толщины проката, типа соединений, режимов сварки и механических характеристик. Протокол подписывается главным сварщиком, начальником ОТК, заведующим ЦЗЛ и утверждается главным инженером завода.

При неудовлетворительных результатах испытаний по одному или нескольким показателям свойств или образцов испытания повторяют по этим же показателям на удвоенном количестве образцов с определением химического состава основного и наплавленного металла. Если и при этом результаты испытаний окажутся неудовлетворительными, то режимы сварки соединений или сварочные материалы должны быть признаны непригодными. Причины отклонений должны быть установлены путем проверки качества основного металла, флюса, сварочной проволоки, электродов, а также проверки режимов сварки с применением материалов других партий и плавок. До выяснения причин отклонений свойств сварных соединений применение проверяемой технологии сварки (сварочных материалов и режимов сварки) для изготовления мостовых конструкций должно быть приостановлено.

Завод-изготовитель мостовых конструкций для проверки применяемых технологий и режимов сварки, а также качества получаемых сварочных материалов с проведением испытаний технологических проб сварных соединений может привлекать специализированные организации, занимающиеся вопросами технологии сварки мостовых конструкций.

9.10.* Технологии сварки соединений, тщательно исследованные и успешно применяемые в течение не менее 5 лет на изготовлении стальных конструкций мостов, считаются апробированными и проверяются путем сварки технологических проб 1 раз в 5 лет.

Технологии сварки соединений, которые используются заводами при изготовлении конструкций свыше 1 года до 5 лет, считаются осваиваемыми. Испытание технологических проб для них проводят один раз в год.

Опытными считаются технологии сварки соединений, по которым проведены лабораторные исследования и они предложены для внедрения в производство. Заводская проверка опытных технологий сварки производится два раза в год.

Каждая технология сварки с применением новых сварочных материалов, марки стали, параметров разделки кромок и режимов сварки, прежде чем перейти в разряд апробированных, должна пройти разряды опытных и осваиваемых.

Перевод из одного разряда в другой оформляется актом заводской комиссии с участием службы главного сварщика, ОТК и контролирующей организации.

Апробированные одним предприятием технологии выполнения сварных соединений могут использоваться на других мостовых заводах как осваиваемые в течение не менее одного года, после чего при положительных результатах переводятся в разряд апробированных.

При изготовлении конструкций железнодорожных мостов в северном исполнении Б испытания технологических проб и проката производят перед запуском в производство каждого пролетного строения. При сварке технологических проб используют сварочные материалы, предназначенные для изготавливаемых конструкций.

9.11.* При контроле технического состояния сварочного оборудования и оснастки проверяют наличие и исправность измерительных приборов (амперметров и вольтметров) на сварочных автоматах, выпрямителях и аппаратных шкафах; исправность ходовой части сварочных автоматов, балластных реостатов, сварочных кабелей; возможность обеспечения оборудованием заданных параметров режима сварки.

Правильность показаний измерительных приборов, кроме предварительной проверки, контролируется периодически по внутризаводскому графику (см. п. 7.8).

При проверке технического состояния дефектоскопической аппаратуры оценивается соответствие ее основных параметров требованиям нормативно-технологической документации на неразрушающий метод контроля.

9.12.* К сварке мостовых конструкций на заводе допускаются сварщики: достигшие 18-летнего возраста; имеющие свидетельство об окончании специализированного ПТУ или курсов по сварке; проработавшие по специальности не менее трех месяцев; заварившие контрольные стыковые и тавровые соединения согласно требованиям «Временных Правил аттестации электросварщиков на право выполнения сварочных работ при заводском изготовлении мостовых и строительных конструкций»; получившие по результатам испытаний контрольных образцов и теоретического экзамена удостоверение сварщика на право выполнения определенных видов сварки и личное клеймо.

«Временные Правила» разрабатываются заводом-изготовителем мостовых конструкций на основе «Правил аттестации сварщиков», утвержденных Госгортехнадзором РФ 16 марта 1993 г., и согласовываются со специализированной организацией, занимающейся вопросами технологии сварки стальных мостовых конструкций.

Сварщики, систематически допускающие брак при сборке и сварке стальных конструкций мостов, отстраняются от работы до прохождения внеочередной аттестации. Сварщики, получившие неудовлетворительную оценку по практическим навыкам или теоретической проверке, могут быть допущены к новой аттестации только после дополнительного обучения и не раньше, чем через один месяц.

Дополнительная проверка практических навыков и технических знаний электросварщика должна проводиться при переходе его на новые способы сварки и виды работ, при изменении технологии сборки и сварки. Дополнительную проверку проводят по внутризаводской программе, утвержденной главным инженером предприятия.

9.13.* Квалификация дефектоскопистов проверяется наличием у них удостоверений (сертификатов) 1 и 2-го уровня квалификации на право выполнения ультразвукового или иного неразрушающего контроля сварных соединений конструкций.

Для подтверждения квалификации дефектоскопистов они должны выполнить ультразвуковой контроль на тренажерах сварных соединений и/или расшифровку рентгенограмм, предварительное заключение по которым сделано специалистом 2 - 3-го уровня квалификации с большим опытом непрерывной работы.

К выполнению неразрушающего контроля на заводе допускаются специалисты 1 и 2-го уровней квалификации, аттестованные в соответствии с ГОСТ 30489: EN 473. Оценку качества сварных соединений по результатам контроля проводят специалисты 2-го уровня квалификации.

Дефектоскописты, систематически выдающие неверные заключения о качестве сварных швов, отстраняются от работы впредь до прохождения аттестации.

Пооперационный контроль

9.14. Выполнение каждой последующей операции при изготовлении стальных конструкций мостов разрешается только после осуществления контроля качества работ на предыдущей. Результаты пооперационного контроля и приемки фиксируются в сопроводительных документах (в актах-предъявках, маршрутных картах и т.п.).

Пооперационный контроль проводится ежедневно в соответствии с разработанными технологическими инструкциями (технологическими картами) контроля, определяющими этапы проведения контроля и лиц, осуществляющих контроль и приемку.

9.15.* При операционном контроле проверяют соблюдение технологии изготовления деталей и элементов, режимов резки и сварки, чистоту и точность обработки деталей, соблюдение проектных размеров, подготовку и соответствие применяемых сварочных материалов заданной технологии сварки.

Контроль проводится инженерно-техническими работниками цехов и контролерами ОТК.

Материалы проверки заносят в журнал проверки утвержденной технологии и режимов сварки.

9.16.* Периодически, не реже одного раза в месяц (совместно или независимо друг от друга) представителями службы главного сварщика, отдела технического контроля, мостовой инспекции (контролирующей организации) производится контроль за соблюдением установленной технологии сварки. Проверяются исправность оборудования, соответствие применяемых сварочных материалов, режимов сварки и предварительного подогрева, правильность наложения слоев при заполнении разделки.

Материалы проверки заносят в цеховой журнал проверки технологии и режимов сварки.

9.17.* Сборку элементов под сварку контролируют мастер или контролер ОТК до начала сварки. Проверяют правильность фиксирования листов (элементов) в плане, профиле и по длине; соответствие (в пределах допусков) всех размеров и формы подготовленных кромок (величину зазора, притупления, прямолинейность и пр.); величину вертикального и горизонтального смещений стыкуемых кромок, правильность обработки и чистоту свариваемых кромок.

Приемочный контроль

9.18. Сварные стыковые соединения подлежат приемке в деталях непосредственно после выполнения сварки (до сборки отправочных марок).

Качество сварных угловых, тавровых, нахлесточных соединений проверяют в процессе приемочного контроля отправочных марок.

9.19.* Все швы сварных соединений подвергают всем видам контроля в объемах, предусмотренных табл. 23.

При приемке сварных швов проводят визуально-измерительный контроль, ультразвуковой контроль и, при необходимости уточнения данных ультразвукового контроля, рентгено- и гаммаграфический контроль, а также металлографические исследования макрошлифов на торцах соединений.

По требованию Заказчика может производиться дополнительный контроль иными неразрушающими методами (рентгено- и гаммаграфический, магнитопорошковый контроль и др.) сверх установленных в табл. 23 объемов.

Таблица 23. Методы и объемы контроля сварных соединений

Методы контроля

Контролируемые швы сварных соединений

Объемы контроля

Визуально-измерительный контроль

Швы стыковых, угловых, тавровых и нахлесточных соединений всех элементов

100 % длины швов

Ультразвуковая дефектоскопия

Швы стыковых и тавровых соединений со сплошным проплавлением по чертежам КМ

100 % длины швов

Просвечивание проникающим излучением

Швы стыковых соединений

Участки швов, результаты проверки которых ультразвуковой дефектоскопией требуют уточнения

Металлографические исследования макрошлифов

Стыковые швы соединений в растянутых или растянуто-сжатых поясах сплошно-стенчатых конструкций

Каждый третий стыковой шов по указанию контролирующей организации

9.20.* При визуально-измерительном контроле сварных швов проверяют соответствие формы и размеров шва требованиям нормативно-технической документации. Визуально-измерительный контроль проводят мастера и контролеры ОТК цехов.

Отклонения размеров сечения швов от проектных не должны превышать величин, указанных в ГОСТ 8713 и 11533 (автоматическая и полуавтоматическая сварка под флюсом), ГОСТ 14771 и 23518 (дуговая сварка в защитных газах), ГОСТ 5264 и 11534 (ручная дуговая сварка).

Размеры угловых швов любого очертания должны соответствовать величине катетов по чертежам КМ с учетом максимально допустимого зазора между свариваемыми деталями по вышеперечисленным стандартам. Вогнутость углового шва не должна приводить к уменьшению значения расчетного катета, установленного в чертежах КМ.

Предельные отклонения размера катетов швов от номинального значения способов сварки, применяемых при изготовлении мостовых конструкций, приведены в табл. 24.

Таблица 24.* Допуски на угловые швы

Номинальный размер катета углового шва в тавровых, угловых и нахлесточных соединениях, мм

Предельные отклонения катета, мм при способе сварки

автоматическая и полуавтоматическая под флюсом ГОСТ 8713, ГОСТ 11533

полуавтоматическая в защитных газах ГОСТ 14771, ГОСТ 23518

ручная ГОСТ 5264, ГОСТ 11534

До 5 включительно

+1

+1; -0,5

+1; -0,5

Св. 5 до 8 включительно

+2

+2; -1

+2; -1

Св. 8 до 12 включительно

+2,5

+2,5; -1,5

+2,5; -1,5

Св. 12

+3

+3; -2

+3; -2

Допускаемая вогнутость углового шва

До 30 % значения катета, но не более 3 мм

Допускаемая выпуклость углового шва

До 15 % значения катета, но не более 2 мм

9.21.* Швы сварных соединений должны удовлетворять следующим условиям:

а) иметь гладкую или равномерно чешуйчатую поверхность с плавными переходами к основному металлу, без наплывов и подрезов (табл. 25);

б) в многопроходных швах облицовочные валики должны перекрывать друг друга на 1/3 ширины, а глубина межваликовых впадин не должна превышать 0,5 мм;

в) все кратеры должны быть заварены;

г) не должны иметь поверхностные дефекты, перечисленные в табл. 25;

д) механическая обработка шва и околошовной зоны должна соответствовать чертежам КМ и требованиям документации на неразрушающий контроль. Радиусы сопряжений в зонах сплавления при механической обработке угловых швов должны быть не менее 3 мм, стыковых швов - не менее 10 мм.

При несоблюдении хотя бы одного из требований сварные швы подлежат ремонту до проведения ультразвукового контроля и повторному визуально-измерительному контролю.

Таблица 25.* Допуски по технологическим дефектам сварных швов

Место расположения и тип дефекта

Характеристика недопустимых дефектов

1 Поверхностные:

 

1.1 Трещины, непровары, несплавления, прожоги

Любого размера и ориентации

1.2 Поры и шлаковые включения

Любого размера и местоположения

1.3 Наплывы1

Любого размера и местоположения

1.4 Подрезы вдоль и поперек усилия

Подрезы в стыковых швах вдоль и поперек усилия, а также в угловых швах поперек усилия, глубиной до 1 мм включительно разрешается исправлять механической зачисткой без предварительной заварки.

Все подрезы глубиной больше 1 мм необходимо заваривать с последующей механической обработкой.

Подрезы в угловых швах вдоль усилия глубиной до 1 мм, расположенные на ребрах жесткости, к которым не присоединяются элементы поперечной конструкции пролетного строения, допускаются без исправлений.

В сварных соединениях конструкций, перечисленных в примечании 1 к п. 4.4 и примечании 2 к п. 4.5 СНиП 2.05.03-84*, за исключением тротуарных консолей и путей катания смотровых тележек, подрезы в угловых швах глубиной до 1 мм допускаются без механической зачистки и подварки.

2 Внутренние:

 

2.1 Трещины, непровары, несплавления

Любых размеров и ориентации

2.2 Скопление или цепочка пор или/и шлаковых включений

Любые в пределах чувствительности методов неразрушающего контроля

2.3 Одиночные поры или шлаковые включения

1. Поры и шлаковые включения размером (или диаметром) более 1 мм для металла толщиной S £ 25 мм и более 0,04S для металла толщиной S > 25 мм

2. Любые поры или/и шлаковые включения, в пределах чувствительности методов неразрушающего контроля, допустимые по размерам, при расстоянии между ними менее 45 мм.

3. Любые поры или/и шлаковые включения, в пределах чувствительности методов неразрушающего контроля, допустимые по размерам и расстоянию между ними, если общее число дефектов превышает 4 (четыре) на участке шва длиной 400 мм.

1 К наплывам относятся явные несплавления со свариваемой кромкой, а также чрезмерно большую выпуклость шва, при которой угол между касательной линией к этой выпуклости из точки сплавления с кромкой и плоскостью основного металла становится меньше 90°. Такие швы недопустимы и соединение требует исправления мехобработкой или бракуется.

9.22. При неразрушающем контроле швов сварных соединений оценивают наличие, количество, характер и размеры внутренних дефектов по табл. 25.*

Контроль качества сварных соединений ультразвуковой дефектоскопией (УЗД) следует проводить дефектоскопистами заводской лаборатории (подразделения) контроля качества (см. Приложение Н1) или сторонней организации в соответствии с инструкцией по ультразвуковому контролю в объеме, предусмотренном в табл. 23.

Соединения, в которых соотношение ширины валика и толщины свариваемых листов не соответствует ГОСТ и/или не позволяет прозвучивать сечения шва акустической осью луча типовых преобразователей (искателей), следует проверять ультразвуковой дефектоскопией с применением специальных искателей или ультразвуковой дефектоскопией по типовой методике после зачистки усиления валиков шва заподлицо с основным металлом, или методами рентгено- и гаммаграфирования по типовым методикам.

9.23. Перед ультразвуковым контролем дефектоскопистами производится повторный внешний осмотр сварного соединения для оценки качества шва и качества его подготовки к неразрушающему контролю. Швы, имеющие недопустимые наружные дефекты или некачественную подготовку, не контролируются и возвращаются на доработку.

Соединения, представляемые на контроль, должны быть обработаны в объемах, предусмотренных чертежами КМ и КМД, должны быть очищены от брызг металла, отслаивающейся окалины, краски, грязи и пыли по всей длине контролируемых участков в зонах, ширина которых оговорена в технологических картах (но не менее 200 мм).

Соединения не должны иметь поверхностных дефектов, необработанных допустимых подрезов и превышения ширины валика (размеров катетов) над установленной соответствующим стандартом, наплывов и резких перепадов, создающих отражения ультразвуковых колебаний и не позволяющих выявить дефекты.

Дополнительные требования к подготовке соединений под контроль, предъявляемые ЛКК, включая повторную зачистку зоны перемещения преобразователя при неудовлетворительном для ультразвукового контроля состоянии поверхности проката, а также дополнительную зачистку заподлицо с основным металлом валика шва в корне стыкового одностороннего соединения листов толщиной менее 20 мм и усиления валиков в местах пересечения швов металла любой толщины, должны выполняться работниками цеха.

Шероховатость поверхности при механической обработке зон контроля должна быть не ниже Rz = 40 по ГОСТ 2789-73.

9.24. Поиск дефектов следует вести по схеме поперечно-продольного и продольно-поперечного перемещения преобразователя при превышении чувствительности поиска над чувствительностью оценки Nхо на 6 дБ. Для ультразвукового контроля сварных соединений применяют импульсные ультразвуковые дефектоскопы типов «Рельс-6» (УД-13УРВ1П1) и УД2-12 в комплекте с пьезопреобразователями (искателями).

Основные параметры ультразвукового контроля, способы прозвучивания, схемы и параметры сканирования приведены в приложении Н, разделы Н2 - Н6.

Для выявления дефектов, расположенных у торцов стыковых соединений, следует дополнительно прозвучивать зону у каждого торца, постепенно поворачивая преобразователь приблизительно до угла в 45° между плоскостью торца и плоскостью падения волны.

Для обнаружения поперечных трещин в стыковых соединениях следует дополнительно прозвучивать шов с каждой из двух сторон, перемещая преобразователь вдоль валика таким образом, чтобы плоскость падения волны составляла с продольной осью шва угол 10° ... 40°.

9.25. Участок шва с дефектами считают негодным и подвергают ремонту, если выполняется одно из условий:

1. Ngmax > Nхо (максимальная амплитуда Ngmax эхо-сигнала от дефекта больше Nхо);

2. Nхо ³ Ngmax ³ Nхо - 6, но дефект обнаруживается преобразователем в положении, при котором плоскость падения волны составляет с продольной осью шва угол 10° ... 40°;

3. Nхо ³ Ngmax ³ Nхо - 6, но условная протяженность , измеренная относительным способом, превышает значение , установленное в инструкции на контроль с учетом толщины сваренных листов, т.е.  > ;

4. Nхо ³ Ngmax ³ Nхо - 6, но расстояние DL между ближайшими дефектами меньше 45 мм, DL < 45 мм.

5. Nхо ³ Ngmax ³ Nхо - 6 и DL ³ 45 мм, но число дефектов на участке шва длиной 400 мм более четырех.

9.26. В случае обнаружения дефектов в сварном шве для выполнения ремонтных работ составляются карты контроля с указанием местоположения дефекта по длине шва, глубины залегания и условной протяженности дефекта, также делается запись в журнале сварочных работ и ультразвукового контроля. После исправления дефектных участков производится повторный контроль, о результатах которого делается соответствующая запись в исполнительной документации. Заключение о качестве сварного соединения подписывается дефектоскопистом не ниже 2-го уровня квалификации по ультразвуковому контролю сварных соединений в конструкциях мостов.

9.27.* При металлографическом исследовании макрошлифов на торцах сварных швов после срезки выводных планок проверяют возможные дефекты в виде непроваров, пор и шлаковых включений, трещин. На технологических пробах или контрольных образцах, кроме того, определяют коэффициент формы провара, ширину и очертание зон термического влияния (ЗТВ), измеряют твердость различных зон сварного шва. В случае получения неудовлетворительных результатов металлографического исследования макрошлифов исследуют микроструктуру на полированных и травленых шлифах при сильном увеличении (в 50 - 2000 раз) сварного шва и околошовной зоны с определением размеров зерна.

9.28. Швы сварных соединений не могут быть признаны годными, если по одному из использованных методов контроля или испытаниям контрольных соединений получены отрицательные результаты.

10. ИСПРАВЛЕНИЕ ДЕФЕКТОВ СВАРКИ И ПРАВКА КОНСТРУКЦИЙ

Исправление дефектных участков сварных швов

10.1. Сварные соединения, не отвечающие требованиям к их качеству допускается исправлять. Способ исправления выбирает завод-изготовитель с учетом требований настоящего стандарта. Дефектные швы могут быть исправлены путем частичного или полного их удаления, с последующей переваркой.

10.2. Наплывы и недопустимое усиление швов обрабатывают, как правило, абразивным инструментом. Неполномерные швы, не заплавленные кратеры, несплавления снаружи и недопустимые подрезы подваривают с последующей зачисткой. Участки швов с недопустимым количеством пор, шлаковых включений и внутренних несплавлений полностью удаляют и заваривают вновь по технологии раздела 8 СТП.

10.3.* При обнаружении трещин в шве или основном металле устанавливают их протяженность и глубину с помощью УЗД. При необходимости в начале и конце трещины засверливают отверстия диаметром 6 ... 8 мм. Затем производят подготовку участка под заварку с V-образной или Х-образной разделкой кромок, с общим углом раскрытия 60 ... 70° с помощью:

1) армированных наждачных кругов толщиной 6 ... 8 мм;

2) воздушно-дуговой резки угольными омедненными, графитовыми или медно-графитовыми электродами диаметром 6, 8 и 10 мм с последующей механической обработкой поверхности реза абразивным инструментом на глубину не менее 1 мм;

3) специальными электродами марок АНР-5, ОЗР-1, ОЗР-2 диаметром 3 ... 5 мм с последующей зачисткой от шлака и грата.

Удаление участка шва с трещиной, если не производилось засверливание отверстий в начале и конце трещины, следует выполнять с захватом основного (качественного) металла по 50 мм в каждую сторону.

Аналогично производится подготовка под ремонтную сварку участков швов с недопустимым количеством пор, шлаковых включений и несплавлений.

10.4.* Заварку подготовленного к ремонту дефектного участка необходимо осуществлять, как правило, тем способом сварки, который предусмотрен для выполнения данного шва. Короткие участки длиной до 1 м с внутренними дефектами, а также участки любой протяженности с внешними дефектами виде подрезов, шлаковых включений, несплавлений и др. допускается исправлять ручной дуговой сваркой электродами диаметром 3 - 4 мм или полуавтоматической сваркой в защитном газе проволокой Св-08Г2С диаметром 1 или 2 мм. Внутренние дефекты устраняют с разделкой дефектного участка, внешние - без разделки или с частичной разделкой (несплавления) армированными наждачными кругами.

10.5. Исправление дефектного участка допускается не более двух раз. Исправление более двух раз может быть допущено в порядке исключения после установления причин возникновения данного дефекта и согласования с мостовой инспекцией или другой контролирующей организацией.

Правка конструкций, деформированных при сборке и сварке

10.6.* Устранение остаточных после сварки деформаций грибовидности и перекоса полок в элементах двутаврового, таврового и Н-образного сечений, в том числе конструкций, эксплуатируемых в северном исполнении, из сталей с пределом текучести до 400 МПа включительно, если указанные деформации превышают величины, приведенные в табл. 27, допускается производить холодной механической правкой на специальных машинах для правки грибовидности (пресс-вальцах) при соблюдении п. 5.1.

10.7. Любые виды остаточных деформаций, превышающих допустимые, в перечисленных выше элементах, а также в коробчатых конструкциях, ортотропных плитах и других элементах мостов допускается исправлять термической и термомеханической правкой.

Этими же способами можно править случайно деформированные в процессе изготовления конструкции, если деформации их не превышают предельных (допускаемых для правки) величин в соответствии с п. 5.1 ... 5.3 и табл. 2 Приложения А, при этом на деталях не должно быть трещин и повреждений поверхности (вмятин).

При термической и термомеханической правке сварных отправочных марок необходимо соблюдать общие положения и правила, изложенные в п. 5.4 ... 5.8 настоящих норм.

10.8. Термомеханическую правку сложных форм деформаций с приложением статических усилий пригрузом домкратами, распорками или стяжками надлежит производить при температуре зон нагрева в пределах 650 ... 700 °С. Остывание металла ниже 600 °С при этом не допускается.

10.9. Термическую правку грибовидности и перекоса полок элементов двутаврового, таврового и Н-образного сечений, а также ребристых и ортотропных плит рекомендуется выполнять посредством нагрева газопламенными горелками зон металла, указанных на рис. 20, а.

10.10. Для термической и термомеханической правки ромбовидности и винтообразности коробчатых элементов нагревают зоны, показанные на рис 20, б, в, с приложением усилий N по короткой диагонали коробки.

10.11. Продольный прогиб (выгиб, саблевидность) элементов таврового, двутаврового, Н-образного и коробчатого сечений следует править термическим или термомеханическим способами нагревом зон определенной формы с выпуклой стороны элемента (рис. 20, г). Механические усилия к элементам в процессе правки прикладывают, как правило, в виде рассредоточенных пригрузов.

10.12. Выпучивание стенок (рис. 20, д) балочных и коробчатых пролетных строений с ребрами жесткости («хлопуны») правят термическим и термомеханическим способами в последнюю очередь, после завершения правки остаточных деформаций других видов. При термической правке стенку нагревают с выпуклой стороны. При термомеханической правке на выпуклую сторону устанавливают пригруз (плиту с ровной контактной поверхностью), а нагрев производят с вогнутой стороны.

10.13.* Интенсивность нагрева указанных на рис. 20 зон должна быть максимально возможной по технологическим условиям.

Рекомендуется использовать одновременно несколько горелок. Лист толщиной более 20 мм следует нагревать одновременно с двух сторон (при наличии доступа к противоположной стороне).

Высоту клиновидных зон нагрева принимают равной 2/3 высоты элемента, ширину в основании 30 - 100 мм. Нагрев клина производят от вершины к основанию.

При наметке клиновидных зон нагрева в первую очередь выбирают зоны с наибольшей кривизной или заметными переломами.

О результатах правки можно судить только после полного остывания зон нагрева. Если деформации остаются за пределами допусков, намечают новые зоны нагрева. Одну и ту же зону нагревать более двух раз не допускается. Если после допустимого числа правок фактические деформации превышают размеры предельных отклонений, то конструкции должны быть забракованы. В отдельных случаях по согласованию с проектной организацией допускается усиление выправляемых участков или замена их.

Описание: Без имени-1копирование

Рис. 20.* Схемы термической правки грибовидности:

а - грибовидность и перекос полок; б - ромбовидность; в - винтообразность; г - выгиб тавра и двутавра; д - выпучивание (хлопун); н - зоны нагрева; D - деформация; f - стрела выгиба

10.14. Для снятия внутренних напряжений и предотвращения трещинообразования в зонах сосредоточения сварных швов допускается производить высокий отпуск конструкций посредством нагрева указанных зон газовыми горелками до температуры металла 600 ... 680 °С (цвет вишневого или вишнево-красного каления; приложение Б, табл. Б2). Нагрев ведут от середины к краям намеченной зоны не менее чем двумя горелками. Прогрев должен быть на всю толщину проката, о чем свидетельствует стабильность цвета нагреваемой зоны в течение 0,5 ... 1 мин. Выдержка при температуре 600 ... 680 °С не регламентируется, остывание - постепенное на воздухе.

11. МЕХАНИЧЕСКАЯ ОБРАБОТКА СВАРНЫХ СОЕДИНЕНИЙ1

1 Данный раздел разработан взамен ВСН 188-73.

11.1. Механическую обработку сварных соединений в стальных конструкциях мостов для повышения их выносливости следует назначать в чертежах КМ в соответствии с требованиями настоящих норм. Допускаются ссылки в чертежах на соответствующие пункты норм без приведения их текста.

При проектировании новых конструкций для случаев, не предусмотренных в настоящих нормах, проектная организация с участием научно-исследовательской организации разрабатывает конструктивное оформление и технологические требования к обработке зон концентрации напряжений.

11.2.* Механическую обработку сварных соединений выполняют в порядке, установленном заводской технологией. Рекомендуется следующий порядок:

а) визуально-измерительный контроль и металлографические исследования макрошлифов;

б) исправление видимых дефектов сварных швов;

в) ультразвуковая дефектоскопия или просвечивание проникающим излучением;

г) механическая обработка сварных соединений.

11.3.* Механическая обработка сварных соединений и соответствующих зон в местах изменения сечений элементов должна обеспечить получение плавных переходов от металла шва к основному металлу, а также от конца приваренной детали к основному элементу конструкции или от конца обрываемой к оставшейся части сечения сварного элемента или балки. При этом обработку следует выполнять без излишнего ослабления сечения - на минимальную глубину, необходимую для снятия поверхностного слоя металла в зоне обработки - до получения чистой блестящей поверхности (номинально на глубину до 1 мм).

Обработанная поверхность не должна иметь рисок, видимых невооруженным глазом. Класс шероховатости должен быть не ниже 4 (Rz = 20 ... 40) по ГОСТ 2789-73. На границе зоны обработки не должно быть уступов. Заусенцы подлежат зачистке, а острые свободные кромки скругляются радиусом не менее 2 мм или притупляются фаской 2´2 мм со скруглением углов.

11.4. При обработке сварных соединений ослабление сечения по толщине проката (углубление в основной металл без подварки) поперек и вдоль усилия в элементе, как правило, не должно превышать 1 мм на металле толщиной до 25 мм и 4 % толщины - на более толстом металле.

В случае превышения допускаемой величины ослабления разрешается производить подварку с последующей зачисткой по требованиям данных норм. Все ожоги сваркой на поверхности металла должны быть зачищены абразивным инструментом на глубину не более 1 мм.

11.5. Местные наплывы, образовавшиеся в местах перекрытия соседних участков шва при перерыве процесса сварки или исправлении дефектов, должны быть сглажены механической обработкой до образования плавных переходов от наплыва к сечению шва проектного размера и к основному металлу.

11.6. Способ, оборудование и инструмент для механической обработки сварных соединений назначает завод-изготовитель конструкций. Допускается обработка абразивными кругами различной твердости и крупности зерна, фрезами различных типов и форм и другим металлообрабатывающим инструментом.

При обработке абразивным инструментом не допускаются ожоги металла из-за сильного нажатия на инструмент и малой скорости его перемещения по обрабатываемой поверхности.

Для удаления технологических припусков и других частей свариваемых деталей, выступающих за проектный контур, допускается применение газокислородной резки, после чего должен оставаться проектный контур детали с припуском на механическую обработку не менее 2 мм.

11.7. Стыковые сварные соединения (рис. 21, 22) по геометрическим размерам швов должны соответствовать требованиям ГОСТ 8713-79, ГОСТ 11533-75 (сварка под флюсом), ГОСТ 14771-76*, ГОСТ 23518-79 (сварка в защитных газах), ГОСТ 5264-80, ГОСТ 11534-75 (ручная дуговая сварка). Если отклонения размеров швов превышают допустимые по указанным стандартам требуется механическая обработка сварных соединений до получения стандартных размеров (кроме конструкций по п. 11.8).

Зачистку кромок листов после удаления выводных планок газокислородной резкой следует выполнять по всей длине участка, где накладывались швы, прикрепляющие выводные планки. При этом углы кромок листов необходимо плавно скруглять радиусом 2 ± 1 мм или притуплять фаской 2´2 мм со скруглением углов.

Для удаления поверхностных дефектов с торца шва механической обработкой допускается плавно, с уклоном не более 1:20 и сопрягаемым радиусом не менее 150 мм на свободных кромках углубляться в основной металл без подварки на величину 0,02 ширины свариваемого листа, но не более чем на 8 мм с каждой стороны (рис. 21, б) и не более 12 мм с одной стороны. После обработки торцов шва углы кромок листов следует плавно скруглять радиусом 2 ± 0,5 мм (см. рис. 21, б), или притуплять фаской 2´2 мм со скруглением углов.

Описание: Без имени-1копирование

Рис. 21. Схема обработки стыкового соединения листов одинаковой толщины:

а - без углубления в основной металл по кромкам; б - с углублением на 0,02В, но не более чем на 8 мм с каждой стороны; 1 - граница шва по зоне сплавления; 2 - граница зон механической обработки, 3 - металл, удаляемый механической обработкой

В случаях, обусловленных особенностями конструкции и условиями сборки (наличие стыковых швов в пакетах листов, пересечение стыкового шва ребрами или фасонками и т.п.) или принятой технологией обработки швов, например, переносными фрезерными станками, усиление шва необходимо снимать заподлицо с основным металлом. Углы кромок скругляются, как в предыдущих случаях.

При механической обработке стыковых сварных соединений листов разной толщины или разной ширины должны быть выполнены требования, указанные на рис. 22, а, б. Радиус перехода к более широкому листу должен быть не менее 150 мм. Допускается снятие усиления швов заподлицо с основным металлом.

Описание: Без имени-1копирование

Рис. 22. Схема обработки стыковых соединений листов разной толщины (а) и разной ширины (б):

1 - граница шва по зоне сплавления; 2 - границы зон механической обработки

11.8. Поперечные сварные стыки в растянутых и растянуто-сжатых на стадии эксплуатации деталях и элементах основных несущих конструкций железнодорожных и совмещенных мостов должны подвергаться механической обработке посредством полного снятия фрезерованием или иной механической обработкой усиления швов заподлицо с основным металлом. Это требование распространяется также на сварные поперечные стыки растянутых поясов и 40 % высоты, но не менее 200 мм от пояса растянутых зон стенок сплошно-стенчатых изгибаемых балок железнодорожных и совмещенных мостов (рис. 23, а).

11.9. При пересечении сварных швов перед наложением шва, пересекающего (рис. 23, б) или примыкающего к другому шву (рис. 23, в, г) во избежание образования подрезов в месте пересечения необходимо обрабатывать усиление ранее наложенного стыкового шва заподлицо с основным металлом на длине i не менее 40 мм от кромки листа или оси пересекаемого шва, обеспечивая при этом постепенный переход к незачищенному участку шва радиусом r ³ 60 мм. Указанное требование обработки усиления стыкового шва относится также при пересечении его с другими элементами конструкции, например, ребрами жесткости.

Описание: Без имени-1копирование

Рис. 23. Схемы механической обработки сварных швов:

а - сплошностенчатых балок железнодорожных мостов; б - пересечения стыков на полотнище; в - примыкания стенки к поясу, г - Т-образного пересечения стыковых швов; 1 - граница шва; 2 - зона механической обработки; 3 - металл, удаляемый при обработке

11.10. Наружные швы угловых соединений коробчатых элементов в зонах монтажных стыков с накладками или на участках присоединения к ним фасонок ветровых связей надлежит обрабатывать заподлицо с основным металлом на длине присоединяемой детали плюс 40 мм в каждую сторону. При этом радиус плавного перехода r ³ 60 мм (рис. 24).

Описание: Без имени-1копирование

Рис. 24. Схема обработки усиления шва углового соединения в зоне постановки стыковых накладок:

1 - снятие усиления шва; r - радиус обработки (r ³ 60); L - длина полунакладки

11.11. Механическую обработку концов фасонок, привариваемых встык к кромке листа (к поясу балки, элементу фермы и т.п.), следует выполнять в соответствии с требованиями, приведенными на рис. 25. При совпадении плоскости фасонки и листа концы соответствующего шва, прикрепляющего фасонку, следует зачищать заподлицо с указанной плоскостью. Если плоскости фасонки и листа не совпадают, эта зачистка не производится.

11.12. В конструкциях автодорожных мостов механическую обработку концов фасонок связей, привариваемых в тавр к плоскости листа стенки, следует выполнять в соответствии с требованиями, приведенными на рис. 26.

В узлах главных ферм механическую обработку концевых участков выкружек фасонок, привариваемых в тавр, следует выполнять согласно требованиям, приведенным на рис. 27.

Технологические припуски на концах фасонок удаляют газокислородной резкой с оставлением припуска на механическую обработку не менее 2 мм.

Описание: Без имени-1копирование

Рис. 25. Схема обработки концов фасонок, привариваемых к кромке листа встык:

1 - технологический припуск; 2 - контур, по которому припуск удаляется газовой резкой; 3 - зона механической обработки; 4 - конец шва на плоскости листа, обработанный заподлицо; b - ширина припуска у края фасонки, b ³ 20 мм; с - расстояние от края припуска до начала плавного перехода, с ³ 15 мм; r - радиус перехода, r ³ 60 мм

Описание: Без имени-1копирование

Рис. 26. Схема обработки концов фасонок связей, привариваемых к плоскости листа в тавр:

1 - технологический припуск; 2 - контур, по которому припуск удаляется газокислородной резкой; 3 - зона механической обработки; r - радиус перехода, r ³ 60 мм

11.13. Механическую обработку концов горизонтальных ребер жесткости обрываемых вблизи монтажных болтовых или комбинированных болтосварных стыков балочных и коробчатых пролетных строений, следует выполнять в соответствии с требованиями, приведенными на рис. 28.

Описание: Без имени-1копирование

Рис. 27. Схема обработки концевых участков фасонок, привариваемых в узлах главных ферм в тавр:

1 - технологический припуск; 2 - контур, по которому припуск удаляется газовой резкой; 3 - зона механической обработки; b - ширина припуска у края фасонки, b ³ 20 мм; с - расстояние от края припуска до начала плавного перехода, с ³ 15 мм; R - радиус выкружки фасонки, R ³ 250 мм; r - радиус перехода, r ³ 60 мм

Описание: Без имени-1копирование

Рис. 28. Схема обработки конца горизонтального ребра жесткости, обрываемого вблизи монтажного болтового или комбинированного болтосварного стыка балки:

1 - технологический припуск; 2 - контур, по которому припуск удаляется газовой резкой; 3 - зона механической обработки; b - ширина припуска у конца ребра, b1 ³ 100 мм, b2 ³ 20 мм; с - расстояние от края припуска до начала плавного перехода, с1 ³ 30 мм, с2 ³ 15 мм; r - радиус перехода, r ³ 60 мм

11.14. Механическую обработку концов стенок в двутавровых балках с комбинированными болтосварными стыками надлежит выполнять в соответствии с требованиями, приведенными на рис. 29.

Описание: Без имени-1копирование

Рис. 29. Схема обработки концевого участка стенки при обрыве ее не у торца элемента:

1 - технологический припуск; 2 - контур, по которому припуск удаляется газовой резкой; 3 - зона механической обработки; с - расстояние от края припуска до начала плавного перехода, с ³ 30 мм; r - радиус перехода, r ³ 60 мм; b - ширина припуска у конца стенки, b ³ 20 мм; R1 - радиус выкружки технологического окна, R1 ³ 85 мм, а - расстояние от кромки пояса до торца припуска, а = 50 - 55 мм

11.15. Механическую обработку концевых участков обрываемых полок в элементах Н-образного или двутаврового сечения, когда полки не доходят до торца элемента, следует выполнять в соответствии с требованиями, приведенными на рис. 30, а - для растянутых и рис. 30, б - для сжатых элементов. Удаление технологического припуска на концах обрываемых частей сварных элементов газокислородной резкой выполняется в соответствии с указаниями п. 11.6 настоящих норм.

11.16. Механическую обработку косых угловых швов на конце обрываемого в пролете поясного листа сплошностенчатой балки с пакетными поясами следует выполнять в соответствии с требованиями, приведенными на рис. 31. Допустимая величина ослабления сечения листа (без подварки) вдоль границы косого шва - 1 мм при толщине листа до 20 мм и 6 % толщины на более толстом листе.

Описание: Без имени-1копирование

Рис. 30. Схема обработки концевых участков скосов в полках в случае обрыва полок сварного элемента Н-образного или двутаврового сечения не у торца элемента:

а - для растянутых элементов; б - для сжатых элементов; 1 - технологический припуск; 2 - контур, по которому припуск удаляется газокислородной резкой; 3 - зона механической обработки; r1 и r2 - радиусы переходов (r1 ³ 150 мм; r2 ³ 60 мм)

Описание: Без имени-1копирование

Рис. 31. Схема обработки косых угловых швов на конце обрываемого в пролете поясного листа сплошной балки с многолистовым поясом:

1 - граница углового шва; 2 - зона механической обработки; i - длина обрабатываемого участка шва (i ³ 100 мм), r - радиус перехода (r ³ 3 мм); h - величина ослабления сечения

При обработке косых угловых швов абразивным инструментом риски должны быть направлены вдоль усилия в элементе или вдоль косых угловых швов.

11.17.* Лобовые и фланговые угловые швы в местах прикрепления ребер жесткости, диафрагм, фасонок связей, противоугонных уголков и т.д. к растянутым элементам основных несущих конструкций, выполненные полуавтоматической сваркой под флюсом или в защитных газах, а также ручной дуговой сваркой с обеспечением плавных переходов от наплавленного металла к основному по требованиям п. 8.3, г допускается не подвергать механической обработке. Требования к катетам данных угловых швов приведены в п. 4.8 настоящего СТП. Если поставленные условия при сварке не выполнены, плавные переходы от металла шва к основному металлу должны обеспечиваться механической обработкой швов.

11.18. Контроль качества механической обработки сварных соединений мостовых конструкций производит ОТК завода внешним осмотром с применением в необходимых случаях эталонов, измерительного инструмента и шаблонов.

Качество обработки признается удовлетворительным, если установлено:

а) полное снятие прокатной окалины, а также окисленного поверхностного слоя в заданных зонах с шероховатостью поверхности не ниже 4 класса (Rz = 20 ... 40) ГОСТ 2789-73;

б) плавность переходов от металла шва к основному металлу;

в) отсутствие на обработанной поверхности надрывов, трещин и заметных невооруженным глазом рисок;

г) отсутствие в зоне обработки ослаблений сечения, превышающих допустимые по п. 11.4 и 11.16;

д) отсутствие у деталей и элементов в зоне обработки острых кромок и заусенцев;

е) отсутствие на обработанной поверхности поджогов металла от абразивного инструмента;

ж) отсутствие в зоне обработки технологических дефектов сварки - трещин, несплавлений, пор, шлаковых включений, подрезов, неполного проплавления (когда оно требуется);

з) отсутствие следов приварки выводных планок и сборочных приспособлений, а также следов газовой резки, применявшейся для удаления технологических припусков, выводных планок и сборочных приспособлений.

Уменьшение размеров зон обработки и радиусов плавных переходов против указанных в настоящих нормах не допускается. Увеличение размеров зон обработки и радиусов не является браковочным признаком.

11.19. Механическую обработку сварных соединений в стальных конструкциях мостов выполняют лица, освоившие правила работы электрическими и пневматическими шлифмашинками или другим переносным зачистным оборудованием и станками, изучавшие методы механической обработки сварных соединений и инструкции по эксплуатации применяемого оборудования, прошедшие испытания и допущенные аттестационной комиссией предприятия к выполнению данного вида работ.

12. ПРИЕМКА ОТПРАВОЧНЫХ МАРОК

12.1. Отправочные марки и в целом стальные конструкции мостов (в комплекте с монтажными элементами) должны быть приняты ОТК завода-изготовителя и контролирующей организацией до грунтования. Очистку поверхностей и защиту конструкций от коррозии ОТК и контролирующая организация принимают дополнительно после их выполнения.

Если в процессе приемки отправочной марки в ее отдельных деталях будут обнаружены недопустимые дефекты в виде трещин в металле шва, переходящих на основной металл, трещин в основном металле, расслоений по кромкам, вопросы браковки марки целиком или замены в ней дефектных деталей должны решаться заводом-изготовителем совместно с контролирующей организацией. В необходимых случаях к решению этих вопросов привлекается проектная организация, разработавшая чертежи КМ, а также научно-исследовательский институт.

Ремонт конструкций, вызванный отступлениями от проекта, надлежит производить по разработанной заводом технологии, согласованной с проектным институтом и контролирующей организацией. Расслой по кромкам глубиной до 8 мм допускается удалять механической обработкой с соблюдением требований п. 5.25 и 11.7 настоящих норм.

12.2. Отклонения действительных линейных размеров от проектных для отправляемых на монтаж сборочных марок и монтажных элементов мостовых конструкций не должны превышать величин, указанных в табл. 26, если в чертежах КМ не предусмотрены более жесткие допуски.

12.3. Отклонения от проектной геометрической формы отправочных марок не должны превышать величин, указанных в табл. 27*, если в чертежах КМ не предусмотрены более жесткие допуски.

12.4. Предельные отклонения размеров мостовых конструкций при общей и контрольной сборке на стеллажах следует принимать по разделу 13 настоящих норм.

Таблица 26. Допускаемые отклонения линейных размеров заводских отправочных марок

Наименование отклонения

Значения предельного отклонения, мм

1. Отклонения по длине

 

1.1. Все элементы стальных мостовых конструкций с болтовыми, фрикционными и комбинированными (фрикционно-сварными) соединениями при полной длине элемента, м:

 

до 9

±2

св. 9 до 15

±2,5

св. 15 до 21

±3

св. 21 до 27

±3,5

св. 27

±4

1.2. Продольные и поперечные балки проезжей части болтосварных решетчатых пролетных строений

+0; -2

1.3. Балки, коробки, ортотропные и ребристые плиты цельносварных пролетных строений (без припусков на подрезку)

+0; -4

1.4. Обрезы (расстояния от крайних монтажных отверстий до торца элемента) в поясах и стенках решетчатых и сплошностенчатых балочных и коробчатых болтосварных мостовых конструкций

+0; -4

1.5. Расстояния по длине балок и коробок между смежными вертикальными ребрами жесткости, к которым прикрепляются поперечные балки ортотропных и ребристых плит, и соответствующие расстояния между поперечными балками ортотропных и ребристых плит

±2

1.6. Расстояния между крайними ребрами и поперечными балками при длине балок, коробок и плит, м:

 

до 10

±2

св. 10

±4

2. Отклонения по ширине

 

2.1. Пояса, раскосы, стойки, подвески, двутавровые связи решетчатых болтосварных ферм:

 

в зоне узлов и стыков для элементов, охватываемых узловыми фасонками

+0; -2

то же, для элементов, охватывающих фасонки

+2; -0

на других участках

±4

2.2. Коробчатые элементы поясов и раскосов решетчатых ферм в средней трети высоты поперечного сечения:

 

в зоне узлов и стыков

+1; -3

на других участках

±5

2.3. Пояса сплошностенчатых балочных и коробчатых конструкций, ортотропные плиты со свободными кромками (не примыкающими к другим элементам)

±4

2.4. Пояса балочных и коробчатых конструкций, ортотропные и ребристые плиты с несвободными кромками (примыкающими к другим элементам)

+0;-2

2.5. Расстояния между осями вертикальных стенок коробок:

 

в зоне стыков

±2

на других участках

±4

2.6. Расстояния между осями продольных ребер ортотропных плит:

 

в зоне стыков и пересечений с поперечными балками

±2

на других участках

±4

2.7. Расстояния между отверстиями в верхних поясах поперечных балок в местах прикрепления к ним продольных ребер таврового сечения (для коробчатых пролетных строений с балластным корытом из коррозионно-стойкой стали)

±2

3. Отклонения по высоте

 

3.1. Пояса и элементы решетки болтосварных ферм:

 

в зоне узлов и стыков при перекрытии только вертикальных листов сечений

±2

то же, при перекрытии вертикальных и горизонтальных листов сечений

+0; -2

на других участках

±4

3.2. Продольные и поперечные балки проезжей части болтосварных решетчатых пролетных строений в местах соединения при наличии накладок сверху и снизу

±1

3.3. Сплошностенчатые балочные и коробчатые конструкции мостов с болтовыми, фрикционными, сварными и болтосварными стыками:

 

в зоне стыков

±2*

на других участках

±4

* при сверлении отверстий в стыках стенок и сборке балок и коробок уступы в стыке каждого из поясов не должны превышать 2 мм

 

3.4. Поперечные балки железнодорожных коробчатых сплошностенчатых пролетных строений с ортотропной плитой балластного корыта

±1

3.5. Высота от низа листа настила до низа пояса тавровых продольных ребер ортотропной плиты железнодорожных пролетных строений

±2

4. Отклонения по расположению монтажных отверстий

 

4.1. Расстояния между группами монтажных отверстий в отправочных марках при интервалах размеров, м:

 

до 2,5

±1

св. 2,5 до 4,5

±1,5

св. 4,5 до 9

±2

св. 9 до 15

±2,5

св. 15 до 21

±3

св. 21 до 27

±3,5

св. 27

±4

4.2. Расстояния между группами отверстий в нижних поясах цельноперевозимых пролетных строений для крепления опорных частей

±10

Таблица 27.* Допускаемые отклонения геометрической формы заводских отправочных марок

Наименование конструктивных элементов и отклонений

Значение предельного отклонения

1. Стрела выгиба оси основных элементов решетчатых ферм, балок проезжей части, главных и домкратных сплошностенчатых балок при длине элемента или его искривленной части i, м:

 

до 10 включительно

i/1000

свыше 10

10 мм

2. Плавное саблевидное искривление по продольным кромкам в плане:

 

2.1. Поясов главных балок двутаврового П-образного и коробчатого сечения длиной i

i/1000, но не более 10 мм

2.2. Верхних поясов L-образных балок длиной i, сечением 16´400 мм

не более 20 мм

2.3. Нижних поясов L-образных балок длиной i, толщиной до 30 мм

i/1000, но не более 12 мм

2.4. То же, толщиной 32 мм и более

i/1000, но не более 8 мм

3. Стрела выгиба оси связей при длине элемента или его искривленной части i

i/750, но не более 15 мм

4. Плавный продольный выгиб в вертикальной плоскости:

 

4.1. Ортотропных и ребристых плит при толщине настильного листа до 20 мм длиной i

i/750, но не более 15 мм

4.2. Нижних ребристых плит при толщине настильного листа более 20 мм для любой длины

10 мм

4.3. Нижних поясов L-образных балок длиной i, м:

 

до 10,5

i/1000

более 10,5

i/1000, но не более 15 мм

5. Плавный поперечный выгиб в вертикальной плоскости:

 

5.1. Ортотропных и ребристых плит шириной b

b/500, но не более 5 мм

5.2. Нижних поясов L-образных балок шириной b при толщине листа:

 

до 20 мм

b/500

25 ... 40 мм

1,5 мм на 1 м ширины пояса

6. Отклонения кромок настильных листов ортотропных и ребристых плит в горизонтальной плоскости от проектной линии:

 

по несвободным кромкам (в стыках)

±2 мм

по свободным кромкам консольных плит

±4 мм

7. Грибовидность свободного свеса кромок ортотропных, ребристых плит и коробчатых балок при ширине свеса b:

 

в зонах болтовых монтажных стыков и установки опорных частей

b/200, но не более 1 мм

в зонах сварных стыковых монтажных соединений по длине и ширине пролетного строения по свободным кромкам (без примыкания к другим элементам) при условии искривления кромки в вертикальной плоскости не более 3 мм на длине 1 м

b/100, но не более 2 мм

b/50, но не более 4 мм

8. Искривление (волнистость) кромок, мм на 1 м длины:

 

8.1. Несвободных (в стыках) продольных кромок настильного листа ортотропных и ребристых плит в вертикальной плоскости при толщине листа:

 

до 20 мм

2 мм

св. 20 до 40 мм

1 мм

8.2. Свободных продольных кромок консольных плит в вертикальной плоскости

3 мм

8.3. Продольных ребер ортотропных и ребристых плит в плане

3 мм

9. Тангенс угла отклонения плоскости продольных ребер плит от прямого угла с плоскостью настильного листа:

 

в стыках и местах пересечения с поперечными балками

0,01

на прочих участках

0,02

10. Тангенс угла отклонения от прямого угла между продольной и поперечной кромками настильного листа плиты

0,001

11. Остаточные угловые деформации в сварных стыковых соединениях (домики), определяемые стрелой прогиба на базе 400 мм при толщине S стыкуемых листов, мм:

 

до 20 включительно

0,1S

св. 20

2 мм

12. Грибовидность стенки в цельносварном стыке с односторонним вертикальным ребром

Описание: Без имени-1копирование

b/100, но не более 2 мм

13. Перекос пояса относительно стенки грибовидность пояса симметричная; грибовидность с перекосом:

Описание: Без имени-1копирование

13.1. В стыках, в местах сопряжения балок с другими элементами, в зонах установки опорных частей и железобетонных плит с закладными деталями

b/200, но не более 1 мм

13.2. На других участках

b/100 при D1 - D2 £ 3 мм

14. Выпучивание стенки балок и коробок при свободной высоте стенки h

Описание: Без имени-1копирование

14.1. Для балок и коробок с поперечными ребрами жесткости

0,006h

14.2. Для балок без поперечных ребер жесткости

0,003h

14.3. При плавном выпучивании на конце стенки в зоне монтажных стыков на высокопрочных болтах в цельноболтовом или комбинированном стыках

0,02h

14.4. То же в цельносварных стыках

0,003h

14.5. На свободном (не стыкуемом) торце балки или блока при наличии вертикальных (опорных) ребер

0,003h

15. Отклонение от вертикали или от проектного наклона верхней кромки стенки L-образных балок при горизонтальном положении нижнего пояса

 

15.1. В середине длины балки

10 мм

15.2. На концах балки

0,5D ± 10 мм,

где D - фактическое саблевидное искривление верхнего пояса (см. п. 2.2 данной таблицы)

15. Винтообразность (деформация скручивания) D, замеряемая в элементах, уложенных на горизонтальную (базисную) плоскость, к которой прижат один конец контролируемого элемента, а второй свободно опирается на плоскость, для сечений:

Описание: Без имени-1копирование

15.1. Коробчатых, Н-образных и L-образных

1 мм на 1 м длины элемента, но не более 10 мм

16. Несимметричность элементов двутаврового и Н-образного сечений - отклонение оси стенки от оси полки:

 

в зоне монтажного соединения

2 мм

в прочих местах при ширине полки b:

 

до 330 включительно

0,015b

свыше 330

5 мм

17. Ромбовидность сечений коробчатых элементов

 

17.1. Разность длин диагоналей в поперечном сечении коробчатых элементов пролетных строений с решетчатыми фермами:

 

в зоне монтажного соединения

4 мм

то же, при отсутствии в указанной зоне горизонтальных накладок и фасонок

6 мм

в зоне монтажного соединения для элементов ферм замкнутого коробчатого сечения (при наличии внутренних диафрагм)

2 мм

в прочих местах

12 мм

17.2. Разность длин диагоналей в поперечном сечении коробчатых балок автодорожных сварных, болтосварных пролетных строений

 

в зоне монтажного соединения

6 мм

в прочих местах

12 мм

13. КОНТРОЛЬНАЯ ЗАВОДСКАЯ СБОРКА

13.1.* Контрольная сборка назначается для конструкций с фрикционными, болтовыми и комбинированными фрикционно-сварными стыками, монтажные отверстия в которых образованы на заводе-изготовителе на проектный диаметр с применением сверловочных кондукторов или сверлильных станков с программным управлением.

Контрольная сборка должна быть выполнена для первого и каждого десятого однотипного пролетного строения или другого вида мостовых конструкций. В пролетных строениях с идентичными главными фермами или балками допускается производить контрольную сборку одной из них.

Объем контрольной сборки назначается заводом-изготовителем, если он не указан в проекте КМ.

В объем контрольной сборки должны входить все элементы и детали, изготовленные с применением всего комплекса кондукторов или кондукторов и программ для станков с программным управлением.

Количество поставленных полномерных пробок и болтов должно быть в пределах 5 - 30 % от числа отверстий в группе (в полунакладке), в том числе пробок - не менее 3 шт.

В болтовых и фрикционных соединениях при их контрольной заводской сборке точное совпадение отверстий обеспечивается посредством постановки точеных пробок номинальным диаметром на 0,2 мм меньше проектного диаметра отверстий. Длина цилиндрической части пробки должна на 10 - 15 мм превышать толщину собираемого пакета деталей.

13.2. Совпадение монтажных отверстий должно удовлетворять следующим требованиям:

- в узлах и соединениях, определяющих их геометрическую форму и размеры конструкций, калибр диаметром на 1 мм меньше проектного диаметра отверстия должен проходить в 85 % отверстий каждой группы;

- в узлах и соединениях, не определяющих геометрическую форму и размеры конструкций, калибр диаметром, равным диаметру болта с учетом плюсовых предельных отклонений, должен проходить в 100 % отверстий каждой группы.

Если указанные требования не выполнены, контрольную сборку разбирают, проверяют качество кондукторов, программ для станков с программным управлением, элементов и деталей, устраняют выполненные ошибки, в том числе в деталях и элементах, и повторно проводят контрольную сборку в необходимом объеме.

Если и при повторной сборке совпадение отверстий не обеспечено, допускается по согласованию с организацией, разработавшей проект КМ, и заводской инспекцией рассверливание части отверстий на больший диаметр. При этом должна быть разработана монтажно-маркировочная схема и осуществлена дополнительная маркировка элементов и деталей, как при общей сборке конструкций.

13.3. Для индивидуальных пролетных строений, в том числе со сварными монтажными соединениями, и других конструкций мостов объем контрольной сборки устанавливают в чертежах КМ исходя из условий обеспечения проектного положения конструкции при монтаже.

13.4. Контрольная сборка должна быть принята ОТК завода-изготовителя и контролирующей организацией.

13.5. Предельные отклонения размеров при контрольной сборке на стеллажах следует принимать по табл. 28.

Таблица 28. Допускаемые отклонения размеров конструкций при контрольной заводской сборке

Наименование отклонения

Значение предельного отклонения

1. Отклонение длины каждой главной балки или фермы пролетного строения от проектной при длине L, м:

 

до 50 включительно

±10 мм

св. 50

0,0002L

2. Отклонение расстояний между соседними узлами главных ферм и связей при расстоянии i, м:

 

до 9 включительно

0,0003i

св. 9

±3 мм

3. Отклонение ординат строительного подъема каждой главной фермы или балки пролетного строения от теоретических для всех автодорожных мостов и железнодорожных с ездой по безбалластному мостовому полотну при ординатах h, мм:

 

до 60 включительно

±3 мм

св. 60

±0,05h

4. Отклонение ординаты строительного подъема ферм или балок стальных и сталежелезобетонных пролетных строений железнодорожных мостов с ездой по балласту при ординатах h, мм:

 

до 60 включительно

±6 мм

св. 60

±0,1h

5. Отклонение линейных размеров главных балок сталежелезобетонных конструкций, мм:

 

расстояние между смежными группами отверстий для крепления блоков плит на болтах по верхним поясам

±1 мм

то же между крайними группами на длине монтажной секции (или панели)

±3 мм

то же между группами, примыкающими к монтажному стыку (или узлу)

±2 мм

смещение продольной оси группы монтажных отверстий от оси стенки

±2 мм

6. Разность длин диагоналей между смежными группами отверстий по верхним поясам

4 мм

7. Отклонение в плане оси главной балки или фермы от проектной оси при пролете L

0,0002L

8. Отклонение в плане одного из узлов от прямой, соединяющей два соседних с ним узла, при длине панели i

0,001i

14. ОТГРУЗКА КОНСТРУКЦИЙ

14.1. Конструкции мостов перед отгрузкой их потребителю необходимо защищать от коррозии в соответствии с указаниями стандарта предприятия СТП 001-99, а также регламентов на конкретные системы защиты, предусмотренные проектом мостового сооружения.

Регламенты должны разрабатываться заводами-изготовителями на основе сертификатных данных на лакокрасочные материалы.

14.2. Технологический процесс защиты мостовых конструкций от коррозии на заводе-изготовителе должен включать последовательное выполнение операций по подготовке поверхностей, грунтованию их и нанесению покрывных лакокрасочных материалов (ЛКМ) в зависимости от принятой системы защиты, условий эксплуатации и степени агрессивности окружающей среды.

В чертежах КМ проектная организация указывает, как правило, способ и систему защиты от коррозии, марки ЛКМ, число наносимых слоев покрытия, цвет окрашенных конструкций, степень агрессивного воздействия среды, в которой будет эксплуатироваться мост в соответствии со СНиП 2.03.11-85.

14.3. Отправочные марки и монтажные элементы должны быть замаркированы в соответствии с монтажно-маркировочной схемой и чертежами КМ.

Маркировочные знаки следует наносить непосредственно на отгружаемых элементах. При пакетировке плоских одноименных элементов (фасонок, накладок и т.п.) полностью маркировочные знаки следует наносить на одном наружном элементе, а на остальных ставить номер марки и металлургической плавки.

Маркировка должна содержать: название завода-изготовителя, номер заказа, марку по монтажно-маркировочной схеме, клейма ОТК и контролирующей организации, номер металлургической плавки.

Маркировку следует наносить буквенными и цифровыми клеймами с повторением несмываемой краской. На сварных отправочных марках клейма ставятся не ближе 100 мм от места наложения заводских и монтажных швов.

14.4. Транспортная маркировка (центр тяжести, места строповки, негабаритность, предупредительные надписи «сцеп не разъединять», «с горок не спускать», «при маневрах не толкать») производится в соответствии с требованиями ГОСТ 14192-77.

14.5. Погрузка, крепление и транспортирование элементов конструкций на открытом подвижном железнодорожном составе должны осуществляться в соответствии с «Правилами перевозки грузов», «Техническими условиями погрузки и крепления грузов», утвержденными МПС, и по согласованным с Отделением дороги схемам погрузки и крепления грузов на подвижном составе.

Схемы погрузки и крепления негабаритных грузов должны согласовываться с МПС. Перевозку конструкций на Крайний Север и в труднодоступные районы следует осуществлять в соответствии с ГОСТ 15846-79.

14.6.* Погрузка, выгрузка и хранение конструкций должны выполняться способами, исключающими повреждение их и защитного покрытия. Сбрасывание конструкций при погрузке и разгрузке не допускается. При приварке транспортных планок, укосин и других крепежных деталей следует выполнять требования разделов 6 ... 8 настоящих норм. Приварка транспортных планок к свободным кромкам поясов главных балок и настильным листам ортотропных и ребристых плит не рекомендуется. Не допускается приварка транспортных обустройств к основным несущим конструкциям железнодорожных и совмещенных мостов.

14.7. Стальные конструкции мостов должны отгружаться комплектно по заказам в соответствии с ведомостями готовых элементов и монтажно-маркировочными схемами заводов-поставщиков.

14.8. Транспортные обустройства, привариваемые к отгружаемым с завода конструкциям, должны быть изготовлены из сталей, перечисленных в разделе 1 настоящего СТП.

Приемку сварных соединений транспортных обустройств следует выполнять в соответствии с указаниями раздела 9 настоящего СТП.

Места приварки транспортных обустройств после газокислородной резки должны быть зачищены абразивным инструментом в соответствии с разделом 11 настоящего СТП с номинальным заглублением в основной металл на 0,5 мм. Риски от наждачного круга должны быть направлены вдоль кромки, к которой приварены детали транспортного обустройства. Качество кромок после зачистки должно соответствовать п. 11.3.

15. ОБЕСПЕЧЕНИЕ БЕЗОПАСНОСТИ ТРУДА

15.1. При заводском изготовлении стальных конструкций мостов должны соблюдаться:

- Правила устройства и безопасной эксплуатации грузоподъемных кранов;

- Правила устройства и безопасной эксплуатации сосудов, работающих под давлением;

- Правила устройства и безопасной эксплуатации стационарных компрессорных установок, воздухопроводов и газопроводов;

- Правила техники безопасности при эксплуатации электроустановок;

- Правила безопасности в газовом хозяйстве;

- Правила пожарной безопасности при проведении сварочных и других огневых работ на объектах народного хозяйства;

- Санитарные правила при сварке, наплавке и резке металлов;

- Санитарные правила при окрасочных работах с применением ручных распылителей;

- ГОСТ 12.4.011-75*. Средства защиты работающих;

- ГОСТ 12.3.003-75. Работы электросварочные. Общие требования безопасности;

- ГОСТ 12.1.004-76. Пожарная безопасность. Общие требования;

- ГОСТ 12.3.009-76. Работы погрузо-разгрузочные. Общие требования безопасности;

- ГОСТ 12.1.003-76. Шум. Общие требования безопасности;

- ГОСТ 12.1.005-76. Воздух рабочей зоны. Общие санитарно-гигиенические требования;

- ГОСТ 12.4.080-79. Светофильтры стеклянные для защиты глаз от вредных излучений на производстве.

15.2. На основании перечисленных в п. 16.1 действующих нормативных документов и стандартов заводы, занимающиеся изготовлением стальных конструкций, разрабатывают инструкции и стандарты предприятия, по которым производят обучение и инструктаж рабочих безопасным методам производства работ.

15.3. При приеме на работу с рабочими должны проводиться: вводный инструктаж, первичный инструктаж на рабочем месте и обучение по охране труда при профессиональной подготовке рабочих.

В ходе работы проводятся текущие инструктажи при изменении условий работ или переходе на другую работу, а также периодическая проверка знаний техники безопасности не реже одного раза в год.

Все данные по проведенным инструктажам и обучению должны заноситься в соответствующие журналы.

15.4. Инженерно-технические работники, занятые производством металлоконструкций, обязаны периодически, не реже одного раза в год проходить проверку знания ими правил техники безопасности и производственной санитарии с учетом характера выполняемых работ. При переходе ИТР на другую работу, а также по требованию органов государственного надзора и технической инспекции труда должна производиться внеплановая проверка знаний техники безопасности.

15.5. Общее руководство работой всех структурных подразделений по обеспечению безопасности труда возлагается на руководителя предприятия. Непосредственно службой техники безопасности обязан руководить главный инженер предприятия.

Для ведения текущей работы на предприятии организуется отдел техники безопасности или назначается старший инженер.

Приложение А

Обязательное

ПОРЯДОК И РЕЖИМЫ МЕХАНИЧЕСКОЙ ПРАВКИ СТАЛЬНОГО ЛИСТА

Рекомендуется соблюдать следующий порядок правки на листоправильных вальцах:

- укладывают деформированный лист на подающий рольганг;

- измеряют деформацию листа;

- устанавливают режимы правки в соответствии табл. А1 и пропускают лист через листоправильную машину;

- вновь измеряют деформации;

- корректируют режимы правки и обратным ходом лист пропускают через правильную машину.

Таблица А1. Режимы правки листа

Толщина листа, мм

Значение величины зазора между валками с и превышение крайних валков нижнего ряда l (для сталей марок 15ХСНД и 10ХСНД)

15ХСНД (горячекатаная или нормализованная)

10ХСНД (термообработанная)

с

l

с

l

8

0,8 ... 5,2

1,84

0 ... 4,8

1,58

12

7,2 ... 10,1

1,20

6,7 ... 9,8

1,58

16

12,4 ... 14,6

0,92

12,0 ... 14,4

0,76

20

17,1 ... 18,9

0,73

16,8 ... 18,7

0,63

24

21,6 ... 23,0

0,61

21,3 ... 22,9

0,53

28

25,9 ... 27,2

0,53

25,7 ... 27,1

0,45

32

30,2 ... 31,3

0,46

30,0 ... 31,2

0,39

36

34,4 ... 35,4

0,41

34,2 ... 35,3

0,35

40

38,6 ... 39,4

0,37

38,4 ... 39,4

0,32

Скорость правки листов толщиной 10 ... 20 мм и шириной 1500 ... 2500 мм на листоправильной машине устанавливают в пределах 0,10 ... 0,15 м/с, а листов толщиной 20 ... 50 мм и шириной 2500 ... 4000 мм - 0,06 ... 0,10 м/с.

Таблица А2. Пределы допустимости гибки и правки стали в холодном состоянии

Прокат

Эскиз

Относительно оси

Правка - предельно допускаемый прогиб f, мм

Гибка - допускаемый минимальный радиус r, мм

Листовая, универсальная, полосовая, квадратная сталь.

Описание: Без имени-1копирование

х-х

25S

у-у

-

Уголок

Описание: Без имени-1копирование

х-х

45b1

у-у

45b2

Швеллер

Описание: Без имени-1копирование

х-х

25h

у-у

45b

Двутавр

Описание: Без имени-1копирование

х-х

25h

у-у

25b

Грунтосварные профили

Описание: Без имени-1копирование

х-х

30b1

у-у

30b2

Труба

Описание: Без имени-1копирование

-

30d

Обозначение: l - длина отрезка элемента с прогибом одного знака.

Примечания: 1. Правку универсальной и полосовой стали нагревом выпуклой стороны пламенем газовой горелки разрешается производить при любой стреле саблевидности.

2. Минимальный радиус кривизны при гибке листовых деталей, воспринимающих статическую нагрузку, может быть принят равным 12,5d.

3. Формулы для определения стрелы прогиба при правке и гибке стали действительны при длине хорды, не превышающей 1,5р.

Приложение Б

Рекомендуемое

Таблица Б1. ОРИЕНТИРОВОЧНАЯ ЭФФЕКТИВНАЯ МОЩНОСТЬ ПЛАМЕНИ ДЛЯ ТЕРМИЧЕСКОЙ ПРАВКИ МЕТАЛЛА

Тип горючего газа

Номер наконечника

Расход кислорода, дм3

Расход горючего, дм3

Ориентировочная эффективная мощность, квт

Ацетилен

5

740 ... 1200

680 ... 1100

5,5

6

1150 ... 1950

1050 ... 1750

7,0 ... 8,5

7

1900 ... 3100

1700 ... 2800

8,5 ... 10,0

8

3100 ... 5000

2800 ... 4500

12,0 ... 15,0

9

5000 ... 9000

4500 ... 7000

15,0 ... 17,0

Пропан

5

1350 ... 2200

400 ... 450

10,5 ... 11,5

6

2200 ... 3600

650 ... 1050

11,5 ... 13,0

7

3500 ... 5800

1050 ... 1700

13,0 ... 14,0

Таблица Б2. ЦВЕТА КАЛЕНИЯ И ПОБЕЖАЛОСТИ ПРИ НАГРЕВЕ И ОХЛАЖДЕНИИ СТАЛИ

Цвета каления при нагреве (закалке)

Температура, °С

Цвета побежалости при охлаждении (отпуск)

Температура, °С

Красный в темноте

470

Соломенно-желтый

220

Темно-красный

530

Желтый

240

Темно-вишнево-красный

640

Коричнево-желтый

255

Вишнево-красный

750

Красновато-коричневый

265

Светло-вишнево-красный

840

Пурпурно-красный

275

Оранжевый

900

Фиолетовый

285

Желтый

1000

Темно-синий

295

Белый

1200

Светло-голубой

310

Температура кузнечной сварки

1400

Серый

325

Приложение В

Рекомендуемое

ОРИЕНТИРОВОЧНЫЕ РЕЖИМЫ ДРОБЕМЕТНОЙ ОЧИСТКИ СТАЛЬНОГО ПРОКАТА НА ПОТОЧНЫХ ЛИНИЯХ

Листовой прокат

Толщина листа, мм

6 - 10

12 - 14

16 - 20

25 - 30

32 - 40

45 и выше

Скорость очистки, м/мин

3,5

3,0

2,5

2,0

1,5

1,0

Сортовой прокат

Наименование проката

Уголок

Швеллер

Двутавр

Величина полки или номер проката

полка до 100 мм

полка от 100 до 200 мм

полка более 200 мм

до № 24

более № 24

до № 18

от № 18 до № 22

от № 22 до № 30

более № 30

Скорость очистки, м/мин.

3,0

2,0

1,5

4,0

3,0

4,0

3,5

2,5

2,0

Допускается производить очистку на меньших скоростях, если этого требует режим консервации.

Приложение Г

Рекомендуемое

РЕЖИМЫ РЕЗАНИЯ ФРЕЗЕРНО-ОТРЕЗНЫМИ СТАНКАМИ СТАЛЕЙ С ВРЕМЕННЫМ СОПРОТИВЛЕНИЕМ 520 - 600 МПа

Диаметр пилы, мм

Диаметр или высота пропила, мм, до

Подача на 1 зуб пилы, мм/зуб до

Число зубьев

0,05

0,1

0,15

Скорость резания, мм/мин.

Число оборотов в 1 мин.

Подача, мм/мин.

Скорость резания, мм/мин

Число оборотов в 1 мин.

Подача, мм/мин.

Скорость резания, мм/мин.

Число оборотов в 1 мин.

Подача, мм/мин.

стойкость 960 мин.

50

39,1

17,6

65,6

33,4

14,9

120,7

27,6

14,1

155,2

100

29,3

13,1

49,5

25,3

11,5

92,0

24,1

10,8

138,4

150

25,3

11,5

42,5

22,1

9,9

79,4

20,8

9,4

103,5

200

23,6

10,6

39,1

20,1

9,1

72,4

18,9

8,5

92,0

250

22,1

9,9

36,8

18,1

8,5

69,0

-

-

-

стойкость 1200 мин.

75

32,2

10,2

47,1

27,6

8,7

88,6

26,4

8,3

113,8

100

29,3

9,2

43,7

25,3

8,1

80,5

24,1

7,5

102,3

150

25,3

8,0

37,9

21,5

6,8

69,0

20,2

6,3

87,4

250

21,7

6,9

32,2

18,6

5,9

58,6

17,5

5,5

75,9

350

19,4

6,1

26,4

16,7

5,3

52,9

-

-

-

Приложение Д

Рекомендуемое

РЕЖИМЫ МАШИННОЙ КИСЛОРОДНОЙ И ПЛАЗМЕННО-ДУГОВОЙ РЕЗКИ СТАЛИ. КОНТРОЛЬ КАЧЕСТВА КРОМОК. ТЕХНОЛОГИЯ РЕМОНТА КРОМОК СВАРКОЙ

Д1. РЕКОМЕНДУЕМЫЕ РЕЖИМЫ МАШИННОЙ КИСЛОРОДНОЙ РЕЗКИ НИЗКОЛЕГИРОВАННОЙ СТАЛИ

Параметры режима резки

Способ резки

Значения параметров режима при толщине металла, мм:

10

16

20

25

32

40

Скорость резки, мм/мин.

Обычн.

460

350

320

300

280

260

Смыв-процесс

1100

820

660

510

460

370

С кислор. завесой

320 ... 280

320 ... 280

300 ... 260

Давление кислорода, МПа (кгс/см2)

Обычн.

0,4 (4)

0,5 (5)

0,5 (5)

0,5 (5)

0,55 (5,5)

0,6 (6)

Смыв-процесс

0,6 (6)

0,7 (7)

0,8 (8)

0,8 (8)

0,8 (8)

0,9 (9)

С кислор. завесой

0,6 (6)

0,7 (7)

0,7 (7)

0,7 - 0,8 (7 - 8)

0,8 (8)

0,9 (9)

Давление кислорода завесы МПа (кгс/см2)

То же

0,04 ... 0,06 (0,4 ... 0,6)

0,04 ... 0,08 (0,4 ... 0,8)

0,04 ... 0,08 (0,4 ... 0,8)

Давление ацетилена или газозаменителя МПа (кгс/см2)

Обычн.

Не менее 0,04 (0,4)

Смыв-процесс

Не менее 0,08 (0,8)

С кислор. завесой

Не менее 0,04 (0,4)

Расход кислорода режущего, подогревающего и завесы, м3

Обычн.

3,3 ... 3,5

3,8 ... 4

4,9 ... 5,1

5,1 ... 5,3

5,4 ... 5,3

6,4 ... 6,6

Смыв-процесс

14

14,5

15

15,5

16

17

С кислор. завесой

7 ... 8

7 ... 9

9 ... 11

Расход ацетилена, м3

Обычн.

0,4 ... 0,5

 

Смыв-процесс

0,9 ... 1,2

 

С кислор. завесой

0,3 ... 0,4

0,3 ... 0,5

0,3 ... 0,5

Расход газозаменителя ацетилена, м3

Обычн.

0,15 ... 0,3

Смыв-процесс

0,5 ... 0,7

С кислор. завесой

0,15 ... 0,3

Номер внутреннего мундштука

Обычн.

1

1

1

1

2

2

С кислор. завесой

1

1

2

2

3

3

Номер наружного мундштука

Обычн.

1

1

1

1

1

1

Расстояние от мундштука до листа, мм

Обычн.

4

4

4

4 ... 5

5

5

С кислор. завесой

10 ... 12

Ширина реза, мм

Обычн.

3

3

4

4

4

4 - 5

Смыв-процесс

8 ... 9

С кислор. завесой

4

4

4 ... 5

4 ... 5

5

5 ... 6

Примечания: 1. Режимы даны для чистоты кислорода 99,5 % (2-й сорт по ГОСТ 5583-78). При использовании кислорода 1-го сорта скорость резки повышается на 25 %; 3-го сорта - понижается на 10 %.

2. При резке малоуглеродистых сталей допускается повышать скорость резки на 5 - 10 %.

3. Резка способом «смыв-процесс» применима только для прямолинейной разделительной резки.

Д2. РЕКОМЕНДУЕМЫЕ РЕЖИМЫ МАШИННОЙ ПЛАЗМЕННО-ДУГОВОЙ РЕЗКИ МАЛОУГЛЕРОДИСТЫХ И НИЗКОЛЕГИРОВАННЫХ СТАЛЕЙ

Параметры режима резки

Значения параметров режима при толщине металла, мм

8

10

12

14

16

20

25

32

Сила тока, А

 

270 - 310

 

 

 

Напряжение дуги В:

 

 

 

 

 

 

при кислородно-плазменной резке

115 - 120

120 - 125

125 - 130

130 - 135

135 - 140

145 - 150

при воздушно-плазменной

140 - 145

145 - 150

150 - 155

155 - 160

165 - 170

170 - 175

180 - 185

Скорость резки, мм/мин:

 

 

 

 

 

 

 

 

кислородно-плазменной

2800 - 3200

2400 - 2700

2000 - 2200

1700 - 1900

1500 - 1700

1100 - 1300

1000 - 1200

600 - 700

воздушно-плазменной

2600 - 3000

2200 - 2500

1800 - 2200

1600 - 1800

1400 - 1600

1000 - 1200

800 - 1000

600 - 700

Ширина реза по нижней плоскости листа, мм

2,5 - 3

Расстояние от резака до разрезаемого листа, мм

10 - 12

Расход кислорода или воздуха, м3/ч:

 

на зажигание

0,9 - 1,2

на резку

4,2 - 5,4

Примечания: 1. Режимы резки листов промежуточных толщин определяются интерполяцией.

2. Плазменно-дуговая резка должна производиться на постоянном токе прямой полярности (минус на электроде).

Д3.* КОНТРОЛЬ КАЧЕСТВА КРОМОК

При машинной термической (газокислородной и плазменно-дуговой) резке металлопроката рекомендуется проверять твердость и пластичность стали на кромках.

Данную проверку выполняют для трех групп толщин проката (по три образца на группу):

I группа для толщин 10 ... 20 мм;

II группа для толщин 25 ... 32 мм;

III группа для толщин более 32 мм.

Периодичность проверки: при освоении заводом термической резки проката из новых марок сталей, а затем - по внутризаводскому графику или по требованию мостовой инспекции.

Твердость проверяют на макрошлифах, изготовленных из контрольных образцов. Макрошлиф изготовляют по кромке согласно рис. Д1.

Описание: Без имени-1копирование

Рис. Д1:

1 - плоскость шлифа; 2 - поверхность кромки после резки

Величина твердости металла в зоне, прилегающей к поверхности реза, не должна превышать 400 HV.

Пластичность кромок проверяется испытаниями контрольных образцов (рис. Д2) на изгиб в холодном состоянии (по ГОСТ 14019).

Описание: Без имени-1копирование

Рис. Д2:

1 - поверхность кромки после резки; 2 - образец для испытаний на загиб

Результаты испытаний на загиб считаются положительными, если на поверхности испытуемой кромки, полученной после машинной газовой или плазменной резки, не появились трещины при угле загиба на 120°.

Д4.* ТЕХНОЛОГИЯ РЕМОНТА КРОМОК ПОСЛЕ ТЕРМИЧЕСКОЙ РЕЗКИ ЭЛЕКТРОДУГОВОЙ СВАРКОЙ

Д4.1. Заварку отдельных выхватов на кромках, глубина которых не превышает 10 мм, выполняют ручной электродуговой сваркой на флюсо-медной подкладке электродами типа Э50А марки УОНИ 13/55 или других марок, соответствующих типу Э50А. Ток постоянный обратной полярности (плюс на электроде), диаметр электродов 3 - 4 мм, прокалка по режиму, приведенному в сертификате. Сила тока  = 80 - 100 А для электродов диаметром 3 мм и 130 - 160 А для диаметра 4 мм.

Д4.2. Кромки выхвата и прилегающих к нему зон зачищают армированным наждачным кругом с обеих сторон.

Медную пластину жестко закрепляют снизу. В пластине должна быть выточка глубиной 3 - 4 мм под сварочный флюс. Флюс насыпают слоем 2 - 3 мм. Ремонтируемую деталь располагают горизонтально или с наклоном до 30° в сторону кромки.

Д4.3. Заварку разделанного выхвата производят слоями снизу вверх с обеспечением проплавления каждого нижележащего слоя и усиления (выхода наплавленного металла на 2 - 3 мм за пределы кромки и прокатной поверхности листа). Это усиление затем снимают механической обработкой заподлицо c кромкой и поверхностями листа и с плавным округлением углов.

Д4.4. К качеству заварки выхватов по кромкам предъявляются такие же требования, как к качеству сварных соединений. Контроль качества и приемка отремонтированных деталей осуществляются в соответствии с требованиями настоящих норм.

Приложение Е*

Справочное

ПРИПУСКИ ПРИ РАЗМЕТКЕ ДЕТАЛЕЙ

Назначение припуска

Наименование, характеристика

Размер припуска, мм

Ширина реза при термической резке, замеряемая по середине толщины проката

Ручная и машинная, газокислородная и плазменно-дуговая резка при толщине стали, мм:

 

8 - 14

4

16 - 32

5

40 - 60

6

Фрезерование торцов

На каждый фрезеруемый торец

5

Строгание и фрезерование кромок

На каждую обрабатываемую кромку после резки на ножницах и ручной термической резки

³ 2

Усадка от сварки

Укорочение сварного полотнища от каждого поперечного стыкового шва при толщине стали, мм:

 

до 16

1

20 - 40

2

50 - 60

3

Укорочение сварного двутавра от четырех продольных поясных швов катетом 8 мм:

 

а) при высоте стенки до 1 м и толщине поясов до 25 мм

0,1 мм/м

б) при высоте стенки более 1 м и толщине поясов более 25 мм

0,05 мм/м

Укорочение балок от приварки пары поперечных ребер с двух сторон четырьмя угловыми швами:

 

а) при высоте стенки до 1 м и толщине поясов до 25 мм

1

б) при высоте стенки более 1 м и толщине поясов более 25 мм

0,5

Приложение Ж

Рекомендуемое

РЕЖИМЫ СТРОГАНИЯ, ФРЕЗЕРОВАНИЯ И СВЕРЛЕНИЯ СТАЛЕЙ

Работы по строжке и фрезерованию деталей мостовых конструкций надлежит выполнять на кромкострогальных и кромкофрезерных, продольно-строгальных и поперечно-строгальных, карусельных, универсальных сверлильно-фрезерных станках.

Столы и другие вспомогательные устройства к станкам должны обеспечивать возможность быстрой и точной установки детали и ее надежного крепления.

При выполнении работ по строганию и фрезерованию необходимо обеспечить жесткость системы: станок-приспособление-инструмент-деталь.

Резцы и, в особенности, сборные торцевые фрезы должны быть приняты ОТК завода-изготовителя конструкций. Параметры строгальных резцов приведены в табл. Ж1.

Режимы резания при фрезеровании кромок листовых деталей из стали с временным сопротивлением 600 - 800 МПа на двухсторонних станках торцевыми фрезами диаметром 250 мм с 16 зубьями из пластин твердого сплава при стойкости фрезы 300 мин. приведены в табл. Ж2.

Режимы и приемы строжки на кромкострогальных станках приведены в табл. Ж3.

РЕЖИМЫ СВЕРЛЕНИЯ

Станки для образования отверстий следует оборудовать вспомогательными устройствами - столами, стеллажами, пакетировщиками и т.п., обеспечивающими быструю ориентацию и надежное закрепление деталей.

Рабочий инструмент для сверления - сверла, должны обеспечивать возможность сверления отверстий во всех применяемых для мостостроения сталях, обладать достаточной износостойкостью. Для уменьшения усилия резания, повышения стойкости инструмента следует применять смазочно-охлаждающие жидкости.

Таблица Ж1. Параметры строгальных резцов

Форма заточки, обозначение

Сечение резца

Строгальные резцы из быстрорежущей стали

 

В

Н

Заточка и доводка передней поверхности

a

g

gф

f

R

b

h

 

Радиусная с фаской

25

40

Описание: Без имени-1копирование

 

 

 

0,5

 

 

 

 

30

45

6 ... 8

20

0

0,8

35

10

0,4

 

40

60

 

 

 

1,0

 

 

 

 

Криволинейная с фаской IIб

25

40

Описание: Без имени-1копирование

 

 

 

0,5

 

 

 

 

30

45

6 ... 8

20

5

0,8

30

9

0,4

 

40

60

 

 

 

1,0

 

 

 

 

Радиусная с фаской IIIб

25

40

Описание: Без имени-1копирование

 

 

 

0,4

 

 

 

 

30

45

6 ... 8

5

0

0,5

30

9

0,4

 

40

60

 

 

 

0,8

 

 

 

 

С пластинками из твердого сплава

 

Радиусная с фаской

25

40

Описание: Без имени-1копирование

 

 

 

0,5

 

 

 

 

30

45

3 ... 4

15

0

0,8

15

8

1 ... 1,2

30

60

 

 

 

1,0

 

 

 

 

Плоская с отрицательной фаской IIт

25

40

Описание: Без имени-1копирование

 

 

 

1,0

 

 

 

 

30

46

6

10

5

1,2

 

 

 

 

40

60

 

 

 

1,3

 

 

 

 

Таблица Ж2. Режимы резания и фрезерования

Толщина пакета, мм

Эскиз установки фрезы

Вид обработки

Глубина резания, мм

Продольное перемещение фрезы, мм/мин.

Число оборотов фрезы, об/мин.

20 ... 60

Описание: Без имени-1копирование

черновая

4 ... 5

830

160

6 ... 7

580

160

1 ... 2

400

200

60 ... 100

черновая

4 ... 5

580

160

6 ... 7

580

200

1 ... 2

400

200

100 ... 160

черновая

4 ... 5

580

160

6 ... 7

400

200

1 ... 2

400

200

160 ... 200

черновая

4 ... 5

400

160

6 ... 7

400

200

1 ... 2

400

200

Разделка кромок

черновая

6 ... 8

580

200

8 ... 10

400

200


Таблица Ж3. Режимы строгания

Обрабатываемый материал

Способ и приемы строжки

Режущий

Вид строжки

Стружка

Скорость резания, м/мин.

Обрабатываемый материал s, МПа

Режущий инструмент

Вид строжки

Стружка

Скорость резания, м/мин.

s, МПа

Толщина заготовки или пакета, мм

материал

форма заточки

толщина S, мм

ширина h. мм

материал

форма заточки

толщина S, мм

ширина h, мм

350 - 550

Описание: Без имени-1копирование

Описание: Без имени-1копирование

Р9

черновая

1,7

16

 

 

 

 

черновая

1,4

16

 

Р18

14 - 28

550 - 1000

ТТ7К12

14 ... 28

ВК8

чистовая

0,3

18

 

 

Т5К10

 

чистовая

0,3

16

 

350 - 550

Описание: Без имени-1копирование

Описание: Без имени-1копирование

Р9

IIб

черновая

1,4

26

 

 

 

 

черновая

1,0

25

 

Р18

14 - 28

550 - 1000

ТТ7К12

14 ... 28

ВК8

чистовая

0,3

40

 

 

Т5К10

 

чистовая

0,3

40

 

После кислородной резки

Описание: Без имени-1копирование

Описание: Без имени-1копирование

Р9

черновая

0,8

£ 25

 

После кислородной резки

 

 

черновая

0,8

£ 25

 

Р18

14 - 28

ТТ7К12

14 ... 28

Т5К10

чистовая

0,3

40

 

 

 

чистовая

0,3

40

 

ТТ7К12

 

 

 

350 - 550

Описание: Без имени-1копирование

Описание: Без имени-1копирование

Р9

IIб

черновая

1,5

20

 

 

Т5К10

 

черновая

1,2

20

 

Р18

14 - 28

550 - 1000

14 ... 28

ВК8

1,2

£ 25

 

 

ТТ7К12

 

0,8

£ 25

 

350 - 550

Описание: Без имени-1копирование

Описание: Без имени-1копирование

Р9

 

черновая

1,5

16

 

 

 

 

черновая

1,4

16

 

Р18

14 - 28

550 - 1000

Т5К10

14 ... 28

ВК8

 

чистовая

0,3

16

 

 

ТТ7К12

 

чистовая

0,3

16

 


Правильность заточки сверл должна быть проконтролирована шаблонами.

Таблица Ж4. Режимы сверления

Материал инструмента

Подача, мм/об.

Скорость резания, м/мин., при стойкости 30 мин.

Скорость резания, м/мин., при стойкости 60 мин.

Диаметр сверла, мм

Диаметр сверла, мм

15 ... 20

20 ... 25

25 ... 30

15 ... 20

20 ... 25

25 ... 30

Сталь с пределом прочности 450 ... 520 МПа

Р6М5

0,15

16,7

19,2

21,3

14,9

17,1

19,2

0,20

13,4

15,3

17,1

12,0

13,1

15,2

0,25

11,4

13,1

14,6

10,3

11,7

13,1

0,32

9,4

10,7

11,9

8,4

9,7

10,7

0,43

7,6

8,7

8,7

6,8

7,7

9,6

Р9К5

0,15

18,4

21,1

23,4

16,4

18,7

21,1

0,20

14,8

16,8

18,9

13,1

15,1

16,7

0,25

12,6

14,4

16,0

11,3

12,9

14,4

0,32

10,3

11,7

13,1

9,2

10,4

11,7

0,43

8,4

9,6

10,7

7,5

8,4

9,5

Р18

0,15

16,9

19,4

21,5

15,2

17,4

19,4

0,20

13,8

15,7

17,4

12,2

14,0

15,5

0,25

11,7

12,8

14,9

10,6

12,0

13,4

0,32

9,6

11,1

12,2

8,7

9,8

11,1

0,43

7,8

8,9

11,8

7,0

8,0

9,9

Сталь с пределом прочности 520 ... 650 МПа

Р6М5

0,15

16,5

19,2

21,8

14,5

16,9

19,2

 

0,20

12,3

14,4

16,4

10,8

12,7

14,4

 

0,25

9,9

11,5

13,1

8,7

10,1

11,5

 

0,32

7,7

9,0

10,3

6,8

7,9

9,0

 

0,43

5,7

6,7

7,6

5,0

5,9

6,7

Р9К5

0,15

18,2

21,1

24,0

15,9

18,6

21,1

0,20

13,5

17,4

18,0

11,9

14,0

15,8

0,25

10,9

12,7

14,4

9,6

11,1

12,7

0,32

8,5

9,9

11,3

7,5

6,7

9,9

 

0,43

6,3

7,4

8,4

5,5

6,5

7,4

Р18

0,15

16,8

19,5

22,1

14,8

17,3

19,5

 

0,20

12,6

14,7

16,6

11,1

12,8

14,7

 

0,25

10,2

11,8

13,4

9,0

10,4

11,8

 

0,32

8,0

9,4

10,6

7,1

8,3

9,3

 

0,43

6,0

6,3

7,9

5,4

6,2

7,0

Приложение И

РЕЖИМЫ ХОЛОДНОЙ ГИБКИ СТАЛИ С ПРЕДЕЛОМ ТЕКУЧЕСТИ 400 МПа С УЧЕТОМ ПРУЖИНЕНИЯ

Радиус готового изделия, мм

Радиус изгиба при sт = 400 МПа и толщине листа, мм

10

12

14

16

20

25

32

40

500

386

400

411

420

433

444

452

461

1000

626

675

707

732

772

807

840

866

1500

814

878

931

975

1045

1110

1174

1224

2000

950

1036

1109

1171

1272

1367

1465

1544

2500

1058

1164

1254

1333

1464

1590

1721

1831

3000

1146

1269

1377

1471

1629

1785

1950

2091

3500

1220

1359

1481

1589

1773

1957

2156

2327

4000

1284

1436

1572

1693

1900

2111

2342

2544

4500

1340

1504

1651

1784

2014

2250

2512

2743

5000

1388

1564

1722

1863

2116

2375

2667

2928

Для гибки листового металла по радиусу следует применять симметричные и несимметричные трехвалковые и четырехвалковые листогибочные машины.

В машинах с симметричной схемой расположения валков передний и задний края листа после гибки остаются прямыми на длину, примерно равную половине расстояния между нижними валками, и подгибку листа в этом случае надлежит предварительно выполнить на прессах или подкладных листах.

Машины с асимметричной схемой расположения валков позволяют защемлять лист между верхним и нижним валками, что дает возможность практически без подгибки гнуть один край листа. Для подгибки второго края лист следует развернуть.

Трехвалковые листогибочные машины с регулировкой валков позволяют производить подгибку краев листов с обеих сторон за одну установку (без разворота листа).

Листогибочные четырехвалковые машины обеспечивают качественную гибку листа с подгибкой обеих сторон за одну установку его в машину.

Приложение К

Рекомендуемое

Типы и условные обозначения швов сварных соединений в соответствии с ГОСТ 2.312-72 (Условные изображения и обозначения швов сварных соединений), ГОСТ 8713-79 (Сварка под флюсом), ГОСТ 5264-80 (Ручная дуговая сварка), ГОСТ 14771-76* (Дуговая сварка в защитном газе), ГОСТ 16098-80 (Соединения сварные из двухслойной коррозионно-стойкой стали)

Условное обозначение и тип сварного соединения

Подготовка кромок

Форма и характеристика швов

Способ сварки

Обозначения на чертежах КМ и КМД

С29 стыковое

Описание: Без имени-1копирование

Без скоса

Описание: Без имени-1копирование

Двусторонний

Афф - автоматическая под флюсом на флюсовой подушке

Описание: Без имени-1копирование

С7 Стыковое

Описание: Без имени-1копирование

Без скоса

Описание: Без имени-1копирование

Двусторонний

УП (ИП - в углекислом газе (в смеси углекислого газа с аргоном) - полуавтомат

Р - ручная

Описание: Без имени-1копирование

С4 Стыковое

Описание: Без имени-1копирование

Без скоса

Описание: Без имени-1копирование

Односторонний

Афф (Афм) - автоматическая под флюсом на флюсовой подушке (флюсо-медной подкладке)

Описание: Без имени-1копирование

С9 Стыковое

Описание: Без имени-1копирование

Со скосом одной кромки

Описание: Без имени-1копирование

Односторонний

То же

Описание: Без имени-1копирование

С8; С9 стыковое

Описание: Без имени-1копирование

Со скосом одной кромки

Описание: Без имени-1копирование

Односторонний без подкладки - С8 или на съемной подкладке - С9

УП (ИП) - в углекислом газе (в смеси защитных газов) - полуавтомат.

Р - ручная

Описание: Без имени-1копирование

С15 стыковое

Описание: Без имени-1копирование

С двумя симметричными скосами одной кромки (К-образный скос)

Описание: Без имени-1копирование

Двусторонний

АФ - автоматическая под флюсом. УП (ИП) - в углекислом газе (в смеси защитных газов) - полуавт.

Р - ручная

Описание: Без имени-1копирование

С17; С18 стыковое

Описание: Без имени-1копирование

С V-образным скосом кромок

Описание: Без имени-1копирование

Односторонний

Афф (Афм) - автоматическая под флюсом на флюсовой подушке (флюсо-медной подкладке). УП (ИП) - в углекислом газе (смеси газов) - полуавт.

Р - ручная

Описание: Без имени-1копирование

С38 стыковое

Описание: Без имени-1копирование

С двумя симметричными скосами

Описание: Без имени-1копирование

Двусторонний

Афф - автоматическая под флюсом на флюсовой подушке

Описание: Без имени-1копирование

С25 стыковое

Описание: Без имени-1копирование

С двумя симметричными скосами

Описание: Без имени-1копирование

Двусторонний

УП (ИП) - в углекислом газе (смеси газов) - полуавтомат.

Р - ручная

Описание: Без имени-1копирование

С21 стыковое

Описание: Без имени-1копирование

С V-образным скосом кромок

Описание: Без имени-1копирование

Двусторонний

Афф (Афмхп) - автоматическая под флюсом на флюсовой подушке (с металлохимической присадкой)

Описание: Без имени-1копирование

С1 применительно только к ГОСТ 16098-80 стыковое

Описание: Без имени-1копирование

Без скоса

Описание: Без имени-1копирование

Односторонний

Афмхп - автоматическая под флюсом, с металлохимической присадкой на флюсомедной подкладке

Описание: Без имени-1копирование

С3 применит. к ГОСТ 16098-80 стыковое

Описание: Без имени-1копирование

Без скоса со снятием плакирующего слоя

Описание: Без имени-1копирование

Односторонний

То же

Описание: Без имени-1копирование

У4 Угловое

Описание: Без имени-1копирование

Без скоса

Описание: Без имени-1копирование

Односторонний

Все способы электродуговой сварки плавящимся электродом по ГОСТ 8713-79; ГОСТ 14771-76

Описание: Без имени-1копирование

У5 Угловое

Описание: Без имени-1копирование

Без скоса

Описание: Без имени-1копирование

Двусторонний

Описание: Без имени-1копирование

У6 Угловое

Описание: Без имени-1копирование

Со скосом одной кромки

Описание: Без имени-1копирование

Односторонний

* К - катет шва, мм

** условные изображения сварных швов по ГОСТ 2.312-72

Описание: Без имени-1копирование

У7 угловое

Описание: Без имени-1копирование

Со скосом одной кромки

Описание: Без имени-1копирование

Двусторонний

Описание: Без имени-1копирование

 - заводской

Описание: Без имени-1копирование

Т3 тавровое, Т3 спл (со сплошным проплавлением)

Описание: Без имени-1копирование

Без скоса

Описание: Без имени-1копирование

Двусторонний

Описание: Без имени-1копирование

 - монтажный

Описание: Без имени-1копирование

Т6 тавровое

Описание: Без имени-1копирование

Со скосом одной кромки

Описание: Без имени-1копирование

Односторонний

 

Описание: Без имени-1копирование

Т7 тавровое

То же

Описание: Без имени-1копирование

Двусторонний

 

Описание: Без имени-1копирование

Т8 тавровое

Описание: Без имени-1копирование

Со скосом двух кромок

Описание: Без имени-1копирование

Двусторонний

То же

Описание: Без имени-1копирование

Н1 нахлесточное

Описание: Без имени-1копирование

Описание: Без имени-1копирование

Односторонний

 

Описание: Без имени-1копирование

Н2 нахлестанное

Описание: Без имени-1копирование

Описание: Без имени-1копирование

Двусторонний

 

Описание: Без имени-1копирование

Приложение Л

Рекомендуемое

ТАБЛИЦА ПЕРЕВОДА ТВЕРДОСТИ МЕТАЛЛА

По Роквеллу

По Виккерсу

По Бринеллю

HRC

HV

НВ3000

18

209

207

19

213

212

20

217

217

21

221

223

22

226

229

23

235

235

24

240

241

25

250

248

26

255

255

27

261

262

28

272

269

29

278

277

30

285

286

31

291

293

33

305

302

34

312

311

35

320

321

36

335

332

37

344

340

38

361

351

39

380

364

40

390

375

41

401

387

43

423

402

44

435

418

45

460

430

47

474

444

48

502

460

49

534

477

51

551

495

52

587

512

54

606

532

56

649

555

58

694

578

59

746

600

61

803

627

63

867

652

65

940

-

67

1021

-

69

1114

-

72

1220

-

1. Данные таблицы составлены по Справочнику конструктора-машиностроителя, авт. В.И. Анурьев.

2. НВ3000 - при нагрузке 30D2 = 30´102 = 3000 кгс » 30 кН. Число твердости по Бринеллю соответствует давлению в кгс/мм2.

Приложение М

Справочное

СРЕДСТВА ИЗМЕРЕНИЙ И КОНТРОЛЯ

М1. Рулетки измерительные металлические со штриховыми шкалами по ГОСТ 7502-89 1-го и 2-го классов точности.

Наименование

Типоразмер

Допускаемые отклонения действительной длины (±), мм, не более

1-й класс

2-й класс

В закрытом корпусе (РЗ)

РЗ-2

-

0,4

 

РЗ-5

-

1,0

 

РЗ-10

0,5

1,0

 

РЗ-20

1,0

2,0

 

РЗ-30

-

3,0

 

РЗ-50

-

5,0

На крестовине (РК)

РК-50

2,0

5,0

 

РК-75

-

7,5

 

РК-100

-

10,0

На вилке (РВ)

РВ-20

1,0

2,0

 

РВ-30

-

3,0

 

РВ-50

-

5,0

Отдельные действия:

 

 

 

Дециметровые и метровые

Все

0,2

0,3

Сантиметровые

Все

0,1

0,2

Миллиметровые

Все

0,05

0,1

М2. Линейки измерительные металлические со штриховыми шкалами по ГОСТ 427-75.

Длина, мм

150

300

500

1000

Допускаемые отклонения общей длины линеек и расстояния от любого штриха до начала или конца шкалы, мм

±0,1

±0,1

±0,15

±0,2

Цена деления, мм

0,5 и 1

0,5 и 1

0,5 и 1

0,5 и 1

Отклонение от номинальных значений длин отдельных сантиметровых делений, мм

±0,1

±0,1

±0,1

±0,1

То же, миллиметровых делений, мм

+0,05

+0,05

+0,05

+0,05

М3. Штангенциркули ГОСТ 166-80 и штангенглубиномеры ГОСТ 162-80.

Штангенциркули

Параметр

ШЦ-I, ШЦТ-I

ШЦ-II

ШЦ-III

Значение отсчета по нониусу (один нониус), мм

0,1

0,05

0,1

0,1

Пределы измерений, мм

0 ... 125

0 - 160

0 - 315, 0 - 400, 0 - 500,

 

 

0 - 200

250 - 630, 250 - 800,

 

 

0 - 250

320 - 1000, 500 - 1250,

 

 

 

500 - 1600, 800 - 2000

ШЦ-I - двусторонний с глубиномером;

ШЦТ-I - односторонний с покрытием из твердого сплава, с глубиномером

ШЦ-II -двусторонний (рис. М1);

ШЦ-III - односторонний (рис. М2).

Описание: Без имени-1копирование

Рис. М1. Штангенциркуль ШЦ-II с точностью отсчета по нониусу 0,05 мм:

1 - штанга; 2 - микрометрический винт; 3 - гайка; 4 - нониус; 5 и 6 - губки нижние; 7 и 8 - губки верхние; 9 и 11 - стопорные винты; 10 - рамка; 12 - хомутик

Описание: Без имени-1копирование

Рис. М2. Штангенциркуль ШЦ-III с точностью отсчета по нониусу 0,10 мм:

1 - штанга; 2 - рамка; 3 - зажим рамки; 4 - нониус

М4. Штангенглубиномеры (рис. М3) со значениями отсчета по нониусу 0,05 мм предназначены для измерения глубин до 400 мм. Длина основания 120 мм. Пределы измерений 0 - 160, 0 - 200, 0 - 250, 0 - 315, 0 - 400.

Описание: Без имени-1копирование

Рис. М3. Штангенглубиномер:

1 - рамка; 2 - штанга; 3 - нониус

М5. Штангенрейсмасы (ГОСТ 164-80) применяют для измерений и разметки размеров до 2500 мм. Прибор (рис. М4) имеет значения отсчета по нониусу 0,05 и 0,1 мм, а также следующие пределы измерений, мм: 0 ... 250, 40 ... 400, 60 ... 630, 100 ... 1000, 600 ... 1600, 1500 ... 2500. Вылет ножек штангенрейсмаса не должен быть меньше 50, 60, 125, 160 мм.

Описание: Без имени-1копирование

Рис. М4. Штангенрейсмас:

1 - основание; 2 - измерительная ножка; 3 - штанга; 4 - микрометрическая подача; 5 - нониус; 6 - рамка; 7 - разметочная ножка

М6. Микрометры рычажные (ГОСТ 4381-68) изготовляют с верхним пределом измерений до 2000 мм и отсчетным устройством с ценой деления 0,002 и 0,01 мм.

Типы рычажных микрометров:

МР - для измерения наружных размеров до 100 мм включительно, рис. М5, а;

МРЗ - зубомерные, рис. М5, б;

МРИ - с отсчетным устройством для измерения размеров до 2000 мм, рис. М5, в.

Описание: Без имени-1копирование

Рис. М5. Микрометры рычажные:

1 - скоба; 2 - подвижная пятка; 3 - микрометрический винт; 4 - стопор; 5 - стебель; 6 - барабан; 7 - отсчетное устройство; 8 - теплоизоляционная накладка

М7. Микрометры с ценой деления 0,01 мм (ГОСТ 6507-78) изготовляют следующих типов:

МК - гладкие для измерения наружных размеров (рис. M6)

МЛ - листовые с циферблатом для измерения толщины листов и лент (рис. М7)

МТ - трубные для измерения толщины стенок труб диаметром от 8 мм и более (рис. М8)

МЗ - зубомерные для контроля длины общей нормали зубчатых колес с модулем от 1 мм (рис. М9).

Описание: Без имени-1копирование

Рис. М6. Микрометр типа МК:

1 - скоба; 2 - пятка; 3 - микрометрический винт; 4 - стопор; 5 - стебель; 6 - барабан; 7 - трещотка (фрикцион)

Описание: Без имени-1копирование

Рис. М8. Микрометр типа МТ.

1 - скоба; 2 - пятка; 3 - микрометрический винт; 4 - стопор; 5 - стебель; 6 - барабан; 7 - трещотка (фрикцион)

Описание: Без имени-1копирование

Рис. М7. Микрометр типа МЛ:

1 - скоба; 2 - пятка; 3 - микрометрический винт; 4 - стопор; 5 - стебель; 6 - барабан; 7 - трещотка (фрикцион); 8 - циферблат; 9 - стрелка

Описание: Без имени-1копирование

Рис. М9. Микрометр типа МЗ:

1 - скоба; 2 - пятка; 3 - измерительная губка; 4 - микрометрический винт; 5 - стопор; 6 - стебель; 7 - барабан; 8 - трещотка (фрикцион)

Основные параметры рычажных микрометров, мм

Тип микрометра

Пределы измерений

Отсчетное устройство

Цена деления барабана микрометра

Перемещение микрометрического винта

цена деления

диапазон показаний, не менее

МР

0 ... 25; 25 ... 50; 50 ... 75; 75 ... 100

0,002

±0,14

0,01

25

МРЗ

0 ... 20

0,002

±0,14

0,01

20

20 ... 45

25

МРИ

100 ... 125; 125 ... 150; 150 ... 200; 200 ... 250; 250 ... 300; 300 ... 400; 400 ... 500

0,002

±0,1

0,01

25

300 ... 400; 400 ... 500; 500 ... 600

0,01

2

0,01

25

600 ... 700; 700 ... 800; 800 ... 900; 900 ... 1000

0,01

5

0,01

25

1000 ... 1200; 1200 ... 1400; 1400 ... 1600; 1600 ... 1800; 1800 ... 2000

0,01

10

0,01

25

М8. Нутромеры микрометрические (ГОСТ 10-75) предназначены для измерения диаметров отверстий и других внутренних размеров более 50 мм. Для увеличения предела измерения нутромера снимают гайку 2 (рис. М10) и вместо нее навинчивают удлинители, входящие в комплект нутромера. Диапазон измерений нутромеров (по ГОСТ 10): 50 ... 125, 125 ... 200, 200 ... 325, 325 ... 500, 500 ... 800, 800 ... 1250, 1250 ... 1600, 1600 ... 2000, 2000 ... 2500, 2500 ... 3150, 3150 ... 4000, 4000 ... 5000, 5000 ... 6000 мм. Нутромеры с верхним пределом измерения более 2500 мм должны поставляться с микрометрической головкой, оснащенной индикатором часового типа класса 0.

Основные параметры микрометров по ГОСТ 6507-78

Тип

Пределы измерений, мм

Шаг микрометрического винта, мм

Измерительное перемещение микрометрического винта, мм

Измерительное усилие КН

МК

0 ... 25, 25 ... 50, 50 ... 75, 75 ... 100, 100 ... 125, 125 ... 150, 150 ... 175, 175 ... 200, 200 ... 225, 225 ... 250, 250 ... 275, 275 ... 300, 300 ... 400, 400 ... 500, 500 ... 600

0,5

25

500 ... 900

МЛ

0 - 5

1,0

5

300 ... 700

0 - 10

10

0 - 25

25

МТ

0 - 25

0,5

25

300 ... 700

МЗ

0 ... 25, 25 ... 50, 50 ... 75, 75 ... 100

0,5

25

300 ... 700

Описание: Без имени-1копирование

Рис. М10. Микрометрический нутромер:

1 - измерительный наконечник; 2 - гайка; 3 - стебель; 4 - стопор; 5 - микрометрический винт; 6 - барабан; 7 - установочная гайка; 8 - измерительный наконечник

М9. Глубиномеры микрометрические (ГОСТ 7470-78) используют для измерения глубин глухих отверстий, пазов, высот и уступов до 150 мм (рис. М11).

М10. Щупы (ГОСТ 882-75) используют для определения величины зазоров с точностью до 0,01 мм. Их изготовляют длиной 100 и 200 мм, шириной 10 мм и толщиной 0,02 ... 1 мм, классы точности 1 и 2, наборы № 1, 2, 3, 4 - для щупов длиной 100 мм. Щупы длиной 200 мм выпускают отдельными пластинами.

Описание: Без имени-1копирование

Рис. М11. Микрометрический глубиномер:

1 - трещотка; 2 - барабан; 3 - стебель; 4 - стопор; 5 - траверса; 6 - измерительный сменный стержень

М11. Линейки поверочные (ГОСТ 8026-75) изготовляют следующих типов

ЛТ - лекальные трехгранные;

ЛЧ - лекальные четырехгранные;

ШП - с широкой рабочей поверхностью прямоугольного сечения;

ШД - с широкой рабочей поверхностью двутаврового сечения.

М12. Угольники поверочные 90° (ГОСТ 3749-77) типов УЛ - лекальные, УЛП - лекальные плоские, УЛЦ - лекальные цилиндрические, УП - слесарные плоские, УШ - слесарные с широким основанием (рис. М12). Угольники типа УЛЦ имеют следующие размеры, мм:

Н       160      250      400       630

Д       80        100      125       160

М13. Угломеры с нониусом (по ГОСТ 5378-66) применяют для измерения углов и бывают двух типов: УН - для измерения наружных углов от 0 до 180° и внутренних от 40 до 180° (рис. М13) с величиной отсчета по нониусу 2¢ и 5¢; УМ - для измерения только наружных углов от 0 до 180° (рис. М14) с величиной отсчета по нониусу 2¢, 5¢, 15¢. Цена деления шкалы основания угломеров должна быть 1°.

Основные размеры и классы точности поверочных линеек (по ГОСТ 8026-75)

Тип

Эскиз

Размер, мм

Класс точности

L

В

ЛТ

Описание: Без имени-1копирование

200

26

0; 1

320

30

500

40

ЛЧ

Описание: Без имени-1копирование

200

20

0; 1

320

25

500

35

ШП

Описание: Без имени-1копирование

250

5

0; 1; 2

400

6

630

10

ШД

Описание: Без имени-1копирование

630

14

0; 1; 2

1000

16

1600

18

2000

18

2500

20

3000

20

4000

30

Основные размеры угольников, мм

Тип

Н

L

Тип

Н

L

УЛ; УЛП; УП; УШ

60

40

УП; УШ

400

250

 

100

60

 

 

 

 

160

100

 

 

 

УЛП; УП; УШ

250

160

УШ

630

400

 

 

 

 

1000

630

 

 

 

 

1600

1000

Описание: Без имени-1копирование

Рис. М12. Угольники поверочные:

Б, В - измерительные поверхности угольников; Г, Ж - опорные поверхности; Е - боковые поверхности

Описание: Без имени-1копирование

Рис. М13. Угломер УН:

1 - основание; 2 - нониус; 3 - стопор; 4 - сектор; 5 - линейка основания; 6 - линейка съемная; 7 - угольник; 8 - державка

Описание: Без имени-1копирование

Рис. М14. Угломер УМ:

1 - сектор; 2 - стопор; 3 - нониус; 4 - основание; 5 - державка; 6 - линейка подвижная; 7 - ось; 8 - угольник; 9 - линейка съемная

М14. Калибры для контроля отверстий. Пробки двусторонние с неполными непроходными вставками показаны на рис. М15, а. Ими измеряют отверстия диаметром 6 - 50 мм.

Описание: Без имени-1копирование

Рис. М15. Пробка со вставками:

а - двусторонние; б - проходные; в - непроходные

Пробки проходные со вставками (рис. М15, б) применяют для контроля отверстий диаметром 50 - 75 мм.

Пробки непроходные с неполными вставками (рис. М15, в) применяют для контроля отверстий диаметром 50 - 100 мм.

Пробки с насадками двусторонние (рис. М16, а), проходные (рис. М16, б) и непроходные (рис. М16, в) изготовляют для контроля отверстий диаметром 50 - 100 мм.

Описание: Без имени-1копирование

Рис. М16. Пробки с насадками:

а - двусторонние; б - проходные; в - непроходные

М15. Геодезический инструмент

Теодолиты ГОСТ 10529-79:

- теодолит точный Т-2 (ТБ-1);

- теодолит технический Т-15 (Т-30).

Нивелиры ГОСТ 10528-76:

- нивелир высокоточный Н-2 (НА-1) с комплектом инвентарной рейки;

- нивелир точный Н-3 (НС-4, НВ-1).

- нивелир Н-3К МОП по ТУ 3-3.993-77.

Рейка базисная дальномерная

Теодолиты и нивелиры выпускают предприятия Министерства оборонной промышленности.

М16. Измерение твердости металлов

Для этой цели применяют приборы:

- прибор стационарный для измерения твердости по Виккерсу ТП-7Р-1 с пределами измерения 8 - 1000 НV.

- прибор переносной для измерения твердости по Виккерсу ТПП-2 с пределами измерения 8 - 1500 НV.

- прибор настольный для измерения твердости по Роквеллу ТК-2М (ТК-14-250) по ТУ 25-06-227-67.

Все указанные приборы для определения твердости выпускает Ивановское производственное объединение «Точприбор».

М17. Контроль шероховатости обработанных поверхностей

На рабочих местах в цехах наиболее приемлем метод контроля шероховатости сравнением обработанной поверхности со стандартным образцом шероховатости по ГОСТ 9378 или с аттестованной деталью. При этом оценку шероховатости поверхности производят визуально-осязательным методом, с помощью лупы или специального микроскопа сравнения, позволяющих одновременно наблюдать поверхности образца и детали с увеличением до 80х.

Для количественной оценки шероховатости применяют контактные щуповые приборы (профилометры и профилографы мод. 201, 252, 253).

М18. Контроль радиусов сопряжений сварных швов с основным металлом после механической обработки выполняют радиусными шаблонами, которые изготавливают и продают в виде наборов:

- набор № 1 - радиусы от 1 до 6,5 мм;

- набор № 2 - радиусы от 7 до 14,5 мм;

- набор № 3 - радиусы от 15 до 25 мм.

Приложение Н

Обязательное

МЕТОДЫ И ОБЪЕМЫ ИСПЫТАНИЙ СВАРНЫХ СОЕДИНЕНИЙ. ОРГАНИЗАЦИЯ НЕРАЗРУШАЮЩЕГО КОНТРОЛЯ КАЧЕСТВА СВАРКИ

Н1. МЕТОДЫ И ОБЪЕМЫ ИСПЫТАНИЙ КОНТРОЛЬНЫХ СВАРНЫХ СОЕДИНЕНИЙ И ТЕХНОЛОГИЧЕСКИХ ПРОБ

Н1.1. Для проверки квалификации сварщиков, качества сварочных материалов и, при необходимости, корректировки применяемых режимов сварки заводы, изготавливающие стальные мостовые конструкции, должны проводить испытания контрольных сварных соединений и технологических проб с определением механических свойств металла шва и соединения.

Н1.2.* При испытании стыковых соединений на технологических пробах определяют:

а) по металлу шва - предел текучести sт, временное сопротивление sв, относительное удлинение d5;

б) по сварному соединению - временное сопротивление, угол статического загиба, ударную вязкость по оси шва и по линии сплавления КСU, твердость НV.

При испытании угловых и тавровых соединений на технологических пробах определяют:

а) твердость по Виккерсу (НV) сварного соединения при любых катетах швов;

б) предел текучести, временное сопротивление и относительное удлинение для швов с катетами 12 мм и больше на гагаринских образцах один раз в год, а также при получении от металлургических заводов проката из новых марок стали.

При испытании стыковых соединений двухслойной коррозионно-стойкой стали определяют:

а) по металлу шва основного слоя стали 09Г2С - предел текучести, временное сопротивление и относительное удлинение;

б) по сварному соединению - временное сопротивление, угол статического загиба на образце с поперечным швом при расположении плакирующего слоя внутри, ударную вязкость по оси шва, твердость по зонам соединения.

На макрошлифах, сделанных для замера твердости, вырезанных из технологических проб, проверяется также обеспечение требуемого проектом проплавления соединяемых деталей, коэффициент формы провара и твердость НV. Глубина провара основного металла в швах тавровых, угловых и нахлесточных соединений должна быть не менее 1 мм.

Изготовление образцов и определение механических свойств производится в соответствии с ГОСТ 6996-66**.

Н1.3.* Для стыковых соединений контрольные образцы и технологические пробы сваривают из листа толщиной 12; 16; 20; 32 (40) и 50 мм.

Контрольные угловые и тавровые соединения должны изготавливаться из металла максимальных и минимальных толщин, используемых при изготовлении конструкций, в сочетании с такими применяемыми катетами шва, которые обеспечивают получение максимальных и минимальных скоростей охлаждения.

Н1.4.* Сварку технологических проб выполняют аттестованные сварщики в присутствии руководителя сварочных работ. Соединения маркируют, контролируют внешним осмотром, а стыковые, кроме того, проходят ультразвуковой контроль.

Н1.5.* Заготовки для образцов следует вырезать из специально изготовленных контрольных соединений и технологических проб, которые полностью повторяют условия сварки элементов (сочетания толщин металла, подготовка кромок, основные и сварочные материалы, режимы сварки).

Рекомендуется длину пластин для контрольных сварных стыковых соединений принимать равной 1000 мм, но не менее 700 мм. Ширина каждой пластины должна быть:

не менее 200 мм - при толщине металла до 20 мм;

не менее 300 мм - при толщине металла от 22 до 50 мм (см. рис. Н6).

Н1.6. Для определения механических свойств должны изготавливаться образцы согласно ГОСТ 6996-66. По каждому виду испытаний должно быть изготовлено не менее 3 образцов, а для испытаний на ударный изгиб - по 6 образцов с надрезом по оси шва и по линии сплавления.

Н1.7. Для испытания на статическое растяжение изготавливают:

цилиндрические образцы I и II типов (рис. Н1, табл. Н1).

плоские образцы - XII или XIII типа (рис. Н2, табл. Н2).

Описание: Без имени-1копирование

Рис. Н1. Образец для испытания металла шва на статическое растяжение

Таблица Н1

Размеры в мм

Тип образца

d0

К

D

h

h1

R

l0

L0

L

I

3 ± 0,1

0,03

6

4

2,0

1,0

15

18

30 ± 1

II

6 ± 0,1

0,03

12

10

2,5

1,5

30

36

61 ± 1

Примечание. Здесь К - допускаемая разность наибольшего и наименьшего диаметров на длине рабочей части образца.

Таблица Н2

Размеры в мм

Толщина основного металла

Ширина рабочей части образца, b

Ширина захватной части образца, b1

Длина рабочей части образца, l

Общая длина образца, L

От 10 до 25

25 ± 0,5

35

100

L = l + 2h (XII)

Более 25 до 50

30 ± 0,5

40

160

L = l + 2h + 30 (XIII)

Примечание. Длину захватной части образца h устанавливают в зависимости от конструкции испытательной машины.

Описание: Без имени-1копирование

Рис. Н2. Образцы для определения равнопрочности сварного соединения при растяжении:

а - XII типа; б - XIII типа

Н1.8. На статический изгиб с поперечным швом изготавливают образцы XXVII или XXVIII типа (рис. Н3, табл. Н3)

Описание: Без имени-1копирование

Рис. Н3. Образец для испытания сварного соединения на статический изгиб

Таблица Н3

Размеры в мм

Тип образца

Толщина основного металла, S

Ширина образца, b

Общая длина образца, I.

Длина рабочей части образца, l

XXVII

до 50

1,5S, но не менее 10 мм

2,5D + 80

L/3

XXVIII

от 10 до 50

30

3D + 80

L/3

Примечание. Здесь D - диаметр оправки в мм.

Н1.9. Для испытания на ударный изгиб изготавливают образцы VI или VII типа по ГОСТ 6996 (рис. Н4). Надрезы располагают по оси шва и по линии сплавления со стороны облицовочного прохода в шве, выполненном односторонней сваркой, или со стороны, заваренной последней, при двусторонней сварке.

Описание: Без имени-1копирование

Рис. Н4. Образцы для испытания металла шва, зоны термического влияния (в различных участках) на ударный изгиб:

а - для металла шва толщиной 10 мм и более; б - для металла шва толщиной менее 10 мм

Заготовки для образцов со стороны расположения надреза обрабатывают фрезерованием на глубину не более 1 мм от поверхности проката.

Разметку для нанесения надреза по оси шва и по линии сплавления производят по макрошлифам, изготовленным на боковых гранях сечением 10´10 мм, обработанных шлифованием с чистотой поверхности не ниже Rа0,4.

Надрезы на образцах Менаже выполнять способами, обеспечивающими строгое соблюдение геометрии надреза по ГОСТ 6996-66 для автодорожных городских и пешеходных мостов. Для железнодорожных и совмещенных мостов надрезы выполняют специальными дисковыми фрезами.

При разметке и выполнении надреза по линии сплавления необходимо, чтобы основание надреза упиралось в линию сплавления шва с основным металлом на глубине 2 мм от верхней плоскости образца на его обеих боковых гранях. Образцы, не удовлетворяющие данному требованию, к испытаниям не допускаются.

Разметку надрезов и контроль выполнения надрезов должен осуществлять квалифицированный инженер ЦЗЛ, прошедший специальное обучение.

Н1.10. Для изготовления макрошлифов и замеров твердости металла сварного соединения вырезают темплеты, включающие металл шва, околошовную зону и основной металл (рис. Н5).

Описание: Без имени-1копирование

Рис. Н5. Образцы для определения твердости сварного соединения

Н1.11. Схема вырезки образцов из контрольных сварных технологических проб приведена на рис. Н6. Окончательную обработку образцов следует выполнять механическим способом с принятием мер, предупреждающих поверхностное упрочнение или чрезмерный нагрев металла. На поверхности образца не должно быть рисок или надрезов, расположенных поперек его продольной оси.

Описание: Без имени-1копирование

Рис. Н6. Схема вырезки образцов из стыкового соединения:

1 - ударные; 2 - макрошлифы; 3 - цилиндрические; 4 - плоско-разрывные; 5 - гибовые

Резка образцов на ножницах не допускается.

При вырезке образцов газорезкой необходимо предусмотреть припуски, исключающие влияние теплового воздействия на металл шва и околошовной зоны: не менее 8 мм при толщине металла 10 - 16 мм и не менее 14 мм при толщине металла 20 - 50 мм от рабочей части каждого образца.

Усиление шва в плоских образцах должно сниматься заподлицо с основным металлом механическим способом с двух сторон в направлении поперек шва.

Н1.12. Перед испытанием все образцы должны быть тщательно осмотрены, замерены, замаркированы. На образцах не должно быть видимых дефектов сварки (пор, шлаковых включений, непроваров, подрезов, трещин), грубых рисок от обработки, выводящих образец за указанный класс чистоты поверхности, перекоса головок, изгиба, неправильного расположения надреза и отступлений по размерам. Образцы с указанными дефектами бракуются и заменяются новыми.

Н1.13. Проведение испытаний на растяжение, статический и ударный изгиб, точность измерения образцов, соблюдение требований к испытательным машинам, обмер образцов после испытаний, подсчет результатов испытаний и определение механических характеристик должны соответствовать:

а) при испытании на статическое растяжение при нормальной температуре - ГОСТ 1497-84; ГОСТ 6996;

б) при испытании на статический изгиб - ГОСТ 14019-80 и ГОСТ 6996-66;

в) при испытаниях на ударный изгиб (ударную вязкость) - ГОСТ 9454-78, ГОСТ 6996.

При оценке ударной вязкости по металлу шва и по линии сплавления сварных соединений результаты испытаний считаются положительными, если значения ударной вязкости по каждому образцу получены не менее 29 Дж/см2. При этом у одного из шести образцов с надрезом по линии сплавления допускается значение ударной вязкости не менее 24 Дж/см2. Снижение ударной вязкости менее 29 Дж/см2 у образцов с надрезом по оси шва не допускается.

При невыполнении указанного условия проводятся повторные испытания на удвоенном количестве образцов. При повторных испытаниях на образцах с надрезом по линии сплавления допускается значение ударной вязкости не менее 24 Дж/см2 у двух из 12 испытанных образцов. Для образцов с надрезом по оси шва снижение ударной вязкости при повторных испытаниях не допускается.

Результат повторных испытаний является окончательным.

Н1.14. Замер твердости металла сварного соединения производят на макрошлифах, включающих металл шва, зону термического влияния и основной металл. При подготовке поверхности шлифа необходимо принимать меры против возможного изменения твердости испытуемого образца вследствие нагрева или наклепа поверхности при механической обработке.

Измерение твердости производится по Виккерсу (ГОСТ 2999-75) или по Роквеллу (ГОСТ 9013-59) на приборах, допущенных к работе Госповерителем. Класс шероховатости по ГОСТ 2789-73 измеряемой поверхности макрошлифов образцов должен быть не ниже 10 (Rz = 0,4 ... 0,8) при измерении по Виккерсу и не ниже 6 (Rz = 6,3 ... 10) при измерении по Роквеллу. Сопоставление единиц твердости по Виккерсу, Роквеллу и Бринеллю приведено в приложении Л.

Замеры твердости следует производить по схемам, представленным на рис. Н5; число точек по намеченным линиям при замерах твердости каждой зоны (шва, зоны термического влияния, включая линию сплавления, основного металла) должно быть не менее четырех.

Н1.15. Испытания образцов сварных соединений считаются недействительными:

- при разрыве образца по кернам (рискам), если при этом какая-либо характеристика по своей величине не отвечает установленным требованиям;

- при разрыве образца в захватах испытательной машины или за пределами расчетной длины (при определении относительного удлинения);

- при образовании двух и более мест разрыва;

- при разрыве образца по дефекту;

- при обнаружении ошибок в проведении испытаний или записи результатов испытаний.

В указанных случаях испытание должно быть повторено на изготовленных от той же партии образцах. Количество дополнительных образцов должно соответствовать числу недействительных испытаний.

При удовлетворительных результатах испытаний (по нормативным требованиям к механическим свойствам) наличие шлаковых включений, пор в изломе образца в пределах допусков по табл. 24 не является браковочным признаком.

Наличие трещин в изломе образца при всех условиях является браковочным признаком.

При неудовлетворительных результатах испытаний по одному или нескольким показателям свойств или образцов испытания повторяют по этим же показателям на удвоенном количестве образцов. Если и при этом результаты испытаний окажутся неудовлетворительными, то режимы сварки соединений или сварочные материалы должны быть признаны непригодными. Причины отклонений должны быть установлены путем проверки качества основного металла, флюса, сварочной проволоки, электродов, а также проверкой режимов сварки. Проверку проводят путем сварки технологических проб с применением материалов других партий и плавок.

До выяснения причин отклонений свойств сварных соединений применение проверяемой технологии сварки (сварочных материалов и режимов сварки) для изготовления мостовых конструкций должно быть приостановлено.

Н1.16. Механические свойства сварных стыковых соединений должны удовлетворять требованиям п. 8.4 настоящих норм.

Н1.17.* Если при проверке качества сварочных материалов по п. 9.8 или контроле применяемых технологий и режимов сварки по п. 9.9 настоящих норм будет установлено, что механические свойства металла шва и сварного соединения не удовлетворяют требованиям п. 8.4 хотя бы по одному показателю, испытания повторяют по дефектным показателям на удвоенном количестве образцов, с химическим анализом состава металла сварного шва и основного металла.

Проба для определения химического состава может быть взята из любой части шва на расстоянии не меньше 50 мм от начала шва и 100 мм от конца шва. Разрешается брать пробу из швов образцов, сваренных для определения механических свойств.

Перед взятием пробы поверхность металла должна быть тщательно очищена от противокоррозионных покрытий, масла, ржавчины, окалины и других загрязнений.

На шве керном намечаются границы для взятия пробы. Границы должны отстоять от линии сплавления на расстоянии 2,5 - 3 мм. Для установления контура при взятии пробы торцы вырезанных швов шлифуют и протравливают.

Отбор проб для химического анализа (взятие стружки) может производиться сверлением, строганием или фрезерованием. При этом следует пользоваться сухим и чистым инструментом, который не должен выкрошиваться. Стружка при отборе проб должна быть как можно мельче; брать ее надо в количестве 50 г.

Химический анализ металла сварных швов и основного металлопроката рекомендуется выполнять методом спектрального анализа по ГОСТ 22536.0-87.

Вместе с данными по химическому составу металла швов и основного металлопроката следует указывать химический состав стали и сварочной проволоки по сертификатам заводов-изготовителей, а также марку флюса, применяемого при сварке контрольных соединений.

Н2. ОРГАНИЗАЦИЯ НЕРАЗРУШАЮЩЕГО КОНТРОЛЯ КАЧЕСТВА ШВОВ

Н2.1. Приемочный контроль качества сварных швов неразрушающими методами контроля выполняют специалисты лаборатории контроля качества (ЛКК).

Лаборатория контроля качества подчиняется непосредственно главному инженеру завода и в своей деятельности должна быть независима от руководства цехов и участков, осуществляющих сборочно-сварочные работы.

Лаборатория должна быть аккредитована ЛКМ в системе Госстандарта России на право выполнения неразрушающего контроля в соответствии с требованиями к компетентности лабораторий, изложенными в ПМГ 15-96 Госстандарта России.

Н2.2. ЛКК организуется и действует на основании «Положения о ЛКК», утвержденного главным инженером предприятия.

В «Положении о ЛКК» должны быть, в частности, оговорены:

- задачи и функции ЛКК;

- права, обязанности, функции, ответственность работников ЛКК;

- перечень закрепленных за ЛКК методов контроля;

- перечень нормативной документации, которой руководствуется ЛКК в своей деятельности;

- порядок эксплуатации, поверки (калибровки) и хранения средств неразрушающего контроля и другого оборудования ЛКК;

- порядок оформления результатов контроля и передачи результатов контроля для выработки решений об устранении выявленных дефектов;

- порядок ведения и хранения архива результатов контроля;

- порядок представления ведомостей (заявок) на ультразвуковой и радиографический контроль сварных швов.

Н2.3. Администрация завода должна выделить для ЛКК соответствующее помещение для хранения, ревизии и текущего ремонта измерительного инструмента, дефектоскопов и преобразователей, проведения подготовительных к контролю работ, оформления документации. Персоналу ЛКК должна выдаваться спецодежда.

Помещение ЛКК должно быть оборудовано:

- проводкой сети переменного тока;

- стабилизатором питающего напряжения;

- шиной заземления;

- шкафами для повседневной и рабочей одежды и обуви;

- стеллажами и шкафами для размещения и хранения измерительного инструмента, аппаратуры, образцов, запасных частей, документации.

Помещение должно быть оснащено:

- ультразвуковыми дефектоскопами и, при необходимости, рентгено- и гаммаграфической аппаратурой;

- комплектами стандартных образцов;

- вспомогательными приспособлениями для сканирования сварных соединений и измерения характеристик выявленных дефектов;

- специальной справочной литературой и технической документацией;

- электроизмерительной и радиотехнической аппаратурой, запасными частями и комплектующими изделиями для текущего ремонта и проверки дефектоскопов;

- слесарным и радиомонтажным инструментом;

- емкостями для приготовления и хранения контактирующей жидкости;

- тележками для установки и транспортировки дефектоскопической аппаратуры;

- канцелярскими принадлежностями;

- обтирочным материалом и контактирующими жидкостями.

Н2.4. Необходимое в ЛКК число дефектоскопов обуславливается количеством бригад, функционирующих в ЛКК, и выбирается по табл. Н4.

Таблица Н4

Число бригад

1

2

3

4

5

Число дефектоскопов

2

3

5

6

8

При наличии в подразделении более пяти дефектоскопов рекомендуется организовать участок текущего ремонта дефектоскопов и преобразователей.

Н2.5. При контроле в условиях завода:

- температура воздуха в зоне контроля должна быть не ниже + 5 °С;

- вблизи места контроля не должно быть ярких источников света (работ по электросварке, резке и т.п.);

- контроль не должен проводиться одновременно с работами, загрязняющими воздух и вызывающими вибрацию контролируемого соединения;

- должны быть приняты меры к защите экрана дефектоскопа при работе в дневное время или при основном искусственном освещении от попадания прямого света;

- при необходимости должны быть оборудованы леса и подмости, обеспечивающие удобное взаимное расположение дефектоскописта, аппаратуры и контролируемого соединения.

Требования представителей ЛКК по созданию условий, необходимых для обеспечения надежности контроля, являются обязательными для исполнения.

Н2.6. Ультразвуковой контроль сварных соединений должен проводиться звеном из двух дефектоскопистов. Допускается выполнение контроля одним дефектоскопистом, если при этом гарантируется безопасность работы и достоверность результатов контроля.

Н2.7. Швы, проверенные каждым звеном (дефектоскопистом) за смену, должны подвергаться выборочному инспекционному ультразвуковому контролю в объеме 5 %, но не менее одного соединения. Инспекционный контроль выполняется дефектоскопистом более высокого разряда или уровня квалификации. В случае обнаружения при инспекционном контроле неправильной оценки качества сварные швы, проверенные данным звеном (дефектоскопистом), должны быть подвергнуты этим звеном повторному контролю с выдачей новых заключений.

Н3. СПОСОБЫ ПРОЗВУЧИВАНИЯ И ЧУВСТВИТЕЛЬНОСТИ ОЦЕНКИ ПРИ КОНТРОЛЕ СТЫКОВЫХ СОЕДИНЕНИЙ ЛИСТОВ ТОЛЩИНОЙ d = 10 ... 20 мм

Способы прозвучивания преобразователями, выпускаемыми промышленностью (n = 15 мм)

Описание: Без имени-1копирование

Примечания: 1. Контролю подлежат соединения при условии, что b1 + b2 £ 4,3d - 36; при невыполнении данного условия следует применять преобразователи с меньшей стрелой n и большим углом ввода луча a.

2. Контроль вести с двух сторон одной плоскости.

Испытательные образцы для настройки чувствительности вида

1. Изготавливается из образца контролируемого соединения

2. Изготавливается из материала контролируемого соединения

Описание: Без имени-1копирование

Порядок настройки чувствительности оценки, которой соответствует показание аттенюатора

1. Измерить амплитуду эхо-сигнала от соответствующего цилиндрического отражателя в испытательном образце , отр. дБ.

2. Уменьшить показание аттенюатора на величину поправки чувствительности Кg, определяемой по таблице:

d, мм

10

12

14

16

18

20

Кg

m = 0

4

5

5

6

7

8

m = 1

8

8

9

9

9

10

3. Уменьшить показание аттенюатора на величину DN

4. Убедиться, что мертвая зона М £ 3 мм.

Примечание. При применении испытательного образца первого вида DN = 0; при применении испытательного образца второго вида DN определяется по приложению Г.

Н4. СПОСОБЫ ПРОЗВУЧИВАНИЯ И ЧУВСТВИТЕЛЬНОСТИ ОЦЕНКИ ПРИ КОНТРОЛЕ СТЫКОВЫХ СОЕДИНЕНИЙ ЛИСТОВ d = 21 ... 50 мм

Способы прозвучивания преобразователями, выпускаемыми промышленностью (n = 15 мм)

Описание: Без имени-1копирование

d, мм

a1, град.

a2, град.

z, мм

L1

L2

L3

Условия прозвучивания

20 - 30

65 ± 2

65 ± 2

3

2,15d

2,15d + 3

4,3d

b1 + b2 £ 4,3d - 36

30 - 50

65 ± 2

50 ± 2

5

2,15d

1,19d + 5

2,4d

0,47b1 + 0,84b2 £ 2d - 22,5

Приложения. 1. Контролю подлежат соединения при соблюдении условия прозвучиваемости.

2. Контроль вести с двух сторон одной плоскости.

Порядок настройки чувствительности оценки, которой соответствует показание аттенюатора

1. Измерить амплитуду эхо-сигнала от цилиндрического отражателя на глубине 44 мм в стандартном образце ГСО-2 или ОСО-2Р , дБ.

2. Определить по соответствующей SKH-диаграмме значение Кg для S0 = 3 мм2 и Н0 = 0,75d при m = 0 и Н0 = 1,75d при m = 1.

3. Уменьшить показание аттенюатора на значение Кg, если величина Кg отрицательная, или увеличить показание аттенюатора на значение Кg, если величина его положительная.

4. Уменьшить показание аттенюатора на величину DN.

5. Убедиться, что мертвая зона М £ 3 мм при a = 65° ± 2° и М £ 8 мм при a = 50° ± 2°.

Примечание. DN определяется по приложению Г.

Н5. МЕТОДИКА ОЦЕНКИ ОТНОШЕНИЯ КОЭФФИЦИЕНТОВ ПРОЗРАЧНОСТИ

Отношение DN (в децибелах) коэффициентов прозрачности границы призмы преобразователя-металл контролируемого соединения и границы призмы преобразователя-металл образца может быть оценено как разность между амплитудой эхо-сигнала от двугранного угла контролируемого соединения Nс и амплитудой эхо-сигнала от двугранного угла образца Nо, если толщина контролируемого соединения и толщина образца не отличаются более чем на ± 10 %, то есть .

Если контролируемое соединение и стандартный образец СО-2 (или СО-3Р) имеют различную толщину, то в образце контролируемого соединения на глубине 15 или 44 мм высверливают цилиндрическое отверстие диаметром 6 мм.

Если контролируемое соединение и испытательный образец второго вида имеют различную толщину, то в образце контролируемого соединения высверливают цилиндрическое отверстие диаметром 2 мм на глубине, равной глубине расположения одного из отверстий в испытательном образце. Отношение DN коэффициентов прозрачности оценивают как разность амплитуд эхо-сигналов от цилиндрического отражателя, выполненного в образце контролируемого соединения Nс, и цилиндрического отражателя в стандартном или испытательном образце Nо, т.е. .

Измерения Nс и Nо выполняют не менее трех раз.

Если по каким-либо причинам нельзя оценить отношение коэффициентов прозрачности, то для поверхности проката принимают  = 6 дБ.

Н6. СПОСОБЫ ПРОЗВУЧИВАНИЯ И ЧУВСТВИТЕЛЬНОСТЬ ОЦЕНКИ ПРИ КОНТРОЛЕ КРЕСТОВЫХ И ТАВРОВЫХ СОЕДИНЕНИЙ С ПОЛНЫМ ПРОВАРОМ КОРНЯ ШВА

Описание: Без имени-1копирование

d = 10 - 20 мм

a1 = 65° ± 2°,

L1 = K1 + 2,15d

a2 = 50° ± 2°,

L2 = K1 + 1,19d + 5

L3 = K1 + 2,4d

d = 22 - 40 мм

a1 = 50° ± 2°,

L1 = K1 + 1,19d

 

Контроль соединения выполняют в два этапа:

этап 1 - контроль корня шва на отсутствие непровара;

этап 2 - контроль сечений, прилегающих к валику, прямым и однократно отраженным лучом.

Чувствительность оценки и мертвую зону определяют в зависимости от толщины d привариваемого листа с учетом приложений Б и В.

Примечания: 1. При d £ 20 мм следует использовать испытательный образец второго вида с расположением отражателей на глубине Н01 = 0,75d + 0,5К2; Н02 = 1,5d; Н03 = 1,75d + 0,5К2; ориентировочные значения Кд приведены в таблице

d, мм

m

10

12

14

16

18

20

К2 = 0,5

a1 = 65°

0

6

6

8

8

8

8

aср = 65°

1

8

8

10

10

10

10

a2 = 50°

1

6

8

8

8

10

10

К2 = 0,9

a1 = 65°

0

6

8

8

8

10

10

aср = 65°

1

8

8

10

10

10

10

a2 = 50°

1

6

8

8

8

10

10

2. При d ³ 22 мм следует использовать образцы СО-2 или СО-2Р с соответствующими SKH-диаграммами; значения Кд определяют по SKH-диаграмме для S0 = 3 мм2 и Н0 = 0,75d + 0,5К2; Н0 = 1,5d; Н03 = 1,75d = 0,5К2 в зависимости от этапа контроля и способа прозвучивания.

Приложение О*

Справочное

ФОРМА СЕРТИФИКАТА
на стальные конструкции

СЕРТИФИКАТ №

на стальные конструкции по заказу №
(на весь заказ)

1. Заказчик _______________________________________________________________

2. Наименование объекта ___________________________________________________

3. Дата начала изготовления _________________________________________________

4. Дата окончания изготовления ______________________________________________

5. Организация, выполнившая черт. КМ, шифр проекта, номера чертежей __________

__________________________________________________________________________

6. Организация, выполнившая деталировочные черт. КМД, шифры и номера чертежей

__________________________________________________________________________

7. Нормы проектирования ___________________________________________________

8. Нормы на изготовление ___________________________________________________

9. Организация, утвердившая проект __________________________________________

10. Общая масса конструкций ________________________________________________

в том числе:

10.1. Основные несущие конструкции ______________________________________

10.2. Монтажные элементы соединений _____________________________________

10.3. Высокопрочные метизы ______________________________________________

10.4. Вспомогательные конструкции _______________________________________

10.5. Обычные метизы ___________________________________________________

11. Объем контрольной (или общей) сборки ____________________________________

12. Конструкции изготовлены из материала следующих заводов

Завод-поставщик

Марка стали

№№ сертификатов

 

 

 

 

 

 

 

 

 

 

 

 

 

 

 

 

 

 

13. Для сварки применены:

а) сварочная проволока ___________________________________________________

б) флюс ________________________________________________________________

в) защитные газы ________________________________________________________

г) электроды ____________________________________________________________

14. Сварщики испытаны согласно ____________________________________________

15. Сварные швы проверены _________________________________________________

16. Ведомость отгрузки конструкций _________________________________________

№№ пп

Наименование конструкции

Масса, т

Дата отгрузки

Номера вагонов

Номера заводских накладных

 

 

 

 

 

 

 

 

 

 

 

 

 

 

 

 

 

 

 

 

 

 

 

 

 

 

 

 

 

 

 

 

 

 

 

 

 

 

 

 

 

 

 

 

 

 

 

 

17. Приложения

1. Исполнительные чертежи КМД

2. Сводная ведомость сертификатов на материалы

3. Описи удостоверений сварщиков, газорезчиков и поставщиков высокопрочных болтов

3. Ведомость результатов контроля качества сварных соединений

Примечание: сертификаты на сталь, сварочные и лакокрасочные материалы, карты раскроя металлопроката, а также протоколы испытаний электросварщиков хранятся на заводе и могут быть представлены по первому требованию заказчика.

Представитель контролирующей организации       Начальник ОТК завода-изготовителя

 

СЕРТИФИКАТ №

на стальные конструкции по заказу №
(промежуточный этап)

1. Заказчик ________________________________________________________________

2. Наименование объекта ____________________________________________________

3. Дата начала изготовления __________________________________________________

4. Организация, выполнившая черт. КМ, шифр проекта, номера чертежей ___________

___________________________________________________________________________

5. Организация, выполнившая деталировочные черт. КМД, шифры и номера чертежей __________________________________________________________________________

6. Нормы на изготовление ___________________________________________________

7. Организация, утвердившая проект __________________________________________

8. Конструкции изготовлены из материала следующих заводов

Завод-поставщик

Марка стали

№№ сертификатов

 

 

 

 

 

 

 

 

 

 

 

 

 

 

 

9. Для сварки применены:

а) сварочная проволока ___________________________________________________

б) флюс _________________________________________________________________

в) защитные газы _________________________________________________________

г) электроды _____________________________________________________________

10. Сварщики испытаны согласно _____________________________________________

11. Сварные швы проверены _________________________________________________

12. Ведомость отгрузки конструкций __________________________________________

№№ пп

Наименование конструкции

Масса, т

Дата отгрузки

Номера вагонов

Номера заводских накладных

 

 

 

 

 

 

 

 

 

 

 

 

 

 

 

 

 

 

 

 

 

 

 

 

 

 

 

 

 

 

 

 

 

 

 

 

13. Приложение: исполнительные чертежи КМД

Представитель контролирующей организации      Начальник ОТК завода-изготовителя

Приложение П*

Рекомендуемое

ПЕРЕЧЕНЬ
вопросов, входящих в компетенцию мостовой инспекции при контроле качества и приемке мостовых конструкций

1. Проверка наличия лицензий и предприятий, изготавливающих мостовые металлоконструкции, и сертификатов (или аттестатов аккредитации) центральных заводских лабораторий и их персонала на право проведения различных видов испытаний и контроля.

2. Контроль качества и соответствия сертификатам металлопроката, метизов, полуфабриката, сварочных и лакокрасочных материалов при изготовлении и монтаже мостовых металлоконструкций.

3. Проверка соблюдения технологии изготовления конструкций по всем операциям технологического процесса (операционный контроль).

4. Контроль своевременности проведения заводских испытаний металлопроката, сварочных материалов, приборов и средств измерения, машин и оборудования.

5. Контроль полноты и правильности оформления исполнительной документации от запуска заказа в производство до отгрузки готовой продукции.

6. Приемочный контроль готовой продукции, с подписанием сертификатов и других сопроводительных документов.



© 2013 Ёшкин Кот :-)