Информационная система
«Ёшкин Кот»

XXXecatmenu

ГОСТ 10157-79

МЕЖГОСУДАРСТВЕННЫЙ СТАНДАРТ

АРГОН ГАЗООБРАЗНЫЙ И ЖИДКИЙ

ТЕХНИЧЕСКИЕ УСЛОВИЯ

Untitled-1

Москва

Стандартинформ

2005

МЕЖГОСУДАРСТВЕННЫЙ СТАНДАРТ

АРГОН ГАЗООБРАЗНЫЙ И ЖИДКИЙ

Технические условия

Gaseous and liquid argon. Specifications

ГОСТ
10157-79

Дата введения 01.07.80

Настоящий стандарт распространяется на газообразный и жидкий аргон, получаемый из воздуха и остаточных газов аммиачных производств и предназначаемый для использования в качестве защитной среды при сварке, резке и плавке активных и редких металлов и сплавов на их основе, алюминия, алюминиевых и магниевых сплавов, нержавеющих хромоникелевых жаропрочных сплавов и легированных сталей различных марок, а также при рафинировании металлов в металлургии.

Формула Аr.

Атомная масса (по международным атомным массам 1985 г.) - 39,948.

(Измененная редакция, Изм. №1, 2).

1. ТЕХНИЧЕСКИЕ ТРЕБОВАНИЯ

1.1. Газообразный и жидкий аргон должен быть изготовлен в соответствии с требованиями настоящего стандарта по технологическим регламентам, утвержденным в установленном порядке.

1.2. По физико-химическим показателям газообразный и жидкий аргон должен соответствовать нормам, указанным в табл. 1.

Таблица 1

Наименование показателя

Норма

Высший сорт

Первый сорт

1. Объемная доля аргона, %, не менее

99,993

99,987

2. Объемная доля кислорода, %, не более

0,0007

0,002

3. Объемная доля азота, %, не более

0,005

0,01

4. Объемная доля водяных паров, %, не более, что соответствует температуре насыщения аргона водяными парами при давлении 101,3 кПа (760 мм рт. ст.), °C, не выше

0,0009

0,001

Минус 61

Минус 58

5. Объемная доля суммы углеродсодержащих соединений в пересчете на СО2, %, не более

0,0005

0,001

Примечания:

1. Объемная доля суммы углеродсодержащих соединений не нормируется в газообразном и жидком аргоне, вырабатываемом из воздуха, если для очистки сырого аргона используется электронный водород, не содержащий примесей углеродсодержащих соединений и щелочи, а также водород коксового газа и синтезгаза, специально доочищаемый на аммиачных производствах.

2. Нормы для жидкого аргона, указанные в таблице, соответствуют показателям газообразного аргона, полученного при полном испарении пробы жидкого аргона.

3. Допускается уменьшение количества жидкого аргона вследствие его испарения при транспортировании и хранении не более чем на 10 %.

(Измененная редакция, Изм. № 1, 2, 3).

1.3. Коды ОКП газообразного и жидкого аргона приведены в табл. 2.

Таблица 2

Наименование продукта

Код ОКП

Аргон газообразный сжатый

21 1481 0100

высший сорт

21 1481 0120

первый сорт

21 1481 0130

Аргон газообразный сжатый, получаемый из привозного жидкого аргона

21 1481 0400

Аргон жидкий

21 1483 0100

высший сорт

21 1483 0120

первый сорт

21 1483 0130

(Измененная редакция, Изм. № 2).

2. ТРЕБОВАНИЯ БЕЗОПАСНОСТИ

2.1. Аргон нетоксичен и невзрывоопасен, однако представляет опасность для жизни: при его вдыхании человек мгновенно теряет сознание, и через несколько минут наступает смерть. В смеси аргона с другими газами или в смеси аргона с кислородом при объемной доле кислорода в смеси менее 19 % развивается кислородная недостаточность, при значительном понижении содержания кислорода - удушье.

2.2. Газообразный аргон тяжелее воздуха и может накапливаться в слабопроветриваемых помещениях у пола и в приямках, а также во внутренних объемах оборудования, предназначенного для получения, хранения и транспортирования газообразного и жидкого аргона. При этом снижается содержание кислорода в воздухе, что приводит к кислородной недостаточности, а при значительном понижении содержания кислорода - к удушью, потере сознания и смерти человека.

2.1; 2.2. (Измененная редакция, Изм. № 2).

2.3. В местах возможного накопления газообразного аргона необходимо контролировать содержание кислорода в воздухе приборами автоматического или ручного действия с устройством для дистанционного отбора проб воздуха. Объемная доля кислорода в воздухе должна быть не менее 19 %.

2.4. Жидкий аргон - низкокипящая жидкость, которая может вызвать обмораживание кожи и поражение слизистой оболочки глаз. При отборе проб и анализе жидкого аргона необходимо работать в защитных очках.

2.5. Перед проведением ремонтных работ или освидетельствованием бывшей в эксплуатации транспортной или стационарной емкости жидкого аргона, ее необходимо отогреть до температуры окружающей среды и продуть воздухом. Разрешается начинать работы при объемной доле кислорода внутри емкости не менее 19 %.

2.6. При работе в атмосфере аргона необходимо пользоваться изолирующим кислородным прибором или шланговым противогазом.

2.7. Эксплуатация баллонов, наполненных газообразным аргоном, должна проводиться в соответствии с правилами устройства и безопасной эксплуатации сосудов, работающих под давлением, утвержденными Госгортехнадзором СССР.

3. ПРАВИЛА ПРИЕМКИ

3.1. Газообразный и жидкий аргон принимают партиями. Партией считают любое количество продукта, однородного по показателям качества и оформленного одним документом о качестве.

При поставке аргона в автореципиентах или транспортных цистернах партией считается каждая цистерна или каждый автореципиент.

Каждая партия жидкого и газообразного аргона должна сопровождаться документом о качестве, содержащим следующие данные:

наименование предприятия-изготовителя и его товарный знак;

наименование продукта, его сорт;

дату изготовления;

номер партии, номер баллона (для газообразного аргона);

объем газообразного аргона в кубических метрах и массу жидкого аргона в тоннах или килограммах (см. приложение 1);

результаты проведенных анализов или подтверждение о соответствии продукта требованиям настоящего стандарта;

обозначение настоящего стандарта;

вид водорода, используемого для очистки сырого аргона.

(Измененная редакция, Изм. № 2).

3.2. Для определения объемной доли кислорода и объемной доли водяных паров отбирают один баллон от общего количества баллонов, одновременно заполненных аргоном из общего трубопровода на одном или нескольких наполнительных коллекторах, для определения объемной доли азота отбирают два баллона от одновременно заполненных на каждом наполнительном коллекторе.

При получении неудовлетворительных результатов анализа хотя бы по одному показателю проводят по нему повторный анализ на удвоенной выборке. Результаты повторного анализа распространяются на все одновременно наполненные баллоны.

Объемную долю суммы углеродсодержащих соединений определяют в пробах, отбираемых каждые 8 ч из общего трубопровода газообразного аргона, поступающего к коллекторам. При получении неудовлетворительных результатов анализа проводятся повторные анализы, отбираемые от 2 % баллонов, наполненных за 8 ч. Результаты повторных анализов распространяются на все баллоны, наполненные за указанный промежуток времени.

Для контроля давления аргона в наполненных баллонах отбирают 10 % баллонов от сменной выработки.

(Измененная редакция, Изм. № 1, 2, 3).

3.3. Для контроля потребителем качества газообразного аргона отбирают 10 % баллонов от партии, но не менее двух баллонов при партии менее 20 баллонов. В отобранных баллонах проверяют давление.

3.4. Для контроля качества газообразного аргона, транспортируемого в автореципиентах, пробу отбирают от каждого автореципиента.

3.5. Для контроля качества жидкого аргона пробу отбирают от каждой транспортной цистерны. Допускается изготовителю пробу жидкого аргона отбирать из стационарной емкости перед наполнением автоцистерн.

3.6. При получении неудовлетворительных результатов анализа по пп. 3.3; 3.4 и 3.5 хотя бы по одному из показателей проводят по нему повторный анализ на удвоенной выборке. Результаты повторного анализа распространяются на всю партию.

4. МЕТОДЫ АНАЛИЗА

4.1. Отбор проб

4.1.1. Пробу газообразного аргона отбирают из наполненного баллона при давлении не ниже (14,7 ±0,5) МПа (150 ±5) кгс/см2 или (19,6 ±1) МПа (200 ±10) кгс/см2 и температуре от 15 до 30 °C, непосредственно в прибор для анализа с помощью редуктора или вентиля тонкой регулировки и стальной или медной соединительной трубки от места отбора пробы до прибора. Редуктор или вентиль промывают анализируемым газом двукратным подъемом давления до 10 кгс/см2 и сбросом давления; соединительную трубку продувают не менее чем десятикратным объемом анализируемого газа. При определении объемной доли водяных паров пробу отбирают через трубку из нержавеющей стали.

(Измененная редакция, Изм. № 2, 3).

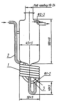
4.1.2. Пробу жидкого аргона отбирают в установку (черт. 1), основными частями которой являются:

1 - резиновая трубка с зажимом; 2 - медная трубка 6 ´ 1; 3 - крышка; 4 - резиновая трубка; 5 - змеевиковый испаритель; 6 - сосуд с водой; 7 - криогенный сосуд; 8 - трубка из нержавеющей стали 3 ´ 0,7; 9 - прокладка

Черт. 1

криогенный сосуд СК-6, рассчитанный на давление 0,03 МПа (0,3 кгс/см2), с крышкой, снабженной двумя трубками, одна из которых доходит до дна сосуда, вторая короткая, закрыта зажимом и змеевиковый испаритель из трубы ДКРНМ 3 ´ 0,5 НД МЗ по ГОСТ 617, длиной 500 мм.

Перед отбором пробы жидкого аргона криогенный сосуд охлаждают, наливая 50 - 100 см3 анализируемого жидкого аргона. Неиспарившийся остаток жидкости выливают из сосуда и сразу наливают в него пробу жидкого аргона, заполняя сосуд примерно на 1/2 объема.

При открытом зажиме 1 закрывают криогенный сосуд крышкой и присоединяют к нему змеевиковый испаритель, погруженный в сосуд с нагретой водой (50 - 60 °C). Короткую трубку присоединяют к баллону с газообразным аргоном высшего сорта через редукционный вентиль, которым регулируют скорость поступления жидкого аргона в испаритель.

Допускается отбирать пробу жидкого аргона непосредственно в прибор для анализа через змеевиковый испаритель. При этом змеевиковый испаритель, погруженный в сосуд с водой, присоединяют к вентилю емкости с жидким аргоном с помощью трубки из нержавеющей стали внутренним диаметром 1,5 - 2,5 мм.

(Измененная редакция, Изм. № 1, 2, 3).

4.2. Определение объемной доли аргона

4.2.1. Объемную долю аргона (X) в процентах вычисляют по разности между 100 и суммой объемных долей примесей по формуле

Х = 100 - (Х1 + Х2 + Х3 + X4),

где Х1 - объемная доля кислорода, %;

Х2 - объемная доля азота, %;

Х3 - объемная доля водяных паров, %;

Х4 - объемная доля суммы углеродсодержащих соединений в пересчете на СО2, %;

(Измененная редакция, Изм. № 2, 3).

4.3. Определение объемной доли кислорода

4.3.1. Аппаратура, реактивы и растворы

Колба Кн-1-100 по ГОСТ 25336.

Пипетки вместимостью 2, 10 и 25 см3.

Бюретки вместимостью 1 и 5 см3.

Весы лабораторные общего назначения с наибольшим пределом взвешивания 200 г 2-го класса точности.

Установка для определения кислорода состоит из сосуда для анализа, бутыли для поглотительного раствора вместимостью 5 - 10 дм3 со сливной трубкой (сифоном) и пробирок для колориметрирования (черт. ).

Untitled-1

Черт. 2а

Untitled-1

I - соединение сосуда А с атмосферой; II - кран закрыт;
III - соединение сосуда А с сосудом Б

1 - одноходовой кран; 2 - двухходовой кран

Черт. 2

Сосуд для анализа типа СВ-7631 МЗ (черт. 2) имеет два объема - А и Б, разделенные двухходовым краном 2, снабженным отростком для присоединения к месту отбора пробы, и краном 1 для введения в сосуд поглотительного раствора.

Вместимость объема А около 5 дм3, объема Б около 25 см3.

Аргон газообразный по настоящему стандарту.

Азот газообразный по ГОСТ 9293, технический, 1-й сорт.

Аммиак водный по ГОСТ 3760, растворы с массовой долей 25 и 4 %.

Аммоний хлористый по ГОСТ 3773.

Вода дистиллированная по ГОСТ 6709.

Калий йодистый по ГОСТ 4232, раствор с массовой долей 10 %.

Кислота уксусная по ГОСТ 61, х. ч., ледяная.

Крахмал растворимый по ГОСТ 10163, раствор с массовой долей 1 %.

Натрий серноватистокислый (тиосульфат натрия) 5-водный по ГОСТ 27068, раствор концентрации с (Na2S2O3) = 0,05 моль/дм3.

Медь (II) сернокислая 5-водная по ГОСТ 4165, раствор концентрации с (1/2 CuSO4) = 0,05 моль/дм3.

Медь однохлористая по ГОСТ 4164.

Проволока медная круглая электротехническая типа ММ, диаметром 0,8 - 2,5 мм, в виде спирали.

Смазка для кранов.

Раствор однохлористой меди аммиачный (поглотительный раствор); готовят из расчета 12 г однохлористой меди, 36 г хлористого аммония, 145 см3 раствора аммиака с массовой долей 25 % на 1 дм3 воды. Раствор готовят в бутыли, заполненной спиралями из медной проволоки. В бутыль наливают воду и раствор аммиака, затем вносят навески хлористого аммония и однохлористой меди. Раствор продувают аргоном до полного растворения солей и обесцвечивания раствора, после чего защищают от доступа воздуха.

Раствор сернокислой меди концентрации с (1/2 CuSO4) = 0,05 моль/дм3 готовят следующим образом: 12,484 г свежеперекристаллизованной сернокислой меди растворяют в воде в колбе вместимостью 1 дм3. Титр раствора определяют йодометрическим методом.

Йод, выделившийся при добавлении к 25 см3 анализируемого раствора 10 см3 раствора йодистого калия и 2 - 3 см3 уксусной кислоты, титруют раствором тиосульфата натрия в присутствии крахмала до обесцвечивания раствора. Поправочный коэффициент (K1) для раствора сернокислой меди вычисляют как частное от деления на 25 объема раствора серноватистокислого натрия, израсходованного на титрование.

Образцовые растворы готовят в пробирках для колориметрирования, в каждую из которых наливают раствор сернокислой меди в количествах, указанных в табл. 3, и затем доводят объем раствора до 25 см3 раствором аммиака с массовой долей 4 %.

Срок годности образцовых растворов - 6 мес.

Таблица 3

Номер образцового раствора

Объем раствора сернокислой меди концентрации точно 0,05 моль/дм3, см3

Объем кислорода в пробе, соответствующий окраске раствора, см3

1

0,05

0,015

2

0,10

0,030

3

0,15

0,045

4

0,20

0,060

5

0,25

0,075

6

0,30

0,090

7

0,35

0,105

8

0,40

0,120

9

0,45

0,135

10

0,50

0,150

Примечание. Объем кислорода, эквивалентный 1 см3 раствора сернокислой меди концентрации 0,05 моль/дм3, равен

0,05/1000 ´ 11200/2 ´ 293/273 = 0,300 см3 при 20 °C и 101,3 кПа (760 мм рт. ст.). Если концентрация раствора сернокислой меди не точно 0,05 моль/дм3, то значения, приведенные в графе 3, умножают на коэффициент K1.

(Измененная редакция, Изм. № 1, 2, 3).

4.3.2. Проведение анализа

Перед проведением анализа сосуд промывают хромовой смесью, затем водой и высушивают в токе азота.

Открывают краны 1 и 2 и присоединяют сосуд для анализа к месту отбора пробы. Продувают сосуд не менее чем десятикратным объемом анализируемого газа. Уменьшив поток газа, закрывают кран 1, затем кран 2 и отсоединяют прибор от места отбора пробы. Давление газа в приборе выравнивают с атмосферным быстрым поворотом крана 2, кончик которого предварительно погружают в воду. Отмечают барометрическое давление и температуру окружающей среды.

Заполняют объем Б через кран 1 поглотительным раствором, предварительно сливая из сифона первую порцию раствора.

Кран 1 закрывают и подбирают образцовый раствор, совпадающий по окраске с раствором в объеме Б.

Открыв кран 2 (при закрытом кране 1) переливают поглотительный раствор в объеме А и энергично встряхивают сосуд до полного поглощения раствором кислорода из анализируемого газа.

Возвращают раствор в объем Б и подбирают образцовый раствор, совпадающий по окраске с раствором в объеме Б.

4.3.3. Обработка результатов

Объемную долю кислорода (X1) в процентах вычисляют по формуле

,

где V - объем пробы газа, равный вместимости объема А, см3;

V1 - объем кислорода, соответствующий выбранному образцовому раствору до поглощения кислорода, см3;

V2 - объем кислорода, соответствующий выбранному образцовому раствору после поглощения кислорода, см3;

K2 - коэффициент для приведения объема сухого газа к 20 °C и 101,3 кПа (760 мм. рт. ст.) определяют по таблице, приведенной в справочном приложении 2.

За результат анализа принимают среднее арифметическое результатов двух параллельных определений, относительное расхождение между которыми не превышает допускаемое расхождение, равное 15 %.

Объемную долю кислорода допускается определять многошкальными приборами с гальванической ячейкой с твердым электролитом (при этом объемная доля водорода и горючих примесей не должна превышать 1 % от измеряемой объемной доли кислорода), а также из наполнительного трубопровода промышленными автоматическими газоанализаторами непрерывного действия по ГОСТ 13320 с относительной погрешностью не более 10 %, например, типа ГЛ.

При разногласиях в оценке объемной доли кислорода анализ проводят колориметрическим методом с применением раствора хлористой меди по п. 4.3.2.

Допускаемая относительная суммарная погрешность результата анализа ±30 % при доверительной вероятности P = 0,95.

(Измененная редакция, Изм. № 2, 3).

4.4. Определение объемной доли азота

4.4.1. Аппаратура

Спектральные газоанализаторы различных типов («Свет» и др.) с относительной погрешностью не выше 15 %.

Смеси газовые поверочные с объемной долей азота в аргоне 5 млн-1 - ГСО № 3992-87, 10 млн-1 - ГСО № 3994-87, 20 млн-1 - ГСО № 3995-87, 50 млн-1 - ГСО № 3997-87, 90 млн-1 -ГСО № 3994-87 по Госреестру.

4.4.2. Проведение анализа

Принцип работы газоанализатора основан на измерении интенсивности излучения молекулярной полосы азота, возбуждаемого электрическим разрядом в анализируемом газе.

Подготовка к анализу и его проведение выполняются согласно инструкции по эксплуатации прибора.

4.4 - 4.4.2. (Измененная редакция, Изм. № 2).

4.4.3. Обработка результатов

Объемную долю азота (Х2) в процентах определяют в соответствии с установившимися показаниями прибора.

Объемную долю азота допускается определять газоадсорбционным хроматографическим методом с применением хроматографа с высокочувствительным детектором по теплопроводности с пороговой чувствительностью по азоту не выше 5 млн-1.

Объемную долю азота в аргоне допускается определять и другими приборами с относительной погрешностью не выше 15 %.

При разногласиях в оценке объемной доли азота анализ проводят спектральным методом.

(Измененная редакция, Изм. № 2, 3).

4.4.4. (Исключен, Изм. № 2).

4.5. Определение объемной доли водяных паров

4.5.1. Аппаратура

Влагомеры газов кулонометрические, рассчитанные на измерение микроконцентраций водяных паров, с относительной погрешностью измерения не выше 10 % при концентрациях от 0 до 20 млн-1 (ppm) и не выше 5 % при более высоких концентрациях.

4.5.2. Проведение анализа

Кулонометрический метод основан на непрерывном количественном извлечении водяных паров из испытуемого газа гигроскопичным веществом и одновременном электролитическом разложении извлекаемой воды на водород и кислород, при этом ток электролиза является мерой концентрации водяных паров.

Прибор соединяют с местом отбора пробы трубкой из нержавеющей стали. Расход газа устанавливают (50 ±1) см3/мин. Переключатель диапазонов измерения устанавливают так, чтобы показания прибора были в пределах второй трети измерительной шкалы, градуированной в миллионных долях (ppm). Ток электролиза измеряют микроамперметром.

Температура баллона с анализируемым газом должна быть не ниже 15 °C. Анализ проводят по инструкции, прилагаемой к прибору.

4.5.3. Обработка результатов

Объемную долю водяных паров (X3) в млн-1 определяют в соответствии с установившимися показаниями прибора.

Допускается определять объемную долю водяных паров конденсационным методом, приведенным в приложении 4.

При разногласиях в оценке объемной доли водяных паров анализ проводят кулонометрическим методом.

4.5 - 4.5.3. (Измененная редакция, Изм. № 3).

4.6. Определение объемной доли суммы углесодержащих соединений в пересчете на СО2

4.6.1. Аппаратура, реактивы и растворы

Установка для анализа (черт. 4), состоит из электрической печи, рассчитанной для нагревания до 900 °C, кварцевой трубки внутренним диаметром от 25 до 30 мм, заполненной окисью меди, абсорбера (черт. 5) и газового барабанного счетчика с жидкостным затвором типа РГ-700.

Бюретки вместимостью 25 и 50 см3 с ценой деления 0,1 см3.

Пипетки вместимостью 20 см3.

Колба типа П или Кн по ГОСТ 25336 вместимостью 1000 см3.

Весы лабораторные общего назначения 2-го класса точности с наибольшим пределом взвешивания 200 г.

Секундомер механический.

Аргон газообразный, очищенный дополнительно от двуокиси углерода, с помощью щелочного поглотителя любого типа или низкотемпературной адсорбцией до остаточной объемной доли не более 5 ´ 10-5 %.

Вода дистиллированная по ГОСТ 6709, свежепрокипяченная.

Барий хлористый по ГОСТ 4108.

Кислота соляная, раствор концентрации с (HCL) = 0,01 моль/дм3 (0,01 н); готовят из фиксанала соляной кислоты.

Меди (II) окись по ГОСТ 16539.

Untitled-1

1 - электрическая печь; 2 - кварцевая трубка; 3 - окись меди; 4 - абсорбер; 5 - счетчик барабанный газовый

Черт. 4*

* Черт. 3 (Исключен, Изм. № 2).

untitled-1

1 - пять полных витков трубки диаметром (6 ±1) мм; 2 - стеклянная перемычка; 3 - место впая газопроводящей линии

Черт. 5

Спирт этиловый ректификованный технический, высший сорт, по ГОСТ 18300, раствор с массовой долей 60 %.

Фенолфталеин, спиртовой раствор с массовой долей 0,1 %.

Бария гидроокись 8-водная по ГОСТ 4107, раствор концентрации с (1/2 Ва (ОН)2) = 0,01 моль/дм3 (0,01 н); готовят следующим образом: 1,8 г Ва (ОН)2  8Н2О и 0,35 г ВаС12  2Н2О растворяют в 200 - 300 см3 горячей воды в мерной колбе вместимостью 1 дм3, охлажденный раствор доводят водой до метки и фильтруют в токе аргона. Раствор при хранении и использовании должен быть защищен от атмосферного воздуха.

(Измененная редакция, Изм. № 1, 2, 3).

4.6.2. Проведение анализа

Определяют концентрацию раствора гидроокиси бария (контрольная проба). Для этого отбирают в абсорбер 20 см3 раствора и титруют в токе аргона, очищенного от двуокиси углерода, раствором соляной кислоты в присутствии 2 - 3 капель раствора фенолфталеина.

Анализируемый аргон пропускают через трубку с окисью меди, нагретую до температуры 800 - 850 °C, в течение 10 мин со скоростью около 5 дм3/ч и выбрасывают в атмосферу. Затем присоединяют к трубке абсорбер, в который вливают 20 см3 раствора гидроокиси бария и пропускают через установку 20 дм3 анализируемого аргона, поддерживая скорость газа около 10 дм3/ч. После этого раствор в абсорбере титруют в токе аргона, очищенного от двуокиси углерода, соляной кислотой в присутствии 2 - 3 капель раствора фенолфталеина, до обесцвечивания раствора.

4.6.3. Обработка результатов

Объемную долю суммы углеродсодержащих соединении в пересчете на СО24) в процентах вычисляют по формуле

где V3 - объем раствора соляной кислоты, израсходованный на титрование контрольной пробы, см3;

V4 - объем раствора соляной кислоты, израсходованный на титрование раствора после поглощения двуокиси углерода, см3;

0,12 - коэффициент, учитывающий эквивалентные соотношения раствора гидроокиси бария концентрации с (1/2 Ва(ОН)2) = 0,01 моль/дм3 и двуокиси углерода;

Vn - объем газа, взятый для анализа, приведенный к нормальным условиям, см3.

За результат анализа принимают среднее арифметическое результатов двух параллельных определений, относительное расхождение между которыми не превышает допускаемое расхождение, равное 10 %.

Допускается определять объемную долю суммы углеродсодержащих соединений в пересчете на СО2 газохроматографическими методами, приведенными в рекомендуемом приложении 5.

При разногласиях в оценке объемной доли суммы углеродсодержащих соединений в пересчете на СО2 анализ проводят титрометрическим методом.

Допускаемая относительная суммарная погрешность результата анализа ±25 % при доверительной вероятности P - 0,95.

(Измененная редакция, Изм. № 1, 2, 3).

4.7. Объемные доли кислорода и суммы углеродсодержащих соединений в пересчете на СО2 допускается определять газоадсорбционным хроматографическим методом с применением хроматографа с высокочувствительным аргоновым разрядным детектором с пороговой чувствительностью не выше 0,5 млн-1 по каждой определяемой примеси.

(Измененная редакция, Изм. № 1, 2).

5. УПАКОВКА, МАРКИРОВКА, ТРАНСПОРТИРОВАНИЕ И ХРАНЕНИЕ

5.1. Упаковка, маркировка, транспортирование и хранение газообразного и жидкого аргона - по ГОСТ 26460.

Аргон газообразный относится к классу 2, подклассу 2.1, классификацонный шифр - 2111, номер чертежа знака опасности - 2, номер ООН - 1006.

Аргон жидкий относится к классу 2, подклассу 2.1, классификацонный шифр - 2115, номер чертежа знака опасности - 2, номер ООН - 1951.

Номинальное давление аргона при 20 °C при наполнении, хранении и транспортировании баллонов и автореципиентов должно составлять (14,7 ±0,5) МПа [(150 ±5) кгс/см2] или (19,6 ±1,0) МПа [(200 ±10) кгс/см2].

Возвратные баллоны и автореципиенты должны иметь остаточное давление аргона не ниже 0,05 МПа (0,5 кгс/см2).

(Измененная редакция, Изм. № 2, 3).

6. ГАРАНТИИ ИЗГОТОВИТЕЛЯ

6.1. Изготовитель гарантирует соответствие качества газообразного и жидкого аргона требованиям настоящего стандарта при соблюдении потребителем условий хранения и транспортирования,

(Измененная редакция, Изм. № 2).

6.2. Гарантийный срок хранения газообразного аргона - 18 мес. со дня изготовления.

(Измененная редакция, Изм. № 1).

ПРИЛОЖЕНИЕ 1

Справочное

ВЫЧИСЛЕНИЕ КОЛИЧЕСТВА ГАЗООБРАЗНОГО И ЖИДКОГО АРГОНА

1. Объем газообразного аргона в баллоне (Vn) в м3 при нормальных условиях вычисляют по формуле

Vn = K × Vб,

где K - коэффициент для вычисления объема газа в баллоне, приведенный в таблице, учитывающий сжимаемость аргона, давление и температуру газа в баллоне;

Vб - среднестатистическая вместимость баллона, дм3. За среднестатистическую принимают среднее арифметическое вместимостей не менее 100 баллонов.

Значение коэффициента (K) вычисляют по формуле

где P - давление газа в баллоне, измеренное манометром, кгс/см2;

0,968 - коэффициент пересчета технических атмосфер (кгс/см2) в физические атмосферы;

t - температура газа в баллоне при измерении давления, °C;

Z - коэффициент сжимаемости аргона при температуре t.

Например, при поставке газообразного аргона в баллонах по ГОСТ 949 вместимостью 40 дм3, объем газа в баллоне составляет:

при давлении 150 кгс/см2 при 20 °C

0,155 ´ 40 = 6,20 м3;

при давлении 200 кгс/см2 при 20 °C

0,206 ´ 40 = 8,24 м3.

(Измененная редакция, Изм. № 2).

2. Количество жидкого аргона в цистернах измеряют в тоннах или килограммах.

При переводе массы или объема жидкого аргона в м3 газообразного аргона при нормальных условиях пользуются формулами, указанными ниже.

 или ,

где m - масса жидкого аргона, т;

Vж - объем жидкого аргона, дм3.

1,662 - плотность газообразного аргона при нормальных условиях, кг/м3;

1,392 - плотность жидкого аргона при нормальном давлении, кг/дм3.

Коэффициент (K) для вычисления объема газа в баллоне в м3 при нормальных условиях 20 °C и 101,3 кПА (760 мм. рт. ст.)

Температура газа в баллоне, °C

Избыточное давление газа в баллоне, МПа (кгс/см2)

9,8

11,8

13,7

14,2

14,7

15,2

15,7

16,2

16,7

17,7

19,6

21,6

(100)

(120)

(140)

(145)

(150)

(155)

(160)

(165)

(170)

(180)

(200)

(220)

-50

0,157

0,193

0,231

0,240

0,249

0,258

0,267

0,276

0,284

0,300

0,331

0,363

-40

0,145

0,178

0,211

0,219

0,227

0,236

0,243

0,251

0,259

0,274

0,303

0,333

-35

0,140

0,171

0,203

0,211

0,218

0,226

0,234

0,241

0,248

0,263

0,291

0,319

-30

0,135

0,165

0,195

0,203

0,210

0,217

0,224

0,232

0,239

0,253

0,280

0,307

-25

0,131

0,159

0,188

0,195

0,202

0,209

0,216

0,223

0,230

0,243

0,269

0,296

-20

0,127

0,154

0,181

0,188

0,195

0,202

0,209

0,215

0,222

0,235

0,259

0,285

-15

0,123

0,149

0,175

0,182

0,189

0,195

0,202

0,208

0,215

0,227

0,252

0,276

-10

0,120

0,145

0,170

0,177

0,183

0,189

0,195

0,202

0,208

0,220

0,243

0,267

-5

0,116

0,141

0,165

0,171

0,178

0,184

0,190

0,196

0,202

0,213

0,236

0,260

0

0,113

0,137

0,161

0,167

0,173

0,178

0,184

0,190

0,196

0,207

0,229

0,252

+5

0,110

0,134

0,157

0,162

0,168

0,174

0,179

0,185

0,190

0,201

0,223

0,245

+10

0,108

0,132

0,153

0,158

0,164

0,169

0,175

0,180

0,185

0,196

0,217

0,238

+15

0,105

0,128

0,149

0,154

0,159

0,165

0,170

0,175

0,181

0,191

0,212

0,232

+20

0,103

0,124

0,145

0,150

0,155

0,161

0,166

0,171

0,176

0,186

0,206

0,227

+25

0,101

0,121

0,142

0,147

0,152

0,157

0,162

0,167

0,172

0,182

0,201

0,221

+30

0,099

0,119

0,139

0,144

0,149

0,154

0,158

0,163

0,168

0,178

0,196

0,216

+35

0,097

0,116

0,136

0,140

0,145

0,150

0,155

0,160

0,164

0,174

0,192

0,211

+40

0,095

0,114

0,133

0,137

0,142

0,147

0,152

0,156

0,161

0,170

0,188

0,206

+50

0,091

0,109

0,128

0,132

0,137

0,141

0,146

0,150

0,154

0,163

0,180

0,198

ПРИЛОЖЕНИЕ 2

Справочное

Значение коэффициента K2 для приведения объема газа к нормальным условиям

Температура, °C

Показания барометра, кПа (мм рт. ст.)

93,3

94,6

96,0

97,2

98,6

100,0

101.3

102,6

(700)

(710)

(720)

(730)

(740)

(750)

(760)

(770)

K2

10

0,953

0,967

0,980

0,993

1,007

1,021

1,035

1,049

12

0,946

0,960

0,974

0,985

1,000

1,014

1,028

1,042

14

0,940

0,954

0,967

0,979

0,993

1,007

1,021

1,035

16

0,934

0,947

0,960

0,972

0,986

1,000

1,014

1,028

18

0,927

0,940

0,954

0,966

0,979

0,993

1,007

1,021

20

0,921

0,934

0,947

0,959

0,973

0,987

1,000

1,014

22

0,915

0,928

0,941

0,952

0,966

0,980

0,993

1,007

24

0,908

0,921

0,934

0,946

0,960

0,973

0,986

1,000

26

0,903

0,915

0,928

0,940

0,953

0,966

0,979

0,993

28

0,896

0,909

0,922

0,933

0,947

0,960

0,973

0,987

30

0,890

0,903

0,916

0,927

0,941

0,954

0,967

0,980

32

0,885

0,897

0,910

0,921

0,934

0,947

0,961

0,974

34

0,879

0,891

0,904

0,915

0,928

0,941

0,954

0,967

35

0,876

0,889

0,901

0,912

0,925

0,938

0,951

0,964

ПРИЛОЖЕНИЕ 2.(Измененная редакция, Изм. № 1).

ПРИЛОЖЕНИЕ 3. (Исключено, Изм. № 2).

ПРИЛОЖЕНИЕ 4

Обязательное

ОПРЕДЕЛЕНИЕ ОБЪЕМНОЙ ДОЛИ ВОДЯНЫХ ПАРОВ КОНДЕНСАЦИОННЫМ МЕТОДОМ

Объемную долю водяных паров определяют приборами конденсационного типа с пороговой чувствительностью не выше 1,5 млн-1 (ppm).

Относительная погрешность прибора не должна превышать 10 %.

Метод основан на измерении температуры насыщения газа водяными парами при появлении росы на охлажденной зеркальной поверхности.

Анализ проводят по инструкции, приложенной к прибору.

Объемную долю водяных паров в соответствии с найденной температурой насыщения определяют по табл. 1.

Таблица 1

Объемная доля водяных паров, млн-1 (ppm)

Температура насыщения, °C

Объемная доля водяных паров, млн-1 (ppm)

Температура насыщения, °C

2,55

-70

23,4

-54

3,44

-68

31,1

-52

4,60

-66

39,4

-50

6,10

-64

49,7

-48

8,07

-62

63,2

-46

10,6

-60

80

-44

14,0

-58

101

-42

18,3

-56

127

-40

Примечание. Объемная доля, равная 1 млн-1, соответствует 1 ´ 10-4 %.

За результат анализа принимают среднее арифметическое результатов двух параллельных определений, относительное расхождение между которыми не превышает допускаемое расхождение, равное 10 %.

Допускаемая относительная суммарная погрешность результата анализа ±25 % при доверительной вероятности P = 0,95.

ПРИЛОЖЕНИЕ 4. (Измененная редакция, Изм. № 3).

ПРИЛОЖЕНИЕ 5

Рекомендуемое

ОПРЕДЕЛЕНИЕ ОБЪЕМНОЙ ДОЛИ СУММЫ УГЛЕРОДСОДЕРЖАЩИХ СОЕДИНЕНИЙ ГАЗОХРОМАТОГРАФИЧЕСКИМИ МЕТОДАМИ

А. Определение объемной доли двуокиси углерода, получаемой при окислении углеродсодержащих соединений окисью меди (по п. 4.6.2 настоящего стандарта).

1. Аппаратура, материалы и реактивы

Хроматограф с детектором по теплопроводности с порогом чувствительности по пропану при газе-носителе (гелии) не выше 2 ´ 10-5 мг/см3 и газохроматографической колонкой длиной 1,4 м, внутренним диаметром 4 мм, наполненной активным углем.

Концентратор - U-образный. Для изготовления берется трубка из нержавеющей стали 6 ´ 1 мм, длиной 500 мм. Концентратор наполняется измельченным лабораторным стеклом. К концентрату присоединяют стеклянный переходник (черт. 1) с отростком и пробкой для ввода пробы.

Сосуд Дьюара стеклянный, вместимостью около 0,5 дм3.

Счетчик газовый барабанный (с жидкостным затвором) типа РГ-700.

Оборудование вспомогательное для хроматографического анализа:

лупа измерительная по ГОСТ 25706 16´ увеличением с ценой деления 0,1 мм;

линейка металлическая по ГОСТ 427;

Стеклянный переходник с пробкой

untitled-1

Черт. 1

набор сит «Физприбор» или сита аналогичного типа; шприцы медицинские инъекционные типа Рекорд по ГОСТ 22967, вместимостью 2, 5, 10 см3;

секундомер механический;

расходомер пенный.

Кислород жидкий технический по ГОСТ 6331.

Гелий газообразный очищенный с объемной долей двуокиси углерода не более 0,0001 %.

Смесь поверочная газовая с объемной долей двуокиси углерода в азоте 0,50 % - ГСО № 3765-87 по Госреестру.

Уголь активный марки СКТ, фракция с частицами размером 0,2 - 0,5 мм высушенный при 150 °C в течение 4 ч.

Стекло лабораторное, измельченное в фарфоровой ступке. Фракцию с частицами размером 0,2 - 0,5 мм промывают горячей дистиллированной водой и высушивают при 150 °C в течение 4 ч.

Сетка медная с размером ячейки 0,1 - 0,15 мм или волокно стеклянное по ГОСТ 10727.

2. Подготовка к анализу

Газохроматографическую колонку наполняют активным углем; поверх слоя угля укладывают слой стеклянного волокна толщиной 8 - 12 мм. Затем колонку укрепляют в термостате хроматографа и, не присоединяя к детектору, дополнительно высушивают при 150 °C в течение 8 ч в токе газа-носителя при расходе 30 см3/мин.

Концентратор наполняют измельченным стеклом; поверх слоя стекла укладывают медную сетку. Наполненный концентратор продувают газом-носителем в течение 3 ч.

Объемную долю двуокиси углерода определяют методом абсолютной градуировки, используя для этого поверочную газовую смесь (ПГС).

От 3 до 5 доз ПГС объемом от 2 до 10 см3 вводят в хроматограф через концентратор, который присоединяют к хроматографу вместо сменной дозы короткими вакуумными трубками.

Перед введением каждой дозы продувают концентратор газом-носителем (гелием) в течение 1 мин. Затем, прекратив подачу гелия, помещают концентратор в сосуд Дьюара с жидким кислородом. Через 3 мин включают подачу газа-носителя и вводят в его поток через переходник дозу ПГС. Через 1 мин заменяют сосуд Дьюара с жидким кислородом сосудом с водой, нагретой до 25 - 30 °C, и записывают хроматограмму десорбированной двуокиси углерода.

По хроматограммам ПГС строят градуировочный график зависимости высоты пика двуокиси углерода в миллиметрах, приведенной к чувствительности регистратора (масштабу) M1, от объема двуокиси углерода в каждой дозе (V1) в миллилитрах, который вычисляют по формуле

,

где Cст - объемная доля двуокиси углерода в ПГС, %;

Dст - доза ПГС, см3.

Условия градуировки. Температура газохроматографической колонки 150 °C, расход газа-носителя (гелия) - 30 см3/мин. Ток питания детектора и чувствительность регистратора устанавливают опытным путем в зависимости от типа хроматографа.

Градуировку проверяют один раз в месяц, используя газовую смесь двуокиси углерода с азотом с установленной объемной долей двуокиси углерода около 0,5 %.

3. Проведение анализа

Хроматограф подключают к сети и выводят на нормальный режим.

Концентратор присоединяют к переключающему крану хроматографа и продувают не менее чем десятикратным объемом гелия. Одновременно устанавливают расход анализируемого газа около 300 см3/мин по показаниям пенного расходомера.

Помещают концентратор в сосуд Дьюара с жидким кислородом. Через 3 мин направляют в концентрат анализируемый газ и пропускают от 3 до 5 дм3 газа в зависимости от измеряемой объемной доли двуокиси углерода. Объем пробы измеряют по показаниям газового счетчика.

Закончив отбор пробы, продувают охлажденный концентратор гелием в течение 1 - 2 мин, затем заменяют сосуд Дьюара с жидким кислородом сосудом с водой, нагретой до 25 - 30 °C, и записывают хроматограмму десорбированной двуокиси углерода. Температура газохроматографической колонки, расход газа-носителя (гелия) и ток питания детектора должны быть идентичны принятым при градуировке прибора. Диапазон шкалы регистратора выбирают таким, чтобы пик двуокиси углерода был максимальным в пределах диаграммной ленты регистратора.

4. Обработка результатов

По высоте пика двуокиси углерода, приведенной к чувствительности регистратора M1, определяют по градуировочному графику объем двуокиси углерода в пробе аргона и вычисляют объемную долю двуокиси углерода (X) в процентах по формуле

,

где V1 - объем двуокиси углерода в пробе аргона по градуировочному графику, см3;

V - объем пробы аргона, см3.

За результат анализа принимают среднее арифметическое двух параллельных определений, допускаемые расхождения между которыми не должны превышать 15 % относительно среднего результата определенной величины при доверительной вероятности, равной 0,95.

Б. Определение объемной доли суммы углеродсодержащих соединений с предварительным гидрированием окиси и двуокиси углерода

1. Аппаратура, материалы и реактивы

Хроматограф с пламенно-ионизационным детектором, с порогом чувствительности по пропану не выше 2,5  10-8 мг/с.

Реактор-трубка из нержавеющей стали диаметром от 3 до 5 мм, длиной 100 - 300 мм, наполненная катализатором, помещенная в печь, рассчитанную на нагрев до температуры 500 °C.

Вспомогательное оборудование для хроматографического анализа по п. 1.

Аргон газообразный по настоящему стандарту, дополнительно очищенный от углеродсодержащих соединений до объемной доли не более 0,0001 %.

Водород технический по ГОСТ 3022 марки А или Б, высшего сорта, дополнительно очищенный от углеродсодержащих соединений до объемной доли не более 0,0001 %.

Воздух сжатый по ГОСТ 17433, класс загрязненности не выше 2-го.

Метан газообразный чистый с объемной долей основного вещества не менее 99,6 %.

Никель (II) азотнокислый 6-водный по ГОСТ 4055.

Силикагель технический мелкопористый по ГОСТ 3956, фракция с размером частиц 0,5 - 1 мм.

Смеси поверочные газовые с объемной долей метана в воздухе 2,5 млн-1 и 7,5 млн-1 - ГСО № 3896-87; 10 млн-1 - ГСО № 3897-87 по Госреестру.

Смесь поверочная газовая с объемной долей двуокиси углерода в азоте 50 млн-1 - ГСО № 3746-87 по Госреестру.

2. Подготовка к анализу

2.1. Устанавливают в хроматографе газохроматографическую колонку (длиной не более 1 м), не заполненную адсорбентом.

Катализатор для наполнения реактора готовят следующим образом. Высушивают силикагель при 150 - 180 °C в течение 4 ч в сушильном шкафу, помещают в фарфоровую чашку и заливают раствором азотнокислого никеля из расчета: на 20 г силикагеля около 10 г Ni(NO3)2  6Н2O, растворенного в воде. Силикагель должен быть полностью погружен в раствор. Избыток растворителя выпаривают. Массу прокаливают при 600 - 800 °C до прекращения выделения окислов азота, затем охлаждают, наполняют реактор, присоединяют его к хроматографу и восстанавливают окись никеля до металлического никеля в токе водорода (расход 60 см3/мин) при 400 - 500 °C в течение 4 ч.

Активность катализатора проверяют с помощью поверочной газовой смеси двуокиси углерода в аргоне.

В реакторе, присоединенном с помощью тройника к газохроматографической колонке (на выходе газа), двуокись углерода гидрируется водородом при 450 - 500 °C до метана. Пик метана фиксируется пламенно-ионизационным детектором. По высоте пика метана определяют объемную долю двуокиси углерода и сравнивают ее с номинальным содержанием двуокиси углерода в смеси. Допускаемое расхождение результатов - не более 5 %.

Дополнительная очистка водорода в двух колонках, первая из которых наполнена ангидроном, вторая - высушенным и прокаленным синтетическим цеолитом. Вторая колонка охлаждается жидким азотом.

Дополнительная очистка аргона окисью меди при 700 - 750 °C с последующим удалением влаги и двуокиси углерода в двух колонках, первая из которых наполнена ангидроном, вторая - синтетическим цеолитом.

2.2. Градуировка хроматографа

Градуировку хроматографической установки (черт. 3) проводят методом абсолютной градуировки, используя для этого градуировочные смеси. По хроматограммам градуировочных смесей строят градуировочный график зависимости высоты пика метана, приведенной к чувствительности регистратора M1, в миллиметрах, от объемной доли метана в процентах.

untitled-1

1 - баллон с анализируемым газом; 2 - баллон с газом-носителем (азотом, аргоном или водородом); 3 - редуктор баллона; 4 - вентиль тонкой регулировки; 5 - дозатор; 6 - реактор; 7 - детектор пламенно-ионизационный; 8 - измерительный прибор

Черт. 3

Градуировку проверяют один раз в 3 мес.

Условия градуировки. Расход газа-носителя аргона 60 - 70 см3/мин, водорода 30 - 40 см3/мин, воздуха 150 - 200 см3/мин, доза градуировочной смеси 1 - 2 см3. Чувствительность регистратора устанавливают опытным путем в зависимости от состава градуировочной смеси и типа хроматографа.

3. Проведение анализа

3.1. Пробу анализируемого газа вводят в хроматограф с помощью дозатора. Температура реактора, расход газа-носителя, водорода и воздуха, доза анализируемого газа должны быть идентичны принятым при градуировке прибора.

Чувствительность регистратора выбирают такой, чтобы пик определяемой примеси был максимальным в пределах диаграммной ленты регистратора.

4. Обработка результатов

4.1. Объемная доля суммы углеродсодержащих соединений в пересчете на СО2 (Х5) в процентах равна объемной доле метана, присутствующего в анализируемом газе и образующегося при гидрировании окиси и двуокиси углерода, которую определяют по градуировочному графику по высоте пика метана, приведенной к чувствительности регистратора M1.

За результат анализа принимают среднее арифметическое двух параллельных определений, допускаемые расхождения между которыми не должны превышать 15 % относительно среднего результата определяемой величины при доверительной вероятности 0,95.

ПРИЛОЖЕНИЕ 5. (Измененная редакция, Изм. № 2).

 

ИНФОРМАЦИОННЫЕ ДАННЫЕ

1. РАЗРАБОТАН И ВНЕСЕН Министерством химической промышленности СССР

2. УТВЕРЖДЕН И ВВЕДЕН В ДЕЙСТВИЕ Постановлением Государственного комитета СССР по стандартам от 23.11.79 № 4496

Изменение № 3 принято Межгосударственным Советом по стандартизации, метрологии и сертификации (протокол № 12 от 21.11.97)

Зарегистрировано Техническим секретариатом МГС № 2699

За принятие изменения проголосовали:

Наименование государства

Наименование национального органа стандартизации

Азербайджанская Республика

Азгосстандарт

Республика Армения

Армгосстандарт

Республика Белоруссия

Госстандарт Белоруссии

Республика Казахстан

Госстандарт Республики Казахстан

Киргизская Республика

Киргизстандарт

Республика Молдова

Молдовастандарт

Российская Федерация

Госстандарт России

Республика Таджикистан

Таджикгосстандарт

Туркменистан

Главная государственная инспекция Туркменистана

Украина

Госстандарт Украины

3. ВЗАМЕН ГОСТ 10157-73

4. ССЫЛОЧНЫЕ НОРМАТИВНО-ТЕХНИЧЕСКИЕ ДОКУМЕНТЫ

Обозначение НТД, на который дана ссылка

Номер пункта, подпункта, приложения

Обозначение НТД, на который дана ссылка

Номер пункта, подпункта, приложения

ГОСТ 61-75

4.3.1

ГОСТ 6331-78

Приложение 5

ГОСТ 427-75

Приложение 5

ГОСТ 6709-72

4.3.1; 4.6.1

ГОСТ 617-90

4.1.2

ГОСТ 9293-74

4.3.1

ГОСТ 949-73

Приложение 1

ГОСТ 10163-76

4.3.1

ГОСТ 3022-80

Приложение 5

ГОСТ 10727-91

Приложение 5

ГОСТ 3760-79

4.3.1

ГОСТ 13320-81

4.3.3

ГОСТ 3773-72

4.3.1

ГОСТ 16539-79

4.6.1

ГОСТ 3956-76

Приложение 5

ГОСТ 17433-80

Приложение 5

ГОСТ 4055-78

Приложение 5

ГОСТ 18300-87

4.6.1

ГОСТ 4107-78

4.6.1

ГОСТ 22967-90

Приложение 5

ГОСТ 4108-72

4.6.1

ГОСТ 25336-82

4.3.1; 4.6.1

ГОСТ 4164-79

4.3.1

ГОСТ 25706-83

Приложение 5

ГОСТ 4165-78

4.3.1

ГОСТ 26460-85

5.1

ГОСТ 4232-74

4.3.1

ГОСТ 27068-86

4.3.1

5. Ограничение срока действия снято по протоколу № 4-93 Межгосударственного Совета по стандартизации, методологии и сертификации (ИУС 4-94)

6. ИЗДАНИЕ (август 2005 г.) с Изменениями № 1, 2, 3, утвержденными в марте 1985 г., ноябре 1989 г., апреле 1998 г., (ИУС 6-85, 2-90, 7-98)

 

СОДЕРЖАНИЕ

1. Технические требования. 1

2. Требования безопасности. 2

3. Правила приемки. 3

4. Методы анализа. 4

5. Упаковка, маркировка, транспортирование и хранение. 12

6. Гарантии изготовителя. 12

Приложение 1 Вычисление количества газообразного и жидкого аргона. 13

Приложение 2 Значение коэффициента k2 для приведения объема газа к нормальным условиям.. 14

Приложение 4 Определение объемной доли водяных паров конденсационным методом.. 14

Приложение 5 Определение объемной доли суммы углеродсодержащих соединений газохроматографическими методами. 15

 

 



© 2013 Ёшкин Кот :-)