Информационная система
«Ёшкин Кот»

XXXecatmenu

МИНИСТЕРСТВО ЭНЕРГЕТИКИ И ЭЛЕКТРИФИКАЦИИ СССР
ГЛАВЭНЕРГОРЕМОНТ

РУКОВОДСТВО
ПО КАПИТАЛЬНОМУ РЕМОНТУ, ВЫСОКОВОЛЬТНЫХ
ТРЕХПОЛЮСНЫХ ВЫКЛЮЧАТЕЛЕЙ ВМПЭ-10

 

 

 

СОЮЗТЕХЭНЕРГО Москва 1982

 

СОГЛАСОВАНО:

Главный инженер РЗВА

С.Д. ДРОБОТ

13 августа 1979 г.

УТВЕРЖДАЮ:

Главный инженер

Главэнергоремонта

В.И. БАРИЛО

11 сентября 1979 г.

1. ВВЕДЕНИЕ

1.1. Руководство по капитальному ремонту высоковольтных трехполюсных выключателей ВМПЭ-10 является техническим документом, соблюдение требований которого обязательно для персонала, выполняющего ремонт выключателей.

1.2. Руководство разработано на основании чертежей и инструкций Ровенского завода высоковольтной аппаратуры, и должно использоваться только при ремонте выключателей, выпускаемых данным заводом-изготовителем.

1.3. Имеющиеся конструктивные особенности и различия технических характеристик выключателей типов ВМПЭ-10-630-20; ВМПЭ-10-1000-20; ВМПЭ-10-1600-20; ВМПЭ-10-630-31,5; ВМПЭ-10-1600-31,5 указаны по тексту.

1.4. Руководством предусмотрены дефектация и ремонт поврежденных или изношенных деталей либо их замена новыми, или предварительно отремонтированными, если ремонт нецелесообразен или удлиняет срок простоя выключателя в ремонте.

1.5. В Руководстве все работы по ремонту деталей, сборочных единиц и составных частей даны для одного полюса выключателя. Ремонт остальных полюсов - аналогичен.

1.6. В Руководстве не рассматривается выполнение работ по проверке и ремонту устройств релейной защиты и автоматики.

1.7. Руководство содержит перечни приборов, инструмента, приспособлений, нормы расхода запасных частей, материалов, а также справочные данные, необходимые при проведении капитального ремонта выключателя (приложения 1 - 6).

18. При проведении капитального ремонта помимо настоящего Руководства необходимо использовать заводские технические описания и инструкции по эксплуатации, паспорта на выключателя соответствующего типа, «Нормы испытания электрооборудования» (М.; Атомиздат, 1978), «Инструкцию по организации ремонта энергетического оборудования электростанций и подстанций» (М. СЦНТИ ОРГРЭС, 1975). Кроме того, необходимо учитывать требования циркуля ров, решений и других директивных материалов Минэнерго СССР.

2. ОРГАНИЗАЦИЯ РЕМОНТА

2.1. Организация капитального ремонта включает в себя:

а) подготовку документации, запасных частей и материалов;

б) создание условий для проведения работ, обеспечивающих соблюдение требований правил технической эксплуатации и правил безопасности;

в) организацию рабочих мест с размещение на них ремонтируемых единиц и оргоснастки, исходя из конкретных условий для наиболее рационального использования ремонтных площадок.

В дальнейшем для краткости - Руководство.

г) обеспечение рабочих мест оборудованием, приспособлениями и средствами механизации ремонта;

д) разработку схем подачи электропитания, сжатого воздуха и т.п.;

е) разработку организационной структур и режима работы ремонтного персонала;

ж) организацию уборки и транспортирования мусора, отходов и поддержания чистоты ремонтных площадок.

2.2. Ремонт выключателя производится специализированной бригадой, состав которой определяется объемом работ и плановыми сроками простоя выключателя в ремонте.

Для обеспечения оптимальной загрузки ремонтного персонала Руководством предусматривается проведение ремонта с типовой номенклатурой работ по технологической схеме (рис. 1).

2.3. Технические характеристики отремонтированного выключателя должны строго соответствовать техническим данным, приведенным в паспорте выключателя.

2.4. Приемка выключателя аз ремонта осуществляется персоналом эксплуатационных служб. В паспорте выключателя делается отметка о проведенном ремонте.

2.5. На отремонтированный выключатель должна быть составлена ведомость основных показателей технического состояния выключателя.

2.6. При проведении капитального ремонта выключателя необходимо:

а) выполнять общие требования безопасности, требования действующих местных инструкций, а также указания, изложенные в техническом описании и инструкции по эксплуатации;

б) проверить состояние средств пожаротушения;

в) ознакомиться с расположением и проверить состояние устройств подачи электроэнергии, сжатого воздуха и т.д.;

г) до начала проведения высоковольтных испытаний проверить затяжку всех соединений.

3. ТРЕБОВАНИЙ К РАЗБОРКЕ ВЫКЛЮЧАТЕЛЯ И ЕГО СОСТАВНЫХ ЧАСТЕЙ

3.1. Для проведения качественного ремонта (мойки деталей, дефектации и т.д.) разборка составных частей и сборочных единиц выключателя должна быть полной.

3.2. При подъеме и перемещении выключателя подъемными средствами использовать только специально предназначенные отверстия в верхней части стенок рамы.

3.3. Для предотвращения механических повреждений, демонтированные сборочные единицы и детали устанавливать на деревянные подставки и настилы.

3.4. В процессе демонтажа и последующего ремонта детали и сборочные единицы выключателя должны быть защищены от попадания пыли и влаги.

3.5. В процессе демонтажа (разборки) на детали и сборочные единицы, не имеющие заводской маркировки, нанести метки, облегчающие в дальнейшем сборку и регулирование выключателя.

3.6. Разборку необходимо производить только исправным и проверенным инструментом.

3.7. Используемые при разборке гаечные ключи должны охватывать головку болта или гайки всем зевом и не проворачиваться. Грани гаек и болтов не должны сминаться.

3.8. При демонтаже (разборке) не допускается:

а) наносить удары по деталям непосредственно стальным молотком или через стальные выколотки;

б) пользоваться зубилом для отвинчивания гаек и болтов;

в) наносить метки на посадочные, уплотняющие и стыковые поверхности.

3.9. После разборки все сборочные единицы и детали тщательно очистить от пыли, грязи, старой смазки, продуктов коррозионно-механического износа, нагара; промыть и протереть (просушить). Дугогасительные камеры хранить в чистом, «сухом» трансформаторном масле.

3.10. В качестве мощных средств для изоляционных тяг, цилиндров, опорных изоляторов применять технический спирт, для дугогасительных камер и деталей из фибры и гетинакса чистое трансформаторное масло, для остальных деталей и сборочных единиц авиационный бензин или уайт-спирит.

3.11. На рабочих местах запас горючих жидкостей не должен превышать количества, необходимого для работы в течение одной смены. Промывку деталей и сборочных единиц необходимо производить в строгом соответствии с требованиями безопасности.

3.12. Остальные требования техники безопасности должны выполняться согласно инструкции по эксплуатации шлаков КРУ.

4. РАЗБОРКА ВЫКЛЮЧАТЕЛЯ

4.1. Подготовка выключателя к разборке

4.1.1. Отсоединить верхние и нижние токопроводящие шины.

4.1.2. Очистить и осмотреть изоляционные части выключателя: изоляционные тяги 2 (рис. 2), междуполюсные перегородки 10, опорные изоляторы 22.

4.1.3. Проверить уровень масла, отсутствие течи и подтеков масла на полюсах выключателя 17.

4.1.4. Очистить и осмотреть буферную 56 и отключающие 43 пружины (рис. 3).

4.1.5. Проверить работу выключателя в операциях включения и отключения вручную 8 - 10 раз. Определить окончательный объем ремонта выключателя.

4.2. Разборка полюса выключателя

4.2.1. Вывернуть болты 11 (см. рис. 2) вгонять изоляционные перегородки 10 с рамы выключателя.

4.2.2. Удалить шплинт 9, вынуть ось 8 и вывинтить изоляционную тягу 2 из рычага вала выключателя.

4.2.3. Вывернуть маслоспускной болт 28 (рис. 4) с фибровой шайбой 29 и слить масло, одновременно, проверив работу маслоуказателя. В случае течи масла или неправильной работы маслоуказателя произвести его ремонт.

4.2.4. Вывернуть болты 15 (см. рис. 2), ослабить болты 3, снять полюсы с опорных изоляторов 22.

4.2.5. Отвинтить гайки 25 (см. рис. 4), снять неподвижный контакт 24 с изоляционного цилиндра 13, вынуть поочередно распорный цилиндр 23 и камеру 22. Цилиндр и камеру следует предохранять от увлажнения, загрязнения и повреждения; длительное хранение их целесообразно в чистом и «сухом» трансформаторном масле.

4.2.6. Вывернуть болты 2 и снять крышку 5 с прокладкой 6 с головки 30.

4.2.7. Отвинтить гайку 4 (см. рис. 2) с болта 3 и вынуть его из корпуса механизма 7 (см. рис. 4).

4.2.8. Отвинтить гайки 10, вынуть болты 9, и снять корпус механизма 7 с прокладкой 8 с изоляционного цилиндра 13.

4.3. Разборка деталей и сборочных единиц рамы

4.3.1. Расшплинтовать и вынуть оси 20 (см. рис. 3), отвинтить гайки 47, снять буферную пружину 56 и отключающие пружины 43.

4.3.12. Разобрать буферную (рис. 5) и отключающие (рис. 6) пружины.

При разборке пружин принять необходимые меры предосторожности, так как они имеют большие усилия предварительного натяжения.

4.3.3. Снять колодку с масляным буфером 42 (см. рис. 3) и упорным болтом 40, отвинтив гайки 54.

4.3.4. Снять буфер масляный 42 с колодки. Разобрать буфер в соответствии с рис. 7.

4.3.5. Отсоединить выводы блок-контакта БКВ, отвинтить гайку 24 (см. рис. 3) 8 винты 18, снять блок-контакт, предварительно расшплинтовать оси 8 и сняв тягу 5.

4.3.6. Расшплинтовать и вынуть ось 26.

4.3.7. Отвинтить гайки 12, снять подшипник 10. Вынуть подшипник из корпуса, вал 9 из рамы 6.

4.3.8. Расшплинтовать и вынуть оси тяги 60. Вывернуть рычаг 59 из вала привода.

4.3.9. Отсоединить выводы блок-контактов, вывернуть болты 1 и снять блок-контакты КБО, КБВ. В случае обнаружения неисправностей в блок-контактах разобрать в соответствии с рис. 8.

4.3.10. Снять привод с рамы выключателя.

4.3.11. Снять опорные изоляторы 35 (см. рис. 3), вывернув болт 36.

4.3.12. Снять с рамы выключателя 6 контактор 50. Проверить его работу. В случае обнаружения неисправностей - разобрать.

4.4. Разборка механизма полюса

Внимание! Без необходимости разбирать не рекомендуется, необходимо лишь очистить и промыть бензином детали механизма от пыли, грязи и старой смазки. Смазать трущиеся детали и вручную проверить перемещение подвижных частей (они должны перемещаться легко, без заеданий)

4.4.1. Разогнуть стопорную пластину 21 (рис. 9) и вывернуть болты 22 из направляющих стержней 9.

4.4.2. Снять с направляющих стержней 9 пластину 21, планку 20 и вынуть ролика 19.

4.4.3. Отвинтить гайки 5 с болтов 2 и снять головку 8 с заправляющими стержнями 9 с корпуса механизма 1.

4.4.4. Снять пластину 25, которая снимается только в горизонтальном положении, удалить оси 24, 26 и вынуть стержень 23 из корпуса механизма 1.

4.4.5. Отвинтить гайку 6, вынуть направляющие стержни 9 из головки 8 и снять буфер 11 с направляющего стержня 9.

4.5. Разборка неподвижного контакта

4.5.1. Снять кольцо 4 (рис. 10), пружины 3 и изолирующие прокладки 2.

4.5.2. Вывернуть болты 6 с шайбами 5 и 7, снять гибкие связи 8, ламели 1, опорное кольцо 9.

4.6. Разборка дугогасительной камеры

4.6.1. Тщательно осмотреть камеру. При отсутствии дефектов (см. п. 5.14.1) камеру разбирать не рекомендуется, необходимо лишь подтянуть гайки 4 (рис. 11) и гайки 11 (рис. 12) для выключателей с номинальным током отключения 31,5 кА и 20 кА соответственно. Промыть камеру, в чистом, «сухом» трансформаторном масле.

4.6.2. Отвинтить гайки 4 (см. рис. 11) со шпилек 3 и гайки 11 (см. рис. 12) со шпилек 10. Разобрать камеру.

4.7. Общая разборка, привода

Внимание! Разборку привода производить только при обнаружении неисправностей, мешающих нормальной работе привода.

4.7.1. Отсоединить выводы отключающей катушки 9 (рис. 13), блок-контактов БКП и катушки электромагнита включения 4.

4.7.2. Расшплинтовать и вынуть ось 18 (рис. 14), вывернуть болты 8 (см. рис. 13), снять электромагнит отключения 13 (см. рис. с корпуса 12).

4.7.3. Вывернуть стопор, расшплинтовать и вынуть ось 21, снять отключающую собачку с пружиной 17.

4.7.4. Расшплинтовать и вынуть оси 6 24, снять механизм привода в сборе.

4.7.5. Расшплинтовать и вынуть вал 5, снять рычаг 11.

4.7.6. Расшплинтовать и вынуть ось 2, снять удерживающую собачку 3 с пружиной 4.

4.8. Разборка деталей и сборочных единиц привода

4.8.1. Разборка электромагнита отключения:

а) отвинтить гайки 13 (рис. 15), снять скобу 9 с блок-контактами БКМ 14, втулки 7 крышку 6, кожух 4;

б) вынуть катушку 5, гильзу 1, шайбы.

4.8.2. Разборка электромагнита включения: отвинтить гайки 14 (см. рис. 13), снять основание 1, прокладку 6, гильзу 5, катушки сердечник 3 с пружиной 12, магнитопровод 2

4.8.3. Разборка механизма свободного расцепления:

а) расшплинтовать ось 9 (рис. 16), втулку 8;

б) вынуть оси 4, 9, ролики 6, 12 и втулки 5, 8.

5. ТЕХНИЧЕСКИЕ ТРЕБОВАНИЯ НА ДЕФЕКТАЦИЮ И РЕМОНТ ДЕТАЛЕЙ И СБОРОЧНЫХ ЕДИНИЦ ВЫКЛЮЧАТЕЛЯ

5.1. Общие требования

5.1.1. Определение технического состояния деталей и сборочных единиц производится внешним осмотром и, в необходимых случаях, проверкой размеров с помощью мерительного инструмента.

5.1.2. При осмотре деталей особое внимание обращать на места концентрации напряжений (шпоночные пазы, радиусные переходы, сварить швы и т.п.).

5.1.3. По результатам осмотра детали сборочные единицы выключателя делятся на 1 группы:

а) годные к эксплуатации без ремонта,

б) требующие ремонта;

в) подлежащие замене.

5.1.4. Замене подлежат детали с дефектами, устранение которых технически и экономически нецелесообразно или ремонт которых в конкретных условиях не гарантирует восстановление технических характеристик детали (сборочной единицы). Детали и сборочные единицы заменяются ранее отремонтированными или новыми.

5.1.5. Дефектацию и ремонт деталей и сборочных единиц производить согласно требованию раздела 5. Особое внимание обратить на дефектацию и ремонт деталей и сборочных единиц, которые указаны в пп. 5.14 - 5.22.

5.2. Резьбовые соединения и крепежные детали

5.2.1. Состояние резьбы проверить внешним осмотром, а также навинчиванием гаек (вворачиванием болтов) от руки.

5.2.2. Посадку шпилек в деталях и сборочных единицах проверить остукиванием; ввернутые шпильки, не имеющие дефектов, выворачивать не рекомендуется.

5.2.3. Детали с резьбовыми поверхностями подлежат замене при наличии следующих дефектов:

а) вмятин, забоин, задиров, выкрашиваний глубиной более половины высоты резьбы или протяженностью более 10 % длины витка и более 20 % общего количества витков;

б) люфтов при навинчивании гайки (вворачивании болта);

в) трещин и несмываемых пятен коррозии;

г) повреждений граней на головках болтов и гайках более 5 % номинального размера;

д) погнутости шпильки (болта) более 1,0 мм на 100 мм длины.

5.2.4. Детали с резьбовыми поверхностями подлежат ремонту при местных повреждениях общей протяженностью не более 10 % длины витка.

Дефекты устранять прогонкой резьбонарезным инструментом.

5.2.5. Отверстия для шплинтов в болтах и шпильках не должны быть забиты и увеличены.

5.2.6. Перед установкой резьбы соединения смазать смазкой ЦИАТИМ-221 или ЦИАТИМ-203.

5.3. Плоские, стопорные и пружинные шайбы

5.3.1. Шайбы подлежат замене при наличии следующих дефектов:

а) трещин, изломов;

б) потери упругости;

в) высоты развода пружинной шайбы менее полуторной ее толщины.

5.3.2. Пружинные шайбы, бывшие в эксплуатации, допускаются к повторному применению только тогда, когда они не потеряли своей упругости, которая характеризуется величиной развода концов шайб. Нормальный развод шайбы равен двойной ее толщине, допустимый - полуторной.

5.4. Пружины

5.4.1. Пружины подлежат замене при наличии следующих дефектов:

а) надломов концов;

б) трещин;

в) засветлений, несмываемых пятен коррозии;

г) потери упругости более допусков, указанных в заводской характеристике;

д) неравномерности шага витков пружины сжатия более 10 % на всей ее длине.

5.4.2. Упругость пружин контролировать замером усилий пружины, сжатой согласно заводской характеристике.

Тарировку пружин, работающих на растяжение, можно произвести по схеме рис. 17.

Характеристики пружин, требующих тарировки, даны в табл. 1.

Таблица 1

Наименование пружины

Предельные параметры

Длина в свободном состоянии, мм

Р1

Н

Р2

Н

L1

мм

L2

мм

1. Пружина бурная (рис. 5)

1480 ± 150

2100 ± 200

78

111

2. Пружина отключающая (рис. 6)

225

 

45

133

5.5. Детали из резины

5.5.1. Состояние резины определяется внешним осмотром.

5.5.2. Резиновые детали подлежат замене при наличии следующих дефектов:

а) трещин, срезов, выработки, расслоения;

б) остаточной деформации более 25 % первоначальной толщины;

в) потери эластичности;

г) раковин, пузырей, посторонних включений.

5.5.3. При капитальном ремонте к повторному применению допускаются резиновые детали, если они не имеют перечисленных дефектов.

5.5.4. Для замены дефектных резиновых деталей рекомендуется резина марки 3826 (ТУ 38.005.1166-73).

5.6. Контакты, контактные поверхности

5.6.1. Контакты и контактные поверхности подлежат замене при наличии деформации, трещин любого расположения, сколов.

5.6.2. Наружные контактные поверхности (места присоединений соединительных токоведущих шин, аппаратные зажимы и т.п.) зачистить до металлического блеска и смазать смазкой ЦИАТИМ-221.

5.6.3. Небольшие надиры, наплывы, обгары зачистить или опилить. Не допускаются после опиловки раковины глубиной более 0,5 мм. А размеры контактов не должны отличаться от первоначальных более чем на 0,5 мм.

5.6.4. Не допускается нарушение серебряных покрытий на контактных поверхностях. В случае нарушения покрытие восстановить.

5.7. Подшипника качения

5.7.1. Состояние подшипников (предварительно они должны быть очищены от грязи и промыты бензином) проверяются осмотром и проверкой на легкость вращения.

5.7.2. Подшипники подлежат замене при наличии следующих дефектов:

а) цвета побежалости;

б) сколов и трещин любых размеров независимо от расположения;

в) отпечатков шариков на дорожках качения;

г) выкрашивания или шелушения поверхностного слоя дорожек качения;

д) раковин или глубоких следов коррозии

е) надломов, сквозных трещин на сепараторе, отсутствии или ослаблении заклепок на сепараторе;

ж) забоин вмятин на сепараторе, препятствующих плавному вращению подшипника;

з) неравномерного износа беговых дорожек;

и) заметной на глаз или ощутимой пальцем ступенчатой выработки рабочей поверхности колец.

5.8. Детали из паронита, стеклотекстолита, фторопласта, гетинакса, картона и фибры

5.8.1. Состояние детали проверяется осмотром.

5.8.2. Детали подлежат замене при наличии следующих дефектов:

а) порывов, срезов, трещин;

б) морщин, складок, надломов;

в) рыхлых включений;

г) неравномерной толщины прокладок (более 0,1 мм).

5.8.3. Уплотняющие прокладки должны быть равномерно зажаты между деталями, не допускается выступание прокладок за края крышек корпусов более, чем на 0,5 мм как снаружи, так и вовнутрь.

5.9. Изоляционные части выключателя

5.9.1. К изоляционным частям выключателя откосятся изоляторы, изоляционные цилиндры полисов, изоляционные тяги 1 перегородки.

5.9.2. Состояние изоляционных частей проверяется осмотром.

5.9.3. Изоляционные части подлежат замене при наличии следующих дефектов:

а) сколов фарфора у изоляторов площадь более 1,5 см2, вскрытых и невскрытых пузырей трещин;

б) больших трещин, сколов и расслоений у изоляционных тяг и перегородок;

в) трещин, сколов и повреждений армировки изоляционных цилиндров.

5.9.4. Небольшие трещины, расслоения, выкрашивания, сколы фарфора площадью 1,5 см2 у изоляционных частей выключателя рекомендуется тщательно очистить, обезжирить и покрыть бакелитовым лаком.

5.10. Оси

5.10. 1 Оси подлежат замене при следующих дефектах:

а) уменьшение диаметров осей по сравнению с первоначальными и эллиптичности в местах износа более 0,4 мм;

б) искривление осей, как в средней части, так и на концах более 0,2 - 0,3 мм;

в) наличие трещин, задиров, заусенцев на поверхностях трения валов и осей;

г) наличие седловин на рабочих поверхностях глубиной более 1 мм.

5.10.2. Искривление осей проверять по металлической линейке или отвесу. Правку валов и осей производить в холодном состоянии легкими ударами молотка на устойчивой опоре. Для предотвращения повреждения деталей на опору и под молоток ставить деревянные или свинцовые прокладки.

5.10.3. Диаметр и эллиптичность осей проверять с помощью микрометра.

5.10.4. Задиры и заусенцы на поверхностях осей снимать аккуратно напильником или шлифовальной шкуркой.

5.10.5. Седловины и вмятины на рабочих поверхностях осей определять измерением наименьшего диаметра в месте вмятины. Опиловка седловин и вмятин на рабочих поверхностях запрещается.

5.11. Штоки

5.11.1. Штоки сердечников электромагнитов включения и отключения подлежат замене при наличии следующих дефектов:

а) трещин, искривлений;

б) задиров и заусенцев на концах штоков.

5.11.2. Правку штоков, опиловку задиров и заусенцев производить согласно пп. 5.10.2 и 5.10.4 данного раздела.

5.12. Ролики, удерживающие собачки

5.12.1. Детали подлежат замене при наличии следующих дефектов:

а) трещин;

б) седловин, вмятин на рабочих поверхностях глубиной более 1 мм;

в) эллиптичности роликов более 0,4 мм;

г) задиров и заусенцев на поверхностях сцепленных роликов и собачек.

5.12.2. Глубину седловины на рабочих поверхностях собачек контролировать измерением высоты горба пластилинового слепка с седловины. Глубину вмятины на рабочих поверхностях роликов определять измерением наименьшего диаметра в месте вмятины.

5.12.3. Задиры и заусенцы на поверхностях сцепленных собачек и роликов удалять напильником или шлифовальной шкуркой.

5.12.4. Опиловка седловин и вмятин на рабочих поверхностях собачек и роликов запрещается

5.13. Стальные детали и сборочные единицы

5.13.1. Ответственные детали со специальными покрытиями и термически обработанными рабочими поверхностями (валы, обоймы и др.), а также детали с дефектами в зоне рабочих поверхностей подлежат замене при наличии:

а) трещин любого расположения;

б) раковин и пор;

в) обломов и сколов.

5.13.2. Замене подлежат детали со специальными покрытиями при наличии несмываемой ржавчины в зоне рабочих поверхностей.

5.13.3. Остальные детали и конструкции с вышеперечисленными дефектами подлежат ремонту при помощи электродуговой сварки.

5.13.4. Технология сварочных работ, применяемые материалы и электроды должны обеспечивать восстановление первоначальной прочности и жесткости детали без изменения геометричности, размеров и ухудшения внешнего вида.

5.13.5. При сварочных работах обязательно производить правку, зачистку поверхностей от окалины, ржавчины и прочих загрязнений на расстоянии 10 - 15 мм от места сварки.

5.13.6. Контроль сварки производить внешним осмотром.

5.14. Технические требования на дефектацию и ремонт деталей и сборочных единиц выключателя

5.14.1 Дугогасительная камера (рис. 11, 12) Количество на изделие - 3

Позиция на рис.

Возможный дефект

Способ установления дефекта и контрольный инструмент

Размеры, мм

Способ устранения дефекта

по чертежу

допустимые

-

Обугливание

Осмотр

-

-

Зачистить обугленные места

-

Увеличение размеров дутьевых клапанов

Измерение

Штангенциркуль

см. рис. 11, 12

-

При увеличении размеров более чем на 3 мм - заменить

-

Выгорание дутьевых щелей

Осмотр

-

-

Заменить

-

Выгорание отверстия в кольце (рис. 12, поз. 12)

Измерение

26

30

Зачистить. При выгорании более допустимого - заменить

-

Износ внутренней поверхности вкладыша, (рис. 11, поз. 2)

Измерение

Штангенциркуль

22,2 + 0,3*

(24,2 + 0,3)

22,72

(24,72)

При износе более допустимого - заменить

-

Повреждение резьбы, рис. 11, поз. 3, рис. 12, поз. 10;

Осмотр

М16

-

Прогнать резьбу

Резьбовой калибр

М12

-

При повреждении резьбы более чем на одном витке - заменить

* Первая цифра - для выключателей с номинальным током 630 и 1000 А, в скобках - для выключателей с номинальным током 1600 А.

Первая цифра - для выключателей с номинальным током 630 и 1000 А, в скобках - для выключателей с номинальным током 1600 А

Технические требования к отремонтированной детали (сборочной единице)

1. Несоосность отверстий Б и В (рис. 11, 12) относительно общей оси А не более 0,2 мм.

2. На поверхностях после механической обработки допускаются неровности глубиной до 0,5 мм и длиной до 15 мм общим количеством не более 5 шт.

3. Расслоение перегородок не допускается.

4. Камеру пропитать в чистом, сухом трансформаторном масле.

5.14.2. Ламель (поз. 1, рис. 10)

Профиль ПФЭ-5T10´18´28

Контакт - КМК-Б21-УЗ-101110

Количество на изделие - 15(18).

для номинальных токов 630 и 1000 А по пять ламелей на полюс, для 1600 А - по шесть.

Позиция на рис.

Возможный дефект

Способ установления дефекта и контрольный инструмент

Размеры, мм

Способ устранения дефекта

по чертежу

допустимые

1

Обгар, наплывы, вмятины, повреждение покрытия контактной поверхности

Осмотр

Лупа ЛП-1-7*

-

 

Опилить. Зачистить. После обработки вмятины глубиной более 0,5 мм не допускается. Восстановить покрытие контактной поверхности. Ср 18

2

Обгар, наплывы. Выгорание киритового контакта

Осмотр

Лупа ЛП-1-7*

 

тм

Опилить, зачистить. При обгаре более 1/5 контактной поверхности или сквозных прожогах - заменить

3

Дефекты пайки

Осмотр.

Лупа ЛП-1-7*

 

-

Восстановить пайкой

4

Повреждение резьбы

Осмотр. Резьбовой калибр

М8. кл. 3

-

Прогнать резьбу. При повреждении резьбы более чем на одном витке - заменить

5.14.3. Стержень (поз. 23, рис. 9).

Материал: стержень- пруток М1-Т-кр-нТ-22 (24)

Контакт KMK-Б21-400-М16

Количество на изделие - 3

Позиция на рис.

Возможный дефект

Способ установления дефекта и контрольный инструмент

Размеры, мм

Способ устранения дефекта

по чертежу

допустимые

1

Повреждение резьбы

Осмотр. Резьбовой калибр

М14. кл. 3

-

Прогнать резьбу. При повреждении резьбы более чем на одной витке - заменить

2

Вмятины, царапины. Износ поверхности

Осмотр. Лупа ЛП-1-7* Измерение. Штангенциркуль

22 (24)*

21,72 (23,72)*

При износе более допустимого - заменить

3

Повреждение покрытия

Осмотр. Лупа ЛП-1-7*

-

-

Восстановить покрытие. Ср 18

4

Обгар, наплывы, прожоги

Осмотр. Измерение. Штангенциркуль

21 (23)*

20,86 (22,86)*

Опилить, зачистить. При обгаре более 1/5 контактной поверхности или прожогах - заменить

* Первая цифра для выключателей с номинальными токами 630 и 1000 А, в скобках - для выключателей с номинальным током 1600 А.

Технические требования к отремонтированной детали (уборочной единице)

1. Изгиб стержня не допускается.

2. Стержень кернить с четырех сторон в лунки контакта.

5.14.4. Токоотвод (поз. 19, рис. 9)

Материал: пруток М1-Т-кр-нТ-18

Количество на изделие - 12 токоотводов на 20 кА и 18 на 31,5 кА для выключателя с номинальным током 630 А; 18 на 1000 А и 24 - на 1600 А

Позиция на рис.

Возможный дефект

Способ установления дефекта и контрольный инструмент

Размеры, мм

Способ устранения дефекта

по чертежу

допустимые

12

Трещины, сколы, вмятины Повреждение покрытия

Осмотр. Лупа Ж-1-7

Осмотр. Лупа ЛП-1-7´

 

-

Заменить

Покрытие восстановить Ср 15

Технические требования к отремонтированной детали (сборочной единице)

1. Изгиб стержня 3 не допускается.

2. Концы стержня 3 расклепать.

5.14.5. Ролик (поз. 63, рис. 3)

Материал: круг В34 ГОСТ 2590-71

Ст. 3 ГОСТ 535-58

Количество на изделие - 1

Позиции на рис.

Возможный дефект

Способ установления дефекта и контрольный инструмент

Способ устранения дефекта

1

Трещины, сколы, вмятины

Осмотр. Лупа ЛП-1-7*

Заменить

5.14.6. Отключавшая собачка (поз. 22. рис. 14)

Материал: лист Б-ПН-0-5 ГОСТ 19903-74

Ст. 3 ГОСТ 14637-69

Количество на изделие - 1

Позиция на рис.

Возможный дефект

Способ установления дефекта и контрольный инструмент

Способ устранения дефекта

1

Трещины, вмятины, сколы рабочей площадки

Осмотр. Лупа ЛП-1-7*

Заменить

5.14.7. Удерживающая собачка (поз. 3, рис, 14)

Материал: лист Б-ПН-0-5 ГОСТ 19903-74

Ст. 3 ГОСТ 14637-69

Количество на изделие - 1

Позиция на рисунке

Возможный дефект

Способ установления дефекта и контрольный инструмент

Размеры, мм

Способ устранения дефекта

по чертежу

допустимые

1

Трещины, сколы, вмятины

Осмотр. Лупа ЛП-1-7

20

19,5

Заменить

2

Износ рабочей площадки

Измерение. Штангенциркуль

 

 

При износе более допустимого заменить

5.14.8. Пластина (поз. 25, рис. 9)

Материал: лист Б-ПН-0-1 ГОСТ 19903-74

Ст. 3 ГОСТ 16523-70

Количество на изделие - 3

Позиция на рис.

Возможный дефект

Способ установления дефекта и контрольный инструмент

Размеры, мм

Способ устранения дефекта

по чертежу

допустимые

1

Облом усиков

Осмотр

-

-

Заменять

2

Износ поверхности скольжения

Измерение. Линейка

6,5

8

При износе более допустимого - заменить

5.14.9. Изолятор (поз. 35, рис. 3)

Материал: фарфор высоковольтный ГОСТ 5862-68

Количество на изделие - 6

Позиция на рис.

Возможный дефект

Способ установления дефекта и контрольный инструмент

Размеры, мм

Способ устранения дефекта

по чертежу

допустимые

1

Трещины, пузыри, осыпание глазури. Сколы на ребрах

Осмотр. Лупа ЛП-1-7

-

-

Заменить.

При глубине скола более 2 мм - заменить

Технические требования к отремонтированной детали (сборочной единице)

1. Зазор между торцами вложенной в изолятор пружины не допускается. В случае необходимости зазор ликвидировать равномерным разжиманием витков по окружности.

2. Не параллельность поверхностей 2 и 3 не более 0,5 мм.

6. ТРЕБОВАНИЕ К СБОРКЕ ВЫКЛЮЧАТЕЛЯ И ЕГО СОСТАВНЫХ ЧАСТЕЙ

6.1. Сборку выключателя и его составных частей производить в соответствии с рисунками, строго соблюдая требования разделов 6 - 7 настоящего Руководства.

6.2. Поступающие на сборку детали и сборочные единицы выключателя должны соответствовать техническим требованиям, приведенным в разделе 5, и должны быть очищены от следов коррозии, грязи и насухо протерты. Технологические отверстия (каналы) деталей должны быть продуты сжатым воздухом.

6.3. Зачистка контактных поверхностей напильником или наждачной шкуркой недопустима. При необходимости очищать бензином или спиртом.

6.4. Трущиеся поверхности деталей, сборочных единиц, механизмов выключателя, а также резьбовые соединения, в том числе и крепежные детали, смазать тонким слоем смазки ЦИАТИМ-203 или ЦИАТИМ-221, а трущиеся части механизма привода - смазкой следующего состава: ЦИАТИМ-203 - три части по объему, графит серебристый кристаллический ГОСТ 5279-74 - одна часть по объему. Контактные поверхности смазать смазкой ЦИАТИМ-221.

6.5. При сборке детали необходимо предохранять от случайных повреждений.

6.6. Сборка деталей с подвижной посадкой должна производиться от руки и обеспечивать перемещение сопрягаемых деталей без заеданий.

6.7. Сборку деталей, имеющих в сопряжении неподвижную посадку производить с помощью киянок и медных выколоток.

6.8. Шпильки должны вворачиваться в гнезда плотно (без качки). Подгибание шпилек не допускается. Детали и сборочные единицы необходимо устанавливать на шпильки свободно, без заеданий.

6.9. Шплинты должны плотно сидеть в отверстиях осей (стержней). Замена шплинтов на шплинты с меньшим диаметром не допускается. Концы шплинтов должны быть отогнуты и разведены.

6.10. Устанавливаемые в соединениях деталей прокладки должна быть чистыми, гладкими, без расслоений, складок, вырывов. Прокладки должны быть плотно сжаты и равномерно прилегать к сопрягаемым поверхностям. Выступание прокладок за края сопрягаемых поверхностей не допускается.

6.11. Крепление сборочных единиц и деталей несколькими болтами или гайками производить по диагонали сначала предварительно, а затем окончательной затяжкой. Все болты и гайки одного соединения должны быть затянуты равномерно и до отказа.

Затяжку болтов и гаек выполнять ключами только соответствующего размера (без удлинителей). Болты (шпильки) должны выступать из гаек не менее, чем на 2 - 3 нитки резьбы.

6.12. При монтаже, сборке изоляторов гайки затягивать равномерно по окружности предельными ключами. Внимательно следить за тем, чтобы при сборке изолятор не соприкасался с металлом фланцев или другими сопрягаемыми металлическими поверхностями.

6.13. Сборку выключателя и его составных частей производить, строго соблюдая требования безопасности.

7. СБОРКА ВЫКЛЮЧАТЕЛЯ

7.1. Сборка дугогасительных камер

7.1.1. Сборка дугогасительной камеры с номинальным током отключения 31,5 кА:

а) установить перегородки 7 - 11 (см. рис. 11), отрегулировать во время сборки размеры щелей , 9 ± 0,6,  мм.

Размеры щелей обеспечить установкой необходимого количества перегородок;

б) установить вкладыш 2 с прокладкой 1 и перегородки 5, 6 (вкладыш 2 после сборки камеры должен вращаться);

в) проверить размеры высоты камеры 122-1 и  мм, отрегулировать установкой необходимого количества перегородок 8;

г) навинтить гайки 4 на шпильки 3, усилие сжатия камеры 15000 ± 1000 Н;

д) промыть камеру в чистом, «сухом» трансформаторном масле.

7.1.2. Сборка дугогасительной камеры с номинальным током отключения 20 кА:

а) вставить кольца 12 (см. рис. 12) в перегородку 9;

б) установить перегородки 4 - 8, отрегулировать во время сборка размера щелей , , 12 ± 0,8 мм. Размеры щелей обеспечить установкой необходимого количества перегородок 7 в середине пакета, при этом количество перегородок 5 разрешается уменьшить на одну;

в) установить перегородки 1 - 3, проверить и отрегулировать высоту камеры (размер  мм) установкой необходимого количества перегородок 3 в пакете, но не менее двух;

г) навинтить гайка 11 на шпильки 10, усилие сжатия камеры 10000 ± 1000 Н;

д) промыть камеру в чистом, «сухом» трансформаторном масле.

7.2. Сборка неподвижного контакта

7.2.1. Установить кольцо 9 (см. рис. 10) на крышку 10.

7.2.2. Присоединить гибкие связи 8 с ламелями 1 болтами 6 с шайбами 5 и 7.

7.2.3. Присоединить гибкие связи 8 с ламелями 1 к крышке 10 болтами 6, надеть приспособление Ш (рис. 18) и затянуть болты - 6 (см. рис. 10).

7.2.4. Установи в отверстие ламели 1 прокладки 2, надеть кольцо 4 с пружиной 3.

7.2.5. Проверять размер 88 ± 1 мм и при необходимости разровнять торцы ламелей 1 киянкой.

7.2.6. Проверить правильность сборки неподвижного контакта (ламели 1 должны находиться в наклонном положении к центру с касанием между собой в верхней части и опираться нижней плоскостью на кольцо 9)

7.2.7. Проверить усилие вытягивания контактного стержня из неподвижного контакта (норма 90 - 110 Н), регулировать подбором пружин 3.

7.3. Сборка механизма полюса

7.3.1. Установить втулку 12 (см. рис. 9) и буфер 11 на направляющий стержень 9.

7.3.2. Вставить направляющий стержень 9 в головку 8 и навернуть гайки 6.

7.3.3. Присоединить стержень 23 к серьгам 16, 17 при помощи осей 24, 26 и пластины 25.

7.3.4. Установить головку 8 с направляющими стержнями 9 и прокладкой 10 на корпус механизма 1 и закрепить их болтами 2 и гайками 5.

7.3.5. Установить ролики 19 между направляющими стержнями 9 и стержнем 23.

7.3.6. Установить планку 20 на направляющие стержни 9 и стержень 23.

7.3.7. Установить стопорную пластину 21 и ввернуть болты 22 в направляющие стержни 9.

7.3.8. Проверить и отрегулировать расстояние между колодкой 18 и плавкой 20 (при крайнем положении стержня 23) и устранить не параллельность планки 20 к корпусу механизма 1 с помощью шайб 27 (наибольшее количество шайб на стержень 3 шт.).

7.3.9. Подогнуть концы пластины 21 и застопорить болты 22.

7.3.10. Проверить вручную перемещение подвижных частей механизма (они должны перемещаться легко, без заеданий).

7.4. Сборка деталей и сборочных единиц рамы

7.4.1. Напрессовать подшипники на шейке вала 9 (см. рис. 3).

7.4.2. Вставить вал 9 в отверстия в раме 6.

7.4.3. Установить корпуса, подшипников 10 на раму 6, запрессовать в них подшипники, ввернуть болты 11 с шайбами 13, 14 в гайки 12.

7.4.4. Проверить свободное вращение вала и устранить люфт.

7.4.5. Собрать буфер масляный 42 в соответствии с рис. 7 с контролем объема масла 70 см3.

Проверить ход штока буфера - норма 21 + 3 мм.

7.4.6. Ввернуть буфер масляный 42 (см. рис. 3) и упорный болт 40 в колодку, установить колодку на раму 6, навинтить гайки 54. Отцентрировать положение масляного буфера относительно ролика вала.

7.4.7. Собрать буферную 56 и отключающие 43 пружины в соответствии с рис. 15 и 6.

7.4.8. Установить блок-контакт БКВ 19 (см. рис. 3), навинтив гайку 24 и ввинтив винты 18. Соединить рычаг блок-контакта БКВ с рычагом вала выключателя тягой 5 с осями 8. Оси зашплинтовать.

7.4.9. Установить опорный изолятор 35 на раму 6, ввернуть болт 36 с шайбами 37 и 38.

7.4.10. Собрать механизм блок-контактов КБО, КБВ (см. pиc. 8). Блок-контакты 1 установить так, чтобы их переключение происходило на максимальных профилях кулачков, при этом зазор между втулкой толкателя и шайбой 6 должен быть не менее 1 мм.

Срабатывание блок-контактов КБВ 1 регулировать шайбами 15 и прокладками 17. Кулачок 11 должен свободно, без заеданий поворачиваться на оси 28.

7.4.11. Установить блок-контакты КБО, КБВ (см. рис. 3) на раму 6, ввернуть болты 1 с шайбами 2, 3.

7.4.12. Установить на раму выключателя 6 контактор 50, предварительно проверив:

а) чистоту контактов и симметричность расположения подвижных контактов по отношению в неподвижным;

б) надежность зажатия контактов;

в) свободное движение якоря в прилегание его к сердечнику;

г) жесткость пружин;

д) целостность катушки;

е) работу подвижной системы;

7.5. Сборка полюса

7.5.1. Установить распорный цилиндр 23 (см. рис. 4) и камеру 22 на неподвижный контакт 24, проверить укладку пружины 16 в изоляционном цилиндре 13.

7.5.2. Установить неподвижный контакт 24 на нижний фланец изоляционного цилиндра 13 и навинтить гайки 25. Затяжку гаек производить равномерно по диагонали.

7.5.3. Уложить на верхний фланец изоляционного цилиндра 13 прокладку 8. Установить корпус механизма 7 и головкой 30 на верхний фланец цилиндра 13 и прикрепить болтами 9, гайками 10 с шайбами 11 и 12. Затяжку гаек производить равномерно по диагонали.

7.5.4. Установить маслоуказатель и ввернуть маслоспускной болт 28 с шайбой 29.

7.5.5. Установить полюс 17 (см. рис. 2) на изоляторы 22, ввернув болты 3, 15 и навинтив гайки 4 с шайбами 5, 6 и 7, 16.

7.5.6. Проверить вертикальность установки полюса при помощи отвеса. Отрегулировать вертикальность установки полюса 17 разворотом изоляторов 22.

7.6. Сборка деталей и сборочных единиц привода

2.6.1. Сборка электромагнита отключения:

а) установить на плиту 2 (см. рис. 15) шайбы 3, катушку 5, вставить гильзу 1 и надеть кожух 4;

б) установить крышку 6 с сердечником, пластину 17, контактодержатель 18, втулки 7 с шайбами 8, скобу 9 с блок-контактами 14;

в) навинтить гайки 13 с шайбами 10 и 11 на шпильку 12. Проверять подвижность и ход сердечника. Ход сердечника должен составлять 17 мм;

г) присоединить выводы отключающей катушки 5 блок-контактов 14 согласно заводской инструкции;

д) переключение контактов БКМ регулируется при помощи шайб;

е) при подтянутом сердечнике электромагнита и переключенном положении контактов БКМ кнопка должна допускать дальнейшее перемещение на 0,3 - 0,5 мм.

7.6.2. Сборка электромагнита включения:

а) установить на основание 1 (см. рис. 13) прокладку 6, катушку 4, гильзу 5, магнитопровод £;

б) вставить сердечник 3 с пружиной 12, установить крышку электромагнита с шайбой 11;

в) навинтить гайки 14 с шайбами 15 в 16 на шпильки 13, 17. Проверить подвижность в ход сердечника. Ход должен составлять 81 мм;

г) присоединить выводы включающей катушки 4.

7.6.3. Сборка механизма свободного расцепления:

а) собрать на оси 4 (см. рис. 16) серьги 1, 2, установить втулки 5, 8 и ролик 6;

б) зашплинтовать втулку 8 и ось 4 шплинтом 7;

в) собрать серьгу 3 с собранным звеном серег 1 и 2, установить ролик 12 с шайбами 11, 13 и зашплинтовать ось 9;

г) проверить подвижность звеньев механизма и правильность сборки.

7.7. Общая сборка привода

7.7.1. Собрать на оси 2 (см. рис. 14) удерживающую собачку 3 с пружиной 4, установить шайбы, оси 2 зашплинтовать. Положение собачки 3 относительно отверстия под шток регулируется количеством дистанционных шайб.

7.7.2. Установить в корпус 12 механизм свободного расцепления в сборе, вставить оси 24 и пружину 23. Центровку механизма относительно корпуса производить количеством дистанционных шайб. Оси 24 зашплинтовать.

7.7.3. Вставить в корпус 12 вал 5 с рычагом 11. Вал и рычаг заштифтоватъ.

7.7.4. Соединять серьгу механизма свободного расцепления с рычагом 11, осью 6, установить шайбу 7. Ось 6 зашплинтовать.

7.7.5. Установить отключающую собачку 22, пружку 17, ось 21. Ось 21 зашплинтовать. Центровку собачки 22 производить количеством дистанционных шайб.

7.7.6. Установить прокладку, электромагнит отключения 13 на шайбу корпуса 12. Соединить отключавшую собачку 22 с сердечником электромагнита 13 осью 18 с шайбами 19. Ось зашплинтовать. Ввернуть болты 8 (см. рис. 13).

7.7.7. Установить привод выключателя на раму.

7.7.8. Ввернуть рычаг 59 (см. рис. 3) в вал привода.

Соединить осями тягу 60 с рычагом 59 и рычагом 8 (см. рис. 8). Оси зашплинтовать. Присоединить выводы блок-контактов КБО, КБВ (см. рис. 3).

8. РЕГУЛИРОВАНИЕ, ПРОВЕРКА И ИСПЫТАНИЕ ВЫКЛЮЧАТЕЛЯ

8.1. Регулирование выключателя производить без верхних крышек на полюсах. Включение в отключение выключателя с приводом в процессе регулировки производить только вручную рычагом ручного включения П-2.

Включенное положение выключателя фиксируется посадкой привода на защелку (удерживающую собачку привода), отключенное положение посадкой ролика вала выключателя на шток буфера масляного.

Внимание! Во включенном положении выключателя удерживающую собачку привода стопорить предохранительным прутком Æ 6´100 мм, при отключении выключателя предохранительный пруток вынимать.

8.2. Регулирование приводного механизма выключателя.

8.2.1. Установить раму выключателя в вертикальное положение по отвесу.

8.2.2. Установить вал выключателя во включенное положение рычагом П-2 по шаблону 0-3 (рис. 19), при этом зазор между роликом 63 (см. рис. 3) и упорным болтом 40 должен быть 1 - 1,5 мм, в этом положении привод должен быть включен и должен стоять на удерживающей собачке 3 (см. рис. 14).

Соединить рычаг вала привода с рычагом вала выключателя тягой 53 (см. рис. 3) и осями 15, 28, предварительно установив втулки 27 и шайбы 16. Оси зашплинтовать. Снять предохранительный пруток.

8.2.3. Отключить выключатель вручную рычагом П-2. Угол поворота вала выключателя (норма 87 ± 2°) отрегулировать шайбами 39, устанавливаемыми под буфер масляный. Измерения производить угломером или транспортиром с отвесом.

8.2.4. В отключенном положении установить отключающие пружины 43 и буферную пружину 56, вставить оси 20 с втулками 23 и шайбами 21. Зашплинтовать оси 20. Навинтить гайки 47 с шайбами 48, 49 на ушко пружины, окончательно контрить после регулировки выключателя.

Внимание! При установке отключающих пружин 43 сохранять величину их предварительного вытяжения (норма 225 ± 20 Н), а для буферной пружины 56 - величину рабочего хода (норма 33 ± 2 мм).

8.2.5. Отрегулировать в отключенном положении привода зазор между роликом 12 (см. рис. 16) и отключающей собачкой 22 (см. рис. 14) (норма 0,3 - 0,8 мм) болтом упора 25, установив его гранями вдоль оси механизма свободного расцепления.

Установить винтом 15 середину опорной поверхности отключающей собачки 22 на линию, соединяющую ось вращения собачка с осью вращения ролика.

8.2.6. Отрегулировать зазор между удерживающей собачкой 3 и осью ролика 6 (см. рис. 16) (норма 1 - 1,5 мм) при подтянутом до упора сердечнике 3 (см. рис. 13) изменением длины штока рычагом П-2. После регулировки шток сердечника застопорить винтами.

8.2.7. Отрегулировать срабатывание блок-контактов БКВ-19 (см. рис. 3) тягой 5 так, чтобы во включенном положении вала выключателя 9 обеспечивалось переключение контактов БКМ, при этом размер от края кулачка 64 до кронштейна 65 должен быть 13 ± 1 мм.

8.2.8. При регулировании блок-контактов КБВ и КБО (см. рис. 8) необходимо знать следующее:

а) включенному положению привода соответствует отключенное положение блок-контакта КБВ и включенное положение блок-контакта КБО;

б) контакт КБВ в цепи обмотка контактора должен размыкаться в самом конце хода включения в момент западания удерживающей собачки 3 (см. рис. 14) за ось ролика 6 (см. рис. 16), что соответствует 782 мм хода штока включающего сердечника, а контакт КБО - должен замыкаться до касания контактов выключателя. Моменты замыкания и размыкания контактов проверить при ручном неоперативном включении выключателя.

8.2.9. Отрегулировать блок-контакты КБО в отключенном положении выключателя тягой 60 (см. рис. 3) и рычагом 59 так, чтобы был выдержан зазор между зубом кулачка 11 (см. рис. 8) и зубом собачки 9 (норма 2 - 3 мм), а во включенном положении вала выключателя зазор между хвостовиком собачки 9 и зубом собачки 10 (норма 1,5 - 2,5 мм).

Отрегулировать винтом 14 западание собачки 9 (норма 7 - 8 мм) во включенном положении выключателя.

8.2.10. Проверить работу блок-контактов БКМ 14 (см. рис. 15). Ход блок-контактов должен составлять 6 мм; после переключения (при полностью подтянутом отключающем сердечнике) подвижный шток блок-контакта должен допускать свободное перемещение на 1 мм.

8.3. Проверить присоединение полюсов по установочным размерам 34 ± 1,5; 363 ± 3; 357 ± 3 мм (см. рис. 2).

8.4. При измерении хода подвижных стержней в розеточных контактах и скоростей включения и отключения, момент касания контактов определять с помощью штанги П-4 (рис. 20) и электрических ламп, зажигающихся при касании контактов во время включения выключателя.

8.4.1. Отвинтить пробку 28 (см. рис. 9) в головке 8.

8.4.2. Поворачивая наружный рычаг механизма полюса вниз, подвести направляющую колодку 18 подвижного стержня 23 до упора в буфер 11 и завернуть штангу П-4 в резьбовое отверстие колодки 18.

8.4.3. Соединить в этом положении наружные рычаги механизмов полюсов изоляционными тягами 2 (см. рис. 2), вал выключателя при этом должен быть в отключенном положении.

8.4.4. Сделать первую метку на штанге П-4. С помощью рычага ручного включения П-2, медленно включая выключатель, довести подвижные стержни до касания с ламелями розеточного контакта.

8.4.5. Сделать вторую метку на штанге П-4 и измерить разновременность касания подвижных стержней (допускается до 5 мм).

8.4.6. Довключить выключатель с посадкой привода на удерживающую собачку и сделать третью метку на штанге.

8.4.7. Измерить полный ход подвижного стержня между 1-й и 3-й метками (норма  мм) и ход в розеточном контакте между 2-й и 3-й метками (норма  мм). Измерения производить во всех полюсах.

8.4.8. Отрегулировать разновременность в ход подвижного стержня в розеточном контакте изоляционной тягой 2. При необходимости регулировать полный ход изменением угла поворота вала выключателя (в пределах 87° ± 2°) за счет установки под масляный буфер 42 (см. рис. 3) регулировочных шайб 39.


Рис. 3. Рама выключателя с электромагнитным приводом:


1 - болт М6´16; 2 - шайба 6.02.019; 3 - шайба 6.65Г019; 4 - блок - контакты КБО, КБВ; 5, 53, 60 - тяги; 6 - рама; 7 - шплинт 2´16; 8, 55 - оси; 9 - вал; 10 - корпус подшипника; 11 - болт М8´25; 12 - гайка М8; 13 - шайба 8.02.019; 14 - шайба 8.65Г019; 17 - шплинт 3,2´20; 18 - винт; 19 - блок-контакт БКВ; 20 - ось 10´43; 21 - шайба 10´1.019; 22 - шплинт 2,5´20; 23, 27 - втулки; 24 - гайка М6; 25 - винт М6´12; 26 - ряд клеммный; 28 - ось 12´50; 29, 65 - кронштейны; 30 - болт М12´30; 31 - гайка M12; 32 - шайба 12.02.019; 33 - шайба 12.65Г019; 34, 44 - скобы; 35 - изолятор опорный; 36 - болт M16´40; 37 - шайба 16.02.014; 38 - шайба 16.65Г019; 39, 46 - шайбы; 40 - болт М16´90; 41 - гайка M16; 42 - буфер масляной; 43 - пружина отключающая; 45 - уголок; 47 - гайка М10; 48 - шайба 10.02.019; 49 - шайба 10.65.019; 50 - контактор; 51 - кнопка; 52 - привод электромагнитный; 54 - гайка; 56 - пружина буферная; 57 - винт М6´25; 58 - стенка; 59 - рычаг; 61 - ось 6´22; 62 - штифт; 63 - ролик; 64 - кулачок

8.4.9. Установить выключатель в отключенное положение, сделать метку на штанге П-4. Отсоединить изоляционную тягу 2 (см. рис. 2), поднять стержень вверх до упора и измерить верхний недоход (норма 6 мм, не более).

Опустить стержень вниз до упора и измерить нижний недоход (норма 3 мм, не менее).

8.4.10. Проверить после окончания регулировки хода подвижных стержней предварительное натяжение отключающих пружин и рабочий ход буферной пружины. Ввернуть пробку 28 (см. рис. 9) в отверстие в головке 8. Присоединить изоляционную тягу 2 (см. рис. 2).

8.5. Электрическое сопротивление токопровода полюсов измерить между выводами с помощью микроомметра с классом точности не ниже 3,5 на шкале 100 мкОм. Данные измерений должны соответствовать табл. 2.

Таблица 2

Номинальный ток выключателя, А

Сопротивление токопровода, мкОм, не более

630

55

1000

45

1600

32

8.6. Включающий момент на валу выключателя проверить с помощью рычага ручного включения П-2 и динамометра на 500 Н.

8.6.1. Установить рычаг ручного включения П-2 на квадрат вала и надеть на рычаг трубу с внутренним диаметром 20 - 25 мм так, чтобы расстояние от места присоединения динамометра до оси вала выключателя было 1 м.

8.6.2. Поворачивая рычаг ручного включения, поднести неподвижные стержни из отключенного положения до момента касания их с розеточными контактами и измерить включающий момент (табл. 3) при входе подвижных стержней в розеточные контакты. Чтобы избежать погрешность измерения от массы рычага ручного включения и трубы, их следует расположить по возможности в вертикальном положении.

8.7. Проверить минимальный удерживающий момент на валу выключателя (см. табл. 3).

8.7.1. Во включенном положении выключателя на квадрат вала выключателя надеть рычаг П-2 в положение близкое к горизонтальному.

8.7.2. Повесить на рычаг груз, который бы создал момент 40 Нм для выключателя с номинальным током отключения 20 кА и 60 Нм для выключателя на 31,5 кА, препятствующей отключению выключателя.

8.7.3. Сбить отключающую собачку, при этом выключатель должен легко отключиться

Таблица 3

Номинальный ток отключения выключателя, кA

Максимальный включавший момент, Нм, не более

Минимальный удерживающий момент, Нм, не менее

20

270

40 + 2

31,5

290

60 + 2

Внимание! Включающий и минимальный удерживающий моменты на валу выключателя регулировать натяжением отключающих и буферной пружин.

8.8. Проверить работу механизма выключателя при плавном статическом включении в отключении (последнее из полностью выключенного положения). Включение должно происходить легко, без затираний, а отключение - без каких-либо задержек как из включенного полностью, так и из любого промежуточного положения выключателя.

8.9. Проверить действие элементов схемы управления выключателем. Произвести два-три включения при пониженном напряжении, пять включений при номинальном и два-три при повышенном напряжении; при этом минимальное напряжение на займах включающего электромагнита, при котором привод еще способен включать выключатель вхолостую, не должно превышать значений 145 В при номинальном напряжении 220 В и 70 В при номинальном напряжении 110 В.

8.10. Измерить скорость включения и отключения выключателя.

8.10.1. Закрепить на пластине штанга П-4 несколько слоев бумаги 40´280 мм.

8.10.2. При помощи вибрографа частоты 50 Гц и напряжением 36 В снять виброграммы на отключение и включение (рис. 21).

Скорость выхода подвижных стержней должна соответствовать данным табл. 4.

8.10.3. Измерение скорости включения (см. табл. 4) выключателя проводить аналогично п. 8.10.2

Таблица 4

Номинальный ток отключения выключателя, кА

Скорость подвижных стержней в момент размыкания контактов при отключении, м/с

Скорость подвижных стержней в момент касания контактов при включении, м/с

20

3,2 ± 0,4

4,8 ± 0,4

31,5

3,4 ± 0,4

5,2 ± 0,4

8.11. Определить собственное время отключения (норма 0,09 с) и собственное время включения (норма 0,3 с) выключателя с приводом, электрическим секундомером с точностью измерения 0,01 с.

8.12. По окончания всех работ по регулировке вывинтить штанги П-4, установить крышки на полиса и межполюсные перегородки.

8.13. Испытать выключатель повышенным напряжением, согласно действующим нормам. Убедиться в надежности присоединения заземляющих шин.

Внимание! При измерении характеристик по пп. 8.9, 8.10 полюса выключателя должны быть залиты трансформаторным маслом.

ПРИЛОЖЕНИЕ 1

ПЕРЕЧЕНЬ ОБОРУДОВАНИЯ И ПРИБОРОВ

Наименование оборудования

Модель, тип, № стандарта

Краткая характеристика оборудования

Назначение

Динамометр пружинный

ГОСТ 13837-68

Класс 2, усилие 10500 Н

Определение вытягивающего усилия контактного стержня, измерение контактного давления ламелей

Электросекундомер

ТУ 25-07.491-71

Класс точности

Для измерения собственного времени включения и отключения выключателя с приводом

Амперметр

М-82 ГОСТ 8711-78

Класс точности не ниже 1,0

Измерение переходного сопротивления

Милливольтметр

М95 ГОСТ 8711-78

Класс точности не ниже 0,5

Измерение переходного сопротивления

Мегаомметр

M-1101 МТУ 25-04-800-71

-

Для измерения сопротивления изоляции

Установка для серебрения контактов

ЭФИ-54

-

Для серебрения контактов

Микроомметр

М-246 ТУ 25-04-809-71

Класс точности не ниже 2,5

Для измерения сопротивлений контактов

Электромагнитный виброграф

-

На 24 - 36 В, 50 ГЦ

Для снятия скоростных характеристик выключателя

ПРИЛОЖЕНИЕ 2

НОРМЫ РАСХОДА МАТЕРИАЛОВ НА КАПИТАЛЬНЫЙ РЕМОНТ ВЫКЛЮЧАТЕЛЯ

Наименование материала

Обозначение

Единица измерения

Норма расхода

Масло трансформаторное

ГОСТ 982-68

л

12

Смазка ЦИАТИМ-221

ГОСТ 9433-60

кг

0,2

(ЦИАТИМ-203)

(ГОСТ 8773-73)

 

 

Ветошь обтирочная (сортированная)

ГОСТ 5354-74

кг

1,0

Бензин

ГОСТ 8505-57

л

0,5

Шкурка шлифовальная типа разная

ГОСТ 5009-75

м2

0,25

Лак бакелитовый

ГОСТ 901-71

кг

0,1

Эмаль ПФ-115

ГОСТ 6465-76

кг

0,1

Краска желтая, красная, зеленая, черная, серая

ГОСТ 9640-75

кг

По необходимости

Шплинты разные

ГОСТ 397-66

-

По необходимости

Графит серебристый кристаллический

ГОСТ 5279-74

кг

0,1

Уайт-спирит

ГОСТ 3134-78

л

0,5

Смазка ПЕК

ГОСТ 19537-74

кг

0,05

ПРИЛОЖЕНИЕ 3

НОРМЫ РАСХОДА ЗАПАСНЫХ ЧАСТЕЙ НА КАПИТАЛЬНЫЙ РЕМОНТ ВЫКЛЮЧАТЕЛЯ

Наименование

Номер чертежа

Количество на ремонт одного выключателя

Наконечник дугогасительный

5КА.551.062

2

Ламель розеточного контакта

5КА.572.008

6

Изолятор фарфоровый

6КА.281.004

1

Прокладка верхней крышки

8КА.371.056

3

Уплотнение пробки

8KA.710.ООН

3

Уплотнение маслоуказателя

8КА.371.054

3

Стержень подвижный

5КА.540.017

1

(5КА.540.017-02)

1

Камера дугогасительная

5КА.740.020

1

(5КА.740.028)

1

Пружина отключающая

5КА.281.029

1

Стекло маслоуказателя

8КА.724.009

1

Колпачок маслоуказателя

8КА.307.002

1

Прокладка

8КА.371.053

3

Примечание. Количество частей на ремонт монет быть изменено в зависимости от условий эксплуатации

ПРИЛОЖЕНИЕ 4

ПЕРЕЧЕНЬ ИНСТРУМЕНТА, НЕОБХОДИМОГО ДЛЯ КАПИТАЛЬНОГО РЕМОНТА ВЫКЛЮЧАТЕЛЯ

Наименование

Обозначение

№ стандарта

Количество, шт.

Пневмогайковерт

ИП-3113

ГОСТ 10210-74

1

Клич трещоточный с набором головок

-

ГОСТ 3329-75

2

Ключ гаечный с открытыми зевами, двусторонний

 

 

 

S = 7´8 мм

Ключ 7811-002

ГОСТ 2839-71

1

То же S = 8´10 мм

Ключ 7811-003

 

2

-"-    S = 10´12 мм

Ключ 7811-004

 

2

-"-    S = 12´14 мм

Ключ 7811-0021

 

2

-"-    S = 17´19 мм

Ключ 7811-0023

 

2

-"-    S = 22´24 мм

Ключ 7811-0025

 

1

Ключ торцевой S = 17 мм

Ключ 7811-0107

ГОСТ 3329-75

1

То же S = 22 мм

Ключ 7811-0119

 

1

-"-   S = 27 мм

Ключ 7811-0123

 

1

Молоток слесарный стальной, массой 400 г типа А

Молоток 7850-0034

ГОСТ 2310-70

2

Бородок слесарный

Бородок 7851-0181

ГОСТ 7214-72

1

Кернер

Кернер 7643-0041

ГОСТ 7213-72

2

Отвертка слесарно-монтажная

Отвертка 7810-0809

ГОСТ 17199-71

2

Плоскогубцы комбинированные длиной 200 мм

Плоскогубцы 200

ГОСТ 5547-75

2

Линейка измерительная, металлическая 1 - 500 мм

Линейка 1-500

ГОСТ 427-75

1

То же 1 - 200 мм

Линейка 1-200

ГОСТ 427-75

1

Штангенциркуль

Штангенциркуль ШЦ-П, 0-206, 01

ГОСТ 166-73

2

Напильники разные

-

ГОСТ 1465-69

2

Надфили разные

-

ГОСТ 1513-77

2

Метчики разные

-

ГОСТ 3266-71

2

Плашки разные

-

ГОСТ 9740-71

2

Вороток раздвижной (для метчиков)

Вороток 6910-0062

ГОСТ 22401-77

1

Вороток для плашек

Вороток 55´12

ГОСТ 22395-77

1

Шабер плоский односторонний со вставной пластиной

-

-

1

Шабер трехгранный односторонний

-

-

1

Щуп

Набор № 4

ГОСТ 882-75

1

Нож монтерский

-

-

1

Щетка металлическая

-

-

1

Кисть

КФ-025

ГОСТ 10597-70

2

Стопорный стержень 60´100

-

-

1

Приставка к пневмогайковерту

-

-

1

Лупа складная

ЛП-1-7

ГОСТ 7594-75

1

Киянка

0304-0002

ГОСТ 11775-74

1

Угломер

-

ГОСТ 5378-66

1

Сигнальная лампа

-

ГОСТ 5.68-68

3

Отвес длиной нити 2 м и массой груза 0,2 кг

-

-

1

ПРИЛОЖЕНИЕ 5

ПЕРЕЧЕНЬ ПРИСПОСОБЛЕНИЙ И СПЕЦИАЛЬНОГО ИНСТРУМЕНТА

Наименование

Назначение и краткая характеристика

Расположение

Обозначение

Приспособление

Для центровки розеточного контакта

Рис. 18

П-1

Рычаг ручного включения

Для ручного включения выключателя

ЗИП

П-2

Шаблон

Для установки включенного положения вала выключателя

Рис. 19

П-3

Штанга

Для замера скоростей хода подвижных стержней

Рис. 20

П-4

ПРИЛОЖЕНИЕ 6

Присоединение _____________________

Энергосистема (РЭУ) __________________

Предприятие _________________________

ВЕДОМОСТЬ ОСНОВНЫХ ПОКАЗАТЕЛЕЙ ТЕХНИЧЕСКОГО СОСТОЯНИЯ ВЫКЛЮЧАТЕЛЯ ПОСЛЕ КАПИТАЛЬНОГО РЕМОНТА

Тип ______________________________ завод-изготовитель _____________________

Заводской _______________________ год изготовления _________________________

Причина ремонта _________________________________________________________

(плановый, внеочередной, после отключения предельного числа коротких

___________________________________________________________________________

замыканий)

Начало ремонта ___________________

(дата)

Окончание ремонта ________________

(дата)

1. Ведомость капитального ремонта сборочных единиц выключателей заполняется на сборочные единицы, потребовавшие замены либо капитального ремонта деталей.

Наименование сборочной единицы

Техническое состояние до ремонта

Выполненный объем работ

 

 

 

2. Данные испытаний

2.1. Электромеханические

Параметры

Требуемые значения

Результаты испытаний

I полюс

II полюс

III полюс

Полный ход подвижного стержня, мм

208

 

 

 

Ход в розе точных контактах, мм

 

 

 

 

Разновременность касания контактов, мм

Не более 5

 

 

 

Недоходы, мм

 

 

 

 

верхний

Не более 6

 

 

 

нижний

Не менее 3

 

 

 

Максимальный включающий момент на валу выключателя, Нм

Не более

 

 

 

на 20 кА

270

 

 

 

на 31,5 кА

290

 

 

 

Минимальный удерживающий момент на валу выключателя при ходе подвижного стержня в розеточном контакте, Нм

Не менее

 

 

 

на 20 кА

40 ч2

 

 

 

на 31,5 кА

60-й

 

 

 

Минимальное напряжение на зажимах катушки выключателя без нагрузки, В

Скорость движения подвижного стержня в момент размыкания контактов, м/с

Не более 145

 

 

 

на 20 кА

3,2 0,4

 

 

 

на 31,5 кА

3,4 0,4

 

 

 

Скорость движения подвижного стержня, в момент касания контактов при включении при номинальном напряжении на зажимах электромагнита, м/с

 

 

 

 

на 20 кА

4,8 0,4

 

 

 

на 31,5 кА

5,2 0,4

 

 

 

Электрическое сопротивление полюсов между выводами, мкОм

 

 

 

 

2.2. Испытание изоляция

Изоляция выключателя в собранном виде испытана напряжением переменного тока 42 кВ промышленной, частоты 50 Гц:

а) между токоведущими и заземляющими частями во включенном и отключенном положениях (напряжение приложено к верхним выводам) в течение 1 мин;

б) между разомкнутыми контактами одного в того же полоса в отключенном положении в течение 5 мин.

Изоляция цепей вторичной коммутации испытана напряжением 2,0 кВ промышленной частоты 50 Гц в течение 1 мин.

3. Заключение

Оценка работы ___________________________________________________________

___________________________________________________________________________

Ремонт и наладка выполнены бригадой в составе:

___________________________________________________________________________

___________________________________________________________________________

___________________________________________________________________________

___________________________________________________________________________

___________________________________________________________________________

___________________________________________________________________________

___________________________________________________________________________

Руководитель ремонта и наладки

___________________________________________________________________________

должность, фамилия, подпись

Выключатель после ремонта принял

___________________________________________________________________________

должность, фамилия, подпись

«___» _____________ 20__ г.

Рис. 1. Технологическая схема капитального ремонта выключателя серии ВМПЭ-10:

1 - наружный осмотр выключателя, подготовительные работы; 2 - общая разборка полюсов; 3 - ревизия полюсов; 4 - ревизия дугогасительных камер, контактов и механизмов полюсов; 5 - общая сборка полюсов; 6 - ревизия сборочных единиц рамы-выключателя; 7 - общая разборка привода; 8 - ревизия механизма привода, электромагнитов отключения и включения; 9 - общая сборка привода; 10 - регулирование и испытание выключателя; 11 - проверка и прием выключателя из ремонта

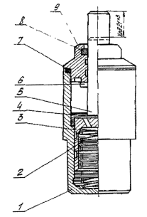
Рис. 2. Выключатель ВМПЭ-10:

1 - привод; 2 - тяга; 3 - болт М12´80; 4 - гайка М12; 5, 20 - шайбы 12.65Г019; 6 - шайба 12-011; 7 - шайба 1002.019; 8 - ось 10х34; 9 - шплинт 2,5´20; 10 - перегородка; 11 - болт М6´25; 12 - гайка М6; 13 - шайба 6.65Г019; 14 - шайба 6-011; 15 - болт М10´20; 16 - шайба 10.65Г019; 17 - полюс; 18 - болт М12´30; 19 - гайка М12; 20 - шайба 12.32.019; 21 - опорный изолятор.

Рис. 4. Полюс выключателя:

1 - винт; 2 - болт М8´25; 3 - шайба 8-011; 4 - шайба 8.65Г019; 5 - крышка; 6, 8, 19 - прокладки; 7 - механизм; 9 - болт М12´55; 10 - гайка М12; 11 - шайба 13/20´2-011; 12 - шайба 11.65Г019; 13, 23 - цилиндры; 14 - колпак; 15 - трубка; 16 - пружина; 17 - болт М6´16; 18 - фланец; 20 - штуцер; 21 - шарик; 22 - камера; 24 - контакт; 25 - гайка М16; 26 - шайба 16-011; 27 - шайба 16.65Г019; 28 - маслоспускной болт; 29 - шайба фибровая; 30 - головка.

Рис. 5. Пружина буферная:

1 - ось 8´28; 2 - шайба 8.02.019; 3 - шплинт 2´16; 4 - пружина; 5 - планка; 6 - ось 10´3; 7 - шайба 10.02.019; 8 - шплинт 2,5´20; 9 - ушко

Рис. 6. Пружина отключающая:

1 - пружина; 2 - ось 10´34; 3 - шайба 10-011; 4 - шплинт 2,5´20; 5 - ушко

Рис. 7. Буфер масляный:

1 - стакан; 2 - пружина; 3 - поршень; 4 - масло трансформаторное; 5 - шток; 6 - шплинт 3,2´32; 7, 8 - шайбы; 9 - крышка

Рис. 8. Блок-контакты КБО, КБВ:

1 - блок-контакт магнитный; 2 - шпилька М6´105; 3 - шайба 6.65Г019; 4 - гайка М6; 5, 30 - скобы; 6 - стопорная шайба; 7 - толкатель; 8 - рычаг; 9, 10 - собачки; 11, 29 - кулачки; 12 - шайба 4.65Г019; 13 - гайка М4; 14 - винт М14´18; 15 - шайба 6.02.019; 16 - втулка; 17 - прокладка; 18 - винт М4´6; 19 - шплинт 2,5´20; 20 - шайба 10´1.02.019; 21 - кольцо; 22 - шплинт 2´16; 23 - штифт цилиндрический; 24, 25, 27 - пружинки; 26 - вал; 28 - ось.

Рис. 9. Механизм полюса:

1 - корпус; 2 - болт M12´55; 3 - шайба 13 20´2-011; 4 - шайба 12.65Г019; 5 - гайка M12; 6 - гайка M16; 7, 27 - шайбы; 8 - головка; 9 - направляющий стержень; 10 - прокладка; 11 - буфер; 12 - втулка; 13 - шплинт; 14 - внутренний рычаг механизма; 15 - упор; 16, 17 - серьги; 18 - колодка; 19 - токосъемные ролики; 20 - планка; 21, 25 - пластины; 22 - болт М12´30; 23 - стержень; 24, 26 - оси; 28 - пробка

Рис. 10. Неподвижный контакт на номинальный ток отключения 20 кА (α) и 31,5 кА (δ):

1 - ламель; 2 - прокладка; 3 - пружина; 4, 9 - кольца; 5 - шайба; 6 - болт М8´16; 7 - шайба 8.65Г019; 8 - связь гибкая; 10 - крышка; 11 - болт; 12 - шайба 16,5/25´2

Рис. 11. Дугогасительная камера с номинальным током отключения 31,5 кА:

1 - прокладка; 2 - вкладыш; 3 - шпилька; 4 - гайка; 5, 6, 7, 8, 9, 10, 11 - перегородки

Рис. 12. Дугогасительная камера с номинальным током отключения 20 кА:

1, 2, 3, 4, 5, 6, 7, 8, 9 - перегородки; 10 - шпилька; 11 - гайка; 12 - кольцо

Рис. 13. Привод электромагнитный ПЭВ-14:

1 - основание; 2 - магнитопровод; 3 - сердечник; 4 - катушка включения; 5 - гильза; 6 - прокладка; 7 - винт; 8 -болт; 9 - катушка отключения; 10 - механизм; 11 - шайба; 12 - пружина; 13 - шпилька; 14 - гайка M12; 15 - шайба 12-01Г; 16 - шайба 12Н65Г; 17 - шпилька M12´160 9

Рис. 14. Механизм привода:

1, 12 - корпуса; 2, 18, 21, 24 - оси; 3 - собачка удерживающая; 4, 17, 23 - пружины; 5 - вал привода; 6 - ось 12´50; 7 - шайба 12-011; 8 - шплинт 3,2´20; 9 - втулка; 10 - штифт конический 8´40; 11 - рычаг; 13 - электромагнит отключения; 14 - гайка М6; 15 - винт; 16 - шайба 6.65Г019; 19 - шайба 8.02.019; 20 - шплинт 2´16; 22 - собачка отключающая; 25 - болт М10´30; 26 - гайка М10; 27 - шайба стопорная

Рис. 15. Электромагнит отключения:

1 - гильза; 2 - плита; 3 - шайба 31/62´2; 4 - кожух; 5 - катушка; 6 - крышка; 7 - втулка; 8 - шайба 9/16´0,5; 9, 15 - скобы; 10 - шайба 8.65Г019; 11 - шайба 8-011; 12 - шпилька M8´100; 13 - гайка MB; 14 - блок-контакт БКМ; 16 - болт M16´16; 17 - пластина; 18 - контактодержатель

Рис. 16. Механизм свободного расцепления:

1, 2, 3 - серьга; 4, 9 - оси; 5, 8 - втулки; 6, 12 - ролики; 7 - шплинт 3,2´32; 10 - шплинт 3,2´20; 11 - шайба 12´1; 13 - шайба 12´0,5

Рис. 17. Схема тарировки пружин:

P1 и P2 - предварительное и рабочее усилия; L1 и L2 - предварительная и рабочая длина; 1 - перемещающийся шток; 2 - испытываемая пружина; 3 - направляющая труба; 4 - динамометр

Рис. 18. Приспособление для сборки ламелей розе точного контакта (П-1)

Рис. 19. Шаблон для установки включенного положения вала выключателя:

1 - ось рычага диаметром 18 мм; 2 - вал выключателя диаметром 36 мм; 3 - рама выключателя

Рис. 20. Штанга для измерения скорости хода подвижного стержня

Рис 21. Определение скорости на виброграмме:

1 - точка, соответствующая моменту размыкания подвижного стержня с розеточным контактом

СОДЕРЖАНИЕ

1. Введение. 1

2. Организация ремонта. 1

3. Требований к разборке выключателя и его составных частей. 2

4. Разборка выключателя. 3

5. Технические требования на дефектацию и ремонт деталей и сборочных единиц выключателя. 5

6. Требование к сборке выключателя и его составных частей. 13

7. Сборка выключателя. 14

8. Регулирование, проверка и испытание выключателя. 17

Приложение 1 Перечень оборудования и приборов. 21

Приложение 2 Нормы расхода материалов на капитальный ремонт выключателя. 22

Приложение 3 Нормы расхода запасных частей на капитальный ремонт выключателя. 22

Приложение 4 Перечень инструмента, необходимого для капитального ремонта выключателя. 22

Приложение 5 Перечень приспособлений и специального инструмента. 23

Приложение 6 Ведомость основных показателей технического состояния выключателя после капитального ремонта. 23

 

 



© 2013 Ёшкин Кот :-)