Информационная система
«Ёшкин Кот»

XXXecatmenu

МИНИСТЕРСТВО АВТОМОБИЛЬНЫХ ДОРОГ РСФСР

ДОРОЖНОЕ НАУЧНО-ИССЛЕДОВАТЕЛЬСКОЕ И
ПРОИЗВОДСТВЕННО-ТЕХНОЛОГИЧЕСКОЕ ОБЪЕДИНЕНИЕ
НПО РОСДОРНИИ

 

РУКОВОДСТВО
ПО РЕМОНТУ ЭЛЕМЕНТОВ МОСТОВОГО ПОЛОТНА
АВТОДОРОЖНЫХ МОСТОВ

 

 

 

Утверждено
Минавтодором РСФСР
25.01.88

 

 

Москва 1989

 

 

 

В Руководство включены два варианта конструктивного поперечного сечения мостового полотна с устройством мастичной оклеечной гидроизоляции: с накладными тротуарами и тротуарами, расположенными непосредственно на пролетном строении; а также один вариант с устройством выравнивающего слоя из особо плотного бетона, выполняющего функции гидроизоляции.

Наряду с традиционными методами ремонта элементов мостового полотна предложены новые решения, прошедшие опытную проверку в натурных условиях; ремонт асфальтобетонного покрытия методами термопластификации, устройство ограждений с использованием специальных упоров и технология замены тротуарных блоков; технология ремонта деформационных швов и устройства непрерывной плиты ездового полотна; устройство гидроизоляции из перхлорвиниловой эмали ХС-710 или клея "Спрут 5МДИ" из особо плотного бетона на основе напрягающего цемента с использованием битумно-латексной мастики, путем пропитки защитного слоя бетона гидрофобизирующей эмульсией и эпоксидным вяжущим; методы обследования, оценки состояния и ремонта узла сопряжения моста с насыпью.

В работе приведены технологическая последовательность и регламент ремонтных работ, даны рекомендации по использованию средств механизации.

Руководство разработано НПО Росдорнии при участии Союздорнии. Росдорнии Миндорстроя УССР, НПО Дорстройтехника (г. Минск), КАДИ, ХАДИ и Волгоградского ИСИ.

В разработке приняли участие канд. техн. наук М.И. Шейнцвит, В.И. Шестериков, инженеры А.В. Бугурусланов, Г.С. Горлина, М.А. Завьялов, В.В. Ладошин, О.В. Николаева, А.Г. Ожерельев (НПО Росдорнии); канд. техн. наук И.Д. Сахарова (Союздорнии), канд. техн. наук С.Г. Джигит (Госдорнии), инженеры Г.И. Козлов, Л.С. Измайлова (НПО Дорстройтехника), канд. техн. наук В.Б. Назаренко, И.Е. Страхова (КАДИ), канд. техн. наук Н.П. Лукин, инженеры А.С. Лозицкий, О.И. Безбабичева (ХАДИ), канд. техн. наук В.Д. Квасов (Волгоградский ИСИ).

Замечания и предложения просим направлять по адресу: 125493, Москва, Смольная ул., l/3, владение 2, НПО Росдорнии.

 

ПРЕДИСЛОВИЕ

Руководство по ремонту элементов мостового полотна автодорожных мостов разработано Гипродорнии1 совместно с Союздорнии, НПО Дорстройтехника, КАДИ, ХАДИ и Волгоградским ИСИ на основании следующих исследований:

___________

1 С 1 января 1989 г. Росдорнии.

анализ применяемых конструктивно-технологических решений мостового полотна (Гипродорнии, Союздорнии);

исследование методов регенерации асфальтобетона и разработка способа термопрофилирования асфальтобетонных покрытий (Гипродорнии);

исследование и разработка рекомендаций по установке ограждений на эксплуатируемых мостах (Гипродорнии);

разработка рекомендаций по ремонту тротуаров и перил (Гипродорнии, ХАДИ);

исследование и разработка рекомендаций по ремонту деформационных швов (Гипродорнии, КАДИ);

предложения по объединению эксплуатируемых пролетных строений мостов в температурно-неразрезные (Гипродорнии);

анализ совместной работы гидроизоляции с несущими элементами пролетного строения (ХАДИ);

исследование различных методов ремонта гидроизоляции, в том числе предложений по устройству гидроизоляции с использованием термозащитного слоя (КАДИ), эмали XC-710 и клея Спрут 5 МДИ Госдорнии), битумно-латексной эмульсии (НПО Дорстройтехника), гидрофобного бетона на напрягающем цементе (Госдорнии, Союздорнии), гидрофобизирующей эмульсии и эпоксидного вяжущего (Гипродорнии, Союздорнии);

исследование методов диагностики и ремонта узла сопряжения моста с насыпью (Волгоградский ИСИ).

В Руководство, кроме традиционных методов ремонта, как правило, не отличающихся от способов, используемых при строительстве мостов, включены специфичные конструктивно-технологические решения, прошедшие проверку в натурных условиях.

Основополагающим принципом при выборе методов ремонта является целесообразность не только выполнения ремонтных работ, но и устранения причин возникновения дефектов. С этой целью в разд. 2 Руководства приведены рекомендуемые для использования конструктивно-технологические решения компоновки элементов мостового полотна, по покрытию, ограждающим устройствам, тротуарам и перилам, деформационным швам, узлам объединения в непрерывную плиту ездового полотна, гидроизоляции и конструкции сопряжения моста с подходами. Предложено решать вопросы ремонта отдельных элементов комплексно, во взаимосвязи с учетом требований по обеспечению водоотвода и гидроизоляции.

Руководство содержит ряд различных взаимозаменяемых решений по отдельным видам ремонта, особенно по гидроизоляции, что позволяет выбирать метод ремонта также с учетом традиций, квалификации, наличия материалов и оборудования в организации, выполняющей ремонт. Приведены технико-экономические показатели различных технологических решений. Содержатся также требования по технике безопасности и охране природной среды.

 

Зам. ген. директора канд. техн. наук                             А.Я. Эрастов

 

1. ОБЩИЕ ПОЛОЖЕНИЯ

1.1. Руководство предназначено для использования при разработке проектов и ремонте, реконструкции полотна мостовых сооружений на автомобильных дорогах и в населенных пунктах в любых климатических зонах страны.

1.2. Руководство составлено в соответствии с требованиями СНиП 2.05.03-84 Мосты и трубы, СНиП III-43-75 Правила производства и приемки работ. Мосты и трубы (в части элементов мостового полотна), а также Инструкции по устройству гидроизоляции конструкций мостов и труб на железных, автомобильных и городских дорогах ВСН 32-81 с учетом проверенных на практике ряда конструктивно-технологических решений, разработанных организациями министерств автомобильных дорог РСФСР, УССР и БССР.

1.3. Руководство содержит конструктивно-технологические решения ремонта и реконструкции мостового полотна. Компоновки поперечного сечения, конструкции одежды ездового полотна и тротуаров в увязке с системой "гидроизоляция - водоотвод", ограждающих устройств и перил, конструкций деформационных швов, узлов сопряжений моста с насыпями подходов даны применительно к железобетонным, сталежелезобетонным и стальным пролетным строениям автодорожных мостов и путепроводов.

1.4. Руководство разработано в развитие положений Технических правил ремонта и содержания автомобильных дорог. ВСН 24-75.

Дефекты, подлежащие устранению при ремонте или реконструкции мостового полотна, выявляют на основе освидетельствования сооружения в соответствии с Инструкцией по проведению осмотров мостов и труб на автомобильных дорогах. ВСН 4-81, а также СНиП 3.06.07-86. Мосты и трубы.

Правила обследований и испытаний

1.5. При освидетельствовании мостового полотна следует оценить ровность поверхности ездового полотна и тротуаров, определить наличие и достаточность продольного и поперечных уклонов, выявить места застоя воды, определить состояние проезжей части в зонах деформационных швов и узлов сопряжения моста с насыпями подходов.

Необходимо выявить места разрушения покрытия (выбоины, трещины) и одежды в целом, а также наличие фильтрации воды через плиту проезжей части (при осмотре пролетного строения снизу) и деформационные швы.

Отмечают также состояние водоотводных устройств, тротуаров, ограждений и перил.

1.6. Фиксирование фильтрации воды через плиту проезжей части производят по наличию на ее нижней поверхности мокрых пятен, капели, следов выщелачивания бетона.

Целесообразно осматривать нижнюю поверхность плиты пролетного строения не реже двух раз в год (весной и осенью) в период дождей. Определение мест протечек позволит судить о состоянии гидроизоляции и выборе оптимального способа ремонта.

1.7. Своевременное проведение работ по устранению дефектов мостового полотна снижает затраты на его ремонт, предотвращает развитие дефектов и тем самым обеспечивает долговечность и надежность мостового сооружения, а также безопасность и комфортность движения транспортных средств.

1.8. Работы по ремонту и реконструкции мостового полотна выполняют в соответствии с проектом и технологическим регламентом, установленным настоящим Руководством.

При применении конструктивно-технологических решений, связанных с увеличением нагрузки на мост или изменением конструкции несущих элементов (например, установкой закладных деталей и т.п.), проект ремонта должен быть согласован с организацией, разработавшей проект моста.

1.9. В проектах по ремонту элементов мостового полотна необходимо предусматривать технические решения и организационные мероприятия по обеспечению безопасности производства работ и охране окружающей среды в соответствии с требованиями СНиП III-4-80 Техника безопасности в строительстве, Правил техники безопасности при строительстве, ремонте и содержании автомобильных дорог (Минавтодор РСФСР и Минтрансстрой СССР. - М., 1978), Инструкции по охране природной среды при строительстве, ремонте и содержании автомобильных дорог (проект) /Минавтодор РСФСР/ а также положений настоящего документа.

1.10. Контроль и приемку работ выполняют в соответствии с проектом ремонта элементов мостового полотна, Правилами приемки работ при строительстве, капитальном и среднем ремонте автомобильных дорог ВСН 19-81 и указаниями настоящего Руководства. Контролю подлежат геометрические размеры и очертания элементов, включая профиль ездового полотна и участок сопряжения моста с насыпью, их взаимное расположение, стыковка, качество применяемых материалов и соблюдение технологического регламента.

2. КОНСТРУКТИВНО-ТЕХНОЛОГИЧЕСКИЕ РЕШЕНИЯ,
ПРИМЕНЯЕМЫЕ ПРИ РЕМОНТЕ МОСТОВОГО ПОЛОТНА

Конструктивные поперечные сечения мостового полотна

2.1. При необходимости замены элементов мостового полотна или его переустройства, например при наличии неисправностей III категории по ВСН 4-81, а также при реконструкции, уширении сооружения, рекомендуется компоновку поперечного сечения конструкции мостового полотна принимать по схемам, приведенным на рис. 2.1 - 2.3. Условия применения различных конструктивных решений оговорены ниже.

2.2. В качестве основного варианта компоновки поперечного сечения конструкции мостового полотна следует принимать вариант (см. рис. 2.1), который можно применять на железобетонных и сталежелезобетонных пролетных строениях любых систем и пролетов мостов, расположенных на автомобильных дорогах всех категорий и в населенных пунктах.

Конструкция мостового полотна принята применительно к типовому проекту Союздорпроекта (инв. № 384/42) "Проезжая часть, тротуары, водоотводные устройства, перила и ограждения мостов и путепроводов на автомобильных дорогах". Предусмотрены ограждения двух типов: железобетонное парапетное и металлическое барьерное.

Водоотвод может быть двух вариантов: на сторону через тротуары с фиксированным сбросом или через водоотводные трубки.

2.3. Второй тип компоновки поперечного сечения конструкции мостового полотна (см. рис. 2.2) позволяет исключить технологические трудности, вызванные укладкой накладных тротуарных блоков, предусмотренных в основном типе (см. рис. 2.1).

Тротуары располагают непосредственно на несущей конструкции пролетного строения и отделяют от ездового полотна барьерным ограждением. Предусмотрено два варианта отвода воды с ездового полотна (как в основном варианте п. 2.2).

Конструкция перил может быть принята применительно к типовым проектам Союздорпроекта (инв. № 384/42 или инв. № 656/1) "Автодорожные рамно-неразрезные мосты и путепроводы с пролетами 12+15´n+12; 15+18´n+15; 15+21´n+15".

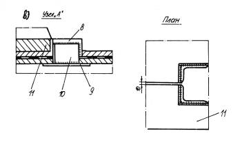
Рис. 2.1. Основной тип мостового полотна с накладными тротуарами:

а - с парапетным ограждением; б - с металлическим барьерным ограждением; в - крепление тротуарного блока (в скобках - при водоотводе через трубки)

I - штраба 20-30 мм заполняется мастикой; 2 - асфальтобетон 70 мм; 3 - защитный слой 40 мм; 4 - гидроизоляция 10 мм; 5 - выравнивающий слой 30 мм; 6 - арматурный выпуск; 7 - подвижный бетон (раствор) 30 мм; 8, 9-закладные детали тротуара и пролетного строения; 10 - накладная планка; 11 - тротуарный блок

 

Рис. 2.2. Второй тип мостового полотна с тротуарами непосредственно на пролетном строении:

а - без карнизного блока; б - с карнизным блоком; в - крепление карнизного блока (в скобках - при водоотводе через трубки): 1 - цементобетон 60 мм; 2 - гидроизоляция 10 мм; 3 - выравнивающий слой 30 мм; 4 - ограждение по ГОСТ 26804-86; 5 - парапет из железобетона (при водоотводе через трубки); 6 - асфальтобетон 70 мм; 7 - защитный слой 40 мм; 8 - закладная деталь; 9 - водоотводный лоток (через 3 м); 10 - карнизный блок; 11 - накладная планка

Указанное решение целесообразно применять на мостах, расположенных вне населенных пунктов, автомобильных дорогах всех категорий при условии, что ширина пролетного сечения допускает размещение ездового полотна и тротуаров в пределах ширины несущей конструкции пролетного строения.

2.4. Третий тип компоновки поперечного сечения конструкции мостового полотна (см. рис. 2.3) позволяет упростить конструкцию одежды ездового полотна путем устройства одного слоя из особо плотного бетона, выполняющего функции выравнивающего, гидроизоляционного и защитного слоев.

Такое решение предусматривает укладку по всей ширине пролетного строения выравнивающего слоя из бетона толщиной не менее 100 мм применительно к Техническим указаниям по проектированию и сооружению пролетных строений автодорожных и городских мостов с железобетонной плитой проезжей части без оклеечной гидроизоляции ВСН 85-68.

Указанный способ можно применять на мостах с разрезными и температурно-неразрезными железобетонными пролетными строениями, а также сталежелезобетонными и неразрезными железобетонными пролетными строениями, в плите проезжей части которых отсутствуют трещины (кроме конструкций с размещением напрягаемой арматуры в верхней зоне сечения в открытых каналах).

Конструктивное решение мостового полотна принимают в соответствии с проектом Союздорпроекта (инв. № 384/39).

Для накладных (плитных) тротуарных блоков (см. рис. 2.3а) может быть использовано барьерное ограждение аналогично схеме на рис. 2.1б.

Размещение тротуаров непосредственно на несущей конструкции пролетного строения (см. рис. 2.3б) целесообразно для случая, указанного в п. 2.3.

Использование повышенных тротуаров предпочтительнее других решений, когда по условиям безопасности движения допускается устройство бордюрных ограждений.

При использовании третьего типа компоновки также допускается отвод воды через трубки. При устройстве асфальтобетонного покрытия соответственно изменяются толщина бетона (раствора) под плитным тротуарным блоком, высота цоколя барьерного ограждения и установки блоков повышенного тротуара.

Рис. 2.3. Третий тип мостового полотна (без оклеечной гидроизоляции) с тротуарами:

а - накладными; б - непосредственно на пролетном строении; в - повышенного типа

1 - слой раствора; 2 - плита тротуарного блока; 3 - выпуски арматуры; 4 - выравнивающий и гидроизоляционный слои бетона; 5 - барьерное ограждение (см. рис. 2.1.)

2.5. Одежда ездового полотна, как правило, состоит из выравнивающего слоя, гидроизоляции, защитного слоя и покрытия.

Покрытие устраивают из двух слоев асфальтобетона общей толщиной не менее 70 мм или из цементобетона толщиной не менее 80 мм, служащего одновременно защитным слоем изоляции.

2.6. Выравнивающий и защитный слои в конструкциях (см. рис. 2.1, 2.2) следует выполнять из мелкозернистого бетона с заполнителем крупностью до 10 мм при минимальной толщине слоя 40 мм. Защитный слой армируют в соответствии с указаниями ВСН 32-81. Класс бетона по прочности должен быть не ниже В-25, марка по морозостойкости - не менее F 200, а для климатических условий, где средняя температура наиболее холодного месяца (согласно СНиП 2.01.01-82) ниже минус 10 °С, - не ниже F 300; марка по водонепроницаемости - не ниже W6, водоцементное отношение бетонной смеси - не выше 0,42. Введение в бетонную смесь противоморозных добавок - ускорителей твердения - не допускается.

2.7. В конструкциях (см. рис. 2.3) выравнивающий слой выполняют из особо плотного бетона, для него применяют бетонную смесь БСГТ В25 (В22,5, В30) ПIF300W8 по ГОСТ 7473-85, приготовленную на цементе ПЦ 500-Д5-Н при устройстве асфальтобетонного покрытия или ПЦ500-Д20-Н ГОСТ 10178-85 при езде непосредственно по выравнивающему слою.

Для обеспечения водонепроницаемости и морозостойкости бетона применяют комплексные добавки в соответствии с ВСН 85-68. Введение добавок - ускорителей твердения - не допускается. Водоцементное отношение - не более 0,42.

Для бетона применяют портландцементы по ГОСТ 10178-85, но предпочтительнее использовать дорожные пластифицированные или гидрофобные портландцементы ГОСТ 26633-85. Возможно применение напрягающего цемента НЦ20 и НЦ40 по ТУ 21-20-18-80 при введении в бетон комплексных добавок в соответствии с данными рекомендациями разд. 12.

Выравнивающий слой армируют с учетом указаний типового прожекта инв. № 384/39, Технических указаний по проектированию и сооружению пролетных строений автодорожных и городских мостов с железобетонной плитой проезжей части без оклеечной гидроизоляции. ВСН 85-68 или указаний разд. 12. На выравнивающий слой лучше укладывать двухслойное асфальтобетонное покрытие толщиной 70 мм.

2.8. При наличии на мостовом полотне неисправностей I и II категорий по ВСН 4-81 выполняют ремонт отдельных элементов: покрытия ездового полотна и тротуаров, ограждений, бордюров, тротуаров, перил, деформационных швов, гидроизоляции, конструкции сопряжения моста с насыпью.

Применяемые методы ремонта должны обеспечивать эффективный водоотвод и предусматривать гидроизоляцию (герметизацию) мест примыкания (сопряжения) отдельных элементов: одежды ездового полотна к деформационным швам, бордюрам, тротуарам, стойкам ограждений, перил, водоотводным устройствам и т.п.

2.9. Приведенные конструктивно-технологические решения мостового полотна не исключают другие решения, удовлетворяющие требованиям СНиП 2.05.03-84, СНиП III-43-75 и ВСН 32-81.

Покрытие ездового полотна и тротуаров

2.10. При переустройстве мостового полотна покрытие ездового полотна выполняют или из двух слоев асфальтобетона общей толщиной не менее 70 мм, или из цементобетона толщиной не менее 80 мм в зависимости от типа покрытия, принятого на автомобильной дороге.

На тротуарах и служебных проходах покрытие устраивают, как правило, из цементобетона толщиной не менее 40 мм.

2.11. Асфальтобетонное покрытие должно удовлетворять требованиям Руководства по строительству дорожных асфальтобетонных покрытий (М.: Транспорт, 1978.)

2.12. Класс бетона покрытия по прочности принимают не менее В 30, требования по морозостойкости и водонепроницаемости также, как для бетона защитного слоя (см. п. 2.6). Армирование цементобетонного покрытия ездового полотна предусматривают в соответствии с типовым проектом инв. 384/42. Покрытие устраивают с учетом требований Инструкции по строительству цементобетонных покрытий автомобильных дорог ВСН 139-80.

2.13. Классификацию и технологию ремонтных работ асфальтобетонного и цементобетонного покрытий принимают в соответствии с ВСН 24-75. При этом для ремонта следует в первую очередь использовать методы, не приводящие к увеличению нагрузки на пролетное строение моста.

2.14. Для устранения местных выбоин, просадок, наплывов, заделки трещин и других работ по ремонту асфальтобетонного покрытия, относящихся к текущему ремонту, рекомендуется использовать технологию локального ремонта, предусмотренную Руководством по текущему ремонту асфальтобетонных дорожных покрытий с применением инфракрасного разогрева / Гипродорнии. - М., 1977.

2.15. При большом количестве неровностей, трещин, шелушения, выкрашивания асфальтобетонного покрытия и ямочности, нарушения поверхностного уклона (водоотвода) наряду с методами ремонта, связанными с удалением старого покрытия и укладкой нового (см. п. 2.11), возможно восстановление асфальтобетонного покрытия методом термопрофилирования.

2.16. Способ термопрофилирования позволяет восстановить ровность покрытия и сплошность его верхнего слоя толщиной до 4 см, а в отдельных случаях при возможности увеличения толщины покрытия восстановить поперечный уклон. Данный способ применяют в соответствии с Техническими правилами по термопрофилированию асфальтобетонных покрытий с использованием машины ДЭ-232 / Гипродорнии. - М., 1987.

2.17. Термопрофилирование выполняют асфальторазогревателями, термопрофилировщиками, катками, автосамосвалами и др. Массу машин необходимо учитывать при организации работ на мосту. Наиболее неблагоприятные размещения нагрузки от комплекта машин показаны на рис. 2.4.

Ограждающие устройства

2.18. При соответствии габарита эксплуатируемого моста категории дороги или при реконструкции моста применяют ограждения и бордюры в соответствии со СНиП 2.05.03-84 и ГОСТ 26804-86.

Ограждения дорожные металлические барьерного типа. Технические условия, учтенные в схемах компоновки мостового полотна (см. рис. 2.1 - 2.3).

В остальных случаях при ремонте ограждений и бордюров, а также при их реконструкции на эксплуатируемых мостах, допускается применять барьерные и парапетные ограждения, бордюры, а также комбинированные решения (рис. 2.5 - 2.7).

Тип и высоту ограждающего устройства принимают в зависимости от категории дороги и расположения моста по табл. 2.1.

2.19. При устройстве бордюров типа Б-35 или Б-50 рекомендуется использовать специально изготавливаемые железобетонные блоки фигурного очертания или сваи прямоугольного сечения (см. рис. 2.5).

 

Рис. 2.4. Схема нормативной нагрузки от комплекта машин для ремонта покрытия методом термопрофилирования

1 - асфальторазогреватель ДЭ-234; 2 - автосамосвал КамАЗ-5511; 3 - термосмеситель ДЭ-232; 4 - вибрационный каток ДУ-47А; 5 - пневмоколесный каток ДУ-55; 6 - трехосный каток ДУ-49 (усилия на оси машин даны в кН, расстояния - в м)

 

Таблица 2.1

Условия применения различных типов ограждающих устройств

 

 

Характеристика дороги

Фактический габарит моста, м

Ограждения

мост на прямом участке

путепровод на прямом участке, мост со сложными подходами

путепровод со сложными подходами

I категория магистрали
(4 и более полос движения)

Г-19 и более

Бр75

Бр75

Бр75

Г-14

П 60

Бр75

Бр75

Г-9

II 60

П 60

П 60

 

 

 

 

I-II категории
(3 полосы движения)

Г-14 и более

Бр75

Бр75

Бр75

Г-9

П 60

П 60

П 60

Г-7

Б 35

Б 50

Б 50

 

 

 

 

 

II категория
государственные и республиканские дороги
(две полосы движения)

Г-11,5

П 60

П 60

Бр75

Г-8

Б 50, П 50

П 60

П 60

Г-7

Б 35

Б 50

Б 50

 

 

 

 

 

Ш категория
(две полосы движения)

Г-10

П 60

П 60

П 60

Г-8

Б 50, П 50

Б 50, П 50

П 60

Г-7

Б 35

Б 35

Б 50, П 50

 

 

 

 

 

IV-V категории
областные и местные дороги

Г-8

Б 35

Б 50

Б 50

Г-7

Б 35

Б 35

Б 50

Г-6

Б 35

Б 35

Б 35

Примечания. 1. Обозначения: Б - бордюры; П - парапеты; Бр - барьеры; 35, 50, 60, 75 - высота, см.

2. Комбинированные ограждения применяют в тех же случаях, что и барьерные.

3. В пролетных строениях с ездой по низу и на всей остальной длине моста (независимо от типа пролетного строения) применяют только барьерные ограждения: при габарите моста до 8,0 м - Бр 60, при больших габаритах - Бр 75.

 

Рис.2.5. Бордюры типов Б 35 и Б 50. Схемы установки:

а - с вертикальной лицевой поверхностью; б - с наклонной лицевой поверхностью;
в - с железобетонной сваей

1 - тротуар (бордюр удален); 2 - фигурный бордюрный блок;
3 - подливка цементным раствором; 4 -железобетонная свая;
5 - труба-упор для фиксирования сваи по концам

 

 

Рис. 2.6. Ограждения парапетные типов П 50 и П 60. Схемы установки

а - монолитное для тротуаров без бордюра; б - монолитное с удалением бордюра;
в -из железобетонных призм с опорными столиками; г - металлическое жесткое ограждение;
д - то же с использованием балки барьерного ограждения:

1 - анкерные стержни; 2 - монолитный парапет; 3 -штраба в защитном слое бетона, заполняемая мастикой; 4 - дополнительная гидроизоляция; 5 - опорный столик; 6 - железобетонная плита; 7 - подливка цементным раствором; 8 - железобетонная призма; 9 - балка барьерного ограждения

Плотное примыкание бордюрных блоков к элементам тротуара обеспечивается заполнением зазоров цементным раствором.

2.20. Парапетные ограждения типов П50 и П60 в отличие от бордюров крепят самостоятельно к конструкциям. Их устраивают из сборных железобетонных блоков или бетонируют на месте (см. рис. 2.6, а - в).

Так как устройство парапетного ограждения связано с уменьшением ширины тротуаров (на 0,2 - 0,4 м) и ездового полотна (на 0,1 - 0,3 м), их применяют при ездовом полотне не менее 8 м и тротуара - не менее 1 или 1,5 м.

2.21. Барьерные ограждения, устанавливаемые на тротуарах высотой до 15 см, выполняют в соответствии с ГОСТ 26804-86, где стойка высотой hcm = 600 мм, предусмотрена из двутавра № 12. При высоте тротуара свыше 15 см стойку ограждения принимают уменьшенной высоты и соответственно из профиля менее жесткого (например, при hcm = 500 мм - швеллер № 12, при hcm = 400 мм - двутавр № 10 (см. рис. 2.7).

 

 

Рис. 2.7. Ограждения барьерные типа Бр75(комбинированные)

а - схема установки к тротуарным блокам, закрепленным к пролетному строению;

б - то же к не закрепленным сваркой тротуарам

1 - ограждения барьерные по ГОСТ 26804-86; 2 - анкерные болты; 3 - закладная деталь;
4 - бетонный упор (существующий); 5 - монолитный бетон; 6 - закладная деталь (швеллер)

В стальных пролетных строениях с ездой понизу стойки ограждений допускается устанавливать в зазоры между стальным поясом фермы и железобетонной плитой без специального крепления.

2.22. В случае, когда установка парапетных ограждений по п. 2.18 на тротуар недопустима из-за несоответствия габаритов, возможно устройство металлических жестких ограждений высотой, равной высоте парапетов и креплением стоек по рис. 2.7. Для такой конструкции можно использовать балки барьерного ограждения, непосредственно крепящиеся к стойкам (без консолей-амортизаторов) (см. рис. 2.6,е, ж).

2.23. Работы по ремонту ограждающих устройств можно разделить на три вида, соответствующие 1, 2 и 3 категориям неисправностей по ВСН 4-81:

обработка поверхности бетона составами для предотвращения шелушения, восстановление поверхности защитного слоя железобетонных и окрасочного слоя и металлических элементов;

восстановление поврежденных (деформированных) участков ограждающих устройств, замена ограждений на отдельных участках;

замена ограждений по всей длине моста при наличии неисправностей 3 категории, а также в случае несоответствия их современным требованиям СНиП 2.05.03-84 и требованиям п. 2.18 настоящего Руководства.

Тротуары и перила

2.24. При необходимости переустройства мостового полотна тротуары и перила рекомендуется применять в соответствии со схемами рис. 2.1 - 2.3.

При наличии на мосту коммуникаций, расположенных под тротуарными блоками, рекомендуется рассмотреть возможность выноса их из-под тротуаров и размещения на наружных подвесках, консолях и т.п. Лишь при отсутствии такой возможности допускается устройство тротуаров повышенного типа с сохранением коммуникаций под тротуарными блоками.

2.25. Ремонтные работы можно классифицировать в соответствии с категориями неисправностей по ВСН 4-81, а именно:

ремонт железобетонных поверхностей тротуаров и перил, заделка поверхностных раковин, сколов, трещин, отслоений бетона, восстановление защитного слоя, ремонт конструкции деформационных швов между тротуарными и перильными элементами, устранение других дефектов, снижающих долговечность, но не несущую способность элементов;

замена отдельных элементов тротуаров, бордюров и перил, имеющих в отдельных местах дефекты, снижающие несущую способность и безопасность движения пешеходов на отдельных участках тротуаров (разрушение и деформации тротуарных плит, стоек перил, перильного заполнения, бордюров);

замена конструкции тротуаров и перил при разрушении тротуарных плит, блоков, обрушивании перил, вызывающих опасность (невозможность) движения пешеходов по тротуарам.

Деформационные швы

2.26. При ремонте конструкций деформационных швов необходимо учитывать возможность применения их различных типов в соответствии с данными табл. 2.2. Рекомендуемые конструктивные решения деформационных швов показаны на рис. 2.8 - 2.12.

Таблица 2.2

Рекомендуемые конструкции деформационных швов,
их предельные перемещения

Тип шва (обозначение)

Предельные перемещения, мм

горизонтальное продольное, dпр

горизонтальное поперечное от температуры установки,
tз dпр

вертикальное,
dпр

1

2

3

4

Закрытый:

 

 

 

с обычным асфальтобетонным покрытием (см. рис. 2.8,а) (Н)

10

5

3

с демпфирующим подстилающим слоем (см. рис. 2.8,б)

10

7,5

2

с армированным асфальтобетонным покрытием (см. рис. 2.8,в) (НА)

10

2,5

2

Заполненный, с мастичным заполнением:

 

 

 

с эластичным компенсатором (см. рис. 2.9,а ,б (М)

15

10

5

с металлическим компенсатором (см. рис. 2.9,в) (М)

15

0

5

то же, с бетонным приливом у шва (см. рис. 2.9,г) (МБ)

20

0

5

с металлическим окаймлением (см. рис. 2.10) (МС)

20

15

5

Заполненного типа с резиновыми компенсаторами:

 

 

 

К8 в обычном исполнении (рис. 2.11)

55

30

15

то же, в модульном исполнении (2´К8)

100

60

15

-"- произвольной формы, например, из обычной резиновой ленты

35

15

10

Перекрытый со скользящими листами:

 

 

 

с плоским ПС-100 (рис. 2.12,а)

100

без ограничений

15

со скошенным плавающим ПС-СП-300 (рис. 2.12,б)

300

100

20

с плавающим на резиновых подкладках (рис. 2.12,в)

120

100

15

2.27. При выборе конструкции деформационного шва должно быть соблюдено условие Dn £ dпр, где dпр - значения предельных перемещений (см. табл. 2.2). Перемещения в швах эксплуатируемых пролетных строений (Dn) определяют по следующим формулам:

Продольное перемещение:

Drн = a0 × DТ × L + Dвр,

где a0 - коэффициент линейного расширения (a0 = 10-5)

DТ = tn,т tn,x;

tn - максимальная положительная температура;

tn,x - наименьшая отрицательная температура;

L - длина температурного пролета, с которого собирают перемещения;

Dвр - горизонтальное перемещение от временной (нормативной) нагрузки, находящейся на одном из сопрягаемых пролетов.

Dвр = tgjвр (Н2 - Н1) - со стороны опирания пролетного строения на подвижную опорную часть;

Dнвр = -tgjвр (Н1 + Н2) - то же, на неподвижную опорную часть;

jвр - угол поворота торца пролетного строения от временной нагрузки;

Н1 и Н2 - расстояния от нейтральной оси поперечного сечения пролетного строения соответственно до верха проезжей части и низа пролетного строения.

Поперечное перемещение:

,

где tз - температура установки (замыкания) шва;

b  - угол косины пролетного строения.

Вертикальное взаимное (относительно друг друга) перемещение кромок шва при загружении одного пролета:

где ун - прогиб в середине пролета наиболее нагруженной балки пролетного строения от нормативной нагрузки (его определение предусмотрено при проектировании моста);

lp - расчетный пролет;

a - расстояние от оси опирания торца балки.

 

Рис. 2.8. Деформационные швы закрытого типа:

а - с непрерывным асфальтобетонным покрытием; б - с щебеночным компенсатором;
в - с армированным асфальтобетонным покрытием

1 - выравнивающий слой; 2 - изоляция; 3 - защитный слой;
4 - асфальтобетонное покрытие; 5 - уплотнитель; 6 - компенсатор;
7 - мастика; 8 - среднезернистый щебень; 9 - металлическая подкладка 70´70 мм;
10 - крышка; 11 - анкерный стержень; 12 -отделяющая прокладка;
13 - арматурная сетка; 14 - пластина перекрытия зазора;
15 - ложный шов шириной 15-20 мм в покрытии

 

Рис. 2.9. Деформационные швы заполненного типа с мастичным заполнением:

а - при асфальтобетонном покрытии с компенсатором; б - с эластичным компенсатором; в - с бетонным приливом; г - при бетонном покрытии

1 - компенсатор; 2 - мастика; 3 - уплотнитель; 4 - гидроизоляция; 5 - гидро-стеклоизол; 6 - полиэтиленовая пленка; 7 - анкерный стержень; 8 - асфальтобетонное покрытие;
9 - бетонный прилив; 10 - бетонное покрытие

 

Рис. 2.10. Деформационный шов заполненного типа с металлическим окаймлением:

1 - выравнивающий слой; 2 - гидроизоляция; 3 - бетонное покрытие;
4 - асфальтобетонное покрытие; 5 - компенсатор; 6 - уплотнитель;
7 - мастика; 8 - окаймление; 9 - бетонный прилив

 

Рис. 2.11. Деформационный шов заполненного типа с резиновым компенсатором:

1 - монтажное устройство; 2 - гидроизоляция; 3 - защитный слой;
4 - асфальтобетонное покрытие; 5 - компенсатор; 6 -анкер;
7 - мастика: 8 - окаймление; 9 - ребро жесткости; 10 - фиксатор

 

Рис. 2.12. Деформационные швы со скользящими листами

1 - окаймление; 2 - мастика; 3 -опорная полоса; 4 - пружина;
5 - скользящий лист; 6 - резиновая прокладка; 7 - лоток;
8 - прижимное ребро; 9 - лист резины d  = 20 мм; 10 - гребенка;
11 -ограничитель 25´25; 12 - граница вырубки

2.28. Область применения конструкций деформационных швов закрытого или заполненного типа для случая использования резиновых опорных частей показана в табл. 2.3.

2.29. Работы по ремонту деформационных швов можно классифицировать на три вида, соответствующие 1, 2 и 3 категориям неисправностей по ВСН 4-81, а именно:

профилактический ремонт - продувка, промывка и очистка швов и лотков от грязи, камней и т.п., подливка (обновление) мастики, подтяжка болтов, шпилек стальных конструкций швов и лотков выполняется, как правило, по мере появления неисправностей, но не реже одного раза в течение 1 - 2 лет;

ремонт и восстановление (замена) отдельных элементов мастик заполнения швов, резиновых компенсаторов, водоотводных лотков, поврежденных или деформированных скользящих листов, болтов, пружин, бетона приливов, узла сопряжения покрытия с окаймлением, покрытия в швах закрытого типа выполняют, как правило, по мере обнаружения дефекта;

полное восстановление или замена конструкции деформационного шва при наличии неисправностей 3 категории вследствие полного износа конструкции.

Таблица 2.3

Область применения конструкций деформационных
швов закрытого и заполненного типов
(обозначения типа шва см. табл. 2.2)

Климатические зоны, характеризуемые средней температурой наиболее холодных суток, не ниже

Длина пролетных строений, м,

От 12 до 15

18

24

33

42

63

84

Более 84

Железобетонные пролетные строения

I, -20

Н

М, НА

М

МС, MB

МС, МБ

Р, К8

К8

-

IIа,

-25

Н

И, НА

М

МС, МБ

Р

К8

К8

-

 

-30

Н

М

МБ

МС, МБ

Р

К8

-

-

Пб,

-35

Н, М

М

МС, МБ

Р

К8

К8

-

-

 

-40

М

М

МС, МБ

Р, К8

К8

К8

-

-

IIIа,

-45

М

М

МС, МБ

К8

К8

-

-

-

 

-50

М

МС, МБ

К8

К8

К8

-

-

-

Сталежелезобетонные пролетные строения

I,

-20

Н

Н

М

М, МБ

Р, К8

К8

К8

-

IIа,

-25

Н

Н

М

МС, МБ

Р, К8

К8

К8

-

 

-30

Н

М

М

МС, МБ

Р, К8

К8

К8

-

IIб,

-35

М

М

МС, МБ

Р, К8

Р, К8

К8

-

-

 

-40

М

М

МС, МБ

Р, К8

К8

К8

-

-

IIIа,

-45

М

МС, МБ

Р, К8

К8

К8

К8

-

-

 

-50

М

МС, МБ

Р, К8

К8

К8

-

-

-

 

Непрерывная плита ездового полотна

2.30. При необходимости замены конструкций деформационных швов, а также в случае переустройства мостового полотна преимущественно рекомендуется объединять пролетное строение в температурно-неразрезное с устройством непрерывной плиты ездового полотна. При этом конструктивное решение принимают в соответствии с Методическими рекомендациями по проектированию и строительству температурно-неразрезных пролетных строений мостов на автомобильных дорогах / М., Союздорнии, 1977.

2.31. При принятии решения о таком изменении следует исходить из возможностей опорных частей, установленных под пролетными строениями, обеспечивать перемещения в температурно-неразрезной схеме, либо предусмотреть необходимость подъемки пролетного строения и замены опорных частей. При этом необходимо также оценить способность опор моста работать на усилия, возникающие в температурно-неразрезном пролетном строении, и определить достаточность зазоров в местах установки новых конструкций деформационных швов для реализации перемещений в этой схеме.

С учетом указанных обстоятельств принимают решение о количестве пролетов, которые могут быть объединены в температурно-неразрезное пролетное строение.

2.32. Для превращения разрезных пролетных строений в температурно-неразрезные, как правило, могут быть применены конструктивные решения, основанные на укладке соответствующим образом армированных бетонных слоев в конструкции одежды ездового полотна, а также на применении различного рода объединительных элементов, закрепляемых в несущих конструкциях пролетных строений. Принципиальные схемы объединения пролетных строений по выравнивающему слою (для мостов без оклеечной гидроизоляции или с ней) и по стыковым накладкам показаны на рис. 2.13 и 2.14.

 

Рис. 2.13. Схемы объединения пролетных строений в
температурно-неразрезные

а, б - по выравнивающему слою в мостах с жесткой гидроизоляцией; в - по стыковым накладкам

1 - упругая прокладка; 2 - выравнивающий слой; 3 - анкера из арматурной стали;
4 - арматура выравнивающего слоя; 5 - арматура соединительной плиты;
6 - асфальтобетонное покрытие; 7 - анкера; 8 - стыковой стержень; 9 - закладная деталь

 

Рис. 2.14. Схема объединения пролетных строений по выравнивающему слою:

1 - упругая прокладка; 2 - арматура соединительной  плиты;
3 - арматура защитного слоя; 4 - доска опалубки; 5 - отделяющие прокладки;
6 - выравнивающий слой; 7 - гидроизоляция; 8 -защитный слой;
9 - асфальтобетонное покрытие

Таблица 2.4

Применяемость методов ремонта гидроизоляции


п/п

Конструктивно-технологические решения по ремонту

Вид ремонта по п. 2.41

локальный

вдоль тротуаров

ездового полотна

общий ремонт

1

2

3

4

5

6

1.

Устройство гидроизоляции в соответствии с ВСН 32-81 Минтрансстроя и МПС, например, битумной мастичной армированной, битумной рулонной наплавляемой и др.

+

+

+

-

2.

Устройство выравнивающего слоя из гидрофобного бетона по ВСН 85-68 Минтрансстроя, выполняющего функции гидроизоляции

-

-

-

+

3.

Устройство в качестве гидроизоляции выравнивающего слоя из бетона на НЦ по технологии Госдорнии Миндорстроя УССР

-

-

-

+

4.

Гидроизоляция на основе битумно-латексной мастики по технологии НПО Дорстройтехника Миндорстроя БССР, ВСН 35-83 Миндорстроя БССР

+

+

+

+

5.

Обмазочная гидроизоляция с использованием перхлорвиниловой эмали ХС-710 и композиции на основе клея "Спрут 5МДИ" по технологии Госдорнии Миндорстроя УССР

+

+

+

(+)1

6.

Устройство битумной мастичной армированной гидроизоляции на защитном слое бетона с использованием термозащитного материала и асфальтобетонного покрытия в качестве защитного слоя по технологии КАДИ и Союздорнии

-

+

+

-

7.

Улучшение гидроизоляционных свойств бетона защитного слоя методом пропитки гидрофобизирующими составами и эпоксидными вяжущими по технологии Гипродорнии и Союздорнии

под тротуарами

+

+

(+)1

1 При безоклеечной гидроизоляции ВСН 85-68, когда имеется выравнивающий слой из бетона.

2.33. Работы по ремонту узлов сопряжения температурно-неразрезных пролетных строений можно классифицировать на два вида.

При наличии неисправностей 1 и 2 категорий по ВСН 4-81 (наличие трещин в зоне узлов сопряжения, фильтрация воды, неровности и повреждения покрытия и т.п.) выполняют ремонт элементов мостового полотна (покрытия, гидроизоляции).

При неисправностях 3 категории вследствие, например, разрушения элементов объединения (плит, накладок) в зоне сопряжения, отрыва накладок, закладных анкерных плит и т.п. выполняют работы по восстановлению конструкции сопряжения в соответствии с требованиями пп. 2.33 - 2.32.

Гидроизоляция

2.34. Необходимость ремонта гидроизоляции определяется наличием фильтрации воды в железобетонной плите пролетного строения. Для ремонта гидроизоляции предусмотрено несколько конструктивно-технологических решений, позволяющих использовать различные материалы (табл. 2.4).

Тот или иной метод ремонта гидроизоляции выбирают в зависимости от конструкции пролетного строения, климатических условий, состояния одежды ездового полотна (покрытия, защитного гидроизоляционного и выравнивающего слоев) и железобетонной плиты пролетного строения, а также с учетом наличия материалов для ремонта.

Для оценки состояния одежды ездового полотна и железобетонной плиты делают вырубки в 3 - 4 местах наиболее интенсивной фильтрации воды через железобетонную плиту или через гидроизоляцию в выявленных местах фильтрации воды.

2.35. Работы по ремонту гидроизоляции в соответствии с ее состоянием рекомендуются классифицировать следующим образом (см. табл. 2.4):

а) локальный ремонт гидроизоляции в местах фильтрации воды, например, на участках примыкания изоляции к тротуарам (бордюрам), под тротуарами (бордюрами), у деформационных швов, стоек ограждений и перил, водоотводных устройств, а также в пределах ширины ездового полотна, если площадь нарушенной изоляции с признаками фильтрации воды не превышает 20 % площади ездового полотна;

б) ремонт гидроизоляции по длине пролетного строения на части ширины ездового полотна в зоне примыкания к тротуарам, если нарушение изоляции только на ограниченной ширине вдоль всего пролетного строения и общая протяженность дефектных участков превышает 20 % длины пролетного строения (локальный ремонт нецелесообразен);

в) ремонт гидроизоляции на всей площади ездового полотна, если участки нарушенной гидроизоляции имеются по всей ширине и их площадь превышает 20 % площади ездового полотна, когда изоляция под тротуарами не требует ремонта (локальный ремонт нецелесообразен);

г) общий ремонт гидроизоляции по всей ширине пролетного строения, включая тротуары, как правило, при необходимости переустройства мостового полотна, неудовлетворительном состоянии системы гидроизоляция - водоотвод.

2.36. Ремонт гидроизоляции с применением технологии по ВСН 32-81, использованием обмазочной изоляции по технологии Росдорнии, а также устройство битумной мастичной гидроизоляции по технологии КАДИ или Союздорнии распространяется на все типы пролетных строений, расположенных в любых климатических условиях страны.

2.37. Гидроизоляцию на основе битумно-латексной мастики можно использовать для железобетонных и сталежелезобетонных пролетных строений всех конструкций, расположенных во II климатической зоне со средней температурой наиболее холодных суток от минус 20 °С до минус 40 °С, за исключением составных по длине пролетных строений, собираемых навесным способом.

2.38. Условия применения в качестве гидроизоляции выравнивающего слоя из гидрофобного бетона или из бетона на НЦ см. в п. 2.4.

Улучшать гидроизоляционные свойства защитного слоя бетона в порядке ремонта гидроизоляции по технологии Гипродорнии - Союздорнии можно в любых климатических зонах для разрезных железобетонных и сталежелезобетонных пролетных строений, в плите проезжей части которых отсутствуют трещины.

При хорошем состоянии защитного слоя бетона (без трещин и шелушения, с обеспеченным водоотводом) допускается использовать указанную технологию для неразрезных железобетонных пролетных строений с напрягаемой арматурой, размещаемой в верхней зоне сечения в закрытых каналах.

Сопряжение моста с насыпью

2.39. При необходимости переустройства узла сопряжения моста с насыпью, включающего устой моста, переходные плиты, лежень, дорожную одежду, водоотводные устройства, дренажи и укрепление обочин и откосов применяют конструктивные решения (рис. 2.15).

В зоне сопряжения (ремонта покрытия) следует устраивать нежесткое покрытие.

2.40. Данное решение принято по типовому проекту Союздорпроекта "Сопряжения автодорожных мостов и путепровдов с насыпью" (инв. № 14899/01) и Методическим рекомендациям по проектированию и строительству сопряжений автодорожных мостов и путепроводов с насыпью / М., Союздорнии, 1975 / а также по результатам исследований Волгоградского ИСИ1.

Рекомендуется применять переходные плиты поверхностного типа.

__________

1 Исследование вопроса обеспечения плавного сопряжения длительно эксплуатирующихся мостов с насыпями. Отчет. - № ГР. 79021285. -Волгоград, 1979.

2.41. Длина переходных плит назначается в зависимости от категории дороги и высоты насыпи за устоем (табл. 2.5).

Таблица 2.5

Рекомендуемые длины переходных плит

Категория дороги

Высота насыпи перед устоем, м

Длина плиты, м

I-II

< 4

4

4 - 6

6

> 6

8

III

< 6

4

³ 6

6

IV-V

-

4

2.42. Опирание переходных плит на устой выполняют через специально устраиваемый прилив на шкафной стенке или непосредственно на насадку. Шарнирный поворот плит на опоре обеспечивается штыревым соединением. Под подошвой плит устраивается щебеночная подготовка h = 10 см. Опирание другого конца переходных плит предусмотрено на 2/3 ширины лежня.

 

Рис. 2.15. Конструкция узла сопряжения моста с насыпью:

1- асфальтобетон (h = 9 см); 2 - основание проезжей части;
3 - дренирующий слой; 4 - перехватывающий дренаж; 5 - щебень;
6 - песок с Кф = 4 м/сут; 7 - покрытие проезжей части на подходе;
8 - лежень; 9 - переходная плита; 10 - асфальтобетон h = 5 см
по слою щебня h = 10 см; 11 - бортовой камень; 12 -подуклон из черного щебня;
13 - слой черного щебня или пленка из нетканых материалов или битумной мастики

Примечание: поз. 13 дана для сопряжении III типа по увлажнению

2.43. Для изготовления переходных плит и лежня применяют гидротехнический бетон по ГОСТ 26633-85 класса по прочности на сжатие не менее В30 и маркой по морозостойкости не менее F200 для районов со среднемесячной температурой наиболее холодного месяца минус 10 °С и выше, в остальных случаях - не менее F300.

Поверхности переходных плит и лежня, соприкасающихся с грунтом, покрывают обмазочной гидроизоляцией.

2.44. Под лежень устраивают щебеночную подготовку толщиной 0,4 и 0,6 м при плитах длиной соответственно до 6 и 8 м. На мостах (путепроводах), расположенных в I-III дорожно-климатических зонах, щебеночную подготовку под лежень устраивают на всю ширину насыпи с выходом на откосы, а во всех остальных случаях ширина превышает длину лежня на 0,5 м в каждую сторону.

Поверхности основания этой подготовки придается двухскатный поперечный профиль. При ориентировании откоса насыпи на юг рекомендуется устраивать односкатный профиль с уклоном в южную сторону. В обоих случаях уклон должен быть не менее 4 %.

2.45. Щебеночную подготовку под лежень и плиту устраивают из щебня крупностью 40 - 70 мм, для расклинивания - крупностью 10 - 20 мм а для перехватывающих дренажей - 10 - 20 мм.

Обочины земляного полотна в пределах переходных плит и на участке до лотка (поперечного сброса воды) укрепляют слоем асфальтобетона толщиной 5 см.

На внегородских мостах укрепление обочин может быть выполнено из грунта, обработанного органическими вяжущими.

2.46. Необходимым условием уменьшения объема влаги, впитывающейся в грунты за устоем, является расположение обочин на уровне проезжей части или ниже с уклоном в сторону откосов. При стоке воды по подходу к узлу сопряжения устраивают водоотводные лотки вдоль кромки проезжей части.

2.47. Перехватывающий дренаж устраивают при необходимости отвода воды, фильтрующей по пористым слоям дорожной одежды, например, при продольных уклонах - на подходах в сторону моста, превышающих поперечный уклон. Располагают дренаж непосредственно перед створом, у которого начинается утолщение подстилающего слоя дорожной одежды (см. рис. 2.15).

2.48. Воду с мостового полотна и участка над переходными плитами отводят по лотку вдоль бортового камня и сбрасывают с насыпи по бетонным лоткам вдоль откоса. Продольный уклон (5 о/оо) создается за счет плавного изменения от 20 до 30 о/оо поперечного уклона на проезжей части на участке от моста до входа в водосбросной лоток.

2.49. Основанием для проведения ремонтных работ служит наличие деформаций элементов узла сопряжения. Методика обследования его состояния приведена в прил. I.

Критерием оценки состояния узла сопряжения служат допускаемые величины углов перелома продольного профиля из условия допустимого динамического воздействия на дорожную одежду (табл. 2.6).

Таблица 2.6

Расчетная скорость
движения, км/ч

Допустимый угол перелома
неровности, 0/00

100-150

соответственно от 7,0 до 5,0

80

8,0

70

9,0

60

9,5

40

14,0

2.50. В зависимости от причин возникновения дефектов узла сопряжения работы по проведению ремонта заключаются в следующем.

2.50.1. Устранение недопустимых углов перелома микропрофиля проезжей части при наличии сопряжения переходных плит необходимой длины (см. табл. 2.5) и качественной дорожной засыпки за устоем (Кф ³ 4 м/сут) достигается путем ремонта дорожной одежды, укрепления (ремонтом) поверхности обочин и откосов, устройства (ремонтом) водоотводных и водосбросных лотков. Эти мероприятия применяют при неисправностях, связанных с инфильтрацией воды, возрастающей при образовании просадок и выбоин, возвышении обочин под проезжей частью, отсутствии водонепроницаемого покрытия на обочинах дорог с усовершенствованными типами покрытия проезжей части, при размывах откосов и обочин.

На дорогах с невысокой интенсивностью движения (У категория), особенно в IV - V дорожно-климатических зонах проведение названных ремонтных работ может оказаться эффективным и при некачественной засыпке за устоем.

2.50.2. Замена на дренирующий связного грунта верхней части насыпи или только над обочинами, а также устройство перехватывающего дренажа при возможном притоке по уклону в пористых слоях дорожной одежды, т.е. когда на развитие деформации проезжей части оказывают воздействие грунтовые или пойменные воды, в результате чего влажность грунтов в расчетный период может превысить максимальные значения (табл. П.1.2).

При работах на узлах сопряжения III типа по увлажнению на границе раздела местного и дренирующего грунтов устраивают гидроизоляционную прослойку (черный щебень, нетканый материал, битумная мастика и т.п.).

2.50.3. Замена переходных плит, когда дефекты узла сопряжения вызваны недостаточной их длиной или разрушением, или укладка переходных плит, если до этого они отсутствовали.

3. РЕМОНТ АСФАЛЬТОБЕТОННОГО ПОКРЫТИЯ
МЕТОДОМ ТЕРМОПРОФИЛИРОВАНИЯ

3.1. Способ термопрофилирования включает основные операции по нагреву покрытия, рыхлению его на глубину 2 - 5 см, планирование и уплотнение. При этом используют комплекты машин, состоящие из асфальторазогревателя и профилировщика или термопрофилировщика: отечественный термосмеситель ДЭ-232 в комплекте с асфальторазогревателем ДЭ-234, профилировщик Госдорнии (УССР) модели 4257 с асфальторазогревателем Госдорнии модели 4256, зарубежные машины типа Ремиксер, Реформер. Ниже даны указания с учетом проведения работ с применением термосмесителя ДЭ-232 (см. п. 2.16).

3.2. Термопрофилирование осуществляют по одной из следующих технологий: гомогенизация, укладка, смешение и пластификация. В состав машин по термопрофилированию, кроме термосмесителя и асфальторазогревателя, входят:

- катки дорожные самоходные (гладковальцовый вибрационный ДУ-47В массой 6 т); пневмоколесный Ду-55 массой 20 т, гладковальцовый статический ДУ-49А массой 15-18 т;

- газозаправщик ЦППЗ-12-885 и электростанция АД-30С-Т/400 М2:,

- поливомоечная машина.

3.3. Способ гомогенизации предусматривает, кроме выполнения основных операций (см. п. 3.1), регенерацию асфальтобетона путем перемешивания старой асфальтобетонной смеси. Этот способ наиболее экономичен, так как он не требует совсем или требует в минимальном количестве - до 20 кг/м2 - добавления новой смеси (смесь поступает в шнековую камеру термосмесителя ДЭ-232). Указанный способ применяют, когда нет необходимости исправлять поперечный профиль, а суммарная величина средней амплитуды продольных неровностей на десятиметровой длине и среднего просвета под трехметровой рейкой в поперечном направлении не превышает 16 мм. Методика определения этих показателей дана в Технических правилах (см. п. 2.16).

3.4. Способ гомогенизации позволяет повысить однородность асфальтобетона регенерированного покрытия и осреднить температуру разрыхленной смеси, улучшив ее уплотняемость. Средняя глубина рыхления ремонтируемого покрытия должна быть не менее 20 и 25 или 35 мм соответственно для песчаного и мелкозернистого асфальтобетона с размером зерен до 15 или до 20 мм.

При температуре воздуха ниже 20 °С обязательно применение в комплекте с термосмесителем асфальторазогревателя. В этом случае работы можно выполнять при температуре воздуха не ниже 5 °С.

3.5. Способ укладки, кроме основных операций, включает добавку от 20 до 50 кг/м2 новой смеси в виде самостоятельного слоя над спланированной старой асфальтобетонной смесью. Область применения этого способа широка, т.к. позволяет ремонтировать более неровные покрытия с неудовлетворительными поперечными уклонами и асфальтобетон, свойства которого требуют корректировки. Этот метод эффективен также, если не удается разрыхлить покрытие на минимально допустимую глубину из-за прохладной погоды, отсутствия асфальторазогревателя или других причин.

Преимуществом этого способа является возможность одновременного уплотнения старой и новой смесей в одном слое. Работы выполняются при температуре воздуха не ниже 5 и 20 °С при наличии и отсутствии асфальторазогревателя соответственно. Способ укладки позволяет одновременно с выравниванием осуществлять усиление дорожной одежды, расход новой смеси составит более 50 кг/м2.

3.6. Способ смешения в отличие от способа укладки предусматривает перемешивание новой смеси со старой и укладку полученной смеси одним слоем. При этом суммарное количество старой и новой смесей не должно превышать 150 кг/м2, что обусловлено емкостью мешалки. Способ термосмешения обладает всеми преимуществами способа термоукладки, но в отличие от него обеспечивает более высокое качество регенерированного слоя. Он позволяет также регенерировать старый асфальтобетон.

3.7. Способ пластификации1 предусматривает выполнение тех же операций, что и способ смешения, но отличается тем, что регенерацию старого асфальтобетона осуществляют введением в старую асфальтобетонную смесь во время перемешивания пластификатора-восстановителя в количестве 0,1 - 0,6 % от ее массы. В качестве пластификатора используют жидкие нефтепродукты вязкостью не менее 25 ×10-6 м2/c при 50 °С и содержанием ароматических углеводородов не менее 25 % по массе.

___________

1 А..с. I3I036I (СССР). Опубл. в Б.И., 1987, № 18. Применяют в соответствии с Рекомендациями по технологии термопластификации асфальтобетонных покрытий. - М., Гипродорнии, 1985.

Новую асфальтобетонную смесь не вводят или вводят в минимальном количестве - до 20 кг/м2.

Главное преимущество способа пластификации - существенная корректировка свойств старого асфальтобетона без добавления новой смеси. Если из условий обеспечения ровности или исправления поперечного уклона необходимо добавление новой смеси, то способ пластификации применяют в сочетании со способами укладки или смешения. Для введения пластификатора термосмеситель должен быть оборудован специальным устройством. При работе по способу смешения пластификатор может быть введен в новую смесь при ее приготовлении на АВЗ.

4. ОГРАЖДАЮЩИЕ УСТРОЙСТВА

Профилактика разрушения (повреждения) конструкций

4.1. Профилактические работы, выполняемые при содержании ограждений, включают в себя:

- ежегодную промывку и очистку конструкций барьерных (металлических) и парапетных (железобетонных) ограждений;

- локальное восстановление поврежденного защитного окрасочного слоя барьерных ограждений и в первую очередь в узловых (стыковочных) соединениях;

- гидрофобизацию бетонной поверхности парапетных и бордюрных ограждений.

4.2. Парапетные бордюрные ограждения промывают водой под давлением не менее 0,5 МПа поливомоечными машинами ПН-130. Барьерные ограждения промывают машинами КДМ 130Б с использованием щеток моющей головки оборудования при давлении не менее 0,2 МПа; поверхности барьерных и парапетных ограждений, обращенные к перилам, моют аналогично, но с использованием ручной щетки.

Перед промывкой ограждений очищают от грязи проезжую часть и тротуары, водоотводные трубки и лотки для беспрепятственного стока воды.

4.3. Поврежденный в отдельных местах окрасочный слой восстанавливают в соответствии с требованиями [I], предусматривая все необходимые (в зависимости от степени повреждения краски) этапы - очистку, удаление слабого окрасочного слоя на прилегающих участках, грунтовку, окраску. Краску наносят распылителем или кистью.

Перед нанесением защитных окрасочных слоев в стыковых узлах барьерных ограждений проверяют затяжку болтов и при необходимости подтягивают их.

4.4. Для гидрофобизации используют составы на основе кремнийорганической жидкости, технология приготовления и нанесения которых дана в разд. 13.

На высохшую после гидрофобизации поверхность бордюра или парапета наносят разметочную краску.

Восстановление поврежденных ограждений

4.5. Ремонт бетонных поверхностей элементов ограждений целесообразно выполнять совместно с ремонтом поверхностей тротуаров и перил по технологии, указанной в разд. 5.

4.6. При восстановлении парапетных ограждений, имеющих значительные местные сколы и разрушения, используют бетоны, приготовленные в соответствии с ГОСТ 25192-82 (тяжелый бетон), прочность, морозостойкость и водонепроницаемость которых предусмотрены СНиП 2.05.03-84.

При восстановлении поврежденных барьерных ограждений используют заранее изготовленные элементы ограждений, аналогичные существующим, или повторно используют демонтированные и выправленные элементы (направляющие планки, стойки, амортизаторы).

4.7. Для восстановления бордюрных и парапетных ограждений методом торкретирования (при разрушении защитного слоя бетона на больших площадях) применяют заранее приготовленную сухую цементно-песчаную смесь в соотношении 1:3. При этом используют портландцемент марки не ниже 400 по ГОСТ 20178-85 и ГОСТ 10268-80, песок по ГОСТ 8736-85 средней крупности. Влажность песка в момент приготовления смеси 2-5 %. Срок хранения приготовленной смеси в закрытой таре (например, полиэтиленовом мешке) не более 4 мес.

4.8. Для торкретирования используют комплект оборудования РД-802А [2], включающий размещенную на автомобильном прицепе торкретустановку и компрессор, В качестве тягача целесообразно применять поливомоечную машину, используемую для очистки и увлажнения поверхностей. Машины устанавливают на одной половине проезжей части и выполняют работы на участках, протяженность которых определяется длиной материального шланга. При длине моста не более длины шланга машины целесообразно располагать на подходе.

Перед торкретированием поверхность бетона тщательно промывают. В бетон-шприц-машину загружают смесь в количестве, не превышающем потребности ремонта одной нитки ограждения. Требуемое количество смеси на I м2 поверхности (с учетом отскока) составляет: 60 кг при толщине наносимого слоя - 2 - 2,5 см; 100 кг - при 3 - 4 см.

Торкретирование осуществляют с верхних участков ограждения захватками длиной до 2 м. В пределах захватки сопло двигают по горизонтали, постепенно понижая до покрытия.

После завершения работ поверхность торкретраствора обрабатывают гидрофобизирующими составами (см. п. 4.4), используя оборудование РД-802А. Отходы материала (торкретбетона) удаляют с проезжей части, водоотводные трубки промывают.

4.9. Восстановление парапетных ограждений бетонированием поврежденных блоков осуществляют в такой последовательности:

поверхность парапета очищают от грязи, удаляют слабый бетон, выправляют и очищают арматуру, устанавливают щиты опалубки (закрепляют, стягивают шпильками), бетонируют.

Опалубку снимают не ранее, чем через сутки, не нарушая структуру бетона. Бетонную поверхность обрабатывают гидрофобизирующими поставами, после их высыхания наносят разметку.

 

Рис. 4.1. Последовательность устройства бордюрного (парапетного) ограждения:

а - в - этапы работ, г - опалубка

1 - покрытие; 2 - защитный слой; 3 - гидроизоляция; 4 - выравнивающий слой;
5 - участок с удаленным покрытием; 6 - место, где ранее размещался бордюр;
7 - тротуарный блок; 8 - пролетное строение; 9 - упор опалубки;
10 - опалубочная доска; 11 - инвентарный опалубочный щит;
12 - арматурный каркас; 13 - стяжка щитов; 14 -отдельные арматурные стержни;
15 - усиленная изоляция; 16 - ниша под асфальтобетоном;
17 -забетонированное ограждение; 18 - покрытие на тротуаре;
19 - скоба фиксирующая; 20 - труба (профиль) объединяющая

В случае использования при бетонировании пластификаторов, повышающих пластичность бетона при сохранении его высокой плотности [3], момент распалубки определяют по набору бетоном прочности в контрольных образцах (кубиках).

Замена ограждений

4.10. Замену бордюров на парапетные или бордюрные ограждения, если речь идет о конструкциях высотой до 50 см, выполняют, как правило, одновременно с локальным (вдоль бордюра) ремонтом гидроизоляции (рис. 4.1). При этом применяют конструкции из монолитного или сборного железобетона (см. пп. 2.21, 2.22).

Железобетонные блоки ограждений, изготовленные в заводских условиях (или на полигоне), транспортируют после набора прочности, составляющей не менее 50 % от проектной.

4.11. Устройство монолитных ограждений происходит следующим образам: (см. рис. 4.1):

- удаляют вдоль тротуара на ширине до 0,5 м существующее асфальтобетонное покрытие и блоки старого бордюра (см. рис. 4.1а);

- разрушают и удаляют бетон защитного слоя на ширине 0,2 м, сголяя его арматуру;

- очищают стыкуемые поверхности защитного слоя и тротуарного блока, удаляя поврежденные участки, очищают оголенную поверхность изоляции;

- дополняют концевой участок изоляции слоем армированной мастики, на горячую мастику укладывают рулонный материал - гидростеклоизол, стеклорубероид и др. (см. разд. 8), предварительно разрезав рулон по размеру ниши (рулон шириной 0,8 м разрезают перед раскатыванием пополам);

- забивают в тротуарный блок (в заранее просверленные отверстия диаметром 15 мм и зазоры между блоками) горизонтальные и вертикальные отдельные стержни из арматуры периодического профиля диаметром 16 мм с шагом не более 0,75 мм;

- устанавливают заранее изготовленный каркас, связывая его с каждым арматурным стержнем. Каркас может быть собран на месте, если все элементы (продольные стержни, хомуты) сделаны заранее. Длина заготовленных элементов определяется условиями транспортировки;

- устанавливают опалубочные элементы - щиты, доски, распорки, стяжки и т.д., обеспечивая требуемые размеры ограждения (см. рис. 4.1б);

- бетонируют ограждение с обязательным уплотнением смеси глубинными вибраторами. При использовании составов с пластификаторами (или суперпластификаторами) смесь можно уплотнять штыковкой;

- осуществляют распалубку не ранее, чем через сутки (см. п. 4.9). Поверхность бетона обрабатывают гидрофобизирующей жидкостью;

- укладывают горячую асфальтобетонную смесь на примыкающем к ограждению оголенном участке, уплотняя ее легкими или средними катками; после достижения бетоном прочности, составляющей не менее 50 % от проектной, укладывают покрытие на тротуаре (см. рис. 4.1в).

4.12. Щиты опалубки целесообразно изготавливать такой длины, чтобы их перемещение и установка осуществлялись вручную. Опалубочную поверхность деревянного щита обивают жестью и перед установкой сказывают. Для облегчения переноски и надежности закрепления щитов в них предусматривают фиксирующие скобы и объединяющие трубы либо элементы другого профиля (см. рис. 4.1г). Щиты насаживают на трубу, закрепляют упоры, трубу расклинивают в скобах, после чего щиты связывают поверху. Щиты могут быть собраны и на болтах.

4.13. В случае применения сборных железобетонных блоков ограждающих устройств (см. рис. 2.5а, б) целесообразно одновременно с заменой бордюров осуществлять восстановление (усиление) гидроизоляции в месте примыкания к тротуару. Работы выполняют в такой последовательности:

- ликвидируют вдоль тротуара на ширине, равной ширине сборных блоков ограждения, существующее асфальтобетонное покрытие и блоки бордюра;

- удаляют вдоль тротуара бетон защитного слоя, оставляя площадку защитного слоя шириной 15 - 20 см;

- очищают горизонтальные и вертикальные поверхности тротуара от грязи, удаляют поврежденные участки изоляции;

- ремонтируют концевой участок гидроизоляции в соответствии с указаниями п. 4.11;

- устанавливают блоки ограждений на слой песчаной асфальтобетонной смеси толщиной 20 - 30 мм, обеспечивая контакт со смесью по всей нижней плоскости блока.

Для обеспечения плотного контакта нижней поверхности блока со смесью установку блока ведут в две стадии:

- предварительно устанавливают блок в проектное положение;

- поднимают блок и добавляют асфальтовую смесь на участки, где не было контакта (смотрят по отпечатку), после чего окончательно устанавливают блок на место. Целесообразно пригружать блок до остывания смеси;

- устраивают защитный слой из цементобетона на тротуаре с зачеканкой щели между ним и блоком ограждения цементным раствором;

- штрабу между обрубленной кромкой покрытия и ограждением (тротуарным блоком) заполняют асфальтобетонной смесью, которую укатывают ручными катками.

4.14. Для исключения разрушения гидроизоляции бетон защитного слоя рекомендуют удалять следующим образом:

- прорубают отбойными молотками штрабы, разделяющие бетон на карты с размером сторон не более I м;

- разрезают (перекусывают) в штрабах армирующую сетку;

- кантуют образовавшиеся куски защитного слоя в виде прямоугольных плит в сторону тротуара, поправляя верхний слой изоляции;

- удаляют перевернутые куски, поверхность изоляции очищают.

4.15. Увеличить высоту бордюра за счет установки свай можно как с удалением, так и без удаления существующего бордюра (см. рис. 2.5в). В первом случае сваи фиксируют с помощью стоек-упоров, во втором - анкерных стержней в монолитном участке.

Перед установкой свай выполняют следующие работы:

- удаляют с тротуарных блоков и бордюров слабый бетон;

- очищают (промывают и продувают) поверхность бетона от грязи, остатков асфальтобетона;

- размечают положение свай;

- устанавливают трубу-упор (d = 40 - 60 мм) на границе расположения свай в стык между тротуарными блоками;

- разделывают, зачеканивают щели между тротуаром и бордюром, тротуарными блоками, вокруг трубы-упора и верх заполняют битумной мастикой или цементным раствором.

После укладки свай омоноличивают их концевые участки, зачеканивают щели под сваями и наносят необходимую разметку.

При удалении существующего бордюра арматурный каркас, укладываемый на место бордюра, связывают (сваривают) с оголенной арматурой сваи. На концевых участках свай укладывают монолитный бетон (на тротуаре - для стыковки свай и вместо бордюра), установив предварительно объединяющие вертикальные арматурные стержни диаметром 18 - 20 мм из стали класса А-II. Если на монолитный участок попадает стык тротуарных блоков, дополнительно предусматривают анкерные стержни диаметром 20 - 32 мм, устанавливаемые (забиваемые) в стык между тротуарными блоками.

4.16. Устройство парапетных ограждений за счет установки железобетонных плит или свай связано с закреплением этих элементов на тротуарах (см. рис. 2.6в - д). При этом во всех случаях особенностью технологии является установка упоров.

Упор представляет собой вертикальное ребро, к которому приварены опорная площадка и стенка (см. рис. 4.2а). Нижняя часть ребра имеет утолщение на расстоянии «а» от опорной площадки. В средней части ребра имеются отверстия для арматурных стержней. При установке ребер соблюдают следующий порядок работ:

- очищают проезжую часть вдоль тротуара;

- пробивают (просверливают) на расстоянии «а» от верха тротуара в стыке тротуарных блоков горизонтальное отверстие диаметром 30 - 40 мм (см. рис. 4.2б);

- крепят упоры в стыках между тротуарными блоками, забивая в щель ребро (см. рис. 4.2в);

- обвязывают упоры арматурным каркасом, монтируют между ними железобетонные блоки, соединяя выпуски из них с каркасом (см. рис. 4.2г);

- бетонируют стык блоков у упора.

Если упоры используют для закрепления бетонных элементов ограждения без омоноличивания с ними, то в качестве крепления применяют сварку стержней к оголенной арматуре, подтяжку болтами на дюбелях и т.п.

4.17. Применяют барьерные ограждения, включающие в соответствии с ГОСТ 26804-86 направляющие планки 3-образного профиля, размером 312´83´4, изготовляемые Волгодонским опытно-экспериментальным заводом (барьерное ограждение ЭД-307Ц), или такого же размера предприятиями Минчермета СССР по ТУ 14-2-34I-78; амортизаторы и крепежные элементы, идущие в комплекте с планками; стойки индивидуального (отличного от ГОСТ) изготовления (см. п. 4.18). Для окраски применяют материалы в соответствии с [I].

 

Рис. 4.2 - Установка блоков ограждения на упоры:

а - вид упора; б - г - последовательность работ

1 - ребро; 2 - стенка; 3 - отверстие в ребре под арматуру; 4 - опорная площадка;

5 - утолщение в нижней части ребра; 6 - тротуарный блок;
7 - ось горизонтального отверстия в стыке; 8 - сверлильный инструмент;
9 - стык тротуаров (щель); 10 - отверстие в щели в пределах защитного слоя;
11 - упор; 12 - каркас; 13 - выпуски арматуры из блока; 14 - блок ограждения;
15 - бетон стыка

4.18. На железобетонных пролетных строениях барьерное ограждение устанавливают следующим образом: закрепляют стойки с помощью болтов диаметром не менее 20 мм, завинчиваемых в глухие гайки закладных деталей (узел "А", рис. 4.3). При изготовлении стоек ограждений площадь сварных швов в месте крепления к опорной плите должна превышать площадь рабочего сечения стойки не менее чем в 2 раза. При этом учитывают требования ГОСТ 26804-86, а также используют другие приемы: сечение нижней части стойки выполняют более мощным, чем рабочее; ослабляют сечение стойки прорезями, отверстиями, срезами; используют др. методы крепления стоек, исключающие их отрыв от опорной плиты и обеспечивающие простую замену. Допускается использование фрикционных соединений на высокопрочных болтах с учетом требований СНиП 2.05.03-84.

4.19. При установке ограждений на сталежелезобетонном пролетном строении (тротуаре) размечают положение стоек, учитывая особенности пролетного строения и фактическую длину направляющих планок.

В пролетных строениях с ездой поверху и тротуарами в повышенном уровне в направляющих планках ограждения ЭД-307Ц в средней части просверливают дополнительное отверстие под болт MI6. При этом шаг стоек будет равен половине расчетной длины планки, т.е. 2140 мм,

В пролетных строениях с ездой понизу шаг стоек ограждений принимают от 2 до 3 м, в связи с чем промежуточные отверстия по оси направляющей планки просверливают во время монтажа.

4.20. Установку барьерных ограждений на пролетных строениях с ездой поверху с повышенными тротуарами ведут в следующем порядке (см. рис. 2.7б):

- в плите тротуарного блока пробивают отверстия под стойки и ниши для подачи бетона размером 0,2´0,5 м;

- в ниши протаскивают доски, служащие опалубкой бетонной шпонки; и анкерный профиль (швеллер, уголок);

- устанавливают стойки вплотную к ребру тротуара и сваривают их с анкерными отрезками;

- на половину высоты подтротуарного пространства укладывают нижний слой бетона, уплотняя его штыкованием затем бетонируют верхнюю часть ниши с уплотнением смеси глубинными вибраторами;

- поверхность свежего бетона промазывают битумным лаком;

- на стойки устанавливают амортизаторы и крепят к ним направляющие планки.

Если положение стойки совпадает со стыком тротуарных блоков, ее крепят с помощью вертикальных ребер, вдавливаемых в зазор между блоками и фиксируемых в горизонтальном отверстии (см. п. 4.16).

 

Рис. 4.3. Замена тротуарного блока на новый с барьерным ограждением

1 - существующий тротуарный блок; 2 - сверлильный инструмент;
3 - слои одежды ездового полотна; 4 - плита проезжей части;
5 - участок с удаленными элементами одежды; 6 - отверстие;
7 - дополнительный выравнивающий слой на консолях плиты;
8 - новый изоляционный слой; 9 - выравнивающий раствор под тротуар;
10 - тротуарный блок, 11 - барьерное ограждение; 12 - ниша тротуарного блока;
13 - стыковочные отрезки стального профиля; 14 - место укладки асфальтобетона;
15 - бордюр; 16 - закладная деталь для крепления ограждения;
17 - глухая гайка; 18 - отверстие под болт

4.21. В пролетных строениях с ездой понизу стойки ограждения размещают в пространстве между стальной балкой жесткости и железобетонной плитой проезжей части, заклинивая их между вертикальной стенкой плиты и ребром жесткости балки1 (рис. 4.4а, б). В зависимости от расстояния между ребром и плитой стойки могут быть изготовлены из двутавра или швеллера (№ 10 - 16). Положение стоек фиксируют относительно ребра жесткости с помощью нижних и верхних упоров. В зоне деформационных швов в направляющей планке делают удлиненные прорези в стыковочных отверстиях. Прорези удлиняют на величину, равную 0,001 ´ l, где l - длина пролетного строения.

____________

1 А.с. (СССР) I4I8382. Опубл. в Б.И., 1988, № 31.

4.22. На пролетных строениях с ездой понизу принимают следующий порядок устройства ограждений:

- заготавливают элементы ограждений с учетом фактических размеров конструкции пролетных строений (просвета между ребром жесткости и плитой, расстояния от верха плиты до поперечной балки, длины пролета и т.п.). Стальные детали грунтуют;

- промывают балку жесткости и поверхности железобетонной плиты (в пространстве между балкой и плитой);

- забивают в просвет стойку таким образом, чтобы она контактировала с ребром жесткости, с одной стороны, и с поверхностью железобетонной плиты - с другой;

- устанавливают амортизаторы и подвешивают к ним направляющие планки, в которых предварительно просверлены центральные отверстия в соответствии с шагом стоек (в стыковом узле направляющих планок центральное отверстие предусматривают, если стык попадает на стойку);

- окрашивают конструкции с соблюдением требований [I];

- закрывают участки между стойками деревянными (металлическими) щитами для защиты от грязи.

 

 

поз. 3

Рис. 4.4. Установка ограждений на пролетных строениях с ездой понизу:

а - положение ограждения на пролетном строении; б - стойка

1 - ограждающая балка;
2 - амортизатор;
3 - фасонная стойка;
4 - ограничитель;
5 - балки жесткости;
6 - железобетонная плита проезжей части;
7 - фиксатор

 

5. РЕМОНТ ТРОТУАРОВ И ПЕРИЛ

Ремонт бетонных поверхностей

5.1. Ремонт поверхностных дефектов железобетонных элементов тротуаров, перил и ограждающих устройств выполняют в соответствии с [2].

5.2. При шелушении поверхности бетона (повреждения на глубину 1 - 3 мм), а также для профилактики рекомендуется обработка бетона гидрофобизирующими составами или комбинированная обработка с нанесением после гидрофобизации лакокрасочных покрытий.

Требования к материалам для гидрофобизации, технологию приготовления и нанесения составов см. в разд. 13.

5.3. Из лакокрасочных покрытий рекомендуется использовать эмали на основе перхлорвиниловой смолы XB-124, XB-125 по ГОСТ 10144-74*, до рабочей вязкости эмали доводят растворителем Р-4, Р-5 ГОСТ 7827-74*. или эпоксидную эмаль ЭП-773 ГОСТ 23143-83 (при загустении применяют растворитель № 646). Эмали наносят после высыхания гидрофобизирующего состава (примерно через сутки) методом воздушного или безвоздушного распыления в 2 - 3 слоя при расходе на один слой 120 - 150 г/м2, время высыхания при температуре 18 - 20 °С - около 1,5 - 2 ч.

5.4. При повреждении бетонной поверхности на глубину до 10 мм, когда арматура не обнажена и разрушение бетонной поверхности не вызвано коррозией арматуры, применяют комбинированную обработку гидрофобизирующей жидкостью и эпоксидной эмалью ЭП-773 (см. пп. 5.2 и 5.3) или полимерное покрытие на основе эпоксидной смолы (состав в массовых долях: эпоксидная смола ЭД-20, ЭД-22, ЭИС-100; деготь - 70; отвердитель полиэтиленполиамин - 8 - 12, растворитель - ацетон, ксилол - 50 - 70). Полимерное покрытие наносят в один слой пневматическим краскораспылителем типа КРУ-I или ЗИЛ (с внешним смешением материала е воздухом). Количество отвердителя вводят с учетом температурных условий, чтобы технологическая жизнеспособность составляла 1,5 - 2 ч.

5.5. При разрушении защитного слоя, вызванного коррозией арматуры, обнажении арматуры независимо от глубины повреждения, а также при разрушении защитного слоя бетона на глубину до 30 мм применяют торкретраствор с последующей комбинированной обработкой (см. 5.2 - 5.4), а при локальных разрушениях - полимерные (эпоксидные) растворы.

5.6. Примерный состав раствора в массовых долях: смола - 100, деготь - 70, отвердитель полиэтиленполиамин - 8 - 12, песок - 400 (сведения о материалах см. в прил. 5.1). Количество отвердителя подбирают так, чтобы технологическая жизнеспособность составляла 1,5 - 2 ч. При приготовлении состава песок добавляют в последнюю очередь. Укладывают полимерраствор шпателем (при необходимости с опалубкой) на эпоксидную грунтовку в период ее адгезионной жизнеспособности. Грунтовку наносят кистью на сухую очищенную поверхность. Состав грунтовки в массовых долях: смола - 100, деготь - 70, отвердитель - 8 - 12.

5.7. Для торкретирования используют сухую цементно-песчаную смесь в соотношении Ц:П = 1:3. Влажность песка 2 - 4 %. Для ускорения схватывания торкретраствора рекомендуется вводить добавку хлористого натрия в количестве 1 - 2 % или жидкую комплексную добавку НКА в размере 2 - 3 % от массы цемента. Торкретирование выполняют с использованием комплекта оборудования РД-802А (см. разд. 4). Перед торкретированием удаляют слабый бетон защитного слоя, очищают арматуру при помощи пневмоинструмента, зубила, молотка, металлических щеток.

Используя оборудование РД-802А, выполняют пескоструйную обработку, после чего поверхность промывают водой.

5.8. При разрушениях бетонного защитного слоя на глубину свыше 30 мм для ремонта используют торкретбетон, при необходимости - с арматурной сеткой усиления. Для торкретирования применяют смесь цемента, песка и щебня крупностью до 10 мм в соотношении Ц:П:Щ = 1:3:2, влажность заполнителя 2 - 4 %. При локальных разрушениях бетона, раковинах, сколах, трещинах рекомендуется использовать полимербетон. Требования к укладке и состав грунтовки принимают по п. 5.6. Состав полимерраствора отличается от состава полимербетона добавлением к последнему 450 массовых долей щебня.

Замена отдельных элементов

5.9. Для замены отдельных элементов тротуаров (плит, тротуарных балок и блоков) применяют, как правило, элементы таких же конструктивных форм. При этом необходимо выполнять работы по восстановлению гидроизоляции под тротуарами.

Швы зазора между новыми и старыми тротуарными блоками шириной 1 см заполняют цементным раствором.

Покрытие на тротуарах восстанавливают цементобетоном толщиной не менее 40 мм.

5.10. Существующие железобетонные перила рекомендуется заменять панелями, используя металлические конструкции перил, показанные на рис. 2.1 - 2.3. При этом стойки целесообразно располагать в местах, где имеются закладные детали для крепления перил.

При использовании бесстоечных блоков перил (рис. 2.1) необходимо заложить в тротуарные блоки стальные детали крепления перил, расстояние между которыми принимают в соответствии с типовым проектом инв. № 384/42 (см. п. 2.2).

5.11. Стальные закладные детали устанавливают в прибетони-руемых приливах или крепят анкерными болтами к элементам тротуаров. В первом случае оголяют арматуру тротуарного блока, с которой сваркой объединяют арматурный каркас железобетонного прилива, содержащего закладную деталь.

Крепление закладных деталей анкерными болтами выполняют аналогично приведенному ниже конструктивно-технологическому решению для крепления тротуарных блоков.

Замена конструкций тротуаров и перил

5.12. При замене тротуаров и перил рекомендуется применять конструктивные решения в соответствии с пп. 2.2 - 2.4. В этих случаях перестраивают и ограждения. Для использования таких конструкций в пролетном строении анкеруют закладные детали, к которым крепят монтажные элементы - накладные тротуарные блоки, стойки барьерных ограждений (см. рис. 2.1 - 2.2).

5.13. Способы анкеровки закладных деталей такие же, как и в п. 5.11. Технология заделки стальных деталей приваркой и анкеровкой в арматурном каркасе пролетного строения обычная. Технология крепления закладных деталей анкерными болтами имеет ряд особенностей. Диаметр болтов принимают по расчету, но не менее 24 мм. Болты изготавливают из стали 09Г2С-6 по ГОСТ 19281-73. Допускается применение анкерных фундаментальных болтов по ГОСТ 24379.0-80 и ГОСТ 24379.1-80.

5.14. Принимают следующий порядок работ по замене тротуаров (рис. 2.1, 4.3 и 5.1):

- монтируют подвесные продольные подмости, обеспечивающие доступ рабочего для установки и затяжки болтов снизу (возможно также использование передвижных консольных люлек1, автомобильных подъемников и других средств);

___________

1 A.с.1006567 (СССР), МКИЕ01Д 19/10.

- удаляют покрытие вдоль тротуарного блока на ширине (ориентировочно 0,7 - 1,0 м), обеспечивающей проведение всего комплекса работ; демонтируют старый тротуарный блок;

- снимают бетонный защитный слой на ширине (0,4 - 0,5 м), обеспечивающей установку и анкеровку, в том числе арматурных выпусков накладных тротуарных блоков, в восстанавливаемом бетонном защитном слое;

- размечают и сверлят отверстия для анкерных болтов, устанавливают болты с шайбами, фиксируя их по высоте гайками в проектном положении, заполняют отверстия антикоррозионными составами;

- с проектным уклоном укладывают бетон выравнивающего слоя под тротуарами, включая зону болтов;

- устраивают гидроизоляцию под тротуарами (пересекающую анкерные болты), стыкуют ее с существующей, перехлестывая на ширине не менее 20 см; места примыкания гидроизоляции к болтам тщательно заделывают мастикой (см. разд. 8). Если отверстия сверлят в зоне существующей изоляции, то в местах примыкания к болтам ее восстанавливают;

- монтируют тротуарные блоки на слой неотвердевшего цементно-песчаного раствора толщиной 2 см, обеспечивая плотное примыкание ко всей площади блока; одновременно на неотвердевший раствор укладывают стальные закладные детали с отверстием под анкерный болт;

- притягивают после отверждения раствора верхней гайкой закладную деталь, выполняют сварочные работы по креплению тротуарных блоков через накладные планки или уголки к закладным деталям;

- укладывают на ширине разрыва бетон защитного слоя, заделывая при этом ниши с закладными деталями и арматурные выпуски тротуарных блоков; укладывают (восстанавливают) асфальтобетонное покрытие.

 

Рис. 5.1. Замена тротуарного блока на новый с парапетным ограждением
(а, б, в, г-этапы работы):

1 - заменяемый тротуарный блок; 2 - участок вырубки покрытия и защитного слоя;
3 - сверлильная установка; 4 - разметочный прямоугольник из рубероида;
5 - ось отверстия под анкерный болт; 6 - дополнительный выравнивающий слой и
гидроизоляция под тротуар; 7 - анкерный болт; 8 - слой цементно-песчаного раствора
под тротуар; 9 - новый тротуарный блок; 10 - закладные детали в нише тротуарного блока;
11 - закладная анкерная пластинка; 12 - гайка; 13 - шайба;
14 - отрезок стального профиля; 15 - сварной шов

5.15. Для крепления тротуарных блоков к пролетным строениям, например ребристым железобетонным с толщиной плиты до 120 мм, предусматривают два болта на одну закладную деталь (одно место крепления в стыке тротуарных блоков), располагаемые на расстоянии 120 - 150 мм друг от друга. Если отверстия сверлят в зоне существующей гидроизоляции, то разметку рекомендуется выполнять по отрезку рубероида или пергамина, прижатому к мастике. Снизу на два болта устанавливают одну опорную пластину, имеющую два отверстия.

5.16. Отверстия рекомендуется выполнять кольцевыми алмазными сверлами типа СКА-2 (прил. 2), не нарушающими структуру бетона. При этом используют пневматический или электрический сверлильный инструмент. Допускается устраивать отверстия с помощью электрических или пневматических пробойщиков с вращающимся ударным сверлом (для сталежелезобетонных пролетных строений с плитой толщиной свыше 180 мм).

5.17. Для болтов диаметром 24 мм размеры отверстий принимают от 25 до 80 мм, используя при этом различные антикоррозионные составы. При диаметре отверстий 25 - 30 мм болты защищают клеевыми составами на основе эпоксидной смолы (см. п. 5.6). Болты обмазывают клеем перед установкой, отверстия и болты предварительно грунтуют. При диаметре отверстия 30 - 60 мм используют цементно-песчаные растворы, а при 60 - 80 мм - бетонные смеси на щебне крупностью до 5 мм.

6. РЕМОНТ ДЕФОРМАЦИОННЫХ ШВОВ

Применяемые материалы и изделия, основные требования к ним

6.1. В деформационных швах закрытого и заполненного типов применяют:

- латунь полосовую толщиной 1,5 - 2,0 мм по ГОСТ 931-78; оцинкованное железо толщиной 1,0 - 1,5 мм по ГОСТ 19204-73, защищенное от коррозии двумя слоями битумного лака - для устройства металлического компенсатора;

- гидростеклоизол (см. разд. 8), полиэтиленовую пленку марки "С" по ГОСТ 10354-82 - для устройства эластичного компенсатора (см. рис. 2.9а).

В качестве уплотнителя для заполнения петли компенсатора используют пористый жгут "Гернит-П" по ТУ 480-I-119-71 Миннефтехимпрома; пеньковый канат по ГОСТ 483-75*, пропитанный антисептиком, например каменноугольным маслом по ГОСТ 2770-74 или сланцевым маслом по ГОСТ 10835-78;

- мастики заводского изготовления битумно-бутилкаучуковых горячих марок "Лило-I" (МББП-65) и "Лило-2" (МББП-80) по ТУ 21-27-40-83 Минпромстройматериалов и битумно-бутилкаучуковых холодных "Вента У" по ТУ 21-27-101-83 Минпромстройматериалов.

Мастики, приготавливаемые на месте ремонтных работ (или на производственной базе): битумно-изопреновая МБИ-8 по ТУ-218 РСФСР-539-85; полимерно-битумная ПБВ-4 (табл. 6.1); резино-битумные РБВ (табл. 6.2); тиоколовые герметики АМ-0,5 и 51-УТ-38 модификации АиБ по ТУ 38-105874-75 и У-30 МЭС-10 по ТУ 38-105462-72 Миннефтехимпрома (табл. 6.3); битумно-бутилкаучуковая (холодная) "Вента" по ТУ 21-27-101-83 Минпромстройматериалов.

Таблица 6.1

Состав полимерно-битумной мастики ПБВ-4

Компоненты

В долях по массе

Битум БНД 60/90 (по ГОСТ 22245-76)

95

Летнее дизельное топливо (по ГОСТ 305-82)

5

Дивинилстирольный термоэластопласт ДСТ-30 по ТУ 38-40365-70 Миннефтехимпрома

4

 

Таблица 6.2

Составы резино-битумных мастик РБВ

 

Компоненты

Составы в долях по массе

I

2

3

Битум БНД 60/90 (ГОСТ 22245-76)

50

65

70

Минеральный порошок (ГОСТ 16557-78)

35

-

-

Асбестовая крошка (ГОСТ 12871-83)

10

-

-

Резиновая крошка (СТУ 73-13-186-62)

5

20

20

Каменноугольное масло (ГОСТ 2770-74)

-

15

10

 

Таблица 6.3

Составы тиоколовых герметиков 51-УТ-38 и У-30 МЭС-10

Компоненты

Содержание по массе

51-УТ-38 (модификации А, Б)

 

Герметизирующая паста У-30 (по ТУ 38-105-874-75 Миннефтехимпрома)

100

Каменноугольная смола (по ТУ 14-6-83-72 МЧМ)

38,5-77,0У

67-процентный водный раствор бихромата натрия

8-10, 12-15

У-30 МЭС-10

 

Герметизирующая паста У-30-Э-10 (по ТУ 38-105462 Миннефтехимпрома)

100

Вулканизующая паста № 9

16,5

Ускоритель вулканизации - дифеникуанидин (ДФГпо ГОСТ 40-67)

0,8

6.2. Мастики "Лило-1" и "Лило-2" изготавливают на Лилойском комбинате строительных материалов Грузинской ССР и поставляют заказчику в готовом к употреблению виде. Перед применением мастику разогревают.

Мастику "Вента" производят на Акмянском комбинате строительных материалов Литовской ССР и поставляют в виде двух жидких составов "А" и "В".

6.3. В деформационных швах с резиновыми компенсаторами применяют резину марки 7H0-68-I по МРТУ 38.005.924.73 либо резину из смесей 2282 по ТУ 38.003.204-76, 26-404 по ТУ 38.005.295-77 Миннефтехимпрома, либо резины других марок, удовлетворяющие требованиям [4].

6.4. Для заливки фиксаторов, обеспечивающих герметизацию швов, могут использоваться битумные, резино-битумные, полимербитумные мастики и тиоколовые герметики (см. п. 6.1).

Кроме того, рекомендуется применять тиоколовый герметик "Тиопрол-2" по ТУ 400-1-УП-99-85 Миннефтехимпрома и полимерные мастики на основе эпоксидных клеев (табл. 6.4).

Таблица 6.4

Составы полимерных мастик

Наименование материалов1

Составы в частях по массе

1

2

3

4

Эпоксидная смола ЭД-20 или ЭИС-1

100

100

100

100

Отвердитель полиэтилен-полиамин (ПЭПА)

8-12

20-23

20-23

4-6

Растворитель (толуол)

-

-

-

20

Пластификатор дибутилфталат или фуриловый спирт

20

-

-

-

Каменноугольная смола

-

100

-

125

Каменноугольный деготь

-

-

100

-

_______________

См. прил. 5.1 (разд. 13). Каменноугольный деготь может быть заменен жидким битумом марки МГ 70/130.

6.5. При замене деформационных швов применяют готовые конструкции, собранные на заводах или в цехах металлоконструкций по типовым проектам или действующим в отрасли каталогам. Конструкции поставляют с завода в собранном (на определенную длину) виде готовыми пакетами. Длина их может быть различной в зависимости от габарита моста - от 4,5 до 7,5 м. Поэлементная поставка допускается для специальных конструкций по согласованию с заказчиком.

Для стальных элементов швов используют стали, оговоренные в [4].

В швах с пружинами применяются цилиндрические витые (ГОСТ 16118-70) или тарельчатые (ГОСТ 3057-79) пружины из стали марки 40Х по ГОСТ 4543-71. Размеры пружин, которые могут быть использованы при ремонте и изготовлении конструкций швов, указаны в табл. 6.5.

Таблица 6.5

Характеристика пружин

Показатель

Пружины

тарельчатые

цилиндрические

1

2

3

Диаметр, мм

50-80

75-120

Внутренний диаметр, мм

20-30

-

Диаметр (толщина) заготовки, мм

2,2-5,0

15-20

Количество витков (тарелок)

по расчету [5]

 

Приготовление мастик

6.6. Готовые к употреблению битумно-каучуковые мастики "Лило-I" и "Лило-2", а также битумно-изопреновую мастику МБИ-8, изготавливаемую на АБЗ ДСУ-I Воронежавтодора (ст. Латная), поставляют в виде брикетов массой 20 - 35 кг. Перед применением их разогревают в передвижном битумном котле типа РД-104 при температуре 150 - 160 °С, перемешивая 10 - 30 мин.

6.7. Битумно-бутилкаучуковую холодную мастику "Вента" поставляют потребителю в виде двух жидких компонентов А и В: первый с активатором вулканизации и второй - с вулканизующим агентом. Мастику получают смешиванием двух составов компонентов А и В, взятые в равных количествах (или объемах) без подогрева. Температура составов и мастики в процессе приготовления не должна превышать 35 °С. Мастику можно использовать в течение 2 ч при температуре от минус 20° до плюс 30 °С.

6.8. Мастики марок ПБВ-4 и РБВ рекомендуется готовить в передвижном битумном котле типа РД-104. Для этого битум обезвоживают. Асбестовую крошку и минеральный порошок при необходимости просушивают. После сушки материал должен быть без комков с температурой не ниже 140 °С. Резиновая крошка дополнительной обработки не требует. ДСТ-30 предварительно измельчают в крошку (вручную или на специальном станке).

При приготовлении мастики ПБВ-4 битум разогревают до 150 - 160 °С и, непрерывно перемешивая, вводят летнее дизельное топливо, затем измельченный ДСТ-30. Перемешивают при температуре состава 140 - 160 °С до получения однородной массы примерно 5 - 6 ч.

При приготовлении мастики РБВ в битум, разогретый до 150 - 160 °С, добавляют резиновую крошку, непрерывно перемешивают в течение 2,5 - 3 ч до образования однородной массы (каменноугольное масло добавляют в битум предварительно). Потом вводят асбестовую крошку, затем минеральный порошок, после чего перемешивают смесь не более 30 мин, поддерживая температуру в 150 - 160 °C.

6.9. Тиоколовые герметики готовят путем перемешивания компонентов (например, в емкости заливщика швов) в течение 6 - 7 мин при положительной температуре до получения однородной массы.

6.10. Клеевые композиции на основе эпоксидной смолы, используемые для герметизации резиновых компенсаторов, готовят смешением компонентов (см. табл. 6.1) в объеме на один шов (при длине до 12 м) или части длины шва (свыше 12 м).

Металлические конструкции швов изготавливают с учетом [4].

Профилактика повреждений деформационных швов

6.11. Профилактические работы на деформационных швах, выполняемые при содержании мостов, включают очистку, заливку трещин в покрытии у швов, обновление мастики заполнения, затяжку болтовых соединений.

Очистку швов осуществляют периодически (одновременно с проезжей частью) механизированным способом обычными дорожными комбинированными машинами ЭД-403 и КДМ-130Б. При очистке швов в зимнее время, предусматривающей использование машин для зимнего содержания автомобильных дорог, например пескоразбрасывательное оборудование ПР-164М, навесное снегоочистительное оборудование HCО-I64M, дорожные машины (комбинированные), одновременно выполняют:

- скалывание льда у бордюра;

- удаление образовавшихся бугров вдоль шва.

Очистка швов включает также промывку конструкций, в том числе и водоотводных лотков (сверху и снизу), выполняемую, как правило, в весенний период ежемесячно и один раз осенью. После этого восстанавливают смазку элементов и их окраску. Зазоры между отдельными элементами швов сверху заполняют битумной мастикой (один раз в год). Места заливки для мастики указаны на рис. 2.9 - 2.12. В деформационных швах с резиновыми компенсаторами мастикой заполняют зазор над компенсатором.

6.12. Заливку трещин в покрытии у швов выполняют в соответствии с указаниями п. 2.14 в теплое, сухое время года как в самом асфальтобетонном покрытии у швов, так и в месте примыкания к металлическому окаймлению швов.

В теплую погоду осуществляют восстановление мастики в швах заполненного типа. Поврежденную мастику удаляют из шва вручную лопаточками, зазор тщательно продувают сжатым воздухом, просушивают (естественная сушка или с применением горелок) и заполняют мастикой.

6.13. Затяжку всех болтовых соединений осуществляют (проверяют) после промывки и очистки швов, как правило, в весенний или осенний периоды (один раз в год). При этом обращают внимание на следующее:

- обжатие пружины должно быть таким, чтобы усилие прижатия кромки скользящего листа было бы не менее 500 кг на I м кромки, учитывается также потеря обжатия в процессе эксплуатации из-за установки "незаневоленной" пружины;

- отсутствие ослабления других болтов;

- наличие всех крепежных деталей, в том числе прикрепления лотков:

Величину обжатия пружины проверяют динамометрическим ключом

либо по изменению величины деформации пружины.

Пример. Допустим, листы обжаты цилиндрическими пружинами Н = 200 мм (7 полных витков), Д = 80 мм, d = 20 мм, расположенными по оси скользящих листов с шагом I м. Для прижатия кромки листа усилием 500 кг/м усилие в пружине должно быть не менее I т.

По характеристикам пружины при этом усилии деформация одного витка составляет 4 мм, общая деформация пружины - 28 мм. Эксплуатационные потери обжатия пружин составляют 0,01 от величины обжатия в год. Если мост эксплуатируется 10 лет, дополнительная величина обжатия пружины должны составить 2,8 мм. Следовательно, пружину необходимо обжимать на величину, равную 30,8 мм (28+2,8) до тех пор, пока высота ее станет 169,2 мм (200-28-2,8 мм).

Ремонт, восстановление и замена отдельных
("заменяемых") элементов деформационных швов

6.14. Технологию ремонта швов закрытого и заполненного типов без стального окаймления следует принимать в соответствии с [6], где даны основные требования к следующим работам:

- замене и ремонту покрытия в зоне швов (заливка трещин в покрытии, удаление волн и бугров механическим путем или замена покрытия, заделка выбоин по длине шва);

- замене заполнения в швах (удалении из зазора, очистка и грунтовка кромок, заливка мастики);

- ремонту гидроизоляции швов и восстановлению примыкающих слоев одежды (ступенчатая вырубка слоев, устройство изоляции, укладка слоев с использованием полимерных композиций, герметизации лотков, заполнение швов).

Технология ремонта швов с резиновыми компенсаторами, предусматривающая залечивание или замену компенсаторов и герметизацию швов, изложена в [4].

6.15. Ремонт деформационных швов перекрытого типа (со скользящими листами и гребенками) включает восстановление или замену водоотводных лотков, замену или выправку элементов перекрытия, герметизацию и изолирование швов, ремонт одежды у шва.

Водоотводные лотки ремонтируют, если их повреждения на участке не превышают 20 % длины лотка. Ремонт выполняют путем приварки накладок и заплаток. Поврежденные участки вырезают и заменяют их на новые, стыкуя с существующими с помощью сварки. При больших повреждениях лотков рекомендуется их заменить.

Замену лотков на новые осуществляют и в тех случаях, если существующие имеют недостаточный объем и уклон, а также не имеют доступа для очистки или промывки.

6.16. Правку скользящих листов производят при незначительных их искажениях горячим (местный прогрев горелками) или механическим холодным способами (выправка домкратом). Правку горячим способом выполняют следующим образом:

- замеряют просветы под кромкой листа в створе пружин, между пружинами и на концах листа;

- затягивают пружины на необходимую величину и повторно замеряют просветы;

- снимают пружины и опять замеряют просветы под свободно лежащим листом;

- сопоставляют данные замеров под кромками листа в его состоянии до ремонта при максимальном обжатии пружинами и под свободно лежащим листом, определяют эффективность обжатия и намечают места горячей правки;

- лист разогревают горелками в намеченных местах, добиваясь устранения неравномерности просветов (лист считается выправленным, если просветы под свободно лежащим листом отличаются по длине листа не более чем на 4 мм);

- выправленный лист устанавливают на место, затягивают болты и опять проверяют просветы (величина просвета под кромкой на конце листа и между пружинами не должна превышать 2 мм). Если после выправки листа просветы больше допустимых, листы усиляют ребрами жесткости, привариваемыми снизу (чаще всего это требуется, когда крайний болот в листе отстоит от торца более чем на 0,3 м). При значительных искривлениях листов их заменяют. Правку листов холодным способом (механическим) выполняют на специальных стендах домкратами, как правило, в механических мастерских.

6.17. Замену плоских скользящих листов на новые, которую осуществляют при значительных повреждениях, недостаточной толщине и наличии большого стука, ведут в такой последовательности1:

___________

1 Для случая скользящих листов, не имевших пружин.

- очищают шов сверху и снизу, промывают конструкции;

- удаляют оставшиеся болты и снимают листы (рис. 6.1а);

- раскатывают вдоль шва на оголенные элементы окаймления резиновую амортизационную ленту толщиной от 15 до 25 мм (допускается применять сдвоенную транспортерную ленту), в которой прорезают отверстия соосно отверстиям в окаймлении (рис. 6.1б);

- убирают изоляционную ленту и вдоль шва раскладывают шаблонные листы (например, из фанеры), длиной, равной длине скользящих листов; в шаблонах размечают отверстия, которые переносят на подготовленные листы;

- обмазывают поверхность окаймления холодной мастикой или густотертой краской и прижимают резиновую ленту;

- устанавливают новые скользящие листы, в отверстия пропускают болты;

- закрепляют под швом анкерные поперечные балки и листы, обжимая болтами пружины;

- навешивают на подготовленные заранее петли водоотводные лотки (предварительно пружины смазывают консистентной смазкой);

- приваривают к окаймлению полосу вдоль шва, компенсирующую увеличение толщины конструкции из-за наличия амортизирующей полосы;

- выравнивают покрытие до уровня приваренной полосы;

- заполняют щели сверху мастикой.

 

Рис. 6.1. Ремонт шва со скользящим листом

а - подготовленная к ремонту конструкция; б - этап ремонта; в - отремонтированная конструкция

1 - существующее покрытие; 2 - защитный слой; 3 - гидроизоляция;
4 - участок с вырубленным покрытием у шва; 5 - окаймление; 6-металлическое пролетное строение;
7 - вертикальное ребро окаймления; 8 - приваренный дополнительный ограничитель;
9 - резиновая амортизационная лента; 10 - сверление отверстий в ленте по месту;
11 - анкерная балка; 12 - узлы фиксации балки; 13 - тяж (Æ 22 - 30); 14 - пружина;
15 - гайка пружины; 16 - новый скользящий лист с окнами под головки тяжей;
17 - зазор, заполненный мастикой; 18 - новое асфальтобетонное покрытие у шва

 

Рис. 6.2. Усиление гидроизоляции у швов с окаймлением:

а - г - этапы работы -

1 - существующее покрытие; 2 - защитный бетонный слои;
3 - гидроизоляция; 4 - удаленный поврежденный бетон плиты;
5 - окаймление; 6 - гидрофобизированная поверхность бетона;
7 - штыковка (трамбовка); 8 - плотный подбивочный бетон;
9 -полимерный раствор; 10 - многослойная изоляция;
11 - слой из утяжеленного рулонного изоляционного материала
(фольгоизол, стеклорубероид); 12 - новый слой асфальтобетона

6.18. Восстановление поврежденного защитного слоя у швов выполняют с использованием полимеррастворов или клеевых композиций.

При усилении гидроизоляции в зоне шва оголяют существующий изоляционный слой на ширине 0,5 - 0,8 м вдоль шва (рис. 6.2). Поврежденный изоляционный слой удаляют, а оголенную поверхность выравнивающего слоя промывают, после чего пространство под окаймлением заполняют жестким бетоном, уплотняя его штыкованием. Бетонную поверхность очищают, обрабатывают гидрофобизирующим составом и укладывают гидроизоляцию в соответствии с указаниями разд. 8. Армирующий или рулонный изолирующий материал укладывают вдоль деформационного шва.

6.19. При нарушении анкеровки окаймления либо заменяют конструкции шва, либо усиливают систему анкеровки. Во втором случае принимают следующий порядок работ (рис. 6.3):

 

Рис. 6.3. Усиление анкеровки швов:

а - подготовка концевого участка балок; б - усиление;

1 - вырубленный слой одежды и бетон плиты; 2 - окаймление; 3 - оголенная арматура защитного слоя;
4 - бетон омоноличивания (полимербетон, бетон на БТЦ); 5 - гидрофибизированная поверхность;
6 - закладная деталь; 7 - анкеры закладной детали; 8 - горизонтальный стержень усиления анкеровки
шва; 9 - арматурная сетка

- удаление всех дорожных слоев дорожной одежды (до плиты) вдоль шва на ширине 0,5 - 0,8 м;

- закрепление закладных деталей в несущих конструкциях;

- соединение между собой закладных деталей продольной полосой (вдоль шва);

- соединение продольной полосы и окаймления отдельными стержнями;

- укладка выравнивающего слоя бетона, при необходимости гидрофобизация бетона (разд. 13);

- стыковка изоляции;

- устройство дренажных отверстий в наиболее низком участке гидроизоляции;

- укладка асфальтобетонного покрытия.

Закладные детали могут быть закреплены болтами, пропущенными в просверленные отверстия (см. разд. 5).

Закладные детали и продольная полоса могут быть закрыты полимерраствором или полимербетоном (см. пп. 5.6 и 5.8).

7. НЕПРЕРЫВНАЯ ПЛИТА ЕЗДОВОГО ПОЛОТНА

7.1. Для устройства узла сопряжения пролетных строений в температурно-неразрезное или восстановления (ремонта) при неисправностях 3 категории по п. 2.33 производят вырубку конструкции одежды ездового полотна в надопорных сечениях пролетных строений. Размеры вырубки определяется принятым конструктивным решением объединения.

При вырубке необходимо производить вскрытие слоев одежды уступами, с уменьшением ширины вырубки каждого нижележащего слоя на 50 - 60 см с тем, чтобы при восстановлении конструкции одежды после объединения стыки восстанавливаемых слоев конструкции не находились в одном вертикальном сечении.

7.2. При объединении пролетных строений с помощью накладок размеры вырубки конструкции одежды минимальные, но сложность самого объединения (рис. 2.13б) наибольшая.

По концам объединяемых пролетных строений устанавливают стальные закладные детали, надежно заанкеривая их в плите проезжей части. Количество анкеров определяют расчетом, исходя из величин продольных усилий, передаваемых через узел сопряжения в цепи пролетных строений. Способы анкеровки закладных деталей принимают в соответствии с указаниями разд. 5.

7.3. В качестве объединительных элементов применяют стержни иди полосы, привариваемые таким образом, чтобы в средней части объединительный элемент имел свободную длину, позволяющую ему упруго деформироваться при изгибе.

Применение полосовых накладок допускается в случае, если закладные детали смежных пролетных строений расположены на одном уровне. При разных уровнях верха накладок применяют соединительные стержни, которые легко могут быть изогнуты нужным образом для плотного примыкания к накладкам.

7.4. Поверх элементов сопряжения укладывают прокладку из 3 - 4 слоев рубероида длиной 80 - 100 см, затем выравнивающий слой, отделяющую прокладку и гидроизоляцию.

По изоляции в зоне сопряжения укладывают отделяющую прокладку из пергамина, вощеной бумаги, полиэтиленовой пленки и т.п., затем бетон защитного слоя, армированный дополнительной сеткой с ячейками 100´100 ми из проволоки класса стали AI диаметром 6 мм. Таким образом, гидроизоляция исключена из сцепления над узлом сопряжения с выравнивающим и защитным слоями.

7.5. При объединении пролетных строений по выравнивающему слою в мостах с гидроизоляцией минимальную толщину его принимают равной 80 мм для размещения в нем двухрядной арматуры, количество которой определяют расчетом. В надопорном сечении выравнивающий слой на длине "соединительной плиты" отделяют от плиты балок прокладкой из 3 - 4 слоев рубероида (см. рис. 2.14). Длину соединительной плиты определяют расчетом в соответствии с "Методическими рекомендациями" (см. п. 2.30). Длину зоны вырубки для укладки выравнивающего слоя определяют из условия передачи усилия с соединительной плиты на пролетное строение на длине зоны контакта бетона выравнивающего слоя с плитой пролетного строения (расчет производят из условия сравнения действующих усилий с силами сцепления бетонов на длине их контакта).

Конструкцию одежды ездового полотна выполняют так, как указано в п. 7.4.

7.6. При объединении пролетных строений по выравнивающему слою в мостах с "жесткой" гидроизоляцией (водонепроницаемый бетон выравнивающего слоя) толщина его - не менее 100 мм (см. рис. 2.13а).

Длину вырубки конструкции в зоне узла сопряжения определяют по п. 7.5. Ее можно уменьшить, осуществив заанкеривание выравнивающего слоя за пределами длины соединительной плиты с помощью установки в плиту проезжей части анкеров, количество которых определяется при расчете на срез от усилия, действующего в соединительной плите.

7.7. Работы по объединению пролетных строений в температурно-неразрезные желательно выполнять при закрытии движения по мосту по всей ширине мостового полотна.

Допускается выполнять работы поочередно на половине ширины мостового полотна с ограничением движения по свободной половине. Этот случай регламентирован приведенными ниже указаниями о допустимости такого движения в зависимости от вида выполняемых ремонтных работ.

7.8. Объединение пролетных строений с помощью металлических накладок выполняют в следующей очередности (см. рис. 2.13б).

7.8.1. Снимают слои дорожной одежды в соответствии с п. 7.1 вручную, применяя отбойные молотки и фрезы, удаляют заполнения деформационного шва.

7.8.2. Тщательно очищают поверхность бетона плиты водой и продувают сжатым воздухом.

7.8.3. Устанавливают в деформационный шов плиты доску - опалубку (с заклинкой).

7.8.4. Закладные детали соединительных накладок устанавливают в соответствии с указаниями разд. 5.

7.8.5. Приваривают соединительные накладки после прекращения движения автотранспорта на мосту.

Окрашивают битумным лаком или другими защитными составами закладные детали и накладки.

7.8.6. Устанавливают упругую прокладку, арматурные сетки и укладывают бетон выравнивающего слоя. На период твердения бетона движение автотранспорта на мосту прекращается.

Движение возобновляется (по свободной полосе моста)  после набора прочности не менее 50 кгс/см2.

7.8.7. Устанавливают отделяющую прокладку и устраивают оклеечную гидроизоляцию с тщательной стыковкой ее с существующей.

7.8.8. Размещают верхнюю прокладку, арматурные сетки защитного слоя и укладывают бетон защитного слоя.

На период твердения бетона до набора прочности не менее 100 кг/м2 движение автотранспорта на мосту не допускается.

7.8.9. Восстанавливает асфальтобетонное покрытие. Переключают движение автотранспорта на отремонтированную половину моста и выполняют работы по пп. 7.8.1 - 7.8.9 на второй половине моста.

7.9. Объединение пролетных строений по выравнивающему слою в мостах с оклеечной гидроизоляцией выполняют в такой последовательности (см. рис. 2.14).

7.9.1. Снятие слоев дорожной одежды, очистку поверхности бетона и установку в деформационный шов доски-опалубки (бруса) в соответствии с пп. 7.8.1 - 7.8.3.

Если заанкеривание (анкеровка) выравнивающего слоя предусмотрено с использованием закладных деталей (гибких упоров), работы выполняют по п. 7.8.4.

7.9.2. Установка упругой прокладки, раскладка арматуры выравнивающего слоя (в случае использования закладных деталей приварка арматуры к анкерным деталям) и укладка бетона выравнивающего слоя - в соответствии с пп. 7.8.5 - 7.8.6.

7.9.3. Установка отделяющей прокладки, устройство оклеечной гидроизоляции, верхней отделяющей прокладки арматурных сеток защитного слоя и укладку бетона защитного слоя выполняют в соответствии с пп. 7.8.7 - 7.8.9.

7.9.4. Восстановление асфальтобетонного покрытия. Переключение движения автотранспорта на отремонтированную половину моста и выполнение работ на второй половине моста - в соответствии с пп. 7.9.1 - 7.9.4.

7.10. Объединение пролетных строений по выравнивающему слою в мостах с "жесткой" изоляцией из особо плотного бетона выполняют в следующей очередности (см. рис. 2.13а).

7.10.1. Снятие слоев дорожной одежды, очистка поверхности бетона, установка заполнения (доски-опалубки) деформационного шва, анкеровка выравнивающего слоя с использованием закладных деталей, установка упругой прокладки под выравнивающий слой, арматурных сеток узла сопряжения выравнивающего слоя и укладка особо плотного бетона - в соответствии с пп. 7.9.1 - 7.9.2 и разд. 12.

7.10.2. Восстановление асфальтобетонного покрытия. Переключение движения автотранспорта на отремонтированную половину моста и выполнение работ на второй половине моста - в соответствии с пп. 7.10.1 - 7.10.2.

8. РЕМОНТ ГИДРОИЗОЛЯЦИИ С ИСПОЛЬЗОВАНИЕМ
БИТУМНО-МАСТИЧНЫХ И РУЛОННЫХ МАТЕРИАЛОВ

8.1. Битумно-мастичную армированную гидроизоляцию типа БМ-1 или БМ-2 (для любой климатической зоны), битумную рулонную наплавляемую гидроизоляцию типа БРН (для I и II климатических зон со средней температурой наиболее холодных суток до минус 40 °С) или резиноподобную рулонную гидроизоляцию типа РПР (для любой климатической зоны) применяют в соответствии с Инструкцией по устройству гидроизоляции конструкций мостов и труб на железных, автомобильных и городских дорогах. ВCН 32-81 (Минтрансстрой и МПС). - М., 1982.

8.2. Работы с использованием битумно-мастичной гидроизоляции типа БМ выполняют при отсутствии атмосферных осадков и температуре не ниже плюс 5 °С (при более низких температурах и в зимнее время работы допускается выполнять в тепляках с обогревом их электрокалориферами). Работы с применением наплавляемых рулонных материалов типа БРН и резиноподобных типа РПР допускается выполнять при температурах до минус 10 °С.

8.3. До ремонта гидроизоляции должны быть выполнены работы по установке деформационных швов, стоек ограждений, водоотводных трубок, элементов крепления тротуаров и других элементов, пересекающих гидроизоляционные слои. Основанию (поверхности) под изоляцию должен быть придан проектный профиль. Старые слои гидроизоляции, выполненные на битумной основе, если при ремонте будут использованы битумные мастики, удаляют только в случае, если армирующий материал и мастика разрушены и легко снимаются.

8.4. При удалении старой изоляции поверхность изолируемого основания очищают, промывают и высушивают. На сухую и чистую поверхность наносят слой грунтовки, состав которой принимают в соответствии с принятым типом гидроизоляции (прил. 3 разд. 8). Для нанесения грунтовки рекомендуется использовать пневмофорсунки или пистолеты-распылители. Гидроизоляцию следует укладывать по грунтовочному слою не ранее чем через 2 ч, но не более чем через 16 ч после нанесения грунтовки.

8.5. Битумная мастичная гидроизоляция типа БМ-1 или БМ-2 состоит из следующих слоев (в порядке нанесения): грунтовка (толщина 0,1 мм), мастика (3 мм), армирующий материал (0,2 мм, льно-джуто-кенафная или стеклянная ткань для БМ-1, стеклосетка для ВМ-2), мастика (2 - 2,5 мм), армирующий материал, мастика (2 - 2,5 мм). Мастику изоляции БМ-1 разливают и разравнивают движками (гребками) или щетками, в узких местах - шпателями. Для прижима полотен использует ручные катки. Последний слой мастики посыпают сухим песком, нагретым до 60 °С, и укатывают после остывания поверхности до 15 - 20 °С гружеными автомашинами массой до 5 т со скоростью не более 1 км/ч.

Мастику изоляции БМ-2 наносят механизированным способом с приклейкой стеклосетки под действием струи наносимой мастики.

8.6. Битумная рулонная наплавляемая гидроизоляция типа БРН состоит из слоя грунтовки (0,1 мм) и двух слоев гидростеклоизола, фольгоизола или мостоизола (2,5 - 3 мм каждый), наклеиваемых методом оплавления, и слоя грунтовки, наносимого поверх фольги (для фольгоизола).

Для гидроизоляции, включающей фольгоизол, защитный слой устраивают из песчаного афальтобетона, отвечающего требованиям ГОСТ 9128-84,

8.7. Резиноподобная гидроизоляция типа РПР состоит из грунтовки (0,1 мм), слоя мастики (2 мм - горячие битумные мастики или битумно-бутилкаучуковая МББ-Х-120), рулонного материала (2 мм - бутизол или гидробутил) и верхнего слоя мастики (2 мм).

В соответствии с п. 8.5 высохшую "до отлипа" поверхность мастики присыпают песком.

8.8. Работы по ремонту (устройству новой) гидроизоляции начинают с изоляции мест пересечения элементов крепления тротуаров, ограждений, мест примыкания к тротуарам, деформационным швам, водоотводным трубкам и другим элементам мостового полотна. В указанных местах укладывают дополнительный слой гидроизоляции.

8.9. Изоляцию укладывают полосами вдоль моста, начиная с пониженных мест. Армирующие и рулонные материалы кладут с нахлесткой кромок 5 - 10 см в продольных и 15 - 20 см в поперечных стыках. Продольные стыки полотен в последующих слоях должны быть смещены не менее чем на 30 см. При изоляции конструкций деформационных швов допускается перекрестное размещение полотен в смежных слоях.

При работе рекомендуется применять средства механизации и специальный инвентарь (прил. 3 разд. 8).

9. РЕМОНТ ГИДРОИЗОЛЯЦИИ С ИСПОЛЬЗОВАНИЕМ
БИТУМНО-ЛАТЕКСНОЙ МАСТИКИ

Конструкция битумно-латексной гидроизоляции

9.1. Гидроизоляцию устраивают из двух слоев битумно-латексной мастики, армированных:

по типу I - стекло- или льно-джуто-кенафной тканью в один слой;

по типу II - стеклосеткой в два слоя (рис. 9.1). Толщина одного слоя мастики составляет от 2,5 до 3 мм, грунтовочные слои служат для приклейки армирующего материала к слою мастики и последней к выравнивающему слою, а также для склеивания слоев стекло сетки между собой по типу II гидроизоляции.

 

Рис. 9.1. Конструкция гидроизоляции на основе битумно-латексной эмульсии

1 - слой мастики; 2 - грунтовка эмульсией; 3 (а, б) - армирующий материал

9.2. Грунтовочный слой устраивают из битумно-латексной эмульсии. Битумно-латексную мастику получают на месте при одновременном распылении на изолируемую поверхность холодной анионной битумно-латексной эмульсии и коагулянта. Твердение (формирование) слоя битумно-латексной мастики происходит за счет испарения содержащейся в ней воды.

Применяемые материалы и основные требования к ним

9.3. Битумно-латексная эмульсия - жидкость темно-серого цвета, получаемая диспергированием битума в смеси водного раствора эмульгатора и синтетического латекса. Эмульсия и исходные материалы должны соответствовать требованиям ТУ 218 БССР 49-83 "Эмульсия битумно-латексная" Миндорстроя БССР. Количество исходных материалов для приготовления эмульсии приведено в табл. 9.1, технические требования и методы испытания эмульсии - в приложении 4.1 (разд. 9).

Таблица 9.1

Состав эмульсии

Наименование материала

Количество в долях по массе

Нефтяной битум марок БНД 60/90, БНД 90/130, БН 60/90, БН 90/130 по ГОСТ 22245-76

56-59

Синтетический латекс СКД-1C по ГОСТ 11604-79

16-17

Сульфатное мыло

1,4-1,5

Вода по ГОСТ 2874-82

до 100

22,5-26,6

9.4. Показатели свойств битумно-латексной мастики определяются свойствами битумно-каучукового вяжущего, содержащегося в эмульсии, и должны соответствовать требованиям прил. 4.1.

9.5. Коагулянт, предназначенный для инициирования процессов распада битумно-латексной эмульсии в момент нанесения ее на изолируемую поверхность, представляет собой 5-процентный раствор хлористого кальция в воде. Раствор готовят на месте производства работ. Плотность коагулянта должна быть 1,04 г/см3.

По физико-химическим показателям хлористый кальций должен соответствовать требованиям ГОСТ 450-77.

9.6. Для армирования мастики по типу I используют стеклосетчатую ткань марок ССТЭ-6 по ГОСТ 8481-75, тканую сетку CC-I по ТУ 6-11-99-75 Минхимпрома и ткань льно-джуто-кенафную по ГОСТ 5530-81.

9.7. Для гидроизоляции по типу П используют нетканую стекло сетку НПСС-Т-Г по ТУ 6-11-381-81 Минхимпрома и стеклохолст марки ВВ-Г по ТУ 21-23-44-79 Минхимпрома.

9.8. Выравнивающий и защитный слои из бетона должны удовлетворять требованиям п. 2.6 настоящего Руководства. Допускается в опытном порядке устраивать выравнивающий мой из мелкозернистого асфальтобетона типа Б или В по ГОСТ 9128-84.

Технология приготовления битумно-латексной эмульсии

9.10. Битумно-латексную эмульсию готовят на стационарной эмульсионной установке ЭУ-10 (прил. 4.2, разд. 9).

Основным технологическим узлом установки является механический многодисковый диспергатор непрерывного действия производительностью 25 т/ч.

Для приготовления битумно-латексной эмульсии установка ЭУ-10 дополнительно оборудована технологической линией подачи латекса из тары в емкость с раствором эмульгатора.

9.11. Технологический процесс приготовления эмульсии заключается в объединении в диспергаторе битума с водным раствором эмульгатора и латекса.

Водный раствор эмульгатора готовят в лопастной мешалке растворением в воде сульфатного мыла, нагретого до плюс 60 °С. В раствор эмульгатора при постоянном перемешивании равномерно подается латекс.

Температура водного раствора эмульгатора с латексом, поступающим в эмульсионную установку, должна быть от 50 до 55 °С.

9.12. Предварительно обезвоженный нефтяной битум, поступающий в диспергатор, должен иметь температуру от 135 до 145 °С.

В процессе эмульгирования температура битума должна быть строго постоянной, в противном случае может перемениться скорость его истечения через дозировочный кран, что вызовет изменение концентрации эмульсии.

9.13. Необходимо следить, чтобы температура битума и раствора эмульгатора не превышала 200 °С во избежание вспенивания битума и выброса его из диспергатора.

9.14. При приготовлении эмульсии вначале прогревают корпус диспергатора, кран и трубопровод подачи битума, затем включают двигатель и подают в диспергатор водный раствор эмульгатора. После того как раствор заполнит диспергатор и станет вытекать из выходного отверстия равномерной, хорошо вспененной струей, начинают плавную подачу битума.

9.15. Требуемая концентрация приготовленной эмульсии достигается путем установки расходов битума и раствора эмульгатора в требуемом соотношении, контролируемом лабораторией по соответствию нормируемых свойств (прил. 4.1).

9.16. В процессе эмульгирования обогрев корпуса диспергатора отключают. В противном случае наблюдается чрезмерное вспенивание струи готовой эмульсии, которое резко ухудшает качество эмульгирования и влечет за собой образование толстой корки в эмульсии при ее остывании.

9.17. Температура готовой эмульсии, выходящей из диспергатора, должна быть от 80 до 90 °С. Приготовленная эмульсия из промежуточного резервуара шестеренчатым насосом подеется в емкость или транспортную тару для хранения.

Общие указания по устройству битумно-латексной гидроизоляции

9.18. Битумно-латексную гидроизоляцию следует устраивать по сухому или влажному, но не покрытому водой выравнивающему слою при температуре воздуха не ниже плюс 10 °С.

9.19. Работы по устройству гидроизоляции должны выполняться под руководством инженерно-технического работника (мастера, прораба и др.) специализированной бригадой в составе оператора по распылению, оператора насосной установки и двух рабочих для укладки армирующих материалов, подноски шлангов и др.

9.20. Работы должны проводиться при укомплектованном оборудовании для механизированного нанесения битумно-латексной гидроизоляции, транспортирования и хранения эмульсии (прил. 4.3) с помощью следующих операций:

- сушки и очистки изолируемой поверхности от пыли и грязи;

- нанесения на огрунтованную бетонную поверхность первого слоя мастики;

- раскатки по огрунтованному слою мастики рулонного армирующего материала;

- нанесения второго слоя мастики;

- посыпки поверхности гидроизоляции сухим песком или цементом;

- укатки выполенной гидроизоляции;

- устройства защитного слоя.

9.21. Установка для нанесения битумно-латексной мастики ПМ-12 (см. прил. 4.3) обеспечивает подачу и распыление компонентов гидроизоляции пересекающимися факелами. Она состоит из рамы, снабженной стойкой, парой пневматических шин и катков. На раме смонтирован резервуар, два центробежных насоса и компрессор. Компрессор имеет выходной пробковый кран и оборудован электрическим пультом управления, к которому подключены приводы центробежных насосов. Резервуар разделен перегородкой на две емкости, каждая из которых в верхней части оборудована стояком с вентилем и заливным люком, имеющим фильтр и крышку. Трубопроводы, смонтированные в нижней части резервуара, связаны с входами центробежных насосов, напорные магистрали которых сообщается с вентилями на резервуаре и входами пробковых кранов, смонтированных на раме. К выходам этих кранов и к выходу крана, установленного на компрессоре, присоединены рукава распылителя, на котором установлены краны тонкой подачи жидких компонентов гидроизоляции.

Подготовительные работы

9.22. Перед устройством гидроизоляции должны быть выполнены работы по установке конструкций водоотводных трубок, деформационных швов, деталей крепления тротуарных блоков, ограждений и других элементов, пересекающих гидроизоляцию. Изолируемую поверхность очищают от пыли, грязи, строительного мусора щетками или продувкой сжатым воздухом.

9.23. Устройство гидроизоляции

Расход материалов по конструктивным слоям гидроизоляции
(на I м2 поверхности)

 

 

 

Элементы гидроизоляции

Битумно-латексная эмульсия, л

Коагулянт, л

Армирующий материал,

Песок, кг

стекло-сетка НПС

стеклоткань

Грунтовка по бетону

0,5¸0,6

-

-

-

-

Слой мастики толщиной 2,5 мм

4,0¸4,2

0,5-0,7

-

-

-

Грунтовка по мастике

0,4¸0,5

-

-

-

-

Армирующий слой

-

-

2,36

1,18

-

Пропитка армирующего слоя

0,4¸0,5

-

-

-

-

Слой мастики толщиной 2,5мм

4,0¸4,2

0,4-0,7

 

 

 

Посыпка песком

-

-

-

-

1,0

9.24. Поверхность выравнивающего слоя грунтуют битумно-латексной эмульсией (без коагулянта). После высыхания грунтовки (испарение воды происходит через 0,5 - 1 ч в зависимости от погодных условий) наносят первый слой мастики толщиной от 2,5 до 3 мм путем совместного распыления эмульсии и коагулянта пересекающимися факелами с использованием установки ПМ-12.

9.25. Мастику наносят поперечными полосками при перемещении оператором распылителя. Смежные полосы перекрывают таким образом, чтобы толщина слоя была постоянной.

Скорость перемещения распылителя постоянна, зависит от фактических расходов битумно-латексной эмульсии и коагулянта и составляет от 4 до 6 м/мин.

Распыляющие форсунки должны находиться на расстоянии 30 - 40 см от изолируемой поверхности.

Давление воздуха при распылении регулируют клапаном давления компрессора, оно должно составлять от 2,0 до 2,5 кгс/см2.

Диаметры отпечатков факелов распыления эмульсии коагулянта должны быть равны и составлять 30 см.

9.26. Ориентировочное соотношение расходов эмульсии и коагулянта при нанесении мастики находится в пределах 10:1,0-1,25. Оптимальное соотношение компонента устанавливают в начале работы регулированием крана подачи коагулянта до получения полного распада эмульсии, определяемого визуально оператором.

9.27. При нанесении мастики необходимо постоянно следить за правильностью работы распылителя. Возможные неисправности распылителя, причины и способы их устранения указаны в прил. 4.3 (разд. 9).

9.28. Готовность слоя мастики определяют при сильном нажатии на нее. Если после этого на отпечатке нет следов воды, слой считается сформированным. На поверхность сформировавшегося слоя мастики через 3 - 4 ч наносят битумно-латексную эмульсию.

9.29. После нанесения эмульсии производят укладку и приклейку армирующих полотен к первому слою мастики. Обработка мастики эмульсией должна опережать укладку полотен не более чем на I м.

9.30. Армирование в первую очередь выполняют в местах расположения конструкций деформационных швов, водоотводных трубок и примыкания к тротуарным блокам. Правила укладки армирующих полотен в этих местах должны соответствовать требованиям СНиП III-43-75 и ВСН 32-81.

9.31. Укладку рулонного армирующего материала осуществляет поперек моста способом "на себя", начиная с участков, расположенных по уклону в нижней части (рис. 9.2). Установка при этом, как и при нанесении мастики, перемещается вдоль моста.

 

Рис. 9.2. Порядок укладки армирующего материала

I - место рабочего; 2 - каток-раскатчик;
3 - уложенная арматура; 4 - грунтовка эмульсией;
5 - битумно-латексная эмульсия; стрелка - направление стока воды

9.32. Стыки полотен рулонного материала в продольном и поперечном направлениях укладывают внахлест не менее чем на 10 см с учетом направления стока воды.

На изолируемую поверхность рулонный материал накатывают постепенно ручным катком-раскатчиком. Полотнище материала должно находиться все время в натянутом состоянии.

9.33. При наклейке необходимо следить, чтобы армирующий материал плотно прилегал к поверхности и был приклеен к ней без складок, зазоров и пузырей. Все дефектные места должны быть тщательно защищены в этом месте дополнительным гидроизоляционным слоем.

9.34. При перекосе полотнищ и образовании в стыке так называемого сбега кромки, превышающего 2 см, необходимо в этом месте отрезать полотнище и выправить перекос. В месте обреза полотнище должно наклеиваться внахлест не менее чем на 10 см.

9.35. После укладки армирующих полотен их пропитывают (обрабатывают) эмульсией для лучшего сцепления армирующего материала с последующим слоем мастики, который наносят в соответствии с требованиями пп. 9.24 - 9.27 (после высыхания эмульсии).

При устройстве конструкции гидроизоляции по типу II следует наносить дополнительный армирующий слой и слой грунтовки (см. рис. 9.1).

9.36. Поверхность второго слоя мастики посыпают сухим цементом или мелким песком и укатывают пневмокатками или груженым автомобилем с мелким рифлением на протекторе покрышек. Поверхность протекторов должна быть чистой.

9.37. При ремонте гидроизоляции на части ширины ездового полотна в зоне примыкания к тротуарам допускается применение гидроизоляции из битумно-латексной мастики. При этом старые слои гидроизоляции удаляют, а стыковку с оставшейся изоляцией осуществляют на ширине перекрытия не менее 20 см с обеспечением проектного стока воды по поверхности изоляции.

9.38. Локальный ремонт с использованием битумно-латексной мастики допускается в случае, когда на ремонтируемом участке применен тот же тип гидроизоляции. При этом новый и старый слои гидроизоляции перекрывают на полосе шириной не менее 40 см.

Контроль качества работ

9.39. При устройстве гидроизоляции необходимо тщательно соблюдать технологический регламент, проверять соответствие проекту, требованиям СНиП III-43-75 и настоящего Руководства следующих параметров:

- качество применяемых материалов;

- состояние подготовленной поверхности;

- правильность выполнения гидроизоляции в местах примыкания сопряжений и стыков;

- конструкции гидроизоляции, ее толщину;

- сцепление гидроизоляции с выравнивающим слоем и отдельных ее слоев между собой;

- правильность армирования гидроизоляции;

- состояние поверхности слоев гидроизоляции.

9.40. Контроль качества материалов и приемку битумно-латексной эмульсии производят в соответствии с требованиями ТУ 218 БССР 49-83 (прил. 4.1).

9.41. Качество приготовления раствора коагулянта (плотность) проверяется ареометром.

9.42. Состав контролируемых показателей качества при операционном контроле и приемке работ приведен в табл. 9.2.

Таблица 9.2

Слои изоляции

Показатели качества

1

2

Подготовленные под изоляцию поверхности

Чистота поверхности. Отсутствие трещин, раковин. Ровность и соблюдение проектных уклонов

Грунтовочный слой

Отсутствие вздутий и отслоений

Слой мастики

Толщина слоя. Отсутствие трещин, раковин, вздутий и "оспин"

Армирующий слой

Правильность выполнения стыков. Отсутствие механических повреждений. Отсутствие складок, воздушных пузырей. Прочность приклейки. Отсутствие сползания слоя. Правильность сопряжения с водоотводными трубками и деформационными швами

Гидроизоляция в целом

Непрерывность с плотность гидроизоляции. Соответствие общей толщины проекту

9.43. Ровность выравнивающего слоя проверяют по ВСН 32-81 контрольной трехметровой рейкой, просветы под которой (не более двух) не должны превышать 5 мм в направлении вдоль уклона и 10 мм - поперек уклона.

9.44. Прочность приклейки армирующего материала проверяют простукиванием деревянным молотком или пробным отрывом от края. Приклейка считается прочной, если при простукивании звук не меняется или отрыв произойдет по слою мастики.

9.45. Толщину гидроизоляционного слоя проверяют контрольными надрезами с замером толщины отогнутых концов или прокалыванием щупом с делениями. Допускается не более одного прокола или надреза на каждые 10 м2. После проверки места проколов и надрезов следует тщательно заделать.

9.46. Состояние поверхности гидроизоляции проверяют визуально, устраняя обнаруженные дефекты - вздутия, складки, просветы армирующих материалов, разрывы и т.п.

9.47. При проверке качества гидроизоляции могут быть выявлены дефекты, приведенные в табл. 9.3, которые должны быть устранены до устройства защитного слоя.

Таблица 9.3

Дефекты

Причины возникновения

Меры предупреждения

1

2

3

Неравномерная толщина слоя

Распылитель неравномерно перемещается

Равномерно перемещать распылитель

Медленное формирование слоя

Слишком толстый слой

Контролировать толщину слоя

Чрезмерное количество коагулянта

Соблюдать требуемый расход коагулянта

Пониженное содержание в эмульсии битумно-каучукового вяжущего

Соблюдать требуемый расход коагулянта. Использовать эмульсию согласно п. 9.3

Кратерки (оспинки) по поверхности

Низкое качество эмульсии

Использовать эмульсию согласно п. 9.3

Слишком толстый слой эмульсии

Контролировать толщину слоя

Высокая скорость распыленных частиц эмульсии

Соблюдать рекомендуемое давление воздуха и подачи эмульсии

Разрывы в слое при его формировании (в жаркую погоду)

Слишком толстый слой и отделение (испарение) воды затруднено

Контролировать толщину слоя

Наличие наплывов, потеков

Недостаточное количество коагулянтов

Соблюдать требуемый расход коагулянта

 

Заниженная концентрация раствора коагулянта

Приготавливать раствор согласно требованиям настоящей инструкции

Слоистость

Неполные пересечения факелов распыления эмульсии и коагулянта

Пробная проверка работы распылителя в начале смены

 

Повышение количества коагулянта

Соблюдать требуемый расход коагулянта

9.48. Результаты проверок следует заносить в журнал производства работ, качество применяемых материалов должно подтверждаться наличием на них соответствующих паспортов и результатами лабораторных испытаний.

Транспортирование и хранение компонентов гидроизоляции

9.49. Битумно-латексную эмульсию транспортируют в автогудронаторах, битумовозах и металлических емкостях, обеспечивающих хороший слив эмульсии. При заполнении транспортных емкостей и перед применением эмульсию следует пропускать через сетчатый фильтр с отверстиями размером 3 мм.

9.50. Хранят эмульсию в чистых, плотно закрывающихся металлических емкостях не более 2 мес после приготовления при температуре не ниже плюс 10 °С. Для этого используют цилиндрические емкости, предпочтительно вертикальные. Наполнять емкость или забирать из нее эмульсию следует снизу.

9.51. При хранении допускается обратимое расслоение эмульсии без образования неразмешиваемых комков и сгустков. Перед использованием эмульсию тщательно перемешивают до однородного состояния. При хранении свыше 2 мес. битумно-латексная эмульсия должна быть проверена в соответствии с п. 9.40.

9.52. Хлористый кальций поставляют и транспортируют в полиэтиленовых мешках массой 50 кг.

9.53. Армирующие материалы - стеклосетку, стеклоткани и льно-джуто-кенафную ткань поставляют и транспортируют в рулонах, упакованных в полиэтиленовые пакеты. Масса рулона в зависимости от типа материала составляет от 30 до 60 кг.

9.54. Упакованные хлористый кальций, стеклоткани и стекло-сетку следует хранить в местах, предохраняющих материалы от увлажнения.

10. БИТУМНАЯ МАСТИЧНАЯ АРМИРОВАННАЯ ГИДРОИЗОЛЯЦИЯ
С ЗАЩИТНЫМ СЛОЕМ ИЗ АСФАЛЬТОБЕТОНА

10.1. Битумную мастичную армированную гидроизоляцию устраивают по бетону защитного слоя в соответствии с указаниями разд. 8 данного руководства.

10.2. Для защитного слоя применяют мелкозернистую асфальтобетонную смесь типов Б, В, Г не ниже II марки толщиной 40 мм по ГОСТ 9128-84.

10.3. Для предотвращения повреждения гидроизоляции при укладке горячей асфальтобетонной смеси поверх нее расстилают без приклейки рулонный материал - пергамин, рубероид, гидростеклоизол и т.п. Температура асфальтобетонной смеси при укладке - не выше 120 °С.

10.4. Уплотнение асфальтобетонной смеси начинают более легкими катками. Целесообразно производить уплотнение катками на пневмоходу. Тяжелые гладковальцовые катки применять запрещается.

11. ОБМАЗОЧНАЯ ГИДРОИЗОЛЯЦИЯ С ПРИМЕНЕНИЕМ
ПЕРХЛОРВИНИЛОВОЙ ЭМАЛИ XC-7I0 И КОМПОЗИЦИИ
НА ОСНОВЕ КЛЕЯ СПРУТ 5МДИ

Применяемые материалы и требования к ним.
Приготовление и хранение

11.1. Эмаль на основе сополимеров винилхлорида XC-7I0 должна соответствовать требованиям ГОСТ 9355-81. Она представляет собой композицию серого цвета на основе перхлорвиниловой смолы, поставляется в виде готовой к употреблению жидкости с условной вязкостью 20 ¸ 50 с. Время отверждения слоя эмали при температуре 20 °С должно составлять 1 - 1,5 ч, при 15 °С - 2,5 - 3 ч.

11.2. Композиция на основе клея Спрут 5МДИ должна удовлетворять требованиямТУ 88 УССР 193.034-80. Она состоит из двухкомпонентного вяжущего (клея), наполнителя, инициатора и ускорителя. Двухкомпонентное вяжущее (клей) состоит из ненасыщенной полиэфирной смолы ПН-1 (основы) и макродиизоционата МДИ (модифицирующей добавки). Инициатором отверждения служит перекись метилэтилкетона ПМЭК по ТУ 6-01-465-70, ускорителем - нафтенат кобальта НК-МРТУ 6-05-1075-67. В качестве наполнителя используют низкомарочный цемент, кварцевую муку, аэросил.

11.3. Состав композиции на основе клея Спрут 5МДИ приведен в табл. 11.1 Количество инициатора ПМЭК и ускорителя НК дано для сухого бетона, а в скобках - для водонасыщенного.

Таблица 11.1

Наименование, шифр

Количество в массовых частях

грунтовочный слой

рабочий слой

Основа ПН-1

100

100

Модификатор ИДИ

50

50

Инициатор ПМЭК

2-4 (5-8)

2-4 (5-8)

Ускоритель НК (ИК-1)

2 (4-6)

2-4 (5-7)

Растворитель (ацетон)

40-50

-

Наполнитель (цемент, др.)

-

100-200

В зависимости от уровня влажности поверхности бетона, температуры производства работ и технологии нанесения покрытия, определяющих требуемый период технологической жизнеспособности, корректируют в лабораторных условиях состав композиции. Количеством инициатора и ускорителя можно регулировать период жизнеспособности композиции в интервале от 15 до 150 мин.

11.4. Эмаль XC-7I0 и все компоненты композиции на основе клея Спрут 5МДИ должны храниться в герметически закрытой таре в сухом вентилируемом помещении при температуре от 0 до 25 °С. Совместное хранение указанных материалов с кислотами и щелочами категорически запрещается.

Приготовление материалов для гидроизоляции

11.5. Эмаль XC-7I0 поставляют в готовом к употреблению виде (см. п. 11.1).

В случае загустевания эмаль разжижают растворителем до требуемой по условиям нанесения рабочей вязкости. Состав растворителя в массовых частях: толуол - 62, бутилацетат - 12, ацетон - 26.

11.6. Композицию на основе клея Спрут 5МДИ готовят непосредственно на объекте следующим образом.

При тщательном перемешивании в основу (смолу ПН-I) вводят добавку МДИ: по достижении однородного состава также при перемешивании вводят последовательно инициатор, затем ускоритель. Далее в приготовленное вяжущее (клей) вводят при перемешивании или ацетон (для грунтовочного слоя), или наполнитель (для рабочего слоя).

Технология нанесения обмазочных составов

11.7. Нанесение обмазочных составов можно выполнять без перерывов движения автотранспорта по соседней полосе. Работы можно производить при температуре воздуха не ниже плюс 5 °С в сухую погоду.

11.8. Допускается локальный ремонт гидроизоляции в местах, где зафиксирована протечка воды, в случае, если существующая гидроизоляция имеет ту же конструкцию и выполнена из того же материала, которые используют при ремонте.

11.9. При локальном ремонте удаляют асфальтобетонное покрытие и защитный слой бетона на площади, обеспечивающей перекрытие вновь наносимой обмазочной изоляцией существующей (на неповрежденном участке) на полосе шириной не менее 20 см. Поврежденный участок гидроизоляции удаляют, поверхность очищают, обеспыливают и просушивают (на воздухе или прогревом). Композицию на основе клея Спрут 5МДИ можно наносить на водонасыщенный бетон, однако без скоплений воды на поверхности.

11.10. При ремонте гидроизоляции на части ширины пролетного строения или по всей ширине ездового полотна и пролетного строения допускается наносить обмазочную гидроизоляцию на поверхность бетона защитного слоя, без устройства дополнительного защитного слоя бетона.

Ремонту должны предшествовать работы по гидроизоляции мест примыкания к тротуарам, бордюрам, водоотводным трубкам, деформационным швам и т.п., выполняемые в соответствии с ВСН 32-81. Места примыкания защитного слоя к тротуарам, бордюрам, стойкам ограждений и т.п. должны быть герметизированы путем устройства прорези (штрабы) и заполнения ее мастикой.

11.11. Обмазочный состав наносят на чистую и сухую поверхность бетона с учетом указаний п. 11.8.

Эмаль XC-710 наносят в три слоя, последовательно после высыхания каждого из слоев. Расход материала на первый слой - около 500 г/м2, на последующие - по 250 г/м2.

11.12. Композицию на основе клея Спрут 5МДИ наносят в три сдоя: нижний - грунтовочный слой, второй и третий - рабочие слои (табл. 11.1). Каждый слой наносят при таком состоянии предыдущего слоя, когда он уже не пачкается, но еще липнет. По свеженанесенному последнему сдою клея рассыпают щебень крупностью 10 - 20 мм для обеспечения сцепления с асфальтобетоном. Расход материала на трехслойное покрытие составляет 500 г/м2.

11.13. Эмаль XC-710 наносят кистями, валиком, краскопультом; изоляцию на основе клея Спрут 5МДИ - кистями или установками безвоздушного распыления ("Спрут", "Факел", "Виза").

11.14. После отверждения последнего гидроизоляционного слоя укладывают двухслойное асфальтобетонное покрытие. Ориентировочное время отверждения эмали XC-7I0 приведено в п. 11.1. Композиция Спрут 5МДИ отверждается примерно сутки при температуре воздуха 20 °С и 3 - 4 сут при 10 - 15 °С.

Контроль качества и приемка работ

11.15. Перед нанесением гидроизоляционного слоя контролируют визуально состояние изолируемой поверхности бетона, где не должно быть раковин, трещин, разрушенных участков, грязи, пыли, песка, жирных и влажных пятен. Ровность поверхности бетона контролируют трехметровой рейкой по методике ВСН 32-81.

11.16. При производстве работ контролируют соблюдение технологического регламента в соответствии с пп. 11.7 - 11.13. Гидроизоляция должна быть нанесена ровным слоем, без скоплений материала, пропусков и вздутий, что контролируется визуально.

11.17. Отверждение гидроизоляционного состава определяют надавливанием на пленку пальцем: если отпечатка не остается, состав считается затвердевшим.

12. УСТРОЙСТВО ГИДРОИЗОЛЯЦИОННОГО СЛОЯ
ИЗ ОСОБО ПЛОТНОГО БЕТОНА

Общие положения

12.1. Условия применения конструкции одежды мостового (ездового) полотна из особо плотного бетона указаны в пп. 2.4, 2.7, 2.40 и табл. 2.4.

Выравнивающий (гидроизоляционный) слой выполняют на пролетных строениях, в плите проезжей части которых под действием постоянных нагрузок не образуются трещины.

При этом необходимо выполнить проверку выравнивающего слоя на трещиностойкость при работе его в составе пролетного строения на действие временных подвижных нагрузок.

Использование бетона на НЦ в неразрезных пролетных строениях допускается при условии, если растягивающие напряжения в верхней зоне бетона от временной нагрузки не превышают расчетного сопротивления бетона растяжению, Rbt, по СНиП 2.05.03-84.

Конструкция плиты из особо плотного бетона может применяться в пролетных строениях, эксплуатируемых в любых климатических зонах страны.

12.2. Целесообразно включить бетон выравнивающего слоя в совместную работу с пролетным строением для усиления моста, что достигается обеспечением надежного объединения устраиваемой железобетонной плиты толщиной не менее 100 мм с плитой балок пролетного строения, например, путем приварки арматурных выпусков к арматуре плиты, рифления поверхности и других мероприятий, разрабатываемых индивидуально для конкретного объекта. В этом случае плиту армируют сварными сетками 200´200 мм из арматурных стержней класса стали А-II, диаметром 10 мм, или сетками 120´120 мм из арматурных стержней класса стали A-I диаметром не менее 6 мм.

12.3. При устройстве плиты из самонапряженного бетона, выполняющей функции выравнивающего слоя и гидроизоляции, ее армируют по способу "рамный контур"1. В этом случае плита состоит из окаймляющего армированного (рис. 12.1) контура шириной 1100 мм и внутренней неармированной зоны.

Продольные арматурные полосы "рамного контура" располагают по фасадным сторонам пролетного строения, поперечные - по их торцам в разрезных системах и в надопорных зонах неразрезных и температурно-неразрезных систем, а также через каждые 7 - 8 м по длине пролетного строения.

Для обеспечения защитного слоя толщиной 30 мм арматурные сетки фиксируют приваренными в узлах арматурными коротышами (см. рис. 12.1).

______________

1 А.с. 804755. (СССР), Опубл. в Б.И. 1986 г.

12.4. Все примыкания выравнивающего слоя к элементам мостового полотна - к тротуарным блокам, столбикам ограждений, осветительным мачтам, конструкциям деформационных швов - должны быть загерметизированы. Для этого в местах примыкания в бетоне выравнивающего слоя устраивают штрабы сечением 10´20 мм, заполняемые битумной мастикой.

Применяемые материалы

12.5. Требования к бетону выравнивающего слоя на обычном (ненапряженном) цементе указаны в п. 2.7.

Для приготовления бетона могут быть использованы портландцемент, пластифицированный портландцемент с минеральными добавками в количестве не более 5 % (содержание трех кальциевого алюмината в цементе допускается не более 8 % (ГОСТ 10178-85); напрягающие цементы НЦ-20, НЦ-40 - ТУ 21-20-18-80.

Щебень и песок должны удовлетворять требованиям ГОСТ 10268-80 и СНиП III-43-75.

Максимальная крупность щебня не должна превышать 1/4 толщины бетонируемой плиты. Загрязненность щебня - не более I %, предел прочности на сжатие - не менее 120 МПа. Крупность песка должна быть не менее 1,5, загрязненность - не более 2 %.

Вода для приготовления бетонной смеси должна соответствовать требованиям ГОСТ 23732-79.

 

Рис. 12.1. Армирование по способу "рамного контура":

а - план; б - разрез и деталь узла "А"

I - поперечное армирование; 2 - продольное армирование;
3 - внутренняя неармированная зона

12.6. Для армирования выравнивающего слоя применяют стержневую горячекатаную арматуру периодического профиля класса А-II по ГОСТ 5781-82 из стали марки ВСт5сп2 по ГОСТ 380-71* или стержневую горячекатаную гладкую арматуру класса A-I по ГОСТ 5781-82 из стали марки ВСт3пс2 по ГОСТ 380-71*.

12.7. В бетонную смесь для обеспечения требуемой морозостойкости и водонепроницаемости, а также замедления сроков схватывания напрягающего цемента необходимо вводить пластифицирующие и воздухововлекающие добавки в соответствии с табл. 12.1.

Таблица 12.1

Добавки в бетонную смесь

Вид добавки

ТУ

Количество добавки, % от массы цемента

портландцемент

напрягающий цемент

Смола нейтрализованная воздухововлекающая (СНВ)

81-05-7-74

0,01¸0,2СДБ

0,01 (сухого вещества) - в виде 10-процентного водного раствора

Сульфитно-дрожжевая бражка (СДБ)

81-04-225-73

0,2¸0,01СНВ

0,2 (сухого вещества) в виде 10-процентного раствора

Кремнийорганическая жидкость КГЖ-10

6-02-696-72

0,1

0,1

12.8. Класс бетона по прочности должен быть не ниже В-30, подвижность бетонной смеси - соответствовать осадке конуса 3-5 см по ГОСТ 10181.1-81.

Величина самонапряжения в бетоне с учетом потерь от усадки и ползучести, определенных в соответствии с Инструкцией по проектированию самонапряженных железобетонных конструкций СН 511-78, должна быть не менее 0,5 МПа.

Подбор состава напрягающего бетона следует производить как для обычного бетона с учетом особенностей, изложенных в прил. 2 Руководства по подбору составов тяжелого бетона / НИИЖБ Госстроя СССР. - М. 1981.

Исходя из условия получения вышеуказанной величины самонапряжения, расход НЦ следует принимать в интервале 470 - 500 кг/м3.

Марку бетона по морозостойкости и водонепроницаемости принимают в соответствии с п. 2.7.

Приготовление бетонной смеси

12.9. Бетонную смесь, имеющую начало схватывания не ранее 2 ч, следует готовить недалеко от моста с таким расчетом, чтобы укладывать ее не позднее чем через 60 мин после приготовления при температуре воздуха до 20 °С и 30 мин при температуре 20 - 30 °С.

Подвижность смеси должна назначаться с учетом времени ее транспортирования к месту укладки, но не превышать значения, требуемого в момент укладки более чем на 2 см.

12.10. Бетонную смесь можно поставлять с завода-изготовителя в автобетоносмесителе в виде сухой смеси, перемешиваемой с водой в пути следования к месту укладки.

Бетонную смесь, транспортируемую к месту укладки в автосамосвалах, необходимо защищать от испарения воды и атмосферных осадков.

11.11. При транспортировании бетонной смеси на напрягающем цементе на значительные расстояния либо в жаркую погоду следует применять метод предварительной частичной гидратации либо двустадийного перемешивания с целью предотвращения схватывания бетона до его укладки.

12.12. Предварительная гидратация осуществляется в процессе приготовления бетона в следующем порядке:

- дозирование, загрузка в смеситель песка, увлажнение его до 4 - 6 % с перемешиванием в течение 0,5 - 1 мин;

- дозирование, загрузка в смеситель напрягающего цемента, перемешивание в течение 1 - 2 мин;

- дозирование, загрузка крупного заполнителя;

- затворение смеси водой, перемешивание в течение 1 - 2 мин.

12.13. Двустадийное перемешивание бетонной смеси осуществляется дозированием в смеситель:

- крупного и мелкого заполнителя и напрягающего цемента, перемешивание в течение I мин;

- дозирование в смеситель 60 - 70 % воды затворения, перемешивая 1 - 2 мин;

- дозирование в смеситель оставшейся воды затворения, перемешивая в течение 1 - 2 мин.

Технология укладки, уплотнения и выдержки бетона

12.14. После удаления конструкции одежды ездового полотна и тротуаров поверхность железобетонной плиты пролетного строения тщательно очищают от грязи и пыли, продувают сжатым воздухом. Жировые пятна бетона вырубают.

Поверхность плиты должна быть шероховатой без цементной пленки. Плиту промывают и в течение 30 мин выдерживают во влажном состоянии. Скопления воды в углублениях на плите проезжей части не допускается.

На очищенную поверхность укладывают арматурные сетки либо арматуру по способу "рамный контур". Положение арматуры по высоте фиксируют арматурными коротышами (см. п. 12.3, рис. 12.1).

В надопорных сечениях температурно-неразрезных пролетных строений устанавливают разделяющие прокладки.

Для случая включения выравнивающего слоя в совместную работу с пролетным строением перед бетонированием должны быть выполнены мероприятия, предусмотренные проектом (установка арматурных выпусков, насечка поверхности, промазка полимерными клеями и т.п.).

12.15. Бетон укладывают на полную высоту слоя от одного конца пролетного строения к другому поперечными полосами шириной 3 - 4 м.

Бетонную смесь уплотняют виброрейками, перемещаемыми по деревянным или металлическим направляющим, выставленным по требуемым отметкам. Уплотняющий брус виброрейки должен иметь заглаживаемую резиновую ленту шириной 50 см и длиной, равной длине бруса. Укладывать смесь без виброуплотнения запрещается.

Работы производят при температуре воздуха не ниже плюс 10 °С.

Швы между поперечными полосами заполняют бетонной смесью и уплотняют глубинным вибратором. Неровности поверхности заглаживают кельмами и полутерками.

12.16. Для обеспечения ровной поверхности бетона необходимо следить, чтобы впереди виброуплотняющего механизма постоянно был валик из бетонной смеси, а скорость движения механизма была постоянной.

Разжиженный вибрацией раствор (цементное молоко) удаляют с поверхности бетона. Категорически запрещается выравнивать поверхность схватившегося бетона цементным раствором.

12.17. При большом объеме работ допускается перерыв в укладке бетона и устройство рабочих швов. В неразрезных пролетных строениях устройство швов в зоне отрицательных моментов запрещается.

Перед продолжением бетонирования со стыкуемой поверхности затвердевшего бетона удаляют цементную пленку; затем промазывают ее эпоксидным клеем с введенным в него фуриловым спиртом.

12.18. Сразу же после бетонирования осуществляют уход за бетоном выравнивающего слоя одним из следующих способов:

- укрытие бетона плотным материалом (брезентом, полиэтиленовой пленкой) с увлажнением его поверхности сроком до 15 сут (при влажности 100 %);

- то же, влажной мешковиной (увлажняют каждые 4 - 5 ч). Через сутки мешковину убирают, поверхность бетона засыпают песком или супесью слоем 5 - 6 см. Первые 7 сут этот слой увлажняют распыленной струей воды.

Обнаруженные на поверхности бетона усадочные трещины не шире 5 мм заливают битумной мастикой.

12.19. Движение транспорта по выравнивающему слою разрешается по достижении бетоном 75 % проектной прочности.

Контроль качества и приемка работ

12.20. При приготовлении бетонной смеси контролируют следующие характеристики:

- энергетическую активность напрягающего цемента по ТУ 21-20-18-80;

- нормальную густоту цементного теста и сроки схватывания по ГОСТ 310.3-76 и требованиям ТУ 21-20-18-80;

- качество заполнителей по ГОСТ 8269-76 и ГОСТ 8735-75;

- подвижность бетонной смеси по ГОСТ 10181.1-81.

Плотность 10-процентных водных растворов СДБ (1,04 г/см3) и СНВ (1,03 г/см3) - ареометром, допускаемое отклонение не более 0,005 г/см3.

12.21. Прочность, морозостойкость и водонепроницаемость бетона контролируют по стандартным методикам при подборе состава бетона. При проведении работ, когда образцы бетона выдерживают в аналогичных с уложенным бетоном условиях в стандартных металлических формах, контролируют прочность уложенного бетона (на образцах 100´100´100 или 150´150´150 - сжатие, на образцах 100´100´400 - растяжение при изгибе, допускается применение неразрушающих методов контроля прочности).

12.22. При производстве работ контролируют соблюдение технологического регламента по пп. 12.14 - 12.19. Величину самонапряжения бетона определяют в соответствии с требованиями СН 511-78.

12.23. Освидетельствование и приемку выравнивающего слоя оформляют актом.

13. УЛУЧШЕНИЕ ГИДРОИЗОЛЯЦИОННЫХ СВОЙСТВ
БЕТОНА ЗАЩИТНОГО СЛОЯ

Общие положения

13.1. Рекомендуется применять следующие методы улучшения гидроизоляционных свойств бетона защитного слоя в случаях, оговоренных в п. 2.44:

- гидрофобизацию (пропитку) бетона эмульсиями кремнийорганических жидкостей - допускается при хорошем состоянии бетона (без трещин, с незначительным шелушением поверхности) для разрезных пролетных строений, а также, когда не требуется ремонта гидроизоляции, но выполняют ремонт покрытия со снятием старого слоя асфальтобетона;

- обработку поверхности бетона (пропитку) эпоксидными вяжущими допускается для разрезных пролетных строений, при наличии трещин, шелушения и разрушения бетона, когда восстанавливают защитный слой гидрофобным бетоном;

- комбинированную обработку (гидрофобизацию с последующей пропиткой эпоксидными вяжущими) - в остальных случаях, предусмотренных в п. 2.44 (если восстановление бетона выполняют обычным или песчаным бетоном для разрезных пролетных строений, а также при хорошем состоянии бетона для неразрезных пролетных строений).

13.2. Улучшение гидроизоляционных свойств бетона защитного слоя выполняют после обеспечения изоляции мест примыкания защитного слоя к тротуарам, водоотвода, изоляции деформационных швов, в местах водоотводных трубок, крепления тротуаров и стоек ограждений в соответствии с требованиями разд. 8.

13.3. Работы по обработке бетона защитного слоя допускается выполнять захватками вдоль моста на ограниченной ширине (например, поочередно на половине ширины габарита) с сохранением движения автотранспорта по свободной полосе.

Применяемые материалы

13.4. Применяемые для приготовления гидрофобизирующих эмульсий и эпоксидных вяжущих материалы должны удовлетворять требованиям стандартов (прил. 5 разд. 13). По истечении гарантийного срока хранения материалов их допускается использовать после проверки на соответствие требованиям стандарта по гидрофобизирующей способности и стабильности для кремнийорганической жидкости, по жизнеспособности для эпоксидных вяжущих (см. п. 13.22).

13.5. Для гидрофобизации используют приготавливаемые на месте 10-процентные водные эмульсии следующих жидкостей: 136-41 (бывшая ГКЖ-94), 119-215 и КЭ-30-04 (50-процентная водная эмульсия жидкости 136-41).

Для приготовления водных эмульсий применяют питьевую воду по ГОСТ 2874-82 или воду, удовлетворяющую требованиям ГОСТ 23732-79 (для бетонов и растворов).

Для стабилизации водной эмульсии используют следующие добавки: желатин технический, поливиниловый спирт (сольвар) - 95-процентный белый или желтый порошок, СДВ (сульфитно-дрожжевая бражка) и мыло хозяйственное - 60-процентное.

Желатин или сольвар применяют в виде 1 - 2-процентного раствора в воде, нагретой до 60 - 70 °С. СД5 или мыло - в виде 2-процентного водного раствора. Для ускорения прлимеризации жидкости 119-215 используют добавки жидкости ГКЖ-10 или ГКЖ-11 в количестве 3 % от расхода жидкости 119-215.

13.6. Гидрофобизирующие жидкости и эмульсии необходимо хранить в складском помещении при температуре не ниже 0 °С и не выше 30 °С в стальных или стеклянных емкостях. Емкости должны быть плотно закрыты и защищены от попадания солнечных лучей.

13.7. Для приготовления эпоксидных вяжущих используют эпоксидные смолы, пластификаторы, отвердители, растворители и при необходимости ускорители твердения, приведенные в прил. 5.1.

Рекомендуемые составы даны в табл. 13.1.

Количество составляющих уточняют на месте с учетом типа применяемых материалов, температурных условий, способов приготовления и нанесения. При этом жизнеспособность клея должна быть: технологическая - около 0,8 - 1,2 ч, адгезионная - не более 5 ч.

Таблица 13.1

Составы эпоксидных вяжущих

Компоненты

Количество в частях
по массе

Смола

100

Отвердитель

10-20

Пластификатор

20-50

Растворитель

30-50

Ускоритель (при отрицательных температурах):

 

солянокислый анилин

3,5

хлорное железо

8

 

Приготовление рабочих составов

13.8. Водную 10-процентную эмульсию из КЭ-30-04 готовят в лопастных мешалках, время перемешивания 5 - 7 мин, соотношение воды к жидкости КЭ-30-04 4:1.

13.9. Водную 10-процентную эмульсию жидкости 136-41 или 119-215 готовят в высокооборотных мешалках (8000 - 10000 об/мин), например в кавитационном роторном эмульсаторе, пропуская через него дозированную смесь три-четыре раза до получения стабильной эмульсии (рис. 13.1). Дозированную смесь готовят путем смешения охлажденного до комнатной температуры раствора стабилизатора (см. п. 13.5) и жидкости 136-41 или 119-2I5 в соотношении 9:1. При использовании жидкости 119-2I5 дополнительно в смесь желательно вводить жидкость ГКЖ-11 или ГКЖ-10 (см. п. 13.5).

Эмульсии, не израсходованные в течение 4 ч необходимо перед употреблением перемешивать (можно вручную).

13.10. Составы эпоксидных вяжущих подбирают с учетом их нанесения специальной установкой типа РД-601 (рис. 13.2; прил. 5.2). При этом вяжущее готовят в виде двух компаундов на основе смолы № I и отвердителя № 2, имеющих примерно одинаковую вязкость, равную 12 - 23 с по вискозиметру ВЗ-4.

Компаунды можно готовить заранее на производственной базе или непосредственно на месте с перемешивание вручную. Эпоксидное вяжущее образуется в результате смешения компаундов в факелах установки РД-601 и на обрабатываемой поверхности бетона.

Примерные составы компаундов приведены в табл. 13.2 с учетом соотношения расхода компаунда № I : № 2 = 2 : I. Окончательно составы корректируют с учетом требования п. 13.7.

 

Рис. 13.1. Эмульсатор для приготовления гидрофобизирующей эмульсии:

1 - эмульсатор; 2 - смесительная камера; 3 - электродвигатель; 4 - рама; 5 - клиноременная передача

 

Рис.13.2.Схема распределителя материалов РД-601

1 - рама; 2 - бак; 3 - манометр; 4 - воздушный шланг; 5 - материальный шланг; 6 - форсунки

 

13.11. Приготовление эпоксидного вяжущего, например состава № 4 (табл. 13.2), рекомендуется выполнять следующим образом.

Компаунд № 1 (для бачка емкостью 20 кг установки РД-601) состоит из двух замесов, приготавливаемых в ведре. Состав одного замеса: смола - 6,4 кг, ацетон - 2 кг.

Компаунд № 2 состоит из двух замесов, приготавливаемых в ведре. Туда входит отвердитель ДЭТА (2,32 кг), фуриловый спирт (6,32 кг).

Таблица 13.2

Примерные составы компаундов эпоксидных вяжущих (клеев)


клеевого состава


компаунда

Компоненты клея

Вязкость по ВЗ-4, с

Количество в частях по массе

1

1

Смола ЭД-20

23

100

 

 

Растворитель (ацетон)

20

 

2

Отвердитель (НЭПА или ДЭТА)

 

30

 

 

Пластификатор (дибутилфталат, (сламор)

17

500

 

 

Растворитель (ацетон)

 

20

2

1

Смола ЭД-20

23

100

 

 

Ацетон

 

20

 

2

Пластификатор (МГФ-9)

 

50

 

 

Отвердитель (сложный амин)

18

30

 

 

Ацетон

 

40

3

1

Смола ЭД-20

23

100

 

 

Ацетон

 

20

 

2

Отвердитель (ПЭПА или ДЭТА)

17

40

 

 

Пластификатор (фуриловый спирт)

 

40

 

 

Ацетон

 

60

4

1

Смола ЭИС-1

 

100

 

 

Ацетон

30

 

2

Отвердитель ДЭТА

12

35

 

 

Фуриловый спирт

100

Компоненты дозируют по массе. При работе с одним составом допускается объемная дозировка (по результатам предварительного взвешивания). Компаунды при приготовлении перемешивают в ведре до получения однородного состава. Для домешивания компаундов бачки РД-601 снабжены ручными мешалками.

Технология ведения работ

13.12. Бетон защитного слоя перед обработкой должен иметь влажность не более 8 %. Практически такую влажность бетон приобретает за два-три сухих дня. Для ускорения сушки рекомендуется использовать механизмы (см. разд. 8 и прил. 3). Непосредственно перед обработкой поверхность бетона прочищают сжатым воздухом под давлением 0,4 - 0,6 МПа.

13.13. Для обеспечения герметичности в местах примыкания бетона защитного слоя к тротуарам или бордюрам, стойкам ограждений и т.п. на всю толщину бетона устраивают штрабу (прорезь) шириной 10 - 20 мм, которую заполняют битумной мастикой (см. разд. 8).

13.14. При необходимости восстановления бетона защитного слоя, имеющего повреждения (разрушения на глубину свыше 10 мм, работы выполняют в соответствии с требованиями ВСН 32-81 и разд. 2 настоящего Руководства. При разрушении бетона на глубину до 10 мм допускается выравнивать поверхность укладкой песчаного цементного раствора.

13.15. Во время обработки бетона защитного слоя гидрофобизирующими составами и эпоксидными вяжущими все отверстия и щели (водоотводные трубки, лотки, деформационные швы и т.п.) должны быть временно закрыты для предотвращения попадания составов за пределы мостового полотна.

13.16. Работы по пропитке бетона гидрофобизирующими составами выполняют в сухую погоду при температуре окружающего воздуха не ниже 10 °С. Соблюдают следующий порядок работ:

- наносят первый слой эмульсии при расходе 0,2 - 0,3 кг/м2, обеспечивая сплошность и равномерность распределения материала;

- после подсыхания первого слоя (через 0,5 - 1 ч) наносят таким же образом второй слой (общий расход эмульсии составляет 0,4 - 0,5 кг/м2);

- в период формирования (сушки) гидрофобной пленки, поверхность бетона защищают от попадания воды, а в случае осадков обдувают сжатым воздухом для быстрого удаления воды. На высыхание эмульсии при температуре около 15 °С требуется примерно 48 ч. После формирования гидрофобной пленки выполняют работы по укладке асфальтобетонного покрытия с предварительной битумной грунтовкой или, на случай комбинированной обработки, наносят эпоксидные вяжущие.

13.17. Для нанесения гидрофобизирующих составов используют серийное оборудование для малярных работ, например окрасочные агрегаты типа СО-5А и др., а также специальное оборудование РД-601. При работе соблюдают следующие требования:

- при заправке нагнетательного бака эмульсию фильтруют через сито с ячейками до 0,5 мм или марлю, сложенную вчетверо;

- распределитель (форсунки) располагают перпендикулярно к обрабатываемой поверхности на расстоянии 0,3 - 0,4 м;

- распределитель РД-601 перемещают со скоростью 0,2 - 0,3 м/с, нанося материал полосами вдоль моста;

- перекрытие смежных обрабатываемых полос - около 0,1 - 0,2 м;

- давление воздуха в системе РД-601 - 0,2 - 0,4 МПа, при этом используют форсунки, диаметр отверстий которых - 1,0 мм.

13.18. Обработку бетона защитного слоя эпоксидными вяжущими допускается выполнять в сухую погоду при положительной температуре, вводя при температуре ниже плюс 10 °С в состав клея ускорители твердения. Наносят эпоксидные вяжущие установкой РД-601, с учетом расхода компаундов клея в соотношении 2:1 (см. п. 13.10). Это достигается за счет использования в системе распределителя компаунда № 1 (смолы) форсунок с отверстиями диаметром 1,5 - 2 мм, а компаунда № 2 (отвердителя) - 1,0 мм. Форсунки распределителя располагают на расстоянии 0,3 - 0,4 м от обрабатываемой поверхности, а угол наклона регулируют таким образом, чтобы факелы компаундов пересекались на расстоянии около 0,1 м (от обрабатываемой поверхности).

13.19. Рекомендуется следующий порядок работ с использованием РД-601:

- заправляют баки компаундами клея с обязательным фильтрованием через сито с ячейками 0,5 - 0,7 мм;

- перемещают установку к месту распределения вяжущих;

- присоединяют шланг подачи сжатого воздуха и регулируют давление в системе распределителя. Например, для состава клея № 4 (п. 13.11, табл. 13.2) давление в системе компаунда № I (смола) при диаметре отверстия форсунки 2 мм составляет 0,27 МПа, а в системе компаунда № 2 (отвердитель) - 0,20 МПа при диаметре отверстия форсунки - 1 мм (при этих условиях достигается требуемое соотношение расхода компаундов № 1 и 2, равное 2:1);

- открывают краны на материальных шлангах и распределяют вяжущее, перемещая установку со скоростью 0,3 - 0,4 м/с, при этом (для состава № 4) расход клея составляет около 0,5 - 0,7 кг/м2;

- распределяют материал захватками шириной I м с перекрытием смежных полос на 0,1 - 0,15 м;

- при распределении обеспечивают равномерное и сплошное покрытие поверхности бетона материалом, при этом расход вяжущего должен быть в пределах от 0,5 до 1,0 кг/м в зависимости от состояния бетона;

- после израсходования хотя бы одного из компаундов клея работу прекращают, перекрывают подачу материалов и воздуха, отключают воздушный шланг и перемещают установку к месту заправки;

- поверхность клея в период его адгезионной жизнедеятельности необходимо посыпать сухим песком при расходе около 0,5 кг/м2;

- после окончания работы установку РД-601 и инвентарь тщательно очищают и промывают растворителем в специально отведенных местах с соблюдением требований санитарии и техники безопасности.

13.20. Обработанную эпоксидными вяжущими поверхность защищают от попадания воды в течение 4 - 24 ч до полной полимеризации клея. Рекомендуется после обработки эпоксидным клеем уложить по предварительной битумной грунтовке песчаный асфальтобетон толщиной 20 - 30 мм с распределением смеси вручную и уплотнением легкими катками. Это позволит уберечь эпоксидный клей от воды, ускорить полимеризацию клея и обеспечить пропуск асфальтоукладчика на пневмоходу для укладки асфальтобетонного покрытия.

Контроль качества работ

13.21. При работе с гидрофобизирующими составами и эпоксидными вяжущими контролируют качество исходных материалов, соответствие бетона защитного слоя, соблюдение технологического регламента приготовления и нанесения составов, эффективность гидрофобизации и пропитки эпоксидным клеем.

13.22. Материалы для гидрофобизации и эпоксидных клеев принимают при наличии на них паспортов и сертификатов завода-изготовителя, подтверждающих их соответствие стандартам.

В случае истечения гарантийного срока хранения или отсутствия паспорта проверяют гидрофобизирующую способность жидкости и жизнеспособность эпоксидного клея.

13.22.1. Гидрофобизирующую способность жидкости 136-41 или 119-215 проверяют в соответствии с требованиями ГОСТ 10834-76 следующим образом. Кусок отбеленной бязи 250´250 мм (выстиранный и высушенный) выдерживают 5 мин при 20 °С в 3-процентном растворе жидкости 136-41 (или 119-215) в четыреххлористом углероде (в стакане), затем отжимают и сушат в термостате при 90 - 95 °С. После высыхания температуру поднимают до 145 - 150 °С и выдерживают образец 15 мин. Затем через сутки при комнатной температуре кусок бязи накладывают на стакан диаметром 100 - 120 мм, углубляя его в середине на 80 мм, куда наливают 100 мм дистиллированной воды (при 20 °С). Жидкость соответствует ГОСТ, если первая капля воды упадет в стакан не ранее чем через 3 ч.

13.22.2. Жизнеспособность эпоксидного клея определяют на пробной навеске в 30 - 50 г. Технологическая жизнеспособность характеризуется по появлению отрыва нитей в клее при извлечении из него периодически погружаемой стеклянной палочки (желательно до 1 ч), адгезионная жизнеспособность - по потере прилипаемости к клею пальца руки в перчатке или рукавице (не более 4 ч). Время полимеризации при температуре 20±2 °С должно быть не более 8 ч. Время полимеризации клея с ускорителем твердения при t = 20±2 °С не должно превышать 70 мин.

13.23. Соответствие бетона защитного слоя по ровности проверяют контрольной трехметровой рейкой, просветы под которой (не более двух) не должны превышать 5 мм в направлении вдоль уклона и 10 мм - поперек уклона. Чистоту поверхности и сплошность бетона оценивают визуально. Влажность бетона контролируют по изменению цвета листа бумаги, смоченного в 1-процентном растворе фенолфталеина и приложенного в течение 5 мин к поверхности бетона: появление малиново-красного пятка на листе свидетельствует о том, что влажность бетонной поверхности более 8 %.

13.24. Стабильность 10 %-ной водной эмульсии гидрофобизирующей жидкости определяют следующим образом. В медном сосуде готовят 1-процентную эмульсию. Тщательно перемешивают I мин. Эмульсия считается стабильной, если в течение 2 ч выдерживания в покое не наблюдается ее расслаивания.

При приготовлении эмульсии контролируют также соблюдение дозировки и времени перемешивания. При нанесении составов проверяют сплошность покрытия, следят за режимом работы форсунок, расходом материалов и соблюдением других требований пп. 13.12 - 13.20.

13.25. Эффективность гидрофобизации проверяют через двое-трое суток после обработки, опрыскивая поверхность водой. Если вода не впитывается и бетон не увлажняется (не темнеет), то обработка считается удовлетворительной.

Контроль эффективности обработки бетона эпоксидными вяжущими выполняют при помощи 10-процентного раствора соляной кислоты, наносимого на обработанную поверхность. Отсутствие взаимодействия кислоты с цементным калием (вспенивание раствора) свидетельствует о положительном результате.

14. РЕМОНТ УЗЛА СОПРЯЖЕНИЯ МОСТА С НАСЫПЬЮ).
ОБЩИЕ ПОЛОЖЕНИЯ. СОСТАВ РАБОТ

14.1. Для устранения недопустимых углов перелома микропрофиля проезжей части в случае наличия в узле сопряжения переходных плит необходимой длины и качественной засыпки за устоем (см. п. 2.50.1) выполняются следующие виды работ:

- срезка и профилировка обочин и откосов с заделкой мест размывов;

- устройство водоотводных лотков вдоль кромки проезжей части и водосбросных лотков по откосам насыпи;

- укладка водонепроницаемого покрытия на обочинах (при усовершенствованных типах покрытия проезжей части);

- восстановление слоев дорожной одежды с устранением недопустимых углов перелома профиля покрытия в зоне сопряжения моста с насыпью и на подходах.

14.2. При ремонте узла сопряжения, дефекты которого вызваны неблагоприятными грунтово-влажностными условиями, за устоем (см. п. 2.50.2) проводят работы по замене связных грунтов и устройству перехватывающего дренажа.

14.3. При ремонте узла сопряжения с дефектами, обусловленными недостаточной длиной переходных плит, их отсутствием или разрушением, проводят работы по замене (укладке новых) переходных плит. При необходимости заменяют связный грунт за устоем на дренирующий и устройство перехватывающего дренажа. Если в сопряжении не было переходных плит, их укладке должны предшествовать работы по устройству прилива для опирания на опоре.

14.4. Для устранения недопустимых углов перелома профиля в зоне сопряжения моста с насыпью и на подходах в необходимых местах удаляют покрытие, затем укладывают основание с проектным профилем и восстанавливают покрытие на участке от края моста до водосбросных лотков (при их отсутствии на участке длиной не менее 10 м).

Покрытие устраивают из асфальтобетона толщиной 9 см. Щебеночное основание на этом участке устраивают толщиной 30 см. В целом прочность дорожной одежды на этом участке не должна быть меньше, чем на подходах к мосту.

Условия замены грунтов дренирующими

14.5. Связный грунт верхней части насыпи заменяют дренирующим при следующих узлах сопряжения по увлажнению (см. п. 2.1)

по типам:

- I - для дорог I-III категорий в любых климатических зонах;

- II - то же, что и для I типа, а для дорог IV-V категорий в I-III климатических зонах;

- III - для всех категорий дорог в любых климатических зонах.

14.6. Толщину слоя дренирующего материала под лежнем с Кф ³ 4 м/сут для переходных плит длиной 4 (6 и 8) м принимают:

- 0,3 (0,4) м - во всех зонах и при любом типе узла сопряжения по увлажнению для супесей легких пылеватых, в IV-V зонах для суглинков и глин;

- 0,4 (0,5) м - в III зоне при любом типе узла по увлажнению для супесей пылеватых, суглинков и глин;

- 0,6 (0,8) и 0,7 (1,0) м - в I-III зонах при I-II типах по увлажнению для супесей пылеватых и для суглинков (глин);

- 1,0 (1,2) м и 1,7 (2,0) м - в I-II зонах при III типе по увлажнению для супесей пылеватых и для суглинков (глин).

14.7. Замену грунта по всей ширине насыпи проводят при высоте насыпи (Н) за устоем, превышающей глубину (h1) заложения дренирующей засыпки (см. рис. 2.15, прил. I.I, разд. 2, табл. 1.2).

14.8. При H £ h1, проводят замену грунта только под щебеночной подготовкой лежня.

Для снижения возможности увлажнения грунтов за устоем капиллярным поднятием от уровня грунтовых вод устраивают водонепроницаемую изолирующую прослойку (грунт, обработанный органическим вяжущим, битумная или из другого водонепроницаемого материала плита и т.п.) по границе раздела дренирующего и местного грунтов на участке сопряжения.

14.9. При толщине песчаного основания под лежнем более 0,3 м в целях экономии устраивают основание в виде дренажной прорези шириной, равной ширине подошвы щебеночной подготовки под лежнем (см. рис. 2.15). Прорезь выводится на оба откоса, профиль дна прорези делают двускатным. При ориентировании откоса насыпи на юг профиль дна прорези рекомендуется делать односкатным с уклоном в южную сторону.

14.10. Работы по устройству перехватывающего дренажа выполняют в такой последовательности:

- снятие покрытия и слоев дорожной одежды на участке, превышающем по ширине размеры траншеи под дренаж, не менее чем на I м в каждую сторону;

- устройство траншеи под дренаж;

- выполнение дренажной засыпки на всю ширину насыпи;

- укладка слоев дорожкой одежды;

- восстановление обочин.

14.11. Работы по перекладке переходных плит выполняют в следующей очередности:

- снятие покрытия и слоев дорожной одежды над переходными плитами;

- демонтаж переходных плит и лежней;

- снятие плит укрепления откосов и конусов;

- снятие слоя щебеночной подготовки;

- снятие грунта верха насыпи за устоем до назначенного уровня подошвы дренирующей засыпки;

- устройство дренажной прорези под лежнем, дренирующей засыпки, щебеночной подготовки под переходные плиты;

- укладка лежней и переходных плит;

- восстановление слоев дорожной одежды и покрытия;

- устройство водоотводных лотков вдоль покрытия и сбросных лотков с откоса насыпи;

- укладка водонепроницаемого покрытия на обочинах;

- укрепление откосов насыпи и конусов;

- при необходимости выполняют комплекс работ по устройству перехватывающего дренажа (см. п. 14.8).

14.12. Работы по замене (укладке новых) переходных плит включают комплекс работ, указанных в п. 14.9, в том числе устройство перехватывающего дренажа. При необходимости производят также замену связного грунта дренирующим. Кроме того, установке новых переходных плит должны предшествовать работы по устройству прилива для опирания их на опоре.

Технология производства работ

14.13. Снятие покрытия и слоев дорожной одежды проводят обычным способом отбойными молотками и бульдозером ЭД-25050.

14.14. Устройство траншеи под перехватывающий дренаж производят вручную, дно траншеи уплотняют электротрамбовками в соответствии с указаниями типового проекта 3.503-41-B.3.

14.15. Устройство засыпки под перехватывающий дренаж:

- засыпку под перехватывающий дренаж отсыпают из щебня (см. п. 2.45);

- для уплотнения щебня применяют ручные электротрамбовки ИЭ Даугавпилсского завода "Электроинструмент" или импортные (ГДР) самопередвигающиеся виброплиты марок SVP и BSD в соответствии с Рекомендациями по проектированию и строительству сопряжений автодорожных мостов и путепроводов с насыпью / Союздорнии. - М., 1975.

14.16. Восстановление слоев дорожной одежды производят обычно способом с соблюдением требований нормативных документов.

14.17. Водоотводные лотки из сборных железобетонных блоков или из монолитного бетона (на месте) вдоль покрытия и водосбросные лотки на откосах насыпи устраивают в соответствии с технологией, предусмотренной в типовых проектах, разработанных Союздорпроектом (инв. № 14899/01).

14.18. Водонепроницаемое покрытие на обочинах устраивают из асфальтобетона или грунта, обработанного вяжущим - битумом, карбомидными смолами.

14.19. Строповку блоков переходных плит производят специальными захватами, обжимающими плиту по ее толщине.

Переходные плиты снимают автокраном, например типа К-67 и K-I04.

Строповку лежневых блоков осуществляют "в обхват". Перед подъемом (снятием) плит они должны быть откопаны. Запрещается использовать старые строповочные петли.

14.20. Щебеночную подготовку под лежень и переходные плиты снимают экскаватором со складированием материала для повторного использования при соблюдении требований к щебню по п. 2.45.

14.21. Послойное уплотнение щебеночной подготовки выполняют малогабаритными механизмами в соответствии с требованиями проекта 3.503-41-B.3.

Нижний слой щебня крупностью 40 - 70 мм, толщиной 5 см должен быть втрамбован в дренирующую засыпку. Затем отсыпают слой щебня крупностью 40 - 70 мм, толщиной 40 см и уплотняют. В этот слой втрамбовывают щебень крупностью 10 - 20 мм для расклинивания.

14.22. Снятие плит укрепления откосов и конусов производят специальными контейнерами (для плит демонтируемых вручную) или автокранами (для плит больших размеров) с применением для строповки захватов, обжимающих плиту по толщине.

14.23. Снятие грунта верха насыпи за устоем до назначенного уровня подошвы дренирующей засыпки осуществляют экскаватором-планировщиком Э-3332 с погрузкой и вывозом грунта.

14.24. Устройство дренажной прорези под лежнем см. п. 14.14.

14.25. Работы по устройству дренирующей засыпки производят в два приема - до уровня подошвы щебеночного основания под лежень, - до уровня щебеночного основания дорожной одежды и плит.

14.26. При устройстве засыпки за устоем необходимо руководствоваться Схемой послойной отсыпки, разравнивания и уплотнения дренирующего грунта увлажнением до полного водонасыщения, разработанной в проекте инв. № 14839/01.

14.27. Для засыпки за устоем применяется дренирующий материал, не подверженный распаду с коэффициентом фильтрации, определяемым по методике Союздорнии не менее 4 м/сут. Содержание пылеватых частиц (< 0,05 мм) не более 2 %, эффективный диаметр частиц aэф > 0,1 мм, коэффициент неоднородности > 3. В качестве одного из таких материалов может быть использован мелкий, средне - или крупнозернистый песок с аналогичными характеристиками.

14.28. Укладку лежня и переходных плит производят обычным путем, как и при строительстве, в соответствии с указаниями проекта 3.503-41-B.3.

14.29. Работы по укреплению откосов насыпи и конусов производят в соответствии с требованиями СНиП III-8-76, СНиП III-40-78, СНиП 2.05.03-84. При этом могут быть применены технологические карты ТК-05-82, разработанные Оргдорстроем Миндорстроя УССР.

14.30. Устройство прилива на шкафной стенке для опирания переходных плит, при его отсутствии (см. рис. 14.1а) производится после разработки бетона ее верхней части на высоту, равную толщине укладываемых плит +600 мм, размещением и закреплением арматуры прилива в соответствии с типовым проектом 3.503-16, разработанным Воронежским комплексным отделом Гипроавтотранса, и омоноличивания совместно со шкафной стенкой бетоном М-300.

 

Рис. 14.1. Устройство прилива на опорной стенке для опирания переходных плит

а - при наличии шкафной стенки; б - при отсутствии шкафной стенки

I - приливка для опирания переходных плит

14.31. При отсутствии шкафной стенки устоя (рис. 14.1б) изготовление ее и монтаж производят в соответствии с проектом 3.503-16.

15. ТРЕБОВАНИЯ БЕЗОПАСНОСТИ

15.1. Все работы по ремонту элементов мостового полотна должны проводиться в соответствии с проектом производства работ (ППР), утвержденным в установленном порядке. В ППР должны быть предусмотрены технические решения и организационные мероприятия по обеспечению безопасности работ и санитарно-гигиеническому обслуживанию работающих. Кроме документов, указанных в п. 1.9, при составлении ШР необходимо учитывать соответствующие стандарты ССБТ, а также СНиП II-92-76 "Вспомогательные здания и помещения промышленных предприятий" и Инструкцию по проектированию бытовых зданий и строительно-монтажных помещений СН 276-74. Рекомендуется также пользоваться Руководством по учету техники безопасности и производственной санитарии в проектах производства работ / ЦНИИОМТП Госстроя СССР. - М.: Стройиздат, 1980.

15.2. К работам могут допускаться лица не моложе 18 лет, прошедшие медицинский осмотр, а также обучение и инструктаж в соответствии с ГОСТ 12.0.004-79.

15.2.1. Лица, производящие работы на высоте более 5 м, должны пройти специальное обучение и иметь удостоверение на право верхолазных работ.

15.2.2. Лица, допускаемые к эксплуатации дорожно-строительных машин, автотранспорта, а также компрессорного, энергетического, сварочного и работающего под давлением оборудования, должны иметь удостоверения на право работы на них.

15.2.3. Лица, допускаемые к эксплуатации электрического оборудования, должны иметь соответствующую группу электробезопасности (Правила технической эксплуатации электроустановок потребителей и Правила техники безопасности при эксплуатации электроустановок потребителей, гл. 3.1.3, прил. Б.4, утвержденные Минэнерго СССР 21.12.84).

15.2.4. Лица, допускаемые к работам с материалами, содержащими вредные вещества (битум, бензин, толуол, ацетон ксилол, эпоксидные смолы и добавки к ним, индустриальное масло и др.), должны быть проинструктированы и знать меры безопасности при работе с ними.

Лица, постоянно занятые на работах с материалами, содержащими вредные вещества, должны проходить периодическое медицинское обследование в соответствии с приказом Минздрава СССР № 700 от 19.04.84.

К работе с материалами, содержащими вредные вещества, не должны допускаться лица с заболеваниями кожи, а также с ее повреждениями (раны, трещины, ссадины, ожоги и др.).

15.3. Все работающие должны пользоваться средствами индивидуальной защиты (СИЗ), предусмотренными действующими нормами и по защитным свойствам соответствующими виду и условиям работ.

При выборе СИЗ следует руководствоваться их классификацией по защитным свойствам, установленной в стандартах ССБТ (ГОСТ 12003-74 (СТ СЭВ 790-77) ССБТ "Опасные и вредные производственные факторы. Классификация", ГОСТ 12.4.164-85. "Обувь специальная для защиты от механических воздействий", ГОСТ 12.4.034-85 "Средства индивидуальной защиты органов дыхания. Классификация"), а также рекомендациями в "Образцах моделей средств индивидуальной защиты для работников дорожного хозяйства" (М.: Транспорт, 1984) с учетом ежегодной "Номенклатуры средств индивидуальной защиты, распределяемых Союзглавспецодеждой".

В комплексе с СИЗ следует применять различные кремы, пасты и т.п. по ГОСТ 12.4.068-79.

15.3.1. При работе с битумными мастиками, грунтовками, эмульсиями, лаками и т.д. следует пользоваться спецодеждой и спецобувью группы с индексом "Н" (защита от нефтепродуктов). Например, костюмы ГОСТ 12.4.111-82 (мужские) и ГОСТ 12.4.112-82 (женские), обувь ГОСТ 12.4.137-84, рукавицы ГОСТ 12.4.010-75 (из парусины с накладками из винилискожи Т одежной водостойкой "Шторм").

15.3.2. При работе с эпоксидными смолами или другими материалами, в которых используются органические растворители (ацетон, толуол, ксилол и т.д.), нужно пользоваться спецодеждой и спецобувью группы "О" (защита от органических растворителей, лаков, красок). Костюмы ТУ 84-485-74, обувь ТУ 17-06-52-79, полиэтиленовые (или резиновые) перчатки, обязателен головной убор, закрывающий волосы.

15.3.3. При работе с ГКЖ используют спецодежду и спецобувь группы "В" (защита от воды). Костюмы ГОСТ 12.4.043-78, сапоги резиновые ГОСТ 5375-79, рукавицы ГОСТ 12.4.010-75 (из парусины с накладками из прорезиненных тканей МГН-566 и ИРП-1129).

15.3.4. При работе с пылящими веществами (цемент, асбест) следует пользоваться спецодеждой и спецобувью группы "П" (защита от нетоксичных веществ). Костюмы ГОСТ 12.4.086-80 (мужские) и ГОСТ 12.4.085-80 (женские), обувь ГОСТ 12.4.137-84, рукавицы ГОСТ 12.4.010-75 (хлопчатобумажные с накладками).

15.3.5. Для защиты органов дыхания в случаях превышения на рабочих местах предельно допустимых концентраций (ПДК) вредных веществ (ГОСТ 12.1.005-76) необходимо пользоваться соответствующими СИЗ. При повышенном содержании пыли - противопылевыми респираторами (например, У-2К, "Астра-2" и др.). Для защиты от вредных газов применяют респираторы РПГ-67А, РУ-60 МА или промышленные фильтрующие противогазы с фильтрующей коробкой "А" (защита от паров органических веществ: бензина, ацетона, бензола и его гомологов и т.п.).

При пескоструйной обработке различных поверхностей необходимо пользоваться шлемами с принудительной подачей воздуха (например МИОТ-49).

15.3.6. Для защиты глаз от вредных веществ используют защитные очки закрытой» типа с непрямой вентиляцией (тип ЗН).

15.4. На рабочих местах должны находиться средства для оказания первой (доврачебной) помощи пострадавшим: аптечка, перевязочные материалы запасы или средства подачи чистой воды, мыло, чистые полотенца или салфетки и т.д.

При попадании гидроизолирующих составов или их компонентов на открытые части тела пораженные места следует немедленно очистить и обработать соответствующими материалами (см. табл. 15.1).

15.5. Пожарная безопасность на рабочих местах должна обеспечиваться в соответствии с требованиями ГОСТ 12.1.004-85 и ГОСТ 12.4.009-83. В ППР должны быть определены: виды, количество, размещение и содержание первичных средств пожаротушения, порядок хранения веществ, тушение которых недопустимо одними и теми же средствами, источники и средства подачи воды для пожаротушения.

Все работающие должны знать, где находятся предметы пожаротушения и уметь ими пользоваться.

Подходы к ним должны быть свободными, размещение и состояние должно обеспечивать немедленное введение в действие. Огнетушители должны быть защищены от воздействия прямых солнечных лучей и нагревательных приборов.

Загоревшиеся материалы, содержащие нефтепродукты и органические растворители, тушить водой запрещается.

Таблица 15.1

Технологические материалы

Виды оказания первой помощи

Составы на основе битума
(мастики, грунтовки и др.)

Загрязнение удалить тампоном (чистой салфеткой, ветошью), смоченным в керосине (при охлажденном материале можно в бензине;. "Пораженное место промыть теплой водой с мылом и перевязать чистой повязкой

Составы, включающие эпоксидные смолы, отвердители

Загрязнение смыть теплой водой с мылом. Пораженное место протереть тампоном, смоченным в этиловом спирте, и смазать вазелином или другой жирной мазью

Прочие состав (ГК латекс и др.)

Загрязнение смыть теплой водой с мылом При попадании любого состава в глаза их необходимо немедленно промыть водой

В качестве профилактических средств применяют защитные дерматологические средства (ГОСТ 12.4.068-79).

15.6. Все вредные и легковоспламеняющиеся вещества должны храниться в герметически закрывающихся емкостях, имеющих надписи "Огнеопасно", "Яд", и складироваться в специально оборудованных местах на огражденной и охраняемой территории.

Пользоваться открытым огнем в местах хранения и использования горючих материалов запрещается.

15.7. Электробезопасность на участках работ должна обеспечиваться в соответствии с требованиями ГОСТ 12.1.030-81 и ГОСТ 12.1.019-79.

15.8. В случае производства работ на проезжей части без прекращения движения место работ должно ограждаться в соответствии с ВСН 179-84 Минавтодора РСФСР "Инструкция по организации движения и ограждению места производства дорожных работ". Организация работ в этих случаях должна исключать передвижение работающих по открытой для движения части дороги.

15.9. Место работ должно быть освещено в соответствии со СНиП II-4-79. Естественное и искусственное освещение.

15.10. Для предупреждения падения людей с высоты необходимо:

- использовать защитные средства в соответствии с ГОСТ 12.4.059-78 и ГОСТ 24258-80;

- обозначать места и указывать способы крепления предохранительных поясов и страховочных канатов;

- устанавливать пути подхода или средства доставки людей к рабочим местам.

15.11. На время работ в зоне водоема должна быть организована служба по спасению людей на воде. На мосту должны находиться спасательные круги.

15.12. При эксплуатации машин, механизмов и оборудования необходимо обеспечить:

- их устойчивость и нормальный режим работы;

- достаточное пространство для маневрирования машины и для обзора машинистом рабочей зоны.

15.13. При одновременной работе на одном участке нескольких машин или машин и работающих вручную людей следует пользоваться заранее установленной сигнализацией (звуковой, световой, знаковой). Значение сигналов должны знать все, работающие на этом участке.

15.14. В зоне работ должны устанавливаться знаки безопасности по ГОСТ 12.4.026-76.

15.15. К эксплуатации допускают только исправные машины, механизмы и оборудование, имеющие все надлежащие приборы и устройства, обеспечивающие их безопасную работу, в частности:

- контрольно-измерительные приборы - КИП (манометры, термометры и др.);

- приборы безопасности (предохранительные клапаны у оборудования, работающего под давлением, ограничители подъема и поворота стрелы у грузоподъемных машин и др.);

- защитные ограждения (у открытых токоведущих или движущихся частей, у распиливающих гидроизолирующие материалы форсунок и др.).

На КИП должны быть отметки о сроках проведения проверочных испытаний, а на их шкалах - отметки у цифры предельно-допускаемого рабочего параметра.

15.16. На корпусах (или других элементах) машин, механизмов и оборудования, подлежащих периодическому испытанию, должны быть надписи о сроках его проведения. Проведение испытания должно быть удостоверено соответствующим документом (актом, техническим паспортом или специальным журналом).

15.17. Трубопроводы и шланги, работающие под давлением, должны иметь надежные соединения. Применять для этого проволочные скрутки или штуцера с неисправной резьбой запрещается.

Перед присоединением шлангов к потребителям (устройствам для нанесения гидроизолирующих или ремонтных составов, пневмоинструменту и др.), а также по окончании работ их следует тщательно продуть сжатым воздухом.

Присоединять шланги к распределительному воздухопроводу, а также к потребителю можно только при закрытом вентиле воздухопровода.

В ходе работ необходимо следить, чтобы шланги не подвергались механическому или тепловому воздействию, не имели контакта с электрическими проводами, не перегибались и не перекручивались.

15.18. Машины, механизмы и оборудование, распределяющие материалы, содержащие токсичные вещества (например, толуол, ксилол, ацетон, эпоксидную смолу, отвердители, бензин, индустриальное масло и др.) необходимо заправлять только механизированным способом (автогудронатором, насосной или вакуумной установкой и т.п.).

При перекачивании токсичных жидкостей следует пользоваться дюритовыми или бронированными шлангами, места соединений которых должны иметь надежную герметизацию. После перекачивания жидкость должна полностью стечь из шланга.

15.19. При эксплуатации машин, механизмов и оборудования необходимо соблюдать требования по безопасной работе, содержащиеся в соответствующих нормативных документах (правилах, инструкциях и др.), а также в технической документации.

15.20. При приготовлении гидроизолирующих составов следует принимать меры, предупреждающие их выплескивание, вспенивание, разлив, образование брызг и аэрозолей. Разминать, смешивать и растворять компоненты руками нельзя.

15.20.1. Варочный котел для битумных составов должен заполняться не более чем на 0,75 объема. Во избежание вспенивания битума во время подогрева следует применять пеногаситель СКТН-1. Если битум вспенивается и переливается через крышку котла, необходимо немедленно выключить нагревательные устройства, а при использовании твердого топлива - залить топку водой. Температура смеси в котле не должна превышать 170 °С (чтобы не было вспышки).

15.20.2. При приготовлении грунтовки разогретый битум вливают в бензин и перемешивают деревянными мешалками. Температура битума в момент смешивания не должна превышать 90 °С. Место смешения битума с бензином должно находиться на расстоянии не менее 50 м от места их разогрева.

15.20.3. При приготовлении составов на основе эпоксидных смол ручным способом. Инструменты для перемешивания составов должны иметь защитные экраны на ручке инструмента (из металла или твердого картона).

15.21. При приготовлении и укладке составов с применением нефтепродуктов и органических смол и растворителей необходимо пользоваться СИЗ для защиты органов дыхания (см. п. 15.3.5). При проведении этих работ люди должны находиться с наветренной стороны от источника вредных испарений.

15.22. Очищать и промывать горячей водой с мылом загрязненные гидроизолирующими составами инструмент и емкости разрешается только в специально отведенных местах, оборудованных отстойниками. Предметы, испачканные смолами или отвердителями, предварительно очищаются ацетоном. Загрязненный ацетон сливают в герметически закрывающуюся тару.

15.23. Загрязненные гидроизолирующими составами протирочные материалы (ветошь, салфетки и др.), картонные экраны с ручного инструмента, неиспользованные составы и загрязненный при очистке ацетон сжигают или закапывают в согласованных с санэпидемстанцией специально отведенных местах.

15.24. Для отдыха и приема пищи должны быть выделены (если нет специальных помещений) места, где исключается контакт с технологическими материалами.

15.25. По окончании работы СИЗ, имеющие загрязнения составами, содержащими эпоксидную смолу или отвердители, необходимо очистить ацетоном. Выносить СИЗ из рабочей зоны и стирать спецодежду на дому запрещается.

15.26. Хранить СИЗ следует на производственных участках в специальных шкафах.

15.27. Стирку спецодежды производят централизованным порядком, загрязненную гидроизолирующими составами - раздельно в зависимости от компонентов (нефтепродукты, эпоксидные смолы и т.д.).

15.28. По окончании работы с гидроизолирующими материалами работающие должны тщательно вымыть водой с мылом руки и лицо и принять теплый душ.

16. ОХРАНА ПРИРОДНОЙ СРЕДЫ

16.1. Предобъектную производственную площадку выбирают, как правило, за пределами водоохранной зоны. Ее местоположение должно быть согласовано с природоохранными органами.

Территория площадки должна быть спланирована с обеспечением поверхностного водоотвода. Сток воды с участков, где находятся машины, оборудование или другие объекты, выделяющие загрязнения, должен осуществляться в отстойники.

Степень необходимой очистки сточных вод в отстойниках устанавливают санитарно-техническим расчетом в соответствии с Правилами охраны поверхностных вод от загрязнения сточными водами (утвержденные Минздравом СССР, Минрыбхозом СССР и Министерством мелиорации и водного хозяйства СССР 16.05.74).

Скапливающиеся на дне отстойников осадки и плавающие материалы должны вывозиться для уничтожения в места, отведенные по согласованию с местными органами санитарного надзора.

Сброс очищенных сточных вод в реку можно производить только с разрешения органов санитарно-эпидемиологической службы и рыбоохраны в местах, указанных этими органами.

16.2. На участках производства работ должны быть емкости для сбора мусора, обтирочных материалов, загрязненных изоляционными веществами, и слива загрязненных растворителей.

Мусор и загрязненные материалы должны уничтожаться в согласованных с санэпидемстанцией местах, где их сжигают или закапывают.

Стоянка машин, свалка мусора, слив технологических материалов в пределах водоохранной зоны не разрешается.

16.3. Заправка машин топливом и маслами должна производиться на стационарных или передвижных заправочных пунктах в специально отведенных местах. Заправка стационарных машин, машин с ограниченной подвижностью (катки, экскаваторы и др.), двигателей внутреннего сгорания силового оборудования должна производиться автозаправщиком только с помощью шлангов, имеющих запорные устройства у выпускного отверстия.

Применение для заправки открытых емкостей (ведер и др.) запрещается.

Отработанные и заменяемые масла следует собирать в специальные емкости. Слив масел на растительный или почвенный покров запрещается.

16.4. При случайном попадании в водоемы нефтепродуктов в объеме, который может привести к превышению предельно допустимой концентрации, должны быть немедленно приняты меры по предотвращению их распространения и последующему удалению. Одним из способов может служить окружение места загрязнения цепью шарнирно соединенных (тросом или кольцами) бревен, уменьшение площади загрязнения путем стягивания ограждающих бревен, посыпка загрязненной поверхности абсорбирующим материалом (пенополиуретан, торф, опилки и т.п.) и его удаление.

16.5. Машины и оборудование в зоне работ должны находиться только в период их использования.

Загромождать предобъектную производственную площадку неиспользуемыми или предназначенными для ремонта в стационарных условиях машинами и оборудованием, а также излишними технологическими материалами и отходами производства запрещается.

16.6. Основными условиями исключения загрязнения природной среды при приготовлении технологических материалов являются соблюдение установленных режимов, соответствие исходного сырья и топлива данному процессу, соблюдение производственной и технологической дисциплины.

16.7. Доставку технологических смесей на место работ осуществляют в специально оборудованных транспортных средствах.

Выгрузку технологических смесей производят в специальные расходные емкости или на подготовленное основание. Выгрузка смеси на землю не допускается.

16.8. Очистку и промывку машин, перевозивших технологические смеси, производят в специально отведенных местах. Воду после промывки отводят в отстойники.

16.9. При нанесении гидроизоляционных составов следует принимать меры, исключающие попадание их в реки.

16.10. Степень загрязнения атмосферы при производстве работ регламентируется Методическими указаниями по установлению норм предельно допустимых выбросов для производственных предприятий отрасли "Дорожное хозяйство", утвержденными Минавтодором РСФСР 30.06.83.

Приложение I (разд. 2)

МЕТОДИКА ОБСЛЕДОВАНИЯ И ОЦЕНКА СОСТОЯНИЯ
УЗЛОВ СОПРЯЖЕНИЯ МОСТА С НАСЫПЬЮ

1. Работы по обследованию и оценке состояния узлов сопряжения моста с насыпью проводят в два этапа:

- предварительное - с целью выявления дефектов, их оценки, классификации, определения причин появления и решения вопроса о необходимости ремонта;

- детальное - для принятия конструктивно-технологического решения по ремонту узла сопряжения.

2. Предварительное обследование рекомендуется проводить осенью в период наибольшего выпадения осадков, когда помимо деформаций земляного полотна и дорожной одежды возможно выделить на обочинах и покрытии участки с затрудненным поверхностным водоотводом и уточнить длину участков дороги, с которых осуществляется сток к сооружению.

3. Предварительное обследование включает:

- изучение и оценку технической документации на сооружение, выяснение года строительства моста (узла сопряжения), вида и времени проведенных за период эксплуатации ремонтных работ;

- определение основных параметров элементов сопряжения по исполнительной документации с уточнением в натуре, а именно:

- общей характеристики узла сопряжения (характер продольного профиля мостового перехода; высота насыпи за устоем; тип и основные параметры устоя; конструкция узла сопряжения);

- наличия и типа водоотводных лотков;

- оценки деформации насыпи за устоем;

- описания деформаций дорожной одежды;

- уровня паводковых (ливневых) вод с вероятностью превышения 0,1 (10 %), грунтовых вод в зоне насыпи;

- грунтово-геологического строения основания насыпи за устоем;

- типа грунта, примененного для насыпи в зоне узла сопряжения.

4. Тип и вид деформаций земляного полотна визуально оценивают по следующим показателям: общие и местные просадки; деформации конусов, откосов и их укреплений; углубления с застоем воды; колеи и выбоины; возвышение обочин над проезжей частью; размыв, сплывы и обрушения откосов и их укреплений; деформации водоотводных и водосбросных лотков.

5. Деформации дорожной одежды характеризуют микропрофиль по одному из следующих признаков: просадки отсутствуют, слабо или явно выражены плавные просадки, пандусообразный микропрофиль. Кроме того, при наличии выравнивающего (ремонтного) слоя на покрытии указывают характер его стыка с дорожным покрытием (в одной плоскости, короткий пандус, порожек).

6. На основе анализов результатов предварительного обследования выявляют:

- возможные источники увлажнения грунтов за устоем и тип узла сопряжения по увлажнению;

- соответствие длины переходных плит (если они есть) местным условиям (требования табл. 2.5);

- степень завершенности осадок насыпи подхода, их предстоящую величину и длительность;

- необходимость ремонта.

7. По результатам предварительного обследования делают вывод о возможных источниках увлажнения насыпи на подходе.

Увлажнение поверхностными водами следует учитывать при наличии на обочинах углублений с застоями воды, а также трещин, проломов и выбоин на покрытии.

Приток влаги к сооружению вдоль кромки проезжей части необходимо учитывать в случаях, когда величина продольного уклона в сторону сооружения превышает поперечный уклон обочин. Приток влаги к узлу сопряжения по дренирующим слоям дорожной одежды принимают во внимание при наличии продольного уклона не менее 20 %.

Увлажнение от уровня грунтовых или поверхностных вод около насыпи учитывают в основном в случаях, если разность в отметках уровня воды и подошвы подготовки под лежень или низа дорожной одежды не удовлетворяет требованиям СНиП 3.06.03-85 табл. 21. Принимают во внимание также, что уровень поверхностных вод около насыпи влияет на состояние откосов насыпи и конусов.

8. На основании данных, выявленных по п. 3 данного приложения, характеризуют тип узла сопряжения по увлажнению, исходя из следующей классификации:

- расположенные на горизонтальном или выпуклом продольных профилях дорог, когда вероятность подтопления паводковыми водами уровня подошвы песчаного слоя под лежнем менее 0,1 (10 %) - I тип;

- расположенные на вогнутом участке продольного профиля дороги или на участке с уклоном с такой же вероятностью подтопления паводковыми водами, как и в первом случае. - II тип.

При расположении моста на участке дороги с уклоном узел сопряжения с верховой стороны относят ко II типу, а с низовой - к I.

Если грунты выше подошвы песчаного слоя основания под лежнем подтопляют грунтовые или пойменные воды чаще чем с вероятностью 0,1 (10 %), узлы сопряжения мостов относят к III типу.

9. На основе данных о высоте, ширине и грунтах насыпи за устоем, характере и времени отсыпки и уплотнения этих грунтов, а также на основе данных о грунтах основания выделяют наиболее существенные факторы развития общих осадок и делают заключение о степени завершенности и предстоящей величине и длительности осадок насыпи подхода.

В большинстве случаев общие осадки за счет доуплотнения основания заканчиваются: при песчаных и супесчаных грунтах не позднее чем через 3 года эксплуатации; при суглинках - 3 - 5 лет; при глинистых грунтах - 5 - 10 лет. Максимальные сроки соответствуют влажным и сильно увлажненным грунтам.

Длительность осадок насыпи за счет доуплотнения ее грунтов ограничивается, как правило, двумя годами эксплуатации.

10. По конструктивному решению устоя и узла сопряжения устанавливают следующее:

- возможность разрушения верхней части конусов за счет вибрации консольной части пролетного строения, отсутствия шкафной стенки;

- характер дренирования влаги из насыпи при массивных устоях с обратными стенками;

- соответствие длины переходных плит и мощности подготовки под лежнем требованиям пп. 2.46 и 2.47;

- способ опирания переходных плит на устой, если они в настоящее время отсутствуют.

11. Детальные обследования рекомендуется проводить весной

в период наибольшего увлажнения грунтов насыпи. При этом отдельно обследуют участки проезжей части по полосам въезда на мост и съезда с него.

12. Основные задачи, решаемые при детальном обследовании, заключаются в следующем:

- оценка состояния грунтовой засыпки, ровности покрытия на участках подходов;

- определение снижения динамического воздействия от автомобилей на дорожную одежду;

- выбор вида ремонтных работ (исходя из требований пп. 2.50.1 - 2.50.3);

- определение объемов ремонтных работ по устранению деформаций элементов узла сопряжения;

- установление экономической эффективности выполненных мероприятий по ремонту.

13. Оценку состояния грунтовой засыпки за устоем производят путем закладки скважин или шурфов и испытания полученных образцов грунта. Скважины или шурфы закладывают у кромки проезжей части на удалении от моста, равном высоте насыпи подхода, но не более 8 м. Глубину взятия проб грунта устанавливают в соответствии с данными табл. П1.1.

Таблица П1.1

Максимальные глубины отбора грунта при
детальных обследованиях узлов сопряжения

Тип грунта насыпи за устоем

Дорожно-климатические зоны

Глубина скважин, м

Супесь:

 

 

легкая

I-IV

1,7

пылеватая

I-II

2,4

 

III-IV

1,8

Суглинки, глины

I-II

3,2

 

III-IV

2,0

14. Образцы грунта отбирают с глубины, соответствующей низу основания дорожной одежды, по всем встречающимся типам грунтов, при однородном строении - через 0,5 м. В полевых условиях для каждого образца определяют естественную влажность и плотность, в лаборатории - те же характеристики, но при стандартном уплотнении, а также величину сцепления, угол внутреннего трения и модуль упругости, влажность на границе текучести или полную влагоемкость (для песков), коэффициент влагопроводимости (для песков - коэффициент фильтрации).

15. На основе полученных данных делают заключение о соответствии в весенний период влажностных и прочностных параметров грунтов насыпи за устоем оптимальным уровням для данного мостового перехода, когда грунт на всю глубину скважины или шурфа является средне- или крупнозернистым песком с коэффициентом фильтрации Кф ³ 4 м/сут, углом внутреннего трения не более 40° и средней относительной влажностью не больше, значений, приведенных в табл. П1.2.

Таблица П1.2

Максимально допустимые значения относительной
влажности грунтов за устоем

Дорожно-климатическая зона

Коэффициент фильтрации песчаного основания, Кф, м/сут

Продольный уклон земляного полотна на подходе, %

Максимальная относительная влажность в расчетный период (весной)

I-II

³ 2

0

0,69

 

 

40

0,67

 

 

80

0,64

 

³ 4

0

0,66

 

 

40

0,63

 

 

80

0,59

III

³ 2

0

0,70

 

 

40

0,68

 

 

80

0,65

 

³ 4

0

0,72

 

 

40

0,70

 

 

80

0,66

IV

³ 2

0

0,74

 

 

40

0,69

 

 

80

0,66

 

³ 4

0

0,71

 

 

40

0,69

 

 

80

0,64

16. Ровность проезжей части оценивают путем нивелирования покрытия по створу, расположенному по правой полосе (1 - 1,5 м от кромки покрытия на въезде и съезде с моста) с шагом между точками I м, на участке (длиной не менее 10 м) с выраженными деформациями.

В местах с резко выраженным переломом микропрофиля располагают дополнительные точки (краевые точки пандуса, стыки выравнивающего слоя со старым покрытием и т.п.).

По полученному микропрофилю устанавливают длину участков с недопустимой ровностью покрытия, регламентируемой данными табл. 2.6.

17. Степень динамического воздействия автомобилей на дорожную одежду устанавливают по величине углов перелома микропрофиля с помощью графика на рис. П.1.1.

18. Экономическую эффективность выполненных ремонтных работ оценивают по величине снижения скоростей движения автомобилей до выполнения ремонта и после в соответствии с графиками на рис. П.1.2.

 

Рис. П.1.1. Зависимость динамического коэффициента
автомобиля ЗИЛ-130 от угла перелома микропрофиля

Рис. П.1.2. Зависимость величины относительно снижения скорости
автомобиля при проезде сопряжения моста с насыпью от
ровности покрытия:

а - грузовые; б - легковые; в - автобусы

 

Приложение 2 (разд. 5)

ИНСТРУМЕНТ ДЛЯ СВЕРЛЕНИЯ ОТВЕРСТИЙ В БЕТОНЕ

Таблица П2.1

Основные характеристики кольцевых алмазных сверл

 

Наименование

Наружный диаметр сверла (по диаметру получаемого отверстия в бетоне), мм

8, 12, 16

20, 25, 32, 40, 45, 55, 60, 70, 80, 90, 100, 110, 125, 140, 160

Длина сверла, мм

250

350

Тип сверла
(марка бетона, класс по прочности

CKA-I (до М300, до В 22,5)

СКА-2 М300 ¸ 500, В 22,5 ¸ 40

СКА-3 М500 ¸ 800, В 40 ¸ 60

Завод-изготовитель

Кабардино-Балкарский завод алмазного инструмента, пос. Мерск Кабардино-Балкарской АССР

 

Таблица П2.2

Основные характеристики серийных станков и машин
для сверления отверстий в бетоне кольцевыми алмазными сверлами

 

Наименование

Модели машин

ИЭ-1801

ИЭ-4353 с консольным редуктором

ИЭ-1805

МС-50М

ИП-1023

1

2

3

4

5

6

Параметры сверления, мм:

 

 

 

 

 

диаметр

50-125

20-80

85-160

20-50

20-25

глубина

280

300

380

270

220

Частота вращения шпинделя, мин-1

700/1300

700/1300

600/850

2900

12000

Тип привода

Электродвигатель

Пневмодвигатель

Мощность двигателя, кВт

2,2

2,2

3

1,1

0,9

Рабочее напряжение, В

220

220/380

220/380

36

-

Давление, кПа:

 

 

 

 

 

сжатого воздуха

-

-

-

-

500

охлаждающей жидкости

200

200

200

200

200

Габаритные размеры, мм

 

 

 

 

 

длина

1440

1050

1250

780

550-690

ширина

510

465

600

400

133

высота

1120

1180

1420

140

195

Масса, кг:

 

 

 

 

 

без грузов

140

125

130

10,5

5,4

с грузами

200

-

200

-

-

Завод-изготовитель: Одесский завод строительно-отделочных машин.

Приложение 3 (разд. 8)

МАТЕРИАЛЫ И СРЕДСТВА МЕХАНИЗАЦИИ ДЛЯ
ГИДРОИЗОЛЯЦИИ ПО ВСН 32-81

Таблица П3.1

Горячие битумные мастики

 

 

 

 

Компоненты мастики

Состав мастик в частях по массе

климатические зоны, средняя температура наиболее холодных суток

I, до минус 20 °С

II, ниже минус 20 °С до минус 40 °С

III, ниже минус 40 °С

Марки мастик

Ю-I

Ю-2

С-3

1

2

3

4

Битум нефтяной пластбит для изоляции нефтегазопроводов по ТУ 38.101580-75

 

 

 

Миннефтепрома или мастика МБР по ГОСТ 15836-79

95-100

85-90

75-80

Индустриальное масло И-50А по ГОСТ 20799-75

5-0

15-10

25-20

Асбест № 7 (хризотиловый) по ГОСТ 12871-83

0

0

25-20

Битум нефтяной строительный БН 70/30 по ГОСТ 6617-76

90-100

75-80

 

Индустриальное масло И-50А

10-0

25-20

 

Асбест № 7

0

25-0

 

Битум нефтяной специальной марки БНК по ТУ 38.01566-75

95

85-90

 

Индустриальное масло И-50А

5

15-10

 

Асбест № 7

0

25-0

 

 

Таблица П3.2

Составы грунтовок

 

 

Вид грунтовки

Состав грунтовки

Вязкость по ВЗ-4
при 20 °С, с

материал

содержание в долях по массе

Битумная

Горячий битум (90 °С) (см. табл. П8,1.1)

25-30

10-15

Бензин А-72, ГОСТ 2084-77

75-70

Битумно-каучуковая

Битумно-бутилкаучуковая мастика МББ-Х-120 по ТУ 21-27-39-74

50

10-15

Бензин А-72 или скипидар по СТУ 12-12-142

50

 

Таблица П3.3

Материалы заводского изготовления

Наименование

ГОСТ

Ткань льно-джуто-кенафная паковочная

ГОСТ 5530-81

№ 2, 3 и технического назначения

 

№ I, 2, обработанная антисептиком

 

Сетки стеклянные тканые марки

 

Эз-200

ГОСТ 19907-83

CC-I, СС-5

ТУ 6-11-99-75 Минхимпрома

ЭТС-5

ТУ 6-11-232-71 Минхимпрома

Сетка стеклянная нетканая НПСС-Т-Г

ТУ 6-11-381-81 Минхимпрома

Гидростеклоизол гидроизоляционный

ТУ 400-1-51-75 Главмоспромстройматериалы

Фольгоизол

ГОСТ 20429-84

Мостоизол

ТУ 21-27-122-78

Бутизол

ТУ 38.103301-75 Миннефтехимпрома

Гидробутил

ТУ 21-27-54-76 МПСМ (Минпромстройматериалы)

 

Таблица П3.4

Средства механизации и инвентарь

Тип механизма иди инвентаря

Изготовитель или держатель чертежей

Техническая характеристика

Назначение

I

2

3

4

Виброрейка СО-47

Одесский з-д строительно-отделочных машин

Производительность 40-50 м2
Ширина рабочей полосы - 2 м,
габариты 2300´1020´475 мм, масса 80 кг

Уплотнение бетона выравнивающего и защитного слоев

Машина СО-107

Минский ф-л ВНИИСМИ, заводы Минстройдормаша

Производительность 100-120 м2/ч, габариты 2000´900´1100 мм, масса 105 кг

Сушка поверхности основания

Агрегат с инфракрасным излучением

Киевский Оргтехстрой Минпромстроя

-

То же

Бачки; тележка ручная со сменными емкостями для перевозки битумной грунтовки

Оргтехстрой Минпромстроя БССР

Грузоподъемность 250 кг

Транспортирование грунтовки

Огрунтовочный агрегат (комплект)

То же

Производительность 3000-3500 м2/см

Огрунтовка основания

Битумопульт 0-45, С-562

Вильнюсский з-д строительно-отделочных машин

Производительность 1200 м2/см

То же

Битумоварочный агрегат с котлом типа УБ-1

Пермский механический з-д

Производительность 6-8 т/см, емкость 8 м3, масса 13-17 т

Приготовление и разогрев битумных мастик

Автоматизированная установка МЭРБ-500 с электроразогревом

Симферопольский экспериментальный ремонтно-механический з-д

Производительность 3,2-4 т/см емкость 1,2 м3, масса 800 кг

Приготовление и разогрев битумных мастик

Бачок-термос битумораспылительный

Ленинградский з-д строительных механизмов треста Энергомеханизация

Производительность 1200 м2/см вместимость 0,1 м3, габариты 924´1456´1800 мм, масса 220 кг

Механизированное нанесение горячих битумных мастик

Бескомпрессорный агрегат конструкции В. Кораблева и Л. Куца

Заводы Главстроймеханизации Минтрансстроя

Производительность 400-600 м2/см, вместимость 0,2 м3, габариты 2100´1100´1300 мм

То же

Агрегат конструкции А. Салькова и К. Галкина

Мостопоезд № 435 Главмостостроя Минтрансстроя

Производительность 2500 м2/см

Механизированное устройство битумной мастичной армированной гидроизоляции

Устройство СО-108

Минский ф-л ВНИИСМИ

Производительность 3200 м2/см габариты 1065´950´950 мм, масса 57 кг

Раскатка и прикатка рулонного материала

Установка для наклейки рулонных материалов

ЦЭКБ Строймехавтоматика, ЦНИИОМТП Госстроя СССР

Производительность 1500 м2/см, емкость бака для мастики - 100 л, габариты I340´I688´977 мм, масса 307 кг

Наклейка рулонного материала на горячей и холодной мастиках

Укладчик рулонных материалов

СКБ Главмосстроя

Производительность 1200-1500 м2/см, габариты 1540´1320´1100 мм, масса 46 кг

Наклейка рулонного материала на холодной и горячей мастиках

Нож для резки

КБ треста Росинструмент Минместпрома РСФСР

 

Резка рулонных материалов

Агрегат типа укладчика ЦНИИС

ЦНИИС, ПКБ Минтрансстроя

Производительность 1000 м2/см, габариты 1745´I624´1135 мм, масса 600 кг, скорость перемещения 0,65 м/мин

Оплавление покровного слоя утяжеленных рулонных материалов, наклейка его и прикатка

Агрегат типа АОМ-II

Оргтехстрой Центротяжстроя

Производительность 450-550 м2/см, габариты 1090´1495´970 мм, масса 495 кг

То же

Многофакельная пропановая горелка типа ГВПЛ

ВНИИАвтогенмаш

Производительность 1000 м2/см ширина зоны разогрева - 1090 мм, количество факелов 19 шт., масса 11 кг

Оплавление покровного слоя утяжеленного рулонного материала

Воздушно-пропановая нагревательная горелка ГВПН-1 и ГВПН

То же

Производительность 480 м2/см, длина 630 мм, масса 1,5 кг

То же

 

Приложение 4.1 (разд. 9)

БИТУМНО-ЛАТЕКСНАЯ ЭМУЛЬСИЯ (ТЕХНИЧЕСКИЕ
ТРЕБОВАНИЯ И МЕТОДЫ ИСПЫТАНИЯ
ПО ТУ 218 БССР 49-83)

Свойства битумно-латексной эмульсии должны соответствовать следующим требованиям.

Показатель

Норма

Метод испытания

Содержание битума с каучуком и эмульгатором, %

60-65

по ГОСТ 18659-81

Вязкость при 20 °С, с

20-25

То же

Устойчивость при хранении по остатку на сите с сеткой № 014, % не более:

 

 

через 7 дней

0,7

 

-"- 30 -"-

1,2

 

через 60 дней

1,9

 

Устойчивость при транспортировании по распаду на битум и воду

 

-"-

Свойства битумно-каучукового вяжущего (мастики), содержащегося в битумно-латексной эмульсии, должны быть следующие:

Показатель

Норма

Метод испытания

Температура размягчения по кольцу и шару, не ниже °С

Плюс 80

По ГОСТ 11506-73

Растяжимость, см, не менее

 

 

при плюс 25 °С

30

По ГОСТ 11505-75

при 0 °С

10

 

Хладостойкость. Отсутствие трещин при изгибе образца, выдержанного 24 ч при температуре, например, минус 25 °С.

Образец изгибают на 180° вокруг охлажденного стержня диаметром 20 мм

Не выше минус 25 °С

Из 50 г мастики развальцовывают пленку толщиной 0,4 мм. Вырезают три образца размером 20´60 мм и испытывают

Водонасыщение, % не более

1,0

По ГОСТ 9812-74

Водонепроницаемость в течение 6 ч, МПа, не менее

0,6

По методике ТУ 218 БССР 49-83 (см. п. 2 настоящего прил.)

1. Битумно-латексную эмульсию испытывают через сутки после приготовления. Предварительно каждую пробу процеживают через сито с сеткой № 1.25 по ГОСТ 6613-73. Перед процеживанием сито тщательно смачивают 1-процентным раствором едкого натра.

Для получения из эмульсии битумно-каучукового вяжущего (для определения температуры размягчения, растяжимости, хладостойкости и водонасыщения) эмульсию в количестве не менее I кг наливают в сосуд с широким дном, ставят на электроплиту и при непрерывном помешивании выпаривают воду при температуре 105 - 110 °С. Заканчивают процесс по прекращении выделения пузырьков пара.

2. На специальном приборе (рис. П.4.1.1) определяют водонепроницаемость для образцов мастики, изготовленных напылением с армированием стеклотканью. При испытании используют следующие приборы и принадлежности:

- прибор для определения водонепроницаемости;

- оборудование для нанесения эмульсии (рис. П.4.1.2);

- стекло 200´300 мм;

- металлический шаблон (рис. П.4.1.3);

- автомобильный насос (компрессор).

 

Рис. П.4.1.1. Прибор для определение водонепроницаемости

1 - клемма;
2 - воздух;
3 - испытываемый материал

 

Рис. П.4.1.2. Схема оборудования лабораторной установки
по нанесению битумно-латексной мастики

1 - емкость с эмульсией; 2 - емкость с коагулянтом; 3 - компрессор;
4 - соединительные шланги; 5 - удочка; 6 - форсунка

Испытание на водонепроницаемость проводят следующим образом.

На стекло, смазанное тонким слоем борной мази (или глицерина), напыляют лабораторным оборудованием гидроизоляционное покрытие (вяжущее, армированное стеклотканью). Затем покрытие снимают со стекла, помещают на деревянную подставку и металлическим шаблоном вырубают три образца гидроизоляции диаметром 60 мм.

После выдерживания в течение 24 ч при температуре 20±2 °С, образец помещают в гнездо прибора для определения водонепроницаемости, закрывают диэлектрической пластиной с впаенным электропроводником и зажимают пластину прижимной гайкой. К корпусу прибора и электропроводнику, впаянному в диэлектрическую пластину (изолированную от корпуса прибора), подключают электрическую цепь с сигнальной лампочкой. В бачок наливают воду температурой 20±2 °С, герметизируют его, а затем с помощью насоса (компрессора) постоянно поднимают давление до 0,6 МПа. Вода из бачка под давлением подается в камеру прибора. Образцы покрытия выдерживают под давлением воды 0,6 МПа в течение 6 ч. Покрытием считается выдержавшим испытание, если ни один из образцов по истечении 6 ч не пропустит воду. При просачивании воды через образец электрическая цепь замыкается, и зажигается сигнальная лампочка.

 

Рис. П.4.1.3. Шаблон для выручки образцов из мастики

 

Приложение 4.2

Рис. П.4.2 (разд. 9). Схема эмульсионной установки ЭУ-10

Емкости: I - для сульфатного мыла; 2 - 4 - для вязкого битума; 5 - для жидкого битума;
6, 7 - битумные расходные; 8 - для латекса; 9, 10 - для воды; 11, 14 - расходные для раствора
эмульгатора; 12 - диспергатор; 13 - для отбора проб готовой эмульсии;
15, 16 - емкости для готовой эмульсии; 17 - мешалка; 18 - площадка

Приложение 4.3 (разд. 9)

ОБОРУДОВАНИЕ И МЕХАНИЗМЫ ДЛЯ ПРОИЗВОДСТВА
ИЗОЛЯЦИОННЫХ РАБОТ

Таблица П.4.3.1

Тип механизма или инвентаря

Назначение

Автогудронатор, битумовоз, емкости объемом до 6 т, металлические бочки

Доставка битумно-латексной эмульсии на объект

Компрессор, производительность 15 м3

Сушка и очистка основания от пыли и грязи

Установка ПМ-12, производительность 20 л/мин, (рис. П.4.3.1 и (табл. 4.3.2)

Грунтовка поверхности эмульсией, нанесение битумно-латексной мастики

Каток-раскатчик

Раскатка армирующих материалов

Груженые автомашины с чистыми протекторами массой до 5 т, движущиеся со скоростью не более 1 км/ч

Укатка выполненной гидроизоляции

 

Рис. П.4.3.1.Схема установка для нанесения битумно-латексной мастики:

1 - резервуар для эмульсии и коагулянта; 2 - компрессорная установка;
3 - центробежный насос; 4 - подвижная опора; 5 - шланги подачи
эмульсий, коагулянта и воздуха; 6 - распылитель; 7 - шасси; 8 - пульт управления

 

Таблица П4.3.2

Возможные неисправности распылителя ПМ-12,
их причины и способы устранения

Неисправности

Причины

Способы устранения

Слишком распыленная струя, сильное туманообразование

Повышенное давление и чрезмерно большая подача воздуха

Уменьшить давление и подачу воздуха

Недостаточная подача материалов

Увеличить подачу материалов

Чрезмерное расстояние между распылителем и изолируемой поверхностью

Приблизить распылитель к поверхности

Недостаточное распыление (струйность)

Пониженное давление воздуха

Отрегулировать давление воздуха

Недостаточное поступление воздуха

Проверить и устранить места утечки воздуха и засорения шлангов

Слишком вязкая эмульсия

Проверить вязкость эмульсии: переменит ее в емкости

Прерывистый факел; перебои

Засорилось сопло

Разобрать и промыть сопло

Материал в резервуаре на исходе

Наполнить резервуары

Недостаточное давление воздуха

Отрегулировать давление воздуха

Отсутствует подача материалов в распылитель

Засорилось сопло

Прочистить сопло

Перегнулись шланги

Выпрямить шланги

Засорилась сетка в резервуаре

Прочистить сетку

 

Приложение 5.1 (разд. 13)

МАТЕРИАЛЫ, ПРИМЕНЯЕМЫЕ ДЛЯ УЛУЧШЕНИЯ ГИДРОИЗОЛЯЦИОННЫХ
СВОЙСТВ БЕТОНА ЗАЩИТНОГО СЛОЯ

Таблица П.5.1.1

Общие сведения о материалах

Наименование

Стандарт

Завод-изготовитель

I

2

3

Материалы для гидрофобизации

Жидкость гидрофобизирующая 136-41

ГОСТ 10834-76

Химзавод, г. Данков Липецкой обл., Химкомбинат г. Усолье-Сибирское Иркутской обл., Химкомбинат г. Редкино Калининской обл., з-д "Кремнийполимер" г. Запорожье

Жидкость 119-215

ТУ 6-02-1-430-851

То же

Эмульсия (50 %) КЭ-30-04

ТУ 5-02-816-73

- ² -

Жидкость кремнийорганическая ГКЖ-11 и ГКЖ-10

ТУ 6-02-696-76

- ² -

Желатин полиграфический и технический

ГОСТ 4821-77

 

Поливиниловый спирт (сольвар)

ГОСТ 10779-78

 

Сульфитно-дрожжевая бражка (СДБ)

МРТУ 13-04-35-66

 

Мыло хозяйственное (60 %)

ОСТ 18-358-80

 

Материалы для эпоксидных вяжущих

Эпоксидная смола ЭД-20

ГОСТ 10587-84

Охтинский химический комбинат

Алкилрезорционовая эпоксидная смола ЭИС-1

ТУ 38-1091-76

Сланцехимический комбинат "Кохтла-Ярве" им. Ленина Эстонская ССР

Отвердители

 

 

Полиэтиленполиамин (ПЭПА)

ТУ 6-02-594-85

Магазины химреактивов

Диэтилентриамин (ДЭТА)

ТУ 6-02-914-81

То же

УП-0633 М

ТУ 6-05-241-46-75
ТУ 6-05-1863-78

- ² -

Сложный амин

ТУ 6-01-1231-80

- ² -

Кубовый остаток гексаметилендиамин (ГМДА)

ТУ ГСИХ 1036-59
ТУ 6-09-342-70

- ² -

Пластификаторы

 

 

Фуриловый спирт

СТУ 89-257-62
ОСТ 59-127-73

Ферганский з-д фурановых соединений Узбекской ССР

Дибутилфталат

ГОСТ 8728-77Е

Магазин Химреактивов

Полиэфиркрилат МГФ-9 или ТГМ-3

ТУ МХП БУ-17-56
ТУ 6-0I-I23I-80

То же

Сланцевый дистиллят коксования (сламор)

ТУ 38-10931-76

Сланцехимический комбинат "Koxтла-Ярве"

Мономер ФА

МРТУ 6-05-945-64

Магазин Химреактивов

Каменноугольный деготь марки Д-З, Д-4, Д-5

ГОСТ 4641-80

То же

Ускорители

 

 

Солянокислый анилин

ГОСТ 5822-78

- ² -

Хлорное железо (красное)

ГОСТ 4147-74

- ² -

Растворители

 

 

Ацетон технический

ГОСТ 2768-84

 

Толуол

ГОСТ 5789-78

 

Растворитель Р-4

ГОСТ 7827-74

 

Растворитель № 646

ГОСТ 18188-72

 

Этилцеллозольв технический

ГОСТ 8313-76

 

Материалы для контроля качества

Фенолфталеин

ГОСТ 5850-72

 

Кислота соляная техническая

ГОСТ 857-78

 

__________

1 ТУ выполнены Миннефтехимпромом, Минхимпромом.

Пластификаторы снижают вязкость клея и придают ему определенные свойства.

Например, мономер ФА повышает теплостойкость, фуриловый спирт позволяет наносить клей на влажные поверхности.

Отвердители по своим качествам различны - ПЭПА и ДЭТА можно применять с ускорителями твердения и без них, сложные амины и УП-0633 М - только в клеях, используемых при положительной температуре. Их вводят в состав клея в повышенном количестве по сравнению с ПЭПА и ДЭТА. ДЭТА вводят в клей при положительных температурах в количестве в 1,5 - 2 раза меньшем чем ПЭПА и в 4 раза меньшем чем УП-0633 М или сложные амины.

Химикаты, входящие в состав клея, хранят в сухом прохладном помещении при температуре от 0° до +20 °С, смолы в упакованном виде - в обычных складских условиях, отвердители и полиэфиркрилаты - в стеклянных бутылях, дибутилфталат и фуриловый спирт - в металлических емкостях или стеклянных бутылях, каменноугольный деготь - в металлической закрытой таре.

Гарантийный срок хранения компонентов клея - 12 месяцев (со дня изготовления). Срок хранения полиэфиркрилата в теплое время года - 3 мес, в остальное - 6 мес.

Таблица П.5.1.2

Основные показатели кремнийорганических жидкостей

Материал и показатель

Характеристика (величина) показателей

I

2

Жидкость 136-41

 

Внешний вид

Бесцветная или слабо-желтая

Плотность, при 20 °С, г/см3

0,995-1,003

Гарантийный срок хранения, мес

12

Растворитель для жидкости

Углеводород, керосин, бензин

Степень агрессивности и токсичности

Коррозийно не активна, вредных паров и газов не выделяет

Содержание активного водорода, %

1,30-1,42

Вязкость кинематическая, мм2/с при 20 °С (сСт)

50-165

Реакция среды (рН)

6-8

Гидрофобизирующая способность, не менее ч

3

КЭ-30-04
(50-процентная эмульсия жидкости 136-41)

 

Внешний вид

Жидкость белого цвета

Гарантийный срок хранения

6

Стабильность после разведения, ч

³ 24

Концентрация водородных ионов (рН) 25-процентного раствора

5,5-7,0

Содержание кремния, %

16,5-19,5

Содержание активного водорода, %

0,6-0,8

Гидрофобизирующая способность, не менее ч

3

Жидкость 119-215

 

Внешний вид

Жидкость желтоватого цвета

Плотность при 20 °С, г/см3

0,93-0,96

Гарантийный срок хранения, мес

12

Растворитель для жидкости

Углеводород, керосин, ацетон

Степень агрессивности и токсичности

Коррозионно не активна, вредных паров и газов не выделяет

Вязкость кинематическая, мм2/с при 20 °С

10-30

Горючесть

Горюча, температура вспышки 80 °С

 

Приложение 5.2 (разд. 13)

СПЕЦИАЛЬНОЕ ОБОРУДОВАНИЕ И ИНВЕНТАРЬ,
ИСПОЛЬЗУЕМЫЕ ПРИ ПРОИЗВОДСТВЕ РАБОТ
ПО ГИДРОФОБИЗАЦИИ БЕТОНА И НАНЕСЕНИЮ
ЭПОКСИДНЫХ ВЯЖУЩИХ

Наименование оборудования или инвентаря и его показатели

Характеристика показателей

I

2

Окрасочный агрегат С0-5А

 

Завод-изготовитель

Назрановский з-д "Электроинструмент" (г. Назрань ЧИАССР)

Производительность, м2

400

Расход воздуха, м3/мин

0,5

Рабочее давление, МПа

0,3-0,4

Масса, кг

30

Эмульсатор кавитационный роторный
лабораторный (Росдорнии)

 

Завод-изготовитель экспериментального образца

Ростовский НПЦ НПО Росдорнии

Производительность 10-процентной водной эмульсии, кг/ч

200

Число оборотов, об/мин

8000

Потребляемая мощность, кВт

1,7

Масса, кг

160

Габариты, мм

520´400´1140

Передвижное оборудование для нанесения изоляционных слоев РД-601

 

Завод-изготовитель

Мытищинский ОЭЗ

Производительность, м2

250

Ширина распределения, м

1,0

Количество форсунок в распределителе, шт.

8

Шаг установки форсунок, мм

250

Рабочее давление, МПа

0,2-0,4

Габариты, мм:

 

в транспортном положении

1200´650´1200

в рабочем

2400´1500´950

Масса, кг

100

Инвентарь

 

Весы рычажные, предел измерения, кг

100

Рейка контрольная длиной, м

3

Вискозиметр, тип

ВЗ-4

Ведра, молотки, щетки, кисти и т.п.

 

 

ЛИТЕРАТУРА

1. Инструкция по окраске металлических конструкций, эксплуатируемых на автомобильных дорогах РСФСР мостов, путепроводов, паромных переправ, ограждений и дорожных знаков / ЦБНТИ Минавтодора РСФСР. - М., 1980.

2. Рекомендации по ремонту поверхностей бетонных и железобетонных элементов мостов с использованием средств механизации / Гипродорнии Минавтодора РСФСР. - М., 1986.

3. Руководство по применению химических добавок к бетону / НИИЖБ Госстроя СССР. - М., 1975.

4. Рекомендации по применению конструкций деформационных швов с резиновыми компенсаторами при строительстве и ремонте пролетных строений автодорожных мостов и путепроводов / Гипродорнии Минавтодора РСФСР. - М., 1986.

5. Методические рекомендации по проектированию и устройству конструкций деформационных швов в автодорожных и городских мостах и путепроводах / Союздорнии Минтрансстроя. - М., 1982.

6. Рекомендации по ремонту и содержанию деформационных швов в малых и средних мостах на автомобильных дорогах / Минавтодор РСФСР. - М., 1982.

 

Перечень ГОСТов,
использованных в "Руководстве по ремонту элементов
мостового полотна автодорожных мостов"

12.0.004-79

Организация обучения работающих безопасности труда. Общие положения

12.1.004-85

Пожарная безопасность, Общие требования

12.1.005-76

Воздух рабочей зоны. Общие санитарно-гигиенические требования

12.1.019-79

Электробезопасность. Общие требования и номенклатура видов защиты

12.1.030-81

Электробезопасность. Защитное заземление, зануление

12.4.009-83

Пожарная техника для защиты объектов. Основные виды. Размещение и обслуживание

12.4.010-75

Средства индивидуальной защиты. Рукавицы специальные. Технические условия

12.4.026-76

Цвета сигнальные и знаки безопасности

12.4.034-85

Средства индивидуальной защиты органов дыхания. Классификация и маркировка

12.4.043-78

Костюмы мужские для защиты от воды. Технические условия

12.4.059-78

Строительство. Ограждения защитные инвентарные. Технические условия

12.4.068-79

Средства индивидуальной защиты дерматологические. Классификация и общие требования

12.4.085-80

Костюмы женские для защиты от нетоксичных веществ. Технические условия

12.4.086-80

Костюмы мужские для защиты от нетоксичных веществ. Технические условия

12.4.111-82

Костюмы мужские для защиты от нефти и нефтепродуктов. Технические условия

12.4.112-82

Костюмы женские для защиты от нефти и нефтепродуктов. Технические условия

12.4.137-84

Обувь специальная кожаная для защиты от нефти и нефтепродуктов, кислот, щелочей, нетоксичной и взрывоопасной пыли. Технические условия

40-80

Гуанид Ф. Технические условия

305-82

Топливо дизельное. Технические условия

310.3-76

Цементы. Методы определения нормальной густоты, сроков схватывания и равномерности изменения объема

380-71*

Сталь углеродистая общего назначения. Марки и технические требования

450-77

Кальций хлористый технический. Технические условия

483-75*

Канаты пеньковые. Технические условия

931-78

Листы и полосы латунные. Технические условия

2084-77

Бензины автомобильные. Технические условия

2768-84

Ацетон технический. Технические условия

2770-74

Масло каменноугольное для пропитки древесины. Технические условия

2874-82

Вода питьевая. Гигиенические требования и контроль за качеством

3057-79

Пружины тарельчатые. Технические условия

4147-74*

Железо треххлористое 6-водное. Технические условия

4543-71*

Сталь легированная конструкционная. Технические условия

4641-80

Дегти каменноугольные для дорожного строительства. Технические условия

4821-77*

Желатин полиграфический и технический. Технические условия

5530-81*

Ткани упаковочные и технического назначения. Технические условия

5781-82*

Сталь горячекатаная для армирования железобетонных конструкций. Технические условия

5789-78*

Толуол. Технические условия

5822-78*

Анилин гидрохлорид. Технические условия

5850-72

Фенолфталеин

6613-73*

Сетки проволочные тканые с квадратными ячейками. Технические условия

6617-76*

Битумы нефтяные строительные. Технические условия

7313-75*

Эмали ХВ-785 и лак ХВ-784. Технические условия

7473-85

Смеси бетонные. Технические условия

7827-74*

Растворители марок Р-4, Р-4А, Р-5, Р-5А, P-12, Р-24 для лакокрасочных материалов. Технические условия

8269-87

Щебень из естественного камня, гравий и щебень из гравия для строительных работ. Методы испытаний

8313-76

Этилцеллозольв технический. Технические условия

8481-75

Ткани авиационные из стеклянных крученых комплексных нитей. Технические условия

8728-77Е*

Пластификаторы. Технические условия

8735-75

Песок для строительных работ. Методы испытания

8736-85

Песок для строительных работ. Технические условия

9128-84

Смеси асфальтобетонные дорожные, аэродромные и асфальтобетон. Технические условия

9355-81

Грунтовка XC-010, эмаль XC-710, лак ХС-76. Технические условия

9812-74*

Битумы нефтяные изоляционные. Технические условия

10144-74

Эмали XB-124 различных цветов и XB-125

10178-85

Портландцемент и шлакопортландцемент. Технические условия

10181.1-81

Смеси бетонные. Методы определения удобоукладываемости

10268-80

Бетон тяжелый. Технические требования к заполнителям

10354-82*

Пленка полиэтиленовая. Технические условия

10587-84

Смолы эпоксидно-диановые неотвержденные. Технические условия

10779-78

Спирт поливиниловый. Технические условия

10834-76

Жидкость гидрофобизирующая 136-41. Технические условия

10835-78

Масло сланцевое для пропитки древесины. Технические условия

11505-75

Битумы нефтяные. Метод определения растяжимости

11506-73

Битумы нефтяные. Метод определения температуры размягчения по кольцу и шару

11604-79

Латекс синтетический СКД-1C. Технические условия

12871-83

Асбест хризотиловый. Технические условия

15836-79

Мастика битумно-резиновая изоляционная. Технические условия

16118-70

Пружины винтовые цилиндрические сжатия и растяжения из стали круглого сечения. Технические условия

16557-78

Порошок минеральный для асбестобетонных смесей. Технические условия

18188-72

Растворители марок 645, 646, 647, 648 для лакокрасочных материалов. Технические условия

18659-81

Эмульсии битумные дорожные. Технические условия

19204-73

Полотна текстильные и штучные изделия. Метод определения несминаемости

19281-73

Сталь низколегированная сортовая и фасонная

19904-74

Прокат листовой холоднокатаный. Сортамент

19907-83

Ткани электроизоляционные из стеклянных крученых комплексных нитей. Технические условия

20429-84

Фольгоизол. Технические условия

20799-75

Масла индустриальные общего назначения. Технические условия

22245-76

Битумы нефтяные дорожные вязкие. Технические условия

23143-83

Эмали ЭП-773. Технические условия

23732-79

Вода для бетонов и растворов. Технические условия

24258-80

Средства подмащивания. Классификация и общие технические требования

24379.0-80

Болты фундаментные. Общие технические условия

24379.1-80

Болты фундаментные. Конструкция и размеры

25192-82

Бетоны. Классификация и общие технические требования

26633-85

Бетон тяжелый. Технические условия

26804-86

Ограждения дорожные металлические барьерного типа. Технические условия

 

ТЕХНИКО-ЭКОНОМИЧЕСКИЕ ПОКАЗАТЕЛИ КОНСТРУКТИВНО-ТЕХНОЛОГИЧЕСКИХ РЕШЕНИЙ РУКОВОДСТВА ПО РЕМОНТУ ЭЛЕМЕНТОВ МОСТОВОГО ПОЛОТНА АВТОДОРОЖНЫХ МОСТОВ

Экономическая эффективность работ по ремонту железобетонных поверхностей тротуаров, ограждений, перил (в соответствии с технологией разд. 4 и 5).

Таблица ТЭП-1

Характеристика работ

Показатели1 на I м моста

на I мост средней длины 36 м

экономический эффект,
руб.

экономия трудозатрат,
чел.-ч

экономия цемента, песка,
кг

Гидрофобизация

4,6/165

0,37/13,2

-

Комбинированная обработка (е нанесением после гидрофобизации лакокрасочных покрытий

10,1/363,6

0,6/21,6

 

Торкретирование для восстановления защитного слоя (до 30 мм)

9,5/342

2,3/84

2,5/90

Торкретирование для восстановления разрушения (свыше 30 мм)

4,7/169,2

1,1/40

5,0/180

_____________

1 Принято в соответствии с Рекомендациями по ремонту поверхностей бетонных и железобетонных элементов мостов с использованием средств механизации / М., Гипродорнии, 1986.

Данные на I м моста взяты с учетом того, что площадь ремонтируемой поверхности составляет 1,2 г (в Рекомендациях на I м моста - 3,6 м поверхности).

Технико-экономические показатели технологии ремонта деформационных швов (в соответствии с технологией разд. 6)

Таблица ТЭП-2

Наименование показателей

Показатели на I м шва

на I м моста

тип шва

закрытого типа1

заполненного типа1

с резиновыми компенсатором1

1

2

3

4

Экономический эффект, руб.

9,45/4,7

11,25/5,6

200/24

Экономия трудозатрат, чел.-ч

4,6/2,3

4,3/2,1

-

Экономия материалов:

 

 

 

битум, кг

21/10

17/8

-

цемент, кг

9/4

6/3

-

металл, кг

6/3

4/2

-

бензин, дизельное топливо, л

1/0,5

0,4/0,2

-

щебень, кг

79/40

65/32

-

____________

1 Данные Расчета экономической эффективности использования Рекомендаций по ремонту и содержанию деформационных швов в малых и средних мостах / М., Гипродорнии, 1983.

2 См. Рекомендации по применению конструкций деформационных швов с резиновыми компенсаторами при строительстве и ремонте пролетных строений мостов и путепроводов / М., Гипродорнии, 1986.

Технико-экономические показатели метода улучшения гидроизоляционных свойств бетона защитного слоя (технология разд. 13)

Таблица ТЭП-3

Наименование

Ед. изм.

Показатели на I м2 изоляции поверхности

на I м моста

ремонт с восстановлением битумной мастичной гидроизоляции по ВСН 32-81 (базовый вариант)

методы улучшения

гидрофобизация

обработка (пропитка) эпоксидными вяжущими

комбинированная обработка

I

2

3

4

5

6

Приведенные затраты

руб.

16,60
132,8

7,47
59,8

9,63
77

11,25
90

Трудозатраты

чел.-ч

5,0
40

1,8
14,4

2,8
22,4

2,9
23,2

Стоимость материалов

руб.

9,65
77,2

3,86
30,9

5,16
41,2

6,64
53,2

Экономический эффект

руб.

-

9,13
73

6,97
55,8

5,35
42,8

Экономия трудозатрат

чел.-ч

-

3,2
25,6

2,2
17,6

2,1
16,8

Экономия материалов

руб.

-

5,79
46,3

4,5
36,0

3,0
24,0

Усредненные показатели на I м моста:

Экономический эффект

руб.

 

 

57,2

 

Экономия трудозатрат

чел.-ч

 

 

20

 

Экономия материала

руб.

 

 

35,4

 

_____________

1 Рекомендации по улучшению гидроизоляционных свойств одежды мостового полотна эксплуатируемых автодорожных мостов / М., Гипродорнии, 1987.

Эффективность устройства
выравнивающего слоя из особо плотного бетона
("жесткой" гидроизоляции) взамен обычной одежды
ездового полотна с битумной мастичной гидроизоляцией
(по технологии разд. 12)

Таблица ТЭП-4

Наименование показателя

Ед. изм.

Величина показателей на I м2 площади / на I м моста
(по данным отчета Госдорнии Мин-ва строит.
и экспл. авт. дорог УССР)

Экономический эффект

руб.

6,61/66,1

Экономия трудозатрат

чел.-ч

1,37/13,7

 

Эффективность устройства
обмазочной гидроизоляции по технологии разд. 11 с использованием эмали
XC-710
(по данным отчета Госдорнии Мин-ва строит. и экспл. авт. дорог УССР)

Таблица ТЭП-5

Наименование показателя

Ед. изм.

Величина показателей на I м2 площади гидроизоляции

на I м моста

Экономический эффект

руб.

7,75/62,0

Экономия трудозатрат

чел.-ч

1,85/14,8

 

Эффективность ремонта
гидроизоляции с использованием битумно-латексной мастики по технологии разд. 9
(по данным НПО Дорстройтехника)

Таблица ТЭП-6

 

 

Наименование показателя

Ед. изм.

Количество на I м2 поверхности

на I м моста

Экономический эффект

руб.

1,6/12,8

Экономия:

 

 

материалов

руб.

0,94/7,52

зарплаты

руб.

0,47/3,76

труда

чел.-ч

0,7/5,6

 

Экономический эффект
от внедрения технологии ремонта асфальтобетонного покрытия методом термопрофилирования по технологии разд. 3

ТЭП-7

Экономический эффект1 достигается за счет экономии материалов и составит в зависимости от количества добавляемой новой асфальтобетонной смеси - от 10 до 50 кг/м2 соответственно от 0,5 до 0,95 руб. на 1 м2 ремонтируемой площади или от 4,0 до 7,6 руб. на I м моста.

___________________

1 Данные Гипродорнии, отчет по теме СД-04-87 разд. I Технические правила производства работ по ремонту асфальтобетонных покрытий способами термопрофилирования с использованием термосмесителя ДЭ-232, М, 1987 (одобрен Минавтодором РСФСР 04.06.87 № ГПТУ-1-2/287).

 

Экономический эффект
устройства непрерывной плиты ездового полотна по технологии разд. 7

ТЭП-8

Эффективность мероприятия достигается за счет улучшения условий движения автотранспорта и снижения затрат на содержание и ремонт деформационных швов, количество которых резко сокращается.

Годовой экономический эффект1 составляет 1,5 руб. на I м2 площади ездового полотна или 12,0 руб. на I м моста.

_____________

1 См. НТО по теме П-ИС-01-82 р. 2 "Обзор состояния и исследование возможности реконструкции пролетных строений путем превращения их в температурно-неразрезные. - М., Гипродорнии, 1982.

 

Экономический эффект
ремонта узла сопряжения моста с насыпью по технологии разд. 14

ТЭП-9

Эффективность ремонта2 обусловлена снижением затрат на эксплуатацию моста и транспортных расходов, связанных с улучшением условий движения, составляет на 100 м моста около 1,75 тыс. руб. (2,8 тыс. руб. - 0,15´7,0 тыс. руб.). Таким образом, годовой экономический эффект на I м моста составит 17,5 руб.

_____________

2 См. НТО Волгоградского инженерно-строительного института по теме: Исследование вопроса обеспечения плавного сопряжения длительно эксплуатируемых мостов с насыпями. - Волгоград, 1979.

 

 

СОДЕРЖАНИЕ

Предисловие

1. Общие положения

2. Конструктивно-технологические решения, применяемые при ремонте мостового полотна

3. Ремонт асфальтобетонного покрытия методом термопрофилирования

4. Ограждающие устройства

5. Ремонт тротуаров и перил

6. Ремонт деформационных швов

7. Непрерывная плита ездового полотна

8. Ремонт гидроизоляции с использованием битумно-мастичных и рулонных материалов

9. Ремонт гидроизоляции с использованием битумно-латексной мастики

10. Битумная мастичная армированная гидроизоляция с защитным слоем из асфальтобетона

11. Обмазочная гидроизоляция с применением перхлорвиниловой эмали XC-710 и композиции на основе клея Спрут 5МДИ

12. Устройство гидроизоляционного слоя из особо плотного бетона

13. Улучшение гидроизоляционных свойств бетона защитного слоя

14. Ремонт узла сопряжения моста с насыпью

15. Требования безопасности

16. Охрана природной среды

Приложение I.

Методика обследования и оценка состояния узлов сопряжения моста с насыпью

Приложение 2.

Инструмент для сверления отверстий в бетоне

Приложение 3.

Материалы и средства механизации для гидроизоляции по ВСН 32-81

Приложение 4.1

Битумно-латексная эмульсия (технические требования и методы испытания по ТУ 218 БССР 49-83)

Приложение 4.2

Схема эмульсионной установки ЭУ-10

Приложение 4.3

Оборудование и механизмы для производства изоляционных работ

Приложение 5.1

Материалы, применяемые для улучшения гидроизоляционных свойств бетона защитного слоя

Приложение 5.2

Специальное оборудование и инвентарь, используемые при производстве работ по гидрофобизации бетона и нанесению эпоксидных вяжущих

Литература

Перечень ГОСТов

Технико-экономические показатели

 



© 2013 Ёшкин Кот :-)