Информационная система
«Ёшкин Кот»

XXXecatmenu

ГОСУДАРСТВЕННЫЙ СТАНДАРТ СОЮЗА ССР

СТУПЕНИ ЖЕЛЕЗОБЕТОННЫЕ И БЕТОННЫЕ

ГОСТ 8717.0-84

 

ГОСУДАРСТВЕННЫЙ КОМИТЕТ СССР ПО ДЕЛАМ СТРОИТЕЛЬСТВА

Москва

 

ГОСУДАРСТВЕННЫЙ СТАНДАРТ СОЮЗА ССР

СТУПЕНИ ЖЕЛЕЗОБЕТОННЫЕ И БЕТОННЫЕ

Технические условия

Reinforced concrete and concrete steps. Specifications

ГОСТ
8717.0-84*

Взамен
ГОСТ 8717-81

Постановлением Государственного комитета СССР по делам строительства от 23 апреля 1984 г. № 58 срок введения установлен

с 01.01.86

Несоблюдение стандарта преследуется по закону

Настоящий стандарт распространяется на железобетонные и бетонные ступени, изготовляемые из тяжелого бетона, легкого бетона и плотного силикатного бетона и предназначенные для устройства внутренних и наружных лестниц зданий и сооружений.

Бетонные ступени предназначены для устройства лестниц по сплошному основанию.

Ступени применяют:

для отапливаемых зданий и сооружений;

для неотапливаемых зданий и сооружений и на открытом воздухе при расчетной температуре наружного воздуха (средней температуре воздуха наиболее холодной пятидневки района строительства согласно СНиП 2.01.01-82) до минус 40 °С включительно;

при неагрессивной степени воздействия среды на железобетонные конструкции. Допускается применять ступени в зданиях и сооружениях с расчетной сейсмичностью до 9 баллов включительно, в неотапливаемых зданиях и сооружениях и на открытом воздухе при расчетной температуре наружного воздуха ниже минус 40 °С, а также в условиях воздействия агрессивной среды при соблюдении дополнительных требований, установленных проектной документацией в соответствии с требованиями СНиП II-7-81, СНиП 2.03.01-84, СНиП 2.03.11-85 и СН 165-76 и указанных в заказе на изготовление ступеней.

Показатели технического уровня, установленные настоящим стандартом, предусмотрены для ступеней высшей и первой категорий качества.

(Измененная редакция, Изм. № 1).

1. ТИПЫ, ОСНОВНЫЕ ПАРАМЕТРЫ И РАЗМЕРЫ

1.1. Ступени в зависимости от их формы и расположения в лестничном марше подразделяют на следующие типы:

ЛС - основная;

ЛСВ - верхняя фризовая;

ЛСП - площадочный вкладыш;

ЛСН - нижняя фризовая;

ЛСС - плоская для сквозных маршей.

Схемы расположения ступеней в лестничном марше приведены в справочном приложении.

1.2. Форма и размеры ступеней, а также их показатели материалоемкости должны соответствовать указанным на черт. 1, 2 и в табл. 1.

1.3. Ступени изготовляют железобетонными.

Основные ступени (типа ЛС) длиной до 1500 мм включительно для лестниц, устраиваемых по сплошному основанию, изготовляют бетонными.

1 - «постель»; 2 - «хвост»

Размер в скобках относится к ступеням для лестниц с уклоном 1:1,5.

Черт. 1

1.4. Железобетонные ступени предназначены для применения в лестницах на расчетную кратковременную нагрузку (без учета собственного веса) до 6 кПа (600 кгс/м2).

1.5. Ступени изготовляют с закладными изделиями для крепления ограждений.

Ступени могут изготовляться с гнездами (вместо закладных изделий) для крепления ограждений, если об этом указана в заказе на изготовление ступеней.

В плоских ступенях (типа ЛСС) устанавливают закладные изделия для крепления к косоурам шириной не менее 155 мм и не более 180 мм, при этом оси симметрии закладных изделий ступеней и косоуров должны совпадать.

В ступенях допускается установка дополнительных закладных изделий в соответствии с проектом конкретного здания или сооружения.

1.6. Ступени, при необходимости, изготовляют в двух вариантах исполнения: правом и левом - для лестниц с подъемом соответственно против часовой и по часовой стрелке.

Ступени типоразмеров ЛСС12 и ЛСС15

Черт. 2

1.7. Ступени изготовляют с монтажными петлями.

Изготовление ступеней без монтажных петель и применение для их подъема захватных устройств допускается по согласованию между изготовителем, потребителем и проектной организацией - автором проекта здания или сооружения.

1.8. Ступени из тяжелого бетона и плотного силикатного бетона изготовляют с декоративным конструкционным слоем бетона на верхней лицевой поверхности или без него.

Ступени из легкого бетона должны иметь верхний слой из тяжелого бетона толщиной не менее 15 мм или декоративный конструкционный слой либо покрытие из стойких к истиранию синтетических материалов.

1.9. Декоративный конструкционный слой ступеней должен иметь толщину не менее 15 мм и выполняться из тяжелого бетона или плотного силикатного бетона.

Таблица 1

Код ОКП

Марка ступени

Основные размеры ступени, мм

Расход материалов

Масса ступени справочная), кг

l

h

b

Бетон, м3

Сталь, кг

57 4613 0044

ЛС11-Б

1050

145

330

0,046

0,28

-

111

57 4613 0058

ЛС11-ЛБ

87

57 4613 0072

ЛС11-СБ

85

57 4613 0045

ЛС12-Б

1200

0,053

0,28

-

128

57 4613 0059

ЛС12-ЛБ

100

57 4613 0073

ЛС12-СБ

98

57 4613 0046

ЛС14-Б

1350

0,060

0,28

-

145

57 4613 0060

ЛС14-ЛБ

114

57 4613 0074

ЛС14-СБ

111

57 4613 0047

ЛС15-Б

1500

0,066

0,28

-

159

57 4613 0061

ЛС15-ЛБ

125

57 4613 0075

ЛС15-СБ

122

57 4613 0048

ЛС9.17-Б

900

168

290

0,040

0,28

-

96

57 4613 0062

ЛС9.17-ЛБ

76

57 4613 0076

ЛС9.17-СБ

74

57 4613 0049

ЛС11.17-Б

1050

0,046

0,28

-

111

57 4613 0063

ЛС11.17-ЛБ

87

57 4613 0077

ЛС11.17-СБ

85

57 4613 0050

ЛС12.17-Б

1200

0,053

0,28

-

128

57 4613 0064

ЛС12.17-ЛБ

100

57 4613 0078

ЛС12.17-СБ

98

57 4613 0051

ЛС11-Б-1

1050

145

330

0,046

0,65

0,37

111

57 4613 0065

ЛС11-ЛБ-1

88

85

57 4613 0079

ЛС11-СБ-1

57 4613 0052

ЛС12-Б-1

1200

0,053

0,65

0,37

128

57 4613 0066

ЛС12-ЛБ-1

101

57 4613 0080

ЛС12-СБ-1

98

57 4613 0053

ЛС14-Б-1

1350

0,060

1,07

0,79

145

57 4613 0067

ЛС14-ЛБ-1

115

57 4613 0081

ЛС14-СБ-1

111

57 4613 0054

ЛС15-Б-1

1500

0,066

1,07

0,79

160

57 4613 0068

ЛС15-ЛБ-1

126

57 4613 0082

ЛС15-СБ-1

122

57 4613 0055

ЛС9.17-Б-1

900

168

290

0,040

0,65

0,37

97

57 4613 0069

ЛС9.17-ЛБ-1

46

57 4613 0083

ЛС9.17-СБ-1

74

57 4613 0056

ЛС11.17-Б-1

1050

0,046

0,65

0,37

111

57 4613 0070

ЛС11.17-ЛБ-1

88

57 4613 0084

ЛС11.17-СБ-1

85

57 4613 0057

ЛС12.17-Б-1

1200

0,053

0,65

0,37

128

57 4613 0071

ЛС12.17-ЛБ-1

102

57 4613 0085

ЛС12.17-СБ-1

98

58 9121 3290

ЛС11

1050

145

330

0,046

0,65

0,37

111

58 9121 3360

ЛС11-Ш

58 9122 0574

ЛС11-Л

88

58 9122 0511

ЛС11-Л-Ш

58 9124 0035

ЛС11-С

85

58 9124 0073

ЛС11-С-Ш

58 9121 3291

ЛС12

1200

0,053

0,69

0,41

128

58 9121 3361

ЛС12-Ш

58 9122 0575

ЛС12-Л

101

58 9122 0512

ЛС12-Л-Ш

58 9124 0002

ЛС12-С

98

58 9124 0074

ЛС12-С-Ш

58 9121 3292

ЛС14

1350

0,060

0,75

0,47

145

58 9121 3362

ЛС14-Ш

58 9122 0576

ЛС14-Л

115

58 9122 0513

ЛС14-Л-Ш

58 9124 0003

ЛС14-С

111

58 9124 0075

ЛС14-С-Ш

58 9121 3293

ЛС15

1500

0,066

0,80

0,52

160

58 9121 3339

ЛС15-Г

58 9121 3363

ЛС15-Ш

58 9122 0577

ЛС15-Л

125

58 9122 0529

ЛС15-Л-Г

58 9122 0514

ЛС15-Л-Ш

58 9124 0004

ЛС15-С

122

58 9124 0052

ЛС15-С-Г

58 9124 0076

ЛС15-С-Ш

58 9121 3294

ЛС17

1650

0,072

0,86

0,58

174

58 9121 3340

ЛС17-Г

58 9121 3364

ЛС17-Ш

58 9122 0578

ЛС17-Л

137

58 9122 0530

ЛС17-Л-Г

58 9122 0515

ЛС17-Л-Ш

58 9124 0005

ЛС17-С

133

58 9124 0053

ЛС17-С-Г

58 9124 0077

ЛС17-С-Ш

58 9121 3295

ЛС23

2250

0,100

1,74

1,14

242

58 9121 3341

ЛС23-Г

58 9121 3365

ЛС23-Ш

58 9122 0579

ЛС23-Л

191

58 9122 0531

ЛС23-Л-Г

58 9122 0516

ЛС23-Л-Ш

58 9124 0006

ЛС23-С

185

58 9124 0054

ЛС23-С-Г

58 9124 0078

ЛС23-С-Ш

58 9121 3296

ЛС9.17

900

168

290

0,040

0,60

0,32

97

58 9122 0580

ЛС9.17-Л

76

58 9124 0007

ЛС9.17-С

74

58 9121 3396

ЛС11.17

1050

0,046

0,65

0,37

111

58 9122 0581

ЛС11.17-Л

88

58 9124 0008

ЛС11.17-С

85

58 9121 3397

ЛС12.17

1200

0,053

0,69

0,41

128

58 9122 0582

ЛС12.17-Л

101

58 9124 0009

ЛС12.17-С

98

58 9121 3315

ЛС11-1

1050

145

330

0,046

1,02

0,74

111

58 9121 3378

ЛС11-1Ш

58 9122 0550

ЛС11-Л-1

88

58 9122 0601

ЛС11-Л-1Ш

58 9124 0028

58 9124 0091

ЛС11-С-1

ЛС11-С-1Ш

85

58 9121 3316

ЛС12-1

1200

0,053

1,06

0,78

128

58 9121 3379

ЛС12-1Ш

58 9122 0551

ЛС12-Л-1

101

58 9122 0602

ЛС12-Л-1Ш

58 9124 0029

ЛС12-С-1

98

58 9124 0092

ЛС12-С-1Ш

58 9121 3317

ЛС14-1

1350

0,060

1,54

1,26

145

58 9121 3380

ЛС14-1Ш

58 9122 0552

ЛС14-Л-1

115

58 9122 0603

ЛС14-Л-1Ш

58 9124 0030

ЛС14-С-1

112

58 9124 0093

ЛС14-С-1Ш

58 9121 3318

ЛС15-1

1500

0,066

1,59

1,31

160

58 9121 3351

ЛС15-1Г

58 9121 3381

ЛС15-1Ш

58 9122 0553

ЛС15-Л-1

126

58 9122 0541

ЛС15-Л-1Г

58 9122 0604

ЛС15-Л-1Ш

58 9124 0031

ЛС15-С-1

123

58 9124 0064

ЛС15-С-1Г

58 9124 0094

ЛС15-С-1Ш

58 9121 3319

ЛС17-1

1650

0,072

1,65

1,37

174

58 9121 3352

ЛС17-1Г

58 9121 3382

ЛС17-1Ш

58 9122 0554

ЛС17-Л-1

138

58 9122 0542

ЛС17-Л-1Г

58 9122 0605

ЛС17-Л-1Ш

58 9124 0032

ЛС17-С-1

135

58 9124 0065

ЛС17-С-1Г

58 9124 0095

ЛС17-С-1Ш

58 9121 3320

ЛС23-1

2250

0,100

2,53

1,93

243

58 9121 3353

ЛС23-1Г

58 9121 3383

ЛС23-1Ш

58 9122 0555

ЛС23-Л-1

192

58 9122 0543

ЛС23-Л-1Г

58 9122 0606

ЛС23-Л-1Ш

58 9124 0033

ЛС23-С-1

186

58 9124 0066

ЛС23-С-1Г

58 9124 0096

ЛС23-С-1Ш

58 9121 3321

ЛС9.17-1

900

168

290

0,040

0,97

0,69

97

58 9122 0556

ЛС9.17-Л-1

77

58 9124 0034

ЛС9.17-С-1

75

58 9121 3322

ЛС11.17-1

1050

0,046

1,02

0,74

111

58 9122 0557

ЛС11.17-Л-1

88

58 9124 0035

ЛС11.17-С-1

85

58 9121 3323

ЛС12.17-1

1200

0,053

1,06

0,78

128

58 9122 0558

ЛС12.17-Л-1

101

58 9124 0036

ЛС12.17-С-1

98

58 9121 3297

ЛСВ11

1160

145

260

0,036

0,76

0,48

87

58 9121 3366

ЛСВ11-Ш

58 9122 0583

ЛСВ11-Л

69

58 9122 0517

ЛСВ11-Л-Ш

58 9124 0010

ЛСВ11-С

67

58 9124 0079

ЛСВ11-С-Ш

58 9121 3298

ЛСВ12

1310

0,041

0,82

0,54

99

58 9121 3367

ЛСВ12-Ш

58 9122 0584

ЛСВ12-Л

78

58 9122 0518

ЛСВ12-Л-Ш

58 9124 0011

ЛСВ12-С

76

58 9124 0080

ЛСВ12-С-Ш

58 9121 3299

ЛСВ14

1460

0,046

0,89

0,61

111

58 9121 3368

ЛСВ14-Ш

58 9122 0585

ЛСВ14-Л

88

58 9122 0519

ЛСВ14-Л-Ш

58 9124 0012

ЛСВ14-С

86

58 9124 0081

ЛСВ14-С-Ш

58 9121 3300

ЛСВ15

1610

0,050

0,94

0,66

121

58 9121 3342

ЛСВ15-Г

58 9121 3369

ЛСВ15-Ш

58 9122 0586

ЛСВ15-Л

96

58 9122 0532

ЛСВ15-Л-Г

58 9122 0520

ЛСВ15-Л-Ш

58 9124 0013

ЛСВ15-С

93

58 9124 0055

ЛСВ15-С-Г

58 9124 0082

ЛСВ15-С-Ш

58 9121 3301

ЛСВ17

1760

0,055

1,00

0,72

133

58 9121 3343

ЛСВ17-Г

58 9121 3370

ЛСВ17-Ш

58 9122 0587

ЛСВ17-Л

105

58 9122 0533

ЛСВ17-Л-Г

58 9122 0521

ЛСВ17-Л-Ш

58 9124 0014

ЛСВ17-С

102

58 9124 0056

ЛСВ17-С-Г

58 9124 0083

ЛСВ17-С-Ш

58 9121 3302

ЛСВ23

2360

0,074

1,26

0,98

179

58 9121 3344

ЛСВ23-Г

58 9121 3371

ЛСВ23-Ш

58 9122 0588

ЛСВ23-Л

141

58 9122 0534

ЛСВ23-Л-Г

58 9122 0522

ЛСВ23-Л-Ш

58 9124 0015

ЛСВ23-С

137

58 9124 0057

ЛСВ23-С-Г

58 9124 0084

ЛСВ23-С-Ш

58 9121 3303

ЛСВ9.17

1010

168

0,035

0,68

0,40

85

58 9122 0589

ЛСВ9.17-Л

67

58 9124 0016

ЛСВ9.17-С

65

58 9121 3304

ЛСВ11.17

1160

0,040

0,76

0,48

97

58 9122 0590

ЛСВ11.17-Л

76

58 9124 0017

ЛСВ11.17-С

74

58 9121 3305

ЛСВ12.17

1310

0,045

0,82

0,54

109

58 9122 0591

ЛСВ12.17-Л

86

58 9124 0018

ЛСВ12.17-С

83

58 9121 3324

ЛСП11

1050

145

260

0,031

3,67

3,39

78

58 9121 3384

ЛСП11-Ш

58 9122 0559

ЛСП11-Л

62

58 9122 0607

ЛСП11-Л-Ш

58 9124 0037

ЛСП11-С

60

58 9124 0097

ЛСП11-С-Ш

58 9121 3325

58 9121 3385

ЛСП12

ЛСП12-Ш

1200

0,035

3,71

3,43

88

58 9122 0560

ЛСП12-Л

70

58 9122 0608

ЛСП12-Л-Ш

58 9124 0038

ЛСП12-С

68

58 9124 0098

ЛСП12-С-Ш

58 9121 3326

ЛСП14

1350

0,040

3,79

3,51

100

58 9121 3386

ЛСП14-Ш

58 9122 0561

ЛСП14-Л

79

58 9122 0609

ЛСП14-Л-Ш

58 9124 0039

ЛСП14-С

77

58 9124 0099

ЛСП14-С-Ш

58 9121 3327

ЛСП15

1500

0,044

3,86

3,58

109

58 9121 3354

ЛСП15-Г

58 9121 3387

ЛСП15-Ш

58 9122 0562

ЛСП15-Л

87

58 9122 0544

ЛСП15-Л-Г

58 9122 0610

ЛСП15-Л-Ш

58 9124 0040

ЛСП15-С

85

58 9124 0067

ЛСП15-С-Г

58 9124 0100

ЛСП15-С-Ш

58 9121 3328

ЛСП17

1650

0,048

3,91

3,63

119

58 9121 3355

ЛСП17-Г

58 9121 3388

ЛСП17-Ш

58 9122 0563

ЛСП17-Л

95

58 9122 0545

ЛСП17-Л-Г

58 9122 0611

ЛСП17-Л-Ш

58 9124 0041

ЛСП17-С

92

58 9124 0068

ЛСП17-С-Г

58 9124 0101

ЛСП17-С-Ш

58 9121 3329

ЛСП23

2250

0,066

5,64

5,36

164

58 9121 3356

ЛСП23-Г

58 9121 3389

ЛСП23-Ш

58 9122 0564

ЛСП23-Л

130

58 9122 0546

ЛСП23-Л-Г

58 9122 0612

ЛСП23-Л-Ш

58 9124 0042

ЛСП23-С

126

58 9124 0069

ЛСП23-С-Г

58 9124 0102

ЛСП23-С-Ш

58 9121 3330

ЛСП9.17

900

168

0,030

3,60

3,32

75

58 9122 0565

ЛСП9.17-Л

60

58 9124 0043

ЛСП9.17-С

58

58 9121 3331

ЛСП11.17

1050

0,034

3,67

3,39

85

58 9122 0566

ЛСП11.17-Л

68

58 9124 0044

ЛСП11.17-С

66

58 9121 3332

ЛСП12.17

1200

0,039

3,71

3,43

97

58 9122 0567

ЛСП12.17-Л

77

58 9124 0045

ЛСП12.17-С

75

58 9121 3306

ЛСН11

1050

125

290

0,024

0,76

0,48

59

58 9121 3372

ЛСН11-Ш

58 9122 0592

ЛСН11-Л

46

58 9122 0523

ЛСН11-Л-Ш

58 9124 0019

ЛСН11-С

45

58 9124 0085

ЛСН11-С-Ш

58 9121 3307

ЛСН12

1200

0,027

0,80

0,52

66

58 9121 3373

ЛСН12-Ш

58 9122 0593

ЛСН12-Л

52

58 9122 0524

ЛСН12-Л-Ш

58 9124 0020

ЛСН12-С

50

58 9124 0086

ЛСН12-С-Ш

58 9121 3308

ЛСН14

1350

0,031

0,89

0,61

75

58 9121 3374

ЛСН14-Ш

58 9122 0594

ЛСН14-Л

60

58 9122 0525

ЛСН14-Л-Ш

58 9124 0021

ЛСН14-С

58

58 9124 0087

ЛСН14-С-Ш

58 9121 3309

ЛСН15

1500

0,034

0,96

0,68

83

58 9121 3345

ЛСН15-Г

58 9121 3375

ЛСН15-Ш

58 9122 0595

ЛСН15-Л

65

58 9122 0535

ЛСН15-Л-Г

58 9122 0526

ЛСН15-Л-Ш

58 9124 0022

ЛСН15-С

64

58 9124 0058

ЛСН15-С-Г

58 9124 0088

ЛСН15-С-Ш

58 9121 3310

ЛСН17

1650

0,038

1,02

0,74

92

58 9121 3346

ЛСН17-Г

58 9121 3376

ЛСН17-Ш

58 9122 0596

ЛСН17-Л

73

58 9122 0536

ЛСН17-Л-Г

58 9122 0527

ЛСН17-Л-Ш

58 9124 0023

ЛСН17-С

71

58 9124 0059

ЛСН17-С-Г

58 9124 0089

ЛСН17-С-Ш

58 9121 3311

ЛСН23

2250

0,051

1,29

1,01

124

58 9121 3347

ЛСН23-Г

58 9121 3377

ЛСН23-Ш

58 9122 0597

ЛСН23-Л

98

58 9122 0537

ЛСН23-Л-Г

58 9122 0528

ЛСН23-Л-Ш

58 9124 0024

ЛСН23-С

95

58 9124 0060

ЛСН23-С-Г

58 9124 0090

ЛСН23-С-Ш

58 9121 3312

ЛСН9.14

900

143

0,022

0,69

0,41

54

58 9122 0598

ЛСН9.14-Л

42

58 9124 0025

ЛСН9.14-С

41

58 9121 3313

ЛСН11.14

1050

0,025

0,76

0,48

61

58 9122 0599

ЛСН11.14-Л

48

58 9124 0026

ЛСН11.14-С

47

58 9121 3314

ЛСН12.14

1200

0,029

0,80

0,52

70

58 9122 0600

ЛСН12.14-Л

56

58 9124 0027

ЛСН12.14-С

54

58 9121 3333

ЛСС12

1180

100

330

0,034

4,08

3,80

86

58 9121 3348

ЛСС12-Г

58 9121 3393

ЛСС-12-Ш

58 9122 0568

ЛСС12-Л

68

58 9122 0538

ЛСС12-Л-Г

58 9122 0616

ЛСС12-Л-Ш

58 9124 0046

ЛСС12-С

57

58 9124 0061

58 9124 0106

ЛСС12-С-Г

ЛСС12-С-Ш

58 9121 3334

ЛСС15

1500

0,043

4,60

4,32

108

58 9121 3349

ЛСС15-Г

58 9121 3394

ЛСС15-Ш

58 9122 0569

ЛСС15-Л

86

58 9122 0539

ЛСС15-Л-Г

58 9122 0617

ЛСС15-Л-Ш

58 9124 0047

ЛСС15-С

84

58 9124 0062

ЛСС15-С-Г

58 9124 0107

ЛСС15-С-Ш

58 9121 3336

ЛСС12-1

1180

0,034

5,62

5,34

87

58 9121 3357

ЛСС12-1Г

58 9121 3390

ЛСС12-1Ш

58 9122 0571

ЛСС12-Л-1

70

58 9122 0547

ЛСС12-Л-1Г

58 9122 0613

ЛСС12-Л-1Ш

58 9124 0049

ЛСС12-С-1

68

58 9124 0070

ЛСС12-С-1Г

58 9124 0103

ЛСС12-С-1Ш

58 9121 3337

ЛСС15-1

1500

0,043

6,14

5,86

109

58 9121 3358

ЛСС15-1Г

58 9121 3391

ЛСС15-1Ш

58 9122 0572

ЛСС15-Л-1

87

58 9122 0548

ЛСС15-Л-1Г

58 9122 0614

ЛСС15-Л-1Ш

58 9124 0050

ЛСС15-С-1

85

58 9124 0071

ЛСС15-С-1Г

58 9124 0104

ЛСС15-С-1Ш

58 9121 3335

ЛСС24

2380

0,074

7,92

7,64

186

58 9121 3350

ЛСС24-Г

58 9121 3395

ЛСС24-Ш

58 9122 0570

ЛСС24-Л

148

58 9122 0540

ЛСС24-Л-Г

58 9122 0618

ЛСС24-Л-Ш

58 9124 0048

ЛСС24-С

144

58 9124 0063

ЛСС24-С-Г

58 9124 0108

ЛСС24-С-Ш

58 9121 3338

ЛСС24-1

9,46

9,18

187

58 9121 3359

ЛСС24-1Г

58 9121 3392

ЛСС24-1Ш

58 9122 0573

ЛСС24-Л-1

150

58 9122 0549

ЛСС24-Л-1Г

58 9122 0615

ЛСС24-Л-1Ш

58 9124 0051

ЛСС24-С-1

145

58 9124 0072

ЛСС24-С-1Г

58 9124 0105

ЛСС24-С-1Ш

Примечания:

1. Марки ступеней в таблице даны без указания варианта исполнения ступеней (п. 1.6).

2. Ступени высотой 125 и 145 мм предназначаются для лестниц с уклоном 1:2, а высотой 143 и 168 мм - с уклоном 1:1,5 (для подвальных, чердачных и других служебных лестниц).

3. Расход стали указан: в числителе - для ступени с монтажными петлями, в знаменателе - для ступени без монтажных петель.

В случае устройства в ступенях гнезд (вместо закладных изделий) для крепления ограждений или установки дополнительных закладных изделий (п. 1.5) расход стали на ступень, указанный в табл. 1, следует соответственно изменить.

4. Масса ступеней приведена для ступеней из тяжелого бетона средней плотностью 2400 кг/м3, из легкого бетона и плотного силикатного бетона - 1800 кг/м3.

5. Допускается изготовлять ступени размерами, отличными от указанных в табл. 1, на действующем оборудовании до 1 января 1988 г.

1.10. Ступени в зависимости от отделки верхних лицевых поверхностей изготовляют следующих видов:

с гладкой поверхностью бетона на обычном цементе;

с гладкой поверхностью декоративного конструкционного слоя на белом или цветном цементах;

с шлифованной мозаичной поверхностью декоративного конструкционного слоя из бетона на обычном, белом или цветном цементах и на мраморном щебне.

Видимые нижние и торцевые поверхности ступеней предназначаются под окраску.

1.11. Для повышения износостойкости и уменьшения скользкости ступеней допускается устройство отдельных вставок из фрикционных и стойких к истиранию материалов в виде полос, замоноличенных в ступень в процессе ее формования.

1.12. Конструкции ступеней, а также арматурных и закладных изделий к ним приведены в ГОСТ 8717.1-84.

1.13. Ступени следует обозначать марками в соответствии с требованиями ГОСТ 23009-78.

Марка ступени состоит из буквенно-цифровых групп, разделенных дефисами.

Первая группа содержит обозначение типа ступени и габаритные размеры (значения которых округляют до целого числа): длину ступени или ширину лестничного марша (для ступеней типа ЛСВ), а ступеней высотой 168 или 143 мм и их высоту в сантиметрах.

Во второй группе указывают:

для ступеней, изготовляемых из легкого бетона и плотного силикатного бетона, - вид бетона, обозначаемый соответственно прописными буквами Л и С;

для бетонных основных ступеней (типа ЛС) - прописную букву Б.

В третьей группе (или во второй группе в случае, если обозначения характеристик ступени, приведенные в этой группе марки, отсутствуют) указывают:

наличие в ступени закладных изделий или гнезд (п. 1.5), обозначаемых арабскими цифрами: 1 - для ступеней с закладными изделиями по ГОСТ 8717.1-84; 2, 3 и т.д. - для ступеней с дополнительными закладными изделиями или гнездами согласно проектной документации конкретного здания или сооружения;

левое исполнение ступени (п. 1.6), обозначаемое строчной буквой - «л»;

вид отделки верхней лицевой поверхности ступени (за исключением гладкой поверхности бетона на обычном цементе, которую в марке не указывают), обозначаемый прописной буквой Г при гладкой поверхности декоративного конструкционного слоя бетона на белом или цветном цементах, Ш - при шлифованной мозаичной поверхности;

дополнительные характеристики, обеспечивающие долговечность ступеней в условиях эксплуатации. Например: М - для ступеней, применяемых в районах с расчетной температурой наружного воздуха ниже минус 40 °С; для ступеней, применяемых в условиях воздействия агрессивных сред, - характеристики степени плотности бетона. (Например П - повышенной плотности).

Пример условного обозначения (марки) ступени типа ЛС длиной 1500 мм, высотой 145 мм, изготовленной из тяжелого бетона, с закладными изделиями для крепления ограждения, с гладкой поверхностью декоративного конструкционного слоя бетона на белом цементе, предназначенной для лестницы с подъемом по часовой стрелке:

ЛС 15-1Гл

То же, ступени типа ЛС длиной 1200 мм, высотой 168 мм, изготовленной из тяжелого бетона, с гладкой верхней лицевой поверхностью бетона на обычном цементе:

ЛС12.17

То же, ступени типа ЛСВ длиной 1310 мм (предназначенной для маршей шириной 1200 мм), высотой 145 мм, изготовленной из легкого бетона, с шлифованной мозаичной поверхностью декоративного конструкционного слоя бетона на цветном цементе и мраморном щебне:

ЛСВ12-Л-Ш

2. ТЕХНИЧЕСКИЕ ТРЕБОВАНИЯ

2.1. Ступени следует изготовлять в соответствии с требованиями настоящего стандарта и технологической документации, утвержденной в установленном порядке, по чертежам, приведенным в ГОСТ 8717.1-84.

2.2. Ступени должны удовлетворять требованиям ГОСТ 13015.0-83:

по заводской готовности;

по прочности и трещиностойкости;

по показателям фактической прочности бетона (в проектном возрасте и отпускной);

по морозостойкости, водонепроницаемости и истираемости бетона;

к качеству материалов, применяемых для приготовления бетона;

к бетону, а также к материалам для приготовления бетона ступеней, применяемых в условия воздействия агрессивных сред;

к качеству арматурных и закладных изделий и их положению в ступени;

к маркам сталей для арматурных и закладных изделий, в том числе для монтажных петель;

по отклонению толщины защитного слоя бетона;

по применению форм для изготовления ступеней.

2.3. Ступени следует изготовлять из бетона класса по прочности на сжатие:

В25 - ступени для наружных лестниц зданий и сооружений, а также ступени из тяжелого бетона или плотного силикатного бетона, предназначенные для внутренних лестниц жилых зданий высотой до 5 этажей;

В15 - ступени для остальных зданий и сооружений.

Верхний слой бетона ступеней из легкого бетона, а также декоративный конструкционный слой ступеней следует изготовлять из тяжелого бетона или плотного силикатного бетона класса по прочности на сжатие В25.

Вид бетона и его класс по прочности на сжатие должны соответствовать указанным в заказе на изготовление ступеней.

2.4. Коэффициент вариации прочности бетона по сжатию в партии для ступеней высшей категории качества не должен быть более:

9 % - для тяжелого и легкого бетонов;

10 % - для плотного силикатного бетона.

2.5. Значение нормируемой отпускной прочности бетона ступеней в процентах от класса бетона по прочности на сжатие следует принимать равным:

70 - для ступеней из тяжелого или легкого бетона;

100 - для ступеней из плотного силикатного бетона.

При поставке ступеней в холодный период года допускается повышать значение нормируемой отпускной прочности бетона, но не более 85 % класса по прочности на сжатие. Значение нормируемой отпускной прочности бетона следует принимать по проектной документации на конкретное здание или сооружение в соответствии с требованиями ГОСТ 13015.0-83.

(Измененная редакция, Изм. № 1).

2.6. Средняя плотность легкого бетона и плотного силикатного бетона (в высушенном до постоянной массы состоянии) не должна быть менее 1800 кг/м3.

2.7. Истираемость декоративного конструкционного слоя бетона на мраморном щебне не должна превышать 1,8 г/см2.

Истираемость декоративного конструкционного слоя бетона ступеней высшей категории качества не должна превышать 1,6 г/см2.

2.8. Форма и размеры сварных арматурных сеток и закладных изделий и их положение в ступенях должны соответствовать установленным в ГОСТ 8717.1-84.

Форма и размеры дополнительных закладных изделий (п. 1.5) и их положение в ступенях должны соответствовать указанным в проектной документации здания или сооружения.

2.9. Арматурные стали должны удовлетворять требованиям государственных стандартов:

стержневая арматурная сталь классов А-I и А-III - ГОСТ 5781-82;

арматурная проволока класса Вр-I - ГОСТ 6727-80.

2.10. Арматуру в ступенях из плотного силикатного бетона, предназначенных для применения в помещениях с относительной влажностью внутреннего воздуха свыше 60 % или в неотапливаемых зданиях (сооружениях) и на открытом воздухе в нормальной и влажной зонах влажности, следует защищать от коррозии. Способ защиты арматуры должен соответствовать установленному проектной документацией (согласно требованиям СН 165-76) и указанному в заказе на изготовление ступеней.

2.11. Открытые поверхности стальных закладных изделий должны иметь антикоррозионное покрытие, вид и техническая характеристика которого должны соответствовать установленным проектом здания или сооружения согласно требованиям СНиП 2.03.11-85 и указанным в заказе на изготовление ступеней.

(Измененная редакция, Изм. № 1).

2.12. Значения действительных отклонений геометрических параметров ступеней не должны превышать предельных, указанных в табл. 2.

Таблица 2

Вид отклонения геометрического параметра

Геометрический параметр

Пред. откл., мм

Отклонение от линейного размера

Длина ступени

±5

Высота ступени

±2

Ширина ступени

±3

Положение закладных изделий:

 

в плоскости ступени

5

из плоскости ступени

2

Отклонение от прямолинейности

Прямолинейность реального профиля поверхности ступени в любом сечении на 1 м длины ступени

2

2.13. Категории бетонных поверхностей ступени:

лицевой шлифованной мозаичной - А0 или А1;

лицевой гладкой - А1 или А2;

лицевой, предназначенной под окраску, - А3;

нелицевой, не видимой в условиях эксплуатации, - А7.

Требования к качеству поверхностей и внешнему виду ступеней - по ГОСТ 13015.0-83 и настоящему стандарту.

2.13.1. Верхняя лицевая поверхность ступеней партии должна иметь одинаковый цвет и тон окраски.

Поверхность мозаичного декоративного конструкционного слоя должна иметь равномерное (или предусмотренное проектной документацией и заказом) распределение мраморного щебня. В первом случае участки без мраморного щебня площадью более 3 см2 не допускаются.

2.13.2. На поверхностях ступеней не допускаются трещины в бетоне, за исключением усадочных и других местных поверхностных технологических шириной не более 0,1 мм на нижней и торцевых поверхностях ступеней.

2.13.3. Ступени высшей категории качества должны иметь верхнюю лицевую поверхность шлифованную мозаичную или гладкую категории А1.

3. ПРАВИЛА ПРИЕМКИ

3.1. Приемку ступеней следует производить партиями в соответствии с требованиями ГОСТ 13015.1-81 и настоящего стандарта.

3.2. Приемку ступеней по показателям их прочности и трещиностойкости, по морозостойкости, водонепроницаемости и истираемости бетона следует производить по результатам периодических испытаний.

3.3. Приемку ступеней по показателям прочности (классу по прочности на сжатие, отпускной прочности) и средней плотности бетона, соответствия арматурных и закладных изделий требованиям ГОСТ 8717.1-84, прочности сварных соединений, точности геометрических параметров, толщины защитного слоя бетона до арматуры, ширины раскрытия усадочных трещин, категории бетонной поверхности следует производить по результатам приемо-сдаточных испытаний и контроля.

3.3.1. В случаях, если при проверке будет установлено, что фактическая отпускная прочность бетона ниже требуемой отпускной прочности, то поставку ступеней потребителю следует производить после достижения бетоном прочности, соответствующей классу бетона по прочности на сжатие.

3.3.2. При приемке ступеней по показателям точности геометрических параметров, ширины раскрытия усадочных трещин, категории бетонной поверхности следует применять выборочный одноступенчатый контроль.

4. МЕТОДЫ КОНТРОЛЯ И ИСПЫТАНИЙ

4.1. Испытание ступеней нагружением для определения их прочности и трещиностойкости следует производить по достижении бетоном прочности, соответствующей классу бетона по прочности на сжатие.

Прочность и трещиностойкость ступеней следует контролировать по ГОСТ 8829-85.

4.1.1. Схемы опирания и загружения ступеней при испытании их нагружением приведены:

типов ЛС, ЛСВ, ЛСП и ЛСН - на черт. 3;

типоразмеров ЛСС12 и ЛСС15 - на черт. 4;

типоразмера ЛСС24 - на черт. 5.

Основные параметры опирания и загружения ступеней и значения контрольных нагрузок при проверке прочности и трещиностойкости приведены в табл. 3 и 4.

4.2. Прочность бетона на сжатие следует определять по ГОСТ 10180-78 на серии образцов, изготовленных из бетонной смеси рабочего состава.

Допускается фактическую отпускную прочность бетона определять ультразвуковым методом по ГОСТ 17624-78 или другими методами, предусмотренными стандартами на методы испытаний бетона.

4.3. Морозостойкость бетона следует определять по ГОСТ 10060-87.

4.4. Водонепроницаемость бетона следует определять на серии образцов, изготовленных из бетонной смеси рабочего состава, согласно ГОСТ 12730.0-78 и ГОСТ 12730.5-84.

4.5. Среднюю плотность бетона следует определять по ГОСТ 12730.0-78 и ГОСТ 12730.1-78 на серии образцов, изготовленных из бетонной смеси рабочего состава.

4.6. Истираемость бетона ступеней следует определять по ГОСТ 13087-81.

1 - подвижная опора; 2 - неподвижная опора; 3 - ступень

Примечания:

1. Опоры, указанные на схеме опирания и загружения, установить под «постелью» ступени.

2. Вынос «хвоста» площадочного вкладыша и ступеней верхней и нижней фризовых опереть по всей поверхности.

Черт. 3

Черт. 4

Черт. 5

4.7. Методы контроля и испытаний сварных арматурных и закладных изделий - по ГОСТ 10922-75 и ГОСТ 23858-79.

4.8. Размеры ступеней, отклонение от прямолинейности их лицевых поверхностей, положение арматурных и закладных изделий, толщину защитного слоя бетона до арматуры, а также качество бетонных поверхностей, ширину раскрытия усадочных трещин и внешний вид ступеней следует проверять методами, установленными ГОСТ 13015-75.

Таблица 3

Типоразмер ступени

Номер чертежа

lp, мм

а, мм

Контрольная нагрузка по проверке прочности Р, кН (кгс)

Контрольная нагрузка по проверке трещиностойкости ступени Р, кН (кгс)

при которой ступень признается годной

при которой требуется повторное испытание ступени

С = 1,4

С = 1,6

С = 1,4

С = 1,6

ЛС11

3

920

230

1,52

(155)

1,86

(190)

<1,52; ³1,26

(<155; ³130)

<1,86; ³1,57

(<190; ³160)

0,78

(80)

ЛС12

1070

270

1,82

(185)

2,16

(220)

<1,82; ³1,52

(<185; ³155)

<2,16; ³1,86

(<220; ³190)

0,88

(90)

ЛС14

1220

310

2,06

(210)

2,45

(250)

<2,06; ³1,77

(<210; ³180)

<2,45; ³2,11

(<250; ³215)

0,98

(100)

ЛС15

1370

340

2,35

(240)

2,80

(285)

<2,35; ³2,01

(<240; ³205)

<2,80; ³2,40

(<285; ³245)

1,13

(115)

ЛС17

1520

380

2,75

(280)

3,24

(330)

<2,75; ³2,35

(<280; ³240)

<3,24; ³2,75

(<330; ³280)

1,32

(135)

ЛС23

2120

530

3,48

(355)

4,17

(425)

<3,38; ³2,94

(<355; ³300)

<4,17; ³3,53

(<425; ³360)

1,72

(175)

ЛС9.17

770

190

1,28

(130)

1,52

(155)

<1,28; ³1,08

(<130; ³110)

<1,52; ³1,28

(<155; ³130)

0,59

(60)

ЛС11.17

920

230

1,47

(150)

1,77

(180)

<1,47; ³1,28

(<150; ³130)

<1,77; ³1,52

(<180; ³155)

0,69

(70)

ЛС12.17

1070

270

1,72

(175)

2,06

(210)

<1,72; ³1,47

(<175; ³150)

<2,06; ³1,77

(<210; ³180)

0,83

(85)

ЛСВ11

920

230

1,23

(125)

1,47

(150)

<1,23; ³1,03

(<125; ³105)

<1,47; ³1,23

(<150; ³125)

0,59

(60)

ЛСВ12

1070

270

1,42

(145)

1,67

(170)

<1,42; ³1,23

(<145; ³125)

<1,67; ³1,42

(<170; ³145)

0,69

(70)

ЛСВ14

1220

310

1,57

(160)

1,86

(190)

<1,57; ³1,32

(<160; ³135)

<1,86; ³1,57

(<190; ³160)

0,78

(80)

ЛСВ15

1370

340

1,82

(185)

2,16

(220)

<1,82; ³1,52

(<185; ³155)

<2,16; ³1,82

(<220; ³185)

0,88

(90)

ЛСВ17

1520

380

2,11

(215)

2,50

(255)

<2,11; ³1,82

(<215; ³185)

<2,50; ³2,11

(<255; ³215)

1,03

(105)

ЛСВ23

2120

530

2,70

(275)

3,19

(325)

<2,70; ³2,31

(<275; ³235)

<3,19; ³2,70

(<325; ³275)

1,32

(135)

ЛСВ9.17

770

190

1,03

(105)

1,23

(125)

<1,03; ³0,88

(<105; ³90)

<1,23; ³1,03

(<125; ³105)

0,49

(50)

ЛСВ11.17

920

230

1,23

(125)

1,47

(150)

<1,23; ³1,03

(<125; ³105)

<1,47; ³1,23

(<150; ³125)

0,58

(60)

ЛСВ12.17

1020

270

1,28

(130)

1,52

(155)

<1,28; ³1,08

(<130; ³110)

<1,52; ³1,28

(<155; ³130)

0,64

(65)

ЛСП11

920

230

1,52

(155)

1,82

(185)

<1,52; ³1,28

(<155; ³130)

<1,82; ³1,52

(<185; ³155)

0,73

(75)

ЛСП12

1070

270

1,72

(175)

2,01

(205)

<1,72; ³1,47

(<175; ³150)

<2,01; ³1,72

(<205; ³175)

0,83

(85)

ЛСП14

1220

310

1,91

(195)

2,26

(230)

<1,91; ³1,62

(195< ³165)

<2,26; ³1,91

(230< ³195)

0,98

(100)

ЛСП15

1370

340

2,11

(215)

2,45

(250)

<2,11; ³1,82

(<215; ³185)

<2,45; ³2,06

(<250; ³210)

1,03

(105)

ЛСП17

1520

380

2,40

(245)

2,85

(290)

<2,40; ³2,06

(<245 ³210)

<2,85; ³2,40

(<290; ³245)

1,23

(125)

ЛСП23

2120

530

2,94

(300)

3,48

(355)

<2,94; ³2,50

(<300 ³255)

<3,48; ³2,94

(<355; ³300)

1,47

(150)

ЛСП9.19

770

190

1,37

(140)

1,67

(170)

<1,37; ³1,18

(<140; ³120)

<1,67; ³1,42

(<170 ³145)

0,69

(70)

ЛСП11.17

920

230

1,52

(155)

1,86

(190)

<1,52; ³1,28

(<155; ³130)

<1,86; ³1,57

(<190 ³160)

0,73

(75)

ЛСП12.17

1070

270

1,72

(175)

2,06

(210)

<1,72; ³1,47

(<175; ³150)

<2,06; ³1,77

(<210; ³180)

0,83

(85)

ЛСН11

920

230

1,23

(125)

1,47

(150)

<1,23; ³1,08

(<125; ³110)

<1,47; ³1,28

(<150; ³130)

0,64

(65)

ЛСН12

1070

270

1,42

(145)

1,67

(170)

<1,42; ³1,23

(<145; ³125)

<1,67; ³1,42

(<170; ³145)

0,73

(75)

ЛСН14

1220

310

1,62

(165)

1,91

(195)

<1,62; ³1,37

(<165; ³140)

<1,91; ³1,62

(<195; ³165)

0,83

(85)

ЛСН15

1370

340

1,86

(190)

2,16

(220)

<1,86; ³1,57

(<190; ³160)

<2,16; ³1,82

(<220; ³185)

0,98

(100)

ЛСН17

1520

380

2,16

(220)

2,55

(260)

<2,16; ³1,82

(<220; ³185)

<2,55; ³2,16

(<260; ³220)

1,13

(115)

ЛСН23

2120

530

2,80

(285)

3,24

(330)

<2,80; ³2,35

(<285; ³240)

<3,24; ³2,75

(<330; ³280)

1,44

(150)

ЛСН9.14

770

190

1,08

(110)

1,62

(165)

<1,08; ³0,93

(<110; ³95)

<1,62; ³1,37

(<165; ³140)

0,54

(55)

ЛСН11.14

920

230

1,28

(130)

1,47

(150)

<1,28; ³108

(<130; ³110)

<1,47; ³1,28

(<150; ³130)

0,64

(65)

ЛСН12.14

1070

270

1,47

(150)

1,72

(175)

<1,47; ³1,28

(<150; ³130)

<1,72; ³1,47

(<175; ³150)

0,73

(75)

Таблица 4

Типоразмер ступени

Номер чертежа

lр, мм

а, мм

Контрольная нагрузка по проверке прочности Р, кН (кгс)

Контрольная нагрузка по проверке трещиностойкости ступени, Р, кН (кгс)

при которой ступень признается годной

при которой требуется повторное испытание ступени

С = 1,25

С = 1,6

С = 1,25

С = 1,6

ЛСС12

4

590

-

5,35

(545)

6,87

(700)

<5,35; ³4,56

(<545; ³465)

<6,87; ³5,84

(<700; ³595)

3,48

(355)

ЛСС15

750

-

4,71

(480)

6,08

(620)

<4,71; ³4,02

(<480; ³410)

<6,08; ³5,15

(<620; ³525)

3,09

(315)

ЛСС24

5

590

-

5,35

(545)

6,87

(700)

<5,35; ³4,65

(<545; ³465)

<6,87; ³5,84

(<700; ³595)

3,48

(355)

Примечания к табл. 3 и 4:

1. Значения контрольных нагрузок указаны без учета веса ступени.

2. Значение коэффициента С принимают в зависимости от возможного характера разрушения ступени согласно ГОСТ 8829-85.

3. Значение нагрузки при появлении первой трещины, при которой ступени типов ЛС, ЛСВ, ЛСП и ЛСН признают годными, должно быть больше или равно контрольной за вычетом веса ступени.

5. МАРКИРОВКА, ТРАНСПОРТИРОВАНИЕ И ХРАНЕНИЕ

5.1. Маркировка ступеней - по ГОСТ 13015.2-81. Маркировочные надписи и знаки следует наносить на нелицевых поверхностях ступеней.

Допускается по соглашению изготовителя с потребителем и проектной организацией - автором проекта конкретного здания или сооружения вместо марок наносить на ступени их сокращенные условные обозначения, принятые в проектной документации.

5.2. Требования к документу о качестве ступеней, поставляемых потребителю - по ГОСТ 13015.3-81.

5.3. Транспортировать и хранить ступени следует в соответствии с требованиями ГОСТ 13015.4-84 настоящего стандарта.

5.3.1. Ступени следует транспортировать и хранить в контейнерах или пакетах.

Допускается хранить ступени и их перевозить без применения контейнеров. В этом случае ступени должны быть уложены в штабель, вплотную одна к другой. Подкладки под нижний ряд ступеней и прокладки между рядами должны быть уложены на расстоянии 200 мм от торцов или в местах расположения монтажных петель. Число рядов ступеней в штабеле не должно превышать пяти.

5.3.2. При перевозке ступени следует укладывать правильными рядами продольной осью в направлении движения транспортных средств.

5.3.3. Грузовые стропы и другие грузозахватные приспособления, применяемые для погрузки, разгрузки и складирования ступеней, в местах соприкосновения их со ступенями должны иметь мягкое покрытие.

ПРИЛОЖЕНИЕ

Справочное

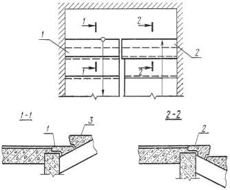
СХЕМЫ РАСПОЛОЖЕНИЯ СТУПЕНЕЙ ТИПОВ ЛС, ЛСВ, ЛСП и ЛСН В ЛЕСТНИЧНОМ МАРШЕ

Междуэтажные и этажные площадки

Верхняя площадка

1 - нижняя фризовая ступень (ЛСН); 2 - верхняя фризовая ступень (ЛСВ); 3 - основная ступень (ЛС); 4 - площадочный вкладыш (ЛСП)

СОДЕРЖАНИЕ

 



© 2013 Ёшкин Кот :-)