Информационная система
«Ёшкин Кот»

Скачать базу одним архивом
Скачать обновления
История создания базы
Карта сайта

Скачать МУ 6019-91 Методические указания по титриметрическому измерению концентраций цианата натрия в воздухе рабочей зоны

Дата актуализации: 10.08.2017

МУ 6019-91

Методические указания по титриметрическому измерению концентраций цианата натрия в воздухе рабочей зоны

Обозначение: МУ 6019-91
Обозначение англ: MU 6019-91
Статус:не установлен срок действия
Название рус.:Методические указания по титриметрическому измерению концентраций цианата натрия в воздухе рабочей зоны
Дата добавления в базу:01.02.2017
Дата актуализации:05.05.2017
Область применения:Методические указания по измерению концентраций вредных веществ в воздухе рабочей зоны предназначены для санитарно-эпидемиологических станций и санитарных лабораторий промышленных предприятий при осуществлении контроля за содержанием вредных веществ в воздухе рабочей зоны, а также научно-исследовательских институтов системы здравоохранения России и других заинтересованных министерств и ведомств.
Оглавление:Характеристика метода
Приборы, аппаратура, посуда
Реактивы, растворы и материалы
Отбор пробы воздуха
Подготовка к измерению
Проведение измерения
Расчет концентрации
Дополнительное оборудование, материалы и реактивы
Приложение 1 (справочное). Приведение объема воздуха к условиям по ГОСТ 12.1.016-79
Приложение 2 (справочное). Коэффициент К для приведения объема воздуха к условиям по ГОСТ 12.1.016-79
Приложение 3 Вещества, определяемые по ранее утвержденным и опубликованным Методическим указаниям
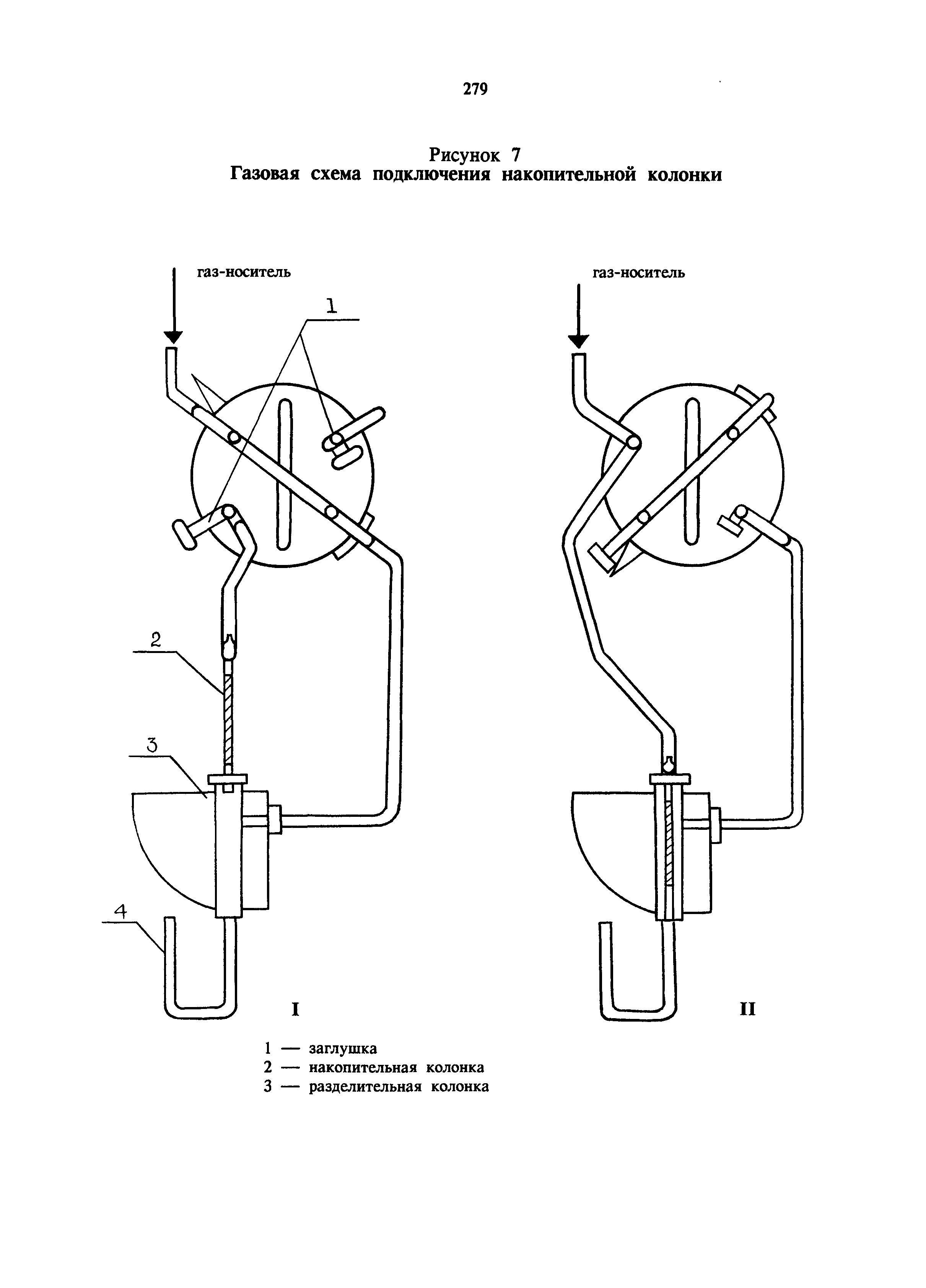
Рисунки
Разработан: Рязанский медицинский институт
Московский химико-технологический институт им. Д.И. Менделеева
Утверждён:10.10.1991 Заместитель Главного государственного санитарного врача СССР
Расположен в:Техническая документация Экология ОХРАНА ОКРУЖАЮЩЕЙ СРЕДЫ, ЗАЩИТА ЧЕЛОВЕКА ОТ ВОЗДЕЙСТВИЯ ОКРУЖАЮЩЕЙ СРЕДЫ. БЕЗОПАСНОСТЬ Качество воздуха Атмосфера рабочей зоны
Нормативные ссылки:
МУ 6019-91МУ 6019-91МУ 6019-91МУ 6019-91МУ 6019-91МУ 6019-91МУ 6019-91МУ 6019-91МУ 6019-91МУ 6019-91МУ 6019-91МУ 6019-91МУ 6019-91МУ 6019-91МУ 6019-91МУ 6019-91МУ 6019-91МУ 6019-91МУ 6019-91МУ 6019-91МУ 6019-91МУ 6019-91МУ 6019-91МУ 6019-91МУ 6019-91

© 2013 Ёшкин Кот :-) Карта сайта