Информационная система
«Ёшкин Кот»

Скачать базу одним архивом
Скачать обновления
История создания базы
Карта сайта

Скачать ГОСТ ISO 18652-2014 Машины и оборудование строительные. Внешние вибраторы для бетона

Дата актуализации: 10.08.2017

ГОСТ ISO 18652-2014

Машины и оборудование строительные. Внешние вибраторы для бетона

Обозначение: ГОСТ ISO 18652-2014
Обозначение англ: 18652-2014
Статус:введен впервые
Название рус.:Машины и оборудование строительные. Внешние вибраторы для бетона
Название англ.:Building construction machinery and equipment. External vibrators for concrete
Дата добавления в базу:12.02.2016
Дата актуализации:05.05.2017
Дата введения:01.11.2015
Область применения:Стандарт устанавливает терминологию и определяет классификацию, эксплуатационные требования, методы испытаний, назначение и технические характеристики внешних вибраторов для бетона. Стандарт применяется к внешним вибраторам с механическим приводом, предназначенным для уплотнения бетонной смеси вибрацией с наружной стороны.
Оглавление:1 Область применения
2 Нормативные ссылки
3 Термины и определения
4 Классификация
5 Конструкция
6 Эксплуатационные требования
7 Руководство по эксплуатации
8 Методы испытаний
9 Проверка и оценка
10 Обозначения
11 Требования к табличке изготовителя
12 Технические условия поставки
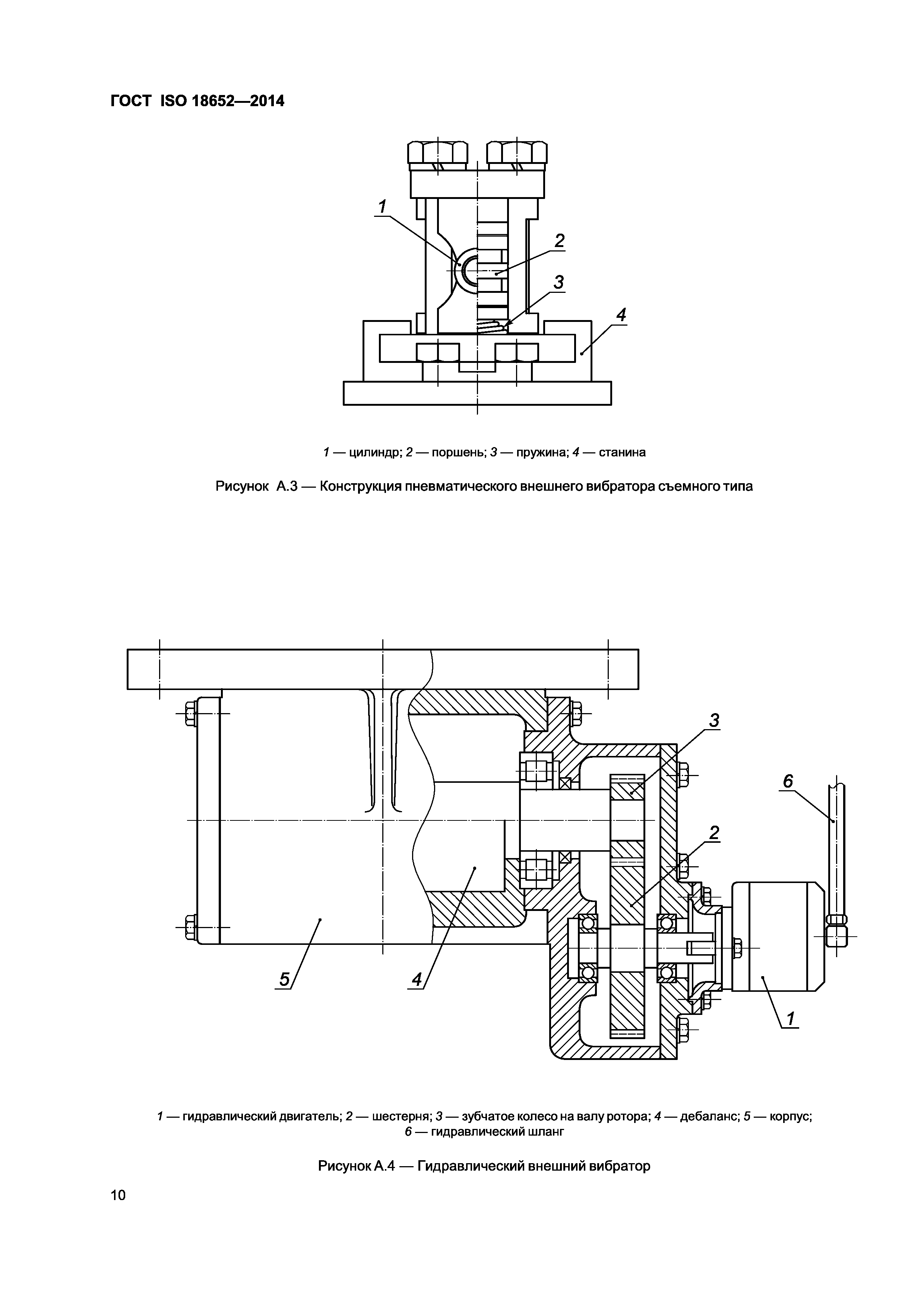
Приложение А (справочное) Конструкция и размерные характеристики внешних вибраторов. Примеры
Приложение В (обязательное) Испытания внешних вибраторов под нагрузкой и без нагрузки. Виброизоляторы
Приложение ДА (справочное) Сведения о соответствии межгосударственных стандартов ссылочным международным стандартам
Библиография
Разработан: ООО ИЦ ЦНИП СДМ
Утверждён:22.12.2014 Евразийский совет по стандартизации, метрологии и сертификации (ЕАСС) (Eurasian Council for Standardization, Metrology and Certification (EASC) 73-П)
15.06.2015 Федеральное агентство по техническому регулированию и метрологии (690-ст)
Издан: Стандартинформ (2015 г. )
Расположен в:Техническая документация Электроэнергия СТРОИТЕЛЬНЫЕ МАТЕРИАЛЫ И СТРОИТЕЛЬСТВО Строительное оборудование Экология СТРОИТЕЛЬНЫЕ МАТЕРИАЛЫ И СТРОИТЕЛЬСТВО Строительное оборудование Строительство Стандарты Другие государственные стандарты, применяемые в строительстве Строительные материалы и строительство
Нормативные ссылки:
ГОСТ ISO 18652-2014ГОСТ ISO 18652-2014ГОСТ ISO 18652-2014ГОСТ ISO 18652-2014ГОСТ ISO 18652-2014ГОСТ ISO 18652-2014ГОСТ ISO 18652-2014ГОСТ ISO 18652-2014ГОСТ ISO 18652-2014ГОСТ ISO 18652-2014ГОСТ ISO 18652-2014ГОСТ ISO 18652-2014ГОСТ ISO 18652-2014ГОСТ ISO 18652-2014ГОСТ ISO 18652-2014ГОСТ ISO 18652-2014ГОСТ ISO 18652-2014ГОСТ ISO 18652-2014ГОСТ ISO 18652-2014ГОСТ ISO 18652-2014ГОСТ ISO 18652-2014ГОСТ ISO 18652-2014ГОСТ ISO 18652-2014ГОСТ ISO 18652-2014

© 2013 Ёшкин Кот :-) Карта сайта