Скачать ГОСТ Р 55819-2013 Башмаки и чеки тормозных колодок железнодорожного подвижного состава. Общие технические условияДата актуализации: 10.08.2017 ГОСТ Р 55819-2013
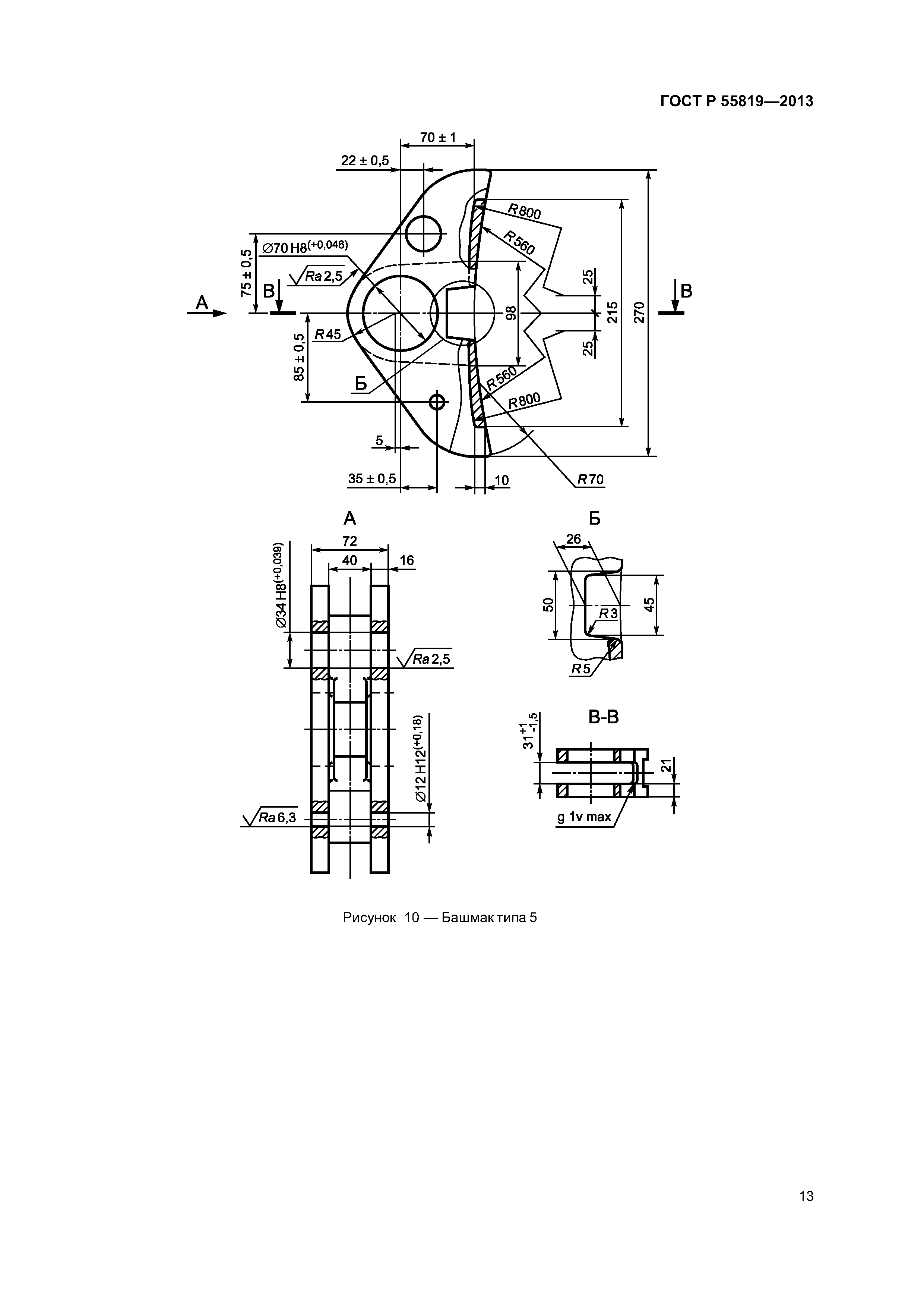
Башмаки и чеки тормозных колодок железнодорожного подвижного состава. Общие технические условия| Обозначение: | ГОСТ Р 55819-2013 | | Обозначение англ: | GOST R 55819-2013 | | Статус: | действует | | Название рус.: | Башмаки и чеки тормозных колодок железнодорожного подвижного состава. Общие технические условия | | Название англ.: | Brake block holder and key for railway rolling stock. General specifications | | Дата добавления в базу: | 21.05.2015 | | Дата актуализации: | 05.05.2017 | | Дата введения: | 01.09.2014 | | Область применения: | Стандарт распространяется на башмаки и чеки тормозных колодок для локомотивов, грузовых вагонов, пассажирских вагонов локомотивной тяги, моторвагонного и специального самоходного и несамоходного подвижного состава и устанавливает общие технические условия к ним. | | Оглавление: | 1 Область применения 2 Нормативные ссылки 3 Термины и определения 4 Типы и основные размеры 5 Технические требования 5.1 Общие требования 5.2 Требования к конструкции 5.3 Требования к материалам 5.4 Требования к отливкам 5.5 Требования надежности 5.6 Маркировка 5.7 Комплектность 6 Требования охраны труда и окружающей среды 7 Правила приемки 8 Методы контроля 9 Упаковка, транспортирование и хранение 10 Указания по эксплуатации 11 Гарантии изготовителя Приложение А (рекомендуемое) Образец шаблона — имитатора тормозной колодки для грузовых вагонов Приложение Б (обязательное) Методика испытания башмака на прочность под воздействием статической нагрузки | | Разработан: | ОАО НИИ вагоностроения
| | Утверждён: | 22.11.2013 Федеральное агентство по техническому регулированию и метрологии (1753-ст)
| | Издан: | Стандартинформ (2014 г. )
| | Расположен в: |
| | Нормативные ссылки: |   ГОСТ 1050-88 «Прокат сортовой, калиброванный, со специальной отделкой поверхности из углеродистой качественной конструкционной стали. Общие технические условия»  ГОСТ 19281-89 «Прокат из стали повышенной прочности. Общие технические условия»  ГОСТ 15150-69 «Машины, приборы и другие технические изделия. Исполнения для различных климатических районов. Категории, условия эксплуатации, хранения и транспортирования в части воздействия климатических факторов внешней среды»  ГОСТ 28840-90 «Машины для испытания материалов на растяжение, сжатие и изгиб. Общие технические требования»  ГОСТ 9012-59 «Металлы. Метод измерения твердости по Бринеллю»  ГОСТ 15.309-98 «Система разработки и постановки продукции на производство. Испытания и приемка выпускаемой продукции. Основные положения»  ГОСТ 23170-78 «Упаковка для изделий машиностроения. Общие требования»  ГОСТ 9.014-78 «Единая система защиты от коррозии и старения. Временная противокоррозионная защита изделий. Общие требования»  ГОСТ 8479-70 «Поковки из конструкционной углеродистой и легированной стали. Общие технические условия»  ГОСТ 18321-73 «Статистический контроль качества. Методы случайного отбора выборок штучной продукции»  ГОСТ 4543-71 «Прокат из легированной конструкционной стали. Технические условия»  ГОСТ 21357-87 «Отливки из хладостойкой и износостойкой стали. Общие технические условия»  ГОСТ 977-88 «Отливки стальные. Общие технические условия»  ГОСТ 14959-79 «Прокат из рессорно-пружинной углеродистой и легированной стали. Технические условия»  ГОСТ 7505-89 «Поковки стальные штампованные. Допуски, припуски и кузнечные напуски»  ГОСТ 26802-86 «Материалы антифрикционные порошковые на основе железа. Марки»  ГОСТ 27.301-95 «Надежность в технике. Расчет надежности. Основные положения» ГОСТ 3212-92 «Комплекты модельные. Уклоны формовочные, стержневые знаки, допуски размеров»  ГОСТ 8.051-81 «Государственная система обеспечения единства измерений. Погрешности, допускаемые при измерении линейных размеров до 500 мм»  ГОСТ 9013-59 «Металлы. Метод измерения твердости по Роквеллу»  ГОСТ 380-2005 «Сталь углеродистая обыкновенного качества. Марки»  ГОСТ Р 53192-2008 «Конструкции стальные сварные грузовых вагонов. Технические требования»  ГОСТ Р 53464-2009 «Отливки из металлов и сплавов. Допуски размеров, массы и припуски на механическую обработку»
|
                            
|