Информационная система
«Ёшкин Кот»

Скачать базу одним архивом
Скачать обновления
История создания базы
Карта сайта

Скачать ГОСТ 30324.0.3-2002 Изделия медицинские электрические. Часть 1. Общие требования безопасности. 3. Общие требования к защите от излучения в диагностических рентгеновских аппаратах

Дата актуализации: 10.08.2017

ГОСТ 30324.0.3-2002

Изделия медицинские электрические. Часть 1. Общие требования безопасности. 3. Общие требования к защите от излучения в диагностических рентгеновских аппаратах

Обозначение: ГОСТ 30324.0.3-2002
Обозначение англ: GOST 30324.0.3-2002
Статус:отменен в рф
Название рус.:Изделия медицинские электрические. Часть 1. Общие требования безопасности. 3. Общие требования к защите от излучения в диагностических рентгеновских аппаратах
Название англ.:Medical electrical equipment. Part 1.General requirements for safety. 3. Collateral standard: General requirements for radiation protection in diagnostic. X-ray equipment
Дата добавления в базу:21.05.2015
Дата актуализации:05.05.2017
Дата введения:01.02.2015
Область применения:Дополнительный стандарт распространяется на медицинские диагностические рентгеновские аппараты и их составные части. Требования стандарта являются обязательными.
Оглавление:Раздел первый. Общие положения
1 Область распространения и цель
   1.201 Область применения
   1.202 Назначение
   1 .203 Взаимосвязь с другими стандартами
      1.203.1 ГОСТ 30324.0
      1.203.2 Частные стандарты . .
      1.203.3 Заменяемые стандарты МЭК . .
      1.203.4 Нормативные ссылки
      1.203.5 Другие стандарты
2 Термины и определения . .
   2.201 Установленные термины . .
   2.202 Уточняющие условия для установленных терминов
      2.202.1 Границы и размеры ПОЛЯ РЕНТГЕНОВСКОГО ИЗЛУЧЕНИЯ
      2.202.2 Уточняющие условия для НОМИНАЛЬНОГО АНОДНОГО НАПРЯЖЕНИЯ
      2.202.3 Эффективная ПОВЕРХНОСТЬ ПРИЕМНИКА ИЗОБРАЖЕНИЯ
      2.202.4 Плоскость ПРИЕМНИКА ИЗОБРАЖЕНИЯ в ЭЛЕКТРОННО-ОПТИЧЕСКИХ ПРЕОБРАЗОВАТЕЛЯХ
      2.202.5 Режимы работы с ФИКСАЦИЕЙ ИЗОБРАЖЕНИЯ
   2.203 Состав опорных материалов
   2.204 Степень обязательности требований
   2.205 РАДИАЦИОННЫЕ ВЕЛИЧИНЫ и единицы измерения
4 Общие требования к испытаниям
   4.201 Соответствие
      4.201.1 Подтверждение соответствия
6 Идентификация, маркировка и документация
   6.1 Маркировка на наружной стороне ИЗДЕЛИЙ или их частей
      6.1.201 Требования к маркировке
      6.1.202 Общие требования
   6.8 ЭКСПЛУАТАЦИОННЫЕ ДОКУМЕНТЫ
      6.8.201 Ссылки в подпунктах
      6.8.202 Общие требования
Раздел пятый. Защита от опасностей нежелательного или чрезмерного излучения
29 РЕНТГЕНОВСКОЕ ИЗЛУЧЕНИЕ
   29.201 КАЧЕСТВО ИЗЛУЧЕНИЯ
      29.201.1 Ограничение диапазона напряжений в стоматологии
      29.201.2 СЛОИ ПОЛОВИННОГО ОСЛАБЛЕНИЯ в РЕНТГЕНОВСКИХ АППАРАТАХ
      29.201.3 ФИЛЬТРАЦИЯ в РЕНТГЕНОВСКИХ ИЗЛУЧАТЕЛЯХ
      29.201.4 ФИЛЬТРАЦИЯ в БЛОКАХ ИСТОЧНИКА РЕНТГЕНОВСКОГО ИЗЛУЧЕНИЯ
      29.201.5 ОБЩАЯ ФИЛЬТРАЦИЯ в РЕНТГЕНОВСКОМ АППАРАТЕ
      29.201.6 Обозначение свойств ФИЛЬТРАЦИИ
      29.201.7 Испытания ФИЛЬТРАЦИИ за счет материалов, которые невозможно удалить
      29.201.8 Испытания ДОПОЛНИТЕЛЬНЫХ ФИЛЬТРОВ и материалов
      29.201.9 Испытание СЛОЯ ПОЛОВИННОГО ОСЛАБЛЕНИЯ
   29.202 Ограничение и индикация пространственной протяженности ПУЧКА РЕНТГЕНОВСКОГО ИЗЛУЧЕНИЯ
      29.202.1 Кожух РЕНТГЕНОВСКОЙ ТРУБКИ
      29.202.2 Ограничивающая ДИАФРАГМА в РЕНТГЕНОВСКОМ ИЗЛУЧАТЕЛЕ
      29.202.3 Ограничение АФОКАЛЬНОГО ИЗЛУЧЕНИЯ
      29.202.4 Методы ограничения пучка в РЕНТГЕНОВСКИХ АППАРАТАХ
      29.202.5 Индикация на ИЗДЕЛИИ
      29.202.6 Указания в ИНСТРУКЦИИ ПО ЭКСПЛУАТАЦИ
      29 .202.7 Индикация с помощью СВЕТОВОГО УКАЗАТЕЛЯ ПОЛЯ
      29.202.8 Точность индикации с помощью обозначений и в форме записи
      29.202.9 Точность индикации с помощью СВЕТОВОГО УКАЗАТЕЛЯ ПОЛЯ
   29.203 Соотношение между ПОЛЕМ РЕНТГЕНОВСКОГО ИЗЛУЧЕНИЯ и ПОВЕРХНОСТЬЮ ПРИЕМНИКА ИЗОБРАЖЕНИЯ
      29.203.1 Положение ОПОРНОЙ ОСИ
      29.203.2 Расстояние от ФОКУСНОГО ПЯТНА ДО ПРИЕМНИКА РЕНТГЕНОВСКОГО ИЗОБРАЖЕНИЯ
      29.203.3 Захват ПУЧКА РЕНТГЕНОВСКОГО ИЗЛУЧЕНИЯ в РЕНТГЕНОСКОПИИ
      29.203.4 Соответствие между ПОЛЕМ РЕНТГЕНОВСКОГО ИЗЛУЧЕНИЯ и ПОВЕРХНОСТЬЮ ПРИЕМНИКА ИЗОБРАЖЕНИЯ
   29.204 ИЗЛУЧЕНИЕ УТЕЧКИ
      29.204.1 Монтаж БЛОКОВ ИСТОЧНИКА РЕНТГЕНОВСКОГО ИЗЛУЧЕНИЯ
      29.204.2 Определение опорных условий НАГРУЗКИ
      29.204.3 ИЗЛУЧЕНИЕ УТЕЧКИ в НАГРУЗОЧНОМ СОСТОЯНИИ
      29.204.4 ИЗЛУЧЕНИЕ УТЕЧКИ во время НАГРУЗКИ для регулирования напряжения
      29.204.5 ИЗЛУЧЕНИЕ УТЕЧКИ в НЕНАГРУЗОЧНОМ СОСТОЯНИИ
   29.205 РАССТОЯНИЕ ФОКУС — КОЖА
      29. 205.1 РЕНТГЕНОВСКИЙ АППАРАТ для РЕНТГЕНОСКОПИИ
      29.205.2 РЕНТГЕНОВСКИЙ АППАРАТ для РЕНТГЕНОГРАФИИ
      29.205.3 Информация в ЭКСПЛУАТАЦИОННЫХ ДОКУМЕНТАХ
   29.206 ОСЛАБЛЕНИЕ ПУЧКА РЕНТГЕНОВСКОГО ИЗЛУЧЕНИЯ
      29.206.1 ОСЛАБЛЕНИЕ элементами в ПУЧКЕ РЕНТГЕНОВСКОГО ИЗЛУЧЕНИЯ
      29.206.2 Информация в ЭКСПЛУАТАЦИОННЫХ ДОКУМЕНТАХ
      29.206.3 Испытания ЭКВИВАЛЕНТА ПО ОСЛАБЛЕНИЮ
   29.207 ПЕРВИЧНОЕ ЗАЩИТНОЕ СРЕДСТВО
      29.207.1 Требования
      29.207.2 ИСПЫТАНИЕ на ОСЛАБЛЕНИЕ ОСТАТОЧНОГО ИЗЛУЧЕНИЯ
      29.207.3 Испытания ЭКВИВАЛЕНТА ПО ОСЛАБЛЕНИЮ
   29.208 Защита от НЕИСПОЛЬЗУЕМОГО ИЗЛУЧЕНИЯ
      29.208.1 Защита расстоянием
      29.208.2 Управление из ЗАЩИТНОЙ ЗОНЫ
      29.208.3 Установленные ОСОБЫЕ ЗОНЫ ПРЕБЫВАНИЯ
      29.208.4 ОСОБЫЕ ЗОНЫ ПРЕБЫВАНИЯ с ограниченным НЕИСПОЛЬЗУЕМЫМ ИЗЛУЧЕНИЕМ
      29.208.5 Рукоятки и устройства управления
      29.208.6 Испытание на НЕИСПОЛЬЗУЕМОЕ ИЗЛУЧЕНИЕ
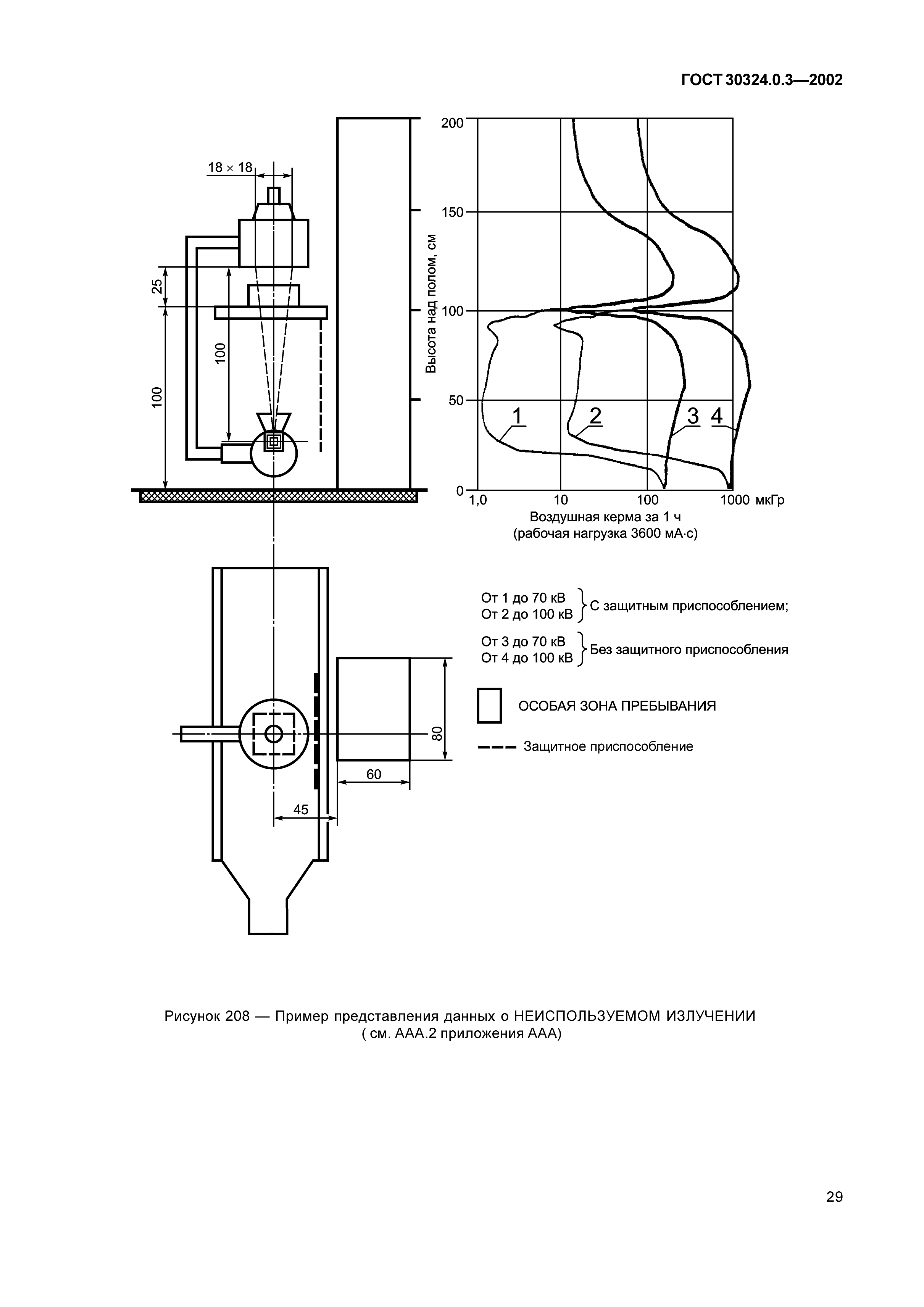
Приложение ААА (справочное) Рекомендации по содержанию информации относительно НЕИСПОЛЬЗУЕМОГО ИЗЛУЧЕНИЯ
Приложение ВВВ (справочное) Указатель терминов
Приложение ССС (справочное) Перечень требований настоящего дополнительного стандарта, которые должны быть указаны в ЭКСПЛУАТАЦИОННЫХ ДОКУМЕНТАХ (ИНСТРУКЦИИ ПО ЭКСПЛУАТАЦИИ и ИНСТРУКЦИИ ПО МОНТАЖУ)
Разработан: ФГУП ВНИИНМАШ
Утверждён:06.11.2002 Межгосударственный Совет по стандартизации, метрологии и сертификации (Inter-Governmental Council on Standardization, Metrology, and Certification 22)
29.11.2012 Федеральное агентство по техническому регулированию и метрологии (1324-ст)
Издан: Стандартинформ (2014 г. )
Расположен в:Техническая документация Электроэнергия ЗДРАВООХРАНЕНИЕ Медицинское оборудование Радиографическое оборудование Экология ЗДРАВООХРАНЕНИЕ Медицинское оборудование Радиографическое оборудование
ГОСТ 30324.0.3-2002ГОСТ 30324.0.3-2002ГОСТ 30324.0.3-2002ГОСТ 30324.0.3-2002ГОСТ 30324.0.3-2002ГОСТ 30324.0.3-2002ГОСТ 30324.0.3-2002ГОСТ 30324.0.3-2002ГОСТ 30324.0.3-2002ГОСТ 30324.0.3-2002ГОСТ 30324.0.3-2002ГОСТ 30324.0.3-2002ГОСТ 30324.0.3-2002ГОСТ 30324.0.3-2002ГОСТ 30324.0.3-2002ГОСТ 30324.0.3-2002ГОСТ 30324.0.3-2002ГОСТ 30324.0.3-2002ГОСТ 30324.0.3-2002ГОСТ 30324.0.3-2002ГОСТ 30324.0.3-2002ГОСТ 30324.0.3-2002ГОСТ 30324.0.3-2002ГОСТ 30324.0.3-2002ГОСТ 30324.0.3-2002ГОСТ 30324.0.3-2002ГОСТ 30324.0.3-2002ГОСТ 30324.0.3-2002ГОСТ 30324.0.3-2002ГОСТ 30324.0.3-2002ГОСТ 30324.0.3-2002ГОСТ 30324.0.3-2002ГОСТ 30324.0.3-2002ГОСТ 30324.0.3-2002ГОСТ 30324.0.3-2002ГОСТ 30324.0.3-2002ГОСТ 30324.0.3-2002ГОСТ 30324.0.3-2002ГОСТ 30324.0.3-2002ГОСТ 30324.0.3-2002ГОСТ 30324.0.3-2002ГОСТ 30324.0.3-2002ГОСТ 30324.0.3-2002ГОСТ 30324.0.3-2002

© 2013 Ёшкин Кот :-) Карта сайта