Информационная система
«Ёшкин Кот»

Скачать базу одним архивом
Скачать обновления
История создания базы
Карта сайта

Скачать ОСТ 24.271.24-74 Фильтры ионообменные параллельноточные. Конструкция и основные размеры. Технические требования

Дата актуализации: 10.08.2017

ОСТ 24.271.24-74

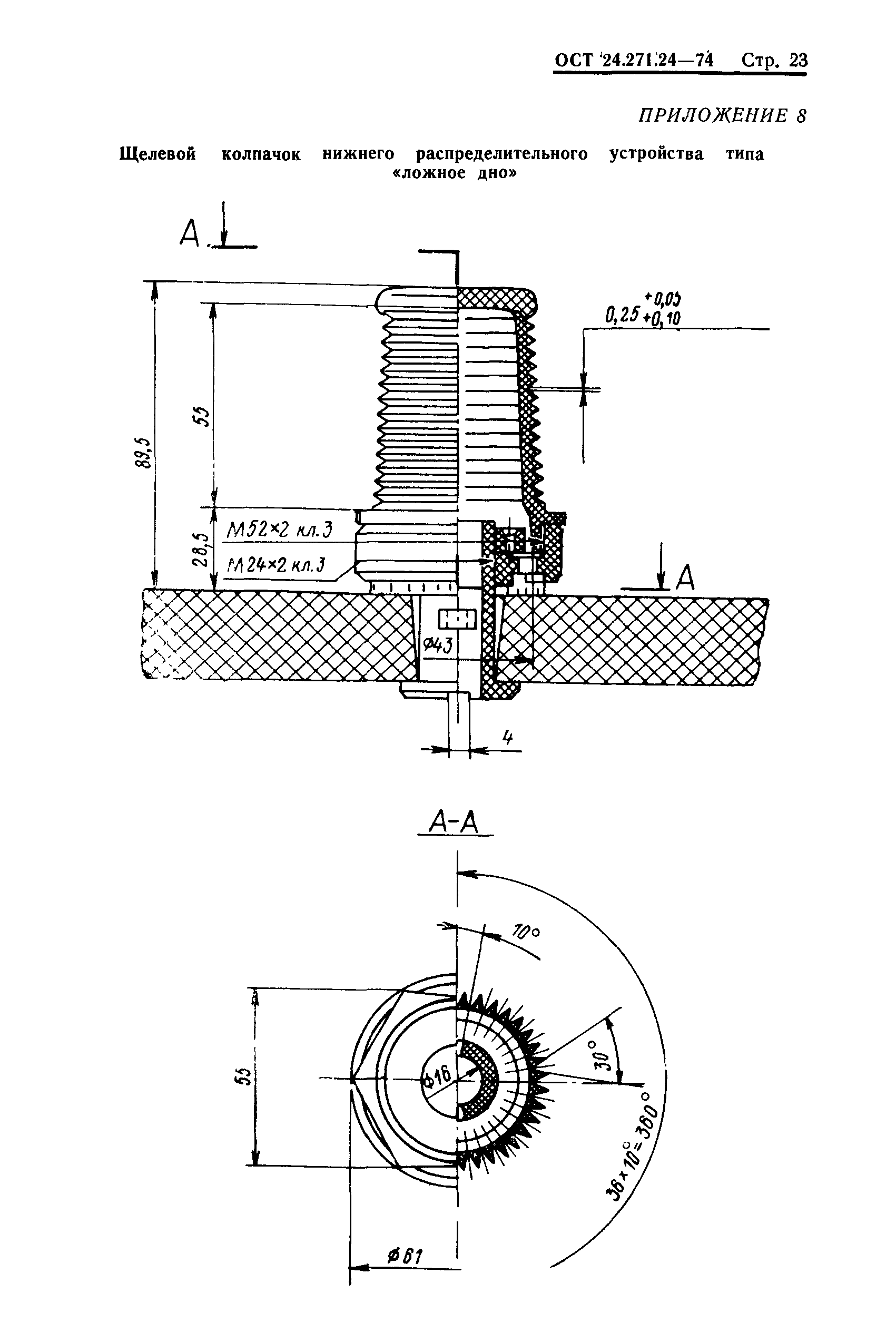
Фильтры ионообменные параллельноточные. Конструкция и основные размеры. Технические требования

Обозначение: ОСТ 24.271.24-74
Обозначение англ: OST 24.271.24-74
Статус:не действует
Название рус.:Фильтры ионообменные параллельноточные. Конструкция и основные размеры. Технические требования
Дата добавления в базу:01.09.2013
Дата актуализации:05.05.2017
Дата введения:01.07.1975
Дата окончания срока действия:01.07.1980
Область применения:Стандарт распространяется на фильтры ионообменные параллельноточные давлением 6 кгс/см2 первой и второй ступеней диаметром 700, 1000, 1400, 2000, 2600, 3000, 3400 мм и давлением 10 кгс/см2 второй ступени диаметром 2000, 2600, 3000, 3400 мм, предусмотренные ОСТ 24.271.21.
Оглавление:1. Конструкция и основные размеры
   1.2 Конструкция и основные размеры фронта фильтра
   1.3 Конструкция и основные размеры корпусов фильтров
   1.4 Конструкция и основные размеры верхних распределительных устройств
   1.5 Конструкция и основные размеры нижних распределительных устройств
2. Технические требования
Приложения
Разработан: Центральный научно-исследовательский и проектно-конструкторский котлотурбинный институт им. И.И. Ползунова
Утверждён:30.01.1974 Министерство тяжелого, энергетического и транспортного машиностроения (ВК-002/1143)
Принят: Министерство энергетики и электрификации СССР (USSR Ministry of Energy and Electrical Power )
Расположен в:Техническая документация Строительство Стандарты Отраслевые стандарты и технические условия Отраслевые стандарты
Нормативные ссылки:
ОСТ 24.271.24-74ОСТ 24.271.24-74ОСТ 24.271.24-74ОСТ 24.271.24-74ОСТ 24.271.24-74ОСТ 24.271.24-74ОСТ 24.271.24-74ОСТ 24.271.24-74ОСТ 24.271.24-74ОСТ 24.271.24-74ОСТ 24.271.24-74ОСТ 24.271.24-74ОСТ 24.271.24-74ОСТ 24.271.24-74ОСТ 24.271.24-74ОСТ 24.271.24-74ОСТ 24.271.24-74ОСТ 24.271.24-74ОСТ 24.271.24-74ОСТ 24.271.24-74ОСТ 24.271.24-74ОСТ 24.271.24-74ОСТ 24.271.24-74ОСТ 24.271.24-74ОСТ 24.271.24-74ОСТ 24.271.24-74

© 2013 Ёшкин Кот :-) Карта сайта