Скачать Шифр М24.26/07 Наружные стены, стены подвала, покрытия, чердачные перекрытия, перегородки, ограждающие конструкции мансард и полы с теплоизоляцией из минераловатных плит Rockwool. Материалы для проектирования и рабочие чертежи узловДата актуализации: 10.08.2017 Шифр М24.26/07
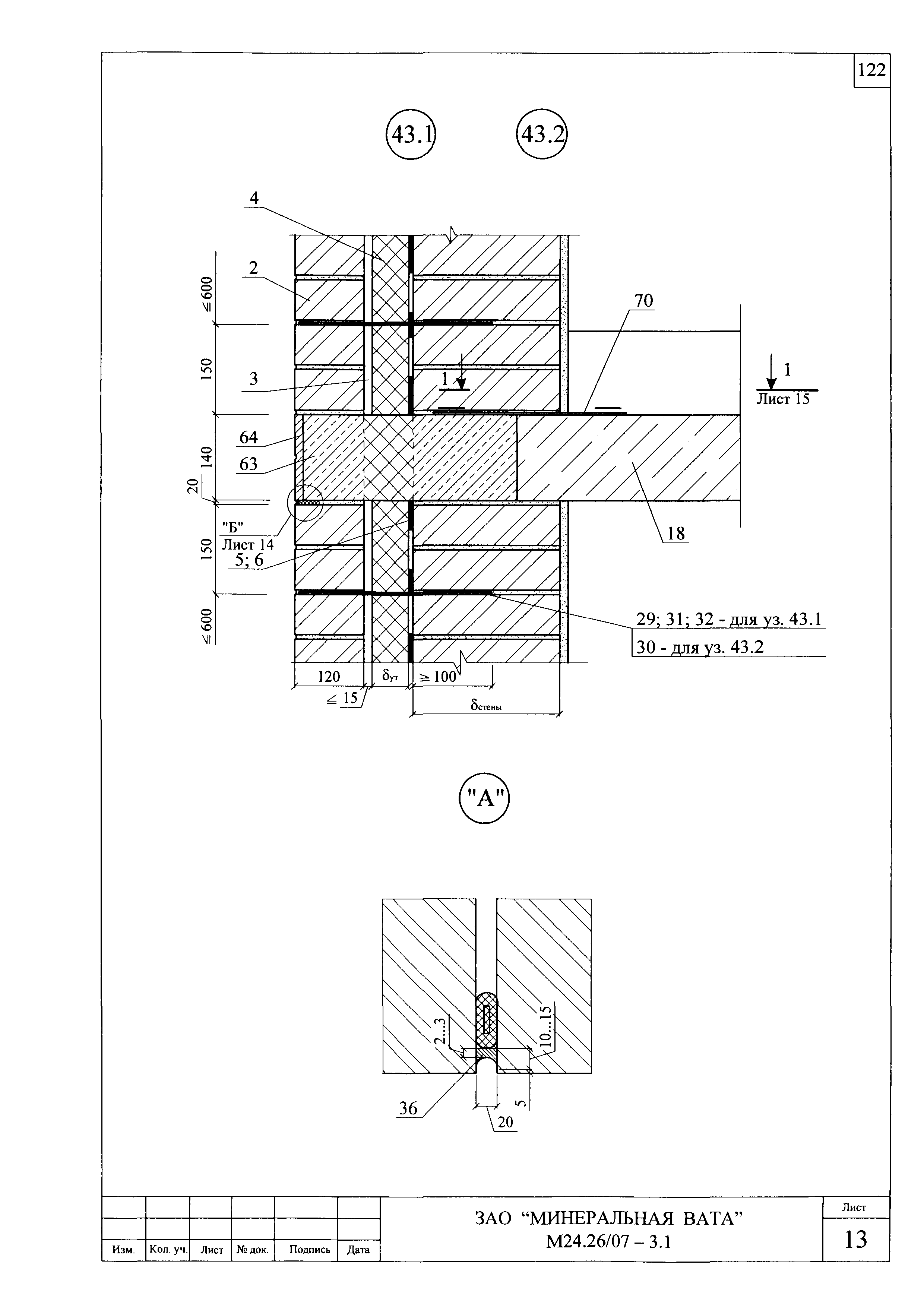
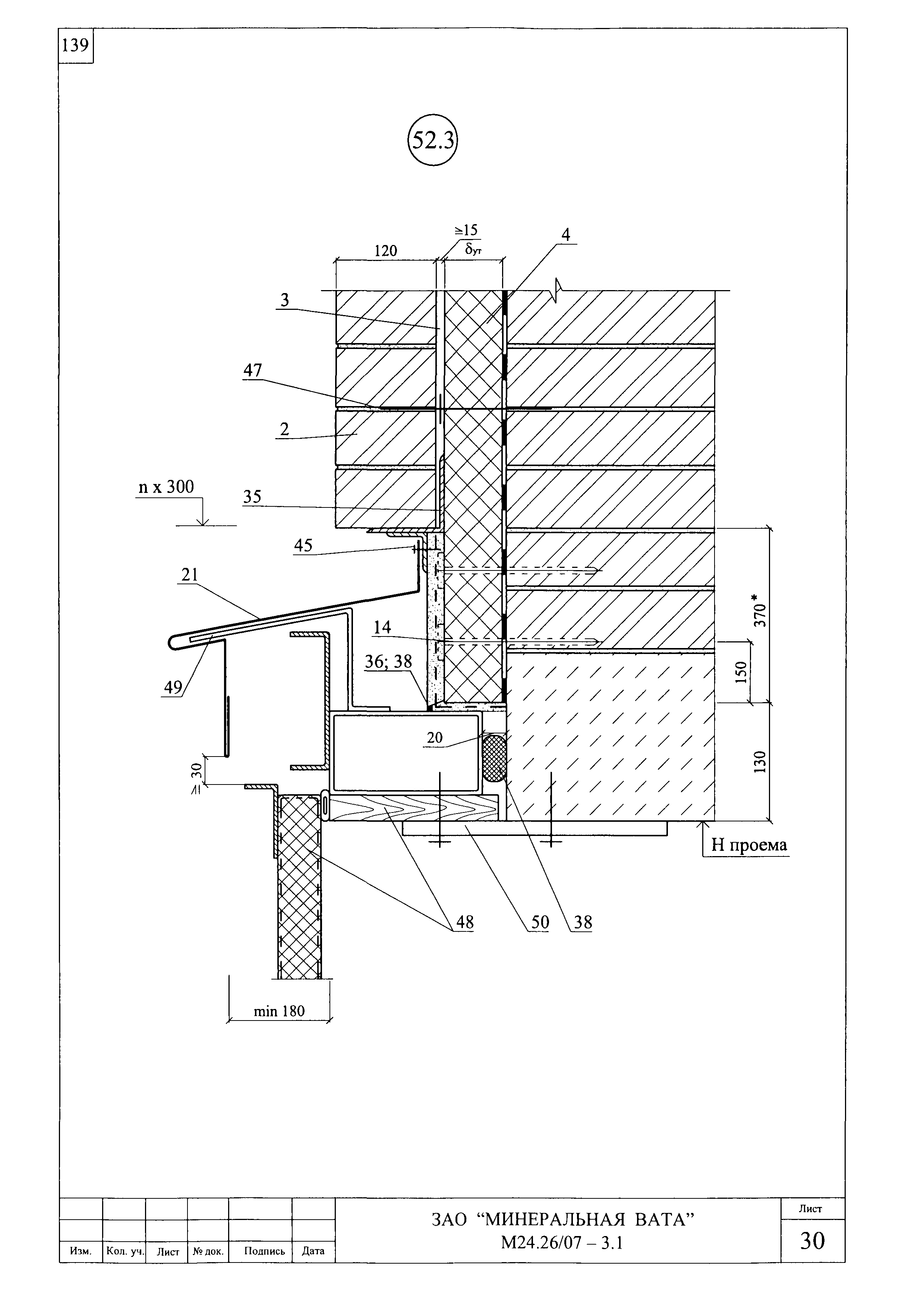
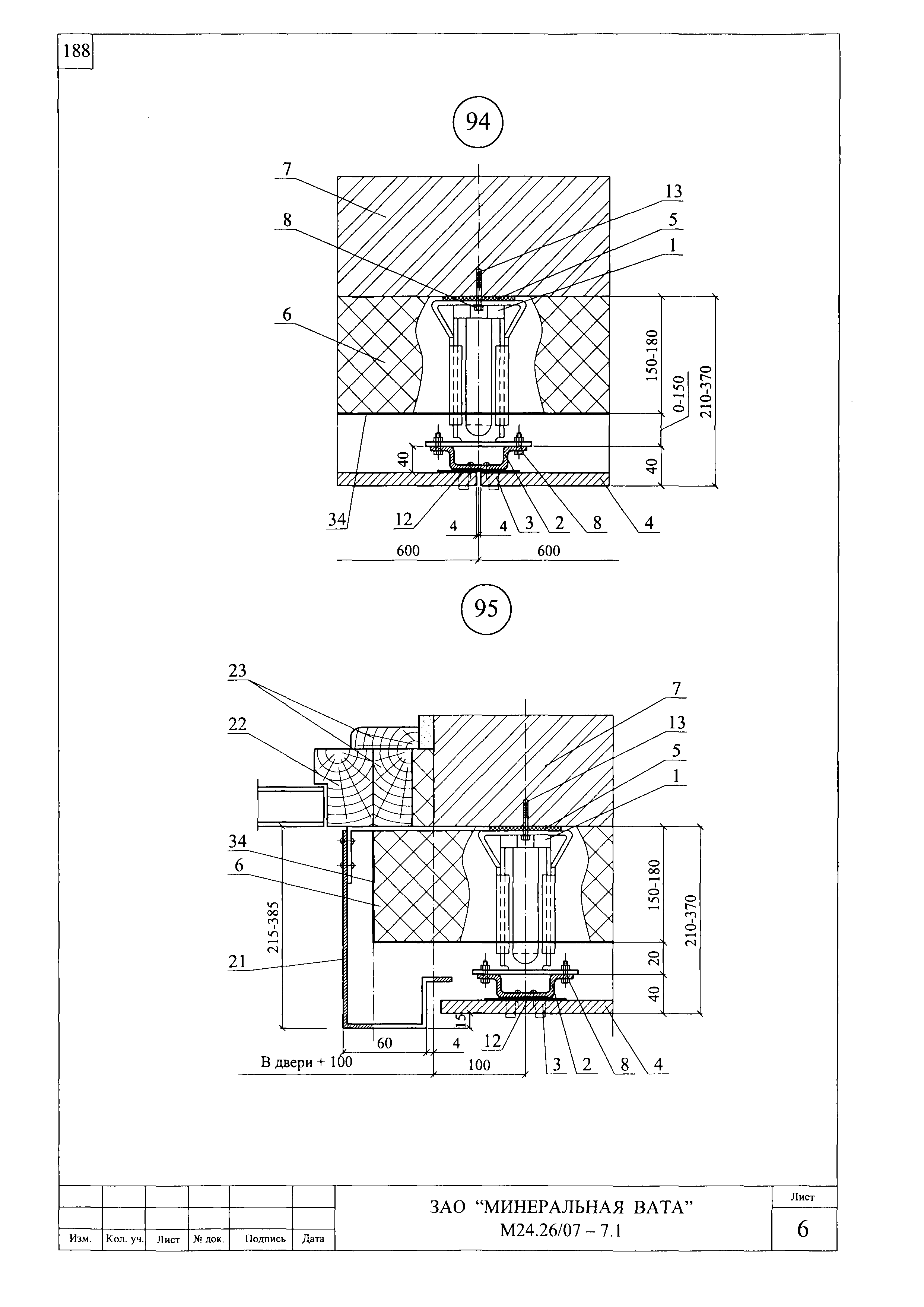
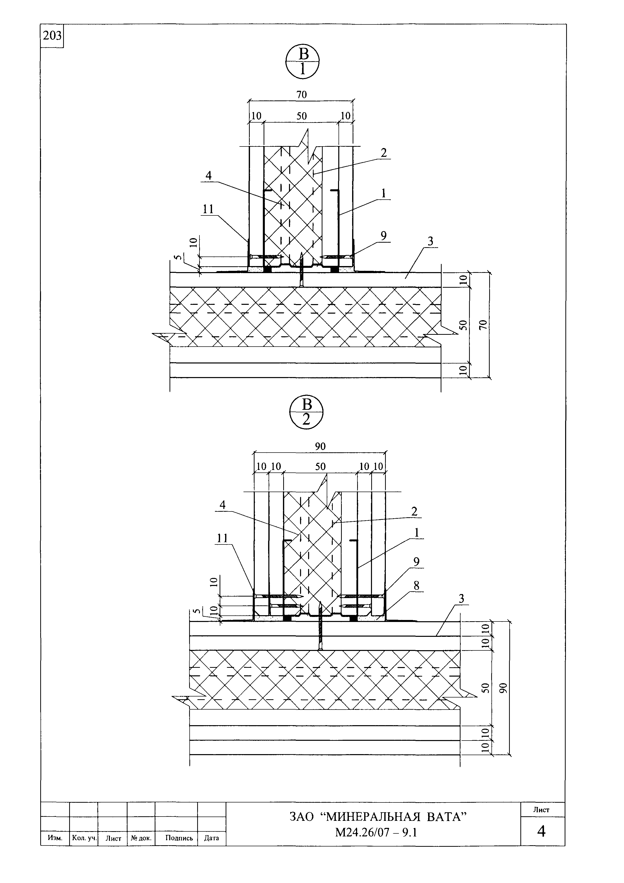
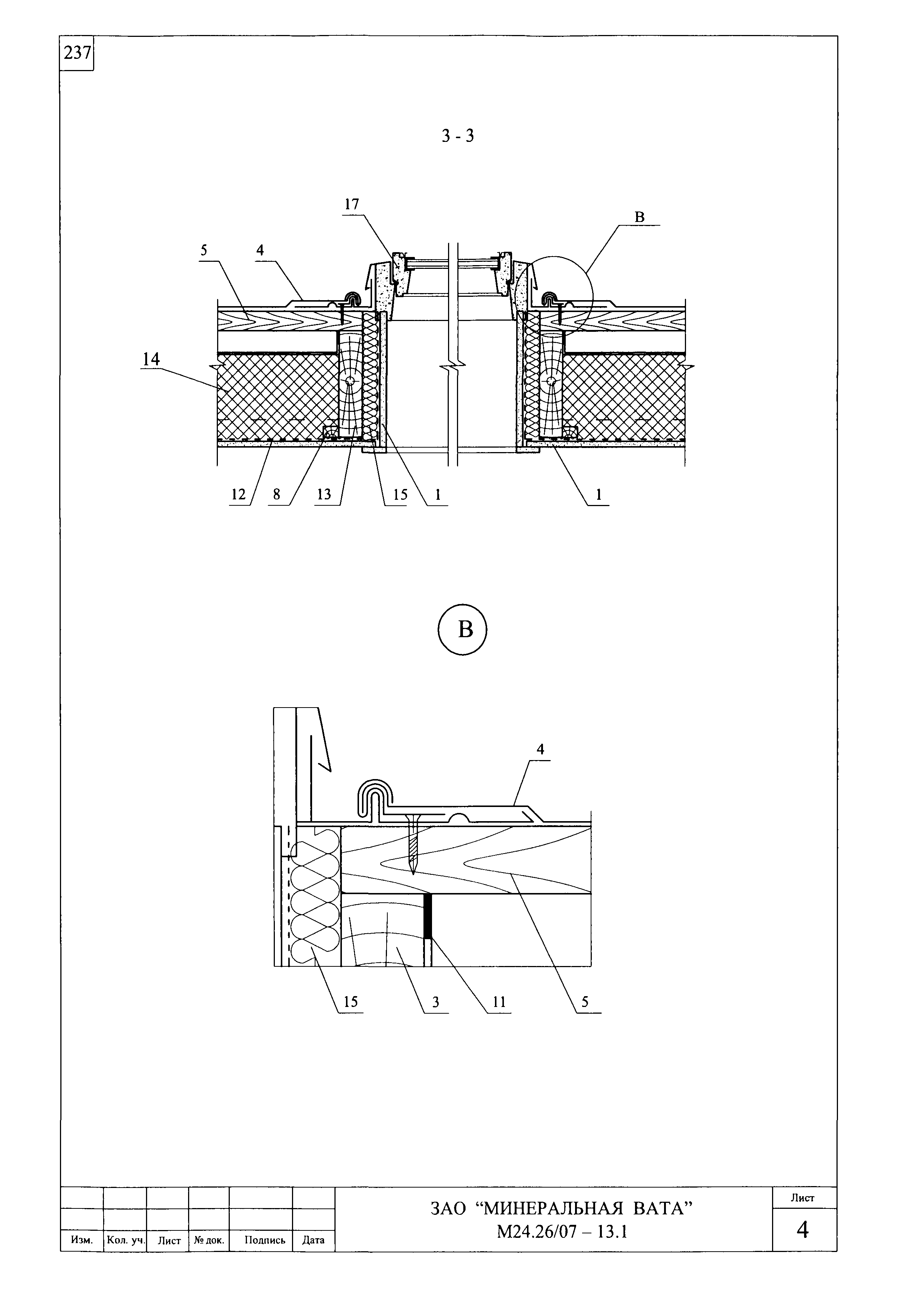
Наружные стены, стены подвала, покрытия, чердачные перекрытия, перегородки, ограждающие конструкции мансард и полы с теплоизоляцией из минераловатных плит "Rockwool". Материалы для проектирования и рабочие чертежи узловОбозначение: | Шифр М24.26/07 | Обозначение англ: | М24.26/07 | Статус: | не определен законодательством | Название рус.: | Наружные стены, стены подвала, покрытия, чердачные перекрытия, перегородки, ограждающие конструкции мансард и полы с теплоизоляцией из минераловатных плит "Rockwool". Материалы для проектирования и рабочие чертежи узлов | Дата добавления в базу: | 01.09.2013 | Дата актуализации: | 05.05.2017 | Дата введения: | 31.03.2008 | Оглавление: | М24.26/07-ПЗ Пояснительная записка М24.26/07-ПЗ 1. Общие положения М24.26/07-ПЗ 2. Теплоизоляция М24.26/07-ПЗ 3. Нормы теплозащиты М24.26/07-ПЗ Конструктивные решения стен М24.26/07-ПЗ 4. Стены без вентилируемой воздушной прослойки с отделочным слоем из штукатурки и кирпича М24.26/07-ПЗ 4.1. Стены с отделочным слоем из традиционной штукатурки М24.26/07-ПЗ 4.2. Стены с отделочным слоем из тонкослойной штукатурки М24.26/07-ПЗ 4.3. Стены с защитной стенкой из кирпичной кладки М24.26/07-ПЗ 5. Каркасные стены М24.26/07-ПЗ 6. Стены с вентилируемой воздушной прослойкой М24.26/07-ПЗ 7. Стены подвала М24.26/07-ПЗ 8. Конструктивные решения покрытий М24.26/07-ПЗ 9. Железобетонные покрытия с рулонной кровлей. М24.26/07-ПЗ 9.1. Применяемые материалы, требования к элементам покрытий и их устройство М24.26/07-ПЗ 9.2. Конструктивные решения покрытия М24.26/07-ПЗ 9.3. Кровля из наплавляемых рулонных материалов М24.26/07-ПЗ 9.4. Кровля из ПВХ-мембраны М24.26/07-ПЗ 10. Покрытия с несущим профилированным настилом и кровлей из оцинкованных стальных профлистов М24.26/07-ПЗ 11. Конструктивные решения чердачных перекрытий М24.26/07-ПЗ 12. Ограждающие конструкции мансард (скатные крыши) М24.26/07-ПЗ 13. Конструктивные решения полов М24.26/07-ПЗ 14. Перегородки М24.26/07-1 Раздел 1. Стены с защитно-декоративным слоем из традиционной штукатурки. Новое строительство и реконструкция М24.26/07-2 Раздел 2. Стены с защитно-декоративным слоем из тонкослойной штукатурки. Новое строительство и реконструкция М24.26/07-3 Раздел 3. Стены с отделочным слоем из кирпича. Новое строительство М24.26/07-4 Раздел 4. Самонесущие стены из кирпича с облицовкой кирпичом в здании с несущим каркасом М24.26/07-5 Раздел 5. Стены с отделочным слоем из кирпича. Реконструкция М24.26/07-6 Раздел 6. Каркасные конструкции стен с обшивками из стального профлиста М24.26/07-7 Раздел 7. Стены с вентилируемой воздушной прослойкой М24.26/07-8 Раздел 8. Стены подвала М24.26/07-9 Раздел 9. Перегородки с металлическим каркасом М24.26/07-10 Раздел 10. Перегородки с деревянным каркасом М24.26/07-11 Раздел 11. Чердачные перекрытия М24.26/07-12 Раздел 12. Полы М24.26/07-13 Раздел 13. Ограждающие конструкции мансард М24.26/07-14 Раздел 14. Традиционная кровля из битумных материалов на покрытии по железобетонному основанию М24.26/07-15 Раздел 15. Кровля из ПВХ-мембраны марки "ROCKmembrane" на покрытии по железобетонному основанию М24.26/07-16 Раздел 16. Традиционная кровля из битуминозных материалов на покрытии с несущим профилированным настилом М24.26/07-17 Раздел 17. Кровля из ПВХ-мембраны марки "ROCKmembrane" на покрытии с несущими профилированными настилами М24.26/07-18 Раздел 18. Скатная кровля из стальных профилированных листов на покрытии с несущими профилированными настилами М24.26/07-19 Раздел 19. Скатная кровля из ПВХ-мембраны марки "ROCKmembrane" на покрытии с несущими стропильными конструкциями М24.26/07-20 Раздел 20.Изделия комплектующие Приложение 1. Пример расчета повышения теплозащиты стены Приложение 2. Пример расчета толщины теплоизоляции стены подвала Приложение 3. Пример расчета парозащиты стены Приложение 4. Пример определения показателя теплоусвоения поверхности пола по СНиП 23-02-2003 Приложение 5. Пример определения индекса изоляции воздушного шума междуэтажным перекрытием жилого дома. Перекрытие состоит из железобетонной плиты γ = 2400 кг/м³ толщиной 14 см, звукоизоляционного слоя из минераловатной плиты "ФЛОР БАТТС И" толщиной 4,0 см, сборной стяжки из гипсоволокнистых листов (ГВЛ) плотностью 1150 кг/м³ толщиной 2,0 см. Приложение 6. Пример определения индекса изоляции воздушного шума междуэтажным перекрытием жилого дома. Перекрытие состоит из железобетонной плиты γ = 2500 кг/м³ толщиной 10 см, звукоизоляционного слоя из минераловатных плит "ЛАЙТ БАТТС" толщиной 5,0 см и дощатого пола толщиной 4,0 см на лагах толщиной 5,0 см и шириной 10,0 см, уложенных с шагом 50 см. Приложение 7. Пример определения индекса приведенного уровня ударного шума под железобетонным перекрытием жилого дома. Перекрытие состоит из железобетонной плиты γ = 2400 кг/м³ толщиной 14 см, звукоизоляционного слоя из минераловатных плит "ФЛОР БАТТС И" толщиной 4,0 см, сборной стяжки из гипсоволокнистых листов (ГВЛ) плотностью 1150 кг/м³ толщиной 2,0 см и паркетного пола толщиной 1,8 см Приложение 8. 1. Примыкание к внешнему углу вентшахты 2. Примыкание к внутреннему углу парапета 3. Примыкание к вентиляционной трубе 4. Примыкание к элементу малого диаметра 5. Изоляция парапета с использованием ламинированной ПВХ - жести 6. Примыкание в водосливной воронке | Разработан: | ЦНИИпромзданий
| Утверждён: | 31.03.2008 ЦНИИ промзданий (TsNII promzdaniy )
| Расположен в: |
| Заменяет собой: | |
                                                                                                                                                                                                                                                                                                                                                                            
|