Скачать Шифр М24.22/05 Наружные стены, стены подвала, покрытия, чердачные перекрытия, перегородки, ограждающие конструкции мансард и полы с теплоизоляцией из минераловатных плит ROCKWOOL. Материалы для проектирования и рабочие чертежи узловДата актуализации: 10.08.2017 Шифр М24.22/05
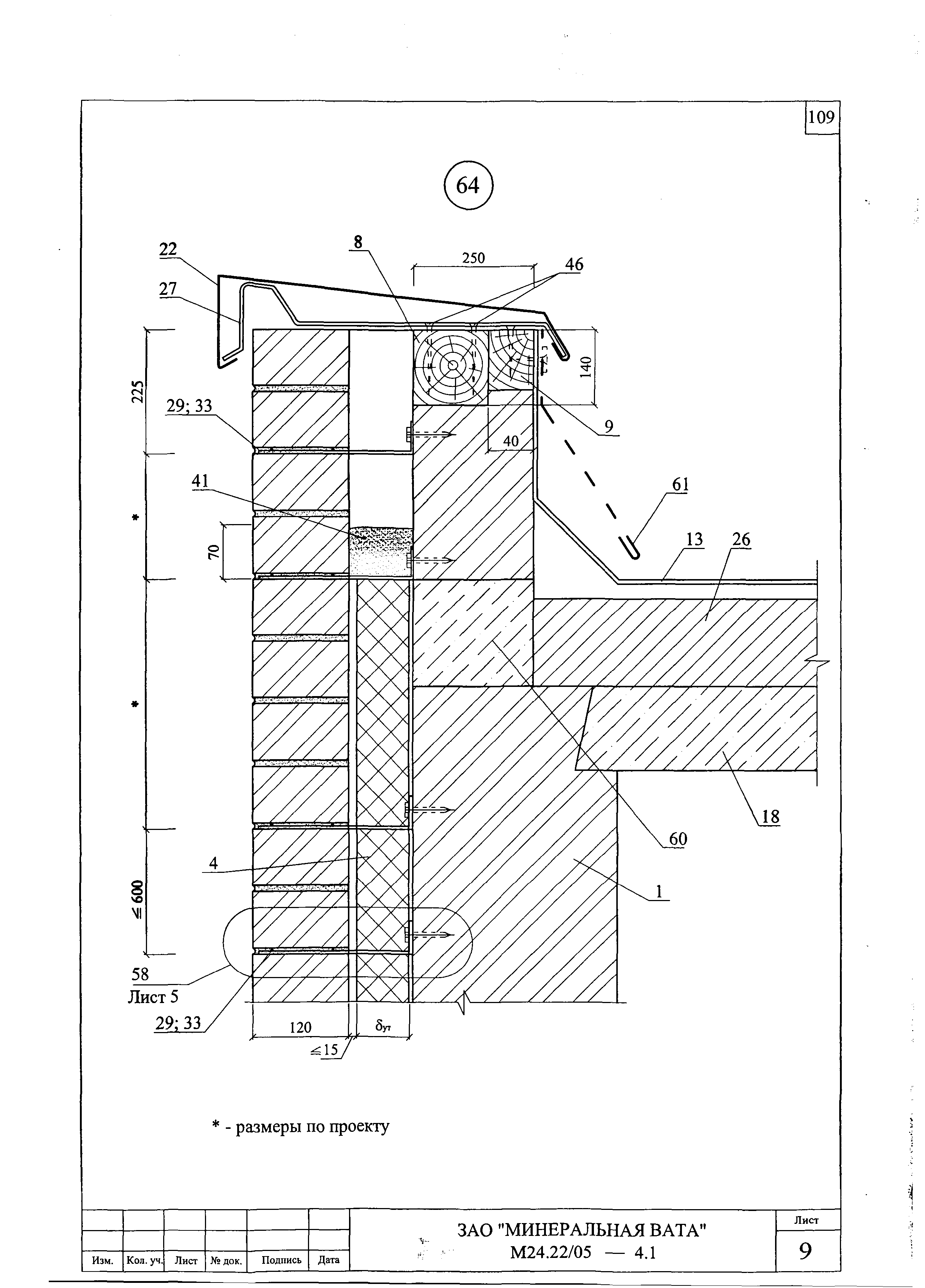
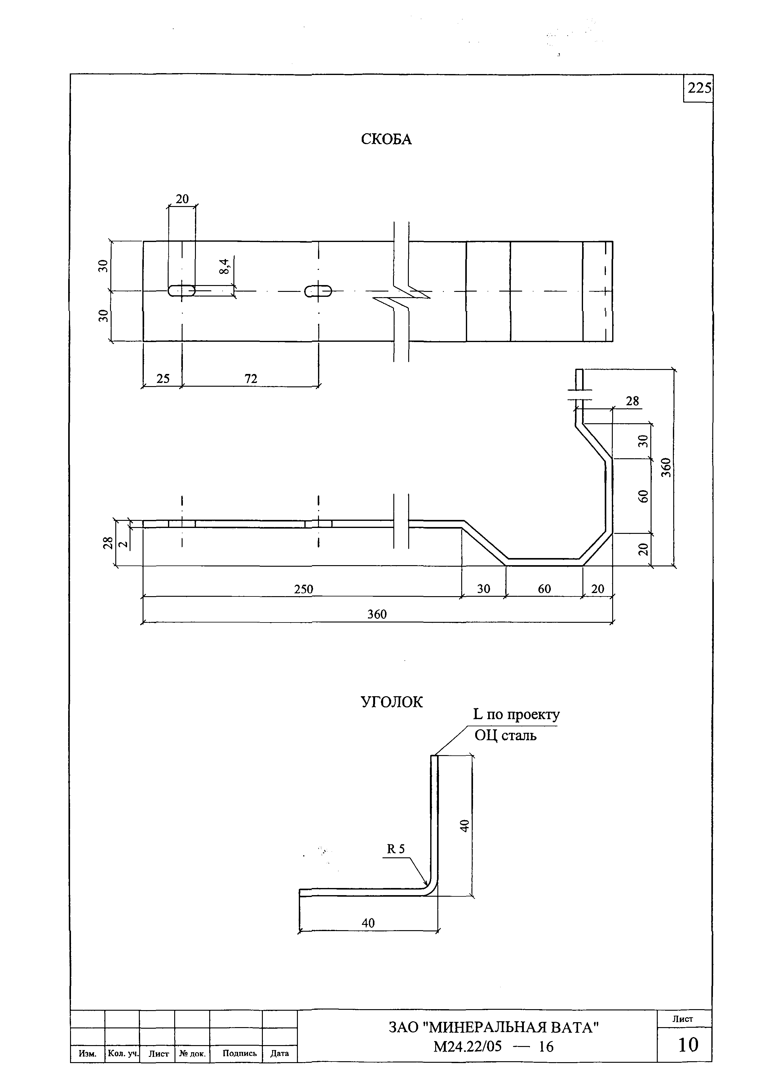
Наружные стены, стены подвала, покрытия, чердачные перекрытия, перегородки, ограждающие конструкции мансард и полы с теплоизоляцией из минераловатных плит "ROCKWOOL". Материалы для проектирования и рабочие чертежи узловОбозначение: | Шифр М24.22/05 | Обозначение англ: | М24.22/05 | Статус: | не действует | Название рус.: | Наружные стены, стены подвала, покрытия, чердачные перекрытия, перегородки, ограждающие конструкции мансард и полы с теплоизоляцией из минераловатных плит "ROCKWOOL". Материалы для проектирования и рабочие чертежи узлов | Дата добавления в базу: | 01.09.2013 | Дата актуализации: | 05.05.2017 | Область применения: | Альбом содержит материалы для проектирования и рабочие чертежи трехслойных стен, стен подвала, покрытий, чердачных перекрытий, перегородок, ограждающих конструкций мансард и полов отапливаемых зданий различного назначения с теплоизоляцией из минеральных плит КАВИТИ БАТТС (ТС-07-0840-03); ЛАЙТ БАТТС (ТС-07-0753-03/2.2); ПЛАСТЕР БАТТС (ТС-07-0839-03); ВЕНТИ БАТТС, ВЕНТИ БАТТС В, ВЕНТИ БАТТС Н (ТС-07-0752-03/2); ФЛОР БАТТС, ФЛОР БАТТС И (ТС-07-0698-03/2); РУФ БАТТС, РУФ С, РУФ БАТТС В, РУФ БАТТС Н (ТС--07-07-1037-04); ROOF BATTS, ROOF BATTS B, ROOF BATTS H (ТС-07-0661-03/2) и (ТС -07-0931-04); ROOF BATTS Д (ТС-07-1050-05), а также FACADE SLAB, FACADE BATTS (ТС-07-0529-02/2); FACADE BATTS и FACADE LAMELLA (ТС-07-0720-03/2). | Разработан: | ОАО ЦНИИпромзданий
| Утверждён: | 09.09.2005 ОАО ЦНИИпромзданий (TsNIIpromzdaniy OAO )
| Расположен в: |
| Чем заменён: | |
                                                                                                                                                                                                                                                
|